CN212033009U - Semiconductor packaging structure - Google Patents
Semiconductor packaging structure Download PDFInfo
- Publication number
- CN212033009U CN212033009U CN202021167861.6U CN202021167861U CN212033009U CN 212033009 U CN212033009 U CN 212033009U CN 202021167861 U CN202021167861 U CN 202021167861U CN 212033009 U CN212033009 U CN 212033009U
- Authority
- CN
- China
- Prior art keywords
- heat dissipation
- chip
- placement slot
- thermally conductive
- block
- Prior art date
- Legal status (The legal status is an assumption and is not a legal conclusion. Google has not performed a legal analysis and makes no representation as to the accuracy of the status listed.)
- Expired - Fee Related
Links
Images
Landscapes
- Cooling Or The Like Of Semiconductors Or Solid State Devices (AREA)
Abstract
本实用新型涉及半导体封装技术领域,且公开了一种半导体封装结构,包括封装外壳,所述封装外壳底部的左右两侧固定连接有引线框,所述封装外壳的顶部开设有放置槽,所述放置槽内部放置有安装芯片,所述安装芯片底部的左右两侧均焊接有连接锡球,两个所述引线框的顶部贯穿并延伸至放置槽的内部。该实用新型,通过在封装外壳底部安装有引线框,顶部开设有放置槽,使得安装芯片可通过连接锡球,焊接至两个引线框内,放置槽通过连接盖板对放置槽进行封装,且连接盖板的底部安装有散热部件,可直接与安装芯片接触,从而更好的对安装芯片进行热量传导,使装置达到封装结构的散热效果相对较好,从而增加了电子元件的性能、可靠性与使用寿命。
The utility model relates to the technical field of semiconductor packaging, and discloses a semiconductor packaging structure, comprising an encapsulation shell, the left and right sides of the bottom of the encapsulation shell are fixedly connected with lead frames, the top of the package shell is provided with a placement groove, the A mounting chip is placed inside the placement slot, the left and right sides of the bottom of the mounting chip are soldered with connection solder balls, and the tops of the two lead frames penetrate and extend to the interior of the placement slot. In the utility model, a lead frame is installed at the bottom of the package shell, and a placement slot is opened at the top, so that the mounting chip can be soldered into the two lead frames by connecting the solder balls, and the placement slot is connected to the cover plate to encapsulate the placement slot, and The bottom of the connection cover is installed with a heat dissipation component, which can directly contact the mounted chip, so as to better conduct heat conduction to the mounted chip, so that the device achieves a relatively good heat dissipation effect of the package structure, thereby increasing the performance and reliability of electronic components and service life.
Description
技术领域technical field
本实用新型涉及半导体封装技术领域,具体为一种半导体封装结构。The utility model relates to the technical field of semiconductor packaging, in particular to a semiconductor packaging structure.
背景技术Background technique
半导体指常温下导电性能介于导体与绝缘体之间的材料,半导体在集成电路、消费电子、通信系统、光伏发电、照明、大功率电源转换等领域都有应用,如二极管就是采用半导体制作的器件,无论从科技或是经济发展的角度来看,半导体的重要性都是非常巨大的,大部分的电子产品,如计算机、移动电话或是数字录音机当中的核心单元都和半导体有着极为密切的关联。Semiconductors refer to materials with electrical conductivity between conductors and insulators at room temperature. Semiconductors are used in integrated circuits, consumer electronics, communication systems, photovoltaic power generation, lighting, high-power power conversion and other fields. For example, diodes are devices made of semiconductors , no matter from the perspective of technology or economic development, the importance of semiconductors is very huge. Most electronic products, such as computers, mobile phones or core units in digital recorders, are closely related to semiconductors. .
电子元件例如微处理器和集成电路必须在一定的规定温度范围内工作以有效地操作,过多的热量降低了电子元件性能、可靠性和平均寿命,甚至能引发故障,但是在传统的芯片封装过程中,芯片的散热效果相对不佳,为此我们提出一种半导体封装结构来解决上述问题。Electronic components such as microprocessors and integrated circuits must operate within a certain specified temperature range to operate effectively. Excessive heat reduces the performance, reliability and average life of electronic components, and can even cause failures, but in traditional chip packaging During the process, the heat dissipation effect of the chip is relatively poor, so we propose a semiconductor packaging structure to solve the above problems.
实用新型内容Utility model content
(一)解决的技术问题(1) Technical problems solved
针对现有技术的不足,本实用新型提供了一种半导体封装结构,具备封装结构的散热效果相对较好,从而增加了电子元件的性能、可靠性与使用寿命等优点,解决了芯片的散热效果相对不佳,降低了电子元件性能、可靠性和平均寿命的问题。In view of the deficiencies of the prior art, the utility model provides a semiconductor packaging structure, which has relatively good heat dissipation effect, thereby increasing the performance, reliability and service life of electronic components, and solving the heat dissipation effect of the chip. Relatively poor, reducing the problem of electronic component performance, reliability and average life.
(二)技术方案(2) Technical solutions
为实现上述封装结构的散热效果相对较好,从而增加了电子元件的性能、可靠性与使用寿命的目的,本实用新型提供如下技术方案:一种半导体封装结构,包括封装外壳,所述封装外壳底部的左右两侧固定连接有引线框,所述封装外壳的顶部开设有放置槽,所述放置槽内部放置有安装芯片,所述安装芯片底部的左右两侧均焊接有连接锡球,两个所述引线框的顶部贯穿并延伸至放置槽的内部,两个所述连接锡球分别与两个引线框的顶部焊接,所述放置槽的左右两侧均固定安装有定位块,所述放置槽的正面与别面均嵌设有卡接构件,所述放置槽的顶部卡接有连接盖板,所述连接盖板的左右两侧固定安装有定位槽,两个所述定位块相对的一侧分别延伸并卡接至两个定位槽的内部,所述连接盖板的正面与背面均开设有安装孔,两个所述卡接构件相对的一侧分别延伸并插接至两个安装孔的内部,所述连接盖板的底部固定安装有散热部件,所述散热部件的底部与安装芯片接触。In order to achieve relatively good heat dissipation effect of the above-mentioned packaging structure, thereby increasing the performance, reliability and service life of electronic components, the present utility model provides the following technical solutions: a semiconductor packaging structure, including a packaging shell, the packaging shell The left and right sides of the bottom are fixedly connected with lead frames, the top of the package shell is provided with a placement slot, and the placement slot is placed inside the placement chip. The top of the lead frame penetrates and extends to the inside of the placement slot, the two connecting solder balls are welded to the top of the two lead frames respectively, and positioning blocks are fixedly installed on the left and right sides of the placement slot. The front and other surfaces of the slot are embedded with clamping members, the top of the placement slot is clamped with a connection cover, the left and right sides of the connection cover are fixedly installed with positioning slots, and the two positioning blocks are opposite to each other. One side is respectively extended and clamped to the inside of the two positioning grooves, the front and back of the connection cover are provided with installation holes, and the opposite sides of the two clamping members are respectively extended and inserted into the two installation holes. Inside the hole, a heat dissipation component is fixedly mounted on the bottom of the connection cover, and the bottom of the heat dissipation component is in contact with the mounting chip.
优选的,所述封装外壳的底部开设有散热槽,所述散热槽的顶部与放置槽相连通,所述安装芯片位于散热槽的顶部。Preferably, a heat dissipation groove is formed at the bottom of the package shell, the top of the heat dissipation groove is communicated with the placement groove, and the mounting chip is located on the top of the heat dissipation groove.
优选的,所述封装外壳的左右两侧均固定连接有导热片,两个所述导热片相对的一侧均贯穿至放置槽内,两个所述导热片分别与安装芯片的左右两侧接触。Preferably, thermally conductive sheets are fixedly connected to the left and right sides of the package shell, the opposite sides of the two thermally conductive sheets penetrate into the placement groove, and the two thermally conductive sheets are respectively in contact with the left and right sides of the mounting chip. .
优选的,所述散热部件的底部粘接有导热硅胶片,所述导热硅胶片的底部与安装芯片接触。Preferably, a thermally conductive silicone sheet is adhered to the bottom of the heat dissipating component, and the bottom of the thermally conductive silicone sheet is in contact with the mounting chip.
优选的,两个所述卡接构件均包括卡接筒,两个所述卡接筒均嵌设于封装外壳的顶部,两个所述卡接筒相对的一侧均贯穿至放置槽内,两个所述卡接筒的内部均滑动连接有阻尼块,两个所述阻尼块相对的一侧均固定连接有活动插块,两个所述活动插块远离阻尼块的一端贯穿并滑动连接至卡接筒的外部,所述阻尼块与卡接筒之间固定安装有弹性弹簧,所述弹性弹簧套设于活动插块上。Preferably, both of the two snap-on members include snap-on barrels, the two snap-on barrels are both embedded on the top of the package shell, and opposite sides of the two snap-on barrels penetrate into the placement groove, A damping block is slidably connected to the inside of the two clamping cylinders, a movable insert block is fixedly connected to the opposite side of the two damping blocks, and one end of the two movable insert blocks away from the damping block penetrates and is slidably connected. To the outside of the clamping cylinder, an elastic spring is fixedly installed between the damping block and the clamping cylinder, and the elastic spring is sleeved on the movable insertion block.
优选的,所述散热部件包括散热块,所述散热块的顶部与连接盖板固定连接,所述散热块的顶部开设有等距离排列的放热槽,所述散热块的底部与导热硅胶片粘接。Preferably, the heat dissipation component includes a heat dissipation block, the top of the heat dissipation block is fixedly connected with the connection cover, the top of the heat dissipation block is provided with heat dissipation grooves arranged at equal distances, and the bottom of the heat dissipation block is connected to the thermally conductive silicone sheet. bonding.
(三)有益效果(3) Beneficial effects
与现有技术相比,本实用新型提供了一种半导体封装结构,具备以下有益效果:Compared with the prior art, the utility model provides a semiconductor packaging structure, which has the following beneficial effects:
1、该半导体封装结构,通过在封装外壳底部安装有引线框,顶部开设有放置槽,使得安装芯片可通过连接锡球,焊接至两个引线框内,放置槽通过连接盖板对放置槽进行封装,且连接盖板的底部安装有散热部件,可直接与安装芯片接触,从而更好的对安装芯片进行热量传导,使装置达到封装结构的散热效果相对较好,从而增加了电子元件的性能、可靠性与使用寿命。1. In this semiconductor package structure, a lead frame is installed at the bottom of the package shell, and a placement slot is opened at the top, so that the mounting chip can be soldered into the two lead frames by connecting the solder balls, and the placement slot is connected to the placement slot by connecting the cover plate. package, and the bottom of the connecting cover is installed with a heat dissipation component, which can directly contact the mounted chip, so as to better conduct heat conduction to the mounted chip, so that the device achieves a relatively good heat dissipation effect of the package structure, thereby increasing the performance of electronic components , reliability and service life.
2、该半导体封装结构,通过在封装外壳的底部开设有散热槽,使得散热槽对安装芯片的底部进行通风,进一步增加了装置的散热效果。2. In the semiconductor package structure, a heat dissipation groove is provided at the bottom of the package casing, so that the heat dissipation groove ventilates the bottom of the mounted chip, which further increases the heat dissipation effect of the device.
3、该半导体封装结构,通过封装外壳的左右两侧均固定连接有导热片,使得两个导热片可对安装芯片的左右两侧进行导热,使装置的导热效果相对更好,且两个导热片相对的一侧安装有硅胶导热垫,导热片在热量传导时,不易损伤安装芯片,增加装置的实用性。3. In the semiconductor packaging structure, the heat-conducting sheets are fixedly connected to the left and right sides of the packaging shell, so that the two heat-conducting sheets can conduct heat on the left and right sides of the mounted chip, so that the heat-conducting effect of the device is relatively better, and the two heat-conducting sheets can conduct heat on the left and right sides of the mounted chip. A silicone thermal pad is installed on the opposite side of the sheet, and the thermal pad is not easy to damage the mounted chip during heat conduction, which increases the practicability of the device.
4、该半导体封装结构,通过在散热部件的底部粘接有导热硅胶片,使散热部件不与安装芯片硬接触,导热硅胶片在具有热量传导能力的同时具有保护安装芯片的作用,进一步增加了装置的实用性与使用寿命。4. In this semiconductor package structure, a thermally conductive silica gel sheet is attached to the bottom of the heat dissipation component, so that the heat dissipation component is not in hard contact with the mounting chip. Availability and service life of the device.
5、该半导体封装结构,通过设置卡接构件均包括卡接筒、阻尼块、活动插块以及弹性弹簧,卡接筒可支撑阻尼块与活动插块,使得活动插块在受到弹性弹簧弹力时,活动插块可稳定插接至安装孔内,增加了装置的稳定性。5. In the semiconductor packaging structure, the clamping members include a clamping cylinder, a damping block, a movable insertion block and an elastic spring. The clamping cylinder can support the damping block and the movable insertion block, so that the movable insertion block is subjected to the elastic force of the elastic spring. , the movable plug can be stably inserted into the installation hole, which increases the stability of the device.
6、该半导体封装结构,通过设置散热部件包括散热块和放热槽,散热块把吸收热量后,可由放热槽进行热量传导,进而排出热量,增加了装置的实用性。6. In the semiconductor package structure, the heat dissipation components include a heat dissipation block and a heat dissipation groove. After the heat dissipation block absorbs heat, the heat dissipation groove can conduct heat conduction, thereby expelling heat, which increases the practicability of the device.
附图说明Description of drawings
图1为本实用新型结构正视剖面图;Fig. 1 is the front sectional view of the structure of the utility model;
图2为本实用新型结构图1中A部的放大图;Fig. 2 is the enlarged view of A part in the utility model structure Fig. 1;
图3为本实用新型卡接构件与安装孔连接结构俯视截面图;3 is a top sectional view of the connection structure between the clamping member and the mounting hole of the present invention;
图4为本实用新型图3中B部的放大图。FIG. 4 is an enlarged view of part B in FIG. 3 of the present utility model.
图中标号说明:Description of the labels in the figure:
1、封装外壳;2、引线框;3、放置槽;4、安装芯片;5、连接锡球;6、定位块;7、卡接构件;701、卡接筒;702、阻尼块;703、活动插块;704、弹性弹簧;8、连接盖板;9、定位槽;10、安装孔;11、散热部件;111、散热块;112、放热槽;12、散热槽;13、导热片;14、导热硅胶片。1. Encapsulation shell; 2. Lead frame; 3. Placement slot; 4. Mounting chip; 5. Connecting solder balls; 6. Positioning block; Active plug; 704, elastic spring; 8, connection cover plate; 9, positioning slot; 10, mounting hole; 11, heat dissipation part; 111, heat dissipation block; 112, heat release groove; 12, heat dissipation groove; 13, heat conduction sheet ; 14. Thermally conductive silicone sheet.
具体实施方式Detailed ways
下面将结合本实用新型实施例中的附图,对本实用新型实施例中的技术方案进行清楚、完整地描述,显然,所描述的实施例仅仅是本实用新型一部分实施例,而不是全部的实施例。基于本实用新型中的实施例,本领域普通技术人员在没有做出创造性劳动前提下所获得的所有其他实施例,都属于本实用新型保护的范围。The technical solutions in the embodiments of the present utility model will be clearly and completely described below with reference to the accompanying drawings in the embodiments of the present utility model. Obviously, the described embodiments are only a part of the embodiments of the present utility model, rather than all the implementations. example. Based on the embodiments of the present invention, all other embodiments obtained by those of ordinary skill in the art without creative work fall within the protection scope of the present invention.
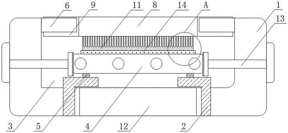
请参阅图1-4,一种半导体封装结构,包括封装外壳1,封装外壳1底部的左右两侧固定连接有引线框2,封装外壳1的顶部开设有放置槽3,放置槽3内部放置有安装芯片4,安装芯片4底部的左右两侧均焊接有连接锡球5,两个引线框2的顶部贯穿并延伸至放置槽3的内部,两个连接锡球5分别与两个引线框2的顶部焊接,放置槽3的左右两侧均固定安装有定位块6,放置槽3的正面与别面均嵌设有卡接构件7,放置槽3的顶部卡接有连接盖板8,连接盖板8的左右两侧固定安装有定位槽9,两个定位块6相对的一侧分别延伸并卡接至两个定位槽9的内部,连接盖板8的正面与背面均开设有安装孔10,两个卡接构件7相对的一侧分别延伸并插接至两个安装孔10的内部,连接盖板8的底部固定安装有散热部件11,散热部件11的底部与安装芯片4接触,通过在封装外壳1底部安装有引线框2,顶部开设有放置槽3,使得安装芯片4可通过连接锡球5,焊接至两个引线框2内,放置槽3通过连接盖板8对放置槽3进行封装,且连接盖板8的底部安装有散热部件11,可直接与安装芯片4接触,从而更好的对安装芯片4进行热量传导,使装置达到封装结构的散热效果相对较好,从而增加了电子元件的性能、可靠性与使用寿命。Please refer to FIGS. 1-4 , a semiconductor packaging structure includes a
优选的,封装外壳1的底部开设有散热槽12,散热槽12的顶部与放置槽3相连通,安装芯片4位于散热槽12的顶部,通过在封装外壳1的底部开设有散热槽12,使得散热槽12对安装芯片4的底部进行通风,进一步增加了装置的散热效果。Preferably, the bottom of the
优选的,封装外壳1的左右两侧均固定连接有导热片13,两个导热片13相对的一侧均贯穿至放置槽3内,两个导热片13分别与安装芯片4的左右两侧接触,通过封装外壳1的左右两侧均固定连接有导热片13,使得两个导热片13可对安装芯片4的左右两侧进行导热,使装置的导热效果相对更好,且两个导热片13相对的一侧安装有硅胶导热垫,导热片13在热量传导时,不易损伤安装芯片4,增加装置的实用性。Preferably, thermally
优选的,散热部件11的底部粘接有导热硅胶片14,导热硅胶片14的底部与安装芯片4接触,通过在散热部件11的底部粘接有导热硅胶片14,使散热部件11不与安装芯片4硬接触,导热硅胶片14在具有热量传导能力的同时具有保护安装芯片4的作用,进一步增加了装置的实用性与使用寿命。Preferably, a thermally
优选的,两个卡接构件7均包括卡接筒701,两个卡接筒701均嵌设于封装外壳1的顶部,两个卡接筒701相对的一侧均贯穿至放置槽3内,两个卡接筒701的内部均滑动连接有阻尼块702,两个阻尼块702相对的一侧均固定连接有活动插块703,两个活动插块703远离阻尼块702的一端贯穿并滑动连接至卡接筒701的外部,阻尼块702与卡接筒701之间固定安装有弹性弹簧704,弹性弹簧704套设于活动插块703上,通过设置卡接构件7均包括卡接筒701、阻尼块702、活动插块703以及弹性弹簧704,卡接筒701可支撑阻尼块702与活动插块703,使得活动插块703在受到弹性弹簧704弹力时,活动插块703可稳定插接至安装孔10内,增加了装置的稳定性。Preferably, both of the two
优选的,散热部件11包括散热块111,散热块111的顶部与连接盖板8固定连接,散热块111的顶部开设有等距离排列的放热槽112,散热块111的底部与导热硅胶片14粘接,通过设置散热部件11包括散热块111和放热槽112,散热块111把吸收热量后,可由放热槽112进行热量传导,进而排出热量,增加了装置的实用性。Preferably, the
工作原理:通过在封装外壳1底部安装有引线框2,顶部开设有放置槽3,使得安装芯片4可通过连接锡球5,焊接至两个引线框2内,放置槽3通过连接盖板8对放置槽3进行封装,且连接盖板8的底部安装有散热部件11,可直接与安装芯片4接触,从而更好的对安装芯片4进行热量传导,连接盖板8上开设有定位槽9与安装孔10,使得放置槽3上的定位块6与卡接构件7,可分别卡接至定位槽9与安装孔10内,使得连接盖板8的连接安装相对稳定,装置的结构相对简单,封装相对便利,最终使装置达到封装结构的散热效果相对较好,从而增加了电子元件的性能、可靠性与使用寿命,解决了芯片的散热效果相对不佳,降低了电子元件性能、可靠性和平均寿命的问题。Working principle: The
需要说明的是,在本文中,诸如第一和第二等之类的关系术语仅仅用来将一个实体或者操作与另一个实体或操作区分开来,而不一定要求或者暗示这些实体或操作之间存在任何这种实际的关系或者顺序。而且,术语“包括”、“包含”或者其任何其他变体意在涵盖非排他性的包含,从而使得包括一系列要素的过程、方法、物品或者设备不仅包括那些要素,而且还包括没有明确列出的其他要素,或者是还包括为这种过程、方法、物品或者设备所固有的要素。在没有更多限制的情况下,由语句“包括一个……”限定的要素,并不排除在包括所述要素的过程、方法、物品或者设备中还存在另外的相同要素。It should be noted that, in this document, relational terms such as first and second are only used to distinguish one entity or operation from another entity or operation, and do not necessarily require or imply any relationship between these entities or operations. any such actual relationship or sequence exists. Moreover, the terms "comprising", "comprising" or any other variation thereof are intended to encompass a non-exclusive inclusion such that a process, method, article or device that includes a list of elements includes not only those elements, but also includes not explicitly listed or other elements inherent to such a process, method, article or apparatus. Without further limitation, an element qualified by the phrase "comprising a..." does not preclude the presence of additional identical elements in a process, method, article or apparatus that includes the element.
尽管已经示出和描述了本实用新型的实施例,对于本领域的普通技术人员而言,可以理解在不脱离本实用新型的原理和精神的情况下可以对这些实施例进行多种变化、修改、替换和变型,本实用新型的范围由所附权利要求及其等同物限定。Although the embodiments of the present invention have been shown and described, it will be understood by those skilled in the art that various changes and modifications can be made to these embodiments without departing from the principles and spirit of the present invention , alternatives and modifications, the scope of the present invention is defined by the appended claims and their equivalents.
Claims (6)
Priority Applications (1)
| Application Number | Priority Date | Filing Date | Title |
|---|---|---|---|
| CN202021167861.6U CN212033009U (en) | 2020-06-22 | 2020-06-22 | Semiconductor packaging structure |
Applications Claiming Priority (1)
| Application Number | Priority Date | Filing Date | Title |
|---|---|---|---|
| CN202021167861.6U CN212033009U (en) | 2020-06-22 | 2020-06-22 | Semiconductor packaging structure |
Publications (1)
| Publication Number | Publication Date |
|---|---|
| CN212033009U true CN212033009U (en) | 2020-11-27 |
Family
ID=73477390
Family Applications (1)
| Application Number | Title | Priority Date | Filing Date |
|---|---|---|---|
| CN202021167861.6U Expired - Fee Related CN212033009U (en) | 2020-06-22 | 2020-06-22 | Semiconductor packaging structure |
Country Status (1)
| Country | Link |
|---|---|
| CN (1) | CN212033009U (en) |
Cited By (4)
| Publication number | Priority date | Publication date | Assignee | Title |
|---|---|---|---|---|
| CN113161310A (en) * | 2021-05-08 | 2021-07-23 | 河北博威集成电路有限公司 | LCP-based GaN microwave power device pipe cap structure |
| CN114071876A (en) * | 2021-11-17 | 2022-02-18 | 重庆达标电子科技有限公司 | SMA structure with copper-saving jumper wire frame |
| CN117727700A (en) * | 2024-02-07 | 2024-03-19 | 苏州熹联光芯微电子科技有限公司 | Chip packaging structure |
| CN118610178A (en) * | 2024-07-31 | 2024-09-06 | 江苏晟驰微电子有限公司 | A DFN power device for conductive silver wire with interconnection structure |
-
2020
- 2020-06-22 CN CN202021167861.6U patent/CN212033009U/en not_active Expired - Fee Related
Cited By (7)
| Publication number | Priority date | Publication date | Assignee | Title |
|---|---|---|---|---|
| CN113161310A (en) * | 2021-05-08 | 2021-07-23 | 河北博威集成电路有限公司 | LCP-based GaN microwave power device pipe cap structure |
| CN114071876A (en) * | 2021-11-17 | 2022-02-18 | 重庆达标电子科技有限公司 | SMA structure with copper-saving jumper wire frame |
| CN114071876B (en) * | 2021-11-17 | 2025-11-21 | 重庆达标电子科技有限公司 | SMA structure with jumper wire frame |
| CN117727700A (en) * | 2024-02-07 | 2024-03-19 | 苏州熹联光芯微电子科技有限公司 | Chip packaging structure |
| CN117727700B (en) * | 2024-02-07 | 2024-05-03 | 苏州熹联光芯微电子科技有限公司 | Chip packaging structure |
| CN118610178A (en) * | 2024-07-31 | 2024-09-06 | 江苏晟驰微电子有限公司 | A DFN power device for conductive silver wire with interconnection structure |
| CN118610178B (en) * | 2024-07-31 | 2024-11-08 | 江苏晟驰微电子有限公司 | DFN power device with interconnection structure for conductive silver wire |
Similar Documents
| Publication | Publication Date | Title |
|---|---|---|
| CN212033009U (en) | Semiconductor packaging structure | |
| CN210429782U (en) | Packaged chip and electronic device | |
| CN112397465A (en) | Chip heat radiation structure | |
| CN111341741A (en) | A power device packaging structure and packaging method for improving heat dissipation capability | |
| CN210958947U (en) | Precise multilayer circuit board convenient to radiate heat | |
| CN211184790U (en) | Electric bicycle lithium cell heat radiation structure | |
| CN207637783U (en) | Substrate for high-power semiconductor packaging and semiconductor packaging structure | |
| US12033911B2 (en) | Semiconductor structure having a groove located in the semiconductor substrate and connected to the heat transfer layer | |
| CN218888766U (en) | Hybrid packaging structure of integrated circuit chip | |
| CN214672591U (en) | Power device packaging structure | |
| CN213583756U (en) | An electronic chip packaging structure | |
| CN215834516U (en) | Heat conducting device for electronic element | |
| CN212573229U (en) | Power electronic component packaging hardware | |
| CN214254391U (en) | Integrated circuit packaging structure for face recognition | |
| CN220510004U (en) | Semiconductor shell with good waterproof performance | |
| CN210073821U (en) | Gallium nitride-based power switch device | |
| CN210575922U (en) | Packaging structure of power semiconductor device | |
| CN211125630U (en) | A high back voltage transistor | |
| CN207938600U (en) | A kind of insulation-encapsulated large power triode | |
| CN221057411U (en) | Semiconductor chip packaging structure | |
| CN211654804U (en) | Semiconductor fixing structure | |
| CN218101242U (en) | Novel rectifier diode | |
| CN210271941U (en) | Chip resistor substrate structure | |
| CN218513445U (en) | Low-cost power chip packaging structure | |
| CN221805513U (en) | High-power device |
Legal Events
| Date | Code | Title | Description |
|---|---|---|---|
| GR01 | Patent grant | ||
| GR01 | Patent grant | ||
| CF01 | Termination of patent right due to non-payment of annual fee |
Granted publication date: 20201127 |
|
| CF01 | Termination of patent right due to non-payment of annual fee |
