CN202495854U - 电磁线过线夹紧装置 - Google Patents

电磁线过线夹紧装置 Download PDF

Info

Publication number
CN202495854U
CN202495854U CN2012200099066U CN201220009906U CN202495854U CN 202495854 U CN202495854 U CN 202495854U CN 2012200099066 U CN2012200099066 U CN 2012200099066U CN 201220009906 U CN201220009906 U CN 201220009906U CN 202495854 U CN202495854 U CN 202495854U
Authority
CN
China
Prior art keywords
plate
electromagnetic wire
base plate
pressing plate
eccentric wheel
Prior art date
Legal status (The legal status is an assumption and is not a legal conclusion. Google has not performed a legal analysis and makes no representation as to the accuracy of the status listed.)
Expired - Fee Related
Application number
CN2012200099066U
Other languages
English (en)
Inventor
傅俊文
李文富
Current Assignee (The listed assignees may be inaccurate. Google has not performed a legal analysis and makes no representation or warranty as to the accuracy of the list.)
SUZHOU DEFEMG MOTOR CO Ltd
Original Assignee
SUZHOU DEFEMG MOTOR CO Ltd
Priority date (The priority date is an assumption and is not a legal conclusion. Google has not performed a legal analysis and makes no representation as to the accuracy of the date listed.)
Filing date
Publication date
Application filed by SUZHOU DEFEMG MOTOR CO Ltd filed Critical SUZHOU DEFEMG MOTOR CO Ltd
Priority to CN2012200099066U priority Critical patent/CN202495854U/zh
Application granted granted Critical
Publication of CN202495854U publication Critical patent/CN202495854U/zh
Anticipated expiration legal-status Critical
Expired - Fee Related legal-status Critical Current

Links

Images

Landscapes

  • Clamps And Clips (AREA)

Abstract

本实用新型涉及电磁线过线夹紧装置,其特征在于:包括横向的底板和顶板,所述底板和顶板通过两纵向立板连接,形成一个能过线的横向通道,所述通道内设有可移动的横向压板,所述横向压板的上方设有偏心装置,所述偏心装置包括一贯通所述顶板的偏心轮以及一个操作所述偏心轮旋转的操作手柄,所述压板下方通过纵向设置的弹簧与底板连接。本实用新型的夹紧装置通过操作手柄带动凸轮对电磁线附加预紧力,使绕出的线圈更加紧密成形,节省铜线。此装置操作简单,方便,设置的回程弹簧使过线夹紧更为快捷。可以通过装置下方的调节螺钉控制预紧力大小,还可以在装置的压板和垫板间的夹紧面附置高密度羊毛毡,确保从中所过的电磁线漆膜不受损。

Description

电磁线过线夹紧装置
技术领域
本实用新型涉及一种电磁线过线夹紧装置,尤其涉及一种电动机绕组绕制前的过线预紧夹紧装置。
背景技术
电机行业尤其是中小型电机的定子绕线中,经常用到定子绕组多股线并绕的情况,并绕线轮通常被摆在地上放线,多根电磁线从架起的镀镍铁管上跨过,并到一起进行绕制。由于电磁线的数量多,且在绕制前没有受到预紧张力,容易造成绕制时电磁线混乱,交叠,绕成的线圈紧密度不理想或形状不规则。
发明内容
本实用新型克服了现有技术的不足,提供一种结构简单,操作方便,快速夹紧,节省铜线,过线平稳整齐,预紧力可调,及保护电磁线漆膜的夹紧装置。
为达到上述目的,本实用新型采用的技术方案为:电磁线过线夹紧装置,其特征在于:包括横向的底板和顶板,所述底板和顶板通过两纵向立板连接,形成一个能过线的横向通道,所述通道内设有可移动的横向压板,所述横向压板的上方设有偏心装置,所述偏心装置包括一贯通所述顶板的偏心轮以及一个操作所述偏心轮旋转的操作手柄,所述压板下方通过纵向设置的弹簧与底板连接。
本实用新型一个较佳实施例中,进一步包括所述底板上设有横向的垫板,垫板位于压板和弹簧内侧。
本实用新型一个较佳实施例中,进一步包括所述压板和垫板的夹紧面上至少一个粘附有高密度羊毛毡层。
本实用新型一个较佳实施例中,进一步包括所述垫板与所述底板活动连接,所述底板设置有贯穿所述底板的调节螺钉,驱动所述垫板上下运动。
本实用新型一个较佳实施例中,进一步包括所述底板上至少设有两个调节螺钉,调节螺钉关于所述通道沿过线方向的纵向中心平面对称。
本实用新型一个较佳实施例中,进一步包括所述底板,顶板,压板,垫板均为相互平行的平板。
本实用新型一个较佳实施例中,进一步包括所述羊毛毡沿过线方向超出压板,垫板边缘。
本实用新型一个较佳实施例中,进一步包括所述偏心装置设于顶板上,所述偏心轮包括一沿所述通道方向安装的转轴,并绕所述转轴自由转动。
本实用新型一个较佳实施例中,进一步包括所述偏心轮转轴轴线位于所述中心平面内。
本实用新型一个较佳实施例中,进一步包括所述顶板上设有支架,所述偏心轮安装在该支架上。
本实用新型解决了背景技术中存在的缺陷,本实用新型的夹紧装置通过操作手柄带动凸轮对电磁线附加预紧力,使绕出的线圈更加紧密成形,节省铜线。此装置操作简单,方便,设置的回程弹簧使过线夹紧更为快捷。可采用平面式过线板结构,确保多股并绕线的均布及受力均衡。可以通过装置下方的调节螺钉控制预紧力大小,获得适宜张力。还可以在装置的压板和垫板间的夹紧面附置高密度羊毛毡,确保从中所过的电磁线漆膜不受损。
附图说明
下面结合附图和实施例对本实用新型进一步说明。
图1是本实用新型的优选实施例的结构示意图;
图2是图1所示的A-A剖面图;
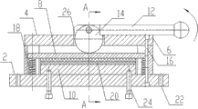
图中:2、底板,4、顶板,6、立板,8、压板,10、垫板,12、操作手柄,14、偏心轮,16、螺钉,18、弹簧,20、羊毛毡,22、安装孔,24、调节螺钉,26、支架。
具体实施方式
现在结合附图和实施例对本实用新型作进一步详细的说明,这些附图均为简化的示意图,仅以示意方式说明本实用新型的基本结构,因此其仅显示与本实用新型有关的构成。
如图1,图2所示,所述电磁线过线夹紧装置,包括横向的底板2和顶板4,所述底板2和顶板4之间设有两纵向的立板6,使得两立板6间形成一个能过线的横向通道,所述通道内设有横向的压板8和垫板10,所述顶板4上安装偏心装置。
所述立板6中心固定有纵向的螺钉16,螺钉16两头分别与顶板4和底板2相连接。所述通道内,压板8垂直于过线方向的两端底面各通过一纵向的弹簧18与底板2连接。底板2上方设置有垫板10,垫板10位于压板8和弹簧18内侧。压板8和垫板10之间的夹紧面上均粘附有高密度羊毛毡20,且羊毛毡20沿过线方向超出压板8及垫板10的边缘,能更好地保护电磁线不磨损。底板2垂直于过线方向的两端各开有一纵向安装孔22,安装孔22位于两立板6外侧,用于固定整个夹紧装置。底板2上还设有两纵向通孔,两个调节螺钉24通过螺纹连接分别安装在通孔中,调节螺钉24的大头一端位于底板2外侧,另一端穿出通孔顶入垫板10中部配套的孔槽内。所述顶板4,底板2,压板8,垫板10均为相互平行的平板。所述弹簧18,调节螺钉24,安装孔22均各自关于所述通道沿过线方向的纵向中心平面对称,因此调节对称设置的螺钉24可使压板8和垫板10间夹紧力大小均匀分布。所述偏心装置包括一偏心轮14以及一个操作所述偏心轮14旋转的操作手柄12。所述顶板4中部连有一方形支架26,圆形偏心轮14的转轴沿横向安装在支架26上高于顶板4顶面,转轴轴线位于上述通道中心平面内。所述偏心轮14纵向贯通顶板4,能绕自身转轴自由转动,并且其轮缘最低点抵住压板8顶部。所述操作手柄12沿偏心轮14径向设置,操作手柄12与偏心轮14为一体式结构,转动操作手柄12,偏心轮14绕转轴同步转动。使用时,转动操作手柄12,带动偏心轮14转动,随着偏心轮14的转动,其轮缘上与压板8接触的一点到转轴的距离,即该处半径也不断变化,因此转动操作手柄12使所述接触点处半径变大可将压板8向垫板10方向顶,压板8与底板2间的弹簧18使得压板8运动更加平稳,此时,旋动装置底部的调节螺钉24,可以调整垫板10相对于压板8的距离,即二者间的夹紧程度。若转动操作手柄12,使所述接触点处半径逐渐减小,则压板8在弹簧18的作用下远离垫板10,空出压板8与垫板10间的过线空间。
进行电机绕组绕制时,将本实用新型提供的夹紧装置水平安装在绕线轮与电机绕组间高于地面的位置。转动操作手柄12,带动偏心轮14,使得压板8与垫板10分离,留出过线空间,将各绕线轮上放出的单股电磁线汇聚到一起,并成多股,穿入所述过线空间,整齐排列,再次转动偏心轮14,将压板8下顶,与垫板10配合夹紧电磁线,同时通过调节螺钉24调节夹紧力,即可使电磁线获得不同需求下的预紧力,使绕线质量更高。另外,压板8与垫板10间夹紧面上粘附的高密度羊毛毡20可以保护电磁线外包裹的漆膜不因受力过大的摩擦而损坏。
以上依据本实用新型的理想实施例为启示,通过上述的说明内容,相关人员完全可以在不偏离本项实用新型技术思想的范围内,进行多样的变更以及修改。本项实用新型的技术性范围并不局限于说明书上的内容,必须要根据权利要求范围来确定技术性范围。

Claims (10)

1. 电磁线过线夹紧装置,其特征在于:包括横向的底板和顶板,所述底板和顶板通过两纵向立板连接,形成一个能过线的横向通道,所述通道内设有可移动的横向压板,所述横向压板的上方设有偏心装置,所述偏心装置包括一贯通所述顶板的偏心轮以及一个操作所述偏心轮旋转的操作手柄,所述压板下方通过纵向设置的弹簧与底板连接。
2. 根据权利要求1所述的电磁线过线夹紧装置,其特征在于:所述底板上设有横向的垫板,垫板位于压板和弹簧内侧。
3. 根据权利要求2所述的电磁线过线夹紧装置,其特征在于:所述压板和垫板的夹紧面上至少一个粘附有高密度羊毛毡层。
4. 根据权利要求3所述的电磁线过线夹紧装置,其特征在于:所述垫板与所述底板活动连接,所述底板设置有贯穿所述底板的调节螺钉,驱动所述垫板上下运动。
5. 根据权利要求4所述的电磁线过线夹紧装置,其特征在于:所述底板上至少设有两个调节螺钉,调节螺钉关于所述通道沿过线方向的纵向中心平面对称。
6. 根据权利要求5所述的电磁线过线夹紧装置,其特征在于:所述底板,顶板,压板,垫板均为相互平行的平板。
7. 根据权利要求6所述的电磁线过线夹紧装置,其特征在于:所述羊毛毡沿过线方向超出压板,垫板边缘。
8. 根据权利要求7所述的电磁线过线夹紧装置,其特征在于:所述偏心装置设于顶板上,所述偏心轮包括一沿所述通道方向安装的转轴,并绕所述转轴自由转动。
9. 根据权利要求8所述的电磁线过线夹紧装置,其特征在于:所述偏心轮转轴轴线位于所述中心平面内。
10. 根据权利要求9所述的电磁线过线夹紧装置,其特征在于:所述顶板上设有支架,所述偏心轮安装在该支架上。
CN2012200099066U 2012-01-11 2012-01-11 电磁线过线夹紧装置 Expired - Fee Related CN202495854U (zh)

Priority Applications (1)

Application Number Priority Date Filing Date Title
CN2012200099066U CN202495854U (zh) 2012-01-11 2012-01-11 电磁线过线夹紧装置

Applications Claiming Priority (1)

Application Number Priority Date Filing Date Title
CN2012200099066U CN202495854U (zh) 2012-01-11 2012-01-11 电磁线过线夹紧装置

Publications (1)

Publication Number Publication Date
CN202495854U true CN202495854U (zh) 2012-10-17

Family

ID=47002066

Family Applications (1)

Application Number Title Priority Date Filing Date
CN2012200099066U Expired - Fee Related CN202495854U (zh) 2012-01-11 2012-01-11 电磁线过线夹紧装置

Country Status (1)

Country Link
CN (1) CN202495854U (zh)

Cited By (4)

* Cited by examiner, † Cited by third party
Publication number Priority date Publication date Assignee Title
CN103516151A (zh) * 2013-10-16 2014-01-15 南阳微特防爆电机有限公司 电机绕组张力放线装置
CN103855881A (zh) * 2012-12-08 2014-06-11 山东中际电工装备股份有限公司 嵌线走纸板组件及定刀快换装置
CN110181950A (zh) * 2019-07-01 2019-08-30 广州市易鸿智能装备有限公司 压紧机构及打标机
CN110774210A (zh) * 2019-10-15 2020-02-11 江苏仅一联合智造有限公司 一种充填喷嘴快速压紧机构及充填喷嘴快速拆装方法

Cited By (5)

* Cited by examiner, † Cited by third party
Publication number Priority date Publication date Assignee Title
CN103855881A (zh) * 2012-12-08 2014-06-11 山东中际电工装备股份有限公司 嵌线走纸板组件及定刀快换装置
CN103855881B (zh) * 2012-12-08 2016-10-26 山东中际电工装备股份有限公司 嵌线走纸板组件及定刀快换装置
CN103516151A (zh) * 2013-10-16 2014-01-15 南阳微特防爆电机有限公司 电机绕组张力放线装置
CN110181950A (zh) * 2019-07-01 2019-08-30 广州市易鸿智能装备有限公司 压紧机构及打标机
CN110774210A (zh) * 2019-10-15 2020-02-11 江苏仅一联合智造有限公司 一种充填喷嘴快速压紧机构及充填喷嘴快速拆装方法

Similar Documents

Publication Publication Date Title
CN202495854U (zh) 电磁线过线夹紧装置
CN202796426U (zh) 绕线设备的供线装置
KR101027732B1 (ko) 드럼 케이블의 다회선 케이블 풀링장치
CN203679589U (zh) 一种用于减振器的焊接定位工装
CN101394121B (zh) 一种电机嵌线方法及装置
CN212639458U (zh) 一种放线机
CN107248433A (zh) 一种电缆线芯生产线
CN211110335U (zh) 一种线缆生产用绕线机
CN205645532U (zh) 一种电磁线绕线装置
CN202210744U (zh) 一种电机绕线机
CN102737791A (zh) 一种适用于电缆的铝箔纵包装置
CN209835282U (zh) 一种自动嵌线的导线结构
CN204651167U (zh) 一种大型磁环电感自动绕线机
CN107070131A (zh) 一种定子绕线装置及其方法
CN211613881U (zh) 一种钢带开卷机
CN210064602U (zh) 一种电缆加工用的缆线收束装置
CN104218745A (zh) 一种多线平面绕组的绕制方法
CN112951592B (zh) 一种变压器线圈绕线用收放线装置
CN103971921A (zh) 一种变压器绕线机夹具
CN211556686U (zh) 一种电力工程用线缆铺设拉紧装置
CN108809015A (zh) 张紧力调节器
CN108666051A (zh) 一种汽车线束扎线机用绕线组件
CN102684111A (zh) 一种用于自动绕线机的剥线装置
CN102494944B (zh) 一种织带夹持装置
CN211046345U (zh) 一种通信工程用的电缆支架

Legal Events

Date Code Title Description
C14 Grant of patent or utility model
GR01 Patent grant
CF01 Termination of patent right due to non-payment of annual fee

Granted publication date: 20121017

Termination date: 20160111