CN202193134U - 汽车翻转式驾驶室液压锁结构 - Google Patents

汽车翻转式驾驶室液压锁结构 Download PDF

Info

Publication number
CN202193134U
CN202193134U CN2011202854751U CN201120285475U CN202193134U CN 202193134 U CN202193134 U CN 202193134U CN 2011202854751 U CN2011202854751 U CN 2011202854751U CN 201120285475 U CN201120285475 U CN 201120285475U CN 202193134 U CN202193134 U CN 202193134U
Authority
CN
China
Prior art keywords
assembly
lock
body assembly
lock body
unblanking
Prior art date
Legal status (The legal status is an assumption and is not a legal conclusion. Google has not performed a legal analysis and makes no representation as to the accuracy of the status listed.)
Expired - Lifetime
Application number
CN2011202854751U
Other languages
English (en)
Inventor
时志伟
俞任华
Current Assignee (The listed assignees may be inaccurate. Google has not performed a legal analysis and makes no representation or warranty as to the accuracy of the list.)
JIANGYIN SHENGSHIJIE MACHINERY MANUFACTURING CO LTD
Original Assignee
JIANGYIN SHENGSHIJIE MACHINERY MANUFACTURING CO LTD
Priority date (The priority date is an assumption and is not a legal conclusion. Google has not performed a legal analysis and makes no representation as to the accuracy of the date listed.)
Filing date
Publication date
Application filed by JIANGYIN SHENGSHIJIE MACHINERY MANUFACTURING CO LTD filed Critical JIANGYIN SHENGSHIJIE MACHINERY MANUFACTURING CO LTD
Priority to CN2011202854751U priority Critical patent/CN202193134U/zh
Application granted granted Critical
Publication of CN202193134U publication Critical patent/CN202193134U/zh
Anticipated expiration legal-status Critical
Expired - Lifetime legal-status Critical Current

Links

Images

Landscapes

  • Vehicle Body Suspensions (AREA)

Abstract

本实用新型涉及一种汽车翻转式驾驶室液压锁结构,它包括锁体总成(1)、锁芯总成(2)和开锁油缸(3)总成,所述锁芯总成(2)置于锁体总成(1)内,包括主锁块(21)、锁止块(22)和拉簧(23),其特征在于开锁油缸总成(3)竖直设置于锁体总成(1)后端,其上部通过锁紧螺母(34)固定,油缸活塞杆处于锁止块(22)后部的上方,所述锁止块(22)的后部与开锁油缸总成(3)用复位扭簧(33)相连。本实用新型装配简单,降低用户的维修成本,发现油缸漏油只要松开锁紧螺母就可以轻松快捷的更换油缸,油缸活塞与锁止块通过压接方式工作,可靠性提高。

Description

汽车翻转式驾驶室液压锁结构
技术领域
本实用新型涉及一种汽车翻转式驾驶室液压锁结构,主要用于车身和驾驶室后悬置装置的连接。 
背景技术
目前汽车上通用的锁止机构都采用液压油缸来驱动,液压油缸使用久了容易出现漏油现象,需要给锁止机构更换油缸。专利号为CN03221185.6的实用新型专利公开了一种液压锁结构,该实用新型中的液压油缸通过多个螺栓固定于液压锁内部,且液压油缸的活塞杆与锁止块相互连接。由于这种结构比较复杂,在油缸出现漏油现象时,拆卸比较麻烦,增加了维护成本。 
发明内容
本实用新型的目的在于克服上述不足,提供一种结构简单、装配容易的汽车翻转式驾驶室液压锁结构,降低用户的维护成本。 
本实用新型的目的是这样实现的:一种汽车翻转式驾驶室液压锁结构,它包括锁体总成、锁芯总成和开锁油缸总成,所述锁体总成上部两侧开设有锁栓槽,下部与汽车驾驶室后悬置装置相连,锁芯总成置于锁体总成内,包括主锁块、锁止块和拉簧,主锁块和锁止块下部铰接在锁体总成两侧,在油缸不工作时主锁块和锁止块上部两锁舌咬合,主锁块与锁体总成用拉簧相连,开锁油缸总成竖直设置于锁体总成后端,其上部通过锁紧螺母固定,油缸活塞杆处于锁止块后部的上方,所述锁止块后部与开锁油缸总成用复位扭簧相连。 
与现有技术相比,本实用新型的有益效果是: 
本实用新型装配简单,降低用户的维修成本,发现油缸漏油只要松开锁紧螺母就可以轻松快捷的更换油缸,油缸活塞与锁止块通过压接方式工作,可靠性提高。
附图说明
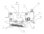
图1为本实用新型的结构示意图。 
图2为本实用新型的剖视图。 
图3为图2的右视图。 
其中: 
锁体总成1
锁芯总成2
开锁油缸总成3
定位销轴4
左固定板11
右固定板12
左连接板13
右连接板14
固定螺栓15
锁栓槽16
主锁块21
锁止块22
拉簧23
开锁油缸31
油缸固定板32
复位扭簧33
锁紧螺母34。
具体实施方式
参见图1,本实用新型涉及一种汽车翻转式驾驶室液压锁结构,由锁体总成1、锁芯总成2和开锁油缸总成3组成,所述液压锁的下部与驾驶室后悬置装置的悬浮梁顶部中间连接。 
参见图2—图3所述锁体总成由左固定板11、右固定板12、左连接板13、右连接板14和固定螺栓15组成,所述左固定板11和左连接板13内外连接于固定螺栓15一端,所述右固定板12和右连接板14内外连接于固定螺栓15另一端,所述左、右固定板11、12和左、右连接板13、14上部中间开设有U型锁栓槽16,左、右连接板13、14下部与汽车驾驶室后悬置装置悬浮梁顶部中间相连。锁芯总成2置于锁体总成内,由主锁块21、锁止块22和拉簧23组成。主锁块21和锁止块22下部用定位销轴4与左、右固定板11、12相连,在油缸不工作时主锁块21和锁止块22上部两锁舌咬合,主锁块21与右固定板12下端用拉簧23相连。开锁油缸总成3由开锁油缸31、油缸固定板32、复位扭簧33和锁紧螺母34组成,所述油缸固定板32是槽体结构,通过固定螺栓15固定于锁体总成1后端,所述开锁油缸31竖直固定于油缸固定板32内,开锁油缸31的上端通过锁紧螺母34固定,下部的活塞杆置于锁止块22的上方,所述复位扭簧33连接锁止块22后部与油缸固定板32。 
工作原理: 
工作时,油缸通过油泵产生油压,油缸活塞杆工作向下移动,推动锁止块后部绕定位销向下转动,锁止块锁舌与主锁块锁舌脱开。锁栓总成向上移动,带动主锁块绕定位销向下旋转,同时通过拉簧的拉力拉动主锁块加速转动。汽车正常行驶时,液压锁处于闭合状态。锁栓总成向下移动压住主锁块锁舌,主锁块绕定位销逆时针转动。油缸通过油泵回油,活塞杆上升恢复到原位,复位扭簧拉到锁止块绕定位销顺时针转动,锁止块锁舌与主锁块锁舌咬合。

Claims (1)

1.一种汽车翻转式驾驶室液压锁结构,它包括锁体总成(1)、锁芯总成(2)和开锁油缸(3)总成,所述锁体总成(1)上部两侧开设有锁栓槽(16),下部与汽车驾驶室后悬置装置相连,锁芯总成(2)置于锁体总成(1)内,包括主锁块(21)、锁止块(22)和拉簧(23),所述主锁块(21)和锁止块(22)下部铰接在锁体总成(1)两侧,在油缸不工作时主锁块(21)和锁止块(22)上部两锁舌咬合,所述主锁块(21)与锁体总成(1)用拉簧(23)相连,其特征在于开锁油缸总成(3)竖直设置于锁体总成(1)后端,其上部通过锁紧螺母(34)固定,油缸活塞杆处于锁止块(22)后部的上方,所述锁止块(22)的后部与开锁油缸总成(3)用复位扭簧(33)相连。
 2.根据权利要求1所述的一种汽车翻转式驾驶室液压锁结构,其特征在于所述锁体总成由左固定板(11)、右固定板(12)、左连接板(13)、右连接板(14)和固定螺栓(15)组成,所述左固定板(11)和左连接板(13)内外连接于固定螺栓(15)一端,所述右固定板(12)和右连接板(14)内外连接于固定螺栓(15)另一端。
CN2011202854751U 2011-08-08 2011-08-08 汽车翻转式驾驶室液压锁结构 Expired - Lifetime CN202193134U (zh)

Priority Applications (1)

Application Number Priority Date Filing Date Title
CN2011202854751U CN202193134U (zh) 2011-08-08 2011-08-08 汽车翻转式驾驶室液压锁结构

Applications Claiming Priority (1)

Application Number Priority Date Filing Date Title
CN2011202854751U CN202193134U (zh) 2011-08-08 2011-08-08 汽车翻转式驾驶室液压锁结构

Publications (1)

Publication Number Publication Date
CN202193134U true CN202193134U (zh) 2012-04-18

Family

ID=45948057

Family Applications (1)

Application Number Title Priority Date Filing Date
CN2011202854751U Expired - Lifetime CN202193134U (zh) 2011-08-08 2011-08-08 汽车翻转式驾驶室液压锁结构

Country Status (1)

Country Link
CN (1) CN202193134U (zh)

Cited By (2)

* Cited by examiner, † Cited by third party
Publication number Priority date Publication date Assignee Title
CN113371079A (zh) * 2021-07-07 2021-09-10 中国北方车辆研究所 一种一体式驾驶室后悬置总成
CN115009381A (zh) * 2022-06-23 2022-09-06 一汽解放青岛汽车有限公司 一种液压锁及分体式驾驶室

Cited By (2)

* Cited by examiner, † Cited by third party
Publication number Priority date Publication date Assignee Title
CN113371079A (zh) * 2021-07-07 2021-09-10 中国北方车辆研究所 一种一体式驾驶室后悬置总成
CN115009381A (zh) * 2022-06-23 2022-09-06 一汽解放青岛汽车有限公司 一种液压锁及分体式驾驶室

Similar Documents

Publication Publication Date Title
CN201206084Y (zh) 履带式起重机的自动升降司机室
CN202193134U (zh) 汽车翻转式驾驶室液压锁结构
CN202090634U (zh) 跷跷板四连杆斜式泊车机
CN203528368U (zh) 6×2平头柴油车辆运输车
CN201923231U (zh) 驾驶室翻转锁紧结构
CN205442527U (zh) 保险杠焊接机之紧凑型升降装置
CN201990444U (zh) 前后驱动叉车
CN201970974U (zh) 一种单自由度汽车陷车自救装置
CN207374046U (zh) 一种后拖车钩支架总成
CN202463949U (zh) 驾驶室液压锁总成
CN101648538B (zh) 一种摩托车拖行架
CN108868265B (zh) 一种分布式液压驱动的汽车搬运器
CN105967109A (zh) 一种站驾式电动叉车
CN102268930A (zh) 跷跷板四连杆斜式泊车机及泊车方法
CN203601401U (zh) 一种轻卡驾驶室地板结构
CN201520989U (zh) 单臂式滑移转向装载机
CN2658019Y (zh) 汽车驾驶室液压翻转机构
CN202030250U (zh) 车厢可卸式垃圾车的勾臂装置
CN201825112U (zh) 兼有工具箱功能的重型载货汽车车架后横梁
CN201334053Y (zh) 单边可翻转驾驶室
CN202750427U (zh) 多功能专用车后三点悬挂装置
CN216512514U (zh) 一种具备一体式机架的卧式千斤顶
CN206870928U (zh) 驾驶室上方装载台的翻转装置
CN201573499U (zh) 一种牵引汽车用翻转机构
CN204024143U (zh) 一种家庭立体停车库

Legal Events

Date Code Title Description
C14 Grant of patent or utility model
GR01 Patent grant
CX01 Expiry of patent term
CX01 Expiry of patent term

Granted publication date: 20120418