CN114772149B - 一种环形输送系统分拣平台 - Google Patents

一种环形输送系统分拣平台 Download PDF

Info

Publication number
CN114772149B
CN114772149B CN202210701526.7A CN202210701526A CN114772149B CN 114772149 B CN114772149 B CN 114772149B CN 202210701526 A CN202210701526 A CN 202210701526A CN 114772149 B CN114772149 B CN 114772149B
Authority
CN
China
Prior art keywords
baffle
push rod
shaped push
annular frame
reciprocating screw
Prior art date
Legal status (The legal status is an assumption and is not a legal conclusion. Google has not performed a legal analysis and makes no representation as to the accuracy of the status listed.)
Active
Application number
CN202210701526.7A
Other languages
English (en)
Other versions
CN114772149A (zh
Inventor
王岳军
夏海洵
贾亦真
叶晓明
孙欣
Current Assignee (The listed assignees may be inaccurate. Google has not performed a legal analysis and makes no representation or warranty as to the accuracy of the list.)
Kento Intelligent Equipment Tianjin Group Co ltd
Original Assignee
Control Tianjin Industrial Automation Technology Co ltd
Priority date (The priority date is an assumption and is not a legal conclusion. Google has not performed a legal analysis and makes no representation as to the accuracy of the date listed.)
Filing date
Publication date
Application filed by Control Tianjin Industrial Automation Technology Co ltd filed Critical Control Tianjin Industrial Automation Technology Co ltd
Priority to CN202210701526.7A priority Critical patent/CN114772149B/zh
Publication of CN114772149A publication Critical patent/CN114772149A/zh
Application granted granted Critical
Publication of CN114772149B publication Critical patent/CN114772149B/zh
Active legal-status Critical Current
Anticipated expiration legal-status Critical

Links

Images

Classifications

    • BPERFORMING OPERATIONS; TRANSPORTING
    • B65CONVEYING; PACKING; STORING; HANDLING THIN OR FILAMENTARY MATERIAL
    • B65GTRANSPORT OR STORAGE DEVICES, e.g. CONVEYORS FOR LOADING OR TIPPING, SHOP CONVEYOR SYSTEMS OR PNEUMATIC TUBE CONVEYORS
    • B65G13/00Roller-ways
    • B65G13/08Roller-ways of curved form; with branch-offs
    • BPERFORMING OPERATIONS; TRANSPORTING
    • B65CONVEYING; PACKING; STORING; HANDLING THIN OR FILAMENTARY MATERIAL
    • B65GTRANSPORT OR STORAGE DEVICES, e.g. CONVEYORS FOR LOADING OR TIPPING, SHOP CONVEYOR SYSTEMS OR PNEUMATIC TUBE CONVEYORS
    • B65G13/00Roller-ways
    • B65G13/02Roller-ways having driven rollers
    • B65G13/06Roller driving means
    • BPERFORMING OPERATIONS; TRANSPORTING
    • B65CONVEYING; PACKING; STORING; HANDLING THIN OR FILAMENTARY MATERIAL
    • B65GTRANSPORT OR STORAGE DEVICES, e.g. CONVEYORS FOR LOADING OR TIPPING, SHOP CONVEYOR SYSTEMS OR PNEUMATIC TUBE CONVEYORS
    • B65G25/00Conveyors comprising a cyclically-moving, e.g. reciprocating, carrier or impeller which is disengaged from the load during the return part of its movement
    • B65G25/04Conveyors comprising a cyclically-moving, e.g. reciprocating, carrier or impeller which is disengaged from the load during the return part of its movement the carrier or impeller having identical forward and return paths of movement, e.g. reciprocating conveyors
    • B65G25/08Conveyors comprising a cyclically-moving, e.g. reciprocating, carrier or impeller which is disengaged from the load during the return part of its movement the carrier or impeller having identical forward and return paths of movement, e.g. reciprocating conveyors having impellers, e.g. pushers
    • BPERFORMING OPERATIONS; TRANSPORTING
    • B65CONVEYING; PACKING; STORING; HANDLING THIN OR FILAMENTARY MATERIAL
    • B65GTRANSPORT OR STORAGE DEVICES, e.g. CONVEYORS FOR LOADING OR TIPPING, SHOP CONVEYOR SYSTEMS OR PNEUMATIC TUBE CONVEYORS
    • B65G47/00Article or material-handling devices associated with conveyors; Methods employing such devices
    • B65G47/02Devices for feeding articles or materials to conveyors
    • B65G47/04Devices for feeding articles or materials to conveyors for feeding articles
    • BPERFORMING OPERATIONS; TRANSPORTING
    • B65CONVEYING; PACKING; STORING; HANDLING THIN OR FILAMENTARY MATERIAL
    • B65GTRANSPORT OR STORAGE DEVICES, e.g. CONVEYORS FOR LOADING OR TIPPING, SHOP CONVEYOR SYSTEMS OR PNEUMATIC TUBE CONVEYORS
    • B65G47/00Article or material-handling devices associated with conveyors; Methods employing such devices
    • B65G47/74Feeding, transfer, or discharging devices of particular kinds or types
    • B65G47/82Rotary or reciprocating members for direct action on articles or materials, e.g. pushers, rakes, shovels
    • BPERFORMING OPERATIONS; TRANSPORTING
    • B65CONVEYING; PACKING; STORING; HANDLING THIN OR FILAMENTARY MATERIAL
    • B65GTRANSPORT OR STORAGE DEVICES, e.g. CONVEYORS FOR LOADING OR TIPPING, SHOP CONVEYOR SYSTEMS OR PNEUMATIC TUBE CONVEYORS
    • B65G2201/00Indexing codes relating to handling devices, e.g. conveyors, characterised by the type of product or load being conveyed or handled
    • B65G2201/02Articles
    • B65G2201/0285Postal items, e.g. letters, parcels

Landscapes

  • Engineering & Computer Science (AREA)
  • Mechanical Engineering (AREA)
  • Discharge Of Articles From Conveyors (AREA)

Abstract

本发明公开了一种环形输送系统分拣平台,涉及输送分拣设备领域,包括环形架,所述环形架的内侧设置有输送机体,所述环形架的顶部设置有转辊,所述环形架的外侧设置有下料机构。本发明通过设置下料机构,在使用该设备时可先将包裹倾倒在放料斗内,转辊进行转动时可通过同步轮、同步带带动往复丝杆进行转动,往复丝杆进行转动时便可使L形推杆沿着往复丝杆进行移动,如此便可使得放料斗远离限位杆的一端翘起,此时放料斗内的包裹便会在重力的作用下滑落至转辊的顶部,之后通过L形推杆沿着往复丝杆的来回移动来使放料斗对包裹进行间断性的倾倒,从而防止包裹一次性全部落在转辊上而对工作人员的分拣造成影响。

Description

一种环形输送系统分拣平台
技术领域
本发明涉及输送分拣设备领域,具体是一种环形输送系统分拣平台。
背景技术
在整个物流的配送过程中,分拣是非常重要的一个环节,分拣就是将物品按品种、出入库先后顺序进行分门别类地堆放的作业,分拣是完善送货、支持送货的准备性工作,是不同配送企业在送货时竞争和提高自身经济效益的必然延伸,在对大量的货物进行分拣时,需要使用到环形输送装置,以便于提高分拣效率,目前用于物流分拣的输送装置大多数采用的是直线型传送带,直线型传送带比较适合点对点的货物输送工作,但是对于货物分拣工作则并非完全适用,例如在货物较多的情况下,由于传送带只能带动货物进行单向移动,所以每个货物只从分拣人员的面前经过一次,进而会很容易发生工作人员无法及时将传送带上的货物进行收取筛分的情况,而环形输送带是通过多个转辊的转动来对物品进行环形输送,从而对货物的分拣通过便利。
一般的环形输送带虽可对物品进行环形输送,但在将需分拣的物品倒在环形输送带上时,物品会发生堆积,此时工作人员堆积的物品进行分拣时,不仅费时费力,同时也会增加分拣周期,从而影响分拣效率,由于环形输送带上的物品呈环形对物品进行输送,此时需分拣的部分物品便会在环形输送带的作用下再次移至下料处,若此时将外界物品倒在环形输送带上会导致物品之间发生堆积、挤压,会对物品的分拣造成不便。
发明内容
本发明的目的在于:为了解决不便对物品进行间断性的上料、无法对下料口出的物品进行移动的问题,提供一种环形输送系统分拣平台。
为实现上述目的,本发明提供如下技术方案:一种环形输送系统分拣平台,包括环形架,所述环形架的内侧设置有输送机体,所述环形架的顶部设置有转辊,所述环形架的外侧设置有下料机构;所述下料机构包括有限位杆、放料斗、梯形块、往复丝杆、L形推杆、同步轮、同步带、连接块,所述限位杆设置于所述环形架的外侧,所述放料斗固定于所述限位杆的一侧,所述梯形块设置于所述放料斗的两端,所述同步轮连接于所述转辊的一端,且位于所述环形架的外侧,所述同步带设置于所述同步轮的外侧,所述L形推杆设置于所述梯形块的底部,所述连接块固定于所述环形架的外侧,且位于所述L形推杆的一端,所述往复丝杆设置于所述连接块的内侧,且位于所述L形推杆的一端;所述环形架的顶部位于所述放料斗的一侧设置有推料机构,用于防止物品发生堆积。
如此,在使用该设备时可先将包裹倾倒在放料斗内,之后通过输送机体来使转辊进行转动,转辊进行转动时可通过同步轮、同步带带动往复丝杆进行转动,往复丝杆进行转动时便可使L形推杆沿着往复丝杆进行移动,此时L形推杆便会沿着梯形块底部的斜面进行移动,如此便可使得放料斗远离限位杆的一端翘起,此时放料斗内的包裹便会在重力的作用下滑落至转辊的顶部,在此过程中可通过推料机构来将位于放料斗一侧的包裹进行抬起,防止在下料时与正在输送的包裹发生碰撞,之后通过L形推杆沿着往复丝杆的来回移动来使放料斗对包裹进行间断性的倾倒,从而防止包裹一次性全部落在转辊上而对工作人员的分拣造成影响。
作为本发明再进一步的方案:所述推料机构包括有导向杆、第一挡板、齿条、第二挡板、齿轮、支撑架,所述齿轮固定于所述限位杆的两端,所述导向杆固定于所述环形架的顶部,所述第一挡板套接于所述导向杆的外侧,且位于所述放料斗的一侧,所述齿条固定于所述第一挡板的一侧,且位于所述齿轮的一侧,所述第二挡板固定于所述第一挡板远离所述齿条的一侧,所述支撑架固定于所述第一挡板的一侧,且位于所述第二挡板的一端。
如此,当限位杆进行转动并带动放料斗远离限位杆一端翘起时,齿轮便会随着限位杆的转动而进行转动,以此来使齿条在齿轮的转动下向上移动,此时便可使第一挡板沿着导向杆向上移动,在此过程中位于转辊顶部,且位于第一挡板一侧的包裹便会在支撑架的作用下向上移动,此时第二挡板便会对位于一端的包裹进行遮挡,防止其移至第一挡板的一侧,由此便可使放料斗内的包裹在重力的作用下滑落至转辊的上方,此时落至支撑架下方的包裹便会在转辊的作用下输送至工作人员的面前进行分拣,同理,当放料斗复原时,支撑架便会在第一挡板的作用下向下移动,以此来使支撑架上的包裹与转辊接触,同时使得第二挡板失去对后续包裹的遮挡,以此来使转辊在输送机体的作用下对包裹进行输送,从而防止包裹发生堆积,为工作人员对包裹的分拣提供了便利。
作为本发明再进一步的方案:所述齿条的一端与所述齿轮外侧的卡齿相啮合,所述第一挡板的两端设置有与所述导向杆相契合的通孔。
如此,通过设置此结构来使齿轮随着限位杆进行转动时带动齿条进行移动,以此来使第一挡板沿着导向杆进行移动。
作为本发明再进一步的方案:所述往复丝杆的一端同样设置有同步轮,所述往复丝杆与所述转辊通过所述同步轮、所述同步带转动连接。
如此,通过设置此结构来使转辊在输送机体的作用下进行转动时,通过同步轮、同步带带动往复丝杆进行转动。
作为本发明再进一步的方案:所述L形推杆的一端设置有与所述往复丝杆外侧相匹配的限位滚珠,所述连接块的一端设置有与所述L形推杆一端相契合的滑槽。
如此,通过设置此结构来使往复丝杆进行转动时,L形推杆沿着往复丝杆进行移动。
作为本发明再进一步的方案:所述放料斗的内侧设置有转杆。
如此,通过设置此结构来减小包裹与放料斗之间的摩擦力,使得放料斗发生倾斜时包裹沿着放料斗落至转辊上。
作为本发明再进一步的方案:所述梯形块的底部设置有与所述L形推杆顶部相契合的滑槽,所述L形推杆的顶部为T字形结构。
如此,通过设置此结构来使L形推杆进行移动时沿着梯形块的斜面进行移动,从而使放料斗远离限位杆的一端翘起。
作为本发明再进一步的方案:所述连接块的数量设置有两个,且两个所述连接块沿着所述环形架的横向中轴线对称设置。
如此,通过设置此结构来增加放料斗摆动的稳定性。
作为本发明再进一步的方案:所述支撑架分布于所述转辊之间,所述支撑架的顶部与地面的高度小于所述转辊至地面的高度。
如此,通过设置此结构来防止支撑架对转辊的转动造成影响,从而防止支撑架对包裹的移动造成阻碍。
与现有技术相比,本发明的有益效果是:
1、通过设置下料机构,在使用该设备时可先将包裹倾倒在放料斗内,转辊进行转动时可通过同步轮、同步带带动往复丝杆进行转动,往复丝杆进行转动时便可使L形推杆沿着往复丝杆进行移动,如此便可使得放料斗远离限位杆的一端翘起,此时放料斗内的包裹便会在重力的作用下滑落至转辊的顶部,之后通过L形推杆沿着往复丝杆的来回移动来使放料斗对包裹进行间断性的倾倒,从而防止包裹一次性全部落在转辊上而对工作人员的分拣造成影响;
2、通过设置推料机构,当限位杆进行转动并带动放料斗远离限位杆一端翘起时,齿条在齿轮的转动下向上移动,此时便可使第一挡板沿着导向杆向上移动,在此过程中位于转辊顶部,且位于第一挡板一侧的包裹便会在支撑架的作用下向上移动,此时第二挡板便会对位于一端的包裹进行遮挡,此时落至支撑架下方的包裹便会在转辊的作用下输送至工作人员的面前进行分拣,在此过程中无需对转辊上包裹的位置进行观察后再倒下包裹,可使其随着放料斗的摆动而进行运作,以此来减低了设备的运作成本,同时也为工作人员对包裹的分拣提供了便利。
附图说明
图1为本发明的结构示意图;
图2为本发明的俯视图;
图3为本发明的图2中A处放大图;
图4为本发明的L形推杆与梯形块的连接示意图;
图5为本发明的第一挡板与第二挡板的连接示意图;
图6为本发明的L形推杆与连接块的连接示意图;
图7为本发明的放料斗结构示意图。
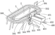
图中:1、环形架;2、输送机体;3、转辊;4、下料机构;401、限位杆;402、放料斗;403、梯形块;404、往复丝杆;405、L形推杆;406、同步轮;407、同步带;408、连接块;5、推料机构;501、导向杆;502、第一挡板;503、齿条;504、第二挡板;505、齿轮;506、支撑架。
具体实施方式
下面将结合本发明实施例中的附图,对本发明实施例中的技术方案进行清楚、完整地描述,显然,所描述的实施例仅仅是本发明一部分实施例,而不是全部的实施例。基于本发明中的实施例,本领域普通技术人员在没有做出创造性劳动前提下所获得的所有其他实施例,都属于本发明保护的范围。
在本发明的描述中,需要说明的是,术语“中心”、“上”、“下”、“左”、“右”、“竖直”、“水平”、“内”、“外”等指示的方位或位置关系为基于附图所示的方位或位置关系,仅是为了便于描述本发明和简化描述,而不是指示或暗示所指的装置或元件必须具有特定的方位、以特定的方位构造和操作,因此不能理解为对本发明的限制。此外,术语“第一”、“第二”、“第三”仅用于描述目的,而不能理解为指示或暗示相对重要性。在本发明的描述中,需要说明的是,除非另有明确的规定和限定,术语“安装”、“相连”、“连接”、“设置”应做广义理解,例如,可以是固定连接,也可以是可拆卸连接,或一体地连接;可以是机械连接,也可以是电连接;可以是直接相连,也可以通过中间媒介间接相连,可以是两个元件内部的连通。对于本领域的普通技术人员而言,可以具体情况理解上述术语在本发明中的具体含义。下面根据本发明的整体结构,对其实施例进行说明。
请参阅图1~7,本发明实施例中,一种环形输送系统分拣平台,包括环形架1,环形架1的内侧设置有输送机体2,环形架1的顶部设置有转辊3,环形架1的外侧设置有下料机构4;下料机构4包括有限位杆401、放料斗402、梯形块403、往复丝杆404、L形推杆405、同步轮406、同步带407、连接块408,限位杆401设置于环形架1的外侧,放料斗402固定于限位杆401的一侧,梯形块403设置于放料斗402的两端,同步轮406连接于转辊3的一端,且位于环形架1的外侧,同步带407设置于同步轮406的外侧,L形推杆405设置于梯形块403的底部,连接块408固定于环形架1的外侧,且位于L形推杆405的一端,往复丝杆404设置于连接块408的内侧,且位于L形推杆405的一端;环形架1的顶部位于放料斗402的一侧设置有推料机构5,用于防止物品发生堆积。
在本实施例中,在使用该设备时可先将包裹倾倒在放料斗402内,之后通过输送机体2来使转辊3进行转动,转辊3进行转动时可通过同步轮406、同步带407带动往复丝杆404进行转动,往复丝杆404进行转动时便可使L形推杆405沿着往复丝杆404进行移动,此时L形推杆405便会沿着梯形块403底部的斜面进行移动,如此便可使得放料斗402远离限位杆401的一端翘起,此时放料斗402内的包裹便会在重力的作用下滑落至转辊3的顶部,在此过程中可通过推料机构5来将位于放料斗402一侧的包裹进行抬起,防止在下料时与正在输送的包裹发生碰撞,之后通过L形推杆405沿着往复丝杆404的来回移动来使放料斗402对包裹进行间断性的倾倒,从而防止包裹一次性全部落在转辊3上而对工作人员的分拣造成影响。
请着重参阅图1、2、3、5、7,推料机构5包括有导向杆501、第一挡板502、齿条503、第二挡板504、齿轮505、支撑架506,齿轮505固定于限位杆401的两端,导向杆501固定于环形架1的顶部,第一挡板502套接于导向杆501的外侧,且位于放料斗402的一侧,齿条503固定于第一挡板502的一侧,且位于齿轮505的一侧,第二挡板504固定于第一挡板502远离齿条503的一侧,支撑架506固定于第一挡板502的一侧,且位于第二挡板504的一端。
在本实施例中,当限位杆401进行转动并带动放料斗402远离限位杆401一端翘起时,齿轮505便会随着限位杆401的转动而进行转动,以此来使齿条503在齿轮505的转动下向上移动,此时便可使第一挡板502沿着导向杆501向上移动,在此过程中位于转辊3顶部,且位于第一挡板502一侧的包裹便会在支撑架506的作用下向上移动,此时第二挡板504便会对位于一端的包裹进行遮挡,防止其移至第一挡板502的一侧,由此便可使放料斗402内的包裹在重力的作用下滑落至转辊3的上方,此时落至支撑架506下方的包裹便会在转辊3的作用下输送至工作人员的面前进行分拣,同理,当放料斗402复原时,支撑架506便会在第一挡板502的作用下向下移动,以此来使支撑架506上的包裹与转辊3接触,同时使得第二挡板504失去对后续包裹的遮挡,以此来使转辊3在输送机体2的作用下对包裹进行输送,从而防止包裹发生堆积,为工作人员对包裹的分拣提供了便利。
请着重参阅图1、3,齿条503的一端与齿轮505外侧的卡齿相啮合,第一挡板502的两端设置有与导向杆501相契合的通孔。
在本实施例中,通过设置此结构来使齿轮505随着限位杆401进行转动时带动齿条503进行移动,以此来使第一挡板502沿着导向杆501进行移动。
请着重参阅图3、6,往复丝杆404的一端同样设置有同步轮406,往复丝杆404与转辊3通过同步轮406、同步带407转动连接。
在本实施例中,通过设置此结构来使转辊3在输送机体2的作用下进行转动时,通过同步轮406、同步带407带动往复丝杆404进行转动。
请着重参阅图6,L形推杆405的一端设置有与往复丝杆404外侧相匹配的限位滚珠,连接块408的一端设置有与L形推杆405一端相契合的滑槽。
在本实施例中,通过设置此结构来使往复丝杆404进行转动时,L形推杆405沿着往复丝杆404进行移动。
请着重参阅图7,放料斗402的内侧设置有转杆。
在本实施例中,通过设置此结构来减小包裹与放料斗402之间的摩擦力,使得放料斗402发生倾斜时包裹沿着放料斗402落至转辊3上。
请着重参阅图4、6,梯形块403的底部设置有与L形推杆405顶部相契合的滑槽,L形推杆405的顶部为T字形结构。
在本实施例中,通过设置此结构来使L形推杆405进行移动时沿着梯形块403的斜面进行移动,从而使放料斗402远离限位杆401的一端翘起。
请着重参阅图1,连接块408的数量设置有两个,且两个连接块408沿着环形架1的横向中轴线对称设置。
在本实施例中,通过设置此结构来增加放料斗402摆动的稳定性。
请着重参阅图1、5,支撑架506分布于转辊3之间,支撑架506的顶部与地面的高度小于转辊3至地面的高度。
在本实施例中,通过设置此结构来防止支撑架506对转辊3的转动造成影响,从而防止支撑架506对包裹的移动造成阻碍。
本发明的工作原理是:在使用该设备时可先将包裹倾倒在放料斗402内,之后通过输送机体2来使转辊3进行转动,转辊3进行转动时可通过同步轮406、同步带407带动往复丝杆404进行转动,往复丝杆404进行转动时便可使L形推杆405沿着往复丝杆404进行移动,此时L形推杆405便会沿着梯形块403底部的斜面进行移动,如此便可使得放料斗402远离限位杆401的一端翘起,此时放料斗402内的包裹便会在重力的作用下滑落至转辊3的顶部,在此过程中当限位杆401进行转动并带动放料斗402远离限位杆401一端翘起时,齿轮505便会随着限位杆401的转动而进行转动,以此来使齿条503在齿轮505的转动下向上移动,此时便可使第一挡板502沿着导向杆501向上移动,在此过程中位于转辊3顶部,且位于第一挡板502一侧的包裹便会在支撑架506的作用下向上移动,此时第二挡板504便会对位于一端的包裹进行遮挡,防止其移至第一挡板502的一侧,由此便可使放料斗402内的包裹在重力的作用下滑落至转辊3的上方,此时落至支撑架506下方的包裹便会在转辊3的作用下输送至工作人员的面前进行分拣,当放料斗402复原时,支撑架506便会在第一挡板502的作用下向下移动,以此来使支撑架506上的包裹与转辊3接触,同时使得第二挡板504失去对后续包裹的遮挡,以此来使转辊3在输送机体2的作用下对包裹进行输送,从而防止包裹发生堆积,为工作人员对包裹的分拣提供了便利,防止在下料时与正在输送的包裹发生碰撞,之后通过L形推杆405沿着往复丝杆404的来回移动来使放料斗402对包裹进行间断性的倾倒,从而防止包裹一次性全部落在转辊3上而对工作人员的分拣造成影响。
以上所述的,仅为本发明较佳的具体实施方式,但本发明的保护范围并不局限于此,任何熟悉本技术领域的技术人员在本发明揭露的技术范围内,根据本发明的技术方案及其发明构思加以等同替换或改变,都应涵盖在本发明的保护范围之内。

Claims (8)

1.一种环形输送系统分拣平台,包括环形架(1),所述环形架(1)的内侧设置有输送机体(2),所述环形架(1)的顶部设置有转辊(3),其特征在于,所述环形架(1)的外侧设置有下料机构(4);
所述下料机构(4)包括有限位杆(401)、放料斗(402)、梯形块(403)、往复丝杆(404)、L形推杆(405)、同步轮(406)、同步带(407)、连接块(408),所述限位杆(401)设置于所述环形架(1)的外侧,所述放料斗(402)固定于所述限位杆(401)的一侧,所述梯形块(403)设置于所述放料斗(402)的两端,所述同步轮(406)连接于所述转辊(3)的一端,且位于所述环形架(1)的外侧,所述同步带(407)设置于所述同步轮(406)的外侧,所述L形推杆(405)设置于所述梯形块(403)的底部,所述连接块(408)固定于所述环形架(1)的外侧,且位于所述L形推杆(405)的一端,所述往复丝杆(404)设置于所述连接块(408)的内侧,且位于所述L形推杆(405)的一端;
所述环形架(1)的顶部位于所述放料斗(402)的一侧设置有推料机构(5),用于防止物品发生堆积;
所述推料机构(5)包括有导向杆(501)、第一挡板(502)、齿条(503)、第二挡板(504)、齿轮(505)、支撑架(506),所述齿轮(505)固定于所述限位杆(401)的两端,所述导向杆(501)固定于所述环形架(1)的顶部,所述第一挡板(502)套接于所述导向杆(501)的外侧,且位于所述放料斗(402)的一侧,所述齿条(503)固定于所述第一挡板(502)的一侧,且位于所述齿轮(505)的一侧,所述第二挡板(504)固定于所述第一挡板(502)远离所述齿条(503)的一侧,所述支撑架(506)固定于所述第一挡板(502)的一侧,且位于所述第二挡板(504)的一端。
2.根据权利要求1所述的一种环形输送系统分拣平台,其特征在于,所述齿条(503)的一端与所述齿轮(505)外侧的卡齿相啮合,所述第一挡板(502)的两端设置有与所述导向杆(501)相契合的通孔。
3.根据权利要求1所述的一种环形输送系统分拣平台,其特征在于,所述往复丝杆(404)的一端同样设置有同步轮(406),所述往复丝杆(404)与所述转辊(3)通过所述同步轮(406)、所述同步带(407)转动连接。
4.根据权利要求1所述的一种环形输送系统分拣平台,其特征在于,所述L形推杆(405)的一端设置有与所述往复丝杆(404)外侧相匹配的限位滚珠,所述连接块(408)的一端设置有与所述L形推杆(405)一端相契合的滑槽。
5.根据权利要求1所述的一种环形输送系统分拣平台,其特征在于,所述放料斗(402)的内侧设置有转杆。
6.根据权利要求1所述的一种环形输送系统分拣平台,其特征在于,所述梯形块(403)的底部设置有与所述L形推杆(405)顶部相契合的滑槽,所述L形推杆(405)的顶部为T字形结构。
7.根据权利要求1所述的一种环形输送系统分拣平台,其特征在于,所述连接块(408)的数量设置有两个,且两个所述连接块(408)沿着所述环形架(1)的横向中轴线对称设置。
8.根据权利要求1所述的一种环形输送系统分拣平台,其特征在于,所述支撑架(506)分布于所述转辊(3)之间,所述支撑架(506)的顶部与地面的高度小于所述转辊(3)至地面的高度。
CN202210701526.7A 2022-06-21 2022-06-21 一种环形输送系统分拣平台 Active CN114772149B (zh)

Priority Applications (1)

Application Number Priority Date Filing Date Title
CN202210701526.7A CN114772149B (zh) 2022-06-21 2022-06-21 一种环形输送系统分拣平台

Applications Claiming Priority (1)

Application Number Priority Date Filing Date Title
CN202210701526.7A CN114772149B (zh) 2022-06-21 2022-06-21 一种环形输送系统分拣平台

Publications (2)

Publication Number Publication Date
CN114772149A CN114772149A (zh) 2022-07-22
CN114772149B true CN114772149B (zh) 2022-09-20

Family

ID=82420379

Family Applications (1)

Application Number Title Priority Date Filing Date
CN202210701526.7A Active CN114772149B (zh) 2022-06-21 2022-06-21 一种环形输送系统分拣平台

Country Status (1)

Country Link
CN (1) CN114772149B (zh)

Families Citing this family (1)

* Cited by examiner, † Cited by third party
Publication number Priority date Publication date Assignee Title
CN116142580B (zh) * 2023-02-17 2024-04-05 沂水祥腾化工有限公司 一种改变输送方向的纺织布料生产用输送装置

Citations (8)

* Cited by examiner, † Cited by third party
Publication number Priority date Publication date Assignee Title
ES439104A1 (es) * 1974-07-04 1977-03-01 Sphere Invest Sistema de identificacion para aparatos clasificadores.
CN204504988U (zh) * 2014-12-30 2015-07-29 重庆厚丰机械有限责任公司 钢球研磨机用的转料机
CN210456201U (zh) * 2019-08-14 2020-05-05 深圳市三维机电设备有限公司 一种具有夹具定位功能的旋转循环输送装置
CN111747081A (zh) * 2020-07-06 2020-10-09 汕头市陀斯包装机械有限公司 自动包装机
CN112407472A (zh) * 2020-11-12 2021-02-26 湖南嘉丰食品有限公司 一种蛋黄分量包装装置
CN213566814U (zh) * 2020-09-29 2021-06-29 苏州医疗用品厂有限公司 一种管针接料装置
CN113387196A (zh) * 2021-06-30 2021-09-14 湖北中烟工业有限责任公司 一种滤棒排列输送装置
CN214293302U (zh) * 2020-12-25 2021-09-28 福建正大食品有限公司 一种鸡伴翅加工的备料系统

Patent Citations (8)

* Cited by examiner, † Cited by third party
Publication number Priority date Publication date Assignee Title
ES439104A1 (es) * 1974-07-04 1977-03-01 Sphere Invest Sistema de identificacion para aparatos clasificadores.
CN204504988U (zh) * 2014-12-30 2015-07-29 重庆厚丰机械有限责任公司 钢球研磨机用的转料机
CN210456201U (zh) * 2019-08-14 2020-05-05 深圳市三维机电设备有限公司 一种具有夹具定位功能的旋转循环输送装置
CN111747081A (zh) * 2020-07-06 2020-10-09 汕头市陀斯包装机械有限公司 自动包装机
CN213566814U (zh) * 2020-09-29 2021-06-29 苏州医疗用品厂有限公司 一种管针接料装置
CN112407472A (zh) * 2020-11-12 2021-02-26 湖南嘉丰食品有限公司 一种蛋黄分量包装装置
CN214293302U (zh) * 2020-12-25 2021-09-28 福建正大食品有限公司 一种鸡伴翅加工的备料系统
CN113387196A (zh) * 2021-06-30 2021-09-14 湖北中烟工业有限责任公司 一种滤棒排列输送装置

Also Published As

Publication number Publication date
CN114772149A (zh) 2022-07-22

Similar Documents

Publication Publication Date Title
CN1069875C (zh) 轻量、空心与细长制品的整序与排队输送自动装置
US6398008B1 (en) Aligning and conveying method of packaged article and apparatus thereof
CN114772149B (zh) 一种环形输送系统分拣平台
US5735661A (en) Transporter for storing and carrying multiple articles, such as coin collection boxes
JP2014055775A (ja) 自動計測コンベア装置
CN111871755B (zh) 一种基于计算机控制的物料分拣装置
JPH07110654B2 (ja) 容器供給装置
CN104670554B (zh) 一种刀、叉、勺包装机的下料装置
CN216606169U (zh) 一种物料用滑槽式称重分拣装置
CN110481870A (zh) 一种用于锂电池包装的装箱装置
CN112607315B (zh) 一种物流驿站用商品分类装置
CN210011970U (zh) 自动检测包装装置
CN113182190A (zh) 一种运输分类取出装置
CN109926354B (zh) 一种用于物流分拣用传送带
CN219383738U (zh) 一种防掉落的仓储运输机
CN215362125U (zh) 一种物流对象处理装置
CN213762886U (zh) 一种物品分拣系统
CN219546039U (zh) 一种止退式分拣机料箱承载装置及货物分拣机
CN110668142B (zh) 拣选装置
CN222272507U (zh) 块状物料上带、计量和装袋系统
CN111438081A (zh) 一种传送机构及检测设备
CN221140058U (zh) 一种智能仓储自动物流分拣装置
CN220153710U (zh) 一种物料称量装置
JPH04352629A (ja) 搬送ラインにおける反転移送装置
CN217141318U (zh) 水果挑选装置

Legal Events

Date Code Title Description
PB01 Publication
PB01 Publication
SE01 Entry into force of request for substantive examination
SE01 Entry into force of request for substantive examination
GR01 Patent grant
GR01 Patent grant
CP03 Change of name, title or address
CP03 Change of name, title or address

Address after: 300350 4-1-101 Ligang Park, Shuanggang Industrial Zone, Shuanggang Town, Jinnan District, Tianjin

Patentee after: Kento Intelligent Equipment (Tianjin) Group Co.,Ltd.

Country or region after: China

Address before: 300350 4-1-101 Ligang Park, Shuanggang Industrial Zone, Shuanggang Town, Jinnan District, Tianjin

Patentee before: CONTROL (TIANJIN) INDUSTRIAL AUTOMATION TECHNOLOGY CO.,LTD.

Country or region before: China