CN114393495A - 一种钽酸锂晶体制造用的双面抛光机 - Google Patents
一种钽酸锂晶体制造用的双面抛光机 Download PDFInfo
- Publication number
- CN114393495A CN114393495A CN202210049552.6A CN202210049552A CN114393495A CN 114393495 A CN114393495 A CN 114393495A CN 202210049552 A CN202210049552 A CN 202210049552A CN 114393495 A CN114393495 A CN 114393495A
- Authority
- CN
- China
- Prior art keywords
- polishing
- fixedly connected
- crystal
- lithium tantalate
- box
- Prior art date
- Legal status (The legal status is an assumption and is not a legal conclusion. Google has not performed a legal analysis and makes no representation as to the accuracy of the status listed.)
- Pending
Links
- 238000005498 polishing Methods 0.000 title claims abstract description 125
- 239000013078 crystal Substances 0.000 title claims abstract description 124
- WSMQKESQZFQMFW-UHFFFAOYSA-N 5-methyl-pyrazole-3-carboxylic acid Chemical compound CC1=CC(C(O)=O)=NN1 WSMQKESQZFQMFW-UHFFFAOYSA-N 0.000 title claims abstract description 36
- 238000004519 manufacturing process Methods 0.000 title claims abstract description 20
- 239000007788 liquid Substances 0.000 claims abstract description 28
- 238000000605 extraction Methods 0.000 claims abstract description 13
- 239000002245 particle Substances 0.000 claims description 48
- 238000000926 separation method Methods 0.000 claims description 23
- 239000008187 granular material Substances 0.000 claims description 22
- XEEYBQQBJWHFJM-UHFFFAOYSA-N Iron Chemical compound [Fe] XEEYBQQBJWHFJM-UHFFFAOYSA-N 0.000 claims description 14
- 229910052742 iron Inorganic materials 0.000 claims description 7
- 230000000694 effects Effects 0.000 claims description 4
- 239000005341 toughened glass Substances 0.000 claims description 4
- 238000012546 transfer Methods 0.000 claims description 4
- 230000008878 coupling Effects 0.000 claims description 3
- 238000010168 coupling process Methods 0.000 claims description 3
- 238000005859 coupling reaction Methods 0.000 claims description 3
- 230000005540 biological transmission Effects 0.000 abstract description 6
- 238000009434 installation Methods 0.000 abstract description 3
- 238000012545 processing Methods 0.000 abstract description 2
- 238000004062 sedimentation Methods 0.000 abstract 1
- 238000001914 filtration Methods 0.000 description 9
- 238000003466 welding Methods 0.000 description 8
- 230000002457 bidirectional effect Effects 0.000 description 5
- 238000013461 design Methods 0.000 description 5
- 238000001035 drying Methods 0.000 description 3
- 239000002699 waste material Substances 0.000 description 3
- WHXSMMKQMYFTQS-UHFFFAOYSA-N Lithium Chemical compound [Li] WHXSMMKQMYFTQS-UHFFFAOYSA-N 0.000 description 2
- 229910052744 lithium Inorganic materials 0.000 description 2
- 239000000463 material Substances 0.000 description 2
- 238000012986 modification Methods 0.000 description 2
- 230000004048 modification Effects 0.000 description 2
- 230000003287 optical effect Effects 0.000 description 2
- 238000007789 sealing Methods 0.000 description 2
- 239000003381 stabilizer Substances 0.000 description 2
- 238000009423 ventilation Methods 0.000 description 2
- 238000013459 approach Methods 0.000 description 1
- 239000011248 coating agent Substances 0.000 description 1
- 238000000576 coating method Methods 0.000 description 1
- 239000012141 concentrate Substances 0.000 description 1
- 230000007547 defect Effects 0.000 description 1
- 238000005516 engineering process Methods 0.000 description 1
- 230000007613 environmental effect Effects 0.000 description 1
- 239000008204 material by function Substances 0.000 description 1
- 239000000203 mixture Substances 0.000 description 1
- 239000003973 paint Substances 0.000 description 1
- 230000000704 physical effect Effects 0.000 description 1
- 239000002244 precipitate Substances 0.000 description 1
- 230000001376 precipitating effect Effects 0.000 description 1
- 238000001556 precipitation Methods 0.000 description 1
- 238000005086 pumping Methods 0.000 description 1
- 238000004064 recycling Methods 0.000 description 1
- 239000007921 spray Substances 0.000 description 1
- 239000000126 substance Substances 0.000 description 1
- 230000003746 surface roughness Effects 0.000 description 1
Images
Classifications
-
- B—PERFORMING OPERATIONS; TRANSPORTING
- B24—GRINDING; POLISHING
- B24B—MACHINES, DEVICES, OR PROCESSES FOR GRINDING OR POLISHING; DRESSING OR CONDITIONING OF ABRADING SURFACES; FEEDING OF GRINDING, POLISHING, OR LAPPING AGENTS
- B24B29/00—Machines or devices for polishing surfaces on work by means of tools made of soft or flexible material with or without the application of solid or liquid polishing agents
- B24B29/02—Machines or devices for polishing surfaces on work by means of tools made of soft or flexible material with or without the application of solid or liquid polishing agents designed for particular workpieces
-
- B—PERFORMING OPERATIONS; TRANSPORTING
- B01—PHYSICAL OR CHEMICAL PROCESSES OR APPARATUS IN GENERAL
- B01D—SEPARATION
- B01D29/00—Filters with filtering elements stationary during filtration, e.g. pressure or suction filters, not covered by groups B01D24/00 - B01D27/00; Filtering elements therefor
- B01D29/11—Filters with filtering elements stationary during filtration, e.g. pressure or suction filters, not covered by groups B01D24/00 - B01D27/00; Filtering elements therefor with bag, cage, hose, tube, sleeve or like filtering elements
- B01D29/31—Self-supporting filtering elements
- B01D29/35—Self-supporting filtering elements arranged for outward flow filtration
-
- B—PERFORMING OPERATIONS; TRANSPORTING
- B01—PHYSICAL OR CHEMICAL PROCESSES OR APPARATUS IN GENERAL
- B01D—SEPARATION
- B01D29/00—Filters with filtering elements stationary during filtration, e.g. pressure or suction filters, not covered by groups B01D24/00 - B01D27/00; Filtering elements therefor
- B01D29/50—Filters with filtering elements stationary during filtration, e.g. pressure or suction filters, not covered by groups B01D24/00 - B01D27/00; Filtering elements therefor with multiple filtering elements, characterised by their mutual disposition
- B01D29/56—Filters with filtering elements stationary during filtration, e.g. pressure or suction filters, not covered by groups B01D24/00 - B01D27/00; Filtering elements therefor with multiple filtering elements, characterised by their mutual disposition in series connection
-
- B—PERFORMING OPERATIONS; TRANSPORTING
- B01—PHYSICAL OR CHEMICAL PROCESSES OR APPARATUS IN GENERAL
- B01D—SEPARATION
- B01D29/00—Filters with filtering elements stationary during filtration, e.g. pressure or suction filters, not covered by groups B01D24/00 - B01D27/00; Filtering elements therefor
- B01D29/96—Filters with filtering elements stationary during filtration, e.g. pressure or suction filters, not covered by groups B01D24/00 - B01D27/00; Filtering elements therefor in which the filtering elements are moved between filtering operations; Particular measures for removing or replacing the filtering elements; Transport systems for filters
-
- B—PERFORMING OPERATIONS; TRANSPORTING
- B24—GRINDING; POLISHING
- B24B—MACHINES, DEVICES, OR PROCESSES FOR GRINDING OR POLISHING; DRESSING OR CONDITIONING OF ABRADING SURFACES; FEEDING OF GRINDING, POLISHING, OR LAPPING AGENTS
- B24B27/00—Other grinding machines or devices
- B24B27/0076—Other grinding machines or devices grinding machines comprising two or more grinding tools
-
- B—PERFORMING OPERATIONS; TRANSPORTING
- B24—GRINDING; POLISHING
- B24B—MACHINES, DEVICES, OR PROCESSES FOR GRINDING OR POLISHING; DRESSING OR CONDITIONING OF ABRADING SURFACES; FEEDING OF GRINDING, POLISHING, OR LAPPING AGENTS
- B24B47/00—Drives or gearings; Equipment therefor
- B24B47/22—Equipment for exact control of the position of the grinding tool or work at the start of the grinding operation
-
- B—PERFORMING OPERATIONS; TRANSPORTING
- B24—GRINDING; POLISHING
- B24B—MACHINES, DEVICES, OR PROCESSES FOR GRINDING OR POLISHING; DRESSING OR CONDITIONING OF ABRADING SURFACES; FEEDING OF GRINDING, POLISHING, OR LAPPING AGENTS
- B24B55/00—Safety devices for grinding or polishing machines; Accessories fitted to grinding or polishing machines for keeping tools or parts of the machine in good working condition
- B24B55/12—Devices for exhausting mist of oil or coolant; Devices for collecting or recovering materials resulting from grinding or polishing, e.g. of precious metals, precious stones, diamonds or the like
-
- B—PERFORMING OPERATIONS; TRANSPORTING
- B24—GRINDING; POLISHING
- B24B—MACHINES, DEVICES, OR PROCESSES FOR GRINDING OR POLISHING; DRESSING OR CONDITIONING OF ABRADING SURFACES; FEEDING OF GRINDING, POLISHING, OR LAPPING AGENTS
- B24B57/00—Devices for feeding, applying, grading or recovering grinding, polishing or lapping agents
- B24B57/02—Devices for feeding, applying, grading or recovering grinding, polishing or lapping agents for feeding of fluid, sprayed, pulverised, or liquefied grinding, polishing or lapping agents
Landscapes
- Engineering & Computer Science (AREA)
- Mechanical Engineering (AREA)
- Chemical & Material Sciences (AREA)
- Chemical Kinetics & Catalysis (AREA)
- Finish Polishing, Edge Sharpening, And Grinding By Specific Grinding Devices (AREA)
Abstract
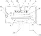
本发明公开了一种钽酸锂晶体制造用的双面抛光机,涉及钽酸锂晶体加工装置技术领域,包括抛光箱体,所述抛光箱体内腔的右侧拆卸式连接有晶体安装台本体,所述晶体安装台本体的内腔中拆卸式连接有钽酸锂晶体,所述抛光箱体的顶部设置有控制台本体。本发明通过控制抽取泵机工作,可从球形容纳罐的内腔中抽取抛光液,然后通过底部管和输送管输送至空心环的内腔中,最终通过喷嘴喷出,实现自动对抛光液进行添加的功能,提升本机器的抛光效率,且控制旋转电机工作,可由旋转盘和传动杆对水平滑动杆进行来回推动,进而带动球形容纳罐进行左右摇晃,避免抛光液在球形容纳罐的内腔中出现沉淀的问题。
Description
技术领域
本发明涉及一种双面抛光机,涉及钽酸锂晶体加工装置技术领域,具体涉及一种钽酸锂晶体制造用的双面抛光机。
背景技术
钽酸锂晶体是功能材料领域的“万能”材料,它们具有良好的机械、物理性能和成本低等优点,并且作为非线性光学晶体、电光晶体、压电晶体、声光晶体和双折射晶体等在现今以光技术产业为中心的IT产业中得到了广泛的应用,钽酸锂晶体在生产完成后,需对其进行抛光处理,以得到低表面粗糙度和无表面缺陷的工件。针对现有技术存在以下问题:
1、现有的双面抛光机不具备自动对抛光液进行添加的功能,在抛光工作进行前,还需工人手动将抛光液涂抹至抛光盘的表面,影响机器的抛光处理效率,有待改进;
2、现有的双面抛光机不具备对抛光产生的晶体颗粒进行分类收集的功能,抛光出的晶体颗粒有较高的回收利用价值,直接将其随抛光液排放出,会产生较多的浪费。
发明内容
本发明提供一种钽酸锂晶体制造用的双面抛光机,其中一种目的是为了具备自动对抛光液进行添加的功能,解决手动将抛光液涂抹至抛光盘会影响机器抛光处理效率的问题;其中另一种目的是为了解决直接将晶体颗粒随抛光液排放出会产生较多浪费的问题,以达到可对晶体颗粒进行分类收集的效果。
为解决上述技术问题,本发明所采用的技术方案是:
一种钽酸锂晶体制造用的双面抛光机,包括抛光箱体,所述抛光箱体内腔的右侧拆卸式连接有晶体安装台本体,所述晶体安装台本体的内腔中拆卸式连接有钽酸锂晶体,所述抛光箱体的顶部设置有控制台本体,所述抛光箱体的底部固定焊接有支撑腿,所述抛光箱体的正面转动连接有钢化玻璃门,所述抛光箱体的右侧设置有抛光液自动添加机构,所述抛光箱体的底部设置有晶体颗粒集中机构。
所述抛光液自动添加机构包括控制箱体和空心环,所述控制箱体固定安装在抛光箱体的右侧,所述控制箱体的内壁上固定安装有弹性支脚,所述弹性支脚远离控制箱体内壁的一端固定安装有球形容纳罐,所述球形容纳罐的顶部和底部均固定连接有软质连管,位于上方的所述软质连管与控制箱体内腔的顶部固定连接,所述控制箱体内腔的底部固定安装有抽取泵机,所述抽取泵机的输入端与位于下方的软质连管的底部固定连接,所述抽取泵机的输出端固定连接有底部管。
所述晶体颗粒集中机构包括分类箱体,所述分类箱体固定连接在抛光箱体的底部,所述分类箱体内腔的顶部固定连接有连接软管,所述分类箱体内腔的顶部固定安装有焊接架,所述焊接架的底部固定安装有弹性件,所述焊接架的底部固定安装有凸轮电机,所述凸轮电机的输出轴固定连接有凸轮本体,所述弹性件的底部固定安装有倾斜分离框。
本发明技术方案的进一步改进在于:所述抛光箱体内腔的左侧固定安装有双向丝杆座本体,所述双向丝杆座本体的外壁上设置有反向滑动座,所述反向滑动座的右侧固定安装有接近座,两个所述接近座相互远离的一侧均固定安装有抛光电机,所述抛光电机的输出轴穿过接近座的内部拆卸式连接有抛光盘。
本发明技术方案的进一步改进在于:所述空心环固定安装在接近座靠近钽酸锂晶体的一侧上,所述空心环的内壁上固定连接有喷嘴,所述空心环的右侧固定连接有输送管,所述输送管远离空心环的一端与底部管的底部固定连接。
本发明技术方案的进一步改进在于:所述控制箱体的右侧固定安装有固定块,所述固定块的内腔中滑动连接有水平滑动杆,所述控制箱体的右侧固定安装有旋转电机,所述旋转电机的输出轴固定连接有旋转盘,所述旋转盘的顶部转动连接有传动杆,所述传动杆的顶部与水平滑动杆的底部转动连接。
本发明技术方案的进一步改进在于:所述连接软管远离分类箱体的一端与倾斜分离框的左侧固定连接,所述倾斜分离框的底部拆卸式连接有过滤网罩,所述倾斜分离框的顶部拆卸式连接有耐磨片,所述耐磨片的顶部与凸轮本体的底部活动连接,所述倾斜分离框的外表面上固定安装有铁片,所述分类箱体内腔的左侧固定安装有电磁铁。
本发明技术方案的进一步改进在于:所述分类箱体内腔的底部固定安装有溶液收集罩,所述溶液收集罩的底部延伸至分类箱体的底部固定连接有溶液储存罐,所述溶液储存罐的左侧拆卸式连接有活动框,所述活动框的底部固定连接有精细滤网,所述溶液储存罐的底部固定连接有排放阀管。
本发明技术方案的进一步改进在于:所述分类箱体内腔的底部固定安装有晶体颗粒收集罩,所述晶体颗粒收集罩的底部延伸至分类箱体的底部通过手动阀管固定连接有晶体颗粒储存罐,所述晶体颗粒储存罐的底部拆卸式连接有封闭块。
本发明技术方案的进一步改进在于:所述晶体颗粒储存罐的左侧固定连接有单向管,所述单向管的左侧固定连接有热风机,所述晶体颗粒储存罐的左侧开设有排气管,所述排气管的内腔中设置有透气网。
由于采用了上述技术方案,本发明相对现有技术来说,取得的技术进步是:
1、本发明提供一种钽酸锂晶体制造用的双面抛光机,采用抽取泵机、空心环、喷嘴、旋转电机和水平滑动杆的结合,控制抽取泵机工作,可从球形容纳罐的内腔中抽取抛光液,然后通过底部管和输送管输送至空心环的内腔中,最终通过喷嘴喷出,实现自动对抛光液进行添加的功能,提升本机器的抛光效率,且控制旋转电机工作,可由旋转盘和传动杆对水平滑动杆进行来回推动,进而带动球形容纳罐进行左右摇晃,促使抛光液在球形容纳罐的内腔中持续流动,避免抛光液在球形容纳罐的内腔中出现沉淀的问题,保障抛光的效果。
2、本发明提供一种钽酸锂晶体制造用的双面抛光机,采用倾斜分离框、过滤网罩、凸轮电机、电磁铁和铁片的结合,通过连接软管的设计,可将含有晶体颗粒的抛光液导向倾斜分离框的内腔中,通过过滤网罩的设计,可将晶体颗粒滤除在过滤网罩的内腔中,控制凸轮电机工作,可对过滤网罩进行向下的推动,晶体颗粒通过自身惯性会在空中停留一段时间,同时控制电磁铁工作对铁片进行吸附,促使过滤网罩左移,进而使得晶体颗粒落在过滤网罩内腔的位置右移一部分,持续进行上述操作,最终可将晶体颗粒导向晶体颗粒收集罩内,即完成对晶体颗粒进行分类收集的功能,降低材料的浪费,提升本机器的环保性。
3、本发明提供一种钽酸锂晶体制造用的双面抛光机,采用晶体颗粒储存罐、单向管、热风机、排气管和透气网的结合,预先将手动阀管关闭,控制热风机工作,可穿过单向管向晶体颗粒储存罐的内腔中吹送热风,实现对晶体颗粒储存罐内腔中的晶体颗粒进行烘干的功能,便于使用者对晶体颗粒收集,同时使湿气穿过透气网由排气管排放出,通过晶体颗粒储存罐内腔的形状设置,可使晶体颗粒在晶体颗粒储存罐的内腔中翻转,进一步加快其被烘干的速率。
附图说明
图1为本发明的结构示意图;
图2为本发明抛光箱体的内部结构示意图;
图3为本发明控制箱体的内部结构示意图;
图4为本发明分类箱体的内部结构示意图;
图5为本发明倾斜分离框的侧面剖视结构示意图;
图6为本发明溶液储存罐的内部结构示意图;
图7为本发明晶体颗粒储存罐的内部结构示意图。
图中:1、抛光箱体;11、晶体安装台本体;12、钽酸锂晶体;13、双向丝杆座本体;14、反向滑动座;15、接近座;16、抛光电机;17、抛光盘;2、支撑腿;3、钢化玻璃门;4、控制台本体;
5、抛光液自动添加机构;51、控制箱体;511、弹性支脚;512、球形容纳罐;513、旋转电机;514、旋转盘;515、固定块;516、水平滑动杆;517、抽取泵机;518、软质连管;519、底部管;52、空心环;
6、晶体颗粒集中机构;61、分类箱体;62、连接软管;63、焊接架;64、弹性件;65、凸轮电机;66、倾斜分离框;661、过滤网罩;662、耐磨片;67、电磁铁;68、铁片;69、溶液收集罩;691、溶液储存罐;6911、活动框;6912、精细滤网;692、晶体颗粒收集罩;693、晶体颗粒储存罐;6931、单向管;6932、热风机;6933、排气管;6934、透气网。
具体实施方式
下面结合实施例对本发明做进一步详细说明:
实施例1
如图1-7所示,本发明提供了一种钽酸锂晶体制造用的双面抛光机,包括抛光箱体1,抛光箱体1内腔的右侧拆卸式连接有晶体安装台本体11,晶体安装台本体11的内腔中拆卸式连接有钽酸锂晶体12,抛光箱体1的顶部设置有控制台本体4,抛光箱体1的底部固定焊接有支撑腿2,抛光箱体1的正面转动连接有钢化玻璃门3,抛光箱体1的右侧设置有抛光液自动添加机构5,抛光箱体1的底部设置有晶体颗粒集中机构6,抛光液自动添加机构5包括控制箱体51和空心环52,控制箱体51固定安装在抛光箱体1的右侧,控制箱体51的内壁上固定安装有弹性支脚511,弹性支脚511远离控制箱体51内壁的一端固定安装有球形容纳罐512,球形容纳罐512的顶部和底部均固定连接有软质连管518,位于上方的软质连管518与控制箱体51内腔的顶部固定连接,控制箱体51内腔的底部固定安装有抽取泵机517,抽取泵机517的输入端与位于下方的软质连管518的底部固定连接,抽取泵机517的输出端固定连接有底部管519,晶体颗粒集中机构6包括分类箱体61,分类箱体61固定连接在抛光箱体1的底部,分类箱体61内腔的顶部固定连接有连接软管62,分类箱体61内腔的顶部固定安装有焊接架63,焊接架63的底部固定安装有弹性件64,焊接架63的底部固定安装有凸轮电机65,凸轮电机65的输出轴固定连接有凸轮本体,弹性件64的底部固定安装有倾斜分离框66,通过连接软管62的设计,可将含有晶体颗粒的抛光液导向倾斜分离框66的内腔中,通过过滤网罩661的设计,可将晶体颗粒滤除在过滤网罩661的内腔中,控制凸轮电机65工作,可对过滤网罩661进行向下的推动,晶体颗粒通过自身惯性会在空中停留一段时间,同时控制电磁铁67工作对铁片68进行吸附,促使过滤网罩661左移,进而使得晶体颗粒落在过滤网罩661内腔的位置右移一部分,持续进行上述操作,最终可将晶体颗粒导向晶体颗粒收集罩692内,即完成对晶体颗粒进行分类收集的功能。
实施例2
如图1-7所示,在实施例1的基础上,本发明提供一种技术方案:优选的,抛光箱体1内腔的左侧固定安装有双向丝杆座本体13,双向丝杆座本体13的外壁上设置有反向滑动座14,反向滑动座14的右侧固定安装有接近座15,两个接近座15相互远离的一侧均固定安装有抛光电机16,抛光电机16的输出轴穿过接近座15的内部拆卸式连接有抛光盘17,空心环52固定安装在接近座15靠近钽酸锂晶体12的一侧上,空心环52的内壁上固定连接有喷嘴,空心环52的右侧固定连接有输送管,输送管远离空心环52的一端与底部管519的底部固定连接,预先将钽酸锂晶体12安装在晶体安装台本体11上,控制双向丝杆座本体13工作带动反向滑动座14位移,促使抛光盘17靠近钽酸锂晶体12,随之控制抛光电机16工作,带动抛光盘17进行旋转,实现对钽酸锂晶体12进行双面抛光的处理。
实施例3
如图1-7所示,在实施例1的基础上,本发明提供一种技术方案:优选的,控制箱体51的右侧固定安装有固定块515,固定块515的内腔中滑动连接有水平滑动杆516,控制箱体51的右侧固定安装有旋转电机513,旋转电机513的输出轴固定连接有旋转盘514,旋转盘514的顶部转动连接有传动杆,传动杆的顶部与水平滑动杆516的底部转动连接,控制抽取泵机517工作,可从球形容纳罐512的内腔中抽取抛光液,然后通过底部管519和输送管输送至空心环52的内腔中,最终通过喷嘴喷出,实现自动对抛光液进行添加的功能,提升本机器的抛光效率,且控制旋转电机513工作,可由旋转盘514和传动杆对水平滑动杆516进行来回推动,进而带动球形容纳罐512进行左右摇晃,促使抛光液在球形容纳罐512的内腔中持续流动,避免抛光液在球形容纳罐512的内腔中出现沉淀的问题。
实施例4
如图1-7所示,在实施例1的基础上,本发明提供一种技术方案:优选的,连接软管62远离分类箱体61的一端与倾斜分离框66的左侧固定连接,倾斜分离框66的底部拆卸式连接有过滤网罩661,倾斜分离框66的顶部拆卸式连接有耐磨片662,耐磨片662的顶部与凸轮本体的底部活动连接,倾斜分离框66的外表面上固定安装有铁片68,分类箱体61内腔的左侧固定安装有电磁铁67,分类箱体61内腔的底部固定安装有溶液收集罩69,溶液收集罩69的底部延伸至分类箱体61的底部固定连接有溶液储存罐691,溶液储存罐691的左侧拆卸式连接有活动框6911,活动框6911的底部固定连接有精细滤网6912,溶液储存罐691的底部固定连接有排放阀管,分类箱体61内腔的底部固定安装有晶体颗粒收集罩692,晶体颗粒收集罩692的底部延伸至分类箱体61的底部通过手动阀管固定连接有晶体颗粒储存罐693,晶体颗粒储存罐693的底部拆卸式连接有封闭块,将封闭块开启可对晶体颗粒储存罐693内部的物质进行排放,晶体颗粒储存罐693的左侧固定连接有单向管6931,单向管6931的左侧固定连接有热风机6932,晶体颗粒储存罐693的左侧开设有排气管6933,排气管6933的内腔中设置有透气网6934,预先将手动阀管关闭,控制热风机6932工作,可穿过单向管6931向晶体颗粒储存罐693的内腔中吹送热风,实现对晶体颗粒储存罐693内腔中的晶体颗粒进行烘干的功能,便于使用者对晶体颗粒收集,同时使湿气穿过透气网6934由排气管6933排放出,通过晶体颗粒储存罐693内腔的形状设置,可使晶体颗粒在晶体颗粒储存罐693的内腔中翻转,进一步加快其被烘干的速率。
下面具体说一下该钽酸锂晶体制造用的双面抛光机的工作原理。
如图1-7所示,预先将钽酸锂晶体12安装在晶体安装台本体11上,控制抽取泵机517工作可抽取球形容纳罐512内腔中的抛光液,然后通过喷嘴喷向抛光盘17,再控制双向丝杆座本体13工作带动反向滑动座14位移,促使抛光盘17靠近钽酸锂晶体12,随之控制抛光电机16工作,带动抛光盘17进行旋转,实现对钽酸锂晶体12进行双面抛光的处理,抛光完成后,将钽酸锂晶体12拆卸下即可,若球形容纳罐512静置的时间较长,为避免球形容纳罐512内的抛光液出现沉淀现象的问题,可控制旋转电机513工作,由旋转盘514和传动杆对水平滑动杆516进行来回推动,带动球形容纳罐512进行左右摇晃,促使抛光液在球形容纳罐512的内腔中持续流动混合,通过连接软管62的设计,可将含有晶体颗粒的抛光液导向倾斜分离框66的内腔中,通过过滤网罩661将晶体颗粒滤除在其内腔中,抛光液被分离在溶液储存罐691的内腔中,控制凸轮电机65工作,同时控制电磁铁67间歇工作,最终可将晶体颗粒导向晶体颗粒储存罐693内,将手动阀管关闭并控制热风机6932工作,可对晶体颗粒储存罐693内腔中的晶体颗粒进行烘干。
上文一般性的对本发明做了详尽的描述,但在本发明基础上,可以对之做一些修改或改进,这对于技术领域的一般技术人员是显而易见的。因此,在不脱离本发明思想精神的修改或改进,均在本发明的保护范围之内。
Claims (8)
1.一种钽酸锂晶体制造用的双面抛光机,包括抛光箱体(1),所述抛光箱体(1)内腔的右侧拆卸式连接有晶体安装台本体(11),所述晶体安装台本体(11)的内腔中拆卸式连接有钽酸锂晶体(12),所述抛光箱体(1)的顶部设置有控制台本体(4),其特征在于:所述抛光箱体(1)的底部固定焊接有支撑腿(2),所述抛光箱体(1)的正面转动连接有钢化玻璃门(3),所述抛光箱体(1)的右侧设置有抛光液自动添加机构(5),所述抛光箱体(1)的底部设置有晶体颗粒集中机构(6);
所述抛光液自动添加机构(5)包括控制箱体(51)和空心环(52),所述控制箱体(51)固定安装在抛光箱体(1)的右侧,所述控制箱体(51)的内壁上固定安装有弹性支脚(511),所述弹性支脚(511)远离控制箱体(51)内壁的一端固定安装有球形容纳罐(512),所述球形容纳罐(512)的顶部和底部均固定连接有软质连管(518),位于上方的所述软质连管(518)与控制箱体(51)内腔的顶部固定连接,所述控制箱体(51)内腔的底部固定安装有抽取泵机(517),所述抽取泵机(517)的输入端与位于下方的软质连管(518)的底部固定连接,所述抽取泵机(517)的输出端固定连接有底部管(519);
所述晶体颗粒集中机构(6)包括分类箱体(61),所述分类箱体(61)固定连接在抛光箱体(1)的底部,所述分类箱体(61)内腔的顶部固定连接有连接软管(62),所述分类箱体(61)内腔的顶部固定安装有焊接架(63),所述焊接架(63)的底部固定安装有弹性件(64),所述焊接架(63)的底部固定安装有凸轮电机(65),所述凸轮电机(65)的输出轴固定连接有凸轮本体,所述弹性件(64)的底部固定安装有倾斜分离框(66)。
2.根据权利要求1所述的一种钽酸锂晶体制造用的双面抛光机,其特征在于:所述抛光箱体(1)内腔的左侧固定安装有双向丝杆座本体(13),所述双向丝杆座本体(13)的外壁上设置有反向滑动座(14),所述反向滑动座(14)的右侧固定安装有接近座(15),两个所述接近座(15)相互远离的一侧均固定安装有抛光电机(16),所述抛光电机(16)的输出轴穿过接近座(15)的内部拆卸式连接有抛光盘(17)。
3.根据权利要求2所述的一种钽酸锂晶体制造用的双面抛光机,其特征在于:所述空心环(52)固定安装在接近座(15)靠近钽酸锂晶体(12)的一侧上,所述空心环(52)的内壁上固定连接有喷嘴,所述空心环(52)的右侧固定连接有输送管,所述输送管远离空心环(52)的一端与底部管(519)的底部固定连接。
4.根据权利要求1所述的一种钽酸锂晶体制造用的双面抛光机,其特征在于:所述控制箱体(51)的右侧固定安装有固定块(515),所述固定块(515)的内腔中滑动连接有水平滑动杆(516),所述控制箱体(51)的右侧固定安装有旋转电机(513),所述旋转电机(513)的输出轴固定连接有旋转盘(514),所述旋转盘(514)的顶部转动连接有传动杆,所述传动杆的顶部与水平滑动杆(516)的底部转动连接。
5.根据权利要求1所述的一种钽酸锂晶体制造用的双面抛光机,其特征在于:所述连接软管(62)远离分类箱体(61)的一端与倾斜分离框(66)的左侧固定连接,所述倾斜分离框(66)的底部拆卸式连接有过滤网罩(661),所述倾斜分离框(66)的顶部拆卸式连接有耐磨片(662),所述耐磨片(662)的顶部与凸轮本体的底部活动连接,所述倾斜分离框(66)的外表面上固定安装有铁片(68),所述分类箱体(61)内腔的左侧固定安装有电磁铁(67)。
6.根据权利要求1所述的一种钽酸锂晶体制造用的双面抛光机,其特征在于:所述分类箱体(61)内腔的底部固定安装有溶液收集罩(69),所述溶液收集罩(69)的底部延伸至分类箱体(61)的底部固定连接有溶液储存罐(691),所述溶液储存罐(691)的左侧拆卸式连接有活动框(6911),所述活动框(6911)的底部固定连接有精细滤网(6912),所述溶液储存罐(691)的底部固定连接有排放阀管。
7.根据权利要求1所述的一种钽酸锂晶体制造用的双面抛光机,其特征在于:所述分类箱体(61)内腔的底部固定安装有晶体颗粒收集罩(692),所述晶体颗粒收集罩(692)的底部延伸至分类箱体(61)的底部通过手动阀管固定连接有晶体颗粒储存罐(693),所述晶体颗粒储存罐(693)的底部拆卸式连接有封闭块。
8.根据权利要求7所述的一种钽酸锂晶体制造用的双面抛光机,其特征在于:所述晶体颗粒储存罐(693)的左侧固定连接有单向管(6931),所述单向管(6931)的左侧固定连接有热风机(6932),所述晶体颗粒储存罐(693)的左侧开设有排气管(6933),所述排气管(6933)的内腔中设置有透气网(6934)。
Priority Applications (1)
| Application Number | Priority Date | Filing Date | Title |
|---|---|---|---|
| CN202210049552.6A CN114393495A (zh) | 2022-01-17 | 2022-01-17 | 一种钽酸锂晶体制造用的双面抛光机 |
Applications Claiming Priority (1)
| Application Number | Priority Date | Filing Date | Title |
|---|---|---|---|
| CN202210049552.6A CN114393495A (zh) | 2022-01-17 | 2022-01-17 | 一种钽酸锂晶体制造用的双面抛光机 |
Publications (1)
| Publication Number | Publication Date |
|---|---|
| CN114393495A true CN114393495A (zh) | 2022-04-26 |
Family
ID=81231792
Family Applications (1)
| Application Number | Title | Priority Date | Filing Date |
|---|---|---|---|
| CN202210049552.6A Pending CN114393495A (zh) | 2022-01-17 | 2022-01-17 | 一种钽酸锂晶体制造用的双面抛光机 |
Country Status (1)
| Country | Link |
|---|---|
| CN (1) | CN114393495A (zh) |
Cited By (1)
| Publication number | Priority date | Publication date | Assignee | Title |
|---|---|---|---|---|
| CN114952577A (zh) * | 2022-07-08 | 2022-08-30 | 王广发 | 一种阀门端面抛光机 |
Citations (12)
| Publication number | Priority date | Publication date | Assignee | Title |
|---|---|---|---|---|
| US20080227297A1 (en) * | 2007-03-16 | 2008-09-18 | Yukiteru Matsui | Chemical mechanical polishing method and method for manufacturing semiconductor device |
| CN206795532U (zh) * | 2017-06-13 | 2017-12-26 | 郑灿华 | 一种具有收集陶瓷粉功能的陶瓷抛光机 |
| CN207346446U (zh) * | 2017-09-07 | 2018-05-11 | 镇江市高等专科学校 | 一种用于亚临界流体萃取的溶剂储罐 |
| CN208788285U (zh) * | 2018-09-06 | 2019-04-26 | 济宁力源液压股份有限公司 | 一种具有散热功能且方便打磨件固定的双面研磨机 |
| CN210010787U (zh) * | 2019-05-24 | 2020-02-04 | 西安明星光电科技有限公司 | 一种用于平面镜的双面研磨机 |
| CN210997870U (zh) * | 2019-09-04 | 2020-07-14 | 武汉鑫驰光电有限公司 | 一种用于生产平面镜的双面抛光机 |
| CN111421391A (zh) * | 2020-03-09 | 2020-07-17 | 大连理工大学 | 一种单晶金刚石晶片的双面化学机械抛光方法 |
| CN211103256U (zh) * | 2019-10-21 | 2020-07-28 | 天津西美科技有限公司 | 一种半导体研磨抛光机 |
| CN211402380U (zh) * | 2019-12-27 | 2020-09-01 | 天津市润发铸造有限公司 | 一种石油开采检测装置 |
| CN212497245U (zh) * | 2020-06-24 | 2021-02-09 | 苏州绿净源环保设备有限公司 | 一种环保型打磨加工装置 |
| CN213444187U (zh) * | 2020-10-21 | 2021-06-15 | 天津市双马香精香料股份有限公司 | 一种带杀菌功能的香精料液储存装置 |
| CN213669048U (zh) * | 2020-07-08 | 2021-07-13 | 南京福盛新材料有限公司 | 一种混凝土外加剂防沉淀装置 |
-
2022
- 2022-01-17 CN CN202210049552.6A patent/CN114393495A/zh active Pending
Patent Citations (12)
| Publication number | Priority date | Publication date | Assignee | Title |
|---|---|---|---|---|
| US20080227297A1 (en) * | 2007-03-16 | 2008-09-18 | Yukiteru Matsui | Chemical mechanical polishing method and method for manufacturing semiconductor device |
| CN206795532U (zh) * | 2017-06-13 | 2017-12-26 | 郑灿华 | 一种具有收集陶瓷粉功能的陶瓷抛光机 |
| CN207346446U (zh) * | 2017-09-07 | 2018-05-11 | 镇江市高等专科学校 | 一种用于亚临界流体萃取的溶剂储罐 |
| CN208788285U (zh) * | 2018-09-06 | 2019-04-26 | 济宁力源液压股份有限公司 | 一种具有散热功能且方便打磨件固定的双面研磨机 |
| CN210010787U (zh) * | 2019-05-24 | 2020-02-04 | 西安明星光电科技有限公司 | 一种用于平面镜的双面研磨机 |
| CN210997870U (zh) * | 2019-09-04 | 2020-07-14 | 武汉鑫驰光电有限公司 | 一种用于生产平面镜的双面抛光机 |
| CN211103256U (zh) * | 2019-10-21 | 2020-07-28 | 天津西美科技有限公司 | 一种半导体研磨抛光机 |
| CN211402380U (zh) * | 2019-12-27 | 2020-09-01 | 天津市润发铸造有限公司 | 一种石油开采检测装置 |
| CN111421391A (zh) * | 2020-03-09 | 2020-07-17 | 大连理工大学 | 一种单晶金刚石晶片的双面化学机械抛光方法 |
| CN212497245U (zh) * | 2020-06-24 | 2021-02-09 | 苏州绿净源环保设备有限公司 | 一种环保型打磨加工装置 |
| CN213669048U (zh) * | 2020-07-08 | 2021-07-13 | 南京福盛新材料有限公司 | 一种混凝土外加剂防沉淀装置 |
| CN213444187U (zh) * | 2020-10-21 | 2021-06-15 | 天津市双马香精香料股份有限公司 | 一种带杀菌功能的香精料液储存装置 |
Cited By (2)
| Publication number | Priority date | Publication date | Assignee | Title |
|---|---|---|---|---|
| CN114952577A (zh) * | 2022-07-08 | 2022-08-30 | 王广发 | 一种阀门端面抛光机 |
| CN114952577B (zh) * | 2022-07-08 | 2023-12-15 | 苏州近藤精密部件有限公司 | 一种阀门端面抛光机 |
Similar Documents
| Publication | Publication Date | Title |
|---|---|---|
| CN216631170U (zh) | 水泥输送系统除铁装置 | |
| CN210729813U (zh) | 一种颚式破碎机除尘装置 | |
| CN114393495A (zh) | 一种钽酸锂晶体制造用的双面抛光机 | |
| CN208406415U (zh) | 一种具有除尘装置的受料斗 | |
| CN215137781U (zh) | 一种滤芯的高效清洁设备 | |
| CN211025697U (zh) | 一种工业节能减排式烟尘净化装置 | |
| CN205762607U (zh) | 一种稀土加工草酸钇高效过滤装置 | |
| CN209222367U (zh) | 一种印刷环保吸尘装置 | |
| CN207682050U (zh) | 一种倾倒式切削液中铁屑分离设备 | |
| CN212686904U (zh) | 一种自动粉料负压输送装置 | |
| CN219010413U (zh) | 一种除尘炒灰机 | |
| CN108907997A (zh) | 一种具备除尘功能的阀门加工用打磨装置 | |
| CN211084856U (zh) | 一种高碳铬铁冶炼用炉气尘降器 | |
| CN219722316U (zh) | 一种粉煤灰后道收集装置 | |
| CN208878131U (zh) | 一种新型除尘器 | |
| CN209405891U (zh) | 一种车间全自动除尘装置 | |
| CN209721891U (zh) | 一种污泥处理装置 | |
| CN208839944U (zh) | 可调节的大米加工用平面回转清理筛 | |
| CN209197500U (zh) | 一种节能环保的烟罩 | |
| CN209243271U (zh) | 一种车尾集中收棉火警预处理装置 | |
| CN208599336U (zh) | 一种用于工厂除尘的空气过滤装置 | |
| CN208713622U (zh) | 一种具备除尘功能的阀门加工用打磨装置 | |
| CN220425988U (zh) | 一种方便调控流速的大米加工除糠装置 | |
| CN213999019U (zh) | 一种玻璃制品加工用抛光装置 | |
| CN206350957U (zh) | 一种高效的工业废气布袋式除尘装置 |
Legal Events
| Date | Code | Title | Description |
|---|---|---|---|
| PB01 | Publication | ||
| PB01 | Publication | ||
| SE01 | Entry into force of request for substantive examination | ||
| SE01 | Entry into force of request for substantive examination | ||
| RJ01 | Rejection of invention patent application after publication |
Application publication date: 20220426 |
|
| RJ01 | Rejection of invention patent application after publication |