CN110558287B - Double-layer ant culture observation box - Google Patents

Double-layer ant culture observation box Download PDF

Info

Publication number
CN110558287B
CN110558287B CN201910691145.3A CN201910691145A CN110558287B CN 110558287 B CN110558287 B CN 110558287B CN 201910691145 A CN201910691145 A CN 201910691145A CN 110558287 B CN110558287 B CN 110558287B
Authority
CN
China
Prior art keywords
box
transparent container
water tank
transparent
feeding
Prior art date
Legal status (The legal status is an assumption and is not a legal conclusion. Google has not performed a legal analysis and makes no representation as to the accuracy of the status listed.)
Active
Application number
CN201910691145.3A
Other languages
Chinese (zh)
Other versions
CN110558287A (en
Inventor
张晨露
李晓伟
史一飞
张贝贝
吴迪
Current Assignee (The listed assignees may be inaccurate. Google has not performed a legal analysis and makes no representation or warranty as to the accuracy of the list.)
Henan University
Original Assignee
Henan University
Priority date (The priority date is an assumption and is not a legal conclusion. Google has not performed a legal analysis and makes no representation as to the accuracy of the date listed.)
Filing date
Publication date
Application filed by Henan University filed Critical Henan University
Priority to CN201910691145.3A priority Critical patent/CN110558287B/en
Publication of CN110558287A publication Critical patent/CN110558287A/en
Application granted granted Critical
Publication of CN110558287B publication Critical patent/CN110558287B/en
Active legal-status Critical Current
Anticipated expiration legal-status Critical

Links

Images

Classifications

    • AHUMAN NECESSITIES
    • A01AGRICULTURE; FORESTRY; ANIMAL HUSBANDRY; HUNTING; TRAPPING; FISHING
    • A01KANIMAL HUSBANDRY; AVICULTURE; APICULTURE; PISCICULTURE; FISHING; REARING OR BREEDING ANIMALS, NOT OTHERWISE PROVIDED FOR; NEW BREEDS OF ANIMALS
    • A01K67/00Rearing or breeding animals, not otherwise provided for; New or modified breeds of animals
    • A01K67/30Rearing or breeding invertebrates

Landscapes

  • Life Sciences & Earth Sciences (AREA)
  • Environmental Sciences (AREA)
  • Animal Behavior & Ethology (AREA)
  • Zoology (AREA)
  • Animal Husbandry (AREA)
  • Biodiversity & Conservation Biology (AREA)
  • Cultivation Receptacles Or Flower-Pots, Or Pots For Seedlings (AREA)

Abstract

本发明涉及蚂蚁养殖领域,公开了双层结构的蚂蚁培养观察箱,包括底座,还包括透明容器和透明箱体,底座上设有透明容器,透明容器上端设有透明箱体,透明箱体通过竖直隔板分割成一侧的水箱和另一侧的喂食箱,透明容器为蚂蚁巢巢体,透明容器内填充有透明固态海藻凝胶,透明容器内一侧设有吸水件,吸水件顶端部贯穿水箱底部并深入到水箱内部;喂食箱顶部两侧通过铰链分别铰接有箱盖,靠近水箱一侧的箱盖上设有喂食管,远离水箱一侧的箱盖通过锁扣活动安装于喂食箱上,喂食管底端外壁套接有空心橡胶半球,空心橡胶半球底部开设有缝隙,喂食箱和透明容器之间设有爬行通道。本发明结构合理,更适应蚂蚁的生态习性,能够观察蚂蚁巢穴内生活的实际情况。

Figure 201910691145

The invention relates to the field of ant breeding, and discloses a double-layer structure of an ant culture observation box, comprising a base, a transparent container and a transparent box body, the base is provided with a transparent container, the upper end of the transparent container is provided with a transparent box body, and the transparent box body passes through The vertical partition is divided into a water tank on one side and a feeding box on the other side. The transparent container is an ant nest body. The transparent container is filled with transparent solid seaweed gel. One side of the transparent container is provided with a water-absorbing part, and the top part of the water-absorbing part is It runs through the bottom of the water tank and goes deep into the inside of the water tank; the two sides of the top of the feeding box are respectively hinged with box covers through hinges. The outer wall of the bottom end of the feeding tube is sleeved with a hollow rubber hemisphere, the bottom of the hollow rubber hemisphere is provided with a slit, and a crawling channel is arranged between the feeding box and the transparent container. The invention has a reasonable structure, is more suitable for the ecological habits of ants, and can observe the actual living conditions of the ants' nests.

Figure 201910691145

Description

Double-layer ant culture observation box
Technical Field
The invention relates to the field of ant cultivation, in particular to an ant cultivation observation box with a double-layer structure.
Background
Ants are the most common insects on the earth, from arid deserts to humid seasides, from tropical zones to frigid zones near polar regions, from plains to mountains, from bare lands to dense forests, and everywhere there are traces of ants. Most ants nest underground, while 80% -90% of the population live in the nest. Through nest building, ants turn deep soil over the nest, soil can be loosened, and in addition, ants and animals and plants growing around the ants have close mutual-benefiting symbiotic relationship, so that the influence on the ecological environment is very obvious.
The existing ant observation box only comprises a transparent or opaque container with a simple structure, gel is injected into the container, and openings for feeding food and water are formed in the container, so that the ecological habits of ants cannot be well observed; whether the ant nest chamber is separated from the life space filled with gel, the ecological habit of ant nesting is not met, because ants mainly build nest by loosening soil and carrying organic matters to promote nutrient circulation. Therefore, the ant culture observation box with the double-layer structure is designed to simulate the life habit of ant nesting.
Disclosure of Invention
The invention aims to provide an ant culture observation box with a double-layer structure, which solves the problems in the prior art.
The invention provides an ant culture observation box with a double-layer structure, which comprises a base, a transparent container and a transparent box body, wherein the transparent container is arranged on the base, the upper end of the transparent container is provided with the transparent box body, the interior of the transparent box body is divided into a water tank at one side and a feeding box at the other side through a vertical partition plate, the transparent container is an ant nest body, transparent solid seaweed gel is filled in the transparent container, a water absorbing piece is arranged at one side in the transparent container, the bottom of the water tank is provided with an outlet groove, the top end part of the water absorbing piece penetrates through the outlet groove and the bottom of the water tank and extends into the interior of the water tank, and the top of the water tank is connected with a water tank cover;
it has the edible case lid, two to feed to eat case top both sides and articulate respectively through the hinge eat the case lid, eat the case lid and can close feeding case top lid, be close to and be equipped with the feeding tube on the edible case lid of one side of water tank, keep away from the edible case lid of water tank one side and pass through hasp movable mounting on feeding the case, the body of feeding tube is put into formula and is installed in feeding the incasement, feeding tube top spiro union has the tube cap, the bottom outer wall of feeding tube has cup jointed hollow rubber hemisphere, the gap has been seted up to the bottom of hollow rubber hemisphere, feeding the case with be equipped with the passageway of crawling between the transparent container, and the two passes through the passageway intercommunication of crawling.
Preferably, the transparent container is formed by communicating a plurality of independent cells, the interior of each independent cell is of a cuboid cavity structure, and each two independent cells form an I-shaped structure through a connecting channel; the number of the outlet grooves at the bottom of the water tank is the same as that of the independent cells, the water absorbing pieces are arranged in each independent cell, and the top end of each water absorbing piece correspondingly penetrates through one outlet groove and extends into the interior of the water tank.
Preferably, the crawling channel is a hollow pipe, and each independent cell is correspondingly communicated with one crawling channel to be communicated with the feeding box.
Preferably, the absorbent member is a sponge.
Preferably, handles are arranged on the top of the water tank cover and the top of the feeding tank cover.
Preferably, a heating device is arranged in the base, the transparent container is placed on the heating device, and a heat conducting pad is arranged on the bottom wall of the transparent container.
Preferably, the side wall of the transparent container is also provided with an illuminating device.
Preferably, the side wall of the feeding box is provided with a plurality of air holes with the diameter smaller than that of ants.
Compared with the prior art, the invention has the beneficial effects that:
the ant cultivation observation box with the double-layer structure is characterized in that transparent solid seaweed gel is filled in a transparent container, ants dig nests on the filled transparent solid seaweed gel, the structure of the ant nests and how the ants move in the nests can be directly observed through the wall of the transparent container, a water absorbing part is arranged on one side in the transparent container, water passing through a water tank is absorbed from the top end of the water absorbing part and permeates into the water absorbing part, so that the humidity in the ant nests is maintained, in addition, the outer wall of the bottom end of a feeding tube is sleeved with a hollow rubber hemisphere, the bottom of the hollow rubber hemisphere is provided with a gap, food is put into the feeding tube, the gap is formed at the bottom of the hollow rubber hemisphere, therefore, the food put into the hollow rubber hemisphere is poked in by means of an external rod-shaped object, the gap is opened at the moment, the food falls into the feeding box, and after the feeding is finished, the gap is closed, so that ants are prevented from running out, and the feeding box and the transparent container are provided with the crawling channel and communicated through the crawling channel, so that the ants can carry food to the ant nest through the crawling channel. The invention has reasonable structure, is more suitable for the ecological habits of ants, can observe the actual situation of life in the ant nest and can provide food required by the survival of the ants.
Drawings
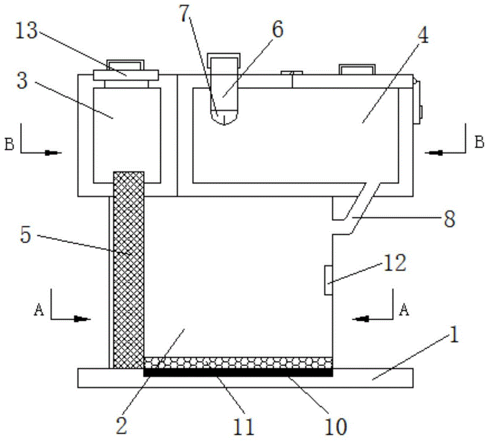
Fig. 1 is a schematic structural view of an ant cultivation observation box with a double-layer structure provided by the invention;
fig. 2 is a left side view of the ant cultivation observation box with a double-layer structure provided by the present invention;
fig. 3 is a top view of the ant cultivation observation box with a double-layer structure provided by the present invention;
FIG. 4 is a schematic structural diagram of a cross-sectional view A-A in FIG. 1;
FIG. 5 is a schematic structural diagram of a cross-sectional top view of B-B in FIG. 1;
fig. 6 is a schematic structural view of the transparent container in fig. 1.
Description of reference numerals: 1. a base; 2. a transparent container; 3. a water tank; 4. feeding the food box; 5. a water absorbing member; a feeding tube; 7. a hollow rubber hemisphere; 8. a crawling channel; 9. a connecting channel; 10. a heating device; 11. a thermally conductive pad; 12. an illumination device; 13. a water tank cover.
Detailed Description
In the description of the present invention, it should be noted that, unless otherwise explicitly specified or limited, the terms "mounted," "connected," and "connected" are to be construed broadly, e.g., as meaning either a fixed connection, a removable connection, or an integral connection; can be mechanically or electrically connected; they may be connected directly or indirectly through intervening media, or they may be interconnected between two elements. The specific meanings of the above terms in the present invention can be understood in specific cases to those skilled in the art.
The following detailed description of the present invention is provided in conjunction with the accompanying drawings, but it should be understood that the scope of the present invention is not limited to the specific embodiments.
Example 1
The invention provides an ant culture observation box with a double-layer structure, as shown in figures 1-6, comprising a base 1, a transparent container 2 and a transparent box body, wherein the transparent container 2 is arranged on the base 1, the upper end of the transparent container 2 is provided with the transparent box body, the interior of the transparent box body is divided into a water tank 3 at one side and a feeding box 4 at the other side by a vertical partition plate, the transparent container 2 is an ant nest body, transparent solid seaweed gel is filled in the transparent container 2, ants dig nests on the filled transparent solid seaweed gel, the structure of an ant nest and how ants move in the nest can be directly observed through the wall of the transparent container 2, a water absorbing piece 5 is arranged on one side in the transparent container 2, an outlet groove is formed in the bottom of the water tank 3, the top end of the water absorbing piece 5 penetrates through the outlet groove and the bottom of the water tank 3 and extends into the water tank 3, and the top of the water tank 3 is connected with a water tank cover 13; the water absorbing piece 5 is rapidly added with water by opening the water tank cover 13, the water absorbing piece 5 is only arranged on one side in the transparent container 2, so that the structure of an ant nest and how ants move in the nest are not influenced, water in the water tank 3 is supplemented, and water in the water tank 3 is absorbed from the top end of the water absorbing piece 5 and permeates into the water absorbing piece 5, so that the humidity in the ant nest is maintained in a state suitable for the existence of the ants, and the water absorbing piece 5 is sponge in the embodiment.
Feed 4 top both sides of case and eat the case lid that the hinge articulates respectively, two eat the case lid and can close 4 top covers of case of feeding, be close to and be equipped with feeding tube 6 on the case lid of the case of eating of one side of water tank 3, the case lid of keeping away from water tank one side passes through hasp movable mounting on feeding case 4, the body of feeding tube 6 is put into formula and is installed in feeding case 4, 6 top spiro unions of feeding tube have the tube cap, hollow rubber hemisphere 7 has been cup jointed to the bottom outer wall of feeding tube 6, the gap has been seted up to the bottom of hollow rubber hemisphere 7, through throwing into food in feeding tube 6 with food, because the gap has been seted up to the bottom of hollow rubber hemisphere 7, therefore, poke into through the food that will drop into hollow rubber hemisphere 7 with the help of external rod-shaped object, the gap opens this moment, food falls into feeding case 4, after finishing throwing food, the gap is closed, therefore, ants have avoided running out. A crawling channel 8 is arranged between the feeding box 4 and the transparent container 2, and the two are communicated through the crawling channel 8.
The crawling channel 8 is a hollow pipe body, so that ants in the ant nest can climb out through the crawling channel 8 to transport food in the feeding box 4, and each independent nest is correspondingly communicated with one crawling channel 8 and communicated with the feeding box 4. Thereby the ant can select to climb out or climb into from 8 exports of different crawl channels, and the motion route is various, and the quantity of the export groove of water tank 3 bottom is the same with independent nest quantity, all is provided with water absorbing member 5 in every independent nest, and the top portion of every water absorbing member 5 all corresponds and runs through an export groove and deepens in the water tank 3 inside.
Further, handles are arranged on the top of the water tank cover 13 and the top of the feeding tank 4.
Be equipped with heating device 10 in the base 1, be equipped with heat conduction pad 11 on the diapire of transparent container 2, be equipped with the heat conduction hole on the heat conduction pad, set up heat conduction pad 11 and be in order to make heating device 10's heat can be to the even heating of transparent container, in order to prevent that local heating is excessive. The heating device is a thin heating plate arranged in the base, the thin heating plate is an electric heating plate directly purchased from the market, the electric heating plate is connected with a power plug through an electric wire 200, the connection mode is the prior art, and the description is omitted; when the power plug is connected with an external power supply, the electric heating sheet can generate heat to realize heating; the temperature rise degree can be between 1 and 10 ℃, and is determined according to actual requirements
In order to observe the situation of the ants conveniently, an illuminating device 12 is arranged on the side wall of the transparent container 2. Illuminating the transparent container 2 by the illumination means; specifically, the lighting device is a patch LED arranged on the back of a living room, the patch LED is connected with a power plug through a wire 200, and the connection mode is the prior art and is not described again; when the power plug is connected with an external power supply, the patch LED can emit light to illuminate the ant nest body.
Preferably, the side wall of the feeding box 4 is provided with a plurality of air holes with diameters smaller than that of ants, so that the air holes are more permeable and prevent mildew, and the width or diameter of each air hole is small, so long as the ants cannot pass through the air holes.
Example 2
The ant cultivation observation box with the double-layer structure is the same as that of the ant cultivation observation box with the double-layer structure in the embodiment 1, and is different from the ant cultivation observation box in that the transparent container 2 is formed by communicating a plurality of independent cells, a cuboid cavity structure is arranged inside each independent cell, chamfering processing is carried out on the edge of the cuboid cavity structure, and each two smooth independent cells form an I-shaped structure through a connecting channel 9. Thereby separating the ant nest body into a plurality of areas, and specifically, the number of the nest chambers can be selected according to the number of ants.
The foregoing shows and describes the general principles and broad features of the present invention and advantages thereof. It will be understood by those skilled in the art that the present invention is not limited to the embodiments described above, which are described in the specification and illustrated only to illustrate the principle of the present invention, but that various changes and modifications may be made therein without departing from the spirit and scope of the present invention, which fall within the scope of the invention as claimed. The scope of the invention is defined by the appended claims and equivalents thereof.

Claims (6)

1.双层结构的蚂蚁培养观察箱,包括底座(1),其特征在于,还包括透明容器(2)和透明箱体,所述底座(1)上设有透明容器(2),所述透明容器(2)的上端设有透明箱体,所述透明箱体内部通过竖直隔板分割成一侧的水箱(3)和另一侧的喂食箱(4),所述透明容器(2)为蚂蚁巢巢体,所述透明容器(2)内填充有透明固态海藻凝胶,所述透明容器(2)内一侧设有吸水件(5),所述水箱(3)的底部设有出口槽,所述吸水件(5)的顶端部贯穿所述出口槽和所述水箱(3)的底部并深入到水箱(3)内部中,所述水箱(3)的顶部连接有水箱盖(13);1. the ant cultivation observation box of double-layer structure, comprises base (1), it is characterized in that, also comprises transparent container (2) and transparent box, described base (1) is provided with transparent container (2), described The upper end of the transparent container (2) is provided with a transparent box body, and the interior of the transparent box body is divided into a water tank (3) on one side and a feeding box (4) on the other side by a vertical partition, and the transparent container (2) It is an ant nest body, the transparent container (2) is filled with transparent solid-state seaweed gel, the inner side of the transparent container (2) is provided with a water absorbing member (5), and the bottom of the water tank (3) is provided with an outlet groove, the top part of the water absorbing member (5) penetrates the outlet groove and the bottom of the water tank (3) and goes deep into the interior of the water tank (3), the top of the water tank (3) is connected with a water tank cover ( 13); 所述喂食箱(4)顶部两侧通过铰链分别铰接有食箱盖,两个所述食箱盖能够将喂食箱(4)顶部盖合,靠近水箱(3)的一侧的食箱盖上设有喂食管(6),远离水箱一侧的食箱盖通过锁扣活动安装于喂食箱(4)上,所述喂食管(6)的管体置入式安装于喂食箱(4)内,所述喂食管(6)顶部螺接有管盖,所述喂食管(6)的底端外壁套接有空心橡胶半球(7),所述空心橡胶半球(7)的底部开设有缝隙,所述喂食箱(4)和所述透明容器(2)之间设有爬行通道(8),且二者通过所述爬行通道(8)连通;The two sides of the top of the feeding box (4) are respectively hinged with a food box cover through hinges, and the two food box covers can cover the top of the feeding box (4), and the food box on the side close to the water tank (3) is covered. There is a feeding tube (6), the lid of the feeding box on the side away from the water tank is movably installed on the feeding box (4) through a lock, and the tube body of the feeding tube (6) is installed in the feeding box (4) by inserting , the top of the feeding tube (6) is screwed with a tube cover, the outer wall of the bottom end of the feeding tube (6) is sleeved with a hollow rubber hemisphere (7), and the bottom of the hollow rubber hemisphere (7) is provided with a gap, A creeping channel (8) is provided between the feeding box (4) and the transparent container (2), and the two are communicated through the creeping channel (8); 所述透明容器(2)为若干独立巢室连通而成,每个所述独立巢室内部为长方体空腔结构,每两个所述独立巢室通过连接通道(9)形成工字型结构;所述水箱(3)底部的出口槽的数量与独立巢室数量相同,每个独立巢室内均设置有吸水件(5),且每个吸水件(5)的顶端部均对应贯穿一个出口槽并深入到水箱(3)内部中;The transparent container (2) is formed by connecting several independent cells, the interior of each of the independent cells is a cuboid cavity structure, and each two of the independent cells forms an I-shaped structure through a connecting channel (9); The number of outlet grooves at the bottom of the water tank (3) is the same as the number of independent cells, each of the independent cells is provided with a water absorbing member (5), and the top portion of each water absorbing member (5) corresponds to one outlet groove. And go deep into the inside of the water tank (3); 所述爬行通道(8)为中空的管体,每一个独立巢室均对应连通一个爬行通道(8)与所述喂食箱(4)连通。The creeping channel (8) is a hollow pipe body, and each independent cell is connected to a creeping channel (8) corresponding to the feeding box (4). 2.根据权利要求1所述的双层结构的蚂蚁培养观察箱,其特征在于,所述吸水件(5)为海绵。2 . The double-layer structure ant cultivation observation box according to claim 1 , wherein the water absorbing member ( 5 ) is a sponge. 3 . 3.根据权利要求1所述的双层结构的蚂蚁培养观察箱,其特征在于,所述水箱盖(13)和喂食箱(4)顶部箱盖的顶部均设有提手。3. The double-layer structure ant cultivation observation box according to claim 1, characterized in that, a handle is provided on the top of the water tank cover (13) and the top cover of the feeding box (4). 4.根据权利要求1所述的双层结构的蚂蚁培养观察箱,其特征在于,所述底座(1)内设有加热装置(10),所述透明容器(2)放置于所述加热装置(10)上,且所述透明容器(2)的外部底壁上设有导热垫(11)。4. The double-layer structure ant cultivation observation box according to claim 1, wherein a heating device (10) is provided in the base (1), and the transparent container (2) is placed in the heating device (10), and a thermally conductive pad (11) is provided on the outer bottom wall of the transparent container (2). 5.根据权利要求1所述的双层结构的蚂蚁培养观察箱,其特征在于,所述透明容器(2)的侧壁上还设有照明装置(12)。5. The double-layer structure ant cultivation and observation box according to claim 1, wherein a lighting device (12) is further provided on the side wall of the transparent container (2). 6.根据权利要求1所述的双层结构的蚂蚁培养观察箱,其特征在于,所述喂食箱(4)的侧壁上设有若干直径小于蚂蚁的透气孔。6 . The double-layer structure ant cultivation and observation box according to claim 1 , wherein the side wall of the feeding box ( 4 ) is provided with several ventilation holes with a diameter smaller than that of the ants. 7 .
CN201910691145.3A 2019-07-29 2019-07-29 Double-layer ant culture observation box Active CN110558287B (en)

Priority Applications (1)

Application Number Priority Date Filing Date Title
CN201910691145.3A CN110558287B (en) 2019-07-29 2019-07-29 Double-layer ant culture observation box

Applications Claiming Priority (1)

Application Number Priority Date Filing Date Title
CN201910691145.3A CN110558287B (en) 2019-07-29 2019-07-29 Double-layer ant culture observation box

Publications (2)

Publication Number Publication Date
CN110558287A CN110558287A (en) 2019-12-13
CN110558287B true CN110558287B (en) 2021-12-07

Family

ID=68773572

Family Applications (1)

Application Number Title Priority Date Filing Date
CN201910691145.3A Active CN110558287B (en) 2019-07-29 2019-07-29 Double-layer ant culture observation box

Country Status (1)

Country Link
CN (1) CN110558287B (en)

Families Citing this family (2)

* Cited by examiner, † Cited by third party
Publication number Priority date Publication date Assignee Title
CN114287393A (en) * 2021-12-29 2022-04-08 河南大学 Diversified record formula adjustable temperature environment case based on insect oviposit amount research
CN114667972B (en) * 2022-04-15 2023-04-25 西南林业大学 Ant culture observation box with double-layer structure

Citations (10)

* Cited by examiner, † Cited by third party
Publication number Priority date Publication date Assignee Title
DE202004011745U1 (en) * 2004-07-26 2005-04-07 Sebesta Martin Cage for spiders and insects, especially ants is open at top and fits into outer tray which is half-filled with water, on which layer of vegetable oil floats, to prevent insects from escaping
CN2901865Y (en) * 2005-06-03 2007-05-23 黄海 Ant breeding observation device
CN103283688A (en) * 2013-06-26 2013-09-11 张慧旗 Artificial ant nest
CN104206361A (en) * 2014-09-17 2014-12-17 曹振寿 Stereoscopic circulating type automatic separation and cultivation device for older earthworms and application thereof
CN204969004U (en) * 2015-07-01 2016-01-20 孙恺翊 A feed device for ant research
CN206182144U (en) * 2016-11-17 2017-05-24 榆林学院 Device is raised to ant lion
CN107047485A (en) * 2017-04-27 2017-08-18 福建省农业科学院茶叶研究所 A kind of method of Cicadellidae insect indoor feeding and bionical raising box
CN207054538U (en) * 2017-06-12 2018-03-02 叶彬书 An observation dish for breeding and cultivating insects
CN208030020U (en) * 2018-03-02 2018-11-02 云南林霸蜂业科技有限公司 A kind of artificial wasp cultivation apparatus
CN208402957U (en) * 2018-07-10 2019-01-22 南京林业大学 A kind of interior locust rearging cage

Family Cites Families (3)

* Cited by examiner, † Cited by third party
Publication number Priority date Publication date Assignee Title
US20100319073A1 (en) * 2005-09-29 2010-12-16 The Johns Hopkins University GDE Compositions and Methods
CN203860264U (en) * 2014-05-28 2014-10-08 王德成 Feeding bottle suitable for feeding and observing insects
CN107279065A (en) * 2017-06-29 2017-10-24 马强 A kind of ant cultivates nest

Patent Citations (10)

* Cited by examiner, † Cited by third party
Publication number Priority date Publication date Assignee Title
DE202004011745U1 (en) * 2004-07-26 2005-04-07 Sebesta Martin Cage for spiders and insects, especially ants is open at top and fits into outer tray which is half-filled with water, on which layer of vegetable oil floats, to prevent insects from escaping
CN2901865Y (en) * 2005-06-03 2007-05-23 黄海 Ant breeding observation device
CN103283688A (en) * 2013-06-26 2013-09-11 张慧旗 Artificial ant nest
CN104206361A (en) * 2014-09-17 2014-12-17 曹振寿 Stereoscopic circulating type automatic separation and cultivation device for older earthworms and application thereof
CN204969004U (en) * 2015-07-01 2016-01-20 孙恺翊 A feed device for ant research
CN206182144U (en) * 2016-11-17 2017-05-24 榆林学院 Device is raised to ant lion
CN107047485A (en) * 2017-04-27 2017-08-18 福建省农业科学院茶叶研究所 A kind of method of Cicadellidae insect indoor feeding and bionical raising box
CN207054538U (en) * 2017-06-12 2018-03-02 叶彬书 An observation dish for breeding and cultivating insects
CN208030020U (en) * 2018-03-02 2018-11-02 云南林霸蜂业科技有限公司 A kind of artificial wasp cultivation apparatus
CN208402957U (en) * 2018-07-10 2019-01-22 南京林业大学 A kind of interior locust rearging cage

Also Published As

Publication number Publication date
CN110558287A (en) 2019-12-13

Similar Documents

Publication Publication Date Title
ES2654475T3 (en) Cage for breeding insects, shelf, system and method
CN110558287B (en) Double-layer ant culture observation box
KR101396182B1 (en) Apparatus for treatment organic matter using diptera insect
KR20160131452A (en) Medicated edible insect rearing unit
CN203435558U (en) Combined type insect feeding box
KR20090052584A (en) Case device with animal and plant breeding function
CN207235862U (en) Waste treatment device convenient to collect polypide and raise heisui river horsefly
CN110506711A (en) A parasitoid bee breeding device and method of use thereof
CN203788928U (en) Earthworm cultivation box
CN220174161U (en) Double-bee colony queen bee raising box
CN115005165B (en) Independent feeding and observation device for tomato leaf miner and use method
CN207100212U (en) A kind of ant cultivates nest
CN213404577U (en) A quantitative aphid breeding device
CN108094333A (en) A kind of intensive style earthworm breeding device
CN216906490U (en) A device for collecting and rearing parasitic wasps
KR102473984B1 (en) Small pet breeding device
CN216452676U (en) Bee queen bee rearing box
JP2020115836A (en) Bee-keeping box insulation container
CN211430585U (en) Quail brooding box
CN104585136A (en) Hermertia illucens ovum collector
CN207561089U (en) A kind of pigsty convenient for night soil-treatment
CN221104519U (en) Ant breeding device
RU175445U1 (en) Queen cell
RU2299560C2 (en) Apparatus and method for keeping of bee families
KR200179643Y1 (en) An incubator with rearing insect

Legal Events

Date Code Title Description
PB01 Publication
PB01 Publication
SE01 Entry into force of request for substantive examination
SE01 Entry into force of request for substantive examination
GR01 Patent grant
GR01 Patent grant