CN102266877B - 放线装置 - Google Patents

放线装置 Download PDF

Info

Publication number
CN102266877B
CN102266877B CN2011100975703A CN201110097570A CN102266877B CN 102266877 B CN102266877 B CN 102266877B CN 2011100975703 A CN2011100975703 A CN 2011100975703A CN 201110097570 A CN201110097570 A CN 201110097570A CN 102266877 B CN102266877 B CN 102266877B
Authority
CN
China
Prior art keywords
hole
pin
wheel frame
bearing
stop pin
Prior art date
Legal status (The legal status is an assumption and is not a legal conclusion. Google has not performed a legal analysis and makes no representation as to the accuracy of the status listed.)
Expired - Fee Related
Application number
CN2011100975703A
Other languages
English (en)
Other versions
CN102266877A (zh
Inventor
吴海龙
Current Assignee (The listed assignees may be inaccurate. Google has not performed a legal analysis and makes no representation or warranty as to the accuracy of the list.)
Zhangjiagang City Longsheng Machinery Manufacture Co ltd
Original Assignee
Zhangjiagang City Longsheng Machinery Manufacture Co ltd
Priority date (The priority date is an assumption and is not a legal conclusion. Google has not performed a legal analysis and makes no representation as to the accuracy of the date listed.)
Filing date
Publication date
Application filed by Zhangjiagang City Longsheng Machinery Manufacture Co ltd filed Critical Zhangjiagang City Longsheng Machinery Manufacture Co ltd
Priority to CN2011100975703A priority Critical patent/CN102266877B/zh
Publication of CN102266877A publication Critical patent/CN102266877A/zh
Application granted granted Critical
Publication of CN102266877B publication Critical patent/CN102266877B/zh
Expired - Fee Related legal-status Critical Current
Anticipated expiration legal-status Critical

Links

Images

Landscapes

  • On-Site Construction Work That Accompanies The Preparation And Application Of Concrete (AREA)
  • Pulleys (AREA)

Abstract

本发明公开了一种装载放线盘非常方便、并且需要的拉力较小的放线装置,包括底座、设置在底座上的支座以及一端固定在支座中的支承杆,所述的支承杆呈水平方向布置,支座的顶部还活动设置有导轮架,导轮架与支座之间还设置有锁定机构,导轮架上设置有若干个导线轮,导轮架上还活动设置有绕支承杆旋转的旋转架,旋转架上设置有若干个放线轮。本发明主要为拉丝机配套。

Description

放线装置
技术领域
本发明涉及到用于放线装置,尤其涉及到为拉丝机等设备配套的放线装置。
背景技术
目前,用于与拉丝机配套的放线装置,其结构包括:底座和活动设置在底座上的支承座,支承座上设置有立柱和若干个导线轮。使用时,首先要将通常处于卧姿的绕有线材的放线盘通过手工或脚踏液压升降车放置在支承座上,然后将线头通过上述导线轮引向拉丝机,拉丝机拉着线材沿着导线轮行进。这种放线装置的缺点是:不管是通过人工还是脚踏液压升降车,装载放线盘都比较麻烦;拉丝机牵引线材时,需要较大的拉力,从而对线材造成较大的损伤,而且,拉丝机需要配套更大功率的电机,增加了生产成本。
发明内容
本发明所要解决的技术问题是:提供一种装载放线盘非常方便、并且需要的拉力较小的放线装置。
为解决上述技术问题,本发明所采用的技术方案为:放线装置,包括底座、设置在底座上的支座以及一端固定在支座中的支承杆,所述的支承杆呈水平方向布置,支座的顶部还活动设置有导轮架,导轮架与支座之间还设置有锁定机构,导轮架上设置有若干个导线轮,导轮架上还活动设置有绕支承杆的轴线旋转的旋转架,旋转架上设置有若干个放线轮;
所述的旋转架包括旋转座和设置在旋转座一侧的旋转臂,旋转座的另一侧还设置有与旋转臂相配合的配重臂,旋转座通过旋转座轴承活动设置在导轮架的支承轴上;
所述的旋转座轴承上套装有皮带轮,皮带轮上装有皮带,所述的导轮架上设置有拉紧杆,拉紧杆底部设置有一对弹簧,该对弹簧的另一端分别与皮带的两端相连。
所述的导轮架与支座的具体设置方式为:所述支座的顶端开设有旋转孔,导轮架一侧设置有旋转轴,旋转轴活动设置在旋转孔中。
所述的锁定机构包括锁定销,所述的旋转轴和旋转孔的侧壁上分别开设有与锁定销相配合的销孔,锁定销可穿过在旋转孔侧壁上的销孔,插入旋转轴的销孔中。
所述的锁定机构包括锁定销,锁定销的中部设置有弹簧座,所述的旋转轴和旋转孔的侧壁上分别开设有与锁定销相配合的销孔,所述的支座上设置有锁定架,锁定架上设置有锁定座,锁定座的一端开设有与弹簧座相配合的锁定孔,锁定孔的底壁上开设有与锁定销的后部相配合的销孔,锁定销的后部从该销孔中穿出,锁定销的后部套装有复位弹簧,复位弹簧的两端分别抵压在弹簧座和锁定孔的底壁上。
所述锁定销的后端设置有方便抓拿的销帽。
本发明的有益效果是:本发明所述的放线装置,在导轮架处于打开的状态下,采用简易的脚踏液压升降车,将其叉板直接伸入放线盘的中心孔中,在将放线盘升至合适高度之后,将放线盘往前送,使得支承杆伸入放线盘的中心孔中,由操作人员将放线盘往里推,使放线盘搁置在支承杆上,装载十分方便;除此之外,放线盘在放线过程中,通过旋转架的转动来放线(放线盘不动),旋转架比起放线盘来说轻得多,牵引线材所需的拉力也小得多,从而大大减轻了对线材的损伤,而且,拉丝机只要配套较小功率的电机即可,降低了生产成本。
附图说明
图1是本发明的结构示意图。
图2是图1的左视方向的局部结构示意图。
图3是图1中A部分的放大结构示意图。
图4是图2中B部分的放大结构示意图。
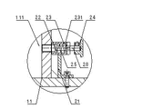
图1至图4中:1、底座,2、支承杆,3、导轮架,31、旋转轴,4、导线轮,5、旋转架,50、旋转座,51、旋转臂,52、配重臂,6、放线轮,7、支承轴,8、旋转座轴承,9、皮带轮,10、皮带,11、支座,111、旋转孔,12、弹簧,13、拉紧杆,15、挡销,16、放线盘,17、线材,20、锁定销,21、锁定架,22、弹簧座,23、锁定座,231、锁定孔,24、销帽,25、复位弹簧。
具体实施方式
下面结合附图,详细描述本发明的具体实施方案。
如图1和图2所示,本发明所述的放线装置,包括:底座1、设置在底座1上的支座11、以及一端固定在支座11中、水平方向布置的支承杆2,支承杆2的端部还开设有用于插装挡销15的挡销孔,支座11的顶部活动设置有导轮架3,其具体设置方式为:所述支座11的顶端开设有旋转孔111,导轮架3的一侧设置有旋转轴31,旋转轴31活动设置在旋转孔111中,导轮架3与支座11之间还设置有锁定机构,该锁定机构包括:锁定销20和设置在锁定销20中部的弹簧座22,该弹簧座22将锁定销20分隔成前部和后部,所述的旋转轴31和旋转孔111的侧壁上分别开设有与锁定销20的前部相配合的销孔,如图4所示,所述的支座11上设置有锁定架21,锁定架21上设置有锁定座23,锁定座23的一端开设有与弹簧座22相配合的锁定孔231,锁定孔231的底壁上开设有与锁定销20的后部相配合的销孔,锁定销20的后部从该销孔中穿出,锁定销20的后部套装有复位弹簧25,复位弹簧25的两端分别抵压在弹簧座22和锁定孔231的底壁上;所述的导轮架3上设置有两个导线轮4,导轮架3上还活动设置有绕支承杆2旋转的由旋转座50和对称设置在旋转座50两侧的旋转臂51和配重臂52构成的旋转架5,如图3所示,旋转座50通过旋转座轴承8活动设置在导轮架3的支承轴7上,旋转臂51上设置有三个放线轮6。本实施例中,为了给旋转架5增加阻尼,所述的旋转座轴承8上套装有皮带轮9——参见图3所示,皮带轮9上装有皮带10,所述的导轮架3上设置有拉紧杆13,拉紧杆13的底部设置有一对与皮带10的两端相配合的弹簧12,该对弹簧12的另一端分别与皮带10的两端相连;所述锁定销20的后端设置有方便抓拿的销帽24。
实际使用时,在导轮架3处于打开的状态下,可采用简易的脚踏液压升降车,将其叉板直接伸入放线盘16的中心孔中,在将放线盘16升至合适高度之后,将放线盘16往前送,使得支承杆2伸入放线盘16的中心孔中,由操作人员将放线盘16往里推,使得放线盘16搁置在支承杆2上。安置好放线盘16后,将挡销15插入支承轴2上的挡销孔中,转动导轮架3,到位后,锁定销20的前部恰好对准旋转轴31上的销孔,锁定销20在复位弹簧25的作用下弹出,使得销定销20的前部伸入旋转轴31上的销孔中。然后,将线材17的线头引导拉丝机,拉丝机在拉丝过程中,牵引着线材17行进,而线材17的行进带动旋转架5不停地转动,使得在旋转架5围绕着放线盘16转动过程中,实现自动放线的目的。

Claims (5)

1.放线装置,包括:底座、设置在底座上的支座以及一端固定在支座中的支承杆,其特征在于:所述的支承杆呈水平方向布置,支座的顶部还活动设置有导轮架,导轮架与支座之间还设置有锁定机构,导轮架上设置有若干个导线轮,导轮架上还活动设置有绕支承杆的轴线旋转的旋转架,旋转架上设置有若干个放线轮;所述的旋转架包括旋转座和设置在旋转座一侧的旋转臂,旋转座的另一侧还设置有与旋转臂相配合的配重臂,旋转座通过旋转座轴承活动设置在导轮架的支承轴上;所述的旋转座轴承上套装有皮带轮,皮带轮上装有皮带,所述的导轮架上设置有拉紧杆,拉紧杆底部设置有一对弹簧,该对弹簧的另一端分别与皮带的两端相连。
2.如权利要求1所述的放线装置,其特征在于:所述的导轮架与支座的具体设置方式为:所述支座的顶端开设有旋转孔,导轮架一侧设置有旋转轴,旋转轴活动设置在旋转孔中。
3.如权利要求2所述的放线装置,其特征在于:所述的锁定机构包括锁定销,所述的旋转轴和旋转孔的侧壁上分别开设有与锁定销相配合的销孔,锁定销可穿过在旋转孔侧壁上的销孔,插入旋转轴的销孔中。
4.如权利要求2所述的放线装置,其特征在于:所述的锁定机构包括锁定销,锁定销的中部设置有弹簧座,所述的旋转轴和旋转孔的侧壁上分别开设有与锁定销相配合的销孔,所述的支座上设置有锁定架,锁定架上设置有锁定座,锁定座的一端开设有与弹簧座相配合的锁定孔,锁定孔的底壁上开设有与锁定销的后部相配合的销孔,锁定销的后部从该销孔中穿出,锁定销的后部套装有复位弹簧,复位弹簧的两端分别抵压在弹簧座和锁定孔的底壁上。
5.如权利要求3或4所述的放线装置,其特征在于:所述锁定销的后端设置有方便抓拿的销帽。
CN2011100975703A 2011-04-19 2011-04-19 放线装置 Expired - Fee Related CN102266877B (zh)

Priority Applications (1)

Application Number Priority Date Filing Date Title
CN2011100975703A CN102266877B (zh) 2011-04-19 2011-04-19 放线装置

Applications Claiming Priority (1)

Application Number Priority Date Filing Date Title
CN2011100975703A CN102266877B (zh) 2011-04-19 2011-04-19 放线装置

Publications (2)

Publication Number Publication Date
CN102266877A CN102266877A (zh) 2011-12-07
CN102266877B true CN102266877B (zh) 2012-11-21

Family

ID=45049443

Family Applications (1)

Application Number Title Priority Date Filing Date
CN2011100975703A Expired - Fee Related CN102266877B (zh) 2011-04-19 2011-04-19 放线装置

Country Status (1)

Country Link
CN (1) CN102266877B (zh)

Families Citing this family (4)

* Cited by examiner, † Cited by third party
Publication number Priority date Publication date Assignee Title
CN102660715B (zh) * 2012-05-28 2014-02-26 北京科技大学 一种纤维增强金属玻璃复合材料丝的连续制备设备与工艺
CN102974649A (zh) * 2012-12-03 2013-03-20 张家港市胜达钢绳有限公司 一种胎圈钢丝拉丝机收线装置及收线方法
CN102974651B (zh) * 2012-12-03 2015-05-20 无锡常欣科技股份有限公司 卧式放线机
CN105436237A (zh) * 2015-04-22 2016-03-30 常熟市永祥机电有限公司 拉丝机阻尼式放线装置

Citations (6)

* Cited by examiner, † Cited by third party
Publication number Priority date Publication date Assignee Title
GB1268901A (en) * 1968-05-23 1972-03-29 British Insulated Callenders Improved method and apparatus for unwinding wire
DE4010431A1 (de) * 1990-03-31 1991-10-02 Mobac Gmbh Vorrichtung zum abwickeln von wickelgut ueber wickelarme
CN101507986A (zh) * 2009-03-24 2009-08-19 江苏佳成机械有限公司 大拉机中的放线装置
CN201455044U (zh) * 2009-07-22 2010-05-12 常州市智通树脂有限公司 放线装置
CN201644552U (zh) * 2010-04-26 2010-11-24 江阴三知工控机械有限公司 金属制品拉丝放线装置
CN202123121U (zh) * 2011-04-19 2012-01-25 张家港市龙晟机械制造有限公司 放线装置

Patent Citations (6)

* Cited by examiner, † Cited by third party
Publication number Priority date Publication date Assignee Title
GB1268901A (en) * 1968-05-23 1972-03-29 British Insulated Callenders Improved method and apparatus for unwinding wire
DE4010431A1 (de) * 1990-03-31 1991-10-02 Mobac Gmbh Vorrichtung zum abwickeln von wickelgut ueber wickelarme
CN101507986A (zh) * 2009-03-24 2009-08-19 江苏佳成机械有限公司 大拉机中的放线装置
CN201455044U (zh) * 2009-07-22 2010-05-12 常州市智通树脂有限公司 放线装置
CN201644552U (zh) * 2010-04-26 2010-11-24 江阴三知工控机械有限公司 金属制品拉丝放线装置
CN202123121U (zh) * 2011-04-19 2012-01-25 张家港市龙晟机械制造有限公司 放线装置

Also Published As

Publication number Publication date
CN102266877A (zh) 2011-12-07

Similar Documents

Publication Publication Date Title
CN204247748U (zh) 可旋转钢卷的运卷小车
CN102266877B (zh) 放线装置
CN105329703A (zh) 一种电力线缆收线机
CN102285603A (zh) 一种驱动卷筒平移的吊杆机
CN202123121U (zh) 放线装置
CN206828000U (zh) 一种气动绞车用排绳装置
CN204999402U (zh) 一种绕线整机装置
CN109720996A (zh) 一种高稳定起重装置的钢索均匀缠绕机构
CN206885965U (zh) 一种巷道式堆垛机
CN101428678B (zh) 船体平面分段生产线中的肋板拉入装置
CN103240297A (zh) 一种高速卷取机
CN104624673A (zh) 线材立式上料系统
CN209853619U (zh) 一种具有自动排绳装置的电动绞盘
CN207566612U (zh) 一种使用方便的钢丝电加热处理用卷绕机头
CN203128034U (zh) 电动葫芦及其电动小车、小车驱动牵引装置
CN212531644U (zh) 转移印花机用印花纸收卷机构
CN203426204U (zh) 一种矫直机的拖拽装置
CN207844587U (zh) 一种铝丝绕线机的辅助排线装置
CN209189524U (zh) 一种用于边丝收卷的辅助装置
CN102641919A (zh) 卷圆用筒体托架
CN102233370B (zh) 拉丝机的收线装置
CN203227696U (zh) 一种高速卷取机
CN201381127Y (zh) 矿用运输皮带缠绕机
CN202097229U (zh) 拉丝机的收线装置
CN223070543U (zh) 多轮张紧线切割设备

Legal Events

Date Code Title Description
C06 Publication
PB01 Publication
C10 Entry into substantive examination
SE01 Entry into force of request for substantive examination
C14 Grant of patent or utility model
GR01 Patent grant
CF01 Termination of patent right due to non-payment of annual fee

Granted publication date: 20121121

Termination date: 20150419

EXPY Termination of patent right or utility model