WO2023188482A1 - 粘着シート - Google Patents

粘着シート Download PDF

Info

Publication number
WO2023188482A1
WO2023188482A1 PCT/JP2022/038804 JP2022038804W WO2023188482A1 WO 2023188482 A1 WO2023188482 A1 WO 2023188482A1 JP 2022038804 W JP2022038804 W JP 2022038804W WO 2023188482 A1 WO2023188482 A1 WO 2023188482A1
Authority
WO
WIPO (PCT)
Prior art keywords
weight
less
adhesive
adhesive sheet
adhesive layer
Prior art date
Legal status (The legal status is an assumption and is not a legal conclusion. Google has not performed a legal analysis and makes no representation as to the accuracy of the status listed.)
Ceased
Application number
PCT/JP2022/038804
Other languages
English (en)
French (fr)
Japanese (ja)
Inventor
圭吾 下岡
徹 田上
健一 山元
康 武蔵島
Current Assignee (The listed assignees may be inaccurate. Google has not performed a legal analysis and makes no representation or warranty as to the accuracy of the list.)
Nitto Denko Corp
Original Assignee
Nitto Denko Corp
Priority date (The priority date is an assumption and is not a legal conclusion. Google has not performed a legal analysis and makes no representation as to the accuracy of the date listed.)
Filing date
Publication date
Application filed by Nitto Denko Corp filed Critical Nitto Denko Corp
Priority to CN202280092740.5A priority Critical patent/CN118696104A/zh
Publication of WO2023188482A1 publication Critical patent/WO2023188482A1/ja
Anticipated expiration legal-status Critical
Ceased legal-status Critical Current

Links

Images

Classifications

    • CCHEMISTRY; METALLURGY
    • C09DYES; PAINTS; POLISHES; NATURAL RESINS; ADHESIVES; COMPOSITIONS NOT OTHERWISE PROVIDED FOR; APPLICATIONS OF MATERIALS NOT OTHERWISE PROVIDED FOR
    • C09JADHESIVES; NON-MECHANICAL ASPECTS OF ADHESIVE PROCESSES IN GENERAL; ADHESIVE PROCESSES NOT PROVIDED FOR ELSEWHERE; USE OF MATERIALS AS ADHESIVES
    • C09J11/00Features of adhesives not provided for in group C09J9/00, e.g. additives
    • C09J11/02Non-macromolecular additives
    • C09J11/06Non-macromolecular additives organic
    • CCHEMISTRY; METALLURGY
    • C09DYES; PAINTS; POLISHES; NATURAL RESINS; ADHESIVES; COMPOSITIONS NOT OTHERWISE PROVIDED FOR; APPLICATIONS OF MATERIALS NOT OTHERWISE PROVIDED FOR
    • C09JADHESIVES; NON-MECHANICAL ASPECTS OF ADHESIVE PROCESSES IN GENERAL; ADHESIVE PROCESSES NOT PROVIDED FOR ELSEWHERE; USE OF MATERIALS AS ADHESIVES
    • C09J11/00Features of adhesives not provided for in group C09J9/00, e.g. additives
    • C09J11/08Macromolecular additives
    • CCHEMISTRY; METALLURGY
    • C09DYES; PAINTS; POLISHES; NATURAL RESINS; ADHESIVES; COMPOSITIONS NOT OTHERWISE PROVIDED FOR; APPLICATIONS OF MATERIALS NOT OTHERWISE PROVIDED FOR
    • C09JADHESIVES; NON-MECHANICAL ASPECTS OF ADHESIVE PROCESSES IN GENERAL; ADHESIVE PROCESSES NOT PROVIDED FOR ELSEWHERE; USE OF MATERIALS AS ADHESIVES
    • C09J133/00Adhesives based on homopolymers or copolymers of compounds having one or more unsaturated aliphatic radicals, each having only one carbon-to-carbon double bond, and at least one being terminated by only one carboxyl radical, or of salts, anhydrides, esters, amides, imides, or nitriles thereof; Adhesives based on derivatives of such polymers
    • C09J133/02Homopolymers or copolymers of acids; Metal or ammonium salts thereof
    • CCHEMISTRY; METALLURGY
    • C09DYES; PAINTS; POLISHES; NATURAL RESINS; ADHESIVES; COMPOSITIONS NOT OTHERWISE PROVIDED FOR; APPLICATIONS OF MATERIALS NOT OTHERWISE PROVIDED FOR
    • C09JADHESIVES; NON-MECHANICAL ASPECTS OF ADHESIVE PROCESSES IN GENERAL; ADHESIVE PROCESSES NOT PROVIDED FOR ELSEWHERE; USE OF MATERIALS AS ADHESIVES
    • C09J133/00Adhesives based on homopolymers or copolymers of compounds having one or more unsaturated aliphatic radicals, each having only one carbon-to-carbon double bond, and at least one being terminated by only one carboxyl radical, or of salts, anhydrides, esters, amides, imides, or nitriles thereof; Adhesives based on derivatives of such polymers
    • C09J133/04Homopolymers or copolymers of esters
    • CCHEMISTRY; METALLURGY
    • C09DYES; PAINTS; POLISHES; NATURAL RESINS; ADHESIVES; COMPOSITIONS NOT OTHERWISE PROVIDED FOR; APPLICATIONS OF MATERIALS NOT OTHERWISE PROVIDED FOR
    • C09JADHESIVES; NON-MECHANICAL ASPECTS OF ADHESIVE PROCESSES IN GENERAL; ADHESIVE PROCESSES NOT PROVIDED FOR ELSEWHERE; USE OF MATERIALS AS ADHESIVES
    • C09J133/00Adhesives based on homopolymers or copolymers of compounds having one or more unsaturated aliphatic radicals, each having only one carbon-to-carbon double bond, and at least one being terminated by only one carboxyl radical, or of salts, anhydrides, esters, amides, imides, or nitriles thereof; Adhesives based on derivatives of such polymers
    • C09J133/04Homopolymers or copolymers of esters
    • C09J133/06Homopolymers or copolymers of esters of esters containing only carbon, hydrogen and oxygen, the oxygen atom being present only as part of the carboxyl radical
    • C09J133/08Homopolymers or copolymers of acrylic acid esters
    • CCHEMISTRY; METALLURGY
    • C09DYES; PAINTS; POLISHES; NATURAL RESINS; ADHESIVES; COMPOSITIONS NOT OTHERWISE PROVIDED FOR; APPLICATIONS OF MATERIALS NOT OTHERWISE PROVIDED FOR
    • C09JADHESIVES; NON-MECHANICAL ASPECTS OF ADHESIVE PROCESSES IN GENERAL; ADHESIVE PROCESSES NOT PROVIDED FOR ELSEWHERE; USE OF MATERIALS AS ADHESIVES
    • C09J7/00Adhesives in the form of films or foils
    • C09J7/30Adhesives in the form of films or foils characterised by the adhesive composition
    • C09J7/38Pressure-sensitive adhesives [PSA]

Definitions

  • the present invention relates to an adhesive sheet.
  • This application claims priority based on Japanese Patent Application No. 2022-54421 filed on March 29, 2022 and Japanese Patent Application No. 2022-164655 filed on October 13, 2022. , the entire contents of those applications are incorporated herein by reference.
  • adhesives also referred to as pressure-sensitive adhesives, hereinafter the same
  • adhesives exhibit a soft solid (viscoelastic) state in a temperature range around room temperature, and have the property of adhering to adherends under pressure.
  • adhesives are widely used in various industrial fields such as home appliances, automobiles, and OA equipment, typically in the form of adhesive sheets containing an adhesive layer, for purposes such as bonding parts and protecting surfaces. It's being used.
  • Technical documents related to adhesive sheets include Patent Documents 1 and 2.
  • Patent Documents 1 and 2 describe adhesives containing acrylic polymers polymerized using n-heptyl acrylate as a monomer component.
  • pressure-sensitive adhesive sheets are required to have good adhesion performance to various materials.
  • one of the objects to be bonded is made of a highly polar material such as a stainless steel plate, and the other is made of a low polar material such as polyolefin.
  • the ability to reliably fix a member whose surface is composed of a highly polar material and a low polar material may be required.
  • a soft adhesive whose storage modulus is limited to a predetermined value or less, adhesiveness to different types of materials such as high polarity materials and low polarity materials can be easily obtained.
  • such adhesives generally tend to have reduced holding power.
  • an object of the present invention is to provide a pressure-sensitive adhesive sheet that can achieve both high levels of adhesive strength for highly polar materials, adhesive strength for low polar materials, and holding power.
  • a pressure-sensitive adhesive sheet having a pressure-sensitive adhesive layer containing an acrylic polymer is provided.
  • the acrylic polymer is a polymer of monomer components including n-heptyl acrylate and a carboxyl group-containing monomer. Furthermore, the monomer component of the acrylic polymer contains more than 3% by weight of the carboxy group-containing monomer. Furthermore, the gel fraction of the adhesive layer is less than 70%. The weight average molecular weight of the acrylic polymer is greater than 600,000.
  • Patent Document 1 the adhesive strength and holding power for polypropylene (40 ° C., adhesive area 25 mm ⁇ 25 mm, load 1 kg) are evaluated, and in Patent Document 2, the holding force (80 ° C., adhesive area 25 mm ⁇ 25 mm,
  • the acrylic polymers used either have a low Mw or have a low copolymerization ratio of carboxyl group-containing monomers, so the retention will be evaluated in the examples below. (80° C., adhesion area 10 mm x 20 mm, load 1.5 kg) was not obtained, and the adhesion force to high polarity materials, the adhesion force to low polarity materials, and the holding force were not fully satisfied.
  • the adhesive composition for forming the adhesive layer includes a crosslinking agent.
  • a crosslinking agent By using a crosslinking agent, the cohesive force of the adhesive increases, and sufficient holding power can be suitably achieved.
  • the adhesive layer includes a tackifying resin.
  • a tackifying resin By using a tackifying resin, the gel fraction of the adhesive layer can be adjusted to an appropriate range, and the adhesive strength to high polarity materials and low polarity materials can be improved.
  • the thickness of the adhesive layer is 0.1 to 500 ⁇ m.
  • the technology disclosed herein can be implemented with a configuration including an adhesive layer having the above thickness.
  • the adhesive layer has a gel fraction of 20% or more and less than 70%.
  • the adhesive sheet according to some preferred embodiments has a 180 degree peel strength against a stainless steel plate (adhesive strength against SUS) of 15 N/25 mm or more.
  • the pressure-sensitive adhesive sheet having the adhesive strength against SUS can exhibit excellent adhesive strength against highly polar materials.
  • Adhesive sheets according to some preferred embodiments have a 180 degree peel strength against polypropylene (adhesive strength against PP) of 10 N/25 mm or more.
  • the pressure-sensitive adhesive sheet having the above-mentioned adhesive strength to PP can have sufficient adhesion reliability to low polarity materials.
  • Adhesive sheets according to some preferred embodiments have a 180 degree peel strength against polyethylene (adhesion strength against PE) of 5 N/25 mm or more.
  • the pressure-sensitive adhesive sheet having the above-mentioned adhesive strength to PE can have sufficient adhesion reliability to low polarity materials.
  • Adhesive sheets according to some preferred embodiments have a displacement distance of 10 mm or less in a holding force test conducted at 80° C., adhesive area 10 mm x 20 mm, load 1.5 kg, and for 1 hour.
  • a pressure-sensitive adhesive sheet that does not easily shift in the above-mentioned holding power test can have sufficient holding power (specifically, high temperature holding power).
  • the adhesive sheet disclosed herein has both adhesion and holding power to different materials, so it can be preferably used for adhesion to highly polar or low polar materials, or for applications that require long-term adhesion reliability. can be done. For example, it is suitable for fixing members in electronic devices including home appliances, office automation equipment, and portable electronic devices such as smartphones. As described above, this specification provides an electronic device using any of the adhesive sheets disclosed herein, in other words, an electronic device including the adhesive sheet.
  • FIG. 1 is a cross-sectional view schematically showing the configuration of a pressure-sensitive adhesive sheet according to an embodiment.
  • FIG. 3 is a cross-sectional view schematically showing the configuration of a pressure-sensitive adhesive sheet according to another embodiment.
  • FIG. 3 is a cross-sectional view schematically showing the configuration of a pressure-sensitive adhesive sheet according to another embodiment.
  • FIG. 1 is a front view schematically showing an example of a portable electronic device including an adhesive sheet.
  • the term "adhesive” as used herein refers to a material that exhibits a soft solid (viscoelastic) state in the temperature range around room temperature and has the property of easily adhering to an adherend under pressure. .
  • the adhesive referred to here generally has a complex tensile modulus E * (1Hz) as defined in "C. A. Dahlquist, “Adhesion: Fundamentals and Practice", McLaren & Sons, (1966) P. 143". ⁇ 10 7 dyne/cm 2 (typically, a material having the above properties at 25° C.).
  • biomass-derived carbon means carbon derived from biomass materials, that is, materials derived from renewable organic resources (renewable carbon).
  • biomass materials are typically materials derived from biological resources (typically plants that perform photosynthesis) that can be reproduced sustainably in the presence of sunlight, water, and carbon dioxide. means. Therefore, materials derived from fossil resources that are depleted through use after mining (fossil resource-based materials) are excluded from the concept of biomass materials here.
  • the biomass carbon ratio of the adhesive layer and the adhesive sheet that is, the proportion of biomass-derived carbon in the total carbon contained in the adhesive layer and the adhesive sheet, is the carbon isotope content with a mass number of 14 measured in accordance with ASTM D6866. It can be estimated from the amount.
  • the adhesive sheet disclosed herein includes an adhesive layer.
  • the above-mentioned pressure-sensitive adhesive sheet is, for example, a base material-less double-sided pressure-sensitive adhesive sheet comprising a first pressure-sensitive adhesive surface formed by one surface of the pressure-sensitive adhesive layer, and a second pressure-sensitive adhesive surface formed by the other surface of the pressure-sensitive adhesive layer.
  • the pressure-sensitive adhesive sheet disclosed herein may be in the form of a pressure-sensitive adhesive sheet with a base material, in which the pressure-sensitive adhesive layer is laminated on one or both sides of a support base material.
  • the supporting base material may be simply referred to as "base material”.
  • adhesive sheet here may include what is called an adhesive tape, an adhesive label, an adhesive film, and the like.
  • the pressure-sensitive adhesive sheet disclosed herein may be in the form of a roll or a sheet. Alternatively, the adhesive sheet may be further processed into various shapes.
  • FIG. 1 The structure of a pressure-sensitive adhesive sheet according to one embodiment is schematically shown in FIG.
  • This adhesive sheet 1 is configured as a double-sided adhesive sheet without a base material, which includes an adhesive layer 21.
  • the adhesive sheet 1 has a first adhesive surface 21A constituted by one surface (first surface) of the adhesive layer 21 and a second adhesive surface constituted by the other surface (second surface) of the adhesive layer 21. 21B are attached to different parts of the adherend.
  • the locations on which the adhesive surfaces 21A and 21B are attached may be on different members, or may be on different locations within a single member. As shown in FIG.
  • the adhesive sheet 1 before use (that is, before being attached to an adherend) has a first adhesive surface 21A and a second adhesive surface 21B that are peeled off at least on the side facing the adhesive layer 21. It may be a component of the adhesive sheet 100 with a release liner that is protected by the release liners 31 and 32 serving as surfaces.
  • the release liners 31 and 32 it is preferable to use, for example, a sheet-like base material (liner base material) that is constructed by providing a release layer made of a release treatment agent on one side so that one side becomes a release surface. obtain.
  • the release liner 32 may be omitted and a release liner 31 having release surfaces on both sides may be used, and this and the adhesive sheet 1 may be overlapped and spirally wound so that the second adhesive surface 21B is on the release liner 31.
  • the pressure-sensitive adhesive sheet with a release liner may be in a protected form (roll form) in contact with the back surface of the adhesive sheet.
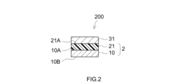
  • FIG. 2 The structure of a pressure-sensitive adhesive sheet according to another embodiment is schematically shown in FIG. 2.
  • This adhesive sheet 2 is a base material comprising a sheet-shaped support base material (for example, a resin film) 10 having a first surface 10A and a second surface 10B, and an adhesive layer 21 provided on the first surface 10A side. It is constructed as a single-sided adhesive sheet.
  • the adhesive layer 21 is fixedly provided on the first surface 10A side of the support base material 10, that is, without the intention of separating the adhesive layer 21 from the support base material 10. As shown in FIG.
  • the pressure-sensitive adhesive sheet 2 before use has a surface (adhesive surface) 21A of the pressure-sensitive adhesive layer 21 protected by a release liner 31 having a release surface at least on the side facing the pressure-sensitive adhesive layer 21. It may be a component of the pressure-sensitive adhesive sheet 200 with a release liner. Alternatively, the release liner 31 may be omitted, the second surface 10B may be the release surface, and the adhesive sheet 2 may be wound so that the adhesive surface 21A is the second surface (back surface) of the support substrate 10. ) 10B may be in a protected form (roll form).
  • FIG. 3 schematically shows the structure of a pressure-sensitive adhesive sheet according to yet another embodiment.
  • This adhesive sheet 3 includes a sheet-shaped support base material (for example, a resin film) 10 having a first surface 10A and a second surface 10B, and a first adhesive layer 21 fixedly provided on the first surface 10A side. and a second adhesive layer 22 fixedly provided on the second surface 10B side.
  • 32 may be a component of the adhesive sheet 300 with a release liner.
  • the release liner 32 may be omitted and a release liner 31 having release surfaces on both sides may be used, and this and the adhesive sheet 3 may be overlapped and spirally wound so that the second adhesive surface 22A is on the release liner 31.
  • the pressure-sensitive adhesive sheet with a release liner may be in a protected form (roll form) in contact with the back surface of the adhesive sheet.
  • the first pressure-sensitive adhesive layer and the second pressure-sensitive adhesive layer may be the pressure-sensitive adhesive layer described below.
  • the other adhesive layer (for example, the second adhesive layer) may be the adhesive layer disclosed herein, and the adhesive layer disclosed herein (specifically, the one adhesive layer described above) may be the adhesive layer disclosed herein.
  • the adhesive layer may have a composition different from that of the adhesive layer (for example, the first adhesive layer).
  • the other pressure-sensitive adhesive layer may be formed from a known or commonly used pressure-sensitive adhesive, for example.
  • the adhesive layer constituting the adhesive sheet disclosed herein contains an acrylic polymer.
  • the pressure-sensitive adhesive layer is typically a pressure-sensitive adhesive layer containing an acrylic polymer as a base polymer.
  • Such an adhesive layer is also referred to as an acrylic adhesive layer.
  • the base polymer refers to the main component of a rubbery polymer (a polymer that exhibits rubber elasticity in a temperature range around room temperature) contained in the adhesive layer.
  • the term "main component” refers to a component contained in an amount exceeding 50% by weight, unless otherwise specified.
  • the following description regarding the adhesive and the components that can be included in the adhesive layer is also applicable to the adhesive composition used to form the adhesive (layer) unless otherwise specified.
  • the term "acrylic polymer” refers to a polymer containing monomer units derived from a monomer having at least one (meth)acryloyl group in one molecule, as monomer units constituting the polymer. .
  • a monomer having at least one (meth)acryloyl group in one molecule will also be referred to as an "acrylic monomer.”
  • an acrylic polymer in this specification is defined as a polymer containing monomer units derived from acrylic monomers.
  • (meth)acryloyl” refers comprehensively to acryloyl and methacryloyl.
  • (meth)acrylate” comprehensively refers to acrylate and methacrylate
  • (meth)acrylic” comprehensively refers to acrylic and methacrylic.
  • acrylic polymer As the acrylic polymer used in the technique disclosed herein, a polymer of monomer components containing n-heptyl acrylate is used. Acrylic polymers polymerized using monomer components containing n-heptyl acrylate have superior flexibility than polymers of other alkyl acrylates such as n-butyl acrylate (BA) and 2-ethylhexyl acrylate (2EHA). It can exhibit superior adhesive strength to both high polarity materials and low polarity materials. The reason for this is not particularly limited, but is because polymers containing n-heptyl acrylate as a monomer unit have relatively long linear side chains in addition to having a low glass transition temperature. This is thought to be due to the relatively large space between the main chains within the adhesive.
  • BA n-butyl acrylate
  • 2EHA 2-ethylhexyl acrylate
  • the proportion of n-heptyl acrylate in the monomer components of the acrylic polymer is 50% by weight or more (for example, more than 50% by weight), preferably 70% by weight or more, more preferably 80% by weight. % or more, more preferably 85% by weight or more, particularly preferably 90% by weight or more, may be 92% by weight or more, may be 94% by weight or more, or may be 96% by weight or more.
  • the proportion of n-heptyl acrylate in the monomer components is less than 97% by weight, and in some embodiments is 95% by weight or less.
  • the content may be 93% by weight or less, or may be 91% by weight or less.
  • the acrylic polymer may be copolymerized with an alkyl (meth)acrylate (hereinafter also referred to as "optional alkyl (meth)acrylate”) other than n-heptyl acrylate.
  • an alkyl (meth)acrylate hereinafter also referred to as "optional alkyl (meth)acrylate
  • optional alkyl (meth)acrylate for example, a compound represented by the following formula (1) can be suitably used.
  • CH 2 C(R 1 )COOR 2 (1)
  • R 1 in the above formula (1) is a hydrogen atom or a methyl group.
  • R 2 is a chain alkyl group having 1 to 20 carbon atoms (excluding n-heptyl group).
  • optional alkyl (meth)acrylate examples include methyl (meth)acrylate, ethyl (meth)acrylate, propyl (meth)acrylate, isopropyl (meth)acrylate, n-butyl (meth)acrylate, isobutyl (meth)acrylate, s -Butyl (meth)acrylate, pentyl (meth)acrylate, isopentyl (meth)acrylate, hexyl (meth)acrylate, heptyl methacrylate, 2-ethylhexyl (meth)acrylate, octyl (meth)acrylate, isooctyl (meth)acrylate, nonyl ( meth)acrylate, isononyl(meth)acrylate, decyl(meth)acrylate, isodecyl(meth)acrylate, undecyl(meth)acrylate, lauryl(meth)acryl
  • optional alkyl (meth)acrylates can be used alone or in combination of two or more.
  • Optional alkyl (meth)acrylates that may be preferably used include n-butyl acrylate (BA) and 2-ethylhexyl acrylate (2EHA).
  • the proportion of optional alkyl (meth)acrylate included in the monomer component is, for example, in some embodiments less than 47% by weight, may be less than 45% by weight, may be less than 30% by weight, and may be less than 10% by weight. It may be less than 5% by weight, or less than 1% by weight.
  • the technology disclosed herein can be preferably carried out in an embodiment in which the monomer component does not substantially contain any alkyl (meth)acrylate.
  • the monomer component does not substantially contain monomer A (for example, the above-mentioned optional alkyl (meth)acrylate), it means that the monomer A is not used, at least intentionally, and the monomer component is For example, unintentional inclusion of about 0.01% by weight or less is acceptable.
  • monomer A for example, the above-mentioned optional alkyl (meth)acrylate
  • the monomer component may include an alkyl (meth)acrylate having a biomass-derived alkyl group at the ester end (hereinafter also referred to as "biomass alkyl (meth)acrylate”).
  • biomass alkyl (meth)acrylate having a biomass-derived alkyl group at the ester end
  • biomass alkyl (meth)acrylate it is possible to suitably realize an acrylic pressure-sensitive adhesive that is designed to reduce dependence on fossil resource-based materials.
  • the biomass alkyl (meth)acrylate is not particularly limited, and is, for example, an ester of a biomass-derived alkanol and a biomass-derived or non-biomass-derived (meth)acrylic acid.
  • alkanols derived from biomass include biomass ethanol, alkanols derived from plant materials such as palm oil, palm kernel oil, coconut oil, and castor oil.
  • the biomass-derived alkanol has three or more carbon atoms, the alkanol may be linear or branched.
  • an ester of a biomass-derived alkanol and a non-biomass-derived (meth)acrylic acid is used as the biomass alkyl (meth)acrylate used in the synthesis of the acrylic polymer.
  • biomass alkyl (meth)acrylate In such a biomass alkyl (meth)acrylate, the greater the number of carbon atoms in the alkanol, the greater the number ratio of biomass-derived carbon to the total number of carbons contained in the biomass alkyl (meth)acrylate, that is, the biomass carbon ratio of the alkyl (meth)acrylate. becomes higher. Therefore, in the above-mentioned biomass alkyl (meth)acrylate, it is desirable that the alkyl group derived from biomass has a large number of carbon atoms in order to reduce dependence on fossil resource materials.
  • biomass-derived n-heptyl acrylate (biomass n-heptyl acrylate) is used as n-heptyl acrylate.
  • biomass n-heptyl acrylate is an ester of a biomass-derived alkanol and a biomass-derived or non-biomass-derived acrylic acid.
  • an ester of a biomass-derived alkanol and a non-biomass-derived acrylic acid can be used. In such compounds, only the linear heptyl groups are derived from biomass.
  • the proportion of biomass alkyl (meth)acrylate (preferably biomass n-heptyl acrylate) in the monomer components of the acrylic polymer is, for example, 50% by weight or more (for example, more than 50% by weight) in some embodiments, Preferably 70% by weight or more, more preferably 80% by weight or more, further preferably 85% by weight or more, particularly preferably 90% by weight or more, may be 92% by weight or more, may be 94% by weight or more, and may be 96% by weight. The above is fine.
  • the proportion of biomass alkyl (meth)acrylate (preferably biomass n-heptyl acrylate) among the monomer components is less than 97% by weight, and in some embodiments may be 95% by weight or less, and in some embodiments may be 93% by weight or less. % or less, or 91% by weight or less. In some other embodiments, the proportion of biomass alkyl (meth)acrylate in the monomer component may be 90% by weight or less, 70% by weight or less, 50% by weight or less, 30% by weight or less, It may be 10% by weight or less, or 1% by weight or less.
  • the monomer component of the acrylic polymer contains more than 3% by weight of a carboxyl group-containing monomer.
  • Carboxy group-containing monomers can exhibit improved cohesiveness based on their polarity.
  • a crosslinking agent such as an isocyanate type crosslinking agent or an epoxy type crosslinking agent
  • the carboxy group can serve as a crosslinking point of the acrylic polymer.
  • carboxy group-containing monomers examples include acrylic acid (AA), methacrylic acid (MAA), carboxyethyl (meth)acrylate, carboxypentyl (meth)acrylate, itaconic acid, maleic acid, fumaric acid, crotonic acid, isocrotonic acid, etc. be done.
  • preferred carboxy group-containing monomers include AA and MAA.
  • AA is particularly preferred.
  • Carboxy group-containing monomers can be used singly or in combination of two or more.
  • the proportion of the carboxy group-containing monomer in the monomer component of the acrylic polymer is more than 3% by weight (specifically more than 3.0% by weight), preferably 4.0% by weight or more, more preferably 4% by weight or more.
  • the content is .5% by weight or more, more preferably 5.0% by weight or more (for example, more than 5.0% by weight), particularly preferably 5.5% by weight or more, and may be 6.0% by weight or more.
  • the proportion of the carboxy group-containing monomer in the monomer component may be 7.0% by weight or more, 8.0% by weight or more (for example, more than 8.0% by weight), and 9. It may be 0% by weight or more.
  • the amount of the carboxy group-containing monomer is, for example, suitably 20% by weight or less of the total monomer components, preferably 15% by weight or less, and more preferably 12% by weight or less. In some embodiments, the amount of the carboxy group-containing monomer may be less than 10% by weight, may be less than 8% by weight, may be less than 6% by weight, and may be less than 5% by weight.
  • the acrylic polymer may be copolymerized with a functional group-containing monomer (any functional group-containing monomer) other than the carboxy group-containing monomer.
  • a functional group-containing monomer any functional group-containing monomer
  • optional functional group-containing monomers that can introduce functional groups that can serve as crosslinking base points into acrylic polymers or contribute to improving adhesive strength include hydroxyl group (OH group)-containing monomers (2-hydroxyethyl (meth)acrylate, 2-hydroxyethyl (meth)acrylate, 2- Hydroxyalkyl (meth)acrylates such as hydroxypropyl (meth)acrylate, 3-hydroxypropyl (meth)acrylate, 2-hydroxybutyl (meth)acrylate, 4-hydroxybutyl (meth)acrylate; polypropylene glycol mono(meth)acrylate, etc.
  • OH group hydroxyl group
  • 2-hydroxyethyl (meth)acrylate 2-hydroxyethyl (meth)acrylate
  • acid anhydride group-containing monomers acid anhydride group-containing monomers, amide group-containing monomers ((meth)acrylamide, N,N-dimethyl(meth)acrylamide, etc.), amino group-containing monomers (aminoethyl (meth)acrylate, N,N-dimethylaminoethyl (meth)acrylate, etc.), epoxy group-containing monomers, cyano group-containing monomers, keto group-containing monomers, monomers with nitrogen atom-containing rings (N-vinyl-2-pyrrolidone, N-(meth)acryloylmorpholine, etc.), alkoxysilyl Examples include group-containing monomers, imide group-containing monomers, and the like. The above arbitrary functional group-containing monomers can be used alone or in combination of two or more.
  • the content of the optional functional group-containing monomer in the monomer component is not particularly limited.
  • the content of the optional functional group-containing monomer in the monomer component can be, for example, 0.1% by weight or more, and 0.5% by weight or more. It is appropriate that the amount is 1% by weight or more.
  • the content of the arbitrary functional group-containing monomer in the monomer component is 40% by weight or less.
  • the content of optional functional group-containing monomers in the monomer component is, for example, less than 3% by weight, may be less than 1% by weight, may be less than 0.5% by weight, and may be less than 0.3% by weight. % or less than 0.1% by weight.
  • the technique disclosed herein can be preferably carried out in an embodiment in which the monomer component of the acrylic polymer does not substantially contain any functional group-containing monomer.
  • the content thereof may generally be approximately 0.001% by weight or more of the total monomer components, or approximately 0.01% by weight or more, It may be approximately 0.02% by weight or more.
  • the content of the hydroxyl group-containing monomer is suitably about 10% by weight or less, preferably about 5% by weight or less, more preferably about 2% by weight or less, based on the total monomer components.
  • the content of hydroxyl group-containing monomer in the monomer component may be less than 1% by weight, may be less than 0.5% by weight, may be less than 0.3% by weight, and may be less than 0.1% by weight. % or less than 0.01% by weight.
  • the monomer component of the acrylic polymer may be substantially free of hydroxyl group-containing monomers. According to the technology disclosed herein, desired effects can be achieved without relying on hydroxyl group-containing monomers.
  • the ratio of the carboxy group-containing monomer to the total functional group-containing monomers (total functional group-containing monomers including the carboxy group-containing monomer) used as a copolymerization component of the acrylic polymer is determined by the effect of copolymerizing the carboxy group-containing monomer.
  • the content is suitably 30% by weight or more, preferably 50% by weight or more, more preferably 70% by weight or more, further preferably 80% by weight or more, particularly preferably 90% by weight or more, such as It may be 95% by weight or more, 97% by weight or more, 98% by weight or more, or 99% by weight or more (for example, 99.9% by weight or more).
  • the upper limit of the proportion of the carboxy group-containing monomer to the total of the functional group-containing monomers is 100% by weight, and may be, for example, 95% by weight or less.
  • the monomer components constituting the acrylic polymer may contain copolymerization components other than the above-mentioned functional group-containing monomers for the purpose of improving cohesive force and the like.
  • copolymerization components include vinyl ester monomers such as vinyl acetate; aromatic vinyl compounds such as styrene; cycloalkyl (meth)acrylates such as cyclohexyl (meth)acrylate, cyclopentyl (meth)acrylate, and isobornyl ) acrylates; aryl (meth)acrylates (e.g. phenyl (meth)acrylate), aryloxyalkyl (meth)acrylates (e.g.
  • Aromatic ring-containing (meth)acrylate Olefinic monomer; Chlorine-containing monomer; Isocyanate group-containing monomer such as 2-(meth)acryloyloxyethyl isocyanate; Alkoxy such as methoxyethyl (meth)acrylate and ethoxyethyl (meth)acrylate Group-containing monomers; vinyl ether monomers such as methyl vinyl ether and ethyl vinyl ether; and the like.
  • the other copolymerization components mentioned above can be used alone or in combination of two or more.
  • the amount of such other copolymerized components is not particularly limited as long as it can be selected as appropriate depending on the purpose and use, but from the viewpoint of appropriately exhibiting the effects of use, it is appropriate to set it to 0.05% by weight or more. , 0.5% by weight or more.
  • the content of other copolymer components in the monomer components is 20% by weight or less, so that the adhesive properties based on the essential monomer components can be suitably exhibited. From this point of view, it is preferably 10% by weight or less, more preferably 8% by weight or less, still more preferably less than 5% by weight, for example, it may be less than 3% by weight, and may be less than 1% by weight.
  • the technology disclosed herein can also be preferably practiced in an embodiment in which the monomer component does not substantially contain other copolymer components.
  • Acrylic polymers are polyfunctional polymers that have at least two polymerizable functional groups (typically radically polymerizable functional groups) having unsaturated double bonds, such as (meth)acryloyl groups and vinyl groups, as other monomer components. It may also contain monomers. By using a polyfunctional monomer as a monomer component, the cohesive force of the adhesive layer can be increased. Polyfunctional monomers can be used as crosslinking agents.
  • the polyfunctional monomer is not particularly limited, and includes, for example, 1,6-hexanediol di(meth)acrylate, trimethylolpropane tri(meth)acrylate, dipentaerythritol hexa(meth)acrylate, and neopentyl glycol di(meth)acrylate. etc.
  • One type of polyfunctional monomer can be used alone or two or more types can be used in combination.
  • the amount of the polyfunctional monomer used is not particularly limited, and can be appropriately set so that the intended use of the polyfunctional monomer is achieved.
  • the amount of the polyfunctional monomer used can be about 3% by weight or less of the monomer components, preferably about 2% by weight or less, and more preferably about 1% by weight or less (for example, about 0.5% by weight or less).
  • the lower limit of the amount used when using a polyfunctional monomer is not particularly limited, as long as it is greater than 0% by weight.
  • the effect of using the polyfunctional monomer can be appropriately exhibited by setting the amount of the polyfunctional monomer to be approximately 0.001% by weight or more (for example, approximately 0.01% by weight or more) of the monomer components.
  • biomass carbon ratio of the monomer component constituting the acrylic polymer may be, for example, 1% or more, suitably 10% or more, preferably 30% or more, and more preferably is 50% or more (for example, more than 50%), may be 70% or more, may be 80% or more, or may be 90% to 100%.
  • the method for obtaining the acrylic polymer is not particularly limited, and various polymerization methods known as methods for synthesizing acrylic polymers, such as solution polymerization, emulsion polymerization, bulk polymerization, suspension polymerization, and photopolymerization, can be used. may be adopted as appropriate.
  • a solution polymerization method can be preferably employed.
  • a monomer supply method when performing solution polymerization a batch charging method in which all monomer raw materials are supplied at once, a continuous supply (dropping) method, a divided supply (dropping) method, etc. can be appropriately adopted.
  • the polymerization temperature can be selected as appropriate depending on the type of monomer and solvent used, the type of polymerization initiator, etc., and is, for example, about 20°C to 170°C (typically about 40°C to 140°C). I can do it.
  • the solvent (polymerization solvent) used for solution polymerization can be appropriately selected from conventionally known organic solvents.
  • aromatic compounds such as toluene (typically aromatic hydrocarbons); acetate esters such as ethyl acetate; aliphatic or alicyclic hydrocarbons such as hexane and cyclohexane; 1,2-dichloroethane, etc. halogenated alkanes; lower alcohols such as isopropyl alcohol (for example, monohydric alcohols having 1 to 4 carbon atoms); ethers such as tert-butyl methyl ether; ketones such as methyl ethyl ketone; etc. Any one type of solvent or a mixed solvent of two or more types can be used.
  • the initiator used for polymerization can be appropriately selected from conventionally known polymerization initiators depending on the type of polymerization method.
  • one or more azo polymerization initiators such as 2,2'-azobisisobutyronitrile (AIBN) can be preferably used.
  • Other examples of polymerization initiators include persulfates such as potassium persulfate; peroxide initiators such as benzoyl peroxide (BPO) and hydrogen peroxide; substituted ethane initiators such as phenyl-substituted ethane; aromatic carbonyl compounds; and the like.
  • Still another example of the polymerization initiator is a redox initiator using a combination of a peroxide and a reducing agent.
  • Such polymerization initiators can be used alone or in combination of two or more.
  • the amount of the polymerization initiator used may be any normal amount, for example, approximately 0.005 to 1 part by weight (typically approximately 0.01 to 1 part by weight) per 100 parts by weight of all monomer components. degree).
  • the acrylic polymer an acrylic polymer having a weight average molecular weight (Mw) of more than 600,000 is used.
  • Mw weight average molecular weight
  • the Mw of the acrylic polymer is preferably 650,000 or more.
  • the Mw of the acrylic polymer is suitably 700,000 or more, preferably 750,000 or more, more preferably 800,000 or more, even more preferably 850,000 or more, particularly preferably 900,000 or more (e.g. (over 900,000).
  • the Mw of the acrylic polymer By setting the Mw of the acrylic polymer high to increase the cohesive force of the adhesive, it is possible to adopt, for example, a monomer composition that emphasizes adhesive force to different materials.
  • the Mw of the acrylic polymer is usually about 3 million or less, preferably 2 million or less, more preferably 1.5 million or less, More preferably, it is 1.2 million or less, particularly preferably 1,000,000 or less.
  • the Mw of the acrylic polymer may be 900,000 or less, 850,000 or less, 800,000 or less, 750,000 or less, 700,000 or less, It may be less than 10,000.
  • the Mw of the acrylic polymer can be measured by gel permeation chromatography (GPC) and determined as a value in terms of standard polystyrene. Specifically, it can be determined by measuring under the following conditions using a GPC measurement device with the trade name "HLC-8220GPC" (manufactured by Tosoh Corporation). The same applies to the embodiments described later.
  • GPC gel permeation chromatography
  • the adhesive layer includes a tackifying resin.
  • a tackifying resin By using a tackifying resin, it is possible to improve adhesion to high polarity materials and low polarity materials. Furthermore, by using an appropriate amount of tackifier resin, the gel fraction of the adhesive layer can be adjusted to an appropriate range.
  • the tackifier resin is not particularly limited and includes, for example, rosin-based tackifier resin, terpene-based tackifier resin, hydrocarbon-based tackifier resin, epoxy-based tackifier resin, polyamide-based tackifier resin, elastomer-based tackifier resin, Various tackifying resins such as phenolic tackifying resins and ketone tackifying resins can be used. Such tackifying resins can be used alone or in combination of two or more.
  • rosin-based tackifying resins include unmodified rosin (raw rosin) such as gum rosin, wood rosin, and tall oil rosin; Hydrogenated rosin, disproportionated rosin, polymerized rosin, other chemically modified rosin, etc. (the same applies hereinafter); and other various rosin derivatives.
  • unmodified rosin raw rosin
  • Hydrogenated rosin disproportionated rosin
  • polymerized rosin other chemically modified rosin, etc.
  • other various rosin derivatives include rosins such as those obtained by esterifying unmodified rosin with alcohols (i.e., esterified products of rosin), and those obtained by esterifying modified rosin with alcohols (i.e., esterified products of modified rosin).
  • Esters Unsaturated fatty acid-modified rosins, which are unmodified rosin or modified rosin modified with unsaturated fatty acids; Unsaturated fatty acid-modified rosin esters, which are rosin esters modified with unsaturated fatty acids; Unmodified rosin, modified rosin, unsaturated Rosin alcohols obtained by reducing the carboxyl group in fatty acid-modified rosins or unsaturated fatty acid-modified rosin esters; metal salts of rosins (especially rosin esters) such as unmodified rosin, modified rosin, and various rosin derivatives; rosins; Examples include rosin phenol resins obtained by adding phenol to (unmodified rosin, modified rosin, various rosin derivatives, etc.) with an acid catalyst and thermally polymerizing them. Among them, rosin ester is preferred.
  • rosin esters include esters of unmodified rosin or modified rosin (hydrogenated rosin, disproportionated rosin, polymerized rosin, etc.), such as methyl ester, triethylene glycol ester, glycerin ester. , pentaerythritol ester and the like.
  • terpene-based tackifying resins examples include terpene resins such as ⁇ -pinene polymer, ⁇ -pinene polymer, and dipentene polymer; Modified terpene resins (modified etc.); etc.
  • modified terpene resin is terpene phenol resin.
  • Terpene phenol resin refers to a polymer containing terpene residues and phenol residues, and includes copolymers of terpenes and phenol compounds (terpene-phenol copolymer resins), and homopolymers or copolymers of terpenes. This concept includes both phenol-modified products (phenol-modified terpene resins). Specific examples of terpenes constituting such terpene phenol resin include monoterpenes such as ⁇ -pinene, ⁇ -pinene, and limonene (including d-form, l-form, and d/l-form (dipentene)); can be mentioned.
  • the hydrogenated terpene phenol resin refers to a hydrogenated terpene phenol resin having a structure obtained by hydrogenating such a terpene phenol resin. Sometimes called hydrogenated terpene phenolic resin.
  • hydrocarbon-based tackifying resins examples include aliphatic (C5-based) petroleum resins, aromatic (C9-based) petroleum resins, aliphatic/aromatic copolymerized (C5/C9-based) petroleum resins, and Hydrogenated substances (e.g., alicyclic petroleum resins obtained by hydrogenating aromatic petroleum resins), various modified products thereof (e.g., maleic anhydride modified products), coumaron-based resins, coumaron-indene-based resins Examples include various hydrocarbon resins such as.
  • rosin-based tackifying resins and terpene-based tackifying resins include embodiments in which the tackifying resin contains only rosin-based tackifying resins, and embodiments in which the tackifying resin contains terpene-based tackifying resins (e.g., terpene-based tackifying resins).
  • the tackifying resin contains only a phenolic resin
  • the tackifying resin includes a rosin-based tackifying resin and a terpene-based tackifying resin.
  • the total proportion of the rosin-based tackifying resin and the terpene-based tackifying resin in the entire tackifying resin contained in the adhesive layer is, for example, approximately more than 50% by weight (more than 50% by weight and not more than 100% by weight). ), and may be about 70% by weight or more, about 80% by weight or more, about 90% by weight or more, about 95% by weight or more, or about 99% by weight or more.
  • a rosin-based tackifier resin as the tackifier resin.
  • the adhesive strength to high polarity materials and low polarity materials can be preferably improved.
  • rosin ester is preferred.
  • the proportion of the rosin-based tackifying resin in the entire tackifying resin contained in the adhesive layer can be, for example, about 50% by weight or more, about 70% by weight or more, or about 80% by weight or more. .
  • the technology disclosed herein is preferably in an embodiment in which substantially all of the tackifier resin (for example, approximately 97% by weight or more, or 99% by weight or more, and may be 100% by weight) is a rosin-based tackifier resin. can be implemented.
  • the content ratio of the tackifying resin other than the rosin-based tackifying resin (non-rosin-based tackifying resin) in the adhesive layer is, for example, based on 100 parts by weight of the acrylic polymer. It is appropriate that the amount is 40 parts by weight or less. Thereby, the effect of including rosin ester is suitably exhibited.
  • the amount of the non-rosin tackifier resin used is preferably about 20 parts by weight or less (for example, less than 20 parts by weight), and may be about 10 parts by weight or less, based on 100 parts by weight of the acrylic polymer. The amount may be 5 parts by weight or less, or approximately 1 part by weight or less.
  • the content of the terpene phenol resin as the tackifier resin in the adhesive layer is, for example, 40 parts by weight or less, and 35 parts by weight or less, based on 100 parts by weight of the acrylic polymer. It may be 30 parts by weight or less, 20 parts by weight or less, 15 parts by weight or less, 10 parts by weight or less, or 5 parts by weight or less.
  • the content of the terpene phenol resin being X parts by weight or less based on 100 parts by weight of the acrylic polymer means that the adhesive layer does not contain the terpene phenol resin and that the terpene phenol resin is not contained in the acrylic polymer.
  • the term is used to include both the inclusion of X parts by weight or less per 100 parts by weight.
  • the content of the terpene phenol resin in the adhesive layer may be 3 parts by weight or less, and 1 part by weight or less (for example, 0 to 0.1 parts by weight) based on 100 parts by weight of the acrylic polymer.
  • the content of the terpene phenol resin in the adhesive layer may be, for example, 1 part by weight or more, 3 parts by weight or more, 5 parts by weight or more, based on 100 parts by weight of the acrylic polymer. It may be at least 7 parts by weight, or at least 9 parts by weight.
  • the content of the terpene phenol resin in the adhesive layer is 10 parts by weight or more, and 12 parts by weight or more based on 100 parts by weight of the acrylic polymer. The amount may be 14 parts by weight or more.
  • terpene phenol resin By using an appropriate amount of terpene phenol resin, it is possible to improve the adhesive strength to high polarity materials while maintaining the adhesive strength to low polarity materials.
  • the amount of terpene phenol resin used in the above range applies to either the embodiment in which only terpene phenol resin is used as the tackifier resin, or the embodiment in which terpene phenol resin and non-terpene phenol resin (preferably rosin-based tackifier resin) are used in combination. is also applicable.
  • the amount of terpene phenol resin used within the above range may be preferably employed, for example, in embodiments in which the terpene phenol resin is used in combination with a non-terpene phenol resin (preferably a rosin-based tackifying resin).
  • the tackifying resin is a tackifying resin T L having a softening point of less than 150°C.
  • the softening point of the tackifier resin T L may be lower than 140°C or lower than 130°C from the viewpoint of improving adhesive strength to high polarity materials and low polarity materials.
  • the softening point of the tackifier resin T L is less than 120°C, suitably less than 110°C, preferably about 105°C or less, more preferably about 100°C or less, More preferably, the temperature is about 95°C or less (for example, less than 95°C), particularly preferably about 90°C or less (for example, about 85°C or less).
  • the lower limit of the softening point of the tackifier resin T L is not particularly limited. In some embodiments, the softening point of the tackifier resin T L may be approximately 50° C. or higher, approximately 60° C. or higher, or approximately 65° C. or higher, for example, from the viewpoint of exhibiting appropriate cohesive force. The temperature may be approximately 70°C or higher. In some other embodiments, the softening point of the tackifier resin T L may be, for example, about 80°C or higher, about 90°C or higher, about 100°C or higher, or about 110°C or higher.
  • the tackifier resin T L one type suitably selected from among the tackifier resins exemplified above having a softening point of less than 150°C can be used alone or in combination of two or more types.
  • the tackifying resin T L preferably includes at least one selected from rosin-based tackifying resins and terpene-based tackifying resins, and more preferably includes rosin-based tackifying resins.
  • the tackifying resin T L may contain one type of rosin-based tackifying resin alone, or may contain a combination of two or more types of rosin-based tackifying resin.
  • examples of rosin-based tackifier resins that can be preferably employed as the tackifier resin T L include rosin esters such as unmodified rosin esters and modified rosin esters.
  • a suitable example of the modified rosin ester is a hydrogenated rosin ester.
  • esters of unmodified rosin or modified rosin eg, hydrogenated rosin
  • rosin esters such as methyl ester, glycerin ester, etc.
  • the tackifier resin T L includes a hydrogenated rosin ester.
  • the tackifier resin T L may also include a non-hydrogenated rosin ester.
  • non-hydrogenated rosin ester is a concept that comprehensively refers to rosin esters other than hydrogenated rosin esters mentioned above. Examples of non-hydrogenated rosin esters include unmodified rosin esters, disproportionated rosin esters and polymerized rosin esters.
  • the tackifier resin T L may contain a combination of a hydrogenated rosin ester and a non-hydrogenated rosin ester as rosin esters, or may contain only one or more hydrogenated rosin esters. It may contain only one species or two or more non-hydrogenated rosin esters.
  • the adhesive layer according to some preferred embodiments contains only one or more hydrogenated rosin esters as the rosin esters contained in the tackifier resin T L.
  • the tackifying resin T L may contain other tackifying resins in addition to the rosin-based tackifying resin.
  • the other tackifier resin one type suitably selected from the tackifier resins exemplified above having a softening point of less than 150°C can be used alone or in combination of two or more types.
  • the proportion of the rosin-based tackifier resin in the entire tackifier resin T L can be, for example, more than about 50% by weight, may be about 65% by weight or more, and may be about 75% by weight or more. Good too.
  • the technology disclosed herein is an embodiment in which substantially all of the tackifier resin T L (for example, approximately 97% by weight or more, or 99% by weight or more, and may be 100% by weight) is a rosin-based tackifier resin. It can be preferably carried out.
  • tackifying resin T L for example, a tackifying resin having a softening point of less than 50°C, more preferably approximately 40°C or less (typically a rosin-based, terpene-based, hydrocarbon-based, etc. tackifying resin, e.g. Hydrogenated rosin methyl ester, etc.) may or may not be included.
  • a low softening point tackifier resin may be a liquid tackifier resin that exhibits a liquid state at 30°C.
  • the liquid tackifying resin can be used alone or in combination of two or more.
  • the content of the liquid tackifying resin can be approximately 30% by weight or less of the entire tackifier resin T L from the viewpoint of cohesive force etc., and should be approximately 10% by weight or less (for example, 0 to 10% by weight). is suitable, and may be approximately 2% by weight or less (0.5 to 2% by weight), and may be less than 1% by weight.
  • the content of the tackifying resin T L (the total amount when two or more types of tackifying resin T L are included) is not particularly limited, but is about 100 parts by weight or less (for example, 100 parts by weight) based on 100 parts by weight of the acrylic polymer. It is appropriate to set it as less than By limiting the amount of the tackifying resin T L used to a predetermined amount or less, it is possible to improve adhesive strength to high polarity materials and low polarity materials while maintaining sufficient holding power. In some preferred embodiments, the amount of the tackifier resin T L used is suitably 90 parts by weight or less, preferably 80 parts by weight, based on 100 parts by weight of the acrylic polymer, from the viewpoint of holding power etc.
  • the amount of the tackifier resin T L to be used may be 35 parts by weight or less, 30 parts by weight or less, or 25 parts by weight or less based on 100 parts by weight of the acrylic polymer. In most cases, the amount may be 20 parts by weight or less (for example, less than 20 parts by weight). In some embodiments, from the viewpoint of improving adhesive strength, the amount of the tackifying resin T L used is, for example, more than 10 parts by weight, and not less than 12 parts by weight, based on 100 parts by weight of the acrylic polymer.
  • the amount may be 14 parts by weight or more, it may be more than 15 parts by weight, suitably 20 parts by weight or more, preferably 30 parts by weight or more, more preferably 35 parts by weight or more, still more preferably 38 parts by weight or more. , may be 45 parts by weight or more, 50 parts by weight or more (for example, more than 50 parts by weight), 55 parts by weight or more, 60 parts by weight or more, 65 parts by weight or more, 70 parts by weight or more. Often, the amount may be 75 parts by weight or more.
  • the acrylic polymer containing n-heptyl acrylate as a monomer unit used in the technology disclosed herein has good compatibility with the tackifier resin, so it can be used to maintain retention power by incorporating a larger amount of the tackifier resin. , it is possible to improve adhesion to different materials.
  • the adhesive layer may include a combination of a tackifying resin T L and a tackifying resin T H having a softening point of 150° C. or higher (eg, 150° C. to 200° C.).
  • a tackifying resin T H having a softening point of 150° C. or higher (eg, 150° C. to 200° C.).
  • the tackifier resin T H one kind or a combination of two or more kinds of tackifier resins having a softening point of 150° C. or more among the tackifier resins exemplified above can be used.
  • the softening point of the tackifier resin in this specification is defined as a value measured based on the softening point test method (ring and ball method) specified in JIS K5902 and JIS K2207. Specifically, the sample is melted as quickly as possible at the lowest possible temperature, and the sample is carefully filled into a ring placed on a flat metal plate, taking care not to form bubbles. After it has cooled down, use a slightly heated knife to cut off the raised part from the plane including the top of the ring.
  • a supporter (ring stand) is placed in a glass container (heating bath) with a diameter of 85 mm or more and a height of 127 mm or more, and glycerin is poured into the container to a depth of 90 mm or more.
  • the steel ball (diameter 9.5 mm, weight 3.5 g) and the ring filled with the sample were immersed in glycerin without coming into contact with each other, and the temperature of the glycerin was maintained at 20°C plus or minus 5°C for 15 minutes. .
  • a steel ball is then placed in the center of the surface of the sample in the ring and placed in position on the support.
  • thermometer place a thermometer, set the center of the mercury bulb of the thermometer at the same height as the center of the ring, and heat the container.
  • the flame of the Bunsen burner used for heating should be halfway between the center of the bottom of the container and the edge to ensure even heating. Note that the rate at which the bath temperature increases after heating starts and reaches 40°C must be 5.0 plus or minus 0.5°C per minute.
  • the sample gradually softens and flows down from the ring, and the temperature at which it finally touches the bottom plate is read, and this is taken as the softening point.
  • the softening point is measured at two or more points at the same time, and the average value is used.
  • the tackifier resin T L accounts for more than 50% by weight of the total amount of tackifier resins included in the adhesive layer. Thereby, the effect of containing the tackifying resin TL tends to be effectively expressed.
  • the proportion of the tackifying resin T L in the total amount of the tackifying resin contained in the adhesive layer is preferably 60% by weight or more, more preferably The content is 70% by weight or more, more preferably 80% by weight or more, particularly preferably 90% by weight or more, may be 95% by weight or more, or may be 98% by weight or more.
  • the tackifier resin contained in the adhesive layer consists essentially only of tackifier resin TL . In this embodiment, the proportion of the tackifying resin T L in the total amount of tackifying resin contained in the adhesive layer is in the range of 99 to 100% by weight.
  • the tackifying resin may include a tackifying resin having a hydroxyl value of less than 70 mgKOH/g.
  • tackifier resins with a hydroxyl value of less than 60 mgKOH/g (more preferably less than 50 mgKOH/g, still more preferably less than 45 mgKOH/g) are preferred.
  • a tackifier resin having a hydroxyl value of less than 70 mgKOH/g may be referred to as a "low hydroxyl value resin".
  • an adhesive layer having high adhesive strength to both high polarity materials and low polarity materials can be preferably realized.
  • the lower limit of the hydroxyl value of the low hydroxyl value resin is 0 mgKOH/g or more, may be about 10 mgKOH/g or more, or may be about 15 mgKOH/g or more.
  • One type of low hydroxyl value resin can be used alone or two or more types can be used in combination.
  • As the low hydroxyl value resin one type suitably selected from the tackifying resins exemplified above having a hydroxyl value of less than 70 mgKOH/g can be used alone or in combination of two or more types.
  • the low hydroxyl value resin preferably includes at least one selected from rosin-based tackifier resins and terpene-based tackifier resins, and more preferably includes rosin-based tackifier resins.
  • the low hydroxyl value resin may contain one type of rosin-based tackifier resin alone, or may contain a combination of two or more types of rosin-based tackifier resin.
  • the low hydroxyl value resin may be the above-mentioned tackifier resin T L or tackifier resin T H , and it is preferable that the tackifier resin T L is a low hydroxyl value resin.
  • the low hydroxyl value resin preferably accounts for more than 50% by weight of the total amount of tackifying resin contained in the adhesive layer. Thereby, it is possible to preferably improve the adhesion strength to low polarity materials.
  • the proportion of the low hydroxyl value resin in the total amount of tackifier resin contained in the adhesive layer is preferably 60% by weight from the viewpoint of more effectively exhibiting the effect of using the low hydroxyl value resin.
  • the content is more preferably 70% by weight or more, further preferably 80% by weight or more, particularly preferably 90% by weight or more, may be 95% by weight or more, or may be 98% by weight or more.
  • the tackifying resin contained in the adhesive layer consists essentially of a low hydroxyl value resin.
  • the proportion of the low hydroxyl value resin in the total amount of tackifier resin contained in the adhesive layer is in the range of 99 to 100% by weight.
  • the adhesive layer disclosed herein has a content of a tackifying resin having a hydroxyl value of 70 mgKOH/g or more (hereinafter also referred to as "high hydroxyl value resin”) as a tackifying resin. is preferably less than 5 parts by weight based on 100 parts by weight of the acrylic polymer.
  • the content of the high hydroxyl value resin being less than 5 parts by weight based on 100 parts by weight of the acrylic polymer means that the adhesive layer does not contain the high hydroxyl value resin and that the adhesive layer does not contain the high hydroxyl value resin.
  • the content of the high hydroxyl value resin in the adhesive layer is preferably less than 3 parts by weight based on 100 parts by weight of the acrylic polymer, and is in the range of 1 part by weight or less (for example, 0 to 0.1 parts by weight). It is more preferable that there be.
  • a value measured by the potentiometric titration method specified in JIS K0070:1992 can be adopted.
  • the specific measurement method is as shown below.
  • [Method for measuring hydroxyl value] 1.
  • Reagent (1) As the acetylation reagent, take about 12.5 g (about 11.8 mL) of acetic anhydride, add pyridine to make a total volume of 50 mL, and stir thoroughly. Alternatively, take about 25 g (about 23.5 mL) of acetic anhydride, add pyridine to make a total volume of 100 mL, stir thoroughly, and use.
  • (2) A 0.5 mol/L potassium hydroxide ethanol solution is used as the measurement reagent.
  • the adhesive layer disclosed herein includes a tackifier resin
  • a tackifier resin derived from plants is preferably used as the tackifier resin. It can work.
  • the vegetable tackifier resin include the above-mentioned rosin-based tackifier resin and terpene-based tackifier resin.
  • the vegetable tackifying resins can be used alone or in combination of two or more.
  • the proportion of the vegetable tackifying resin in the total amount of the tackifying resin is 30% by weight or more (for example, 50% by weight or more, typically 80% by weight). above) is preferable.
  • the proportion of vegetable tackifying resin in the total amount of tackifying resin is 90% by weight or more (eg, 95% by weight or more, typically 99-100% by weight).
  • the technology disclosed herein can be preferably implemented in an embodiment that does not substantially contain tackifying resins other than vegetable tackifying resins.
  • the content of the tackifying resin (the total amount when two or more tackifying resins are included) is not particularly limited, but is about 100 parts by weight or less (for example, less than 100 parts by weight) based on 100 parts by weight of the acrylic polymer. It is appropriate to do so.
  • the amount of tackifying resin used is suitably 90 parts by weight or less, preferably 80 parts by weight or less, based on 100 parts by weight of the acrylic polymer, from the viewpoint of holding power etc.
  • the amount may be 60 parts by weight or less, 55 parts by weight or less, 50 parts by weight or less, or 45 parts by weight or less. In some other embodiments, the amount of the tackifying resin used may be 35 parts by weight or less, 30 parts by weight or less, or 25 parts by weight or less, based on 100 parts by weight of the acrylic polymer. It may be 20 parts by weight or less (for example, less than 20 parts by weight). Further, in some embodiments, from the viewpoint of improving adhesive strength, the amount of the tackifying resin used is, for example, more than 10 parts by weight, and may be 12 parts by weight or more, based on 100 parts by weight of the acrylic polymer.
  • the acrylic polymer containing n-heptyl acrylate as a monomer unit used in the technology disclosed herein has good compatibility with the tackifier resin, so it can be used to maintain retention power by incorporating a larger amount of the tackifier resin. , it is possible to improve adhesion to different materials.
  • the total content of the acrylic polymer and tackifying resin in the adhesive layer is appropriately set and limited to a specific range so that the effects of the technology disclosed herein are exhibited. It's not something you can do.
  • the total amount (total amount) of the acrylic polymer and tackifier resin contained in the adhesive layer is more than 50% by weight from the viewpoint of preferably exhibiting the effects of the technology disclosed herein. is appropriate, preferably about 70% by weight or more, more preferably about 90% by weight or more, even more preferably 95% by weight or more (for example, 95% by weight or more and 100% by weight or less, or less than 100% by weight), and 97% by weight. % or more.
  • the adhesive composition used to form the adhesive layer may contain a crosslinking agent as necessary.
  • the type of crosslinking agent is not particularly limited, and examples include isocyanate crosslinking agents, epoxy crosslinking agents, oxazoline crosslinking agents, aziridine crosslinking agents, melamine crosslinking agents, peroxide crosslinking agents, urea crosslinking agents, and metals. Examples include alkoxide crosslinking agents, metal chelate crosslinking agents, metal salt crosslinking agents, carbodiimide crosslinking agents, hydrazine crosslinking agents, amine crosslinking agents, and silane coupling agents.
  • crosslinking agent can be used alone or two or more types can be used in combination. Among these, isocyanate crosslinking agents, epoxy crosslinking agents, oxazoline crosslinking agents, aziridine crosslinking agents, and melamine crosslinking agents are preferred, and isocyanate crosslinking agents and epoxy crosslinking agents are more preferred.
  • the pressure-sensitive adhesive layer can obtain cohesive force, and can preferably achieve both adhesion and holding power to different materials.
  • the adhesive layer in the technology disclosed herein may contain the crosslinking agent in a form after a crosslinking reaction, a form before a crosslinking reaction, a partially crosslinked form, an intermediate or composite form thereof, etc. May contain.
  • the crosslinking agent is typically contained in the adhesive layer exclusively in the form after crosslinking reaction.
  • polyfunctional isocyanates referring to compounds having an average of two or more isocyanate groups per molecule, including those having an isocyanurate structure
  • the isocyanate crosslinking agents can be used alone or in combination of two or more.
  • polyfunctional isocyanates include aliphatic polyisocyanates, alicyclic polyisocyanates, aromatic polyisocyanates, and the like.
  • aliphatic polyisocyanates include 1,2-ethylene diisocyanate; tetramethylene diisocyanates such as 1,2-tetramethylene diisocyanate, 1,3-tetramethylene diisocyanate, and 1,4-tetramethylene diisocyanate; 1,2-tetramethylene diisocyanate; - hexamethylene diisocyanate such as hexamethylene diisocyanate, 1,3-hexamethylene diisocyanate, 1,4-hexamethylene diisocyanate, 1,5-hexamethylene diisocyanate, 1,6-hexamethylene diisocyanate, 2,5-hexamethylene diisocyanate; Examples include 2-methyl-1,5-pentane diisocyanate, 3-methyl-1,5-pentane diisocyanate, ly
  • alicyclic polyisocyanates include isophorone diisocyanate; cyclohexyl diisocyanates such as 1,2-cyclohexyl diisocyanate, 1,3-cyclohexyl diisocyanate, and 1,4-cyclohexyl diisocyanate; 1,2-cyclopentyl diisocyanate, and 1,3-cyclohexyl diisocyanate; -Cyclopentyl diisocyanates such as cyclopentyl diisocyanate; hydrogenated xylylene diisocyanate, hydrogenated tolylene diisocyanate, hydrogenated diphenylmethane diisocyanate, hydrogenated tetramethylxylene diisocyanate, 4,4'-dicyclohexylmethane diisocyanate, and the like.
  • aromatic polyisocyanates include 2,4-tolylene diisocyanate, 2,6-tolylene diisocyanate, 4,4'-diphenylmethane diisocyanate, 2,4'-diphenylmethane diisocyanate, and 2,2'-diphenylmethane diisocyanate.
  • polyfunctional isocyanates examples include polyfunctional isocyanates having an average of three or more isocyanate groups per molecule.
  • Such trifunctional or higher functional isocyanates are polymers (typically dimers or trimers) of bifunctional or trifunctional or higher functional isocyanates, derivatives (for example, a combination of a polyhydric alcohol and two or more molecules of polyfunctional isocyanate). addition reaction products), polymers, etc.
  • dimers and trimers of diphenylmethane diisocyanate dimers and trimers of diphenylmethane diisocyanate, isocyanurates of hexamethylene diisocyanate (trimeric adducts of isocyanurate structures), reaction products of trimethylolpropane and tolylene diisocyanate, and products of the reaction between trimethylolpropane and hexamethylene diisocyanate.
  • polyfunctional isocyanates such as reaction products with methylene diisocyanate, polymethylene polyphenylisocyanate, polyether polyisocyanate, and polyester polyisocyanate.
  • the amount of the isocyanate crosslinking agent used is not particularly limited.
  • the amount can be approximately 0.1 part by weight or more per 100 parts by weight of the acrylic polymer.
  • the amount of the isocyanate crosslinking agent to be used per 100 parts by weight of the acrylic polymer can be, for example, 0.5 parts by weight or more, and preferably 1.0 parts by weight or more. and preferably 1.5 parts by weight or more.
  • the amount of the isocyanate crosslinking agent used is suitably 10 parts by weight or less per 100 parts by weight of the acrylic polymer, preferably less than 5 parts by weight, more preferably less than 4.0 parts by weight, More preferably, it is less than 3.0 parts by weight (for example, 2.5 parts by weight or less).
  • epoxy crosslinking agent any compound having two or more epoxy groups in one molecule can be used without particular limitation. Epoxy crosslinking agents having 3 to 5 epoxy groups in one molecule are preferred. The epoxy crosslinking agents can be used alone or in combination of two or more.
  • epoxy crosslinking agents include N,N,N',N'-tetraglycidyl-m-xylene diamine, 1,3-bis(N,N-diglycidylaminomethyl ) cyclohexane, 1,6-hexanediol diglycidyl ether, polyethylene glycol diglycidyl ether, polyglycerol polyglycidyl ether and the like.
  • epoxy crosslinking agents include Mitsubishi Gas Chemical's product names “TETRAD-C” and “TETRAD-X”, DIC's product name “Epicron CR-5L”, and Nagase ChemteX's product name Examples include the product name “Denacol EX-512” manufactured by Nissan Chemical Industries, Ltd. and the product name "TEPIC-G” manufactured by Nissan Chemical Industries, Ltd.
  • the amount of the epoxy crosslinking agent used is not particularly limited.
  • the amount of the epoxy crosslinking agent used may be, for example, more than 0 parts by weight and no more than about 1 part by weight (typically about 0.001 to 1 part by weight) per 100 parts by weight of the acrylic polymer. can. From the viewpoint of suitably exhibiting the effect of improving cohesive force, it is appropriate that the amount of the epoxy crosslinking agent used is approximately 0.005 parts by weight or more, and approximately 0.01 parts by weight, based on 100 parts by weight of the acrylic polymer.
  • the amount is preferably at least 0.02 parts by weight, more preferably about 0.02 parts by weight or more.
  • the amount of the epoxy crosslinking agent used is approximately 0.5 parts by weight or less per 100 parts by weight of the acrylic polymer, and approximately 0.2 parts by weight. It is preferably at most 0.1 part by weight (for example less than 0.1 part by weight), more preferably at most 0.07 part by weight, and may be at most 0.04 part by weight.
  • an epoxy crosslinking agent and at least one crosslinking agent having a different type of crosslinkable functional group from the epoxy crosslinking agent are used in combination.
  • a crosslinking agent other than an epoxy crosslinking agent that is, a crosslinking agent having a different type of crosslinkable reactive group from an epoxy crosslinking agent; hereinafter also referred to as a "non-epoxy crosslinking agent"
  • an epoxy crosslinking agent By using it in combination with an epoxy crosslinking agent, it is possible to suitably achieve both adhesion to different materials and high holding power.
  • non-epoxy crosslinking agent that can be used in combination with the epoxy crosslinking agent is not particularly limited, and can be appropriately selected from the above-mentioned crosslinking agents.
  • the non-epoxy crosslinking agents can be used alone or in combination of two or more.
  • an isocyanate crosslinking agent can be employed as the non-epoxy crosslinking agent.
  • an epoxy crosslinking agent and an isocyanate crosslinking agent in combination, better adhesive properties can be achieved.
  • the relationship between the content of the epoxy crosslinking agent and the content of the non-epoxy crosslinking agent (preferably an isocyanate crosslinking agent) is not particularly limited.
  • the content of the epoxy crosslinking agent can be, for example, about 1/10 or less of the content of the non-epoxy crosslinking agent (preferably an isocyanate crosslinking agent).
  • the content of the epoxy crosslinking agent is approximately 1/30 or less of the content of the non-epoxy crosslinking agent, It is preferably about 1/50 or less, more preferably about 1/75 or less, and may be about 1/90 or less.
  • the content of the epoxy crosslinking agent is usually adjusted to It is appropriate to set the content to about 1/1000 or more, for example about 1/500 or more, preferably about 1/300 or more, more preferably 1/150 or more, still more preferably 1/120 or more of the content of the system crosslinking agent. It is.
  • the total amount of the crosslinking agent used is not particularly limited, and for example, approximately 0.005 parts by weight or more (for example, 0.01 parts by weight or more, typically 0.1 parts by weight or more) based on 100 parts by weight of the acrylic polymer.
  • the amount can be selected from a range of about 10 parts by weight or less (for example, about 8 parts by weight or less, preferably about 5 parts by weight or less).
  • the adhesive composition may contain a leveling agent, a crosslinking aid, a plasticizer, a softener, a filler, a coloring agent (pigment, dye, etc.), an antistatic agent, and an antiaging agent, as necessary.
  • a leveling agent e.g., a plasticizer, a softener, a filler, a coloring agent (pigment, dye, etc.), an antistatic agent, and an antiaging agent, as necessary.
  • ultraviolet absorbers, antioxidants, light stabilizers, and other additives commonly used in the adhesive field e.g., ultraviolet absorbers, antioxidants, light stabilizers, and other additives commonly used in the adhesive field.
  • conventionally known ones can be used in a conventional manner, and since they do not particularly characterize the present invention, detailed explanations will be omitted.
  • the adhesive layer (layer consisting of an adhesive) disclosed herein is formed from a water-based adhesive composition, a solvent-based adhesive composition, a hot-melt adhesive composition, or an active energy ray-curable adhesive composition. It may be an adhesive layer.
  • the aqueous adhesive composition refers to an adhesive composition containing an adhesive (adhesive layer forming component) in a water-based solvent (aqueous solvent), and is typically a water-based adhesive composition. This includes what is called a type adhesive composition (a composition in which at least a portion of an adhesive is dispersed in water).
  • a solvent-based adhesive composition refers to an adhesive composition containing an adhesive in an organic solvent.
  • organic solvent contained in the solvent-based adhesive composition one or more of the organic solvents (toluene, ethyl acetate, etc.) that can be used in the above-mentioned solution polymerization can be used without particular limitation.
  • the technology disclosed herein can be preferably implemented in an embodiment including an adhesive layer formed from a solvent-based adhesive composition from the viewpoint of adhesive properties and the like.
  • the adhesive layer disclosed herein can be formed by a conventionally known method.
  • a method can be adopted in which a pressure-sensitive adhesive layer is formed by applying a pressure-sensitive adhesive composition to a surface having peelability (peelability surface) or a non-peelability surface and drying it.
  • a method directly method of forming an adhesive layer by directly applying (typically coating) an adhesive composition to the base material and drying is adopted.
  • a method transfer method in which an adhesive composition is applied to a surface that has releasability (release surface) and dried to form an adhesive layer on the surface, and the adhesive layer is transferred to a base material. may be adopted.
  • the transfer method is preferred.
  • the release surface the surface of a release liner, the back surface of a release-treated base material, etc. can be used.
  • the adhesive layer disclosed herein is typically formed continuously, it is not limited to this form, and may be formed, for example, in a regular or random pattern such as dots or stripes. It may also be a formed adhesive layer.
  • the adhesive composition can be applied using a conventionally known coater such as a gravure roll coater, die coater, or bar coater. Alternatively, the adhesive composition may be applied by impregnation, curtain coating, or the like. From the viewpoint of promoting crosslinking reaction, improving production efficiency, etc., it is preferable to dry the adhesive composition under heating.
  • the drying temperature can be, for example, about 40 to 150°C, and usually preferably about 60 to 130°C.
  • aging may be performed for the purpose of adjusting component migration within the pressure-sensitive adhesive layer, progressing the crosslinking reaction, alleviating distortion that may exist within the pressure-sensitive adhesive layer, and the like.
  • the thickness of the adhesive layer is not particularly limited, and a configuration having an adhesive layer having an appropriate thickness in the range of, for example, 0.1 to 500 ⁇ m may be adopted depending on the use and purpose of use.
  • the thickness of the adhesive layer is usually approximately 100 ⁇ m or less, preferably approximately 70 ⁇ m or less, more preferably approximately 60 ⁇ m or less, More preferably, it is approximately 50 ⁇ m or less.
  • the thickness of the adhesive layer can be approximately 35 ⁇ m or less, and may be approximately 30 ⁇ m or less, for example.
  • An adhesive layer with a limited thickness can meet the demands for thinning and weight reduction.
  • the lower limit of the thickness of the adhesive layer is suitably about 0.5 ⁇ m or more, from the viewpoint of adhesion to the adherend, it may be about 1 ⁇ m or more, and it may be about 3 ⁇ m or more.
  • it is approximately 10 ⁇ m or more, more preferably approximately 12 ⁇ m or more (eg greater than 12 ⁇ m), still more preferably approximately 15 ⁇ m or more, and may for example be approximately 18 ⁇ m or more.
  • the thickness of the adhesive layer is greater than 20 ⁇ m, may be greater than or equal to 24 ⁇ m, and may be greater than or equal to 27 ⁇ m.
  • the pressure-sensitive adhesive sheet disclosed herein may be a pressure-sensitive adhesive sheet having pressure-sensitive adhesive layers having the above-mentioned thickness on both sides of a base material.
  • the first adhesive layer and the second adhesive layer have the same thickness. They may have different thicknesses.
  • the adhesive layer disclosed herein has a gel fraction of less than 70% (by weight). By using an adhesive with a gel fraction of less than 70%, it is possible to exhibit sufficient adhesive strength not only for highly polar materials but also for low polar materials.
  • the gel fraction of the adhesive layer is preferably less than 65%, may be less than 60%, may be less than 55%, may be less than 50%, may be less than 45%, may be less than 40%. It may be less than 35%. Further, from the viewpoint of obtaining sufficient holding power, in some preferred embodiments, the gel fraction of the adhesive layer is 20% or more, more preferably 25% or more, still more preferably 30% or more, and 35% or more.
  • the gel fraction of the adhesive layer may be more than 40%, it may be more than 45%, it may be more than 50%, it may be more than 55%, it may be more than 60%.
  • the adhesive layer may include a biomass-derived material, and the biomass carbon ratio may be greater than or equal to a predetermined value.
  • the biomass carbon ratio of the adhesive layer is, for example, 1% or more, and may be 10% or more, preferably 30% or more, and more preferably 50% or more.
  • a high biomass carbon ratio in the adhesive means that less fossil resource-based materials, such as petroleum, are used. From this point of view, the higher the biomass carbon ratio of the adhesive, the more preferable.
  • the biomass carbon ratio of the adhesive layer may be 55% or more, 60% or more, 70% or more, 75% or more, 80% or more, or more than 80%. good.
  • the upper limit of the biomass carbon ratio is 100% by definition, and may be 99% or less, and from the viewpoint of material availability, it may be 95% or less, or 90% or less. In some embodiments, from the viewpoint of facilitating good adhesive performance, the biomass carbon ratio of the adhesive layer may be, for example, 90% or less, 85% or less, or 80% or less.
  • the base material that supports (backs) the adhesive layer may be a resin film, paper, cloth, or rubber. Sheets, foam sheets, metal foils, composites thereof, etc. can be used.
  • resin films include polyolefin films such as polyethylene (PE), polypropylene (PP), and ethylene-propylene copolymers; polyester films such as polyethylene terephthalate (PET); vinyl chloride resin films; vinyl acetate resin films; polyimide Examples include resin film; polyamide resin film; fluororesin film; cellophane, and the like.
  • Examples of paper include Japanese paper, kraft paper, glassine paper, high quality paper, synthetic paper, top coated paper, and the like.
  • Examples of the fabric include woven fabrics and nonwoven fabrics made of various fibrous substances alone or in combination.
  • Examples of the above-mentioned fibrous materials include cotton, staple fiber, Manila hemp, pulp, rayon, acetate fiber, polyester fiber, polyvinyl alcohol fiber, polyamide fiber, and polyolefin fiber.
  • Examples of rubber sheets include natural rubber sheets, butyl rubber sheets, and the like.
  • Examples of foam sheets include foamed polyolefin sheets, foamed polyurethane sheets, foamed polychloroprene rubber sheets, and the like.
  • Examples of metal foil include aluminum foil, copper foil, and the like. Note that the base material that supports the adhesive layer is also referred to as a base material layer in the adhesive sheet.
  • the base material may be formed from a biomass-derived material or a non-biomass-derived material. From the viewpoint of producing a pressure-sensitive adhesive sheet in consideration of reducing dependence on fossil resource-based materials, biomass-derived base materials (typically resin films) are preferably used.
  • the base material may be formed using a recyclable material or a recycled material (also referred to as recycled material).
  • a resin film is preferably used. Resin films (for example, polyester films such as PET films) can be recycled, so whether or not they are made from plant-based materials, reusing the used resin film allows for sustainable reproduction. It is possible to reduce the environmental burden.
  • a recyclable resin film or a recycled resin film is also referred to as a recycled film.
  • the recycled material (for example, recycled film) may be formed from a biomass-derived material or a non-biomass-derived material.
  • the base material constituting the base material-attached pressure-sensitive adhesive sheet one containing a resin film as a base film can be preferably used.
  • the base film is typically an independently shape-maintainable (independent) member.
  • the base material in the technology disclosed herein may be substantially composed of such a base film.
  • the base material may include an auxiliary layer in addition to the base film. Examples of the auxiliary layer include a colored layer, a reflective layer, an undercoat layer, an antistatic layer, etc. provided on the surface of the base film.
  • the resin film is a film whose main component is a resin material (for example, a component contained in the resin film in an amount exceeding 50% by weight).
  • resin films include polyolefin resin films such as polyethylene (PE), polypropylene (PP), and ethylene-propylene copolymers; polyethylene terephthalate (PET), polybutylene terephthalate (PBT), polyethylene naphthalate (PEN), etc.
  • PET polyethylene terephthalate
  • PBT polybutylene terephthalate
  • PEN polyethylene naphthalate
  • polyester resin film vinyl chloride resin film; vinyl acetate resin film; polyimide resin film; polyamide resin film; fluororesin film; cellophane; and the like.
  • the resin film may be a rubber film such as a natural rubber film or a butyl rubber film. Among these, polyester films are preferred from the viewpoint of handling and processability, and among these, PET films are particularly preferred.
  • resin film is typically a non-porous sheet, and is a concept that is distinguished from so-called non-woven fabrics and woven fabrics (in other words, a concept excluding non-woven fabrics and woven fabrics).
  • the resin film may be an unstretched film, a uniaxially stretched film, or a biaxially stretched film.
  • such resin films may be non-foamed.
  • non-foamed resin film refers to a resin film that has not been intentionally processed to form a foam.
  • the non-foamed resin film may be a resin film with an expansion ratio of less than 1.1 times (for example, less than 1.05 times, typically less than 1.01 times).
  • the above base material may contain fillers (inorganic fillers, organic fillers, etc.), colorants, dispersants (surfactants, etc.), anti-aging agents, antioxidants, ultraviolet rays, etc., as necessary.
  • Various additives such as an absorbent, an antistatic agent, a lubricant, and a plasticizer may be blended.
  • the blending ratio of various additives is about less than 30% by weight (for example, less than 20% by weight, typically less than 10% by weight).
  • the base material may have a single layer structure, or may have a multilayer structure of two layers, three layers, or more. From the viewpoint of shape stability, the base material preferably has a single-layer structure. In the case of a multilayer structure, at least one layer (preferably all layers) is preferably a layer having a continuous structure of the above resin (for example, polyester resin).
  • the method for manufacturing the base material is not particularly limited, and any conventionally known method may be appropriately adopted. For example, conventionally known general film forming methods such as extrusion molding, inflation molding, T-die casting molding, and calender roll molding can be appropriately employed.
  • the surface of the base material may be subjected to conventionally known surface treatments such as corona discharge treatment, plasma treatment, ultraviolet irradiation treatment, acid treatment, alkali treatment, and application of an undercoat.
  • Such surface treatment may be a treatment for improving the adhesion between the base material and the adhesive layer, in other words, the ability of the adhesive layer to anchor to the base material.
  • the back surface of the base material may be subjected to a peeling treatment as necessary.
  • the peeling treatment is performed by applying a general silicone-based, long-chain alkyl-based, or fluorine-based peeling agent to a thin film, typically about 0.01 ⁇ m to 1 ⁇ m (for example, 0.01 ⁇ m to 0.1 ⁇ m). It can be a process to add. By performing such a peeling treatment, effects such as facilitating the unwinding of a roll-shaped adhesive sheet can be obtained.
  • the thickness of the base material is not particularly limited. From the viewpoint of preventing the pressure-sensitive adhesive sheet from becoming too thick, the thickness of the base material can be, for example, approximately 200 ⁇ m or less, preferably approximately 150 ⁇ m or less, and more preferably approximately 100 ⁇ m or less.
  • the thickness of the base material may be approximately 70 ⁇ m or less, approximately 50 ⁇ m or less, or approximately 30 ⁇ m or less (for example, approximately 25 ⁇ m or less) depending on the purpose and manner of use of the adhesive sheet. In some embodiments, the thickness of the base film layer may be about 20 ⁇ m or less, about 15 ⁇ m or less, about 10 ⁇ m or less (eg, about 5 ⁇ m or less).
  • the thickness of the adhesive layer can be increased even if the total thickness of the adhesive sheet is the same. This can be advantageous from the viewpoint of improving adhesion to adherends and base materials.
  • the lower limit of the base material is not particularly limited. From the viewpoint of handleability and processability of the pressure-sensitive adhesive sheet, the thickness of the base material is usually about 0.5 ⁇ m or more (for example, 1 ⁇ m or more), preferably about 2 ⁇ m or more, for example about 6 ⁇ m or more. In some embodiments, the thickness of the substrate can be about 15 ⁇ m or more, and can be about 25 ⁇ m or more.
  • a release liner can be used during formation of the adhesive layer, production of the adhesive sheet, storage of the adhesive sheet before use, distribution, shape processing, etc.
  • the release liner is not particularly limited, and for example, a release liner having a release treatment layer on the surface of a liner base material such as a resin film or paper, a release liner made of a fluorine-based polymer (polytetrafluoroethylene, etc.), etc. may be used. be able to.
  • the release treatment layer may be formed by surface-treating the liner base material with a release agent such as a silicone-based, long-chain alkyl-based, fluorine-based, or molybdenum sulfide release agent.
  • a release agent such as a silicone-based, long-chain alkyl-based, fluorine-based, or molybdenum sulfide release agent.
  • the liner base material like the base material of the above-mentioned adhesive sheet, one formed using a biomass-derived material or a recycled material (recycled film, etc.) can be preferably used.
  • the total thickness of the adhesive sheet disclosed herein (which includes an adhesive layer and may further include a base layer, but does not include a release liner) is not particularly limited.
  • the total thickness of the adhesive sheet is, for example, approximately 1 mm or less, may be approximately 500 ⁇ m or less, and may be approximately 300 ⁇ m or less, and from the viewpoint of thinning, approximately 200 ⁇ m or less is appropriate, and approximately 150 ⁇ m or less. (For example, approximately 100 ⁇ m or less).
  • the thickness of the pressure-sensitive adhesive sheet can be approximately 50 ⁇ m or less, for example, approximately 35 ⁇ m or less.
  • the lower limit of the thickness of the adhesive sheet is, for example, 0.1 ⁇ m or more (for example, 0.5 ⁇ m or more), suitably about 3 ⁇ m or more, preferably about 10 ⁇ m or more, more preferably about 15 ⁇ m or more, It may be about 50 ⁇ m or more, or about 100 ⁇ m or more.
  • a pressure-sensitive adhesive sheet having a thickness of a predetermined value or more tends to have good adhesion to an adherend and also tends to have excellent handling properties.
  • the thickness of the adhesive layer becomes the total thickness of the adhesive sheet.
  • the adhesive sheet preferably has a 180 degree peel strength against a stainless steel plate (adhesive strength against SUS) of approximately 15 N/25 mm or more (for example, 17 N/25 mm or more).
  • a pressure-sensitive adhesive sheet exhibiting such adhesive strength to SUS can exhibit excellent adhesive strength to highly polar materials.
  • the adhesive force to SUS is more preferably about 20 N/25 mm or more, still more preferably about 25 N/25 mm or more, particularly preferably 30 N/25 mm or more, and may be 32 N/25 mm or more.
  • the upper limit of the adhesive strength to SUS is not particularly limited, but from the viewpoint of coexistence with other adhesive properties such as holding power, it may usually be about 50 N/25 mm or less, for example.
  • the adhesive strength to SUS is measured using an SUS plate as an adherend under the conditions of a tensile speed of 300 mm/min and a peel angle of 180 degrees in a measurement environment of 23° C. and 50% RH. More specifically, it is measured by the method described in Examples below.
  • the adhesive sheet disclosed herein preferably has a 180 degree peel strength against polypropylene (adhesive strength against PP) of about 10 N/25 mm or more.
  • a pressure-sensitive adhesive sheet exhibiting such adhesion to PP can adhere well to low polarity materials and exhibit high adhesion reliability to the above-mentioned adherends.
  • the adhesive force to PP is more preferably about 12 N/25 mm or more, still more preferably about 14 N/25 mm or more, particularly preferably about 16 N/25 mm or more, and about 18 N/25 mm or more (for example, about 20 N/25 mm or more). There may be.
  • the upper limit of the adhesive force to PP is not particularly limited, but from the viewpoint of coexistence with other adhesive properties such as holding power, it is usually about 40 N/25 mm or less, and may be 30 N/25 mm or less.
  • the adhesive strength to PP is measured using PP as an adherend in a measurement environment of 23° C. and 50% RH at a tensile rate of 300 mm/min and a peel angle of 180 degrees. More specifically, it is measured by the method described in Examples below.
  • the adhesive sheet disclosed herein preferably has a 180 degree peel strength against polyethylene (adhesive strength against PE) of approximately 5 N/25 mm or more.
  • a pressure-sensitive adhesive sheet exhibiting such adhesive strength to PE can exhibit sufficient adhesion reliability to low polarity materials.
  • the adhesive strength to PE is more preferably about 7 N/25 mm or more, still more preferably about 10 N/25 mm or more, particularly preferably about 12 N/25 mm or more, and 14 N/25 mm or more (for example, about 15 N/25 mm or more). It's okay.
  • the upper limit of the adhesive force to PE is not particularly limited, but from the viewpoint of coexistence with other adhesive properties such as holding power, it is usually about 30 N/25 mm or less, and may be 25 N/25 mm or less.
  • the above-mentioned adhesive strength to PE is measured using PE as an adherend in a measurement environment of 23° C. and 50% RH at a tensile rate of 300 mm/min and a peel angle of 180 degrees. More specifically, it is measured by the method described in Examples below.
  • the adhesive sheet disclosed herein may exhibit adhesive strength of a predetermined value or more to PP and PE.
  • Adhesive sheets exhibiting the above-mentioned adhesive strength to PP and adhesive strength to PE can have stable and sufficient adhesion reliability to different materials including various low polarity materials, and therefore are useful in a wide range of applications. .
  • the pressure-sensitive adhesive sheet disclosed herein has a holding power test conducted under the conditions of 80° C., adhesion area 10 mm x 20 mm, load 1.5 kg, and 1 hour.
  • the deviation distance may be 10 mm or less.
  • Such a pressure-sensitive adhesive sheet has high cohesive force and sufficient holding power.
  • the displacement distance in the holding force test is preferably 5 mm or less, more preferably 3 mm or less, and even more preferably 1 mm or less (0 to 0.1 mm). More specifically, the above-mentioned holding power test is carried out by the method described in the Examples below.
  • the adhesive sheet may include a biomass-derived material, and the biomass carbon ratio may be greater than or equal to a predetermined value.
  • the biomass carbon ratio of the adhesive sheet is, for example, 1% or more, and may be 10% or more, preferably 30% or more, and more preferably 50% or more.
  • a high biomass carbon ratio in the adhesive sheet means that less fossil resource-based materials, such as petroleum, are used. From this point of view, the higher the biomass carbon ratio of the pressure-sensitive adhesive sheet, the more preferable it is.
  • the biomass carbon ratio of the adhesive sheet may be 55% or more, 60% or more, 70% or more, 75% or more, 80% or more, or more than 80%. .
  • the upper limit of the biomass carbon ratio is 100% by definition, and may be 99% or less, and from the viewpoint of material availability, it may be 95% or less, or 90% or less. In some embodiments, from the viewpoint of facilitating good adhesive performance, the biomass carbon ratio of the adhesive sheet may be, for example, 90% or less, 85% or less, or 80% or less.
  • the use of the pressure-sensitive adhesive sheet disclosed herein is not particularly limited, and can be used for various purposes.
  • the pressure-sensitive adhesive sheet disclosed herein exhibits high adhesion to both high-polar and low-polar materials, and has sufficient holding power, so it is suitable for use with members made of high-polar materials including metal members, , suitable for adhesively fixing members made of low polarity materials.
  • members made of high-polar materials including metal members, , suitable for adhesively fixing members made of low polarity materials.
  • the component to be bonded has a high polarity surface or a low polarity surface and long-term bonding reliability is required.
  • Examples of materials constituting such a highly polar surface include metal materials such as stainless steel, glass materials, and polyester resin members such as PET.
  • materials constituting the low polarity surface include polyolefin resins such as polyethylene (PE) and polypropylene (PP), which are generally known as materials with low surface free energy, fluorine-based polymers (such as polytetrafluoroethylene), Examples include polystyrene, polyoxymethylene, polyvinyl acetate, and the like.
  • the pressure-sensitive adhesive sheet disclosed herein is preferably used for adhesively fixing an adherend having a surface made of a material containing a polyolefin such as PE or PP, or a fluorine-based polymer.
  • Suitable applications for the adhesive sheet disclosed herein include fixing members in electronic devices such as home appliances, office automation equipment, and portable electronic devices.
  • the members constituting the above-mentioned electronic devices can be made of highly polar materials such as metals, or low polar materials such as PE, PP, or fluororesin. It is meaningful to realize adhesive fixation with excellent adhesive reliability for various dissimilar materials including those with low polarity.
  • Examples of the electronic devices include various home appliances, personal computers (desktop type, notebook type, tablet type, etc.), and the like.
  • Non-limiting examples of the above-mentioned portable electronic devices include mobile phones, smartphones, tablet computers, notebook computers, and various wearable devices (e.g., wrist-wear type that is worn on the wrist like a wristwatch, and Modular type that is attached to a part of the body, eyewear type that includes glasses type (monocular type and binocular type, including head-mounted type), clothing type that is attached to shirts, socks, hats, etc. in the form of accessories, and earphones. digital cameras, digital video cameras, audio equipment (portable music players, IC recorders, etc.), calculators (calculators, etc.), portable game devices, electronic dictionaries, electronic notebooks, electronic books, and in-vehicle devices.
  • wearable devices e.g., wrist-wear type that is worn on the wrist like a wristwatch, and Modular type that is attached to a part of the body
  • eyewear type that includes glasses type (monocular type and binocular type, including head-mounted type)
  • clothing type that is attached
  • portable does not mean that it is sufficient to simply be able to carry it; it also means that it has a level of portability that allows an individual (standard adult) to carry it relatively easily. shall mean.
  • FIG. 4 is an example schematically showing a portable electronic device (smartphone) using the adhesive sheet disclosed herein.
  • a battery (heat generating element) 540 is built inside the casing 520 of the portable electronic device 500.
  • the portable electronic device 500 is configured to include an adhesive sheet 550.
  • the adhesive sheet 550 has the form of a double-sided adhesive sheet (double-sided adhesive sheet) that fixes members constituting the portable electronic device 500.
  • the portable electronic device 500 includes a touch panel 570 whose display section also functions as an input section.
  • the adhesive sheet disclosed herein is preferably used as a component (member joining means) of the above-mentioned portable electronic devices.
  • the adhesive sheet disclosed herein may have an adhesive layer containing an acrylic polymer with a high biomass carbon ratio in some embodiments, conventional general acrylic adhesives (i.e. By being used as a substitute for acrylic adhesives in various applications where acrylic adhesives (acrylic adhesives with a low biomass carbon ratio) are used, it can contribute to reducing dependence on fossil resource-based materials.
  • the adhesive sheet disclosed herein can be preferably used as an adhesive sheet with reduced dependence on fossil resource materials.
  • the matters disclosed by this specification include the following.
  • An adhesive sheet is bonded to the member constituting the electronic device,
  • the adhesive sheet has an adhesive layer containing an acrylic polymer,
  • the acrylic polymer is a polymer of monomer components including n-heptyl acrylate and a carboxyl group-containing monomer,
  • the monomer component of the acrylic polymer contains more than 3% by weight of the carboxy group-containing monomer,
  • the adhesive layer has a gel fraction of less than 70%,
  • the weight average molecular weight of the acrylic polymer is greater than 600,000, an electronic device.
  • the electronic device according to [1] above, wherein the surface of the member is made of a material selected from metal, polyolefin resin, and fluororesin.
  • the adhesive layer has a gel fraction of 20% or more and less than 70%.
  • the adhesive sheet is a base material-less double-sided adhesive sheet consisting only of the adhesive layer.
  • the adhesive sheet has a base material and the adhesive layer provided on at least one surface of the base material.
  • the acrylic polymer is a polymer of monomer components including n-heptyl acrylate and a carboxyl group-containing monomer, The monomer component of the acrylic polymer contains more than 3% by weight of the carboxy group-containing monomer, The adhesive layer has a gel fraction of less than 70%, A pressure-sensitive adhesive sheet, wherein the acrylic polymer has a weight average molecular weight of more than 600,000. [12] The pressure-sensitive adhesive sheet according to [11] above, wherein the pressure-sensitive adhesive composition for forming the pressure-sensitive adhesive layer contains a crosslinking agent.
  • the pressure-sensitive adhesive sheet according to any one of [11] to [19] above which is a base material-less double-sided pressure-sensitive adhesive sheet consisting only of the pressure-sensitive adhesive layer.
  • the pressure-sensitive adhesive sheet according to any one of [11] to [19] above comprising a base material and the pressure-sensitive adhesive layer provided on at least one surface of the base material.
  • the adhesive sheet according to any one of [11] to [21] above which is used for fixing members in electronic devices.
  • An electronic device comprising the adhesive sheet according to any one of [11] to [21] above.
  • the above-mentioned porous polytetrafluoroethylene (PTFE) membrane is available from Nitto Denko under the trade name "Nitoflon (registered trademark) NTF1122" (average pore diameter 0.2 ⁇ m, porosity 75%, thickness 85 ⁇ m) or its equivalent. use the product.
  • Adhesive strength to PE Under a measurement environment of 23°C and 50% RH, one adhesive side of an adhesive sheet (double-sided adhesive sheet) was lined with a PET film with a thickness of 50 ⁇ m, and cut into a size of 25 mm in width and 100 mm in length. Prepare a measurement sample. In an environment of 23° C. and 50% RH, the other adhesive surface of the measurement sample was pressed onto the surface of a polyethylene board (PE board) washed with ethanol by making one reciprocation with a 2 kg roller. After leaving it in the same environment for 72 hours, the peel strength (relative to PE Adhesive force) [N/25mm] is measured.
  • the PE board for example, the product name "Kobe Polysheet EL-N-AN" (thickness: 2 mm) manufactured by Showa Denko Materials Co., Ltd. is used.
  • the universal tensile compression tester used is Minebea's "Tensile Compression Tester, TG-1kN" or its equivalent. Note that when performing the above peel strength measurement on a single-sided adhesive sheet, backing with a PET film is not necessary.
  • the base material thickness is thin (for example, when the base material thickness is 25 ⁇ m or less), it may be lined with a PET film.
  • a load of 5 kg is applied to the product, and the product is left in an environment of 80° C. for 1 hour in accordance with JIS Z0237.
  • n-HpA is a compound having a biomass-derived heptyl group at the ester end, which was synthesized using biomass-derived heptyl alcohol.
  • the obtained adhesive composition was applied to the release surface of a polyester release film (trade name “Diafoil MRF”, manufactured by Mitsubishi Chemical Corporation) with a thickness of 38 ⁇ m, and dried at 100° C. for 2 minutes to form a film with a thickness of 30 ⁇ m.
  • An adhesive layer was formed.
  • a release surface of a 25 ⁇ m thick polyester release film (trade name “Diafoil MRF”, 25 ⁇ m thick, manufactured by Mitsubishi Chemical Corporation) was attached to this adhesive layer. In this way, a substrate-less double-sided pressure-sensitive adhesive sheet having a thickness of 30 ⁇ m and having both sides protected by the two polyester release films was obtained.
  • Example 2 In the preparation of the adhesive composition in Example 1, an epoxy crosslinking agent (trade name "TETRAD-C", manufactured by Mitsubishi Gas Chemical Co., Ltd., 1,3-bis(N , N-diglycidylaminomethyl)cyclohexane) was further added and mixed with stirring to prepare a pressure-sensitive adhesive composition according to this example.
  • a substrate-less double-sided pressure-sensitive adhesive sheet according to this example was produced in the same manner as in Example 1 except that the obtained pressure-sensitive adhesive composition was used.
  • Examples 3 to 5> A solution of acrylic polymer (A2) was obtained in the same manner as the synthesis of acrylic polymer (A1), except that the monomer composition was changed to 94 parts of n-HpA and 6 parts of AA, and the concentration of monomer components during polymerization was adjusted. .
  • adhesive compositions according to each example were prepared in the same manner as in Example 2 except that the composition was changed to that shown in Table 1.
  • a base material-less double-sided adhesive sheet according to the example was produced.
  • Example 6 A solution of acrylic polymer (A3) was obtained in the same manner as in the synthesis of acrylic polymer (A1) except that the monomer composition was changed to 96 parts of n-HpA and 4 parts of AA.
  • Adhesive compositions according to this example were prepared in the same manner as in Example 2 except that the above acrylic polymer (A3) was used, and the adhesive compositions were used to form a base material-less double-sided adhesive sheet according to this example. was created.
  • Example 7 Adhesive compositions according to each example were prepared in the same manner as in Example 6, except that the type of tackifier resin was changed as shown in Table 1, and the adhesive composition was used to prepare a base material according to each example.
  • a double-sided pressure-sensitive adhesive sheet was prepared. Specifically, in Example 7, 40 parts of the rosin-based tackifier resin of Example 6 was replaced with 25 parts of the rosin-based tackifier resin and a terpene-based tackifier resin (product name "YS In Example 8, the above rosin of Example 6 was used as the tackifying resin. In Example 9, the amount of the rosin tackifier resin used was changed from 40 parts in Example 6 to 15 parts.
  • a solution of an acrylic polymer (A4) having a lower molecular weight than the acrylic polymer (A3) was obtained in the same manner as the synthesis of the acrylic polymer (A3) except that the concentration of monomer components during polymerization was adjusted.
  • a pressure-sensitive adhesive composition according to this example was prepared in the same manner as in Example 6 except that the above acrylic polymer (A4) was used, and a base material-less double-sided pressure-sensitive adhesive sheet according to this example was prepared using the pressure-sensitive adhesive composition. Created.
  • the acrylic polymer was synthesized basically in the same manner as the acrylic polymer (A1) except that the monomer composition was changed to 95 parts of n-butyl acrylate (BA) or 95 parts of 2-ethylhexyl acrylate (2EHA) and 5 parts of AA. Solutions of (A6) and (A7) were obtained. Adhesive compositions according to each example were prepared in the same manner as in Example 2 except that the above acrylic polymer (A6) or (A7) was used, and the adhesive composition was used to create a base material according to each example. A double-sided pressure-sensitive adhesive sheet was prepared.
  • Table 1 shows the outline and evaluation results of the pressure-sensitive adhesive sheets of each example.
  • the adhesives according to Examples 1 to 9 contain n-heptyl acrylate as a monomer component, and contain an acrylic polymer having a Mw of more than 600,000 and containing more than 3% by weight of a carboxyl group-containing monomer, The gel fraction was less than 70%.
  • the adhesives according to these examples have adhesive strength to SUS of 15 N/25 mm or more, PP adhesive strength of 10 N/25 mm or more, and PE adhesive strength of 5 N/25 mm or more, and also pass the holding power test (specifically In general, the deviation distance was 1 mm or less).
  • Examples 1 and 2 in which the amount of carboxyl group-containing monomer used was the largest, had high adhesive strength to low polar materials (PP and PE) and particularly excellent adhesive strength to SUS. was. Furthermore, the results of Examples 3 to 5 show that by increasing the amount of tackifier resin, the adhesive strength to SUS, the adhesive strength to PP, and the adhesive strength to PE can be improved. The results of these examples also show that as the amount of tackifier resin increases, the gel fraction of the adhesive layer tends to decrease and the adhesive strength tends to increase. On the other hand, in Comparative Example 1 in which an acrylic polymer having an Mw of 600,000 was used, the holding power test result was a failure.
  • Comparative Example 2 in which an acrylic polymer with a copolymerization ratio of a carboxyl group-containing monomer (specifically, AA) was 3% also failed in the holding power test.
  • Comparative Example 3 in which the amount of crosslinking agent was increased compared to Comparative Example 2, the holding power was improved, but the adhesive strength to SUS, the adhesive strength to PP, and the adhesive strength to PE all decreased significantly. Furthermore, from the results of Comparative Examples 2 and 3, it can be seen that when the gel fraction becomes too high, it becomes difficult to satisfy the adhesive properties. Furthermore, in Comparative Examples 4 to 5 in which an alkyl acrylate (BA or 2EHA) other than n-heptyl acrylate was used, adhesive strength at the level of Examples 1 to 9 could not be obtained.
  • BA or 2EHA alkyl acrylate
  • the acrylic polymer a polymer of a monomer component containing n-heptyl acrylate and more than 3% by weight of a carboxyl group-containing monomer is used, the gel fraction of the adhesive layer is less than 70%, and the acrylic polymer It can be seen that adhesives with Mw greater than 600,000 can achieve both high levels of adhesion to highly polar materials, adhesion to low polar materials, and holding power.
  • Adhesive sheet Supporting base material 10A First side 10B Second side (back side) 21 Adhesive layer (first adhesive layer) 21A Adhesive surface (first adhesive surface) 21B Second adhesive surface 22 Adhesive layer (second adhesive layer) 22A Adhesive surface (second adhesive surface) 31, 32 Release liner 100, 200, 300 Adhesive sheet with release liner

Landscapes

  • Chemical & Material Sciences (AREA)
  • Organic Chemistry (AREA)
  • Adhesives Or Adhesive Processes (AREA)
  • Adhesive Tapes (AREA)
PCT/JP2022/038804 2022-03-29 2022-10-18 粘着シート Ceased WO2023188482A1 (ja)

Priority Applications (1)

Application Number Priority Date Filing Date Title
CN202280092740.5A CN118696104A (zh) 2022-03-29 2022-10-18 粘合片

Applications Claiming Priority (4)

Application Number Priority Date Filing Date Title
JP2022054421 2022-03-29
JP2022-054421 2022-03-29
JP2022-164655 2022-10-13
JP2022164655A JP7311695B1 (ja) 2022-03-29 2022-10-13 粘着シート

Publications (1)

Publication Number Publication Date
WO2023188482A1 true WO2023188482A1 (ja) 2023-10-05

Family

ID=87201300

Family Applications (1)

Application Number Title Priority Date Filing Date
PCT/JP2022/038804 Ceased WO2023188482A1 (ja) 2022-03-29 2022-10-18 粘着シート

Country Status (4)

Country Link
JP (2) JP7311695B1 (enExample)
CN (1) CN118696104A (enExample)
TW (1) TW202346513A (enExample)
WO (1) WO2023188482A1 (enExample)

Families Citing this family (1)

* Cited by examiner, † Cited by third party
Publication number Priority date Publication date Assignee Title
JP7387824B1 (ja) * 2022-07-04 2023-11-28 日東電工株式会社 粘着シート

Citations (4)

* Cited by examiner, † Cited by third party
Publication number Priority date Publication date Assignee Title
JP2020164844A (ja) * 2019-03-28 2020-10-08 積水化学工業株式会社 感圧粘着剤組成物及び粘着テープ
JP2020176202A (ja) * 2019-04-18 2020-10-29 東洋インキScホールディングス株式会社 溶剤型粘着剤組成物および粘着シート
WO2020246351A1 (ja) * 2019-06-04 2020-12-10 Dic株式会社 両面粘着テープ及び電子機器
WO2021125278A1 (ja) * 2019-12-18 2021-06-24 積水化学工業株式会社 粘着剤組成物、粘着テープ、電子機器部品又は車載部品の固定方法、及び、電子機器部品又は車載部品の製造方法

Family Cites Families (3)

* Cited by examiner, † Cited by third party
Publication number Priority date Publication date Assignee Title
JP2015003959A (ja) * 2013-06-19 2015-01-08 株式会社日本触媒 光学粘着剤組成物および光学粘着製品
JP6171673B2 (ja) * 2013-07-25 2017-08-02 Dic株式会社 粘着シート及びスピーカー
JP7346887B2 (ja) * 2019-04-15 2023-09-20 三菱ケミカル株式会社 粘接着剤組成物、粘接着剤、粘接着シート、及び積層体

Patent Citations (4)

* Cited by examiner, † Cited by third party
Publication number Priority date Publication date Assignee Title
JP2020164844A (ja) * 2019-03-28 2020-10-08 積水化学工業株式会社 感圧粘着剤組成物及び粘着テープ
JP2020176202A (ja) * 2019-04-18 2020-10-29 東洋インキScホールディングス株式会社 溶剤型粘着剤組成物および粘着シート
WO2020246351A1 (ja) * 2019-06-04 2020-12-10 Dic株式会社 両面粘着テープ及び電子機器
WO2021125278A1 (ja) * 2019-12-18 2021-06-24 積水化学工業株式会社 粘着剤組成物、粘着テープ、電子機器部品又は車載部品の固定方法、及び、電子機器部品又は車載部品の製造方法

Also Published As

Publication number Publication date
CN118696104A (zh) 2024-09-24
JP2023147166A (ja) 2023-10-12
TW202346513A (zh) 2023-12-01
JP2023147288A (ja) 2023-10-12
JP7311695B1 (ja) 2023-07-19

Similar Documents

Publication Publication Date Title
JP7592764B2 (ja) 粘着シート
JP2024177276A (ja) 粘着シート
JP7311695B1 (ja) 粘着シート
JP7176153B2 (ja) 粘着シート
JP7308342B1 (ja) 粘着シート
JP7321328B1 (ja) 粘着シート
JP7681955B2 (ja) 粘着シート
JP7321329B1 (ja) 粘着シート
JP7114685B2 (ja) 粘着シート
JP7387824B1 (ja) 粘着シート
JP7321343B1 (ja) 両面粘着シート

Legal Events

Date Code Title Description
121 Ep: the epo has been informed by wipo that ep was designated in this application

Ref document number: 22935613

Country of ref document: EP

Kind code of ref document: A1

WWE Wipo information: entry into national phase

Ref document number: 202280092740.5

Country of ref document: CN

NENP Non-entry into the national phase

Ref country code: DE

122 Ep: pct application non-entry in european phase

Ref document number: 22935613

Country of ref document: EP

Kind code of ref document: A1