WO2022201252A1 - 薬液注入針および薬液注入針装置 - Google Patents

薬液注入針および薬液注入針装置 Download PDF

Info

Publication number
WO2022201252A1
WO2022201252A1 PCT/JP2021/011751 JP2021011751W WO2022201252A1 WO 2022201252 A1 WO2022201252 A1 WO 2022201252A1 JP 2021011751 W JP2021011751 W JP 2021011751W WO 2022201252 A1 WO2022201252 A1 WO 2022201252A1
Authority
WO
WIPO (PCT)
Prior art keywords
electrode
drug solution
injection needle
solution injection
tip
Prior art date
Legal status (The legal status is an assumption and is not a legal conclusion. Google has not performed a legal analysis and makes no representation as to the accuracy of the status listed.)
Ceased
Application number
PCT/JP2021/011751
Other languages
English (en)
French (fr)
Japanese (ja)
Inventor
謙二 森
Current Assignee (The listed assignees may be inaccurate. Google has not performed a legal analysis and makes no representation or warranty as to the accuracy of the list.)
Japan Lifeline Co Ltd
Original Assignee
Japan Lifeline Co Ltd
Priority date (The priority date is an assumption and is not a legal conclusion. Google has not performed a legal analysis and makes no representation as to the accuracy of the date listed.)
Filing date
Publication date
Application filed by Japan Lifeline Co Ltd filed Critical Japan Lifeline Co Ltd
Priority to PCT/JP2021/011751 priority Critical patent/WO2022201252A1/ja
Priority to JP2023508172A priority patent/JPWO2022201252A1/ja
Publication of WO2022201252A1 publication Critical patent/WO2022201252A1/ja
Anticipated expiration legal-status Critical
Ceased legal-status Critical Current

Links

Images

Classifications

    • AHUMAN NECESSITIES
    • A61MEDICAL OR VETERINARY SCIENCE; HYGIENE
    • A61MDEVICES FOR INTRODUCING MEDIA INTO, OR ONTO, THE BODY; DEVICES FOR TRANSDUCING BODY MEDIA OR FOR TAKING MEDIA FROM THE BODY; DEVICES FOR PRODUCING OR ENDING SLEEP OR STUPOR
    • A61M5/00Devices for bringing media into the body in a subcutaneous, intra-vascular or intramuscular way; Accessories therefor, e.g. filling or cleaning devices, arm-rests
    • A61M5/14Infusion devices, e.g. infusing by gravity; Blood infusion; Accessories therefor
    • A61M5/158Needles for infusions; Accessories therefor, e.g. for inserting infusion needles, or for holding them on the body
    • AHUMAN NECESSITIES
    • A61MEDICAL OR VETERINARY SCIENCE; HYGIENE
    • A61MDEVICES FOR INTRODUCING MEDIA INTO, OR ONTO, THE BODY; DEVICES FOR TRANSDUCING BODY MEDIA OR FOR TAKING MEDIA FROM THE BODY; DEVICES FOR PRODUCING OR ENDING SLEEP OR STUPOR
    • A61M5/00Devices for bringing media into the body in a subcutaneous, intra-vascular or intramuscular way; Accessories therefor, e.g. filling or cleaning devices, arm-rests
    • A61M5/178Syringes
    • A61M5/31Details
    • A61M5/32Needles; Details of needles pertaining to their connection with syringe or hub; Accessories for bringing the needle into, or holding the needle on, the body; Devices for protection of needles

Definitions

  • the present invention relates to a drug solution injection needle for puncturing a patient's organ to inject a drug solution, and a drug solution injection needle device equipped with such a drug solution injection needle.
  • a hollow needle (drug injection needle) that punctures the patient's myocardium and injects a drug solution is used to directly administer medication to myocardial cells (see Patent Document 1 below).
  • This drug solution injection needle is inserted into a living body cavity (heart chamber) while being inserted into a sheath or a guiding catheter, and the needle tip of the drug solution injection needle protrudes from the tip opening of the sheath or the guiding catheter to reach the target site. (Myocardium) is punctured, and a drug solution is administered to the myocardial cells at the target site.
  • Patent document 2 discloses a sharp metal tube (12) as a hollow needle for puncturing the myocardium of a patient and injecting a drug solution, and a first electrode for potential measurement comprising a tip portion of the metal tube. (18), an insulating coating layer (22) covering the outer peripheral surface of the base end portion of the metal tube, and a second electrode (28) arranged on the outer peripheral surface of the insulating coating layer. (210) is described.
  • Patent Document 3 describes a puncture needle provided with a plurality of electrodes along the axial direction of the needle. It describes that the second electrode (511) is connected to the second electrode (511) via an electrically insulating coupling pipe (591).
  • the first electrode (18) and the second electrode (28) that constitute the liquid injection needle described in Patent Document 2 are insulated from each other by an insulating coating layer (22).
  • these electrodes (18, 22) and the insulating coating layer (22) are not sufficiently bonded.
  • a minute gap inevitably exists between the insulating coating layer (22) and the ring-shaped second electrode (28) mounted on the outer periphery thereof.
  • the patient's bodily fluid or the like may enter the joint surface between the first electrode (18) and the insulating coating layer (22) and/or the joint surface between the second electrode (28) and the insulating coating layer (22).
  • drift baseline fluctuation
  • noise occur in the potential measured by the electrode, making it impossible to measure the potential accurately.
  • a first electrode (521) and a second electrode (511) that constitute the puncture needle described in Patent Document 3 are connected to each other by an insulating connecting tube (591).
  • these electrodes (521, 511) and the connecting pipe (591) are only fitted and not sufficiently joined. Therefore, the body fluid of the patient does not enter the contact surface between the first electrode (521) and the connecting pipe (591) and/or the contact surface between the second electrode (511) and the connecting pipe (591). In this case, drift and noise occur in the potential measured by the electrode, and accurate potential cannot be measured.
  • the electrode lead extends into the lumen of the needle.
  • the lead comes into contact with the drug solution flowing through the lumen of the needle, which is not preferable from the viewpoint of biological safety, and limits the coating resin and the like that constitute the lead. It is also conceivable that the lead extending into the lumen of the needle impedes the flow of the drug solution.
  • a first object of the present invention is to firmly bond a conductive portion and an insulating portion such as an electrode, and to provide a distal end that prevents body fluids from entering the bonding surface between the conductive portion and the insulating portion.
  • a second object of the present invention is to provide a drug solution injection needle in which the electrode lead does not come into contact with the drug solution at least at the tip.
  • the drug solution injection needle of the present invention is a hollow needle for puncturing an organ of a patient to inject a drug solution, comprising a sharp tip having an interior space and a metal tube having a lumen communicating with the interior space of the tip;
  • the distal end portion includes a circular tube portion, a sharp distal end portion continuous to the distal end of the circular tubular portion, and a proximal end continuous to the circular tubular portion, and is inserted into the lumen to connect with the metal tube.
  • At least one side hole (outflow path for the chemical solution) communicating with the internal space and opening to the outer surface is formed in the circular tube portion and/or the sharp tip portion,
  • the tip portion is formed by integrally molding a conductive portion made of a conductive material and an insulating portion made of an insulating material, As the conductive portion, a first electrode is formed on the sharp tip portion, a second electrode is formed on the outer periphery of the cylindrical portion, and a first electrode land is formed on the outer periphery of the small-diameter cylindrical portion.
  • a second electrode land are formed apart from each other, and a first lead for electrically connecting the first electrode and the first electrode land is provided inside the pipe wall of the tip portion; A second lead for electrically connecting the second electrode and the second electrode land is embedded in each of the second electrodes.
  • portion in the insulating portion and the conductive portion means a portion of each of the sharp tip portion, the circular tube portion, and the small-diameter circular tube portion, or by straddling these boundaries to form the tip. It refers to the part made of the same material that constitutes the part.
  • integralally molded means that the insulating portion and the conductive portion are joined together with the molding.
  • the conductive portion and the insulating portion are formed integrally to form the tip portion.
  • the first electrode land, the second electrode land, and the insulating portion of the distal end portion are firmly joined to each other, so that body fluids and the like can be prevented from entering the joining surfaces of the two.
  • a first lead connecting the first electrode and the first electrode land, and a second lead connecting the second electrode and the second electrode land are embedded in the tube wall at the distal end. Moreover, since these leads are not exposed to the inner peripheral surface of the distal end portion, it is possible to avoid contact of these leads with the chemical solution.
  • the conductive portion constituting the tip portion is made of metal, and the insulating portion is made of ceramic.
  • a bonding layer in which the conductive material and the insulating material are mixed is formed on the bonding surface between the conductive portion and the insulating portion forming the tip portion. It is preferable that
  • the insulating material forming the insulating portion and the conductive material forming the conductive portion are placed on the joint surface between the conductive portion forming the tip portion and the insulating portion. are mixed (mutually diffused) between the first electrode, the second electrode, the first electrode land and the second electrode land, which are conductive portions, and the insulating portion. A strong bonding force is exhibited between them, and it is possible to reliably prevent body fluids and the like from entering the bonding surfaces of the two.
  • the tip region of the sharp tip portion is made of only the metal.
  • the toughness of the distal end region of the sharp tip portion can be increased, and the sharp tip portion can be prevented from being damaged.
  • the drug solution injection needle having such a configuration, it is possible to prevent the edge of the opening of the side hole from being damaged.
  • either one of the first electrode land and the second electrode land is electrically connected to the metal tube,
  • the tip end is connected to the other of the first electrode land and the second electrode land, and extends in the proximal direction on the outer peripheral surface of the metal tube while ensuring insulation with respect to the metal tube. It is preferable to have a conductive layer extending to the proximal end of the metal tube.
  • the metal tube can be used as one lead of the first electrode land and the second electrode land, and the conductive layer can be used as the other lead. can be done.
  • the conductive layer can be used as the other lead.
  • a spiral slit is formed in the tip region of the metal tube.
  • the strength of the tip region of the metal tube can be lowered to some extent, and the injection needle can be made flexible.
  • the drug solution injection needle of the present invention is preferably myocardial regenerative cell preparation.
  • the drug solution injection needle device of the present invention comprises the drug solution injection needle of the present invention, a grip portion connected to the proximal end side of the drug solution injection needle, and the above-described device for supplying the drug solution to the inside of the drug solution injection needle. It is characterized by comprising an injection port attached to a grip portion, and a connector attached to the grip portion and electrically connected to the first electrode and the second electrode.
  • the first electrode, the second electrode, the land for the first electrode, and the land for the second electrode which are the conductive portions at the tip, are firmly joined to the insulating portion at the tip. Since it is possible to prevent body fluids and the like from entering the joint surfaces of both, drift and noise do not occur in the potential measured by the first electrode and the second electrode, and accurate potential can be measured by these electrodes. can do.
  • a first lead connecting the first electrode and the first electrode land, and a second lead connecting the second electrode and the second electrode land are embedded in the tube wall at the distal end. , so these leads can be avoided from coming into contact with the chemical solution.
  • FIG. 1 is a plan view showing a drug solution injection needle according to one embodiment of the present invention
  • FIG. FIG. 2 is a front view showing the drug solution injection needle shown in FIG. 1
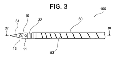
  • FIG. 3 is a detailed view of part III of FIG. 2
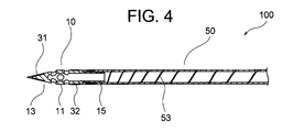
  • FIG. 4 is a sectional view along IV-IV in FIG. 3
  • FIG. 2 is a perspective view showing the tip of the liquid injection needle shown in FIG. 1
  • 2 is a perspective view showing a cross-sectional configuration of the tip portion of the drug solution injection needle shown in FIG. 1
  • FIG. FIG. 2 is a vertical cross-sectional view of the tip portion of the liquid injection needle shown in FIG. 1
  • FIG. 8 is a cross-sectional view taken along line VIIIA-VIIIA of FIG. 7;
  • FIG. 8 is a cross-sectional view taken along line VIIIB-VIIIB of FIG. 7;
  • FIG. 8 is a cross-sectional view taken along line VIIIC-VIIIC of FIG. 7;
  • FIG. 8 is a cross-sectional view taken along line VIIID-VIIID in FIG. 7;
  • FIG. 4 is a cross-sectional view schematically showing a state of electrical connection from each of a first electrode land and a second electrode land to a connector; It is a longitudinal cross-sectional view showing a preferred modification of the present invention. It is a longitudinal cross-sectional view showing a preferred modification of the present invention. 4 is an electron micrograph showing a boundary between an insulating portion and a conductive portion;
  • ⁇ Medicine injection needle> 1 to 8 is a hollow needle for puncturing a patient's myocardium and injecting a drug solution into myocardial cells. It comprises a sharp distal end portion 10 having an internal space and a metal tube 50 having a lumen communicating with the internal space of the distal end portion 10, and the distal end portion 10 of the drug solution injection needle 100 is a circular tube portion. 11, a sharp distal end portion 13 that continues to the distal end of the circular tube portion 11, and a small diameter circular tube that continues to the proximal end of the circular tube portion 11 and is inserted into the lumen of the metal tube 50 to connect with the metal tube 50.
  • the circular tube portion 11 and the sharp tip portion 13 are formed with six side holes 17 that communicate with the inner space of the tip portion 10 and open to the outer surface as outflow paths for the liquid medicine.
  • 10 is formed by integrally molding a conductive portion made of a conductive material and an insulating portion made of an insulating material.
  • a ring-shaped second electrode 32 is formed on the outer periphery of the circular tube portion 11, and a first electrode land 35 and a second electrode land 36 are spaced apart from each other on the outer periphery of the small-diameter circular tube portion 15.
  • a first lead 33 for electrically connecting a first electrode 31 and a first electrode land 35, a second electrode 32 and a second electrode land 36 are formed inside the tube wall of the distal end portion 10. and a second lead 34 for electrically connecting the .
  • a drug solution injection needle 100 of this embodiment includes a tip portion 10 and a metal tube 50 . As shown in FIGS. 1 and 2 , a grasping portion 60 is connected to the proximal end of the metal tube 50 that constitutes the liquid injection needle 100 . An injection port 70 and a connector 80 are attached to the grasping portion 60, and the liquid injection needle 100, the grasping portion 60, the injection port 70, and the connector 80 constitute a liquid injection needle device.
  • the grasping portion 60 that constitutes the liquid injection needle device is made of resin, rubber, elastomer, or the like.
  • An injection port 70 attached to the grasping portion 60 is a port for supplying a liquid medicine to the lumen of the liquid medicine injection needle 100 .
  • a connector 80 attached to the grip portion 60 is electrically connected to the first electrode 31 and the second electrode 32, respectively.
  • the effective length of the liquid injection needle 100 protruding from the tip of the grasping portion 60 is usually 800-2500 mm, preferably 900-2300 mm.
  • the drug solution injection needle 100 of this embodiment is a hollow needle for puncturing a patient's myocardium and injecting a drug solution into myocardial cells.
  • the "drug solution” includes cell preparations such as myocardial regenerative cell preparations, gene introduction drugs, and the like.
  • the tip portion 10 of the liquid injection needle 100 is composed of a sharp tip portion 13 , a circular tube portion 11 , and a small diameter circular tube portion 15 .
  • a side hole 17 that communicates with the internal space of the tip portion 10 and opens to the outer surface of the tip portion 10 is formed in the circular tube portion 11 and the tip portion 13 .
  • the drug solution supplied from the injection port 70 passes through the lumen of the metal tube 50, the internal space of the distal end portion 10 and the side hole 17, flows out from the opening, and is injected into the patient's myocardial cells.
  • the small-diameter circular tube portion 15 of the tip portion 10 is inserted from the tip opening of the metal tube 50 into the lumen of the metal tube 50 , thereby connecting the tip portion 10 and the metal tube 50 . Therefore, the small-diameter circular tube portion 15 does not appear as an external appearance of the liquid injection needle 100 .
  • the tip portion 10 (sharp tip portion 13, circular tube portion 11, small-diameter circular tube portion 15) is formed by integrally forming a conductive portion made of conductive metal and an insulating portion made of ceramic.
  • integral molding means that the bonding of the insulating part and the conductive part is performed at the same time as the tip part 10 is formed, instead of bonding or mechanically joining the insulating part and the conductive part. means to do A preferred specific example of “integral molding” is molding by 3D printing.
  • the tip of the tip portion 13 of the tip portion 10 is closed, and two side holes 17 are formed in the tube wall of the tip tip portion 13 .
  • a first electrode 31 is formed on the sharp tip portion 13 as a conductive portion that constitutes the tip portion 10 . There is no step between the first electrode 31 and the insulating portion located on the proximal side thereof, and the tip sharp portion 13 has a smooth outer surface (conical surface).
  • a ring-shaped second electrode 32 is formed on the circular tube portion 11 as a conductive portion of the distal end portion 10 . There is no level difference between the second electrode 32 and the insulating portions positioned on both end sides thereof, and the cylindrical portion 11 has a smooth outer peripheral surface.
  • a first electrode land 35 and a second electrode land 36 are formed apart from each other in the small-diameter circular tube portion 15 as conductive portions that constitute the distal end portion 10 .
  • a first electrode for electrically connecting the first electrode 31 and the first electrode land 35 is provided inside the tube wall of the distal end portion 10 (the sharp distal end portion 13, the circular tube portion 11, the small diameter circular tube portion 15). Leads 33 are embedded. A second lead 34 for electrically connecting the second electrode 32 and the second electrode land 36 is provided inside the tube wall of the distal end portion 10 (the circular tube portion 11 and the small-diameter circular tube portion 15). embedded.
  • Each of the first lead 33 and the second lead 34 is embedded inside the tube wall of the distal end portion 10 (covered with an insulating portion constituting the distal end portion 10), and the inner peripheral surface of the distal end portion 10 not exposed to
  • the length of the tip portion 10 (the length of the sharp tip portion 13 + the length of the circular tube portion 11) is usually 1.0 to 4.2 mm, preferably 1.5 to 3.0 mm. Also, the length of the sharp tip portion 13 is usually 0.3 to 3.0 mm, preferably 0.8 to 2.2 mm.
  • the outer diameter of the tip portion 10 is usually 0.34 to 1.0 mm, preferably 0.5 to 0.8 mm.
  • the inner diameter of the tip portion 10 (circular tube portion 11) is usually 0.24 to 0.90 mm, preferably 0.32 to 0.70 mm.
  • the conductive metal forming the first electrode 31, the second electrode 32, the first lead 33, the second lead 34, the first electrode land 35, and the second electrode land 36 which are the conductive portions of the distal end portion 10, all conventionally known metals constituting the liquid injection needle can be used.
  • the conductive metal forming the first electrode 31, the second electrode 32, the first electrode land 35, and the second electrode land 36 radiation-resistant metals such as platinum, platinum-based alloys, gold, tungsten, and tantalum may be used. Transparent metals are preferred.
  • the conductive metal forming the first lead 33 and the second lead 34 copper, gold, silver, platinum, tungsten, titanium, stainless steel, etc. are preferable.
  • FIG. 12 is an electron micrograph showing the bonding state between the insulating portion and the conductive portion that constitute the tip portion 10 of the liquid injection needle 100 .
  • the upper right side of this photograph is the insulating part, and the gray material is the ceramic material.
  • the lower left side of this photograph is the conductive part, and the conductive metal (platinum) is visible in white.
  • a bonding layer in which a ceramic material and a conductive metal are mixed is formed from the upper left to the lower right of this photograph.
  • the small-diameter circular tube portion 15 of the distal end portion 10 is inserted into the inner cavity of the metal tube 50 through the distal end opening of the metal tube 50, thereby connecting the distal end portion 10 and the metal tube 50, so that the inner space of the distal end portion 10 and the metal tube 50 are connected. are communicated with each other, thereby constituting the liquid injection needle 100 of the present embodiment.
  • the metal tube 50 is required to have the strength (especially bending strength) and elasticity (especially bending elasticity) required for an ordinary liquid injection needle.
  • the metal forming the metal tube 50 the same metal as the conductive metal forming the conductive portion can be used. Also, part or all of the distal end portion of the metal tube 50 may be made of a radiopaque metal.
  • a spiral slit 53 is formed in the tip region of the metal tube 50 .
  • the slit 53 is a through slit extending from the outer peripheral surface to the inner peripheral surface of the metal pipe, but the slit may be formed so as not to extend to the inner peripheral surface.
  • the pitch of the slits 53 is formed so as to continuously narrow toward the distal direction. As a result, the strength of the distal end region can be continuously (smoothly) reduced in the distal direction, thereby improving the operability when introducing the drug solution injection needle 100 to the target site.
  • the length of the metal tube 50 is usually 600-2200 mm, preferably 700-1800 mm.
  • the outer diameter of the metal tube 50 is usually 0.34-1.0 mm, preferably 0.4-0.9 mm.
  • the inner diameter of the metal tube 50 is usually 0.3-0.9 mm, preferably 0.34-0.80 mm.
  • the length of the slit 53 formed in the tip region of the metal tube 50 is normally 590-2100 mm, preferably 650-1000 mm.
  • the first electrode 31 forming the distal end portion 10 is electrically connected to a connector 80 forming the liquid injection needle device via the first lead 33 and the first electrode land 35 .
  • the second electrode 32 forming the distal end portion 10 is electrically connected to a connector 80 forming a liquid injection needle device via a second lead 34 and a second electrode land 36 .
  • the method of electrically connecting each of the first electrode lands 35 and the second electrode lands 36 to the connector 80 is not particularly limited, but for example, the following method can be adopted.
  • the first electrode land 35 of the tip portion 10 is joined to the inner peripheral surface of the metal tube 50 to electrically connect the one electrode land 35 and the metal tube 50 . Also, although not shown, the proximal end of the metal tube 50 and the connector 80 are connected by a lead wire. Thereby, the first electrode 31 and the connector 80 can be electrically connected.
  • the tip is joined to the second electrode land 36 of the distal end portion 10, and extends in the proximal direction on the outer peripheral surface of the metal tube 50 while ensuring insulation with respect to the metal tube 50.
  • a strip-shaped conductive layer 55 is formed to reach the base end of the .
  • the proximal end of the conductive layer 55 and the connector 80 are connected by a lead wire. Thereby, the second electrode 32 and the connector 80 can be electrically connected.
  • the insulation between the metal tube 50 and the conductive layer 55 is achieved by forming an insulating coating layer 40 covering the outer peripheral surface of the metal tube 50 and disposing the conductive layer 55 on the outer peripheral surface, as shown in FIG. can be secured by
  • 45 is a strip-shaped insulating coating layer that covers the conductive layer 55 .
  • the insulating coating layer 40 can close the slit (not shown in FIG. 9) formed in the tip region of the metal tube 50, and the liquid-tightness of the liquid injection needle 100 can be ensured.
  • the insulating coating layer 40 can be formed by shrinking a heat-shrinkable resin tube in which the metal tube 50 is inserted.
  • the heat-shrinkable resin tube for forming the insulating coating layer 40 include polyethylene terephthalate (PET) and polyether block amide copolymer resin (PEBAX (registered trademark)).
  • the first electrode land 35 and the connector 80 are electrically connected using the metal tube 50, and the second electrode land 36 and the connector 80 are connected by a conductive layer insulated from the metal tube 50.
  • electrically connecting via 55 there is no need to provide lead wires for these electrodes extending inside or outside the metal tube 50, so the diameter of the base end (metal tube 50) of the liquid injection needle 100 can be reduced. can be achieved, and a sufficient space can be secured for the lumen of the needle.
  • the drug solution injection needle 100 of the present embodiment and the grip portion 60 constitute a drug solution injection needle device, and the drug solution is injected into the patient's myocardium with this drug solution injection needle device.
  • the injection port 70 is connected to a syringe filled with the drug solution to be supplied to the lumen of the drug solution injection needle 100, and the connector 80 is connected to the electrocardiograph.
  • the tip portion 10 is configured by integrally molding the conductive portion and the insulating portion, and the joint surface between the conductive portion and the insulating portion of the tip portion 10
  • a bonding layer in which a ceramic material and a conductive metal are mixed
  • the first electrode 31, the second electrode 32, the first electrode land 35, and the conductive portion of the tip portion 10 are formed.
  • a strong bonding force is developed between the second electrode land 36 and the insulating portion of the distal end portion 10, and it is possible to reliably prevent body fluids from entering the bonding surfaces of the two.
  • the potentials measured by the first electrode 31 and the second electrode 32 are free from drift and noise, and the potentials can be accurately measured by these electrodes.
  • a first lead 33 connecting the first electrode 31 and the first electrode land 35 and a second lead 34 connecting the second electrode 32 and the second electrode land 36 are connected to the tube of the distal end portion 10. By embedding them inside the wall and not exposing them to the inner peripheral surface of the tip portion 10 , it is possible to avoid contact of these leads 33 and 34 with the chemical liquid flowing in the internal space of the tip portion 10 . can.
  • the present invention is not limited to this, and various modifications are possible.
  • the tip region of the sharp tip portion 13 may be made of only conductive metal, and the first electrode 31A may be made of pure metal.
  • the toughness of the tip region of the tip sharp portion can be increased, and the tip tip portion can be prevented from being chipped.
  • the inner peripheral surface of the side hole 17A formed in the sharp tip portion 13 and the cylindrical portion 11 may be coated with a conductive metal. Thereby, it is possible to prevent the edge of the opening of the side hole 17A from being damaged.
  • the second electrode may have a shape other than the ring shape.

Landscapes

  • Health & Medical Sciences (AREA)
  • Vascular Medicine (AREA)
  • Engineering & Computer Science (AREA)
  • Anesthesiology (AREA)
  • Biomedical Technology (AREA)
  • Heart & Thoracic Surgery (AREA)
  • Hematology (AREA)
  • Life Sciences & Earth Sciences (AREA)
  • Animal Behavior & Ethology (AREA)
  • General Health & Medical Sciences (AREA)
  • Public Health (AREA)
  • Veterinary Medicine (AREA)
  • Infusion, Injection, And Reservoir Apparatuses (AREA)
PCT/JP2021/011751 2021-03-22 2021-03-22 薬液注入針および薬液注入針装置 Ceased WO2022201252A1 (ja)

Priority Applications (2)

Application Number Priority Date Filing Date Title
PCT/JP2021/011751 WO2022201252A1 (ja) 2021-03-22 2021-03-22 薬液注入針および薬液注入針装置
JP2023508172A JPWO2022201252A1 (enExample) 2021-03-22 2021-03-22

Applications Claiming Priority (1)

Application Number Priority Date Filing Date Title
PCT/JP2021/011751 WO2022201252A1 (ja) 2021-03-22 2021-03-22 薬液注入針および薬液注入針装置

Publications (1)

Publication Number Publication Date
WO2022201252A1 true WO2022201252A1 (ja) 2022-09-29

Family

ID=83395377

Family Applications (1)

Application Number Title Priority Date Filing Date
PCT/JP2021/011751 Ceased WO2022201252A1 (ja) 2021-03-22 2021-03-22 薬液注入針および薬液注入針装置

Country Status (2)

Country Link
JP (1) JPWO2022201252A1 (enExample)
WO (1) WO2022201252A1 (enExample)

Cited By (1)

* Cited by examiner, † Cited by third party
Publication number Priority date Publication date Assignee Title
WO2025052858A1 (ja) * 2023-09-07 2025-03-13 株式会社カネカ ハンドルおよびハンドルを備えたカテーテルシステム

Citations (3)

* Cited by examiner, † Cited by third party
Publication number Priority date Publication date Assignee Title
JPH09140802A (ja) * 1995-11-21 1997-06-03 Nippon Zeon Co Ltd 電極カテーテル
JP2016513520A (ja) * 2013-03-15 2016-05-16 ベイリス メディカル カンパニー インコーポレイテッドBaylis Medical Company Inc. 遠位開口部を有する電気外科手術デバイス
JP2017127498A (ja) * 2016-01-20 2017-07-27 日本ライフライン株式会社 焼灼用針装置、高周波焼灼治療システムおよび化学焼灼治療システム

Family Cites Families (1)

* Cited by examiner, † Cited by third party
Publication number Priority date Publication date Assignee Title
JP4251898B2 (ja) * 2003-03-28 2009-04-08 テルモ株式会社 穿刺センサを有するカテーテル

Patent Citations (3)

* Cited by examiner, † Cited by third party
Publication number Priority date Publication date Assignee Title
JPH09140802A (ja) * 1995-11-21 1997-06-03 Nippon Zeon Co Ltd 電極カテーテル
JP2016513520A (ja) * 2013-03-15 2016-05-16 ベイリス メディカル カンパニー インコーポレイテッドBaylis Medical Company Inc. 遠位開口部を有する電気外科手術デバイス
JP2017127498A (ja) * 2016-01-20 2017-07-27 日本ライフライン株式会社 焼灼用針装置、高周波焼灼治療システムおよび化学焼灼治療システム

Cited By (1)

* Cited by examiner, † Cited by third party
Publication number Priority date Publication date Assignee Title
WO2025052858A1 (ja) * 2023-09-07 2025-03-13 株式会社カネカ ハンドルおよびハンドルを備えたカテーテルシステム

Also Published As

Publication number Publication date
JPWO2022201252A1 (enExample) 2022-09-29

Similar Documents

Publication Publication Date Title
EP1345650B1 (en) Seal for use with medical device and system
KR101997372B1 (ko) 케미컬 어블레이션 장치 및 케미컬 어블레이션 시스템
US7691086B2 (en) Catheter for introduction of medications to the tissues of a heart or other organ
EP2138200A1 (en) Thrombus-aspiration catheter
WO2008112870A2 (en) Epicardial ablation catheter and method of use
JP2004329487A (ja) 薬液注入装置
EP1462142B1 (en) Catheter with puncture sensor
US20040049158A1 (en) Hemostasis valve for use with a left ventricular pacing lead
WO2022201252A1 (ja) 薬液注入針および薬液注入針装置
CN116457046A (zh) 穿刺设备
JP7373055B2 (ja) 薬液注入針システム
WO2018174251A1 (ja) カテーテル及びカテーテルの製造方法
CN217067424U (zh) 一种临时起搏器漂浮电极组件
CN115379868B (zh) 药液注入针以及药液注入针系统
JP7373056B2 (ja) 薬液注入針および薬液注入針システム
JP2021142213A (ja) 穿刺針、針カテーテル、及び、カテーテルシステム
CN214105533U (zh) 一种医用导管及导引鞘
JP2023158448A (ja) 針システム
EP4609899A1 (en) Needle system
JP7286670B2 (ja) 電気治療用具
CN114828917A (zh) 中空针
WO2025134676A1 (ja) 穿刺カテーテル
CN119488348A (zh) 消融导管及消融系统
PL237439B1 (pl) Elektroda wewnątrzsercowa/cewnik do stymulacji serca i podawania leków
CN111513841A (zh) 磁导航射频和注射联合消融柔性导管

Legal Events

Date Code Title Description
121 Ep: the epo has been informed by wipo that ep was designated in this application

Ref document number: 21932865

Country of ref document: EP

Kind code of ref document: A1

ENP Entry into the national phase

Ref document number: 2023508172

Country of ref document: JP

Kind code of ref document: A

NENP Non-entry into the national phase

Ref country code: DE

122 Ep: pct application non-entry in european phase

Ref document number: 21932865

Country of ref document: EP

Kind code of ref document: A1