WO2022019245A1 - ディスクブレーキ装置 - Google Patents

ディスクブレーキ装置 Download PDF

Info

Publication number
WO2022019245A1
WO2022019245A1 PCT/JP2021/026884 JP2021026884W WO2022019245A1 WO 2022019245 A1 WO2022019245 A1 WO 2022019245A1 JP 2021026884 W JP2021026884 W JP 2021026884W WO 2022019245 A1 WO2022019245 A1 WO 2022019245A1
Authority
WO
WIPO (PCT)
Prior art keywords
piston
cap
main body
brake device
disc brake
Prior art date
Legal status (The legal status is an assumption and is not a legal conclusion. Google has not performed a legal analysis and makes no representation as to the accuracy of the status listed.)
Ceased
Application number
PCT/JP2021/026884
Other languages
English (en)
French (fr)
Japanese (ja)
Inventor
裕之 加藤
理夫 鈴木
Current Assignee (The listed assignees may be inaccurate. Google has not performed a legal analysis and makes no representation or warranty as to the accuracy of the list.)
Akebono Brake Industry Co Ltd
Original Assignee
Akebono Brake Industry Co Ltd
Priority date (The priority date is an assumption and is not a legal conclusion. Google has not performed a legal analysis and makes no representation as to the accuracy of the date listed.)
Filing date
Publication date
Application filed by Akebono Brake Industry Co Ltd filed Critical Akebono Brake Industry Co Ltd
Priority to US18/017,188 priority Critical patent/US20230286480A1/en
Priority to CN202180059707.8A priority patent/CN116134236A/zh
Priority to EP21845198.7A priority patent/EP4187120A4/en
Publication of WO2022019245A1 publication Critical patent/WO2022019245A1/ja
Anticipated expiration legal-status Critical
Ceased legal-status Critical Current

Links

Images

Classifications

    • BPERFORMING OPERATIONS; TRANSPORTING
    • B60VEHICLES IN GENERAL
    • B60TVEHICLE BRAKE CONTROL SYSTEMS OR PARTS THEREOF; BRAKE CONTROL SYSTEMS OR PARTS THEREOF, IN GENERAL; ARRANGEMENT OF BRAKING ELEMENTS ON VEHICLES IN GENERAL; PORTABLE DEVICES FOR PREVENTING UNWANTED MOVEMENT OF VEHICLES; VEHICLE MODIFICATIONS TO FACILITATE COOLING OF BRAKES
    • B60T13/00Transmitting braking action from initiating means to ultimate brake actuator with power assistance or drive; Brake systems incorporating such transmitting means, e.g. air-pressure brake systems
    • B60T13/10Transmitting braking action from initiating means to ultimate brake actuator with power assistance or drive; Brake systems incorporating such transmitting means, e.g. air-pressure brake systems with fluid assistance, drive, or release
    • B60T13/58Combined or convertible systems
    • B60T13/588Combined or convertible systems both fluid and mechanical assistance or drive
    • BPERFORMING OPERATIONS; TRANSPORTING
    • B60VEHICLES IN GENERAL
    • B60TVEHICLE BRAKE CONTROL SYSTEMS OR PARTS THEREOF; BRAKE CONTROL SYSTEMS OR PARTS THEREOF, IN GENERAL; ARRANGEMENT OF BRAKING ELEMENTS ON VEHICLES IN GENERAL; PORTABLE DEVICES FOR PREVENTING UNWANTED MOVEMENT OF VEHICLES; VEHICLE MODIFICATIONS TO FACILITATE COOLING OF BRAKES
    • B60T1/00Arrangements of braking elements, i.e. of those parts where braking effect occurs specially for vehicles
    • B60T1/02Arrangements of braking elements, i.e. of those parts where braking effect occurs specially for vehicles acting by retarding wheels
    • B60T1/06Arrangements of braking elements, i.e. of those parts where braking effect occurs specially for vehicles acting by retarding wheels acting otherwise than on tread, e.g. employing rim, drum, disc, or transmission or on double wheels
    • B60T1/065Arrangements of braking elements, i.e. of those parts where braking effect occurs specially for vehicles acting by retarding wheels acting otherwise than on tread, e.g. employing rim, drum, disc, or transmission or on double wheels employing disc
    • BPERFORMING OPERATIONS; TRANSPORTING
    • B60VEHICLES IN GENERAL
    • B60TVEHICLE BRAKE CONTROL SYSTEMS OR PARTS THEREOF; BRAKE CONTROL SYSTEMS OR PARTS THEREOF, IN GENERAL; ARRANGEMENT OF BRAKING ELEMENTS ON VEHICLES IN GENERAL; PORTABLE DEVICES FOR PREVENTING UNWANTED MOVEMENT OF VEHICLES; VEHICLE MODIFICATIONS TO FACILITATE COOLING OF BRAKES
    • B60T13/00Transmitting braking action from initiating means to ultimate brake actuator with power assistance or drive; Brake systems incorporating such transmitting means, e.g. air-pressure brake systems
    • B60T13/74Transmitting braking action from initiating means to ultimate brake actuator with power assistance or drive; Brake systems incorporating such transmitting means, e.g. air-pressure brake systems with electrical assistance or drive
    • B60T13/741Transmitting braking action from initiating means to ultimate brake actuator with power assistance or drive; Brake systems incorporating such transmitting means, e.g. air-pressure brake systems with electrical assistance or drive acting on an ultimate actuator
    • BPERFORMING OPERATIONS; TRANSPORTING
    • B60VEHICLES IN GENERAL
    • B60TVEHICLE BRAKE CONTROL SYSTEMS OR PARTS THEREOF; BRAKE CONTROL SYSTEMS OR PARTS THEREOF, IN GENERAL; ARRANGEMENT OF BRAKING ELEMENTS ON VEHICLES IN GENERAL; PORTABLE DEVICES FOR PREVENTING UNWANTED MOVEMENT OF VEHICLES; VEHICLE MODIFICATIONS TO FACILITATE COOLING OF BRAKES
    • B60T13/00Transmitting braking action from initiating means to ultimate brake actuator with power assistance or drive; Brake systems incorporating such transmitting means, e.g. air-pressure brake systems
    • B60T13/74Transmitting braking action from initiating means to ultimate brake actuator with power assistance or drive; Brake systems incorporating such transmitting means, e.g. air-pressure brake systems with electrical assistance or drive
    • B60T13/746Transmitting braking action from initiating means to ultimate brake actuator with power assistance or drive; Brake systems incorporating such transmitting means, e.g. air-pressure brake systems with electrical assistance or drive and mechanical transmission of the braking action
    • FMECHANICAL ENGINEERING; LIGHTING; HEATING; WEAPONS; BLASTING
    • F16ENGINEERING ELEMENTS AND UNITS; GENERAL MEASURES FOR PRODUCING AND MAINTAINING EFFECTIVE FUNCTIONING OF MACHINES OR INSTALLATIONS; THERMAL INSULATION IN GENERAL
    • F16DCOUPLINGS FOR TRANSMITTING ROTATION; CLUTCHES; BRAKES
    • F16D55/00Brakes with substantially-radial braking surfaces pressed together in axial direction, e.g. disc brakes
    • F16D55/02Brakes with substantially-radial braking surfaces pressed together in axial direction, e.g. disc brakes with axially-movable discs or pads pressed against axially-located rotating members
    • F16D55/22Brakes with substantially-radial braking surfaces pressed together in axial direction, e.g. disc brakes with axially-movable discs or pads pressed against axially-located rotating members by clamping an axially-located rotating disc between movable braking members, e.g. movable brake discs or brake pads
    • F16D55/224Brakes with substantially-radial braking surfaces pressed together in axial direction, e.g. disc brakes with axially-movable discs or pads pressed against axially-located rotating members by clamping an axially-located rotating disc between movable braking members, e.g. movable brake discs or brake pads with a common actuating member for the braking members
    • F16D55/225Brakes with substantially-radial braking surfaces pressed together in axial direction, e.g. disc brakes with axially-movable discs or pads pressed against axially-located rotating members by clamping an axially-located rotating disc between movable braking members, e.g. movable brake discs or brake pads with a common actuating member for the braking members the braking members being brake pads
    • F16D55/226Brakes with substantially-radial braking surfaces pressed together in axial direction, e.g. disc brakes with axially-movable discs or pads pressed against axially-located rotating members by clamping an axially-located rotating disc between movable braking members, e.g. movable brake discs or brake pads with a common actuating member for the braking members the braking members being brake pads in which the common actuating member is moved axially, e.g. floating caliper disc brakes
    • FMECHANICAL ENGINEERING; LIGHTING; HEATING; WEAPONS; BLASTING
    • F16ENGINEERING ELEMENTS AND UNITS; GENERAL MEASURES FOR PRODUCING AND MAINTAINING EFFECTIVE FUNCTIONING OF MACHINES OR INSTALLATIONS; THERMAL INSULATION IN GENERAL
    • F16DCOUPLINGS FOR TRANSMITTING ROTATION; CLUTCHES; BRAKES
    • F16D55/00Brakes with substantially-radial braking surfaces pressed together in axial direction, e.g. disc brakes
    • F16D55/02Brakes with substantially-radial braking surfaces pressed together in axial direction, e.g. disc brakes with axially-movable discs or pads pressed against axially-located rotating members
    • F16D55/22Brakes with substantially-radial braking surfaces pressed together in axial direction, e.g. disc brakes with axially-movable discs or pads pressed against axially-located rotating members by clamping an axially-located rotating disc between movable braking members, e.g. movable brake discs or brake pads
    • F16D55/228Brakes with substantially-radial braking surfaces pressed together in axial direction, e.g. disc brakes with axially-movable discs or pads pressed against axially-located rotating members by clamping an axially-located rotating disc between movable braking members, e.g. movable brake discs or brake pads with a separate actuating member for each side
    • FMECHANICAL ENGINEERING; LIGHTING; HEATING; WEAPONS; BLASTING
    • F16ENGINEERING ELEMENTS AND UNITS; GENERAL MEASURES FOR PRODUCING AND MAINTAINING EFFECTIVE FUNCTIONING OF MACHINES OR INSTALLATIONS; THERMAL INSULATION IN GENERAL
    • F16DCOUPLINGS FOR TRANSMITTING ROTATION; CLUTCHES; BRAKES
    • F16D65/00Parts or details
    • F16D65/14Actuating mechanisms for brakes; Means for initiating operation at a predetermined position
    • F16D65/16Actuating mechanisms for brakes; Means for initiating operation at a predetermined position arranged in or on the brake
    • F16D65/18Actuating mechanisms for brakes; Means for initiating operation at a predetermined position arranged in or on the brake adapted for drawing members together, e.g. for disc brakes
    • FMECHANICAL ENGINEERING; LIGHTING; HEATING; WEAPONS; BLASTING
    • F16ENGINEERING ELEMENTS AND UNITS; GENERAL MEASURES FOR PRODUCING AND MAINTAINING EFFECTIVE FUNCTIONING OF MACHINES OR INSTALLATIONS; THERMAL INSULATION IN GENERAL
    • F16DCOUPLINGS FOR TRANSMITTING ROTATION; CLUTCHES; BRAKES
    • F16D65/00Parts or details
    • F16D65/14Actuating mechanisms for brakes; Means for initiating operation at a predetermined position
    • F16D65/16Actuating mechanisms for brakes; Means for initiating operation at a predetermined position arranged in or on the brake
    • F16D65/18Actuating mechanisms for brakes; Means for initiating operation at a predetermined position arranged in or on the brake adapted for drawing members together, e.g. for disc brakes
    • F16D65/183Actuating mechanisms for brakes; Means for initiating operation at a predetermined position arranged in or on the brake adapted for drawing members together, e.g. for disc brakes with force-transmitting members arranged side by side acting on a spot type force-applying member
    • FMECHANICAL ENGINEERING; LIGHTING; HEATING; WEAPONS; BLASTING
    • F16ENGINEERING ELEMENTS AND UNITS; GENERAL MEASURES FOR PRODUCING AND MAINTAINING EFFECTIVE FUNCTIONING OF MACHINES OR INSTALLATIONS; THERMAL INSULATION IN GENERAL
    • F16DCOUPLINGS FOR TRANSMITTING ROTATION; CLUTCHES; BRAKES
    • F16D65/00Parts or details
    • F16D65/78Features relating to cooling
    • F16D2065/785Heat insulation or reflection
    • FMECHANICAL ENGINEERING; LIGHTING; HEATING; WEAPONS; BLASTING
    • F16ENGINEERING ELEMENTS AND UNITS; GENERAL MEASURES FOR PRODUCING AND MAINTAINING EFFECTIVE FUNCTIONING OF MACHINES OR INSTALLATIONS; THERMAL INSULATION IN GENERAL
    • F16DCOUPLINGS FOR TRANSMITTING ROTATION; CLUTCHES; BRAKES
    • F16D2121/00Type of actuator operation force
    • F16D2121/02Fluid pressure
    • F16D2121/04Fluid pressure acting on a piston-type actuator, e.g. for liquid pressure
    • FMECHANICAL ENGINEERING; LIGHTING; HEATING; WEAPONS; BLASTING
    • F16ENGINEERING ELEMENTS AND UNITS; GENERAL MEASURES FOR PRODUCING AND MAINTAINING EFFECTIVE FUNCTIONING OF MACHINES OR INSTALLATIONS; THERMAL INSULATION IN GENERAL
    • F16DCOUPLINGS FOR TRANSMITTING ROTATION; CLUTCHES; BRAKES
    • F16D2121/00Type of actuator operation force
    • F16D2121/18Electric or magnetic
    • F16D2121/24Electric or magnetic using motors
    • FMECHANICAL ENGINEERING; LIGHTING; HEATING; WEAPONS; BLASTING
    • F16ENGINEERING ELEMENTS AND UNITS; GENERAL MEASURES FOR PRODUCING AND MAINTAINING EFFECTIVE FUNCTIONING OF MACHINES OR INSTALLATIONS; THERMAL INSULATION IN GENERAL
    • F16DCOUPLINGS FOR TRANSMITTING ROTATION; CLUTCHES; BRAKES
    • F16D2123/00Multiple operation forces
    • FMECHANICAL ENGINEERING; LIGHTING; HEATING; WEAPONS; BLASTING
    • F16ENGINEERING ELEMENTS AND UNITS; GENERAL MEASURES FOR PRODUCING AND MAINTAINING EFFECTIVE FUNCTIONING OF MACHINES OR INSTALLATIONS; THERMAL INSULATION IN GENERAL
    • F16DCOUPLINGS FOR TRANSMITTING ROTATION; CLUTCHES; BRAKES
    • F16D2125/00Components of actuators
    • F16D2125/02Fluid-pressure mechanisms
    • F16D2125/06Pistons
    • FMECHANICAL ENGINEERING; LIGHTING; HEATING; WEAPONS; BLASTING
    • F16ENGINEERING ELEMENTS AND UNITS; GENERAL MEASURES FOR PRODUCING AND MAINTAINING EFFECTIVE FUNCTIONING OF MACHINES OR INSTALLATIONS; THERMAL INSULATION IN GENERAL
    • F16DCOUPLINGS FOR TRANSMITTING ROTATION; CLUTCHES; BRAKES
    • F16D2125/00Components of actuators
    • F16D2125/18Mechanical mechanisms
    • F16D2125/20Mechanical mechanisms converting rotation to linear movement or vice versa
    • F16D2125/34Mechanical mechanisms converting rotation to linear movement or vice versa acting in the direction of the axis of rotation
    • F16D2125/40Screw-and-nut

Definitions

  • the present invention relates to a disc brake device.
  • Disc brake devices are increasingly used not only for the front wheels of automobiles but also for the rear wheels because they have excellent heat dissipation and can finely adjust the braking force during driving.
  • Disc brake devices are divided into hydraulic disc brake devices that use hydraulic fluid to obtain braking force and electric disc brake devices that use electrically driveable actuators to obtain braking force. Can be separated.
  • a braking force by a service brake is generated by sending brake oil (fluid) into a cylinder to generate a parking brake.
  • An electric parking brake type structure is known in which the braking force generated by the brake fluid is generated by using an electric actuator such as a rotation linear motion conversion mechanism.
  • brake oil is stored in the cylinder, so when the pad is pressed against the rotating rotor and becomes hot, heat is transferred to the brake oil via the piston, and the brake is applied. There is a problem that the temperature of the oil tends to rise. When the temperature of the brake oil rises, it causes deterioration of the brake oil and causes a vapor lock phenomenon.
  • the piston has a split structure as disclosed in Japanese Patent Application Laid-Open No. 2015-25550. Specifically, it is conceivable that the piston is composed of a piston body that is fitted in the cylinder and receives hydraulic pressure, and a piston cap that presses the pad. According to such a configuration, the amount of heat transferred to the brake oil can be reduced as compared with the case where the piston is integrated. Therefore, it is possible to suppress the temperature rise of the brake oil.
  • a rotary linear motion conversion mechanism consisting of a spindle which is a rotary member and a nut which is a linear motion member
  • the spindle is rotated in the forward rotation direction in order to obtain braking force by the parking brake.
  • slippage occurs between the piston body and the piston cap on which torque acts from the nut, and the piston body may slip together with the nut. Therefore, it becomes difficult to stably obtain the braking force of the parking brake.
  • the nut moves (full release) to the limit position on the anti-rotor side, and the nut and spindle are locked. (That is, the nut cannot be moved in the axial direction due to the rotation of the spindle, and the nut is forcibly rotated together with the spindle.)
  • the electric motor that is the drive source may reach the stall torque (maximum current).
  • the present invention has been made to solve the above problems, and it is possible to stably obtain the braking force by the parking brake while having a structure in which the temperature rise of the brake oil can be suppressed, and the linear motion member. It is an object of the present invention to provide an electric parking brake type disc brake device that can solve the problem that occurs when the brake fluid is fully released to the anti-rotor side.
  • the disc brake device of the present invention includes a pad, a caliper, a piston, and a rotational linear motion conversion mechanism.
  • the caliper has a cylinder with the pad side open.
  • the piston is fitted in the cylinder and presses the pad toward the rotor.
  • the rotary linear motion conversion mechanism converts the rotary motion of the drive source into a linear motion, thereby pushing the piston toward the rotor.
  • the braking force by the service brake is generated by feeding the brake oil into the cylinder, and the braking force by the parking brake is generated by operating the rotation linear motion conversion mechanism.
  • the piston is composed of a piston body and a piston cap, which are divided into two in the axial direction.
  • the rotary linear motion conversion mechanism is screwed to the rotary member and the rotary member driven to be rotationally driven by the drive source, and is arranged inside the piston body so as to be unable to engage with the piston body in relative rotation. It also has a linear motion member that presses the piston body in the axial direction. Between the piston body and the piston cap, when the rotating member is rotationally driven in the forward rotation direction in order to move the linear motion member to the rotor side, the forward rotation direction of the piston body with respect to the piston cap. When the rotating member is rotationally driven in the reverse rotation direction in order to regulate the relative rotation to the piston cap and move the linear motion member to the anti-rotor side, the piston body is relative to the piston cap in the reverse rotation direction. It has a one-way rotation control unit that allows rotation.
  • the one-way rotation restricting portion is provided with at least one (preferably a plurality) convex or concave main body side engaging portions provided on the piston main body, and the piston.
  • the main body side engaging portion may be integrally formed with other parts constituting the piston main body, or may be formed separately from the other parts and fixed to the other parts.
  • the cap-side engaging portion may be integrally formed with other parts constituting the piston cap, or may be formed separately from the other parts and fixed to the other parts.
  • the piston body may be made of metal
  • the piston cap may be made of metal or synthetic resin.
  • at least one of the portions that come into contact with the main body side engaging portion when the rotating member is rotationally driven in the forward rotation direction is regulated to be parallel (including substantially parallel) to the central axis of the piston. It can have a surface.
  • the main body side engaging portion is moved backward in the reverse rotation direction to a portion that comes into contact with the cap side engaging portion when the rotating member is rotationally driven in the reverse rotation direction. It is possible to have a main body side guide surface that approaches the rotor in the axial direction toward the side, and when the rotating member is rotationally driven in the reverse rotation direction, the main body side guide surface is provided by the cap side engaging portion. Can be pushed up.
  • the main body side guide surface may be an inclined surface or a curved surface (including a partial cylindrical surface having an arc-shaped cross section and a partial spherical surface).
  • the cap-side engaging portion is brought into contact with the main body-side engaging portion when the rotating member is rotationally driven in the reverse rotation direction, and is forward in the reverse rotation direction. It is possible to have a cap-side guide surface that moves away from the rotor in the axial direction toward the side, and when the rotating member is rotationally driven in the reverse rotation direction, the cap-side guide surface causes the main body-side engaging portion. Can be pushed up.
  • the cap-side guide surface may be an inclined surface or a curved surface (including a partial cylindrical surface and a partial spherical surface having an arc-shaped cross section).
  • the cap-side engaging portion of the piston cap can be made of metal.
  • the piston cap is provided with a cap body made of synthetic resin and a metal engaging piece molded in the cap body, and a part of the engaging piece is used to make the cap.
  • a side engaging portion can be configured.
  • the piston cap is further provided with a cap body made of synthetic resin, a metal engaging piece partially (base) molded in the cap body, and a metal power transmission member. Can be. Then, the power transmission member is exposed from the end surface of the cap body, and the exposed surface can form a cap-side transmission surface described later.
  • a plurality of the main body side engaging portions may be provided separated in the circumferential direction, and a plurality of the cap side engaging portions may be provided separated in the circumferential direction. ..
  • the plurality of main body-side engaging portions can be arranged at equal intervals in the circumferential direction, and the plurality of cap-side engaging portions can be arranged at equal intervals in the circumferential direction.
  • the piston cap can support the relative displacement in the axial direction with respect to the piston body.
  • the piston cap when the rotating member is rotationally driven in the reverse rotation direction, the piston cap is shafted with respect to the piston body by at least the amount that the main body side engaging portion can overcome the cap side engaging portion. Relative displacement with respect to direction can be supported as possible.
  • an axial force transmitting portion for transmitting an axial force between the piston main body and the piston cap can be further provided between the piston main body and the piston cap.
  • the axial force transmitting unit can be provided separately from the one-way rotation restricting unit.
  • the axial force transmitting portion is transferred to the flat surface-shaped transmission surface on the main body side and the piston cap, which are located on a virtual plane orthogonal to the central axis of the piston main body. It can be composed of a flat surface-shaped transmission surface on the cap side, which is located on a virtual plane orthogonal to the central axis of the piston cap.
  • the one-way rotation restricting unit can have a function of transmitting an axial force between the piston body and the piston cap.
  • the one-way rotation restricting portion is provided on the main body side sliding contact surface provided on the piston main body and the cap side sliding contact surface provided on the piston cap and facing the main body side sliding contact surface in the axial direction. It can be composed of faces. At least one of the main body side sliding contact surface and the cap side sliding contact surface is surface-treated to increase the friction coefficient between the main body side sliding contact surface and the cap side sliding contact surface, or It can be composed of friction members.
  • the rotating member When the rotating member is rotationally driven in the forward rotation direction, the axial force acting on the cap-side sliding contact surface from the main body-side sliding contact surface increases, and the main body-side sliding contact surface and the cap-side sliding contact surface increase.
  • the rotating member When the rotating member is rotationally driven in the reverse rotation direction by frictionally engaging with the surface so as not to rotate relative to each other, the axial force acting from the main body side sliding contact surface to the cap side sliding contact surface decreases.
  • the main body side sliding contact surface can be rotated relative to the cap side sliding contact surface in the reverse rotation direction.
  • the structure is such that the temperature rise of the brake oil can be suppressed, the braking force due to the parking brake can be stably obtained, and the problem that occurs when the linear motion member is fully released to the anti-rotor side. It is possible to realize an electric parking brake type disc brake device that can eliminate the problem.
  • FIG. 1 is a front view showing a disc brake device of the first example of the embodiment.
  • FIG. 2 is a plan view showing the disc brake device of the first example of the embodiment.
  • FIG. 3 is a cross-sectional view taken along the line AA of FIG.
  • FIG. 4 is a partially enlarged view of FIG.
  • FIG. 5 is a schematic cross-sectional view showing an example of a detent structure of the piston cap with respect to the inner pad with respect to the first example of the embodiment.
  • 6A and 6B are cross-sectional views showing a combined piston taken out with respect to the first example of the embodiment, FIG. 6A shows a case where the spindle is rotationally driven in the forward rotation direction, and FIG. 9A shows a case where the spindle is rotationally driven in the forward rotation direction.
  • FIG. 7A and 7B are views showing the piston main body taken out with respect to the first example of the embodiment, FIG. 7A is a front view, and FIG. 7B is a perspective view.
  • FIG. 8 is a partially enlarged view of FIG. 7B.
  • 9A and 9B are views showing the piston cap taken out with respect to the first example of the embodiment, FIG. 9A is a rear view, and FIG. 9B is a perspective view.
  • FIG. 10 is a partially enlarged view of FIG. 9B.
  • FIG. 11 is a front view of the piston body shown for explaining the function of the one-way rotation restricting unit with respect to the first example of the embodiment, and FIG.
  • FIG. 11A is a rotational drive of the spindle in the forward rotation direction.
  • the positional relationship between the main body side engaging portion and the cap side engaging portion is shown
  • FIG. 11B shows the main body side engaging portion and the cap side when the spindle is rotationally driven in the reverse rotation direction.
  • the positional relationship with the engaging portion is shown.
  • 12A is a partially enlarged view of FIG. 6A
  • FIG. 12B is a partially enlarged view of FIG. 6B.
  • FIG. 13 is a plan view showing the disc brake device of the second example of the embodiment.
  • FIG. 14 is a rear view showing the disc brake device of the second example of the embodiment.
  • FIG. 15 is a cross-sectional view taken along the line BB of FIG. FIG.
  • FIG. 16 is a cross-sectional view showing the piston taken out with respect to the second example of the embodiment.
  • FIG. 17 is a diagram corresponding to FIG. 7, showing a third example of the embodiment.
  • FIG. 18 is a diagram corresponding to FIG. 9, showing a third example of the embodiment.
  • FIG. 19 is a schematic cross-sectional view of a piston cap showing a fourth example of the embodiment.
  • FIG. 20 is a schematic cross-sectional view of a piston cap showing a fifth example of the embodiment.
  • FIG. 21 is a schematic diagram corresponding to FIG. 12, showing a sixth example of the embodiment.
  • FIG. 22 is a schematic diagram corresponding to FIG. 12, showing a seventh example of the embodiment.
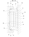
  • the disc brake device 1 of this example is an electric parking brake type disc brake device, and has both a function as a hydraulic service brake and a function as an electric parking brake.
  • the disc brake device 1 has a configuration in which a hydraulic opposed piston type brake mechanism unit 2 that functions as a service brake is combined with an electric floating type brake mechanism unit 3 that functions as a parking brake.
  • the disc brake device 1 includes an opposed piston type caliper 4 fixed to a suspension device such as a knuckle, a clamp member 5 supported to enable axial displacement with respect to the caliper 4, and a pair of pads 6a and 6b ( The outer pad 6a and the inner pad 6b) and a total of four pistons 7 and 8 (one combined piston 7 and three service-dedicated pistons 8) are provided.
  • the axial direction, the circumferential direction, and the radial direction refer to the axial direction, the circumferential direction, and the radial direction of the disk-shaped rotor 9 (see FIG. 2) that rotates together with the wheels, unless otherwise specified.
  • the front and back directions of FIGS. 1 and 7 (A) and 9 (A), the vertical direction of FIGS. 2 and 3, and the horizontal direction of FIGS. 4 to 6 correspond to the axial directions, respectively.
  • the center side of the vehicle body when assembled to the vehicle body is called the inside in the axial direction, and the outside of the vehicle body when assembled to the vehicle body is called the outside in the axial direction.
  • FIGS. 1 to 3 and the upper side of FIG. 4 correspond to the circumferential direction, respectively.
  • the right side of FIGS. 1 to 3 and the upper side of FIG. 4 are referred to as one side in the circumferential direction
  • the left side of FIGS. 1 to 3 and the lower side of FIG. 4 are referred to as the other side in the circumferential direction.
  • one side in the circumferential direction is the turning side when the vehicle is moving forward and the turning side when the vehicle is moving backward
  • the other side in the circumferential direction is the turning side when the vehicle is moving forward and the turning side when the vehicle is moving backward.
  • the vertical direction of FIG. 1 and the front and back directions of FIGS. 2 and 3 correspond to the radial direction, respectively.
  • FIGS. 2 and 3 are radially outer, and the lower side of FIG. 1 and the back side of FIGS. 2 and 3 are radially inner, respectively.
  • the entry side is the side where the rotor 9 enters the caliper 4, and the exit side is the side where the rotor 9 exits from the caliper 4.
  • the disc brake device 1 applies the braking force of the service brake to all (four in the illustrated example) cylinders 10a, 10b, 11a, 11b provided in the caliper 4 constituting the opposed piston type brake mechanism unit 2. Obtained by feeding brake oil (pressure oil), which is oil. On the other hand, the disc brake device 1 drives the electric actuator 12 constituting the floating type brake mechanism portion 3 without using the hydraulic oil by the braking force of the parking brake, and the clamp member 5 is applied to the caliper 4. Obtained by relative displacement in the axial direction.
  • the opposed piston type brake mechanism unit 2 and the floating type brake mechanism unit 3 commonly use a pair of pads 6a and 6b and one combined piston 7.
  • the caliper 4 constituting the opposed piston type brake mechanism 2 supports the outer pad 6a and the inner pad 6b so as to be movable in the axial direction (front and back directions in FIG. 1, vertical direction in FIGS. 2 and 3).
  • a caliper 4 is a cast product (including a die-cast molded product) of a light alloy such as an aluminum alloy, and has an outer body portion 13 and an inner body portion 14 arranged on both sides in the axial direction of the rotor 9 and a rotor 9. It has connecting portions 15a, 15b, 16 arranged on the outer side in the radial direction.
  • the caliper 4 is supported and fixed to the suspension device by a pair of mounting seats 17 included in the inner body portion 14.
  • the entry side connecting portion 15a is arranged on one side in the circumferential direction of the caliper 4 (on the right side of FIGS. 1 to 3 on the entry side when the vehicle is moving forward) and on the radial outside of the rotor 9, and is an outer body portion.
  • One side portion in the circumferential direction of 13 and one side portion in the circumferential direction of the inner body portion 14 are connected in the axial direction.
  • the turn-out side connecting portion 15b is arranged on the other side in the circumferential direction of the caliper 4 (on the left side in FIGS. 1 to 3 and on the turn-out side when the vehicle is moving forward) and on the radial outside of the rotor 9, and is an outer body portion.
  • the other side portion in the circumferential direction of 13 and the other side portion in the circumferential direction of the inner body portion 14 are connected in the axial direction.
  • the intermediate connecting portion 16 is arranged in the circumferential intermediate portion of the caliper 4 and radially outside the rotor 9, and axially connects the circumferential intermediate portion of the outer body portion 13 and the circumferential intermediate portion of the inner body portion 14. It is connected to.
  • the outer body portion 13 is arranged on the outer side in the axial direction of the rotor 9, and has a turn-in side outer cylinder 10a on one side in the circumferential direction and a turn-out side outer cylinder 10b on the other side in the circumferential direction.
  • the inner body portion 14 is arranged inside the rotor 9 in the axial direction, and has a turn-in side inner cylinder 11a on one side in the circumferential direction and a turn-out side inner cylinder 11b on the other side in the circumferential direction.
  • the turn-in side outer cylinder 10a and the turn-in side inner cylinder 11a are arranged coaxially so as to face each other in the axial direction, and the turn-out side outer cylinder 10b and the turn-in side inner cylinder 11b are arranged in the axial direction. They are arranged coaxially so as to face each other.
  • Each of the outer body portion 13 and the inner body portion 14 is provided with oil passages 18a and 18b inside.
  • the oil passage 18a provided inside the outer body portion 13 extends in the circumferential direction, and communicates the turn-in side outer cylinder 10a and the turn-out side outer cylinder 10b with each other.
  • the oil passage 18b provided inside the inner body portion 14 extends in the circumferential direction, and communicates the entry-side inner cylinder 11a and the exit-side inner cylinder 11b with each other.
  • the two oil passages 18a and 18b communicate with each other.
  • the combined piston 7 used for both the service brake and the parking brake is fitted inside the inner cylinder 11a on the entry side so that it can be displaced in the axial direction. I'm dressed up.
  • a service-dedicated piston 8 used only for the service brake is fitted inside the remaining three cylinders 10a, 10b, and 11b other than the turn-in side inner cylinder 11a so as to be displaced in the axial direction.
  • the entry-side inner cylinder 11a corresponds to the cylinder described in the claims, and as shown in FIGS. 3 and 4, not only is the inner body portion 14 open to the outer surface in the axial direction, but also the inner body is formed. It is also open on the inner side surface of the portion 14 in the axial direction. That is, the turn-in side inner cylinder 11a is formed so as to penetrate the inner body portion 14 in the axial direction.
  • the entry-side inner cylinder 11a is a stepped hole, and has a large-diameter hole portion 19 in the outer half portion in the axial direction and a small-diameter hole portion 20 in the inner half portion in the axial direction.
  • a guide cylinder 21 is provided at the opening edge of the small diameter hole portion 20.
  • the guide cylinder 21 extends inward in the axial direction from the opening edge portion of the small-diameter hole portion 20 of the entry-side inner cylinder 11a, and is arranged coaxially with the entry-side inner cylinder 11a.
  • the guide cylinder 21 has a cylindrical shape and has the same inner diameter as the small diameter hole portion 20.
  • the length dimension of the guide cylinder 21 in the axial direction is larger than the displacement amount of the clamp member 5 that is displaced in the axial direction when the parking brake is operated.
  • the combined piston 7 fitted to the entry-side inner cylinder 11a corresponds to the piston described in the claims and has a split structure divided into two in the axial direction.
  • the combined piston 7 is composed of a piston body 22 and a piston cap 23.
  • the piston body 22 is made of carbon steel such as S10C or S45C, has a bottomed cylindrical shape, and is fitted to the inner cylinder 11a on the entry side.
  • the piston body 22 is arranged on the outer side in the axial direction and fitted in the large diameter hole portion 19, and the small diameter cylinder portion 24 is arranged on the inner side in the axial direction and fitted in the small diameter hole portion 20. It has 25 and.
  • the large-diameter tubular portion 24 has a substantially disk-shaped partition wall portion 26.
  • the partition wall portion 26 is arranged in an axially intermediate portion of the large-diameter tubular portion 24, and partitions (closes) the inside of the large-diameter tubular portion 24 in the axial direction.
  • the axially inner end surface of the large-diameter cylinder portion 24 and the radial outer portion of the axially inner side surface of the partition wall portion 26 are the large-diameter hole portions 19 of the entry-side inner cylinder 11a. Facing the bottom surface 27 in the axial direction.
  • the small-diameter tubular portion 25 extends inward in the axial direction from the radial intermediate portion of the inner side surface in the axial direction of the partition wall portion 26, and is arranged coaxially with the large-diameter tubular portion 24.
  • a female spline 29 is provided on the inner peripheral surface of the small-diameter tubular portion 25.
  • the portion between the large-diameter cylinder portion 24 and the large-diameter hole portion 19 and the portion between the small-diameter cylinder portion 25 and the small-diameter hole portion 20 are sealed by annular piston seals 30a and 30b, respectively.
  • the piston seal 30a is mounted in a seal groove 31a formed on the inner peripheral surface of the axially intermediate portion of the large-diameter hole portion 19.
  • the piston seal 30b is mounted in a seal groove 31b formed on the inner peripheral surface of the axially intermediate portion of the small diameter hole portion 20.
  • the piston cap 23 is made of, for example, stainless steel, titanium, or synthetic resin, and is composed of a tubular portion 32 and a closing plate portion 33, and is formed in a bottomed cylindrical shape.
  • the axial inner portion of the tubular portion 32 is arranged inside the large-diameter tubular portion 24, and the axial outer portion of the tubular portion 32 is prevented from rotating with respect to the inner pad 6b.
  • the piston cap 23 is provided on the inner pad 6b (back plate 58) with respect to the engaging recess 34 provided on the axially outer end surface of the tubular portion 32.
  • the detent structure between the piston cap and the inner pad is omitted, and the frictional force acting between the piston cap and the inner pad is used to make the piston cap with respect to the inner pad. It is also possible to regulate the relative rotation of.
  • a piston boot 36 is hung between the tubular portion 32 of the piston cap 23 and the opening edge portion on the outer side in the axial direction of the large-diameter hole portion 19 of the inner cylinder 11a on the entry side.
  • the radial outer portion of the piston boot 36 is mounted in an annular recess 37 provided in the axially outer opening edge of the large diameter hole portion 19, and the radial inner portion of the piston boot 36 is a tubular portion. It is fitted outside in the axial middle portion of 32.
  • a piston ring 38 having a C-shape as a whole is externally fitted to a portion of the cylindrical portion 32 of the piston cap 23 that is arranged inside the large-diameter tubular portion 24 of the piston body 22.
  • the piston ring 38 has a circular cross-sectional shape.
  • the radial outer portion of the piston ring 38 is engaged with the holding groove 39 having a substantially rectangular cross section provided on the inner peripheral surface of the large-diameter tubular portion 24 so as to be displaced in the axial direction.
  • the piston cap 23 is capable of holding a relative displacement in the axial direction with respect to the piston main body 22.
  • the piston ring When carrying out the present invention, the piston ring is fitted inwardly on the inner peripheral surface of the large-diameter cylinder portion, and the radial inner portion of the piston ring is axially relative to the holding concave groove formed on the outer peripheral surface of the piston cap. It is also possible to engage the displacement with respect to.
  • the central axis O 23 of the piston cap 23 With the piston cap 23 held against the piston body 22, the central axis O 23 of the piston cap 23 (see FIG. 9) and the central axis O 22 of the piston body 22 (see FIG. 7) are arranged coaxially with each other. Will be done.
  • the central axis of the piston cap 23 and the central axis of the piston body 22 arranged coaxially with each other are also referred to as the central axis of the combined piston 7.
  • the one-way rotation restricting portion 40 is arranged between the piston main body 22 and the piston cap 23. Then, unlike the conventional structure described above, the piston body 22 and the piston cap 23 are not connected by being fitted in an uneven manner or are not connected in a relative non-rotatable manner in any direction. It is connected via 40.
  • the one-way rotation restricting unit 40 has a function like a one-way clutch, and the relative rotation of the piston body 22 with respect to the piston cap 23 in the forward rotation direction (arrow X direction in FIGS. 7, 11 and 12). Is restricted (blocked), but relative rotation in the reverse rotation direction (arrow Y direction in FIGS. 7, 11 and 12) is allowed. That is, as will be described later, when the one-way rotation regulating unit 40 rotationally drives the spindle 82 of the rotational linear motion conversion mechanism 79 constituting the electric actuator 12 in the forward rotation direction in order to obtain the braking force by the parking brake. (At the time of application), the relative rotation of the piston body 22 with respect to the piston cap 23 in the forward rotation direction is restricted.
  • the one-way rotation regulating unit 40 rotationally drives the spindle 82 in the reverse rotation direction (at the time of release) in order to release the braking force due to the parking brake
  • the piston body 22 rotates in the reverse direction with respect to the piston cap 23. Allows relative rotation in the direction.
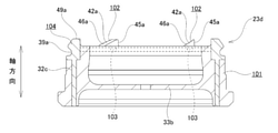
  • the one-way rotation restricting unit 40 includes a main body side engaging portion 41 on the piston main body 22 and a cap side engaging portion 42 on the piston cap 23.
  • the main body side engaging portion 41 and the cap side engaging portion 42 are mechanically (non-dissociably) engaged when the spindle 82 is rotationally driven in the forward rotation direction.
  • the main body side engaging portion 41 is provided on the axially outer surface of the partition wall portion 26 of the piston main body 22. As shown in FIGS. 7 and 8, the main body side engaging portion 41 has a convex shape protruding in the axial direction, and has a circumferential direction on the radial outer portion of the axial outer surface of the partition wall portion 26. A plurality of (four in the illustrated example) are provided at equal intervals. The plurality of main body side engaging portions 41 are arranged on concentric circles centered on the central axis O 22 of the piston main body 22.
  • Each of the engaging portions 41 on the main body side has a substantially triangular prism shape, the shape seen from the axial direction is a substantially fan shape, and the shape seen from the radial direction has a triangular shape. Therefore, in each of the main body side engaging portions 41, the axial height of the partition wall portion 26 from the axial outer surface changes with respect to the circumferential direction. Specifically, each of the main body side engaging portions 41 is directed from the rear to the front in the forward rotation direction (arrow X direction in FIG. 7) (from the front to the rear in the reverse rotation direction (arrow Y direction in FIG. 7). ), It has a shape in which the height in the axial direction gradually increases. Therefore, the main body side engaging portion 41 has the highest axial height of the front end portion in the forward rotation direction, and the lowest axial height of the rear end portion in the forward rotation direction.
  • each of the main body side engaging portions 41 has a main body side regulating surface 43 on the front side surface in the forward rotation direction.
  • the main body side regulation surface 43 is configured as a flat surface, and is arranged in parallel with the central axis O 22 of the piston main body 22. That is, the main body side regulation surface 43 is a right-angled surface perpendicular to the axial outer surface of the partition wall portion 26. In this example, the main body side regulation surface 43 is arranged on a virtual plane including the central axis O 22 of the piston main body 22.
  • each of the main body side engaging portions 41 has a main body side guide surface 44 on the axial tip surface.
  • the main body side guide surface 44 is configured to have a flat surface shape, and is an inclined surface that is linearly inclined in a direction closer to the rotor 9 from the front to the rear in the reverse rotation direction. That is, the main body side guide surface 44 is an inclined surface inclined with respect to the axially outer surface of the partition wall portion 26.
  • the inclination angle ⁇ (see FIG. 12A) with respect to the axial outer surface of the partition wall portion 26 is preferably set in the range of 10 degrees to 70 degrees, and more preferably set in the range of 25 degrees to 55 degrees. ..
  • the main body side guide surface 44 comes into contact with the cap side guide surface 46 provided on the cap side engaging portion 42, which will be described later.
  • the main body side guide surface 44 and the main body side regulation surface 43 are connected via a chamfered portion.
  • the cap-side engaging portion 42 is provided on the axially inner end surface of the tubular portion 32 of the piston cap 23. As shown in FIGS. 9 and 10, the cap-side engaging portion 42 has a convex shape protruding in the axial direction, and is equidistantly spaced in the circumferential direction on the inner end surface of the tubular portion 32 in the axial direction. There are a plurality of (four in the illustrated example) separated from each other. The plurality of cap-side engaging portions 42 are arranged on concentric circles centered on the central axis O 23 of the piston cap 23.
  • each of the cap-side engaging portions 42 has substantially the same shape as each of the main body-side engaging portions 41. That is, each of the cap-side engaging portions 42 has a substantially triangular prism shape, the shape seen from the axial direction has a substantially fan shape, and the shape seen from the radial direction has a triangular shape. Therefore, in each of the cap-side engaging portions 42, the axial height from the axially inner end surface of the tubular portion 32 changes with respect to the circumferential direction. Specifically, each of the cap-side engaging portions 42 goes from the rear to the front in the reverse rotation direction (arrow Y direction in FIG. 9) (from the front to the rear in the forward rotation direction (arrow X direction in FIG. 9). ), It has a shape in which the height in the axial direction gradually increases. Therefore, the cap-side engaging portion 42 has the highest axial height of the front end in the reverse rotation direction, and the lowest axial height of the rear end in the reverse rotation direction.
  • each of the cap-side engaging portions 42 has a cap-side regulating surface 45 on the rear side surface in the forward rotation direction.
  • the cap-side regulation surface 45 is configured to have a flat surface shape, and is arranged in parallel with the central axis O 23 of the piston cap 23. That is, the cap-side regulation surface 45 is a right-angled surface perpendicular to the axially inner end surface of the tubular portion 32. In this example, the cap-side regulation surface 45 is arranged on a virtual plane including the central axis O 23 of the piston cap 23.
  • each of the cap-side engaging portions 42 has a cap-side guide surface 46 on the axial tip surface.
  • the cap-side guide surface 46 is configured to have a flat surface shape, and is an inclined surface that is linearly inclined in a direction away from the rotor 9 from the rear to the front in the reverse rotation direction. That is, the cap-side guide surface 46 is an inclined surface inclined with respect to the end surface on the inner side in the axial direction of the tubular portion 32.
  • the inclination angle ⁇ (see FIG. 12A) with respect to the axially inner end surface of the tubular portion 32 is preferably set in the range of 10 degrees to 70 degrees, and may be set in the range of 25 degrees to 55 degrees. More preferred.
  • the inclination angle ⁇ of the cap side guide surface 46 is the same as the inclination angle ⁇ of the main body side guide surface 44. However, it is also possible to make the tilt angle ⁇ different from the tilt angle ⁇ .
  • the cap-side guide surface 46 comes into contact with the main body-side guide surface 44 provided in the main body-side engaging portion 41 when the spindle 82 is rotationally driven in the reverse rotation direction.
  • the cap-side guide surface 46 and the cap-side regulation surface 45 are connected via a chamfered portion.
  • the tilt angle ⁇ of the main body side guide surface 44 and the tilt angle ⁇ of the cap side guide surface 46 overcome the frictional force acting on the piston main body 22 by the piston seals 30a and 30b, and the main body side guide surface 44 becomes the cap side guide surface 46. It can be determined in consideration of being able to ride on the vehicle and sliding down the guide surface 44 on the main body side from the guide surface 46 on the cap side during the forward rotation drive.
  • each of the main body side regulation surfaces 43 which are right-angled surfaces, is a right-angled surface.
  • the cap-side restricting surface 45 is brought into contact with each other at the same time, and the main body-side engaging portion 41 and the cap-side engaging portion 42 are mechanically engaged with each other.
  • the piston cap 23 provided with the cap-side engaging portion 42 is prevented from rotating with respect to the inner pad 6b, and cannot rotate around its own central axis O 23. Therefore, when the spindle 82 is rotationally driven in the forward rotation direction, the relative rotation of the piston body 22 with respect to the piston cap 23 in the forward rotation direction is restricted.
  • each of the main body side guide surfaces 44 which are inclined surfaces
  • the piston cap 23 including the cap-side engaging portion 42 is capable of holding a relative displacement in the axial direction with respect to the piston main body 22 including the main body-side engaging portion 41, and is laterally outward in the axial direction.
  • the displacement is regulated by the rotor 9. Therefore, the cap-side guide surface 46 can push up the main body-side guide surface 44 in the axial direction (move to the anti-rotor 9 side) by utilizing the inclination.
  • relative rotation (displacement) of the piston body 22 with respect to the piston cap 23 in the reverse rotation direction is allowed.
  • the play (play) in the axial direction between the piston ring 38 and the holding concave groove 39 is sufficiently large.
  • the piston cap 23 is held so as to be able to be displaced relative to the piston main body 22 in the axial direction by the amount that the main body side engaging portion 41 can get over the cap side engaging portion 42. Therefore, it is allowed that the main body side engaging portion 41 gets over the cap side engaging portion 42 and the piston main body 22 rotates relative to the piston cap 23 in the reverse rotation direction.
  • an axial force transmission unit 47 for transmitting an axial force between the piston body 22 and the piston cap 23 is further provided. Be prepared.
  • the axial force transmission unit 47 includes a main body side transmission surface 48 provided on the piston main body 22 and a cap side transmission surface 49 provided on the piston cap 23.
  • the transmission surface 48 on the main body side and the transmission surface 49 on the cap side are arranged so as to face each other in the axial direction.
  • the main body side transmission surface 48 has an annular shape, and is radially outer side of the main body side engaging portion 41 of the axial outer surface of the partition wall portion 26 of the piston main body 22. It is prepared.
  • the main body side transmission surface 48 is configured in a flat surface shape, and is arranged on a virtual plane orthogonal to the central axis O 22 of the piston main body 22.
  • the cap-side transmission surface 49 has an annular shape, and is radially inside the end surface of the cylindrical portion 32 of the piston cap 23 in the radial direction with respect to the cap-side engaging portion 42. It is provided on the outside.
  • the cap-side transmission surface 49 is configured to have a flat surface shape, and is arranged on a virtual plane orthogonal to the central axis O 23 of the piston cap 23.
  • the service-dedicated piston 8 has a two-divided structure like the combined piston 7. As shown in FIG. 3, the service-dedicated piston 8 includes, for example, a cylinder portion 106 made of carbon steel and having a bottomed cylindrical shape, and a lid portion 107 made of stainless steel, for example, attached to the tip portion of the cylinder portion 106. Consists of.
  • a hydraulic chamber 50 for introducing pressure oil is formed between the bottom surface of the service-dedicated piston 8 and the inner portions of the cylinders 10a, 10b, and 11b in which the service-dedicated piston 8 is fitted.
  • an annular piston seal 52 is mounted on the seal groove 51 formed on the inner peripheral surfaces of the cylinders 10a, 10b, and 11b.
  • a dust cover 53 is bridged between the opening edges of the cylinders 10a, 10b, and 11b and the tip of the service-dedicated piston 8.
  • Brake oil is sent to the hydraulic chambers 28 and 50 of the cylinders 10a, 10b, 11a and 11b through the oil passages 18a and 18b provided in the outer body portion 13 and the inner body portion 14.
  • the pressure receiving area of the combined piston 7 and the pressure receiving area of the service-dedicated piston 8 facing the combined piston 7 are made equal to each other. Therefore, at the time of service braking, the combined piston 7 and the service-dedicated piston 8 (and other service-dedicated pistons 8) facing the combined piston 7 in the axial direction exert equal forces on both sides of the rotor 9 in the axial direction. Press.
  • the opening of the oil passage 18a is closed by the bleeder screw 54.
  • the guide wall portion 55a arranged on one side in the circumferential direction is provided with a guide concave groove 56a opened on the other side in the axial direction and the other side in the circumferential direction, and the guide wall portion 55b arranged on the other side in the circumferential direction is provided with the guide wall portion 55b.
  • a guide concave groove 56b that opens on one side in the axial direction and the circumferential direction is provided.
  • the outer pad 6a and the inner pad 6b are arranged on both sides in the axial direction of the rotor 9. Specifically, the outer pad 6a is arranged between the rotor 9 and the outer body portion 13, and the inner pad 6b is arranged between the rotor 9 and the inner body portion 14.
  • the outer pad 6a and the inner pad 6b each include a lining (friction material) 57 and a metal back plate (pressure plate) 58 that supports the back surface of the lining 57.
  • the inner pad 6b corresponds to the pad described in the claims.
  • the back plate 58 is provided with ear portions 59 protruding in the circumferential direction on both sides in the circumferential direction. Then, the pair of ear portions 59 provided on the outer pad 6a are loosely engaged with the pair of guide concave grooves 56a and 56b provided on the outer body portion 13, respectively. In addition, the pair of ear portions 59 provided on the inner pad 6b are loosely engaged with the pair of guide concave grooves 56a and 56b provided on the inner body portion 14, respectively. As a result, the outer pad 6a and the inner pad 6b can be displaced in the axial direction with respect to the caliper 4, and the displacement in the circumferential direction and the radial direction cannot be supported.
  • the back surface of the back plate 58 constituting the inner pad 6b is provided with a substantially columnar engaging protrusion 35 (see FIG. 5) protruding inward in the axial direction.
  • the engaging recess 34 of the piston cap 23 constituting the combined piston 7 engages with the engaging protrusion 35.
  • the clamp member 5 constituting the floating type brake mechanism portion 3 is made of an aluminum alloy or an iron alloy and has an inverted U shape.
  • the clamp member 5 is arranged in a portion between the entry side connecting portion 15a and the intermediate connecting portion 16 in the circumferential direction, and straddles the pair of pads 6a and 6b and the inner body portion 14 from the outside in the radial direction. That is, the clamp member 5 is attached so as to be mounted on the caliper 4.
  • the clamp member 5 has a bifurcated pressing portion 60 on the outer side in the axial direction, and has a clamp base 61 on the inner side in the axial direction.
  • the clamp member 5 is arranged radially outside the rotor 9 and has a bridge portion 62 that axially connects the pressing portion 60 and the clamp base portion 61.
  • the pressing portion 60 has a turn-in side outer cylinder 10a between the axial inner side surface of one half of the outer body portion 13 in the circumferential direction and the axial outer surface of the half portion of the outer pad 6a in the circumferential direction. It is inserted from the outside in the radial direction so as to straddle it.
  • the clamp base 61 is arranged inside the inner body portion 14 in the axial direction, and includes a base main body 63 and one arm portion 64 extending from the base main body 63 to the other side in the circumferential direction.
  • the base body 63 has an accommodating portion 65 which is a substantially columnar space inside.
  • the accommodating portion 65 is open outward in the axial direction, but the opening inside in the axial direction is closed by the bottom portion 66.
  • the accommodating portion 65 has an inner diameter slightly larger than the outer diameter of the guide cylinder 21 provided in the inner body portion 14.
  • a through hole 67 penetrating in the axial direction is provided in the central portion of the bottom portion 66.
  • the tip of the arm 64 is provided with a support cylinder 68 extending in the axial direction.
  • the support cylinder portion 68 is open on both sides in the axial direction, and the central axis of the support cylinder portion 68 and the central axis of the accommodating portion 65 provided in the base main body 63 are parallel to each other.
  • the clamp member 5 as described above supports the caliper 4 so as to be displaced in the axial direction.
  • the clamp member 5 is supported by the caliper 4 by a total of three locations of the first guide portion 69, the second guide portion 70, and the third guide portion 71.
  • the first guide portion 69 includes a guide cylinder 21 provided in the inner body portion 14 and an accommodating portion 65 provided in the clamp base 61. That is, the first guide portion 69 is configured by fitting the front half portion of the guide cylinder 21 inside the accommodating portion 65 so as to be relatively displaced in the axial direction.
  • the central axis of the guide cylinder 21 and the central axis of the accommodating portion 65 are arranged coaxially with each other. The radial gap between the outer peripheral surface of the guide cylinder 21 and the inner peripheral surface of the accommodating portion 65 is a guide even when the pressing portion 60 and the clamp base 61 are displaced in the axial direction apart from each other during parking braking.
  • the size is set so as not to cause prying between the outer peripheral surface of the cylinder 21 and the inner peripheral surface of the accommodating portion 65.
  • a seal groove 72 having a substantially rectangular cross section is formed on the inner peripheral surface of the accommodating portion 65 in the axial direction, and an annular seal member 73 is attached to the seal groove 72.
  • the seal member 73 is sandwiched between the outer peripheral surface of the guide cylinder 21 and the inner peripheral surface of the accommodating portion 65, and the guide cylinder 21 is internally fitted to the accommodating portion 65 in a sealed manner.
  • a dust cover 74 is bridged between the opening edge of the accommodating portion 65 and the axially intermediate portion of the outer peripheral surface of the guide cylinder 21.
  • the second guide portion 70 is provided at the same position as the intermediate connecting portion 16 in the circumferential direction, which is displaced from the first guide portion 69 in the circumferential direction. Together with the first guide portion 69, the clamp member 5 is attached to the caliper 4. Supports axial displacement as possible.
  • Such a second guide portion 70 includes a support cylinder portion 68 provided on the arm portion 64 constituting the clamp base portion 61, and an inner side guide pin 75 fixed to the inner body portion 14.
  • the inner side guide pin 75 has an axial outer portion fixed to the inner body portion 14, and an axial intermediate portion is inserted inside the support cylinder portion 68 so as to be slidable (relative displacement is possible) in the axial direction. There is.
  • the inner side guide pin 75 is axially bridged between the inner body portion 14 and the support cylinder portion 68.
  • the central axis of the inner side guide pin 75 and the central axis of the guide cylinder 21 are arranged in parallel with each other.
  • the third guide portion 71 is provided at the same position as the first guide portion 69 in the circumferential direction, and together with the first guide portion 69 and the second guide portion 70, the clamp member 5 is displaced in the axial direction with respect to the caliper 4. Support as much as possible.
  • Such a third guide portion 71 is composed of a protruding support portion 76 provided on the outer body portion 13 and an outer side guide pin 77 fixed to the clamp member 5.
  • the protruding support portion 76 is provided on the radial outer side of the entry-side outer cylinder 10a in the outer body portion 13.
  • the outer side guide pin 77 has an axial inner portion fixed to the pressing portion 60 of the clamp member 5, and the axial outer portion is slidable in the axial direction (relative displacement is possible) inside the protruding support portion 76. It is inserted in. Therefore, the outer guide pin 77 is axially bridged between the outer body portion 13 and the pressing portion 60. In addition, the central axis of the outer guide pin 77 and the central axis of the accommodating portion 65 are arranged in parallel with each other.
  • the electric actuator 12 constituting the floating type brake mechanism portion 3 includes an electric drive device (MGU) 78 arranged axially inside the clamp base 61 and a rotation linear motion conversion mechanism arranged inside the accommodating portion 65. It is equipped with 79.
  • MGU electric drive device
  • the electric drive device 78 includes a casing 80 and a reduction mechanism such as an electric motor and a gear type speed reducer, which are drive sources, housed inside the casing 80, respectively. Then, the rotating shaft 81 to which the final gear constituting the reduction mechanism is fixed is inserted inside the through hole 67 formed in the bottom portion 66 of the clamp base 61.
  • a reduction mechanism such as an electric motor and a gear type speed reducer, which are drive sources
  • the rotary linear motion conversion mechanism 79 is a feed screw mechanism that converts a rotary motion into a linear motion and changes the total length in the axial direction at the time of operation, and is a rotary screw mechanism described in the scope of the patent claim. It includes a spindle 82 corresponding to the member and a nut 83 corresponding to the linear motion member described in the scope of the patent claim.
  • the spindle 82 has a male screw portion 84 on the outer peripheral surface extending from the tip portion (outer portion in the axial direction) to the intermediate portion.
  • the portion of the spindle 82 near the base end has a flange portion 85 having a diameter larger than that of the other portions.
  • the base end portion (axial inner portion) of the spindle 82 is rotatably supported inside the through hole 67 formed in the bottom portion 66 of the clamp base portion 61, and cannot rotate relative to the tip end portion of the rotary shaft 81. It is connected to the. Therefore, the spindle 82 can be rotationally driven by an electric motor.
  • the tip of the spindle 82 is inserted inside the combined piston 7 from the inside in the axial direction.
  • the central axis of the spindle 82 is coaxial with the central axis of the accommodating portion 65 (guide cylinder 21).
  • a thrust bearing 86 is arranged between the axial inner surface of the flange portion 85 and the axial outer surface of the bottom portion 66.
  • the nut 83 has a female threaded portion 87 on the inner peripheral surface, and is screwed into the male threaded portion 84 provided on the spindle 82.
  • the tip portion (axially outer portion) of the nut 83 is provided with a male spline 88 having a larger diameter than the other portions. Then, the nut 83 is spline-engaged with the female spline 29 formed on the inner peripheral surface of the small-diameter cylinder portion 25 in a state where the nut 83 is arranged inside the small-diameter cylinder portion 25 of the piston main body 22. Therefore, the nut 83 is engaged with the combined piston 7 so that the relative displacement in the axial direction is possible and the relative rotation is impossible.
  • the nut 83 can be moved in the axial direction by rotating the spindle 82. Specifically, when the spindle 82 is rotationally driven in the forward rotation direction, the nut 83 moves toward the rotor 9 side and presses the piston body 22 in the axial direction, whereas the spindle 82 is in the reverse rotation direction. When the nut 83 is rotationally driven, the nut 83 moves toward the anti-rotor 9 side.
  • the electric motor constituting the electric drive device 78 is energized, and the spindle 82 constituting the rotation linear motion conversion mechanism 79 is rotationally driven in the forward rotation direction.
  • torque in the forward rotation direction acts from the nut 83 on the piston body 22. Therefore, the piston body 22 tends to rotate relative to the piston cap 23 in the forward rotation direction.
  • the piston seal 30a (30b) is sandwiched between the inside cylinder 11a on the entry side of the piston body 22, the frictional force acting between the piston body 22 and the piston seal 30a (30b) causes the piston seal 30a (30b) to be sandwiched between the inner cylinders 11a. , The rotation of the piston body 22 is restricted.
  • the nut 83 and the piston body 22 do not rotate, and the nut 83 is moved outward in the axial direction with respect to the inner body portion 14. Then, the tip of the nut 83 is pressed against the axial inner side surface of the partition wall portion 26 of the combined piston 7, and the combined piston 7 is pushed out toward the rotor 9, so that the inner pad 6b is moved to the axial inner surface of the rotor 9. Press.
  • the reaction force due to the pressing is transmitted from the spindle 82 to the clamp member 5 via the thrust bearing 86.
  • the spindle 82 and the clamp member 5 are displaced inward in the axial direction with respect to the caliper 4.
  • the guide cylinder 21 and the accommodating portion 65 (first guide portion 69), the inner side guide pin 75 and the support cylinder portion 68 (second guide portion 70), and the outer side guide pin 77 and the protruding support portion 76 ( The third guide portion 71) and the third guide portion 71) slide in the axial direction, respectively.
  • the outer pad 6a is pressed against the axial outer surface of the rotor 9 by the pressing portion 60 of the clamp member 5.
  • the disc brake device 1 obtains the braking force of the parking brake by pushing out the combined piston 7 by using the electric actuator 12 and displacing the clamp member 5 inward in the axial direction with respect to the caliper 4. ..
  • the spindle 82 is rotationally driven in the reverse rotation direction by the electric motor constituting the electric drive device 78.
  • torque in the reverse rotation direction acts from the nut 83 on the piston body 22. Therefore, the piston body 22 tends to rotate relative to the piston cap 23 in the reverse rotation direction.
  • the piston seal 30a (30b) is sandwiched between the piston body 22 and the inner cylinder 11a on the entry side, the torque acting on the piston body 22 from the nut 83 locks the nut 83 and the spindle 82.
  • the rotation of the piston body 22 is restricted by the frictional force acting between the piston seal 30a (30b) and the piston seal 30a (30b) unless it becomes excessive as in the case of the state.
  • the nut 83 is displaced inward in the axial direction with respect to the inner body portion 14.
  • the clamp member 5 is displaced axially outward with respect to the inner body portion 14.
  • the guide cylinder 21, the accommodating portion 65, the inner side guide pin 75 and the support cylinder portion 68, and the outer side guide pin 77 and the protruding support portion 76 slide in the axial direction, respectively.
  • the braking force due to the parking brake is stable while having a structure that can suppress the temperature rise of the brake oil contained in the hydraulic chamber 28 of the inner cylinder 11a on the entry side. And the problem that occurs when the nut 83 is fully released to the anti-rotor 9 side can be solved.
  • the combined piston 7 has a two-divided structure of the piston body 22 and the piston cap 23. Therefore, even when the temperature rises due to the inner pad 6b being pressed against the rotating rotor 9, in this example using the combined piston 7, the inner pad 6b is accommodated in the hydraulic chamber 28 as compared with the case where the piston is integrated. The amount of heat transferred to the brake oil that has been applied can be reduced. In addition, the hydraulic chamber 28 can be kept away from the inner pad 6b due to the dual-purpose piston 7 having a two-divided structure. Therefore, it is possible to suppress the temperature rise of the brake oil. As a result, deterioration of the brake oil can be suppressed, and the occurrence of the vapor lock phenomenon can be suppressed.
  • the spindle 82 is rotationally driven in the forward rotation direction, and the torque in the forward rotation direction acting from the nut 83 on the piston body 22 is the piston body 22 and the piston. It is supported by the frictional force with the seal 30a (30b).
  • the contact state between the piston body 22 and the piston seal 30a (30b) may become unstable, and the piston seal 30a (30b) may not provide sufficient frictional force. be.
  • the piston body 22 rotates relative to the piston cap 23 in the forward rotation direction, the combined piston 7 cannot be pushed out to the rotor 9 side, and it is difficult to obtain a stable braking force. Become.
  • the one-way rotation restricting portion 40 is arranged between the piston body 22 and the piston cap 23 constituting the combined piston 7, sufficient friction is provided by the piston seal 30a (30b). Even when no force is obtained, it is possible to prevent the piston body 22 and the piston cap 23 from rotating relative to each other.
  • the piston body-side regulation surface 43 which is a right-angled surface of the body-side engagement portion 41 provided on the piston body 22
  • the main body side engaging portion 41 and the cap side engaging portion 42 are mechanically engaged by contacting the cap side regulation surface 45, which is a right-angled surface of the cap side engaging portion 42 provided on the cap 23. be able to. Therefore, it is possible to regulate the relative rotation of the piston body 22 with respect to the piston cap 23 in the forward rotation direction. Therefore, the braking force of the parking brake can be stably obtained.
  • the engaging protrusion 35 provided in the inner pad 6b is engaged with the engaging recess 34 provided in the piston cap 23 to prevent the piston cap 23 from rotating. Therefore, as compared with the case where the rotation stop is performed by using the frictional force acting between the piston cap and the inner pad, the rotation stop can be surely performed and the braking force can be obtained more stably. ..
  • the spindle 82 is rotationally driven in the reverse rotation direction in order to release the braking force due to the parking brake, the nut 83 is placed on the axial outer surface of the flange portion 85 due to a malfunction of the electric motor or pad replacement work. Even when the motor is fully released to the anti-rotor 9 side until it hits, it is possible to effectively prevent the durability of the electric motor and the reduction mechanism constituting the electric drive device 78 from deteriorating.
  • the cap-side guide surface 46 which is the inclined surface of the cap-side engaging portion 42.
  • the piston cap 23 provided with the cap-side engaging portion 42 is able to hold a relative displacement in the axial direction with respect to the piston main body 22 by using the piston ring 38, and is displaced outward in the axial direction. Is regulated by the rotor 9. Therefore, the cap-side guide surface 46 can push up the main body-side guide surface 44 in the axial direction (move to the anti-rotor 9 side) by utilizing the inclination. As a result, relative rotation (displacement) of the piston body 22 with respect to the piston cap 23 in the reverse rotation direction is allowed.
  • the disc brake device 1a of this example is also an electric parking brake type disc brake device, as in the first example of the embodiment, and has a function as a hydraulic service brake and a function as an electric parking brake. I also have it.
  • the disc brake device 1a includes a support 89, a caliper 4a, a pair of pads 6c and 6d (outer pad 6c, inner pad 6d), one piston 90, and an electric actuator 12.
  • the support 89 is a cast product of an iron-based alloy such as cast iron, and has a support base 91 arranged axially inside the rotor 9 (see FIG. 15) and an outer connecting portion 92 arranged axially outside the rotor 9. And a pair of connecting arm portions 93 for axially connecting the ends on both sides of the support base 91 in the circumferential direction and the ends on both sides in the circumferential direction of the outer connecting portion 92.
  • the support 89 is fixed to the suspension device using a pair of mounting holes 94 formed in the radial inner portion of the support base 91.
  • a guide hole (not shown) opened inward in the axial direction is formed in the radial outer portion (rota pass portion) of the connecting arm portion 93.
  • the outer pad 6c is arranged outside the rotor 9 in the axial direction, and is supported so as to be displaced in the axial direction with respect to the support 89.
  • the inner pad 6d is located inside the rotor 9 in the axial direction and is supported so as to be displaced in the axial direction with respect to the support 89.
  • the caliper 4a is made of an aluminum alloy or an iron alloy and has an inverted U shape.
  • the caliper 4a has a bifurcated pressing portion 60a on the outer side in the axial direction and a clamp base 61a on the inner side in the axial direction.
  • the caliper 4a is arranged radially outside the rotor 9 and has a bridge portion 62a that axially connects the pressing portion 60a and the clamp base portion 61a.
  • the clamp base 61a includes a base body 63a and a pair of arm portions 64a extending from the base body 63a on both sides in the circumferential direction.
  • the base body 63a has a cylinder 95 which is a substantially columnar space inside.
  • the cylinder 95 has an opening on the outer side in the axial direction, but the opening on the inner side in the axial direction is closed by the bottom portion 66a.
  • the caliper 4a as described above supports the displacement in the axial direction with respect to the support 89.
  • the axially inner ends of the guide pins 96 are fixed to the pair of arm portions 64a constituting the clamp base 61a, and the axially inner ends to the intermediate portions of the guide pins 96 are supported 89.
  • the boot 97 is bridged between the outer peripheral surface of the guide pin 96 and the opening of the guide hole.
  • the piston 90 has a divided structure divided into two in the axial direction.
  • the piston 90 is composed of a piston body 22a and a piston cap 23a.
  • the piston body 22a is made of metal such as carbon steel, has a bottomed cylindrical shape, and is fitted to the cylinder 95.
  • the piston body 22a has a substantially disk-shaped partition wall portion 26a.
  • the partition wall portion 26a is arranged in the axial intermediate portion of the piston main body 22a, and partitions the inside of the piston main body 22a in the axial direction.
  • a female spline 29a is provided on the inner peripheral surface of the piston body 22a in the axial direction of the partition wall portion 26a.
  • the portion between the piston body 22a and the cylinder 95 is sealed by an annular piston seal 30c.
  • the piston seal 30c is mounted in a seal groove 31c formed on the inner peripheral surface of the axially outer portion of the cylinder 95.
  • the piston cap 23a is made of, for example, stainless steel, titanium, or synthetic resin, and is composed of a tubular portion 32a and a closing plate portion 33a, and is formed in a bottomed cylindrical shape.
  • the axial inner portion of the tubular portion 32a is arranged inside the piston body 22a, and the axial outer portion of the tubular portion 32a is prevented from rotating with respect to the inner pad 6d.
  • a piston boot 36a is hung between the tubular portion 32a of the piston cap 23a and the opening edge portion on the outer side in the axial direction of the cylinder 95.
  • a piston ring 38a is externally fitted to a portion of the cylindrical portion 32a of the piston cap 23a that is arranged inside the piston body 22a.
  • the piston ring 38a has a circular cross-sectional shape, and the radial outer portion thereof has a holding concave groove 39a having a substantially rectangular cross section provided on the inner peripheral surface of the axial outer portion of the piston body 22a. Axial displacement is possible.
  • the piston body 22a and the piston cap 23a are connected via a one-way rotation restricting unit 40 having the same configuration as the first example of the above-described embodiment. Therefore, on the axially outer surface of the partition wall portion 26a of the piston main body 22a, main body side engaging portions 41 (see FIG. 7 and the like) each having a convex shape are arranged at equal intervals in the circumferential direction. Cap-side engaging portions 42 (see FIG. 9 and the like), each of which has a convex shape, are arranged at equal intervals in the circumferential direction on the axially inner end faces of the tubular portion 32a of the piston cap 23a.
  • an axial force is applied between the piston body 22 and the piston cap 23 between the piston body 22a and the piston cap 23a separately from the one-way rotation restricting unit 40. Further, an axial force transmission unit 47 for transmission is provided. Therefore, of the axial outer surface of the partition wall portion 26a of the piston main body 22a, the annular main body side transmission surface 48 is provided on the radial outer side of the main body side engaging portion 41, and the piston cap 23a is provided with an annular main body side transmission surface 48.
  • An annular cap-side transmission surface 49 is provided on the radially outer side of the axially inner end surface of the tubular portion 32a with respect to the cap-side engaging portion 42.
  • the electric actuator 12 has the same configuration as that of the first example of the embodiment, and the electric drive device 78 arranged axially inside the clamp base 61a and the rotation arranged in the cylinder 95. It is equipped with a linear motion conversion mechanism 79. Then, the rotary shaft 81 constituting the electric drive device 78 is inserted inside the through hole 67a formed in the bottom portion 66a of the clamp base portion 61a, and the base end portion of the spindle 82 constituting the rotary linear motion conversion mechanism 79 is rotated. It is non-rotatably connected to the tip of the shaft 81.
  • the nut 83 screwed into the tip to the middle of the spindle 82 has a male spline 88 formed on the outer peripheral surface engaged with a female spline 29a formed on the inner peripheral surface of the piston 90.
  • the nut 83 is arranged inside the piston 90 so that it can be displaced in the axial direction and relative rotation is impossible.
  • the brake oil is sent to the hydraulic chamber 98 of the cylinder 95 provided in the caliper 4a through an oil passage (not shown).
  • the piston 90 is pushed out from the cylinder 95, and the inner pad 6d is pressed against the inner side surface in the axial direction of the rotor 9.
  • the reaction force due to the pressing is transmitted from the spindle 82 to the caliper 4a via the thrust bearing 86.
  • the caliper 4a is displaced inward in the axial direction with respect to the support 89.
  • the disc brake device 1 obtains the braking force by the service brake by pushing out the piston 90 by introducing the brake oil.
  • the electric motor constituting the electric drive device 78 is energized and the spindle 82 is energized as in the structure of the first example of the embodiment. Is driven to rotate in the forward rotation direction. As a result, the nut 83 is displaced outward in the axial direction with respect to the support 89. Then, the tip portion of the nut 83 is pressed against the axial inner surface of the partition wall portion 26a of the piston body 22a, and the piston 90 is pushed toward the rotor 9 to press the inner pad 6d against the axial inner surface of the rotor 9.
  • the reaction force due to the pressing is transmitted from the spindle 82 to the caliper 4a via the thrust bearing 86.
  • the caliper 4a is displaced inward in the axial direction with respect to the support 89.
  • the outer pad 6c is pressed against the axial outer surface of the rotor 9 by the pressing portion 60a of the caliper 4a.
  • the rotor 9 is sandwiched from both sides in the axial direction to obtain braking force.
  • the disc brake device 1a obtains the braking force of the parking brake by pushing out the piston 90 by using the electric actuator 12 and displacing the caliper 4a inward in the axial direction with respect to the support 89.
  • the piston body 22a is a piston even when a sufficient frictional force cannot be obtained by the piston seal 30c. It is possible to prevent the cap 23a from rotating relative to the positive rotation direction. Therefore, the braking force of the parking brake can be stably obtained.
  • the one-way rotation restricting unit 40 is provided between the piston body 22a and the piston cap 23a, even when the nut 83 is fully released to the anti-rotor 9 side due to a malfunction of the electric motor or the like. , The piston body 22a can be allowed to rotate relative to the piston cap 23a in the reverse rotation direction. Therefore, it is possible to effectively prevent the durability of the electric motor and the speed reduction mechanism constituting the electric drive device 78 from being lowered.
  • the piston 90 has a two-divided structure of the piston body 22a and the piston cap 23a, and the piston body 22a and the piston cap 23a are rotated in one direction. Since the connection is made via the regulating portion 40, the temperature rise of the brake oil can be suppressed, the braking force due to the parking brake can be stably obtained, and the nut 83 is fully released to the anti-rotor 9 side. Can solve the problem that occurs in. Other configurations and actions and effects are the same as those of the first embodiment.
  • FIGS. 17 to 18 A third example of the embodiment will be described with reference to FIGS. 17 to 18.
  • the same components as those of the first example of the embodiment are designated by the same reference numerals as those of the first example of the embodiment, and detailed description thereof will be omitted.
  • This example is a modification of the first example of the embodiment, and is a structure of a one-way rotation restricting portion 40a provided between the piston body 22b and the piston cap 23b constituting the combined piston 7 (see FIG. 6 and the like). Is changed from the structure of the first example of the embodiment.
  • the one-way rotation restricting unit 40a of this example regulates the relative rotation of the piston body 22b with respect to the piston cap 23b in the forward rotation direction (arrow X direction in FIGS. 17 and 18), and regulates the relative rotation in the reverse rotation direction (FIG. 17).
  • arrow X direction in FIGS. 17 and 18 In addition to having a function of allowing relative rotation in the direction of the arrow Y in FIG. 18, it also has a function of transmitting an axial force between the piston body 22b and the piston cap 23b.
  • the one-way rotation restricting portion 40a includes a main body side sliding contact surface 99 provided on the axial outer surface of the partition wall portion 26b constituting the piston main body 22b, and an axially inner end surface of the tubular portion 32b constituting the piston cap 23b. It is composed of a cap-side sliding contact surface 100 provided in the above.
  • the main body side sliding contact surface 99 and the cap side sliding contact surface 100 are arranged so as to face each other in the axial direction.
  • the main body side sliding contact surface 99 is configured in a flat surface shape, and is arranged on a virtual plane orthogonal to the central axis of the piston main body 22b.
  • the main body side sliding contact surface 99 has an annular shape, and is surface-treated to increase the friction coefficient between the main body side sliding contact surface 99 and the cap side sliding contact surface 100.
  • the main body side sliding contact surface 99 is roughened and has a rough surface with a larger surface roughness than the other portions of the partition wall portion 26b.
  • the cap-side sliding contact surface 100 is configured as a flat surface and is arranged on a virtual plane orthogonal to the central axis of the piston cap 23b.
  • the cap-side sliding contact surface 100 has an annular shape, and is composed of a friction member in order to increase the friction coefficient between the main body-side sliding contact surface 99 and the cap-side sliding contact surface 100.
  • the cap-side sliding contact surface 100 is made of an elastic material such as rubber.
  • the disc brake device of this example including the one-way rotation restricting unit 40a is the first example of the embodiment when the spindle 82 (see FIG. 3 and the like) is rotationally driven in the forward rotation direction in order to obtain the braking force by the parking brake.
  • the nut 83 (see FIG. 3 and the like) is moved outward in the axial direction, and the tip end portion of the nut 83 is pressed against the inner side surface of the partition wall portion 26b of the piston body 22b in the axial direction.
  • the combined piston 7 is pushed out toward the rotor 9 (see FIG. 2), and the inner pad 6b (see FIG. 3 and the like) is pressed against the inner side surface of the rotor 9 in the axial direction.
  • the reaction force due to the pressing is transmitted from the spindle 82 to the clamp member 5 (see FIG. 3 and the like).
  • the spindle 82 and the clamp member 5 are displaced inward in the axial direction with respect to the caliper 4 (see FIG. 3 and the like).
  • the outer pad 6a is pressed against the axial outer surface of the rotor 9 by the clamp member 5.
  • the rotor 9 is sandwiched from both sides in the axial direction by the pair of pads 6a and 6b, and braking force is obtained.
  • the one-way rotation restricting portion 40a is provided between the piston body 22b and the piston cap 23b, even when a sufficient frictional force cannot be obtained by the piston seal 30a (see FIG. 3). It is possible to prevent the piston body 22b from rotating relative to the piston cap 23b in the forward rotation direction. Specifically, by sandwiching the rotor 9 from both sides in the axial direction by the pair of pads 6a and 6b, the axial force acting from the main body side sliding contact surface 99 to the cap side sliding contact surface 100 increases. As a result, the main body side sliding contact surface 99 and the cap side sliding contact surface 100 can be frictionally engaged with each other so as not to rotate relative to each other. Therefore, it is possible to prevent the piston body 22b from rotating relative to the piston cap 23b in the forward rotation direction, and it is possible to stably obtain the braking force due to the parking brake.
  • the combined piston 7 has a two-divided structure of the piston body 22b and the piston cap 23b, and the piston body 22b and the piston cap 23b are as described above. It is connected via a one-way rotation restricting unit 40a having various functions. Therefore, the temperature rise of the brake oil can be suppressed, the braking force due to the parking brake can be stably obtained, and the problem that occurs when the nut 83 is fully released to the anti-rotor 9 side can be solved. In addition, since it is not necessary to separately provide a power transmission unit, it is advantageous in reducing the size and weight of the piston body 22b and the piston cap 23b. Other configurations and actions and effects are the same as those of the first embodiment.
  • This example is a modification of the first example of the embodiment, and only the structure of the piston cap 23c constituting the combined piston 7 (see FIG. 6 and the like) is changed from the structure of the first example of the embodiment. There is.
  • the piston cap 23c is composed of a cap body 101 made of synthetic resin and a plurality of metal engaging pieces 102.
  • the cap body 101 has a cylindrical portion 32c and a closing plate portion 33b.
  • the engaging piece 102 includes a substantially columnar base portion 103 and a substantially triangular columnar cap-side engaging portion 42a.
  • the base portion 103 is molded and fixed to the axially inner portion of the tubular portion 32c constituting the cap main body 101.
  • the cap-side engaging portion 42a has the same configuration as that of the first example of the embodiment, and has a cap-side regulating surface 45a perpendicular to the axially inner end surface of the tubular portion 32c and a tubular portion. It has a cap-side guide surface 46a which is an inclined surface inclined with respect to the end surface on the inner side in the axial direction of 32c.
  • the piston cap 23c since most of the piston cap 23c is made of synthetic resin, it is housed in the hydraulic chamber 28 (see FIG. 3) as compared with the case where the piston cap is made of metal. The amount of heat transferred to the brake oil can be reduced. Therefore, the temperature rise of the brake oil can be effectively suppressed. Further, since the cap side engaging portion 42a is made of metal, the amount of wear and the amount of deformation of the cap side engaging portion 42a can be suppressed as compared with the case where the cap side engaging portion 42a is made of synthetic resin. Other configurations and actions and effects are the same as those of the first embodiment.
  • the engaging piece is composed of a metal pin having a cylindrical shape as a whole, and the base half of the pin is capped. It can also be molded and fixed to the main body, and the tip half of the pin can function as a cap-side engaging portion.
  • the cap-side engaging portion formed by the tip half of the pin is in the forward rotation direction, similarly to the cap-side engaging portion 42c (see FIG. 22) according to the seventh example of the embodiment described later.
  • the rear side surface has a cap side regulation surface, the cap side guide surface is not provided, and a corner portion (including a chamfered portion) is provided between the rear side surface and the axial tip surface in the reverse rotation direction. Will be.
  • This example is a modified example of the first example and the fourth example of the embodiment, and the structure of the piston cap 23d is changed from the structure of the first example of the embodiment.
  • the piston cap 23d has a configuration in which the piston cap 23c (see FIG. 19) of the fourth example of the embodiment is further provided with a metal axial force transmission member 104.
  • the axial force transmission member 104 has a substantially cylindrical shape, and is molded and fixed to the tubular portion 32c constituting the cap main body 101.
  • the axially inner end surface of the axial force transmission member 104 is exposed to the axially inner end surface of the tubular portion 32c, and the exposed end surface is referred to as a cap side transmission surface 49a.
  • the axially outer end face of the axial force transmitting member 104 is also exposed to the axially outer end face of the tubular portion 32c.
  • the axially inner portion of the axial force transmitting member 104 is exposed on the outer peripheral surface of the tubular portion 32c, and the portion is provided with a holding concave groove 39a.
  • the axially outer portion of the axial force transmitting member 104 is molded inside the tubular portion 32c.
  • the axial force transmission member 104 and the plurality of engagement pieces 102 are separate bodies, but the power transmission member and the plurality of engagement pieces can be integrally configured or fixed to each other.
  • This example is a modification of the first example of the embodiment, and the structure of the cap-side engaging portion 42b is changed from the structure of the first example of the embodiment.
  • a plurality of cap-side engaging portions 42b are provided on the end faces of the cylindrical portion 32d of the piston cap 23e on the inner side in the axial direction.
  • Each of the cap-side engaging portions 42b has a concave shape recessed in the axial direction, and is provided on the inner end surface of the tubular portion 32d in the axial direction at equal intervals in the circumferential direction. ..
  • the plurality of cap-side engaging portions 42b are arranged on a concentric circle centered on the central axis of the piston cap 23e.
  • Each of the cap-side engaging portions 42b has a shape recessed in a substantially triangular columnar shape, and the axial depth from the axially inner end face of the tubular portion 32d changes with respect to the circumferential direction. Specifically, each of the cap-side engaging portions 42b is directed from the rear to the front in the forward rotation direction (arrow X direction in FIG. 21) (from the front to the rear in the reverse rotation direction (arrow Y direction in FIG. 21). ), It has a shape in which the depth in the axial direction gradually becomes deeper. Therefore, the cap-side engaging portion 42b has the deepest axial depth of the front end in the forward rotation direction and the shallowest axial depth of the rear end in the forward rotation direction.
  • Each of the cap-side engaging portions 42b has a cap-side regulating surface 45b on the front side surface in the forward rotation direction.
  • the cap-side regulation surface 45b is configured as a flat surface and is arranged parallel to the central axis of the piston cap 23e. That is, the cap-side regulation surface 45b is a right-angled surface perpendicular to the axially inner end surface of the tubular portion 32d. In this example, the cap-side regulation surface 45b is arranged on a virtual plane including the central axis of the piston cap 23e.
  • Each of the cap-side engaging portions 42b has a cap-side guide surface 46b on the bottom surface in the axial direction.
  • the cap-side guide surface 46b is formed in a flat surface shape, and is an inclined surface that is linearly inclined in a direction away from the rotor 9 from the rear to the front in the reverse rotation direction. That is, the cap-side guide surface 46b is an inclined surface inclined with respect to the end surface on the inner side in the axial direction of the tubular portion 32d.
  • the cap-side guide surface 46b comes into contact with the main body-side guide surface 44 provided in the main body-side engaging portion 41 when the spindle 82 is rotationally driven in the reverse rotation direction.
  • the cap-side guide surface 46b and the cap-side regulation surface 45b are connected via a chamfered portion.
  • each of the main body side guide surfaces 44 which are inclined surfaces, is a cap side guide surface which is an inclined surface.
  • the cap-side guide surface 46b can push up the main body-side guide surface 44 in the axial direction (move to the anti-rotor 9 side) by utilizing the inclination.
  • relative rotation (displacement) of the piston body 22 with respect to the piston cap 23e in the reverse rotation direction is allowed.
  • each of the main body side engaging portions is formed into a concave shape recessed in the axial direction, and each of the cap side engaging portions is formed. It can also have a convex shape protruding in the axial direction.
  • This example is a modification of the first example of the embodiment, and the structures of the main body side engaging portion 41b and the cap side engaging portion 42c are changed from the structures of the first example of the embodiment. ..
  • Each of the engaging portions 41b on the main body side has a substantially fan shape when viewed from the axial direction and a substantially quadrant shape when viewed from the radial direction. Therefore, in each of the main body side engaging portions 41b, the axial heights of the partition wall portions 26c and the like change with respect to the circumferential direction.
  • Each of the main body side engaging portions 41b has a main body side regulation surface 43a on the front side surface in the forward rotation direction, and has a main body side guide surface 44b on the axial tip surface.
  • the main body side guide surface 44b is a curved surface (partially cylindrical surface) curved in a direction closer to the rotor 9 from the front to the rear in the reverse rotation direction.
  • Each of the cap-side engaging portions 42c has a substantially rectangular parallelepiped shape, the shape seen from the axial direction is a substantially fan shape, and the shape seen from the radial direction is a rectangular shape. Therefore, in each of the cap-side engaging portions 42c, the axial height of the tubular portion 32e from the inner end surface in the axial direction is constant with respect to the circumferential direction.
  • Each of the cap-side engaging portions 42c has a cap-side regulating surface 45c on the rear side surface in the forward rotation direction.
  • the axial tip surface of the cap-side engaging portion 42c is a flat surface parallel to the axially inner end surface of the tubular portion 32e, and the cap-side guide surface is not provided.
  • Each of the cap-side engaging portions 42c has a corner portion (including a chamfered portion) 105 between the rear side surface and the axial tip surface in the reverse rotation direction.
  • each of the main body side guide surfaces 44b which is the curved surface of the main body side engaging portion 41b, is capped.
  • the side engaging portions 42c are in contact with each of the corner portions 105 at the same time. Therefore, the corner portion 105 can push up (move to the anti-rotor 9 side) the main body side guide surface 44b in the axial direction by using the curved surface of the main body side guide surface 44b.
  • relative rotation (displacement) of the piston body 22 with respect to the piston cap 23 in the reverse rotation direction is allowed.
  • the configuration of the cap-side engaging portion 42c can be simplified, so that the manufacturing cost of the piston cap 23 can be reduced.
  • Other configurations and actions and effects are the same as those of the first embodiment.
  • each of the main body side engaging portions has a structure provided with a corner portion instead of the main body side guide surface.
  • Each of the cap-side engaging portions may have a structure provided with a curved cap-side guide surface.
  • one of the main body side engaging portion and the cap side engaging portion has a structure having a corner portion, and one of them has a structure having an inclined surface as a guide surface. You can also do it.
  • one of the main body side engaging portion and the cap side engaging portion has a shape having a curved guide surface, and one of them has an inclined guide surface. It can also be a structure.
  • the present invention is not limited to the embodiment, for example, the shape and number of the convex or concave main body side engaging portion and the cap side engaging portion constituting the one-way rotation restricting portion, and the one-way rotation restricting portion.
  • the surface texture of the main body side sliding contact surface and the cap side sliding contact surface, the type of friction member, and the like can be appropriately changed.
  • a caliper (4) having a cylinder (11a) whose pad side is open, and a caliper (4).
  • the piston (7) which is fitted in the cylinder and presses the pad toward the rotor, It is equipped with a rotary linear motion conversion mechanism (79) that pushes the piston toward the rotor by converting the rotary motion of the drive source into a linear motion.
  • the braking force due to the service brake is generated by feeding the brake oil into the cylinder, and the braking force due to the parking brake is generated by operating the rotation linear motion conversion mechanism in the disc brake device (1, 1a).
  • the piston is composed of a piston body (22, 22a, 22b) divided into two in the axial direction and a piston cap (23, 23a, 23b, 23c, 23d).
  • the rotary linear motion conversion mechanism (79) is screwed to the rotary member (spindle 82) rotationally driven by the drive source, and is arranged inside the piston body with respect to the piston body. It has a linear motion member (nut 83) that improperly engages relative rotation and presses the piston body in the axial direction. Between the piston body and the piston cap, when the rotating member is rotationally driven in the forward rotation direction in order to move the linear motion member toward the rotor side, the forward rotation direction of the piston body with respect to the piston cap.
  • the piston body When the rotating member is rotationally driven in the reverse rotation direction in order to regulate the relative rotation to the piston cap and move the linear motion member to the anti-rotor side, the piston body is relative to the piston cap in the reverse rotation direction. It has a one-way rotation control unit (40, 40a) that allows rotation.
  • Disc brake device (1) [2] The disc brake device (1,1a) according to the above [1].
  • the one-way rotation restricting portion is provided on the piston cap and at least one convex or concave main body-side engaging portion (41, 41b) provided on the piston body, and the rotating member is rotated in the forward direction.
  • a disc brake device composed of at least one convex or concave cap-side engaging portion (42, 42a, 42b, 42c) that mechanically engages with the main body-side engaging portion when rotationally driven. (1,1a). [3] The disc brake device (1,1a) according to the above [2]. Of the main body side engaging portion, a portion that comes into contact with the cap side engaging portion when the rotating member is rotationally driven in the forward rotation direction, and of the cap side engaging portions, the rotating member is rotated in the forward rotation direction.
  • the regulation surface parallel to the central axis of the piston main body side regulation surface 43, 43a, cap side regulation surface 45, 45a,) on at least one of the portions that come into contact with the main body side engaging portion during rotational drive.
  • the disc brake device (1,1a) according to any one of the above [2] to [3].
  • the main body-side engaging portion is a main body that approaches the portion that comes into contact with the cap-side engaging portion when the rotating member is rotationally driven in the reverse rotation direction, and approaches the rotor in the axial direction toward the rear side in the reverse rotation direction. It has a side guide surface (44) and has a side guide surface (44). When the rotating member is rotationally driven in the reverse rotation direction, the cap-side engaging portion pushes up the main body-side guide surface.
  • the main body side guide surface (44) is a disc brake device (1, 1a) having an inclined surface or a curved surface.
  • the disc brake device (1,1a) according to any one of the above [2] to [5].
  • the cap-side engaging portion is a cap that comes into contact with the main body-side engaging portion when the rotating member is rotationally driven in the reverse rotation direction, and is separated from the rotor in the axial direction toward the front side in the reverse rotation direction. It has side guide surfaces (46, 46a, 46b) and has side guide surfaces (46, 46a, 46b). When the rotating member is rotationally driven in the reverse rotation direction, the cap-side guide surface pushes up the main body-side engaging portion.
  • Disc brake device (1,1a) When the rotating member is rotationally driven in the reverse rotation direction, the cap-side guide surface pushes up the main body-side engaging portion.
  • the disc brake device (1,1a) according to the above [6].
  • the cap-side guide surface (46, 46a, 46b) is a disc brake device (1, 1a) having an inclined surface or a curved surface.
  • the disc brake device (1,1a) according to any one of the above [2] to [7].
  • a plurality of the main body side engaging portions (41, 41b) are provided apart from each other in the circumferential direction.
  • a plurality of cap-side engaging portions (42, 42a, 42b, 42c) are provided apart from each other in the circumferential direction.
  • a plurality of the main body side engaging portions (41, 41b are arranged at equal intervals in the circumferential direction, and are arranged at equal intervals.
  • the plurality of cap-side engaging portions (42, 42a, 42b, 42c) are arranged at equal intervals in the circumferential direction.
  • the piston caps (23, 23a, 23b, 23c, 23d) are disc brake devices (1,1a) that are supported so as to be axially relative to the piston body. [12] The disc brake device (1,1a) according to the above [11]. The piston caps (23, 23a, 23b, 23c, 23d) are provided with at least the amount that the main body side engaging portion can get over the cap side engaging portion when the rotating member is rotationally driven in the reverse rotation direction. A disc brake device (1,1a) that is supported so as to be axially relative to the piston body. [13] The disc brake device (1,1a) according to any one of the above [1] to [12].
  • An axial force transmission unit (47) for transmitting an axial force between the piston main body and the piston cap is further provided between the piston main body and the piston cap.
  • the axial force transmission unit is provided separately from the one-way rotation restricting unit.
  • the axial force transmission unit is a flat surface-like transmission surface (48) on the main body side located on a virtual plane orthogonal to the central axis of the piston body of the piston body, and the piston of the piston cap.
  • the disc brake device (1a) according to the above [1].
  • the one-way rotation restricting unit (40a) is a disc brake device (1a) having a function of transmitting an axial force between the piston body and the piston cap.
  • the one-way rotation restricting portion (40a) is provided on the main body side sliding contact surface (99) provided on the piston main body and on the piston cap, and the cap side sliding facing the main body side sliding contact surface in the axial direction. It is composed of a contact surface (100) and At least one of the main body-side sliding contact surface and the cap-side sliding contact surface is either surface-treated to increase the friction coefficient between the main body-side sliding contact surface and the cap-side sliding contact surface.
  • Disc brake device (1a) [17] The disc brake device (1a) according to any one of the above [1] to [16].
  • a disc brake device (1a) further comprising the drive source, wherein the drive source is an electric motor.
  • the disc brake device of the present invention it is possible to suppress the temperature rise of the brake oil, stably obtain the braking force by the parking brake, and the problem that occurs when the linear motion member is fully released to the anti-rotor side. It is possible to realize a disc brake device that can eliminate the problem.

Landscapes

  • Engineering & Computer Science (AREA)
  • General Engineering & Computer Science (AREA)
  • Mechanical Engineering (AREA)
  • Transportation (AREA)
  • Braking Arrangements (AREA)
PCT/JP2021/026884 2020-07-22 2021-07-16 ディスクブレーキ装置 Ceased WO2022019245A1 (ja)

Priority Applications (3)

Application Number Priority Date Filing Date Title
US18/017,188 US20230286480A1 (en) 2020-07-22 2021-07-16 Disc brake device
CN202180059707.8A CN116134236A (zh) 2020-07-22 2021-07-16 盘式制动装置
EP21845198.7A EP4187120A4 (en) 2020-07-22 2021-07-16 Disk brake device

Applications Claiming Priority (2)

Application Number Priority Date Filing Date Title
JP2020125242A JP7427555B2 (ja) 2020-07-22 2020-07-22 ディスクブレーキ装置
JP2020-125242 2020-07-22

Publications (1)

Publication Number Publication Date
WO2022019245A1 true WO2022019245A1 (ja) 2022-01-27

Family

ID=79729510

Family Applications (1)

Application Number Title Priority Date Filing Date
PCT/JP2021/026884 Ceased WO2022019245A1 (ja) 2020-07-22 2021-07-16 ディスクブレーキ装置

Country Status (5)

Country Link
US (1) US20230286480A1 (enExample)
EP (1) EP4187120A4 (enExample)
JP (1) JP7427555B2 (enExample)
CN (1) CN116134236A (enExample)
WO (1) WO2022019245A1 (enExample)

Cited By (1)

* Cited by examiner, † Cited by third party
Publication number Priority date Publication date Assignee Title
US20240077120A1 (en) * 2022-09-05 2024-03-07 Akebono Brake Industry Co., Ltd. Disc brake device and method for assembling same

Families Citing this family (5)

* Cited by examiner, † Cited by third party
Publication number Priority date Publication date Assignee Title
JP7597654B6 (ja) * 2021-06-08 2025-01-06 曙ブレーキ工業株式会社 ディスクブレーキ装置用モータギヤユニット及びディスクブレーキ装置
JP7597053B2 (ja) 2022-02-15 2024-12-10 トヨタ自動車株式会社 温度制御システム
JP2024050309A (ja) * 2022-09-29 2024-04-10 富士フイルム株式会社 レンズ装置
US20240125363A1 (en) * 2022-10-14 2024-04-18 Akebono Brake Industry Co., Ltd. Release operation of a sliding caliper and a brake system therefor
FR3162810A1 (fr) * 2024-05-31 2025-12-05 Hitachi Astemo France Dispositif pour frein à étrier comprenant un anneau d’étanchéité emmanché sur une tête de poussée

Citations (5)

* Cited by examiner, † Cited by third party
Publication number Priority date Publication date Assignee Title
JPH0369719U (enExample) * 1989-11-13 1991-07-11
JP2015025550A (ja) 2013-06-18 2015-02-05 株式会社アドヴィックス ディスクブレーキ
JP2017155774A (ja) * 2016-02-29 2017-09-07 株式会社アドヴィックス 電動ブレーキ
JP2018184093A (ja) 2017-04-26 2018-11-22 日立オートモティブシステムズ株式会社 電動ブレーキ装置
JP2020125242A (ja) 2016-10-18 2020-08-20 信越化学工業株式会社 多結晶シリコン塊、多結晶シリコン棒、および単結晶シリコンの製造方法

Family Cites Families (1)

* Cited by examiner, † Cited by third party
Publication number Priority date Publication date Assignee Title
US9850971B1 (en) * 2016-08-03 2017-12-26 Mando Corporation Disk brake piston

Patent Citations (5)

* Cited by examiner, † Cited by third party
Publication number Priority date Publication date Assignee Title
JPH0369719U (enExample) * 1989-11-13 1991-07-11
JP2015025550A (ja) 2013-06-18 2015-02-05 株式会社アドヴィックス ディスクブレーキ
JP2017155774A (ja) * 2016-02-29 2017-09-07 株式会社アドヴィックス 電動ブレーキ
JP2020125242A (ja) 2016-10-18 2020-08-20 信越化学工業株式会社 多結晶シリコン塊、多結晶シリコン棒、および単結晶シリコンの製造方法
JP2018184093A (ja) 2017-04-26 2018-11-22 日立オートモティブシステムズ株式会社 電動ブレーキ装置

Non-Patent Citations (1)

* Cited by examiner, † Cited by third party
Title
See also references of EP4187120A4

Cited By (1)

* Cited by examiner, † Cited by third party
Publication number Priority date Publication date Assignee Title
US20240077120A1 (en) * 2022-09-05 2024-03-07 Akebono Brake Industry Co., Ltd. Disc brake device and method for assembling same

Also Published As

Publication number Publication date
JP7427555B2 (ja) 2024-02-05
EP4187120A1 (en) 2023-05-31
US20230286480A1 (en) 2023-09-14
CN116134236A (zh) 2023-05-16
EP4187120A4 (en) 2024-07-31
JP2022021580A (ja) 2022-02-03

Similar Documents

Publication Publication Date Title
WO2022019245A1 (ja) ディスクブレーキ装置
JP6208065B2 (ja) 対向ピストン型ディスクブレーキ装置
JP7597654B2 (ja) ディスクブレーキ装置用モータギヤユニット及びディスクブレーキ装置
US6325182B1 (en) Motor-driven brake system
US20150075921A1 (en) Friction brake device
JP7043353B2 (ja) 対向ピストン型ディスクブレーキ装置
JPWO2016171210A1 (ja) 車両用ディスクブレーキ装置
WO2017150449A1 (ja) 電動ブレーキ
JP2578339B2 (ja) 多板式ディスクブレーキ
JP2017172722A (ja) 電動ブレーキキャリパ
US12297880B2 (en) Motor gear unit for disc brake apparatus and disc brake apparatus
FI114503B (fi) Momenttiohjatusti toimiva jarru
EP2048402A1 (en) Floating disc brake
JP7233936B2 (ja) ディスクブレーキ装置
US20150107942A1 (en) Friction brake device
JP2024035937A (ja) ディスクブレーキ装置及びその組立方法
JP7419175B2 (ja) ディスクブレーキ
JP4798147B2 (ja) ブレーキ構造
JP2025006591A (ja) ディスクブレーキ装置
JP2004340166A (ja) パーキング機構付ディスクブレーキ

Legal Events

Date Code Title Description
121 Ep: the epo has been informed by wipo that ep was designated in this application

Ref document number: 21845198

Country of ref document: EP

Kind code of ref document: A1

NENP Non-entry into the national phase

Ref country code: DE

ENP Entry into the national phase

Ref document number: 2021845198

Country of ref document: EP

Effective date: 20230222