WO2022018809A1 - 画像分析装置、画像分析システム、画像分析方法及びプログラム - Google Patents

画像分析装置、画像分析システム、画像分析方法及びプログラム Download PDF

Info

Publication number
WO2022018809A1
WO2022018809A1 PCT/JP2020/028159 JP2020028159W WO2022018809A1 WO 2022018809 A1 WO2022018809 A1 WO 2022018809A1 JP 2020028159 W JP2020028159 W JP 2020028159W WO 2022018809 A1 WO2022018809 A1 WO 2022018809A1
Authority
WO
WIPO (PCT)
Prior art keywords
image
icons
image processing
screen
icon
Prior art date
Legal status (The legal status is an assumption and is not a legal conclusion. Google has not performed a legal analysis and makes no representation as to the accuracy of the status listed.)
Ceased
Application number
PCT/JP2020/028159
Other languages
English (en)
French (fr)
Japanese (ja)
Inventor
諭史 吉田
祥治 西村
Current Assignee (The listed assignees may be inaccurate. Google has not performed a legal analysis and makes no representation or warranty as to the accuracy of the list.)
NEC Corp
Original Assignee
NEC Corp
Priority date (The priority date is an assumption and is not a legal conclusion. Google has not performed a legal analysis and makes no representation as to the accuracy of the date listed.)
Filing date
Publication date
Application filed by NEC Corp filed Critical NEC Corp
Priority to JP2022538515A priority Critical patent/JP7537499B2/ja
Priority to US18/015,903 priority patent/US12080057B2/en
Priority to PCT/JP2020/028159 priority patent/WO2022018809A1/ja
Publication of WO2022018809A1 publication Critical patent/WO2022018809A1/ja
Anticipated expiration legal-status Critical
Priority to JP2024066652A priority patent/JP7775913B2/ja
Priority to US18/765,385 priority patent/US20240362908A1/en
Priority to US19/215,493 priority patent/US20250285431A1/en
Ceased legal-status Critical Current

Links

Images

Classifications

    • GPHYSICS
    • G06COMPUTING OR CALCULATING; COUNTING
    • G06VIMAGE OR VIDEO RECOGNITION OR UNDERSTANDING
    • G06V20/00Scenes; Scene-specific elements
    • G06V20/50Context or environment of the image
    • G06V20/52Surveillance or monitoring of activities, e.g. for recognising suspicious objects
    • GPHYSICS
    • G06COMPUTING OR CALCULATING; COUNTING
    • G06FELECTRIC DIGITAL DATA PROCESSING
    • G06F3/00Input arrangements for transferring data to be processed into a form capable of being handled by the computer; Output arrangements for transferring data from processing unit to output unit, e.g. interface arrangements
    • G06F3/01Input arrangements or combined input and output arrangements for interaction between user and computer
    • G06F3/048Interaction techniques based on graphical user interfaces [GUI]
    • G06F3/0481Interaction techniques based on graphical user interfaces [GUI] based on specific properties of the displayed interaction object or a metaphor-based environment, e.g. interaction with desktop elements like windows or icons, or assisted by a cursor's changing behaviour or appearance
    • G06F3/04817Interaction techniques based on graphical user interfaces [GUI] based on specific properties of the displayed interaction object or a metaphor-based environment, e.g. interaction with desktop elements like windows or icons, or assisted by a cursor's changing behaviour or appearance using icons
    • GPHYSICS
    • G06COMPUTING OR CALCULATING; COUNTING
    • G06FELECTRIC DIGITAL DATA PROCESSING
    • G06F3/00Input arrangements for transferring data to be processed into a form capable of being handled by the computer; Output arrangements for transferring data from processing unit to output unit, e.g. interface arrangements
    • G06F3/01Input arrangements or combined input and output arrangements for interaction between user and computer
    • G06F3/048Interaction techniques based on graphical user interfaces [GUI]
    • G06F3/0484Interaction techniques based on graphical user interfaces [GUI] for the control of specific functions or operations, e.g. selecting or manipulating an object, an image or a displayed text element, setting a parameter value or selecting a range
    • G06F3/04847Interaction techniques to control parameter settings, e.g. interaction with sliders or dials
    • GPHYSICS
    • G06COMPUTING OR CALCULATING; COUNTING
    • G06TIMAGE DATA PROCESSING OR GENERATION, IN GENERAL
    • G06T1/00General purpose image data processing
    • GPHYSICS
    • G06COMPUTING OR CALCULATING; COUNTING
    • G06TIMAGE DATA PROCESSING OR GENERATION, IN GENERAL
    • G06T7/00Image analysis
    • GPHYSICS
    • G06COMPUTING OR CALCULATING; COUNTING
    • G06VIMAGE OR VIDEO RECOGNITION OR UNDERSTANDING
    • G06V10/00Arrangements for image or video recognition or understanding
    • G06V10/70Arrangements for image or video recognition or understanding using pattern recognition or machine learning
    • G06V10/77Processing image or video features in feature spaces; using data integration or data reduction, e.g. principal component analysis [PCA] or independent component analysis [ICA] or self-organising maps [SOM]; Blind source separation
    • G06V10/776Validation; Performance evaluation
    • GPHYSICS
    • G06COMPUTING OR CALCULATING; COUNTING
    • G06VIMAGE OR VIDEO RECOGNITION OR UNDERSTANDING
    • G06V10/00Arrangements for image or video recognition or understanding
    • G06V10/70Arrangements for image or video recognition or understanding using pattern recognition or machine learning
    • G06V10/87Arrangements for image or video recognition or understanding using pattern recognition or machine learning using selection of the recognition techniques, e.g. of a classifier in a multiple classifier system
    • GPHYSICS
    • G06COMPUTING OR CALCULATING; COUNTING
    • G06VIMAGE OR VIDEO RECOGNITION OR UNDERSTANDING
    • G06V10/00Arrangements for image or video recognition or understanding
    • G06V10/94Hardware or software architectures specially adapted for image or video understanding
    • G06V10/945User interactive design; Environments; Toolboxes
    • GPHYSICS
    • G06COMPUTING OR CALCULATING; COUNTING
    • G06VIMAGE OR VIDEO RECOGNITION OR UNDERSTANDING
    • G06V10/00Arrangements for image or video recognition or understanding
    • G06V10/98Detection or correction of errors, e.g. by rescanning the pattern or by human intervention; Evaluation of the quality of the acquired patterns
    • GPHYSICS
    • G06COMPUTING OR CALCULATING; COUNTING
    • G06VIMAGE OR VIDEO RECOGNITION OR UNDERSTANDING
    • G06V40/00Recognition of biometric, human-related or animal-related patterns in image or video data
    • G06V40/10Human or animal bodies, e.g. vehicle occupants or pedestrians; Body parts, e.g. hands
    • GPHYSICS
    • G06COMPUTING OR CALCULATING; COUNTING
    • G06VIMAGE OR VIDEO RECOGNITION OR UNDERSTANDING
    • G06V2201/00Indexing scheme relating to image or video recognition or understanding
    • G06V2201/07Target detection

Definitions

  • the present invention relates to an image analysis device, an image analysis system, an image analysis method and a program.
  • Patent Documents 1 to 4 As a device or system that supports image analysis, for example, the techniques described in Patent Documents 1 to 4 have been proposed.
  • the medical image processing device described in Patent Document 1 has an image acquisition unit that acquires a medical image from a medical image diagnosis device, an image processing unit that performs predetermined image processing on the acquired medical image, and an operator input unit. .. Then, the medical image processing device is configured to redo the image processing in the image processing unit based on the indication of the operator by the input unit for the medical image image-processed in the image processing unit.
  • the medical image processing system described in Patent Document 2 uses a server having dedicated hardware and software connected to a network and a dedicated application on a client terminal to perform a series of image quality improvement processing of CT images on the network. Share in and link in real time.
  • the image recognition engine cooperation device described in Patent Document 3 is applied to a plurality of engines including a bar code detection engine, which is a heterogeneous engine that recognizes a subject in an image by an image analysis method different from the image recognition engine and the image recognition engine. It has a linkage processing unit that executes engine linkage processing including inquiry processing and recognition result acceptance processing according to the inquiry processing.
  • the linkage processing unit manages the engine linkage processing as a linkage scenario.
  • the analysis engine control device described in Patent Document 4 sets an analysis engine meta information table that stores the contents of analysis processing and the characteristics of analysis processing results for each analysis engine, and the contents of analysis processing and conditions of analysis processing results.
  • a process flow generation means that generates a process flow by selecting multiple analysis engines that satisfy the conditions of the analysis processing result and execute the analysis processing corresponding to the content of the analysis processing according to the analysis processing request. It is provided with an analysis processing execution means for items of analysis processing based on the process flow.
  • the process flow generation means bases the process flow on the analysis engine meta information table so that the analysis process corresponding to the content of the analysis process is executed by satisfying the conditions of the analysis process result according to the actual analysis process result executed. Correct.
  • an image processing engine having multiple functions is prepared, and it is necessary to select an appropriate image processing engine from the prepared image processing engines according to the purpose of analysis. be. Further, when analyzing image data taken by each of a plurality of cameras, it is necessary to associate and configure an image processing engine selected for each of the image data. That is, in the analysis of image data, it is necessary to appropriately connect and configure a plurality of image processing engines from the input of the image data to the output of the analysis result.
  • Cited Documents 1 to 4 are based on the premise that a technician with specialized knowledge and experience analyzes the image data, and even if a non-technical person refers to these techniques, the image data Properly constructing the entire analytical process may still be difficult.
  • the present invention has been made in view of the above circumstances, and an object of the present invention is to provide an image analysis device or the like that can easily configure the entire analysis process of image data appropriately.
  • the image analyzer is A plurality of input source icons indicating the input source of the image data to be analyzed, a plurality of image processing icons indicating the image processing engine for the image data, and at least one output destination icon indicating the output destination of the processing result by the image processing engine.
  • An icon arranging means for receiving an instruction for arranging a plurality of icons including the above on the screen and arranging the plurality of icons on the screen based on the instruction, and an icon arranging means for arranging the plurality of icons on the screen.
  • a connection means for receiving a connection instruction for connecting between the icons arranged on the screen, and a connection means.
  • a data flow setting means for setting a data flow between the icons and displaying the data flow on the screen based on the connection instruction is provided.
  • the image analysis method is: A plurality of input source icons indicating the input source of the image data to be analyzed, a plurality of image processing icons indicating the image processing engine for the image data, and at least one output destination icon indicating the output destination of the processing result by the image processing engine.
  • Accepting instructions for arranging a plurality of icons on the screen including, and arranging the plurality of icons on the screen based on the instructions.
  • the program according to the third aspect of the present invention is On the computer A plurality of input source icons indicating the input source of the image data to be analyzed, a plurality of image processing icons indicating the image processing engine for the image data, and at least one output destination icon indicating the output destination of the processing result by the image processing engine.
  • Accepting instructions for arranging a plurality of icons on the screen including, and arranging the plurality of icons on the screen based on the instructions.
  • the image analysis system 100 is a system for obtaining a target analysis result by performing image processing on image data obtained by photographing an analysis target area. As shown in FIG. 1, the image analysis system 100 according to the present embodiment includes three cameras 101a, 101b, 101c and an image analysis device 102.
  • Each of the cameras 101a, 101b, and 101c is an example of an image pickup device for photographing an analysis target area.
  • the camera 101 when each of the cameras 101a, 101b, and 101c is not particularly distinguished, it is simply referred to as the camera 101.
  • the camera 101 As shown in FIG. 2, which is a view of the inside of the store S as the analysis target area from above, the camera 101 according to the present embodiment captures the entire inside of the store S as the analysis target area. Will be installed.
  • the camera 101a is installed so as to photograph the area A in the store S
  • the camera 101b photographs the area B in the store S
  • the camera 101c photographs the area C in the store S.
  • a part of the area A, the area B, and the area C overlap each other so that the entire inside of the store S can be photographed.
  • the customers A to C who have entered the store S through the doorway E by such a camera 101 pass through the vicinity of the shelves MS1, MS2, MS3 and the register device R on which the products are displayed. , The state of moving from the doorway E to the exit is photographed.
  • the movement route M_A shown by the solid line in FIG. 2 is the movement route of the customer A in the store S
  • the movement route M_B shown by the dotted line is the movement route of the customer B in the store S
  • the movement route M_C shown by is the store S.
  • the movement route of the customer C in the above is shown.
  • image analysis by the image analysis system 100 is applied to human behavior analysis in a retail store such as store S.
  • the image analysis by the image analysis system 100 can also be applied to the behavior analysis of other people, the person search, the analysis of the skill of a skilled person, and the like.
  • Examples of other people's behavioral analysis include image analysis for the purposes of government, city planning, traffic, and transportation.
  • Examples of searching for people include image analysis for the purpose of investigation, monitoring, searching for lost children, and the like.
  • the analysis of the skill of a skilled worker there is an image analysis for the purpose of acquiring the skill of a skilled worker at a manufacturing or processing site, a worker at a construction site, an athlete, an educator, or the like. Then, for example, a building, a facility, an equipment, a road, or the like may be set in the analysis target area according to the purpose of the image analysis.
  • the number of cameras 101a, 101b, 101c installed may be two or more, and each of the cameras 101a, 101b, 101c may capture a still image.
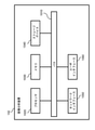
  • the image analyzer 102 includes an input unit 103, a display unit 104, a display control unit 105, an image acquisition unit 106, an icon arrangement unit 107, and an icon storage unit 108. , Icon-processing storage unit 109, connection unit 110, data flow setting unit 111, parameter setting unit 112, analysis unit 113, component creation unit 114, and component storage unit 115.
  • the input unit 103 is a keyboard, mouse, touch panel, etc. for the user to input.
  • the display unit 104 is a liquid crystal display or the like that displays a screen.
  • the display control unit 105 causes the display unit 104 to display a screen.
  • the image acquisition unit 106 acquires image data to be analyzed.
  • the icon arranging unit 107 receives an instruction for arranging a plurality of icons on the screen from the input unit 103, and arranges the plurality of icons on the screen based on the instruction.
  • the icon storage unit 108 is a storage unit for holding icon data including an icon image.
  • the icon data is data for associating, for example, icon type information for identifying an icon type with icon image information.
  • the icons include, for example, an input source icon, an image processing icon, an output destination icon, and the like.
  • the input source icon is an icon indicating the input source of the image data to be analyzed.
  • the image processing icon is an icon indicating an image processing engine for image data.
  • the output destination icon is an icon indicating the output destination of the processing result by the image processing engine.
  • the processing storage unit 109 is a storage unit for holding processing engine data including the processing engine.
  • the processing engine data is, in detail, data for associating, for example, icon identification information with the processing engine and parameters to be set.
  • the processing engine includes, for example, an input engine that performs input processing of image data to be analyzed, an image processing engine that performs various image processing on image data, an output engine that performs output processing of processing results, and the like. ..
  • the input engine is a real-time input engine that inputs image data from the camera 101 in almost real time.
  • the parameter of the real-time input engine is, for example, the network address of the camera 101 from which the real-time input engine is generated.
  • the input engine may be a holding data input engine for inputting image data stored in the storage unit, and the parameter of the holding data input engine is, for example, information indicating a storage location of image data.
  • the image processing engine includes, for example, a detection engine, a tracking engine, a feature amount extraction engine, a search engine, and a respecific engine.
  • the detection engine is an image processing engine for detecting detection targets such as objects and people from image data.
  • the tracking engine is an image processing engine for tracking tracking targets such as objects and people in image data.
  • the feature amount extraction engine is an image processing engine for extracting the feature amount in the image data.
  • the search engine is an image processing engine for searching image data for search targets such as objects and people.
  • the re-specification engine is an image processing engine for tracking a tracking target such as an object or a person across a plurality of image data.
  • a model trained by machine learning is preferably adopted, and the parameters in this case are parameters for adjusting the trained model.
  • the parameters for each of the image processing engines to perform image processing are It is assumed that there is one.
  • the tracking engine when distinguishing the icons associated with the detection engine, the tracking engine, the feature amount extraction engine, the search engine, and the respecification engine among the image processing icons, the detection icon, the tracking icon, the feature amount extraction icon, and the search icon are used, respectively. , Called a re-identification icon.
  • the output engine is an engine that outputs the processing result on the screen.
  • the parameters of the output engine are, for example, information for identifying the screen to be output.
  • the plurality of screens may be displayed on one display device or may be displayed on each of the plurality of displays.
  • the output engine parameters may be information to identify each of the displays.
  • connection unit 110 receives a connection instruction for connecting between the icons arranged on the screen from the input unit 103.
  • the data flow setting unit 111 sets the data flow between the icons and displays it on the screen based on the connection instruction received by the connection unit 110.
  • the data flow setting unit 111 includes a prohibition processing unit 116, a prohibition storage unit 117, and an appropriate flow setting unit 118.
  • the prohibition processing unit 116 determines whether or not the connection between the icons related to the connection instruction is included in the prohibition data, and performs the prohibition processing based on the result of the determination. ..
  • the prohibited data is data indicating a prohibited connection between icons, and is preset in the prohibited storage unit 117 for holding the prohibited data.
  • the prohibited data includes the connection relationship between the prohibited icons as a prohibited.
  • connection relationship is a relationship related to the connection between icons, and includes the flow of data between the processing engines corresponding to the connected icons.
  • Connection relationships between icons that are not normally performed may typically have the reverse order of connection between icons. For example, connection relationships in which data flows from other icons to the input source icon, or from the output destination icon. Includes connection relationships where data flows to other icons.
  • the face detection engine and the color extraction engine are not normally connected.
  • the connection of the corresponding icons may be included.
  • the prohibition processing unit 116 determines that the connection between the icons related to the connection instruction is not included in the prohibition data
  • the prohibition processing unit 116 sets the data flow according to the connection instruction and displays it on the screen.
  • the prohibition processing unit 116 performs the prohibition processing.
  • Kinsoku Shori is at least not to set the connection relationship, to set the connection relationship in which the connection instruction is modified by a predetermined method, and to notify that the connection between the icons related to the connection instruction is prohibited. Includes one.
  • the appropriate flow setting unit 118 sets the data flow between the icons and displays it on the screen according to the connection instruction received by the connection unit 110.
  • the parameter setting unit 112 receives the setting value of the parameter associated with each icon arranged on the screen. When the icon arranged on the screen is selected, the parameter setting unit 112 accepts the setting value of the parameter applied to the processing engine corresponding to the selected icon, and the accepted setting value for the selected icon. To set.
  • the parameter setting unit 112 receives a parameter estimation unit 119 for obtaining a candidate for a setting value for a parameter, a parameter candidate display unit 120 for displaying the candidate on the screen, and a parameter setting value. Includes parameter receiving unit 121.
  • the parameter estimation unit 119 obtains a candidate for a setting value for the parameter based on at least a part of the image data.
  • the candidate setting value for the parameter is a candidate for the setting value for the parameter applied to the image processing engine corresponding to the selected image processing icon, and the candidate is obtained by a value, a numerical range, or the like. It is desirable that the image data referred to for obtaining a candidate is a part of the image data in order to reduce the processing load for obtaining the candidate.
  • the parameter estimation unit 119 has an automatic estimation unit 122 that estimates the candidate by itself without the support of the user, and a user support estimation unit that estimates the candidate with the support of the user. Includes part 123.
  • the automatic estimation unit 122 automatically estimates the candidate setting values for the parameters applied to the image processing engine corresponding to the selected image processing icon.
  • the user support estimation unit 123 estimates the candidate of the setting value for the parameter applied to the image processing engine corresponding to the selected image processing icon with reference to the user's evaluation.
  • the user support estimation unit 123 includes a sample display unit 124, an evaluation reception unit 125, and a candidate acquisition unit 126.
  • the sample display unit 124 executes processing by the image processing engine associated with the selected image processing icon on at least a part of the image data.
  • the sample display unit 124 displays one or a plurality of sample images obtained by executing the process on the screen.
  • the evaluation reception unit 125 receives evaluations for one or more sample images from the input unit 103.
  • the candidate acquisition unit 126 obtains a candidate for a set value based on the evaluation received by the evaluation reception unit 125.
  • the parameter candidate display unit 120 displays the candidates obtained by the parameter estimation unit 119 on the screen.
  • the parameter receiving unit 121 receives the parameter setting value in association with the selected image processing icon. That is, the user can set the parameter setting value by referring to the candidate displayed on the screen.
  • the analysis unit 113 executes an analysis process according to the analysis configuration set on the screen for the image data, and displays the result of the analysis process on the screen via the display control unit 105.
  • the analysis configuration set on the screen is a processing configuration for analyzing image data, and includes a plurality of icons arranged on the screen and a connection relationship between the plurality of icons.
  • the analysis unit 113 includes an analysis execution unit 127, an abnormality prediction unit 128, an analysis interruption unit 129, an abnormality detection unit 130, an abnormality notification unit 131, and a result output unit 132. And include.
  • the analysis execution unit 127 executes the analysis process according to the analysis configuration set on the screen.
  • the abnormality prediction unit 128 monitors the analysis process by the analysis execution unit 127 and predicts whether or not an abnormality will occur in the result of the analysis process.
  • the analysis interruption unit 129 notifies the abnormality prediction unit 128 to prompt the change of the set value when the abnormality is predicted to occur.
  • the abnormality detection unit 130 determines whether or not the result of the analysis process by the analysis execution unit 127 includes an abnormality. When it is determined that an abnormality is included, the abnormality notification unit 131 notifies to prompt the change of the set value.
  • the abnormality means, for example, that when the image processing engine associated with the image processing icon arranged on the screen includes a function of identifying a person, a plurality of people included in the frame image constituting the image data are included. It is to be analyzed as the same person.
  • an abnormality is a case where the analysis target is a plurality of image data obtained by photographing different areas A to C of a continuous space such as in a store S, and the plurality of image data.
  • the number of people analyzed as the same person among them is less than the threshold.
  • the image processing engine associated with the image processing icon arranged on the screen includes a function of identifying a person.
  • the notification is to display a message via the display control unit 105, to emit a sound from a speaker (not shown), or the like.
  • the result output unit 132 analyzes according to the analysis configuration when the abnormality prediction unit 128 does not predict the occurrence of an abnormality and the abnormality detection unit 130 does not detect the abnormality and the analysis process can be terminated. Display the processing result on the screen.
  • a set of setting values composed of the setting values set for all the parameters of the processing engine included in one analysis configuration is required. That is, it is necessary to set the set values for all the corresponding parameters of the plurality of icons arranged on the screen, and the set of the set values shall be composed of the set values for all the parameters.
  • each of the image processing engines has one parameter for performing image processing
  • each of the input source icon and the output destination icon also has one parameter. Therefore, the set of setting values according to the present embodiment is composed of one setting value associated with each of the plurality of icons arranged on the screen.
  • the parameter setting unit 112 may accept a plurality of setting values for the parameters associated with a part or all of the image processing engine arranged on the screen. In this case, the parameters are set on the screen. Multiple sets of set values will be accepted for the analysis configuration.
  • the analysis unit 113 executes an analysis process on the image data for each set of the set values according to the analysis configuration set on the screen. In other words, the analysis unit 113 executes the analysis process for all combinations of the set values. Then, each time the analysis process for each set of set values is completed, the analysis unit 113 causes the result of the analysis process to be displayed on the screen via the display control unit 105.
  • the component creation unit 114 accepts selections for some or all of the plurality of icons arranged and connected on the screen, and generates component data including the selected plurality of icons and the connection relationship between the plurality of icons. And hold it in the component storage unit 115.
  • the component storage unit 115 is a storage unit for holding the component data created by the component creation unit 114.
  • the component data is data indicating a component, and the component is composed of a plurality of icons and a connection relationship between the plurality of icons.
  • the component held in the component storage unit 115 is referred to by the icon arrangement unit 107 and is arranged as one element for creating an analysis configuration in the same manner as the icon.
  • the image analyzer 102 physically has a bus 1010, a processor 1020, a memory 1030, a storage device 1040, a network interface 1050, and a user interface 1060, as shown in FIG.
  • the bus 1010 is a data transmission path for the processor 1020, the memory 1030, the storage device 1040, the network interface 1050, and the user interface 1060 to transmit and receive data to and from each other.
  • the method of connecting the processors 1020 and the like to each other is not limited to the bus connection.
  • the processor 1020 is a processor realized by a CPU (Central Processing Unit), a GPU (Graphics Processing Unit), or the like.
  • the memory 1030 is a main storage device realized by a RAM (RandomAccessMemory) or the like.
  • the storage device 1040 is an auxiliary storage device realized by an HDD (Hard Disk Drive), SSD (Solid State Drive), memory card, ROM (Read Only Memory), or the like.
  • HDD Hard Disk Drive
  • SSD Solid State Drive
  • ROM Read Only Memory
  • the storage device 1040 realizes a storage unit (icon storage unit 108, icon-processing storage unit 109, component storage unit 115) of the image analysis device 102.
  • the storage device 1040 includes each functional unit (display control unit 105, image acquisition unit 106, icon arrangement unit 107, connection unit 110, data flow setting unit 111, parameter setting unit 112, analysis unit 113, and the image analysis device 102. It stores a program module for realizing the component creation unit 114).
  • the processor 1020 reads each of these program modules into the memory 1030 and executes them, each functional unit corresponding to the program module is realized.
  • the network interface 1050 is an interface for connecting the image analyzer 102 to a network configured by wire, wireless, or a combination thereof.
  • the image analyzer 102 according to the present embodiment communicates with the camera 101 by being connected to the network through the network interface 1050.
  • the user interface 1070 is an interface for inputting information from the user and an interface for presenting information to the user, and includes, for example, a mouse, a keyboard, a touch sensor, etc. as an input unit 103, a liquid crystal display as a display unit 104, and the like.
  • the function of the image analyzer 102 can be realized by executing the software program in cooperation with each physical component. Therefore, the present invention is also referred to as "software programgram”. ), Or as a non-temporary storage medium in which the program is recorded.
  • FIG. 7A and 7B are flowcharts showing an example of image analysis processing according to the present embodiment.
  • the image analysis process is a process of creating an analysis configuration for analyzing an image and analyzing the image by the created analysis configuration. For example, the image analysis process is started by receiving a user's start instruction from the input unit 103.
  • the icon arrangement unit 107, the connection unit 110, the data flow setting unit 111, and the parameter setting unit 112 perform a process for creating an analysis configuration (S101).
  • the icon arranging unit 107 arranges the icon on the screen based on the user's instruction from the input unit 103 (step S201).
  • FIG. 9 shows an example of the icon arranged on the screen by step S201.
  • the user repeatedly selects a desired icon from various icons displayed in advance in an area (not shown) on the screen and arranges the desired icon at a desired position, and the plurality of icons are arranged on the screen.
  • the icon has a different combination of shape, pattern, and outer frame (single or double) depending on the function of the associated processing engine.
  • the combination of shape, pattern, and outer frame is different for each function of the image processing engine.
  • the icon differs from the icon in at least one of shape, color, pattern, and outline mode (line thickness, number, color, etc.) depending on the function of the associated processing engine. You can visually recognize the difference between the icons and create an analysis configuration. Therefore, it becomes possible to easily create an appropriate analysis configuration.
  • each icon shown in FIG. 9 indicates a parameter setting field set for the icon. Since the parameters are not set in the icon arranged in step S201, all the setting fields are blank in FIG. Of course, an appropriate initial value may be set.
  • connection unit 110 receives a connection instruction between the icons arranged on the screen from the input unit 103 (step S202).
  • the pointer displayed on the screen is positioned at the pointer position P1 and is predetermined. By performing the operation, the starting point of the connection relationship is set.
  • the pointer position P1 is the position of a pointer pointing to the outer edge of the input source icon.
  • the pointer position P2 is the position of the pointer pointing to the outer edge of the detection icon.
  • the data flow setting unit 111 sets the data flow between the icons based on the connection instruction received in step S202 and displays it on the screen (step S203).
  • the kinsoku processing unit 116 determines whether or not the connection relationship instructed in step S202 is included in the kinsoku (step S301).
  • the appropriate flow setting unit 118 sets and sets the connection relationship indicating the data flow between the icons according to the connection relationship instructed in step S202. It is displayed on the screen (appropriate flow setting process; step S302).
  • the data flow between the icons corresponds to the data flow between the processing engines associated with the icons.
  • the flow of data according to the connection instruction described above with reference to FIG. 10, that is, the flow of image data output from the input engine and input to the detection engine is normally performed, and therefore, it is prohibited. Suppose it is not included.
  • the prohibition processing unit 116 determines that the prohibition is not included, and the appropriate flow setting unit 118, as shown in FIG. 12, follows the received connection instruction by the arrow from the input source icon to the detection icon. Connect the icon. That is, the direction of the arrow connecting the icons corresponds to the direction in which the image data flows between the processing engines corresponding to the icons connected by the arrows.
  • step S301 If it is determined to be included in the prohibition (step S301; Yes), the prohibition processing unit 116 performs predetermined prohibition processing according to the prohibition to which the connection relationship specified in step S202 corresponds (step S303). ..
  • a connection instruction as shown in FIG. 13, that is, a connection instruction starting from the pointer position P3 pointing to the outer edge of the detection icon and ending at the pointer position P4 pointing to the outer edge of the input source icon is accepted. do. If you follow this connection instruction, the arrow from the detection icon to the input source icon will connect between these icons.
  • the prohibition includes a connection instruction for setting an arrow toward the input icon, that is, a connection instruction with the outer edge of the input icon as the end point.
  • the prohibition processing unit 116 performs the prohibition processing shown in FIG. 14A or FIG. 14B, for example.
  • FIG. 14A shows the first example of prohibition processing, in which a connection relationship in which the received connection instruction is modified by a predetermined method is set and displayed on the screen, and the connection instruction is modified.
  • An example of prohibition processing to be notified by screen display is shown. Since the input source icon is usually the starting point of the arrow, in this example, the connection relationship corrected by exchanging the starting point and the ending point related to the received connection instruction is set.
  • FIG. 14B shows a second example of prohibition processing, and shows an example of prohibition processing for notifying by screen display that a connection between icons related to a connection instruction is prohibited without setting a connection instruction. ..
  • step S203 By repeating such a data flow setting process (step S203) for each pair of desired icons among the plurality of icons arranged on the screen, a plurality of connections between the icons as illustrated in FIG. 15 are made. The relationship is set and displayed on the screen.
  • the parameter setting unit 112 receives the setting value of the parameter associated with each icon arranged on the screen in step S201, and sets the accepted setting value for each icon (step S204).
  • step S204 may not be performed for such an icon.
  • FIGS. 16A and 16B Detailed examples of the parameter setting process are shown in FIGS. 16A and 16B.
  • the automatic estimation unit 122 determines whether or not the image processing engine associated with the selected image processing icon includes a person identification function. (Step S401).
  • the person identification function is a function for identifying a person from an image.
  • an engine that detects a person which is a kind of detection engine, detects a person from an image.
  • Engines that detect people include a person identification function, as this usually requires distinguishing between people in the image.
  • an engine that searches for a specific person includes a person identification function because it searches for a specific person from an image.
  • a re-identification engine that re-identifies a person who moves across a plurality of image data includes a person identification function because the person is searched from the image.
  • the automatic estimation unit 122 acquires image data via the image acquisition unit 106, and automatically obtains the frame image included in the acquired image data. Perform estimation processing (step S402).
  • the automatic estimation process is a process for automatically estimating parameter candidates, and the image data referred to at this time may include at least one frame image.
  • the frame image is each still image constituting the moving image when the image data indicates a moving image, and is the still image when the image data indicates a still image.
  • a parameter value or numerical range that does not identify a plurality of people as the same is used as a parameter candidate for the processing engine associated with the icon selected in step S401. Desired.
  • the automatic estimation unit 122 has parameters for the processing engine so that it is analyzed that all the persons included in the frame image are different persons in the processing by the processing engine corresponding to the icon selected in step S401. Ask for candidates.
  • the user support estimation unit 123 performs the first user support estimation process (step S403).
  • the sample display unit 124 controls the image processing engine associated with the image processing icon selected in step S401. At this time, the sample display unit 124 applies the parameter candidates obtained in step S402. Then, the sample display unit 124 causes the image processing engine to select a sample image and display the selected sample image on the screen (first sample display process; step S403a).
  • the sample image is a different frame image analyzed to include the same person among the frame images included in the image data acquired in step S402, and the frame image selected at this time is 2. It may be one or more.
  • sample image may be an enlarged image of the person portion analyzed to be the same or its vicinity among a plurality of frame images.
  • the evaluation reception unit 125 receives the user's evaluation of the sample image displayed in step S403a from the input unit 103 (first evaluation reception process; step S403b).
  • the user refers to the plurality of sample images displayed in step S403a, and evaluates that the person analyzed to be the same in the plurality of sample images is actually the same, and actually evaluates it as correct. If it is different, it is evaluated as an error. Then, the user inputs the result of the evaluation regarding whether or not the persons included in the plurality of sample images are the same by the input unit 103.
  • the candidate acquisition unit 126 obtains a candidate for a set value based on the evaluation received in step S403b (first candidate acquisition process; step S403c).
  • the candidate acquisition unit 126 requests, for example, candidates so as to include the parameter setting values in the sample image that has been evaluated as correct in step S403b. Further, for example, the candidate acquisition unit 126 obtains a candidate excluding the parameter setting value in the sample image that has been evaluated as being incorrect in step S403b.
  • the parameter candidates obtained in step S402 are applied to the image processing engine for obtaining the candidates. Therefore, the candidates obtained in step S403c include the candidates obtained in step S402.
  • step S402 by applying the automatic estimation process (step S402) and the user support estimation process (step S403) that estimates candidates with the support of the user to a common processing engine, more appropriate candidates are narrowed down. Can be found at.
  • the candidate obtained in the automatic estimation process (step S402) and the candidate obtained in the user support estimation process (step S403) for estimating the candidate with the support of the user are independently obtained and automatically estimated. It may be held in each of the unit 122 and the candidate acquisition unit 126.
  • step S401 When it is determined that the person identification function is not included (step S401; No), or after step S402, the sample display unit 124 has a detection function by the image processing engine associated with the image processing icon selected in step S401. (Step S404).
  • the detection function is a function to detect the detection target from the image.
  • the detection target in step S401 may be a bag, a pet, or the like.
  • step S404 When it is determined that the detection function is included (step S404; Yes), the user support estimation unit 123 performs the second user support estimation process as shown in FIG. 16B (step S405).
  • the sample display unit 124 acquires image data via the image acquisition unit 106, and performs a second sample display process on the frame image included in the acquired image data (step S405a).
  • the sample display unit 124 controls the image processing engine that is the determination target in step S404, and causes the frame image to perform an analysis for detecting the object to be detected. Then, the sample display unit 124 displays a frame image including the object detected as a result of the analysis on the screen as a sample screen.
  • the sample image is a frame image including an object among the frame images included in the image data acquired in step S405a, and the frame image selected at this time may be one or more.
  • sample image may be an enlarged image of the portion analyzed as the object or its vicinity in the frame image.
  • the evaluation reception unit 125 receives the user's evaluation of the sample image displayed in step S405a from the input unit 103 (second evaluation reception process; step S405b).
  • the user refers to the sample image displayed in step S405a, and evaluates that the object indicated to be the detection target in the sample image is correct if it actually corresponds to the object. If it does not actually correspond to the object, it is evaluated as an error. Then, the user inputs the result of the evaluation regarding whether or not such an object is correctly detected by the input unit 103.
  • the candidate acquisition unit 126 obtains a candidate for a set value based on the evaluation received in step S405b (second candidate acquisition process; step S405c).
  • the candidate acquisition unit 126 requests, for example, candidates so as to include the parameter setting values in the sample image that has been evaluated as correct in step S405b. Further, for example, the candidate acquisition unit 126 obtains a candidate excluding the parameter setting value in the sample image that has been evaluated as being incorrect in step S405b.
  • step S404 When it is determined that the detection function is not included (step S404; No), or after step S405, the parameter candidate display unit 120 displays the candidates obtained in steps S402, S403, or S405 on the screen (step S406).
  • FIG. 17 shows an example in which the detection icon is selected and the candidate setting values for the parameters applied to the detection engine associated with the selected detection icon are displayed.
  • the detection icon is selected, for example, by pointing at the pointer P and then performing a predetermined operation (for example, double-clicking a mouse button).
  • a predetermined operation for example, double-clicking a mouse button.
  • the candidates may be displayed in association with the selected one.
  • step S406 when a candidate is requested in steps S402, S403 or S405, the requested candidate may be displayed, and if no candidate is requested, nothing is displayed in the process of step S406. You can finish without doing it.
  • video A For example, in FIG. 10, "video A”, “video B”, and “video C” are set for each of the three input source icons.
  • the video A is the address of the camera 101a in the network and the input data is the image data captured by the video A. Since the input engine associated with the input source icon does not include any of the person identification function and the detection function, the candidate is not required to be associated with the input source icon in the present embodiment. Therefore, when setting the value of the parameter set in the input source icon, the candidate is not displayed in step S406.
  • the address of the camera 101 connected to the network may be displayed as a candidate in association with the input source icon.
  • the image actually taken by the camera 101 may be displayed on the screen as a sample image, and the parameter setting value may be set with reference to the sample image.
  • the parameter receiving unit 121 receives and sets the setting value of the parameter associated with each icon arranged on the screen (step S407).
  • the parameter receiving unit 121 accepts a value input in the setting field of each icon as a setting value, and holds the set value in association with each icon.
  • the setting value associated with the icon is the setting value of the parameter applied to the processing engine corresponding to the icon.
  • the user can set a parameter by referring to the candidate, so that it is possible to easily set an appropriate parameter. Therefore, it becomes possible to easily create an appropriate analysis configuration.
  • the analysis unit 113 determines whether or not the instruction to start the analysis has been accepted (step S102).
  • step S102 When it is determined that the instruction to start the analysis is not accepted (step S102; No), the analysis configuration creation process (step S101) described so far is continuously executed.
  • the analysis unit 113 repeats the processes of steps S104 to S110 for all the sets of set values (step S103).
  • one parameter setting value is set for all the processing engines. Therefore, in the example of the analysis configuration shown in FIG. 18, one set of setting values is composed of 14 setting values associated with each icon.
  • step S103 the analysis process is performed for all such set values.
  • the analysis execution unit 127 acquires the image data to be analyzed via the image acquisition unit 106, and executes the analysis process according to the analysis configuration created in step S101 (step S104).
  • the analysis execution unit 127 acquires the processing engine corresponding to the icon arranged on the screen based on the processing engine data, and causes the processing engine to execute the processing.
  • the analysis execution unit 127 holds the image data which is the processing result, acquires the processing engine corresponding to the next icon connected by the connection relationship, and processes the held image data. To execute. Such processing is performed according to the analysis configuration.
  • the abnormality prediction unit 128 determines whether or not an abnormality is expected to occur in the result of the analysis process by the analysis execution unit 127 (step S105).
  • an appropriate processing unit is set in advance for the processing of each processing engine, and each time the processing of the processing unit is completed in step S103, the abnormality prediction unit 128 determines whether or not an abnormality is expected to occur. ..
  • step S105 When it is determined that the occurrence of an abnormality is not expected (step S105; No), the analysis execution unit 127 determines whether or not the analysis process for one set of set values is completed (step S106).
  • step S106 When it is determined that the analysis process for one set of set values has not been completed (step S106; No), the analysis execution unit 127 continuously executes the analysis process (step S104).
  • the analysis interruption unit 129 interrupts the analysis process and notifies the abnormality (step S107), and the image analysis process. To end.
  • the abnormality notification in step S107 is a notification for prompting a change in the set value
  • the analysis interruption unit 129 is, for example, a message to change the set value for the parameter of the processing engine related to the processing in which the occurrence of the abnormality is expected. Is displayed on the screen. At this time, the analysis interruption unit 129 may display an image on which an abnormality is expected to occur on the screen.
  • the abnormality predicted by the abnormality prediction unit 128 is, for example, that when the image processing engine being executed in step S104 includes a person identification function, a plurality of people are the same person in the frame image by the image processing engine. To be analyzed.
  • the image processing engine being executed in step S104 is a respecific engine
  • the number of people analyzed as the same person among the plurality of image data is less than the threshold value, and the plurality of image data. For example, a person who should be continuously detected is not detected.
  • step S107 By performing the abnormality notification process (step S107) based on the prediction of the occurrence of such an abnormality, the user can appropriately set the processing engine configuration, parameter setting values, etc. before the analysis process for all combinations is completed. You can consider if there is one. This makes it possible to modify the processing engine configuration, parameter settings, etc. before the analysis processing for all combinations is completed. Therefore, it is possible to quickly create an appropriate analysis configuration and set parameters.
  • the analysis interruption unit 129 does not forcibly end the image analysis process after the notification in step S107, and may select either end or continuation of the image analysis process according to the instruction from the input unit 103. good.
  • step S106 When it is determined that the analysis process for one set of set values is completed (step S106; Yes), the abnormality detection unit 130 is operated by the analysis execution unit 127 to which the set of set values is applied, as shown in FIG. 8B. It is determined whether or not the result of the analysis process contains an abnormality (step S108).
  • the abnormality notification unit 131 interrupts the analysis process, notifies the abnormality (step S109), and ends the image analysis process.
  • the abnormality notification in step S109 is a notification for prompting a change in the set value, and the abnormality notification unit 131 changes, for example, the setting value for the parameter of the processing engine related to the image determined to contain the abnormality. Message is displayed on the screen. At this time, the abnormality notification unit 131 may display an image determined to include an abnormality on the screen.
  • the abnormality detected by the abnormality notification unit 131 is, for example, that when an image processing engine including a person identification function is included in the analysis configuration executed in step S104, a plurality of persons are included in the frame image included in the analysis result. It is to be analyzed as the same person.
  • the analysis configuration includes a respecific engine
  • the number of people analyzed as the same person in the analysis result is less than the threshold value, and the person to be continuously detected in the analysis result is detected. It is not done.
  • step S109 By performing the anomaly notification process (step S109) based on such anomaly detection, whether the user has an appropriate processing engine configuration, parameter setting values, etc. before the analysis process for all combinations is completed. You can consider whether or not. This makes it possible to modify the processing engine configuration, parameter settings, etc. before the analysis processing for all combinations is completed. Therefore, it is possible to quickly create an appropriate analysis configuration and set parameters.
  • the abnormality notification unit 131 does not forcibly end the image analysis process after the notification in step S109, and may select either end or continuation of the image analysis process according to the instruction from the input unit 103. good.
  • step S108 When it is determined that no abnormality is included (step S108; No), the result output unit 132 displays the result of the analysis process on the screen (step S110).
  • An example of the processing result is a screen showing the movement routes of each of the customers A to C searched under predetermined conditions when the inside of the store S as shown in FIG. 1 is viewed from above.
  • step S110 is performed every time the analysis process for one set of set values is completed, so that the user can appropriately obtain the result of the analysis process for each set of set values. You can consider whether or not.
  • the processing engine configuration, parameter settings, etc. can be modified before the analysis processing for all combinations is completed. Further, as a result of the examination, if it is determined to be appropriate, the configuration of the processing engine, the setting value of the parameter, and the like can be determined before the analysis processing for all the combinations is completed. Therefore, it is possible to quickly create an appropriate analysis configuration and set parameters.
  • step S105; Yes Even when an abnormality is expected to occur (step S105; Yes) or an abnormality is detected (step S108; Yes), the image analysis process is continued and analyzed according to the instruction from the input unit 103. It may be possible to end the process. In such a case, the result output unit 132 may display the result of the analysis process on the screen.
  • the analysis execution unit 127 continuously executes the processes of steps S104 to S110 for different sets of set values, and ends the image analysis process when the processes of steps S104 to S110 are completed for all the sets of set values.
  • FIG. 19 is a flowchart showing an example of the component creation process according to the present embodiment.
  • the component creation process is executed during or after the analysis configuration is created.
  • the component creation unit 114 determines whether or not the component creation instruction has been accepted (step S501).
  • the component creation instruction is an instruction to select the icon group and the connection relationship to be included in the component and create the component including the selected icon group and the connection relationship.
  • the component creation unit 114 receives, for example, a component creation instruction based on an operation of the input unit 103 by the user.
  • FIG. 20 shows an example in which the icon group surrounded by the rectangular dotted line CMP and the connection relationship are selected from the analysis configuration shown in FIG.
  • step S501 When it is determined that the component creation instruction is not accepted (step S501; No), the component creation unit 114 ends the component creation process.
  • the component creation unit 114 stores the component data in the component storage unit 115 (step S502), and ends the component creation process.
  • the component data is data indicating that the component composed of the icon group and the connection relationship related to the component creation instruction received in step S501 is associated with the information for identifying the component.
  • the icon arranging unit 107 can arrange the component included in the component data in the same manner as the icon.
  • FIG. 21 shows an example in which the component selected in FIG. 20 is arranged on the screen for creating an analysis configuration as a component called “wide area identification”. That is, the analytical configuration shown in FIG. 21 and the analytical configuration shown in FIG. 15 have the same contents.
  • the component is composed of an icon group and a connection relationship, and an example of not including the parameter setting value has been described, but the component may further include the parameter setting value.
  • the icon arranging unit 107 screens a plurality of icons including a plurality of input source icons, a plurality of image processing icons, and at least one output destination icon based on instructions for arranging them on the screen. Is placed in. Then, when the connection unit 110 receives the connection instruction, the data flow between the icons is set and displayed on the screen based on the connection instruction.
  • the user can create an analysis configuration (that is, configure the entire analysis process of the image data) while recognizing the content of the analysis process of the image data by displaying the screen. Therefore, it becomes possible to easily configure the entire analysis process of the image data appropriately.
  • the present invention is not limited thereto.
  • the present invention also includes a form in which a part or all of the embodiments described above and a part or all of the modifications are appropriately combined, and a form in which the form is appropriately modified.
  • An icon arranging means for receiving an instruction for arranging a plurality of icons including the above on the screen and arranging the plurality of icons on the screen based on the instruction, and an icon arranging means for arranging the plurality of icons on the screen.
  • a connection means for receiving a connection instruction for connecting between the icons arranged on the screen, and a connection means.
  • An image analysis device including a data flow setting means for setting a data flow between the icons and displaying the data flow on the screen based on the connection instruction.
  • the parameter setting means is When the image processing icon arranged on the screen is selected, the candidate of the setting value for the parameter applied to the image processing engine corresponding to the selected image processing icon is based on at least a part of the image data.
  • Parameter estimation means to be obtained A parameter candidate display means for displaying the obtained candidate on the screen, and The image analyzer according to 2 above, which includes a parameter receiving means for receiving the setting of the parameter.
  • the parameter estimation means is When the image processing icon arranged on the screen is selected, when the image processing engine associated with the selected image processing icon includes a function of identifying a person, in the processing by the image processing engine, the said The image analyzer according to 3 above, which obtains a candidate for the set value so that all the persons included in the frame image constituting at least a part of the image data are analyzed as different persons.
  • the parameter estimation means is When the image processing icon arranged on the screen is selected, it is obtained by executing the processing by the image processing engine associated with the selected image processing icon on at least a part of the image data.
  • a sample display means for displaying one or more sample images on the screen, and
  • An evaluation receiving means that accepts a user's evaluation for the one or more sample images, and
  • the sample display means displays a plurality of sample sets composed of the one or a plurality of sample images.
  • the sample display means has a function of detecting a detection target included in the image data by an image processing engine associated with the selected image processing icon when the image processing icon arranged on the screen is selected. Is included, the one or more sample images indicating the detected detection target are displayed.
  • the image analysis apparatus according to 6 above, wherein the evaluation receiving means receives as the evaluation whether or not the detection target is correctly detected in the one or a plurality of sample images.
  • the sample display means includes a person when the image processing icon arranged on the screen is selected and the image processing engine associated with the selected image processing icon includes a function of identifying a person. Display a plurality of the sample images, The image analysis apparatus according to 6 or 7, wherein the evaluation receiving means receives as the evaluation whether or not the persons included in the plurality of sample images are the same.
  • the image data is further provided with an analysis means for executing an analysis process according to a plurality of icons arranged on the screen and a connection relationship between the plurality of icons.
  • the parameter setting means receives a plurality of sets of setting values composed of setting values associated with each of the plurality of icons arranged on the screen.
  • the image analysis apparatus according to any one of 2 to 8, wherein the analysis means executes an analysis process on the image data according to the connection relationship of a plurality of icons arranged on the screen for each set of the set values. ..
  • the analysis means causes the screen to display the result of the analysis process each time the analysis process for the image data is completed according to the connection relationship of a plurality of icons arranged on the screen for each set of the set values.
  • the image analyzer according to 9.
  • the analysis means is Anomaly prediction means for predicting whether or not an abnormality will occur in the result of the analysis process, 9.
  • the image analysis apparatus according to 9 or 10 further comprising an analysis interrupting means for notifying a change of the set value when the abnormality is expected to occur.
  • the analysis means is Anomaly detection means for determining whether or not the result of the analysis process contains anomalies,
  • the above abnormality is When the image processing engine associated with the image processing icon arranged on the screen includes a function of identifying a person, it is analyzed that a plurality of people included in the frame image constituting the image data are the same person. And that A plurality of image processing engines associated with image processing icons arranged on the screen include a function of identifying a person, and the analysis target is obtained by photographing different areas of a continuous space.
  • a component creation means for accepting a selection for a part or all of the plurality of icons arranged and connected on the screen and holding the selected plurality of icons and the connection relationship between the plurality of icons as a component.
  • the image analyzer according to any one of 1 to 13 above.
  • the image processing icon is A detection icon associated with the detection engine, which is an image processing engine for detecting the detection target from image data, and A tracking icon associated with a tracking engine, which is an image processing engine for tracking tracking targets in image data, A feature amount extraction icon associated with a feature amount extraction engine, which is an image processing engine for extracting feature amounts in image data, and a feature amount extraction icon.
  • a search icon associated with a search engine which is an image processing engine for searching for search targets from image data, and The image according to any one of 1 to 14 above, which includes a respecific icon associated with a respecific engine, which is an image processing engine for tracking a tracking target across a plurality of image data, and at least one of. Analysis equipment.
  • the data flow setting means is When the connection instruction is received by the connection means, it is determined whether or not the connection between the icons related to the connection instruction is included in the prohibition data indicating the prohibition regarding the connection between the icons, and the result of the determination is Prohibition processing means that performs prohibition processing based on The image analyzer according to any one of 1 to 15 above, which includes an appropriate flow setting means for setting a flow of data between the icons and displaying the data on the screen according to the connection instruction and the prohibition process.
  • the prohibition processing notifies that the connection relationship according to the connection instruction is not generated, the connection instruction is modified by a predetermined method, and the connection between the icons related to the connection instruction is prohibited.
  • the image analyzer according to 16 above comprising at least one of the above.
  • the image processing engine includes a processing engine having different functions related to image processing.
  • the image analysis device according to one of 1 to 17, wherein the image processing icon has at least one of different shapes, colors, patterns, and outlines depending on the function of the image processing engine.
  • the image analyzer according to any one of 1 to 18 above, and An image analysis system including a plurality of image pickup devices for obtaining the image data.
  • Accepting instructions for arranging a plurality of icons on the screen including, and arranging the plurality of icons on the screen based on the instructions.
  • An image analysis method comprising setting a flow of data between the icons and displaying it on the screen based on the connection instruction.
  • Accepting instructions for arranging a plurality of icons on the screen including, and arranging the plurality of icons on the screen based on the instructions.
  • Image analysis system 101a, 101b, 101c Camera 102 Image analysis device 103 Input unit 104 Display unit 105 Display control unit 106 Image acquisition unit 107 Icon placement unit 108 Icon storage unit 109 Icon-Processing storage unit 110 Connection unit 111 Data flow setting unit 112 Parameter setting unit 113 Analysis unit 114 Component creation unit 115 Component storage unit 116 Forbidden processing unit 117 Forbidden storage unit 118 Appropriate flow setting unit 119 Parameter estimation unit 120 Parameter candidate display unit 121 Parameter reception unit 122 Automatic estimation unit 123 User support estimation unit 124 Sample display unit 125 Evaluation reception unit 126 Candidate acquisition unit 127 Analysis execution unit 128 Abnormality prediction unit 129 Analysis interruption unit 130 Abnormality detection unit 131 Abnormality notification unit 132 Result output unit

Landscapes

  • Engineering & Computer Science (AREA)
  • Theoretical Computer Science (AREA)
  • Physics & Mathematics (AREA)
  • General Physics & Mathematics (AREA)
  • General Engineering & Computer Science (AREA)
  • Multimedia (AREA)
  • Human Computer Interaction (AREA)
  • Software Systems (AREA)
  • Computer Vision & Pattern Recognition (AREA)
  • Databases & Information Systems (AREA)
  • Health & Medical Sciences (AREA)
  • Evolutionary Computation (AREA)
  • General Health & Medical Sciences (AREA)
  • Medical Informatics (AREA)
  • Computing Systems (AREA)
  • Artificial Intelligence (AREA)
  • Quality & Reliability (AREA)
  • User Interface Of Digital Computer (AREA)
  • Image Analysis (AREA)
  • Closed-Circuit Television Systems (AREA)
  • Image Processing (AREA)
  • Digital Computer Display Output (AREA)
PCT/JP2020/028159 2020-07-20 2020-07-20 画像分析装置、画像分析システム、画像分析方法及びプログラム Ceased WO2022018809A1 (ja)

Priority Applications (6)

Application Number Priority Date Filing Date Title
JP2022538515A JP7537499B2 (ja) 2020-07-20 2020-07-20 画像分析装置、画像分析方法及びプログラム
US18/015,903 US12080057B2 (en) 2020-07-20 2020-07-20 Image analysis apparatus, image analysis method, and storage medium
PCT/JP2020/028159 WO2022018809A1 (ja) 2020-07-20 2020-07-20 画像分析装置、画像分析システム、画像分析方法及びプログラム
JP2024066652A JP7775913B2 (ja) 2020-07-20 2024-04-17 画像分析装置、画像分析方法及びプログラム
US18/765,385 US20240362908A1 (en) 2020-07-20 2024-07-08 Image analysis apparatus, image analysis method, and storage medium
US19/215,493 US20250285431A1 (en) 2020-07-20 2025-05-22 Image analysis apparatus, image analysis method, and storage medium

Applications Claiming Priority (1)

Application Number Priority Date Filing Date Title
PCT/JP2020/028159 WO2022018809A1 (ja) 2020-07-20 2020-07-20 画像分析装置、画像分析システム、画像分析方法及びプログラム

Related Child Applications (2)

Application Number Title Priority Date Filing Date
US18/015,903 A-371-Of-International US12080057B2 (en) 2020-07-20 2020-07-20 Image analysis apparatus, image analysis method, and storage medium
US18/765,385 Continuation US20240362908A1 (en) 2020-07-20 2024-07-08 Image analysis apparatus, image analysis method, and storage medium

Publications (1)

Publication Number Publication Date
WO2022018809A1 true WO2022018809A1 (ja) 2022-01-27

Family

ID=79729122

Family Applications (1)

Application Number Title Priority Date Filing Date
PCT/JP2020/028159 Ceased WO2022018809A1 (ja) 2020-07-20 2020-07-20 画像分析装置、画像分析システム、画像分析方法及びプログラム

Country Status (3)

Country Link
US (3) US12080057B2 (enExample)
JP (2) JP7537499B2 (enExample)
WO (1) WO2022018809A1 (enExample)

Families Citing this family (1)

* Cited by examiner, † Cited by third party
Publication number Priority date Publication date Assignee Title
DE102020210995A1 (de) * 2020-09-01 2022-03-03 Siemens Healthcare Gmbh Verfahren zum Bereitstellen einer Fehler-Information bezüglich einer Mehrzahl an Einzel-Messungen

Citations (4)

* Cited by examiner, † Cited by third party
Publication number Priority date Publication date Assignee Title
JPH11149369A (ja) * 1997-11-14 1999-06-02 Oki Electric Ind Co Ltd プログラム開発装置および記録媒体
JP2007317032A (ja) * 2006-05-26 2007-12-06 Kyocera Mita Corp 画像形成装置用ユーザアプリケーション開発支援装置
JP2013114457A (ja) * 2011-11-29 2013-06-10 Fuji Mach Mfg Co Ltd 画像処理装置のシステム構築装置
WO2020110933A1 (ja) * 2018-11-28 2020-06-04 株式会社トラスト・テクノロジー プログラミング装置、およびプログラム

Family Cites Families (17)

* Cited by examiner, † Cited by third party
Publication number Priority date Publication date Assignee Title
JP4573729B2 (ja) * 2005-08-24 2010-11-04 イーストマン コダック カンパニー デジタルカメラおよび画像共有方法
WO2010006367A1 (en) * 2008-07-16 2010-01-21 Imprezzeo Pty Ltd Facial image recognition and retrieval
JP2011002930A (ja) * 2009-06-17 2011-01-06 Ricoh Co Ltd 画像編集装置、画像編集方法、およびプログラム
US9811373B2 (en) 2011-02-09 2017-11-07 Nec Corporation Analysis engine control device
US9282296B2 (en) * 2011-12-07 2016-03-08 Siemens Aktiengesellschaft Configuration tool for video analytics
WO2014182898A1 (en) * 2013-05-09 2014-11-13 Siemens Aktiengesellschaft User interface for effective video surveillance
JP6347589B2 (ja) * 2013-10-30 2018-06-27 キヤノン株式会社 情報処理装置、情報処理方法及びプログラム
JP6128468B2 (ja) * 2015-01-08 2017-05-17 パナソニックIpマネジメント株式会社 人物追尾システム及び人物追尾方法
JP2016106312A (ja) 2016-01-27 2016-06-16 株式会社根本杏林堂 医療用画像処理ネットワークシステム
EP3312762B1 (en) * 2016-10-18 2023-03-01 Axis AB Method and system for tracking an object in a defined area
JP6807268B2 (ja) 2017-04-18 2021-01-06 日本電信電話株式会社 画像認識エンジン連携装置およびプログラム
JP2019008666A (ja) 2017-06-27 2019-01-17 キヤノン株式会社 情報処理装置、制御方法、およびプログラム
US10395385B2 (en) * 2017-06-27 2019-08-27 Qualcomm Incorporated Using object re-identification in video surveillance
JP2019020954A (ja) 2017-07-14 2019-02-07 キヤノン株式会社 情報処理装置、情報処理装置の制御方法、及びプログラム
JP2019054896A (ja) 2017-09-20 2019-04-11 株式会社日立製作所 医用画像処理装置及び医用画像処理方法及びそれに用いる処理プログラム
JP2019175407A (ja) 2018-03-29 2019-10-10 パナソニック デバイスSunx株式会社 画像検査プログラムのプログラム作成装置及びプログラム作成方法、並びに作成プログラム
GB2574670A (en) * 2018-06-15 2019-12-18 The Face Recognition Company Ltd Method of and system for recognising a human face

Patent Citations (4)

* Cited by examiner, † Cited by third party
Publication number Priority date Publication date Assignee Title
JPH11149369A (ja) * 1997-11-14 1999-06-02 Oki Electric Ind Co Ltd プログラム開発装置および記録媒体
JP2007317032A (ja) * 2006-05-26 2007-12-06 Kyocera Mita Corp 画像形成装置用ユーザアプリケーション開発支援装置
JP2013114457A (ja) * 2011-11-29 2013-06-10 Fuji Mach Mfg Co Ltd 画像処理装置のシステム構築装置
WO2020110933A1 (ja) * 2018-11-28 2020-06-04 株式会社トラスト・テクノロジー プログラミング装置、およびプログラム

Non-Patent Citations (3)

* Cited by examiner, † Cited by third party
Title
EGUCHI, MEGUMI: "Examples of '' Visual Applets'' and ''BLOB '' algorithms capable of drag- and-drop FPGA program design", IMAGING INFORMATION INDUSTRIAL, vol. 42, no. 1, 1 January 2010 (2010-01-01), JP , pages 41 - 46, XP009534532, ISSN: 1346-1362 *
YAMAMOTO, RYUTARO: "A1 Image Detection System A1 Inspector for Production Processes", IMAGING INFORMATION INDUSTRIAL, vol. 50, no. 12, 1 December 2018 (2018-12-01), JP , pages 99 - 106, XP009534533, ISSN: 1346-1362 *
YOSHIKAWA, SHIGEO: "EVT Software ''EyeVision'' Machine Vision Detection Image Processing Program Made Simple", IMAGE LABORATORY, vol. 28, no. 10, 10 October 2017 (2017-10-10), JP , pages 50 - 55, XP009534531, ISSN: 0915-6755 *

Also Published As

Publication number Publication date
JP7775913B2 (ja) 2025-11-26
US20230267727A1 (en) 2023-08-24
US12080057B2 (en) 2024-09-03
JPWO2022018809A1 (enExample) 2022-01-27
JP7537499B2 (ja) 2024-08-21
US20250285431A1 (en) 2025-09-11
JP2024099635A (ja) 2024-07-25
US20240362908A1 (en) 2024-10-31

Similar Documents

Publication Publication Date Title
EP3483594B1 (en) Information processing device, information processing method and program
KR101189843B1 (ko) 기판 검사 시스템
CN105898213B (zh) 显示控制装置和显示控制方法
JP2013534310A5 (enExample)
JP7391504B2 (ja) 情報処理装置、情報処理方法及びプログラム
US9600893B2 (en) Image processing device, method, and medium for discriminating a type of input image using non-common regions
JP6799869B1 (ja) 点検支援システム、及び点検支援方法
TW201638784A (zh) 自動測試裝置
CN112667212A (zh) 埋点数据可视化方法、装置、终端和存储介质
JP6910208B2 (ja) 情報処理装置、情報処理方法およびプログラム
JP6828708B2 (ja) 制御装置、監視システム、及び監視カメラ制御方法
JP7775913B2 (ja) 画像分析装置、画像分析方法及びプログラム
US9424640B2 (en) Pathological diagnosis support apparatus and pathological diagnosis support method
JP2024019350A5 (ja) 情報処理装置、サーバ装置、情報処理装置の制御方法、サーバ装置の制御方法、及びプログラム
JP6068408B2 (ja) ワークフロー制御装置及びプログラム
CN109285138A (zh) 用于机器视觉分析的分布式处理系统及方法
JP7521588B2 (ja) 画像解析装置
JP6765877B2 (ja) 画像処理装置、画像処理方法およびプログラム
JPWO2022018809A5 (ja) 画像分析装置、画像分析方法及びプログラム
JP7619591B2 (ja) 情報処理装置
JP2023134183A5 (enExample)
JP7509966B1 (ja) 作業分析装置、作業分析方法及び作業分析プログラム
EP4592850A1 (en) System, method, and program for testing website
JP2025086616A (ja) 作業記録システム及び作業記録方法
JP6939855B2 (ja) 情報処理装置、情報処理システム、制御方法、及びプログラム

Legal Events

Date Code Title Description
121 Ep: the epo has been informed by wipo that ep was designated in this application

Ref document number: 20945974

Country of ref document: EP

Kind code of ref document: A1

ENP Entry into the national phase

Ref document number: 2022538515

Country of ref document: JP

Kind code of ref document: A

NENP Non-entry into the national phase

Ref country code: DE

122 Ep: pct application non-entry in european phase

Ref document number: 20945974

Country of ref document: EP

Kind code of ref document: A1