WO2020184232A1 - 粒子加速器、粒子線治療装置、および荷電粒子ビーム出射方法 - Google Patents

粒子加速器、粒子線治療装置、および荷電粒子ビーム出射方法 Download PDF

Info

Publication number
WO2020184232A1
WO2020184232A1 PCT/JP2020/008484 JP2020008484W WO2020184232A1 WO 2020184232 A1 WO2020184232 A1 WO 2020184232A1 JP 2020008484 W JP2020008484 W JP 2020008484W WO 2020184232 A1 WO2020184232 A1 WO 2020184232A1
Authority
WO
WIPO (PCT)
Prior art keywords
deflector
stage
particle beam
charged particle
emission
Prior art date
Legal status (The legal status is an assumption and is not a legal conclusion. Google has not performed a legal analysis and makes no representation as to the accuracy of the status listed.)
Ceased
Application number
PCT/JP2020/008484
Other languages
English (en)
French (fr)
Japanese (ja)
Inventor
康太 水島
敏之 白井
Current Assignee (The listed assignees may be inaccurate. Google has not performed a legal analysis and makes no representation or warranty as to the accuracy of the list.)
National Institutes For Quantum Science and Technology
Original Assignee
National Institutes For Quantum Science and Technology
Priority date (The priority date is an assumption and is not a legal conclusion. Google has not performed a legal analysis and makes no representation as to the accuracy of the date listed.)
Filing date
Publication date
Application filed by National Institutes For Quantum Science and Technology filed Critical National Institutes For Quantum Science and Technology
Priority to JP2021504926A priority Critical patent/JP7481753B2/ja
Publication of WO2020184232A1 publication Critical patent/WO2020184232A1/ja
Anticipated expiration legal-status Critical
Ceased legal-status Critical Current

Links

Images

Classifications

    • AHUMAN NECESSITIES
    • A61MEDICAL OR VETERINARY SCIENCE; HYGIENE
    • A61NELECTROTHERAPY; MAGNETOTHERAPY; RADIATION THERAPY; ULTRASOUND THERAPY
    • A61N5/00Radiation therapy
    • A61N5/10X-ray therapy; Gamma-ray therapy; Particle-irradiation therapy
    • HELECTRICITY
    • H05ELECTRIC TECHNIQUES NOT OTHERWISE PROVIDED FOR
    • H05HPLASMA TECHNIQUE; PRODUCTION OF ACCELERATED ELECTRICALLY-CHARGED PARTICLES OR OF NEUTRONS; PRODUCTION OR ACCELERATION OF NEUTRAL MOLECULAR OR ATOMIC BEAMS
    • H05H13/00Magnetic resonance accelerators; Cyclotrons
    • H05H13/04Synchrotrons

Definitions

  • the present invention relates to a particle accelerator for accelerating and emitting a charged particle beam, a particle beam therapy device, and a method for emitting a charged particle beam.
  • the synchrotron which is one of the particle accelerators, gives energy to the beam in the high-frequency acceleration cavity and raises the generated magnetic field of the electromagnet according to the change in beam energy, so that the beam can be applied to various energies while maintaining the orbital radius of the beam. It is a circular accelerator that can accelerate and emit energy.
  • the miniaturization of the synchrotron contributes to the reduction of manufacturing cost, running cost, building cost, and the like. Therefore, miniaturization of the synchrotron is strongly demanded from the field of particle beam therapy using a high-energy charged particle beam.
  • a synchrotron type accelerator and a medical device using the synchrotron have been proposed as those in which the synchrotron is used (see Patent Document 1).
  • This document describes that a charged particle beam is deflected by an emission electrostatic deflector 101, and further deflected by an emission deflection electromagnet 102. It is said that the accelerator 100 can be miniaturized because the electrostatic deflector 101 and the exiting deflection electromagnet 102 do not have to be installed in the same straight line portion.
  • Patent Document 2 a synchrotron and a particle beam therapy device using the synchrotron have also been proposed (see Patent Document 2).
  • a plurality of deflection electromagnets and one divergent quadrupole electromagnet are arranged between the first exit deflector and the second exit deflector, and the upstream side of the first exit deflector.
  • a configuration is shown in which convergent quadrupole electromagnets are arranged on the downstream side of the second exit deflector, respectively, and the quadrupole electromagnets between the exit deflectors are reduced while being deflected by the first exit deflector. It is stated that the action of the emitted beam being kicked back to the orbiting beam side by the quadrupole electromagnet can be eliminated.
  • the orbiting beam and the emission beam can be sufficiently separated, and the beam can be taken out of the synchrotron with less loss.
  • the curvature and deflection angle of the deflection electromagnets constituting the curved portions become large, resulting in deflection.
  • the electromagnet acts as a strong convergence factor. Therefore, the emission beam bent away from the orbiting beam by the first emission device is returned in the orbital beam direction by the convergence element, and the orbiting beam and the emission beam at the position of the second emission device There was a problem that large separation was hindered.
  • the first emission deflection is performed with a second emission deflector 208 having a larger deflection angle, for example, a septum electromagnet.
  • a synchrotron using a configuration in which the emission beam is extracted by the third emission deflector 209 after deflecting in the opposite direction to the vessel 207 and crossing the circumferential beam, and a particle beam therapy device using the synchrotron have also been proposed ( See Patent Document 3). It is stated that this makes it possible to secure the necessary separation in the third exit deflector 209, and to reduce the size of the exit device and the synchrotron.
  • a divergence quadrupole electromagnet is arranged between the first exit deflector 207 and the second exit deflector 208, or the first exit deflector 207 If the second exit deflector 208 is not arranged apart from each other, the separation of the circumferential beam and the exit beam in the second exit deflector 208 cannot be sufficiently secured, and the long straight portion must be lengthened by that amount. .. Therefore, there is a problem that the miniaturization of the synchrotron is limited.
  • components such as ducts and flanges for keeping the inside of the synchrotron in a vacuum state are required between the devices, and the first exit deflector 207 and the second exit deflector 208 are arranged close to each other.
  • the first exit deflector 207 and the second exit deflector 208 are arranged close to each other.
  • there are restrictions such as the need for components such as vacuum ducts and vacuum flanges between devices.
  • the present invention is a particle accelerator having a plurality of deflecting electromagnets that deflect a charged particle beam in a direction along an orbital orbit and orbiting and accelerating the charged particle beam to emit the charged particle beam in a direction away from the orbit.
  • a front-stage ejecting deflector that deflects the charged particle beam
  • a middle-stage emitting deflector that deflects the charged particle beam deflected in the separating direction toward the orbit
  • a charged particle beam deflected in the approaching direction is a particle accelerator having a plurality of deflecting electromagnets that deflect a charged particle beam in a direction along an orbital orbit and orbiting and accelerating the charged particle beam to emit the charged particle beam in a direction away from the orbit.
  • a rear-stage emission deflector for further deflecting is provided, and at least one deflection electromagnet is provided between the middle-stage emission deflector and the rear-stage emission deflector, and the front-stage emission deflector and the middle-stage emission deflector are contained in one vacuum vessel. It is characterized by a particle accelerator, a particle beam therapy device, and a method of emitting a charged particle beam housed in.
  • the plan view which shows the schematic structure of the particle beam therapy apparatus. Enlarged plan view of the front-stage emission deflector and the middle-stage emission deflector. Enlarged plan view from the front-stage emission deflector to the rear-stage emission deflector. An enlarged plan view of the periphery of the middle-stage emission deflector showing the blocking structure of the emission beam.
  • FIG. 1 is a plan view showing a schematic configuration of the particle beam therapy device 1.
  • the particle beam therapy device 1 emits from an injector 10 that incidents a charged particle beam, a particle accelerator 20 (synchrotron) that accelerates a charged particle beam incident from the incidenter 10 through an incident beam line 11, and a particle accelerator 20.
  • a beam monitor 30a that monitors a charged particle beam on the emission beam line 30, an irradiation device 31 for irradiating a target site of a patient in a treatment room with a charged particle beam emitted from the emission beam line 30, an accelerator 10, and an injector 10.
  • It has an accelerator control device 40 that controls the particle accelerator 20 and an irradiation control device 41 that controls the irradiation device 31.
  • the injector 10 is configured by arranging an ion source (not shown) and a linear accelerator (not shown) in this order.
  • the ion source in the injector 10 generates ions by colliding high-speed electrons with a neutral gas, and accelerates the ions to a state in which the particle accelerator 20 can accelerate them with a linear accelerator.
  • Examples of ions and particles to be ionized include hydrogen, helium, carbon, nitrogen, oxygen, neon, silicon, and argon.
  • the linear accelerator in the injector 10 accelerates the charged particles supplied from the ion source to a predetermined energy and supplies the charged particles to the particle accelerator 20.
  • the linear accelerator for example, an RFQ linac or a drift tube linac that accelerates and focuses charged particles by a high-frequency quadrupole electric field is used.
  • the linear accelerator accelerates the charged particles to, for example, an energy of several MeV per nucleon.
  • the injector 10 emits a charged particle beam that has been taken out and accelerated in this way, and is incident on the particle accelerator 20 through the incident beam line 11.
  • the particle accelerator 20 includes an incident device 23 for incident a charged particle beam, which is accelerated by the injector 10 and then transported by the incident beam line 11, into the particle accelerator 20, and a charged particle electromagnet orbiting in the particle accelerator 20.
  • a high-frequency accelerator cavity 24 that accelerates the particle to high energy
  • a quadrupole electromagnet 22 that converges the charged particle beam
  • a deflecting electromagnet 21 that deflects the charged particle beam in the orbital direction (direction along the orbital orbit), and correction of chromatic aberration.
  • the accelerator control device 40 provided in the particle accelerator 20. That is, under the control of the accelerator control device 40, the particle accelerator 20 deflects the charged particle beam received by the incident device 23 by the deflecting electromagnet 21 and converges it by the quadrupole electromagnet 22 to orbit the orbit.
  • the high-frequency acceleration cavity 24 accelerates to high energy
  • the quadrupole electromagnet 25 corrects chromatic aberration and slow extraction by resonance
  • the high-frequency electric field device 26 excites the orbiting charged particle beam for slow extraction, resulting in a pre-stage emission deflector. 27, the emission is performed by the middle-stage exit deflector 28 and the rear-stage exit deflector 29.
  • the accelerator control device 40 and the irradiation control device 41 are provided with emission prevention function units 40a and 41a, respectively.
  • the emission prevention function units 40a and 41a have a function of issuing a command to lower the generated magnetic field to the middle stage emission deflector 28 to block the charged particle beam and immediately prevent the emission.
  • the accelerator control device 40 and the irradiation control device 41 are controlled and operated by a program stored in the storage medium.
  • the high-frequency acceleration cavity 24 accelerates a charged particle beam that orbits the orbit of the particle accelerator 20 by an electric field generated between the acceleration gaps (not shown) provided inside.
  • the charged particle beam passing between the acceleration gaps (from right to left shown in FIG. 1) is accelerated by applying a high-frequency electric field in a phase in which a positive energy gain can be obtained, and the energy increases with each orbit. I will do it.
  • the phase of the electric field generated between the acceleration gaps is reversed to slow down the charged particle beam and suppress the generation of radiation.
  • the front-stage emission deflector 27 is composed of an electrostatic deflector.
  • the middle-stage emission deflector 28 and the rear-stage emission deflector 29 are composed of a septum electromagnet.
  • the charged particle beam is accelerated to a predetermined energy, for example, an energy of several hundred MeV per nucleon.
  • the deflection electromagnet 21, the quadrupole electromagnet 22, the hexapole electromagnet 25, and the high-frequency electric field device 26 respond to the energy of the charged particle beam accelerated or decelerated in synchronization with the acceleration or deceleration in the high-frequency acceleration cavity 24.
  • the magnetic field strength is controlled by the accelerator control device 40 so that the charged particle beam draws an orbit along the orbital orbit of the particle accelerator 20.
  • the charged particle beam accelerated to a predetermined energy on the orbit is deflected by the front-stage exit deflector 27, the middle-stage exit deflector 28, and the rear-stage exit deflector 29, and is emitted from the particle accelerator 20 as an emission beam. It is taken out to the exit beam line 30.
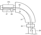
  • FIG. 2 is an enlarged plan view showing a schematic configuration around the front-stage exit deflector 27 and the middle-stage exit deflector 28.
  • FIG. 2 schematically shows an orbital beam orbit 50, which is an orbital orbit of the orbiting charged particle beam 6, and an emitted beam orbit 51 of the emitted beam.
  • the front-stage exit deflector 27 and the middle-stage exit deflector 28 are provided in the same (one) vacuum container 27c.
  • the vacuum vessel 27c is provided with vacuum flanges 28a at the front and rear ends in the orbital direction of the charged particle beam.
  • the vacuum flange 28a on the upstream side is connected to the vacuum flange (not shown) of the hexapole electromagnet 25 (see FIG. 1).
  • the vacuum flange 28a on the downstream side (the emission side of the charged particle beam) is connected to the vacuum flange 21a of the deflection electromagnet 21.
  • the front-stage emission deflector 27 has a structure in which a thin septum electrode 27a and a high-voltage electrode 27b are installed in a vacuum vessel 27c.
  • the thin septum electrode 27a is arranged around the inside of the orbiting charged particle beam 6 with reference to the orbiting direction of the orbiting charged particle beam 6 along the orbital direction of the orbiting charged particle beam 6. It is formed and arranged in a thin plate shape having a curved shape in a direction away from the orbiting charged particle beam 6 as it advances in the traveling direction (from the incident side to the exit side) of 6.
  • the high-pressure electrode 27b is formed in a curved plate shape having approximately the same size and area as the thin septum electrode 27a and thicker than the septum electrode 27a, substantially parallel to the thin septum electrode 27a, and orbiting a charged particle beam than the thin septum electrode 27a. It is located on the side far from 6.
  • the high-voltage electrode 27b is a wide surface of the septum electrode 27a and is arranged so as to face the surface on the side far from the orbiting charged particle beam 6.
  • the shape of the high-voltage electrode 27b may be, for example, a plate having a surface of the high-voltage electrode 27b facing the septum electrode 27a having substantially the same area and size as the septum electrode 27a and thicker than the septum electrode 27a.
  • the high-voltage electrode 27b is a septum electrode so that the separation distance (electrode gap width 91) between the high-voltage electrode 27b and the septum electrode 27a is substantially constant, that is, the high-voltage electrode 27b and the septum electrode 27a are substantially parallel to each other. It is formed in a curved shape along 27a.
  • the electrode gap width 91 between the thin septum electrode 27a and the high-voltage electrode 27b is configured to be 10 mm or more and less than 20 mm.
  • a high voltage is applied to the pre-stage exit deflector 27 to generate an electrostatic field in the electrode gap.
  • the emitted beam from the pre-stage exit deflector 27 receives a force due to an electrostatic field in the electrode gap and is bent in a direction away from the orbiting charged particle beam 6. That is, when the emitted beam passes through the pre-stage exit deflector 27, the trajectory of the emitted beam (exit beam trajectory 51) is bent in a direction away from the orbiting charged particle beam 6 by receiving a force due to an electrostatic field in the electrode gap.
  • a distance similar to the distance between the orbital beam orbit 50 and the pre-stage exit deflector 27 is separated from the orbital beam orbit 50 from the pre-stage exit deflector 27.
  • a middle-stage exit deflector 28 is provided with a gap of 94.
  • An electrostatic shield 27d is provided between the front-stage emission deflector 27 and the middle-stage emission deflector 28 so that the plane intersects the emission beam trajectory 51 of the passing charged particle beam.
  • the gap 92 between the front-stage exit deflector 27 and the electrostatic shield 27d can be 10 mm to 30 mm, and in this embodiment, it is configured to be about 20 mm.
  • the gap 93 between the electrostatic shield 27d and the middle-stage exit deflector 28 can be 10 mm to 40 mm, preferably 20 mm to 30 mm, and in this embodiment, it is set to about 30 mm.
  • the front-stage emission deflector 27 and the middle-stage emission deflector 28 are arranged so that the distance between them is larger than the electrode gap width 91 between the high-pressure electrode 27b of the front-stage emission deflector 27 and the thin septum electrode 27a. ..
  • the front-stage exit deflector 27 and the middle-stage exit deflector 28 are arranged so that the distance between them is, for example, 150 mm (15 cm) or less.
  • the gap 94 which is the distance between the front-stage exit deflector 27 and the middle-stage exit deflector 28, can be 150 mm or less, more preferably 100 mm or less, and in this embodiment, 50 mm. It is composed of degrees.
  • the lower limit of the distance (gap 94) between the front-stage emission deflector 27 and the middle-stage emission deflector 28 is not particularly limited, but may be, for example, 10 mm or more, preferably 20 mm or more.
  • the middle-stage emission deflector 28 is a septum electromagnet, and has a magnetic pole length 95 (length in the direction parallel to the emission beam trajectory 51) of about 200 mm. That is, the middle-stage exit deflector 28 is installed as close as possible to the front-stage exit deflector 27 and in a vacuum environment.
  • the middle-stage emission deflector 28 At the position of the middle-stage emission deflector 28, there is only a substantially plate-shaped magnetic shield (not shown) that separates the septum coil 28c and both beams between the orbiting charged particle beam 6 and the emission beam, and a vacuum duct is provided around the emission beam. Therefore, it is possible to reduce the magnetic pole gap of the iron core, and to reduce the thickness of the septum coil 28c while maintaining the current density and the generated magnetic field strength. Therefore, even if the separation distance between the orbiting charged particle beam 6 and the emission beam is very small at the position of the middle-stage emission deflector 28, the aperture of the middle-stage emission deflector 28 can be passed without loss of the emission beam.
  • the amount of excitation required to deflect the charged particle beam of the emission beam orbit 51 in the required direction as much as necessary can be small, and the middle-stage emission deflector 28 and the vacuum container 27c accommodating the middle stage exit deflector 28 can be miniaturized.
  • the middle-stage emission deflector 28 bends the emission beam in the direction opposite to that of the front-stage emission deflector 27.
  • the middle-stage exit deflector 28 is arranged farther from the high-voltage electrode 27b than the electrode gap width of the front-stage exit deflector 27 in order to avoid discharge of the high-voltage electrode 27b. That is, the middle-stage exit deflector 28 is arranged so that the distance between the middle-stage exit deflector 28 and the high-voltage electrode 27b is larger than the electrode gap width 91 of the front-stage exit deflector 27.
  • the front-stage exit deflector 27 and the middle-stage exit deflector 28 are arranged close to each other while avoiding the discharge of the high-voltage electrode 27b more stably. It is possible.
  • the septum coil 28c of the middle-stage exit deflector 28 may be a plate-shaped conductor.
  • FIG. 3 is an enlarged plan view showing the emission beam trajectory 51 of the emission beam by the front-stage emission deflector 27, the middle-stage emission deflector 28, and the rear-stage emission deflector 29, and the orbital beam trajectory 50 of the orbiting charged particle beam 6.
  • a deflection electromagnet 21 and a quadrupole electromagnet 22 serving as convergence elements are arranged between the middle-stage exit deflector 28 and the rear-stage exit deflector 29.
  • the exit beam orbit 51 bent in the direction away from the orbit 50 by the front-stage exit deflector 27 and then approached (intersect) by the orbit 50 in the middle-stage exit deflector 28 is the downstream deflection electromagnet 21. It enters, passes through the inside of the deflection electromagnet 21 so as to intersect the circumferential beam trajectory 50, and reaches the side opposite to the displacement of the emission beam trajectory 51 at the exit of the front-stage emission deflector 27.
  • the deflection electromagnet 21 may be a function-coupled electromagnet, or may have an edge angle at the end of the electromagnet. Further, at least one or more deflection electromagnets 21 are provided between the middle-stage emission deflector 28 and the rear-stage emission deflector 29. The deflection electromagnet 21 provided with one or more of them is configured so that the total deflection angle is 60 degrees or more and 90 degrees or less.
  • the deflection electromagnet 21 acts as a strong converging element. Therefore, the emitted beam can be more effectively emitted at a short distance from the circumferential beam.
  • the exit beam orbit 51 that has passed through the deflection electromagnet 21 passes through the quadrupole electromagnet 22 further downstream, and is taken out of the particle accelerator 20 by the post-stage emission deflector 29 at a position sufficiently separated from the orbital beam orbit 50.
  • the post-stage emission deflector 29 may be a Lambertson type electromagnet.
  • FIG. 4 is an enlarged plan view of the periphery of the middle-stage emission deflector 28 for explaining the blocking structure of the emission beam.
  • a beam monitor 52a is arranged downstream of the middle-stage exit deflector 28 at a position outside the orbital beam orbit 50 from the exit beam orbit 51 and through which a charged particle beam passes when the generated magnetic field of the middle-stage exit deflector 28 is lowered. Further downstream, the beam dump 52b is arranged at a position where the charged particle beam reaches. As a result, the charged particle beam can be blocked, and the position and size of the blocked charged particle beam can be monitored. Since the beam monitor 52a and the beam dump 52b are arranged on the blocking beam trajectory 52 outside the exit beam trajectory 51, the charged particle beam passing through the orbital beam trajectory 50 is not obstructed.
  • the accelerator control device 40 or the irradiation control device 41 When the accelerator control device 40 or the irradiation control device 41 detects an abnormality in the device or beam, the accelerator control device 40 or the irradiation control device 41 issues a command to lower the generated magnetic field of the middle-stage exit deflector 28. As a result, the emission beam trajectory 51 can be quickly changed, and the beam can be prevented from being emitted from the particle accelerator 20. Therefore, when it is desired to stop the irradiation of the charged particle beam, such as when some abnormality occurs, the emission can be stopped immediately with a simple operation.
  • the beam monitor 52a and the beam dump 52b in front of the blocking beam trajectory 52, it is possible to acquire information such as the intensity and size of the blocked beam.
  • the generated magnetic field of the middle-stage emission deflector 28 is changed inside the particle accelerator 20 without using a configuration in which the emission beam is taken out from the particle accelerator 20 and measured by the beam monitor 30a in the emission beam line 30.
  • the beam monitor 52a By measuring the blocking beam with the beam monitor 52a, it is possible to obtain information equivalent to measuring the emitted beam.
  • the soundness of the emitted beam can be simulated and confirmed by the particle accelerator 20 alone with the blocking beam. Since the number of constituent devices of the emission beam line 30 can be reduced, the emission beam line 30 can be shortened and the particle beam therapy device 1 can be downsized.
  • the particle beam therapy device 1 arranges the front-stage emission deflector 27 and the middle-stage emission deflector 28 close to each other inside the same vacuum vessel 27c, so that the long linear portion of the particle accelerator 20 (synchrotron) Can be shortened and the entire particle accelerator 20 can be miniaturized.
  • the front-stage exit deflector 27 and the middle-stage exit deflector 28 in the same vacuum container 27c, a structure in which a vacuum duct or a vacuum flange is not sandwiched between devices (that is, for example, a vacuum container accommodating the front-stage exit deflector 27 and the middle stage). It is possible to realize a structure in which a vacuum container accommodating the exit deflector 28 does not need to be connected with a vacuum flange or the like). Further, since the vacuum duct between the orbital beam and the emitted beam is not required, the separation distance between the orbiting beam and the emitted beam required at the position of the middle-stage exit deflector 28 can be made very small. As a result, the front-stage exit deflector 27 and the middle-stage exit deflector 28 can be arranged close to each other, and the synchrotron can be downsized by shortening the long straight line portion more than before.
  • miniaturization can be realized by intentionally placing the middle-stage exit deflector 28, which is not normally desired to be installed in the vacuum container 27c, in the vacuum container 27c. That is, when an electromagnet is installed in the vacuum vessel 27c or the like, the degree of vacuum in the vacuum vessel 27c is lowered by the emitted gas, and when the degree of vacuum is lowered, the charged particle beam causes charge conversion or multiple scattering with the emitted gas, and the particle accelerator 20 It becomes difficult to circulate for a long time inside.
  • the front-stage exit deflector 27 and the middle-stage exit deflector 28 are installed in the vacuum vessel 27c, and the vacuum pump 4 is set to 2 so that the released gas generated by the electromagnet can be discharged. Miniaturization can be realized by connecting the pumps to secure the degree of vacuum.
  • the emission beam bent by the middle-stage exit deflector 28 enters the downstream deflection electromagnet 21 and passes near the center of the orbit so as to intersect the orbital beam, which is opposite to the displacement of the emission beam at the exit of the front-stage exit deflector 27.
  • the emitted beam passes near the center of the orbit around the inside of the deflecting electromagnet 21, the convergence force received by the emitted beam is weakened even if there is a converging element between them, and the separation from the orbiting beam is not hindered.
  • the emission beam can be taken out from the particle accelerator 20 without loss by the rear-stage emission deflector 29 arranged at a position where the emission beam and the orbiting beam can be sufficiently separated.
  • the front-stage exit deflector 27 and the middle-stage exit deflector 28 are arranged close to each other, and the particle accelerator 20 can be downsized by shortening the long straight line portion more than before.
  • the electrostatic shield 27d between the front-stage exit deflector 27 and the middle-stage exit deflector 28 when the distance between the front-stage exit deflector 27 and the middle-stage exit deflector 28 is shortened, the electrode of the front-stage exit deflector 27 discharges. It is possible to prevent such a situation. Further, since the middle-stage exit deflector 28 can be brought closer to the front-stage exit deflector 27, the electromagnetic force required by the middle-stage exit deflector 28 can be reduced, whereby the coil of the middle-stage exit deflector 28 can be made thinner, thereby further. The middle-stage emission deflector 28 can be brought closer to the electrostatic shield 27d. As a result, the force of the middle-stage emission deflector 28 to bend the emission beam trajectory 51 back is small.
  • the charged particle beam can be blocked by lowering the generated magnetic field of the middle-stage exit deflector 28, the charged particle beam can be immediately blocked in an emergency so that the target site or the like is not irradiated.
  • the generated magnetic field of the middle-stage exiting deflector 28 since it can be blocked by lowering (including stopping) the generated magnetic field of the middle-stage exiting deflector 28 instead of raising it, there is a problem even when something is wrong (for example, when the generated magnetic field cannot be raised). It is possible to perform high-speed blocking of charged particle beams.
  • the circumference of the synchrotron is about half that of the conventional synchrotron for heavy ion beam therapy.
  • the synchrotron device area can be reduced to about 1/4.
  • the present invention is not limited to the above-described embodiment, and may take various forms.
  • one deflection electromagnet 21 and one quadrupole electromagnet 22 are arranged between the middle-stage exit deflector 28 and the rear-stage exit deflector 29, but two or more deflection electromagnets 21 and quadrupole electromagnets 22 are used. They may be arranged in combination. In this case as well, the same effect can be obtained.
  • the front-stage exit deflector 27 and the middle-stage exit deflector 28 are arranged inside the particle accelerator 20, and the rear-stage exit deflector 29 is arranged outside the particle accelerator 20, but their internal and external arrangements are reversed from each other. You may. In this case as well, the same effect as that of the above-described embodiment can be obtained.
  • This invention can be used in industries that use particle accelerators, especially synchrotrons.
  • Irradiation device 40 ... Accelerator control device 40a, 41a ... Emission prevention function unit 41 ... Irradiation control device 50 ... Circular beam trajectory 51 ... Emission beam trajectory 52 ... Blocking beam trajectory 52a ... Beam monitor 52b ... Beam dump 91 ... Electrode gap width 92, 93, 94 ... Gap 95 ... Magnetic pole length

Landscapes

  • Health & Medical Sciences (AREA)
  • Engineering & Computer Science (AREA)
  • Biomedical Technology (AREA)
  • Pathology (AREA)
  • Nuclear Medicine, Radiotherapy & Molecular Imaging (AREA)
  • Radiology & Medical Imaging (AREA)
  • Life Sciences & Earth Sciences (AREA)
  • Animal Behavior & Ethology (AREA)
  • General Health & Medical Sciences (AREA)
  • Public Health (AREA)
  • Veterinary Medicine (AREA)
  • Physics & Mathematics (AREA)
  • Plasma & Fusion (AREA)
  • Spectroscopy & Molecular Physics (AREA)
  • Particle Accelerators (AREA)
  • Radiation-Therapy Devices (AREA)
PCT/JP2020/008484 2019-03-08 2020-02-28 粒子加速器、粒子線治療装置、および荷電粒子ビーム出射方法 Ceased WO2020184232A1 (ja)

Priority Applications (1)

Application Number Priority Date Filing Date Title
JP2021504926A JP7481753B2 (ja) 2019-03-08 2020-02-28 粒子線治療装置

Applications Claiming Priority (2)

Application Number Priority Date Filing Date Title
JP2019043027 2019-03-08
JP2019-043027 2019-03-08

Publications (1)

Publication Number Publication Date
WO2020184232A1 true WO2020184232A1 (ja) 2020-09-17

Family

ID=72426539

Family Applications (1)

Application Number Title Priority Date Filing Date
PCT/JP2020/008484 Ceased WO2020184232A1 (ja) 2019-03-08 2020-02-28 粒子加速器、粒子線治療装置、および荷電粒子ビーム出射方法

Country Status (2)

Country Link
JP (1) JP7481753B2 (enExample)
WO (1) WO2020184232A1 (enExample)

Citations (7)

* Cited by examiner, † Cited by third party
Publication number Priority date Publication date Assignee Title
JPS6325500U (enExample) * 1986-08-01 1988-02-19
JP2003036998A (ja) * 2001-07-23 2003-02-07 Mitsubishi Electric Corp 静電セプタム電極
JP2012022776A (ja) * 2010-07-12 2012-02-02 Hitachi Ltd シンクロトロンおよびそれを用いた粒子線治療装置
WO2013030996A1 (ja) * 2011-08-31 2013-03-07 株式会社日立製作所 荷電粒子ビーム照射システムおよび荷電粒子ビーム照射システムの運転方法
JP2016081729A (ja) * 2014-10-17 2016-05-16 国立研究開発法人放射線医学総合研究所 粒子加速器およびそのビーム出射方法
JP2016110941A (ja) * 2014-12-10 2016-06-20 株式会社東芝 加速器および粒子線治療装置
JP2018149730A (ja) 2017-03-13 2018-09-27 東レエンジニアリング株式会社 繊維束貼付装置

Patent Citations (7)

* Cited by examiner, † Cited by third party
Publication number Priority date Publication date Assignee Title
JPS6325500U (enExample) * 1986-08-01 1988-02-19
JP2003036998A (ja) * 2001-07-23 2003-02-07 Mitsubishi Electric Corp 静電セプタム電極
JP2012022776A (ja) * 2010-07-12 2012-02-02 Hitachi Ltd シンクロトロンおよびそれを用いた粒子線治療装置
WO2013030996A1 (ja) * 2011-08-31 2013-03-07 株式会社日立製作所 荷電粒子ビーム照射システムおよび荷電粒子ビーム照射システムの運転方法
JP2016081729A (ja) * 2014-10-17 2016-05-16 国立研究開発法人放射線医学総合研究所 粒子加速器およびそのビーム出射方法
JP2016110941A (ja) * 2014-12-10 2016-06-20 株式会社東芝 加速器および粒子線治療装置
JP2018149730A (ja) 2017-03-13 2018-09-27 東レエンジニアリング株式会社 繊維束貼付装置

Also Published As

Publication number Publication date
JP7481753B2 (ja) 2024-05-13
JPWO2020184232A1 (enExample) 2020-09-17

Similar Documents

Publication Publication Date Title
US7432516B2 (en) Rapid cycling medical synchrotron and beam delivery system
JP5472944B2 (ja) 大電流直流陽子加速器
JP5914130B2 (ja) シンクロトロンおよび粒子線治療装置
JP7490263B2 (ja) 粒子加速器および粒子線治療装置
CN105766068B (zh) 同步加速器用注入器系统及同步加速器用注入器系统的运行方法
JP2009279045A (ja) 粒子線治療システム
CN106999729A (zh) 带电粒子束照射装置
CN104703381B (zh) 圆形加速器以及粒子线治疗装置
US12328809B2 (en) Charged particle beam injector and charged particle beam injection method
JP6253268B2 (ja) 粒子線治療装置
JP7481753B2 (ja) 粒子線治療装置
TWI792220B (zh) 粒子線裝置
CN116724670A (zh) 超导线圈装置、超导加速器以及粒子射线治疗装置
JP4959434B2 (ja) 粒子線照射システム
KR102755192B1 (ko) 입자선 가속 장치, 입자선 가속 장치의 입자선 차단 방법, 및 입자선 치료 장치
JP2023106745A (ja) 機能結合型セプタム電磁石とそれを用いた加速器、並びに粒子線治療システム
Garnett LAMP Technical Readiness Evaluation Report (Rev. 1)
JP2023084781A (ja) 円形加速器および粒子線治療システム
JP6758958B2 (ja) 重イオンビーム生成装置及び方法
Sawada et al. Performance test of electron cyclotron resonance ion sources for the Hyogo Ion Beam Medical Center
WO2016060215A1 (ja) 粒子加速器およびそのビーム出射方法
US20230268096A1 (en) Systems, devices, and methods for multi-directional dipole magnets and compact beam systems
Alexeev et al. Upgrade concept of multipurpose ITEP-TWAC
JPH05258897A (ja) セプタム電磁石
Erickson Comments on the possible use of the SLC as an ee-collider

Legal Events

Date Code Title Description
121 Ep: the epo has been informed by wipo that ep was designated in this application

Ref document number: 20769189

Country of ref document: EP

Kind code of ref document: A1

ENP Entry into the national phase

Ref document number: 2021504926

Country of ref document: JP

Kind code of ref document: A

NENP Non-entry into the national phase

Ref country code: DE

122 Ep: pct application non-entry in european phase

Ref document number: 20769189

Country of ref document: EP

Kind code of ref document: A1