WO2020149080A1 - 光学的測距装置および光学的測距装置における異常の発生を検出する方法 - Google Patents

光学的測距装置および光学的測距装置における異常の発生を検出する方法 Download PDF

Info

Publication number
WO2020149080A1
WO2020149080A1 PCT/JP2019/049602 JP2019049602W WO2020149080A1 WO 2020149080 A1 WO2020149080 A1 WO 2020149080A1 JP 2019049602 W JP2019049602 W JP 2019049602W WO 2020149080 A1 WO2020149080 A1 WO 2020149080A1
Authority
WO
WIPO (PCT)
Prior art keywords
light
light receiving
abnormality
distance measuring
unit
Prior art date
Legal status (The legal status is an assumption and is not a legal conclusion. Google has not performed a legal analysis and makes no representation as to the accuracy of the status listed.)
Ceased
Application number
PCT/JP2019/049602
Other languages
English (en)
French (fr)
Japanese (ja)
Inventor
善英 立野
Current Assignee (The listed assignees may be inaccurate. Google has not performed a legal analysis and makes no representation or warranty as to the accuracy of the list.)
Denso Corp
Original Assignee
Denso Corp
Priority date (The priority date is an assumption and is not a legal conclusion. Google has not performed a legal analysis and makes no representation as to the accuracy of the date listed.)
Filing date
Publication date
Application filed by Denso Corp filed Critical Denso Corp
Priority to CN201980089019.9A priority Critical patent/CN113302516B/zh
Publication of WO2020149080A1 publication Critical patent/WO2020149080A1/ja
Priority to US17/375,795 priority patent/US12386046B2/en
Anticipated expiration legal-status Critical
Ceased legal-status Critical Current

Links

Images

Classifications

    • GPHYSICS
    • G01MEASURING; TESTING
    • G01SRADIO DIRECTION-FINDING; RADIO NAVIGATION; DETERMINING DISTANCE OR VELOCITY BY USE OF RADIO WAVES; LOCATING OR PRESENCE-DETECTING BY USE OF THE REFLECTION OR RERADIATION OF RADIO WAVES; ANALOGOUS ARRANGEMENTS USING OTHER WAVES
    • G01S7/00Details of systems according to groups G01S13/00, G01S15/00, G01S17/00
    • G01S7/48Details of systems according to groups G01S13/00, G01S15/00, G01S17/00 of systems according to group G01S17/00
    • G01S7/481Constructional features, e.g. arrangements of optical elements
    • G01S7/4817Constructional features, e.g. arrangements of optical elements relating to scanning
    • GPHYSICS
    • G01MEASURING; TESTING
    • G01CMEASURING DISTANCES, LEVELS OR BEARINGS; SURVEYING; NAVIGATION; GYROSCOPIC INSTRUMENTS; PHOTOGRAMMETRY OR VIDEOGRAMMETRY
    • G01C3/00Measuring distances in line of sight; Optical rangefinders
    • G01C3/02Details
    • G01C3/06Use of electric means to obtain final indication
    • GPHYSICS
    • G01MEASURING; TESTING
    • G01SRADIO DIRECTION-FINDING; RADIO NAVIGATION; DETERMINING DISTANCE OR VELOCITY BY USE OF RADIO WAVES; LOCATING OR PRESENCE-DETECTING BY USE OF THE REFLECTION OR RERADIATION OF RADIO WAVES; ANALOGOUS ARRANGEMENTS USING OTHER WAVES
    • G01S7/00Details of systems according to groups G01S13/00, G01S15/00, G01S17/00
    • G01S7/48Details of systems according to groups G01S13/00, G01S15/00, G01S17/00 of systems according to group G01S17/00
    • G01S7/483Details of pulse systems
    • G01S7/484Transmitters
    • GPHYSICS
    • G01MEASURING; TESTING
    • G01SRADIO DIRECTION-FINDING; RADIO NAVIGATION; DETERMINING DISTANCE OR VELOCITY BY USE OF RADIO WAVES; LOCATING OR PRESENCE-DETECTING BY USE OF THE REFLECTION OR RERADIATION OF RADIO WAVES; ANALOGOUS ARRANGEMENTS USING OTHER WAVES
    • G01S7/00Details of systems according to groups G01S13/00, G01S15/00, G01S17/00
    • G01S7/48Details of systems according to groups G01S13/00, G01S15/00, G01S17/00 of systems according to group G01S17/00
    • G01S7/483Details of pulse systems
    • G01S7/486Receivers
    • G01S7/4861Circuits for detection, sampling, integration or read-out
    • G01S7/4863Detector arrays, e.g. charge-transfer gates
    • GPHYSICS
    • G01MEASURING; TESTING
    • G01SRADIO DIRECTION-FINDING; RADIO NAVIGATION; DETERMINING DISTANCE OR VELOCITY BY USE OF RADIO WAVES; LOCATING OR PRESENCE-DETECTING BY USE OF THE REFLECTION OR RERADIATION OF RADIO WAVES; ANALOGOUS ARRANGEMENTS USING OTHER WAVES
    • G01S7/00Details of systems according to groups G01S13/00, G01S15/00, G01S17/00
    • G01S7/48Details of systems according to groups G01S13/00, G01S15/00, G01S17/00 of systems according to group G01S17/00
    • G01S7/497Means for monitoring or calibrating
    • HELECTRICITY
    • H10SEMICONDUCTOR DEVICES; ELECTRIC SOLID-STATE DEVICES NOT OTHERWISE PROVIDED FOR
    • H10FINORGANIC SEMICONDUCTOR DEVICES SENSITIVE TO INFRARED RADIATION, LIGHT, ELECTROMAGNETIC RADIATION OF SHORTER WAVELENGTH OR CORPUSCULAR RADIATION
    • H10F30/00Individual radiation-sensitive semiconductor devices in which radiation controls the flow of current through the devices, e.g. photodetectors
    • H10F30/20Individual radiation-sensitive semiconductor devices in which radiation controls the flow of current through the devices, e.g. photodetectors the devices having potential barriers, e.g. phototransistors
    • H10F30/21Individual radiation-sensitive semiconductor devices in which radiation controls the flow of current through the devices, e.g. photodetectors the devices having potential barriers, e.g. phototransistors the devices being sensitive to infrared, visible or ultraviolet radiation
    • H10F30/22Individual radiation-sensitive semiconductor devices in which radiation controls the flow of current through the devices, e.g. photodetectors the devices having potential barriers, e.g. phototransistors the devices being sensitive to infrared, visible or ultraviolet radiation the devices having only one potential barrier, e.g. photodiodes
    • H10F30/225Individual radiation-sensitive semiconductor devices in which radiation controls the flow of current through the devices, e.g. photodetectors the devices having potential barriers, e.g. phototransistors the devices being sensitive to infrared, visible or ultraviolet radiation the devices having only one potential barrier, e.g. photodiodes the potential barrier working in avalanche mode, e.g. avalanche photodiodes
    • GPHYSICS
    • G01MEASURING; TESTING
    • G01SRADIO DIRECTION-FINDING; RADIO NAVIGATION; DETERMINING DISTANCE OR VELOCITY BY USE OF RADIO WAVES; LOCATING OR PRESENCE-DETECTING BY USE OF THE REFLECTION OR RERADIATION OF RADIO WAVES; ANALOGOUS ARRANGEMENTS USING OTHER WAVES
    • G01S17/00Systems using the reflection or reradiation of electromagnetic waves other than radio waves, e.g. lidar systems
    • G01S17/88Lidar systems specially adapted for specific applications
    • G01S17/93Lidar systems specially adapted for specific applications for anti-collision purposes
    • G01S17/931Lidar systems specially adapted for specific applications for anti-collision purposes of land vehicles

Definitions

  • the present disclosure relates to an optical distance measuring device.
  • An optical system that measures the distance to the object based on the time-of-flight (TOF; Time Of Flight) of the irradiation light emitted to the measurement area until it is reflected by the object in the measurement area and returns.
  • TOF Time Of Flight
  • Distance measuring devices are known.
  • an optical distance measurement using a single photon avalanche diode (SPAD; Single Photon Avalanche Diode) that detects incidence of a single photon is used as an optical element that receives reflected light from a measurement region.
  • a device is disclosed.
  • an abnormality may occur in the light receiving unit due to, for example, deterioration over time due to a defect inside the semiconductor of the SPAD.
  • Such temporal deterioration of SPAD causes an increase in dark current flowing regardless of light reception, which may cause deterioration of measurement performance of the measurement rejection device or a failure.
  • the abnormality of the light receiving portion can be easily detected under the environment where the ambient light is constant, as in the test performed at the initial shipping stage.
  • the optical distance measuring device is generally used in an environment where the ambient light is not always constant, such as a vehicle, and it is not easy to detect such an abnormality of the light receiving section in the use environment. There wasn't.
  • the optical distance measuring device there is still room for improvement in accurately detecting the abnormality of the light receiving unit without being affected by the ambient light.
  • the optical distance measuring device of this form has a light source unit that emits irradiation light for irradiating a measurement region and a light receiving surface on which a plurality of SPADs (Single Photon Avalanche Diodes) are arranged, and the irradiation light is reflected.
  • SPADs Single Photon Avalanche Diodes
  • a control unit that executes a distance measurement process for measuring a distance to the object by using a signal output from the SPAD when the measurement light reflected by the irradiation light is received by the light receiving surface;
  • a determination unit that determines whether or not an abnormality has occurred in the light receiving unit using a signal output from the SPAD due to clutter reflection light that is reflected in the housing.
  • the optical distance measuring device of this aspect since the clutter reflection light reflected in the housing is used to detect the abnormality of the light receiving unit, the abnormality of the light receiving unit is detected even in the environment where the ambient light is not constant. Can be accurately detected.
  • FIG. 1 is a schematic diagram showing a configuration of an optical distance measuring device
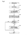
  • FIG. 2 is an explanatory diagram showing a flow of the abnormality detection processing of the first embodiment
  • FIG. 3A is an explanatory diagram showing an example of a temporal change of a signal value in a clutter reflected light period
  • FIG. 3B is an explanatory diagram illustrating a state in which the signal value has not risen to the target rise value
  • FIG. 4 is an explanatory diagram showing a flow of abnormality detection processing of the second embodiment
  • FIG. 5 is an explanatory diagram for explaining the signal value acquired during the dead time
  • FIG. 6 is an explanatory diagram showing a flow of abnormality detection processing of the third embodiment.
  • the flight time of light until the irradiation light IL emitted to the measurement region MR returns after being reflected by the object OB in the measurement region MR (hereinafter referred to as “TOF”). (Also referred to as ), is used to measure the distance to the object OB.
  • the optical distance measuring device 10 is also simply referred to as the “distance measuring device 10 ”.
  • a process in which the distance measuring device 10 emits the irradiation light IL to the measurement region MR and measures the distance to the object OB in the measurement region MR is referred to as “distance measurement process”.
  • the distance measuring device 10 is mounted on a vehicle, and measures the distance between the vehicle and an object OB around the vehicle by distance measuring processing.
  • the distance measuring device 10 processes the signal output from the light source unit 20 that emits the irradiation light IL, the light receiving unit 30 that receives the reflected light RL obtained by reflecting the irradiation light IL, and the signal output from the light receiving unit 30 to measure the distance. And a control unit 50 that controls the entire distance measuring device 10.
  • the distance measuring device 10 further includes a housing 60, and the light source unit 20 and the light receiving unit 30 described above are fixed in an internal space surrounded by an inner wall surface of the housing 60. Note that, in FIG. 1, for convenience, the end portion of the housing 60 on the right side of the drawing is omitted.
  • the light source unit 20 includes a laser light source 21 and a scanning unit 22.
  • the laser light source 21 is composed of a semiconductor laser diode and emits pulsed laser light as irradiation light IL.
  • the scanning unit 22 includes a mirror 24 that rotates about a rotation shaft 23 under the control of the control unit 50.
  • the mirror 24 is, for example, a MEMS mirror.
  • the irradiation light IL emitted from the laser light source 21 is reflected by the mirror 24 of the scanning unit 22.
  • the irradiation light IL is scanned according to the rotation angle of the mirror 24.
  • the irradiation light IL reflected by the mirror 24 is measured through the emission opening 61 provided in the housing 60, as shown by the solid arrow in FIG. Is ejected. It should be noted that the irradiation light IL that is not emitted from the emission opening 61 as indicated by the broken line arrow in FIG. 1 is reflected and scattered inside the housing 60.
  • the light receiving unit 30 has a light receiving surface 32 on which a plurality of SPADs (Single Photo Avalanche Diodes) 31 that operate in Geiger mode are arranged.
  • the SPADs 31 are two-dimensionally arranged on the light receiving surface 32.
  • each SPAD 31 outputs a pulsed signal indicating the incidence of the photon with a certain probability.
  • a signal is output from the SPADs 31 in a number corresponding to the intensity of the incident light. That is, the greater the intensity of the light incident on the light receiving surface 32, the greater the number of responses of the SPAD 31.
  • the light receiving unit 30 receives the reflected light RL of the irradiation light IL emitted from the light source unit 20.
  • the reflected light RL the irradiation light IL reflected by the object OB in the measurement region MR is referred to as “measurement reflected light RLm”, and the internal scattering of the irradiation light IL reflected in the housing 60 is performed.
  • the light is also called “clutter reflected light RLc”.
  • the reflected light for measurement RLm enters the inside of the housing 60 from the measurement region MR through the entrance opening 62 and reaches the light receiving surface 32 of the light receiving unit 30, as shown by the solid arrow in FIG.
  • the clutter reflected light RLc is reflected by the wall surface inside the housing 60 and reaches the light receiving surface 32 of the light receiving unit 30, as indicated by a dashed arrow in FIG.
  • the signal output from the SPAD 31 in a predetermined period from the time when the light source unit 20 emits the irradiation light IL for one pulse is used in the distance measurement processing as if it was output by the clutter reflected light RLc. Is not used.
  • a predetermined period from the time when the light source unit 20 emits the irradiation light IL will be referred to as a “clutter reflected light period”.
  • the clutter reflected light period is determined based on, for example, the optical distance between the light source unit 20 and the light receiving unit 30 in the housing 60 and the speed of light.
  • the clutter reflected light period can be defined as a period longer than the time from when the light source unit 20 emits the irradiation light IL until the clutter reflected light RLc reaches the light receiving surface 32 of the light receiving unit 30. Further, the clutter reflected light period can be defined as at least a period shorter than an estimated shortest time from when the light source unit 20 emits the irradiation light IL to when the measurement reflected light RLm reaches the light receiving surface 32. ..
  • the range finder 10 of the present embodiment uses the signal output from the SPAD 31 by the clutter reflection light RLc during the clutter reflection light period in the abnormality detection processing for detecting the occurrence of an abnormality in the light receiving unit 30.
  • the abnormality detection process will be described later.
  • the distance measuring device 10 uses the signal output from the light receiving unit 30 after the clutter reflected light period has elapsed after the light source unit 20 has emitted the irradiation light IL in the distance measuring process, by using the signal output from the light receiving unit 30. Measure the distance to OB.
  • the measurement unit 40 includes an addition unit 41, a histogram generation unit 42, a peak detection unit 43, and a distance calculation unit 44.
  • Each component of the measurement unit 40 is composed of, for example, one or two or more integrated circuits.
  • at least a part of each component of the measurement unit 40 may be realized by software by the CPU executing a program.
  • the signal output from each SPAD 31 of the light receiving unit 30 is input to the adding unit 41.
  • the adder unit 41 obtains an added value obtained by adding the number of pulse signals output from each SPAD 31 by counting the number of pulse signals output from each SPAD 31 at approximately the same time, and outputs the signal of the output signal of the light receiving unit 30.
  • the value is output to the histogram generation unit 42.
  • the signal value output by the adding unit 41 represents the number of responses of the SPAD 31 when the light receiving unit 30 receives the reflected light RL. Note that the addition unit 41 outputs the signal value of the signal output from the light receiving unit 30 during the clutter reflection light period to the determination unit 51 of the control unit 50 when executing the abnormality detection processing described below.
  • the histogram generation unit 42 generates a histogram based on the signal value input from the addition unit 41.
  • the class of this histogram shows the TOF from the emission of the irradiation light IL from the light source unit 20 to the incidence of the reflected light RL on the light receiving surface 32.
  • the frequency of the histogram is the signal value output from the addition unit 41 and represents the intensity of the reflected light RL.
  • the histogram generation unit 42 generates a histogram by recording the signal value output from the addition unit 41 for each TOF according to a predetermined recording timing signal, and outputs the histogram to the peak detection unit 43.
  • the peak detector 43 detects a peak from the histogram input from the histogram generator 42.
  • the peak detection unit 43 determines that the portion with the highest frequency in the histogram is the peak.
  • a peak in the histogram indicates that the object OB exists at a distance corresponding to the TOF corresponding to the peak.
  • the distance value D measured by the measuring unit 40 is output from the distance measuring device 10 to the ECU of the vehicle.
  • the ECU of the vehicle uses the distance value D acquired from the distance measuring device 10 to detect the object OB that becomes an obstacle in the measurement region MR.
  • the ECU of the vehicle also controls the operation of the vehicle to avoid collision with the detected obstacle.
  • the control unit 50 is composed of a microcomputer including a processor and a storage device.
  • the control unit 50 is connected to the light source unit 20, the light receiving unit 30, and the measuring unit 40 via signal lines.
  • the control unit 50 controls the light source unit 20, the light receiving unit 30, and the measuring unit 40 to execute the distance measurement process described above.
  • the control unit 50 also includes, as a functional unit, a determination unit 51 that executes an abnormality detection process described below and determines whether or not there is an abnormality in the light receiving unit 30.
  • the determination unit 51 may be provided separately from the control unit 50.
  • the determination unit 51 detects the occurrence of an abnormality in the light receiving unit 30 by using the signal output from the light receiving unit 30 by the clutter reflected light RLc.
  • the determination unit 51 executes the abnormality detection process at a predetermined timing while the control unit 50 is not executing the distance measurement process.
  • the abnormality detection process is periodically executed, for example, at a predetermined timing while the vehicle is stopped or stopped.
  • the abnormality detection process may be executed at the timing instructed by the user.
  • the user may be able to preset the frequency with which the abnormality detection process is executed by the determination unit 51.
  • step S10 the determination unit 51 causes the light source unit 20 to emit the irradiation light IL.
  • the intensity of the irradiation light IL may be about the same as the intensity during the distance measurement process.
  • step S20 the determination unit 51 acquires the signal value of the signal output by the light receiving unit 30 within the clutter reflection light period described above from the addition unit 41.
  • step S30 the determination unit 51 acquires the signal value in the period in which the signal indicating the incidence of the photon of the clutter reflected light RLc on the SPAD 31 is output, among the signal values acquired in step S20.
  • the determining unit 51 determines whether or not an abnormality has occurred in the light receiving unit 30 in steps S40 to S50 using the signal value of the signal indicating the incidence of photons of the clutter reflected light RLc on the SPAD 31. ..
  • time t 0 is the time when the light source unit 20 emits the irradiation light IL
  • the period from time t 0 to t 1 is the clutter reflected light period.
  • the signal value output by the adder 41 takes a value near the reference value S corresponding to the ambient light.
  • the light receiving unit 30 receives the clutter reflection light RLc, and almost all of the SPAD 31 in a state capable of outputting a High signal. Outputs a High signal indicating the incidence of photons.
  • the signal value S CL when clipped indicates the number of SPADs 31 that output a high signal when the clutter reflected light RLc reaches the light receiving surface 32.
  • the signal value S CL is clipped at the maximum value sat as shown in FIG. 3A.
  • step S40 the determination unit 51 determines whether or not the signal value of the signal indicating the incidence of photons of the clutter reflected light RLc has increased to the target increase value TR.
  • the determination unit 51 determines whether or not the signal value S CL clipped by the incident clutter reflected light RLc is equal to or higher than the target increase value TR.
  • the determination unit 51 determines that the abnormality occurs. The abnormality detection process is terminated without setting a flag indicating detection.
  • the determination unit 51 detects the occurrence of an abnormality in the light receiving unit 30 in step S50.
  • the fact that the clipped signal value S CL has not risen to the target rise value TR means that the number of SPADs 31 in an abnormal Low state that does not output a High signal even if a photon is incident and continues to output a Low signal is an allowable number. It indicates that it exceeds.
  • the determination unit 51 determines that the cause of the abnormality of the light receiving unit 30 is an increase in the number of SPADs 31 in the Low abnormal state. The determination unit 51 sets a flag indicating abnormality detection and ends the abnormality detection process.
  • the control unit 50 notifies the user of the occurrence of the abnormality in the light receiving unit 30 through the notifying unit (not shown).
  • the control unit 50 may calculate a reduction amount of the clipped signal value S CL with respect to the maximum value sat of the signal values, obtain the number of the SPADs 31 in the Low abnormal state from the reduction amount, and output the number.
  • the clutter reflected light whose intensity is significantly higher than that of the ambient light reflected by the irradiation light IL in the housing 60 is used for detecting the abnormality of the light receiving unit 30.
  • the signal output by RLc is used. Therefore, even in an environment where the ambient light is not constant, it is possible to accurately detect the occurrence of an abnormality in the light receiving unit 30.
  • the distance measuring apparatus 10 of the first embodiment since the signal indicating the incidence of the photon of the clutter reflected light RLc on the SPAD 31 is used, the abnormality of the light receiving unit 30 caused by the SPAD 31 in the Low abnormality state. Can be detected.
  • the distance measuring apparatus 10 of the first embodiment when the signal value of the signal indicating the incidence of the photon of the clutter reflected light RLc on the SPAD 31 does not reach the target increase value TR, the light receiving unit 30 has an abnormality. It is determined that there is. As a result, for example, when the number of SPADs 31 in Low abnormality does not affect the distance measurement, it is possible to prevent the abnormality of the light receiving unit 30 from being excessively detected.
  • Second embodiment Please refer to FIG.
  • the abnormality detection process of the second embodiment is executed by the distance measuring device 10 having the same configuration as that described in the first embodiment.
  • the flow of the abnormality detection process of the second embodiment is the same as that of the first embodiment shown in FIG. 2 except that the processes of steps S60 to S80 are executed instead of steps S30 to S50 after steps S10 to S20. It is almost the same as the flow of the abnormality detection processing.
  • step S60 the determination unit 51 acquires, from the addition unit 41, the signal value of the signal output during the dead time caused by the incidence of photons of the clutter reflected light RLc on the SPAD 31.
  • the “dead time” means a period in which the output signal of the SPAD 31 is once lowered to the Low level due to the saturation of the SPAD 31 after the photon is incident, and the photon cannot be detected.
  • the dead time in the clutter reflected light period is increased by the incidence of photons of the clutter reflected light RLc on the SPAD 31 and is clipped, and then the signal value drops below the reference value S and then returns to the vicinity of the reference value S again. Is the period until it rises to.
  • the signal value S DT at the time of this clipping is a dead time, the number of SPADs 31 in a high abnormal state in which the Low signal is not normally output and the High signal is continuously output is large. Then, it increases as shown by the broken line graph in FIG.
  • step S70 the determination unit 51 determines whether or not the signal value has decreased to the predetermined target decrease value TD in the dead time.
  • the determination unit 51 determines whether or not the signal value SDT clipped by the dead time is smaller than the target decrease value TD.
  • the determination unit 51 sets a flag indicating abnormality detection. Without doing so, the abnormality detection process ends.
  • the determining unit 51 determines in step S80 the light receiving unit.
  • the occurrence of abnormality in 30 is detected.
  • the signal value S DT When Clipping dead time has not decreased to the target reduction value TD indicates that the number of SPAD31 in the state of the High abnormality exceeds the allowable number.
  • the determination unit 51 determines that the cause of the abnormality of the light receiving unit 30 is an increase in the number of SPADs 31 in the High abnormality state.
  • the determination unit 51 sets a flag indicating abnormality detection and ends the abnormality detection process.
  • the control unit 50 notifies the user of the occurrence of the abnormality in the light receiving unit 30 through the notifying unit (not shown).
  • the control unit 50 calculates the increase amount of the signal value S DT when clipping is performed at the dead time with respect to the signal value when all the SPADs 31 of the light receiving unit 30 output the Low signal during the dead time, and the High abnormality is calculated from the increase amount.
  • the number of SPADs 31 in this state may be obtained and output.
  • the signal output by the clutter reflected light RLc reflected by the irradiation light IL in the housing 60 is used to detect the abnormality of the light receiving unit 30. .. Therefore, similarly to the distance measuring apparatus 10 of the second embodiment, it is possible to accurately detect the occurrence of an abnormality in the light receiving unit 30 even in an environment where the ambient light is not constant. Further, according to the distance measuring apparatus 10 of the second embodiment, since the photon of the clutter reflected light RLc is input to the SPAD 31 at the dead time after the incident, the light receiving unit caused by the SPAD 31 in the High abnormal state is used. Thirty abnormalities can be detected.
  • the distance measuring apparatus 10 of the second embodiment when the signal value does not decrease to the target decrease value TD during the dead time, it is determined that the light receiving unit 30 has an abnormality. As a result, for example, when the number of SPADs 31 in a high abnormality does not affect the measurement of the distance, it is possible to prevent the abnormality of the light receiving unit 30 from being excessively detected.
  • the abnormality detection process of the third embodiment is executed by the distance measuring device 10 having the same configuration as that described in the first embodiment.
  • the flow of the abnormality detection processing of the third embodiment is the same as that of the first embodiment shown in FIG. 2 except that the processing of steps S60 to S80 described in the second embodiment is executed after the processing of steps S10 to S50. This is almost the same as the flow of the abnormality detection processing of.
  • the abnormality detection process of the third embodiment in steps S30 to S50, it is possible to detect the abnormality of the light receiving unit 30 caused by the SPAD 31 having the Low abnormality. Further, in steps S60 to S80, the abnormality of the light receiving unit 30 caused by the SPAD 31 having the high abnormality can be detected. Further, according to the abnormality detection processing of the third embodiment, the cause of the abnormality in the light receiving unit 30 is caused by the Low abnormality of the SPAD 31, the High abnormality, or both of them. It is also possible to determine whether or not The control unit 50 may output the number of SPADs 31 in which the Low abnormality is detected and the number of SPADs 31 in which the High abnormality is detected. In addition, according to the method of detecting an abnormality in the optical distance measuring device 10 and the light receiving unit 30 of the third embodiment, various operational effects similar to those described in the first embodiment and the second embodiment can be obtained. be able to.
  • the determination unit 51 uses the signal value S CL or the target increase value TR when clipping is performed by the photon of the clutter reflected light RLc incident on the SPAD 31 in step S40. Does not have to be performed.
  • the determination unit 51 may detect an abnormality other than that caused by the Low abnormality of the SPAD 31 in the light receiving unit 30 by using the signal indicating the incidence of the photon of the clutter reflected light RLc on the SPAD 31.
  • the determination unit 51 may detect the occurrence of an abnormality in the light receiving unit 30 when the signal indicating the incidence of the photon of the clutter reflected light RLc on the SPAD 31 is significantly different from the shape of the reference signal prepared in advance.
  • the determination unit 51 does not have to perform the determination using the signal value S DT and the target reduction value TD at the time of clipping in the dead time in step S70.
  • the determination unit 51 may detect an abnormality other than that caused by the SPAD 31 of the High abnormality in the light receiving unit 30 by using the signal output from the light receiving unit 30 during the dead time.
  • the determining unit 51 may detect the occurrence of an abnormality in the light receiving unit 30 when the shape of the signal output during the dead time is significantly different from the shape of the prepared reference signal. ..
  • the distance measuring device 10 may not be mounted on the vehicle.
  • the distance measuring device 10 may be configured, for example, as a device carried by a user to perform surveying.
  • the technique of the present disclosure can be implemented in various forms other than the method for detecting the occurrence of an abnormality in the optical distance measuring device or the light receiving unit of the optical distance measuring device.
  • it can be realized in a vehicle equipped with an optical distance measuring device, a control method of the optical distance measuring device, a computer program for realizing the control method, and a storage medium form in which the computer program is recorded.
  • the technology of the present disclosure is not limited to the above-described embodiments and other embodiments, and can be realized with various configurations without departing from the spirit thereof.
  • the technical features in the embodiments, examples, and modifications corresponding to the technical features in each mode described in the column of the outline of the invention are to solve some or all of the above problems, or In order to achieve some or all of the above-mentioned effects, it is possible to appropriately replace or combine them.
  • the technical features are not limited to those described as not essential in the present specification, and may be appropriately deleted if the technical features are not described as essential in the present specification. Is possible.

Landscapes

  • Engineering & Computer Science (AREA)
  • Physics & Mathematics (AREA)
  • General Physics & Mathematics (AREA)
  • Radar, Positioning & Navigation (AREA)
  • Remote Sensing (AREA)
  • Computer Networks & Wireless Communication (AREA)
  • Electromagnetism (AREA)
  • Optical Radar Systems And Details Thereof (AREA)
  • Measurement Of Optical Distance (AREA)
PCT/JP2019/049602 2019-01-16 2019-12-18 光学的測距装置および光学的測距装置における異常の発生を検出する方法 Ceased WO2020149080A1 (ja)

Priority Applications (2)

Application Number Priority Date Filing Date Title
CN201980089019.9A CN113302516B (zh) 2019-01-16 2019-12-18 光学测距装置及检测光学测距装置中的异常的产生的方法
US17/375,795 US12386046B2 (en) 2019-01-16 2021-07-14 Optical ranging device and method for detecting occurrence of abnormality in the same

Applications Claiming Priority (2)

Application Number Priority Date Filing Date Title
JP2019004953A JP7115329B2 (ja) 2019-01-16 2019-01-16 光学的測距装置および光学的測距装置における異常の発生を検出する方法
JP2019-004953 2019-01-16

Related Child Applications (1)

Application Number Title Priority Date Filing Date
US17/375,795 Continuation US12386046B2 (en) 2019-01-16 2021-07-14 Optical ranging device and method for detecting occurrence of abnormality in the same

Publications (1)

Publication Number Publication Date
WO2020149080A1 true WO2020149080A1 (ja) 2020-07-23

Family

ID=71614328

Family Applications (1)

Application Number Title Priority Date Filing Date
PCT/JP2019/049602 Ceased WO2020149080A1 (ja) 2019-01-16 2019-12-18 光学的測距装置および光学的測距装置における異常の発生を検出する方法

Country Status (4)

Country Link
US (1) US12386046B2 (enExample)
JP (1) JP7115329B2 (enExample)
CN (1) CN113302516B (enExample)
WO (1) WO2020149080A1 (enExample)

Cited By (1)

* Cited by examiner, † Cited by third party
Publication number Priority date Publication date Assignee Title
RU2778383C2 (ru) * 2020-10-06 2022-08-18 Общество с ограниченной ответственностью «Яндекс Беспилотные Технологии» Лидарные системы и способы обнаружения

Families Citing this family (3)

* Cited by examiner, † Cited by third party
Publication number Priority date Publication date Assignee Title
CN113544535B (zh) * 2019-03-05 2024-07-05 伟摩有限责任公司 用于检测降低的lidar范围测量准确性的方法和系统
US12117313B2 (en) 2021-02-25 2024-10-15 Sony Semiconductor Solutions Corporation Photodetection device and photodetection system
EP4350283A4 (en) 2021-06-04 2024-09-04 Sony Semiconductor Solutions Corporation Optical detection device and ranging system

Citations (3)

* Cited by examiner, † Cited by third party
Publication number Priority date Publication date Assignee Title
JPH10319121A (ja) * 1997-05-19 1998-12-04 Olympus Optical Co Ltd 距離測定装置
US20150261065A1 (en) * 2014-03-11 2015-09-17 Sony Corporation Optical analog to digital converter and method
US20190011541A1 (en) * 2016-09-25 2019-01-10 James Thomas O'Keeffe Lidar with malfunction detection

Family Cites Families (13)

* Cited by examiner, † Cited by third party
Publication number Priority date Publication date Assignee Title
JP2613655B2 (ja) * 1989-09-14 1997-05-28 松下電工株式会社 光電スイッチ
WO2005048319A2 (en) * 2003-11-06 2005-05-26 Yale University Large-area detector
JP2005331526A (ja) * 2005-08-24 2005-12-02 Denso Corp 距離測定装置
US8188563B2 (en) * 2006-07-21 2012-05-29 The Regents Of The University Of California Shallow-trench-isolation (STI)-bounded single-photon CMOS photodetector
JP4663743B2 (ja) * 2008-01-31 2011-04-06 北陽電機株式会社 走査式測距装置
DE102009045323A1 (de) * 2009-10-05 2011-04-07 Robert Bosch Gmbh Optisches Entfernungsmessgerät mit Kalibrierungseinrichtung
JP6236758B2 (ja) * 2012-10-09 2017-11-29 株式会社豊田中央研究所 光学的測距装置
JP6225411B2 (ja) * 2012-10-16 2017-11-08 株式会社豊田中央研究所 光学的測距装置
US8836920B2 (en) * 2013-02-05 2014-09-16 Nen-Tsua Li Structure of an optical path for laser range finding
CA2931055C (en) * 2013-11-22 2022-07-12 Ottomotto Llc Lidar scanner calibration
DE112015001704T5 (de) * 2014-04-07 2016-12-29 Samsung Electronics Co., Ltd. Bildsensor mit hoher Auflösung, Frame-Rate und niedrigem Stromverbrauch
JP6477083B2 (ja) 2015-03-19 2019-03-06 株式会社豊田中央研究所 光学的測距装置
JP7120756B2 (ja) * 2017-12-05 2022-08-17 シャープ株式会社 受光素子、飛行時間測定装置及び光レーダー装置

Patent Citations (3)

* Cited by examiner, † Cited by third party
Publication number Priority date Publication date Assignee Title
JPH10319121A (ja) * 1997-05-19 1998-12-04 Olympus Optical Co Ltd 距離測定装置
US20150261065A1 (en) * 2014-03-11 2015-09-17 Sony Corporation Optical analog to digital converter and method
US20190011541A1 (en) * 2016-09-25 2019-01-10 James Thomas O'Keeffe Lidar with malfunction detection

Cited By (1)

* Cited by examiner, † Cited by third party
Publication number Priority date Publication date Assignee Title
RU2778383C2 (ru) * 2020-10-06 2022-08-18 Общество с ограниченной ответственностью «Яндекс Беспилотные Технологии» Лидарные системы и способы обнаружения

Also Published As

Publication number Publication date
JP2020112501A (ja) 2020-07-27
US12386046B2 (en) 2025-08-12
JP7115329B2 (ja) 2022-08-09
US20210341592A1 (en) 2021-11-04
CN113302516B (zh) 2024-06-18
CN113302516A (zh) 2021-08-24

Similar Documents

Publication Publication Date Title
US12449544B2 (en) Light ranging apparatus
WO2019163673A1 (ja) 光測距装置
US7532312B2 (en) Radar apparatus
US12386046B2 (en) Optical ranging device and method for detecting occurrence of abnormality in the same
US20240192338A1 (en) Method for signal processing for lidar, detection method of lidar, and lidar
US12352892B2 (en) Optical distance measuring device
US20230065210A1 (en) Optical distance measuring device
WO2015098469A1 (ja) 測距装置、電子機器、測距方法、測距プログラム
US11487008B2 (en) Distance measuring device
JP6658375B2 (ja) レーザレーダ装置
JP7375789B2 (ja) 測距装置
JP7180398B2 (ja) 光測距装置およびその制御方法
JP2019028039A (ja) 距離測定装置及び距離測定方法
JP2020112501A5 (enExample)
JP6969504B2 (ja) 測距装置
JP2000028720A (ja) 距離計測装置
JP7755168B2 (ja) 距離計測装置
JP2680243B2 (ja) 測距装置
US20240077591A1 (en) Control apparatus, laser radar apparatus, control method, storage medium, on-board system, and moving apparatus
JPH06235765A (ja) レーザレーダ
JP2021181886A (ja) 光学測距装置
WO2022250095A1 (ja) 汚れ判定装置
JP2021135157A (ja) 物体検出装置、移動体、及びプログラム

Legal Events

Date Code Title Description
121 Ep: the epo has been informed by wipo that ep was designated in this application

Ref document number: 19910296

Country of ref document: EP

Kind code of ref document: A1

NENP Non-entry into the national phase

Ref country code: DE

122 Ep: pct application non-entry in european phase

Ref document number: 19910296

Country of ref document: EP

Kind code of ref document: A1