WO2020122160A1 - 吸収体及び吸収性物品 - Google Patents

吸収体及び吸収性物品 Download PDF

Info

Publication number
WO2020122160A1
WO2020122160A1 PCT/JP2019/048617 JP2019048617W WO2020122160A1 WO 2020122160 A1 WO2020122160 A1 WO 2020122160A1 JP 2019048617 W JP2019048617 W JP 2019048617W WO 2020122160 A1 WO2020122160 A1 WO 2020122160A1
Authority
WO
WIPO (PCT)
Prior art keywords
fiber
absorbent
mass
water
fibers
Prior art date
Legal status (The legal status is an assumption and is not a legal conclusion. Google has not performed a legal analysis and makes no representation as to the accuracy of the status listed.)
Ceased
Application number
PCT/JP2019/048617
Other languages
English (en)
French (fr)
Japanese (ja)
Inventor
将也 金子
糸井 奈美江
裕美 立川
Current Assignee (The listed assignees may be inaccurate. Google has not performed a legal analysis and makes no representation or warranty as to the accuracy of the list.)
Kao Corp
Original Assignee
Kao Corp
Priority date (The priority date is an assumption and is not a legal conclusion. Google has not performed a legal analysis and makes no representation as to the accuracy of the date listed.)
Filing date
Publication date
Application filed by Kao Corp filed Critical Kao Corp
Priority to CN201980061925.8A priority Critical patent/CN112752557B/zh
Publication of WO2020122160A1 publication Critical patent/WO2020122160A1/ja
Anticipated expiration legal-status Critical
Ceased legal-status Critical Current

Links

Images

Classifications

    • AHUMAN NECESSITIES
    • A61MEDICAL OR VETERINARY SCIENCE; HYGIENE
    • A61FFILTERS IMPLANTABLE INTO BLOOD VESSELS; PROSTHESES; DEVICES PROVIDING PATENCY TO, OR PREVENTING COLLAPSING OF, TUBULAR STRUCTURES OF THE BODY, e.g. STENTS; ORTHOPAEDIC, NURSING OR CONTRACEPTIVE DEVICES; FOMENTATION; TREATMENT OR PROTECTION OF EYES OR EARS; BANDAGES, DRESSINGS OR ABSORBENT PADS; FIRST-AID KITS
    • A61F13/00Bandages or dressings; Absorbent pads
    • A61F13/15Absorbent pads, e.g. sanitary towels, swabs or tampons for external or internal application to the body; Supporting or fastening means therefor; Tampon applicators
    • A61F13/53Absorbent pads, e.g. sanitary towels, swabs or tampons for external or internal application to the body; Supporting or fastening means therefor; Tampon applicators characterised by the absorbing medium
    • AHUMAN NECESSITIES
    • A61MEDICAL OR VETERINARY SCIENCE; HYGIENE
    • A61FFILTERS IMPLANTABLE INTO BLOOD VESSELS; PROSTHESES; DEVICES PROVIDING PATENCY TO, OR PREVENTING COLLAPSING OF, TUBULAR STRUCTURES OF THE BODY, e.g. STENTS; ORTHOPAEDIC, NURSING OR CONTRACEPTIVE DEVICES; FOMENTATION; TREATMENT OR PROTECTION OF EYES OR EARS; BANDAGES, DRESSINGS OR ABSORBENT PADS; FIRST-AID KITS
    • A61F13/00Bandages or dressings; Absorbent pads
    • A61F13/15Absorbent pads, e.g. sanitary towels, swabs or tampons for external or internal application to the body; Supporting or fastening means therefor; Tampon applicators
    • A61F13/53Absorbent pads, e.g. sanitary towels, swabs or tampons for external or internal application to the body; Supporting or fastening means therefor; Tampon applicators characterised by the absorbing medium
    • A61F13/534Absorbent pads, e.g. sanitary towels, swabs or tampons for external or internal application to the body; Supporting or fastening means therefor; Tampon applicators characterised by the absorbing medium having an inhomogeneous composition through the thickness of the pad
    • A61F13/535Absorbent pads, e.g. sanitary towels, swabs or tampons for external or internal application to the body; Supporting or fastening means therefor; Tampon applicators characterised by the absorbing medium having an inhomogeneous composition through the thickness of the pad inhomogeneous in the plane of the pad, e.g. core absorbent layers being of different sizes

Definitions

  • the present invention relates to an absorbent body for absorbent articles.
  • Absorbent articles such as disposable diapers and sanitary napkins generally have a topsheet that is placed relatively close to the wearer's skin and a backsheet that is placed relatively far from the wearer's skin. , And an absorber interposed between both sheets.
  • This absorbent body is typically composed mainly of hydrophilic fibers (water-absorbent fibers) such as wood pulp, and often also contains water-absorbent polymer particles.
  • hydrophilic fibers water-absorbent fibers
  • wood pulp often also contains water-absorbent polymer particles.
  • Patent Document 1 discloses an absorber containing a thermoplastic resin fiber and a cellulosic water-absorbing fiber, wherein the thermoplastic resin fiber has a surface on the surface sheet side. And those exposed on both the surface of the absorber and the back sheet side. According to the absorbent body described in Patent Document 1, since the thermoplastic resin fiber functions as a skeleton for holding other components of the absorbent body such as the cellulosic water-absorbent fiber, it is said to be soft and resistant to twisting. ..
  • Patent Document 2 describes an absorbent body containing a hydrophilic fiber and a non-woven fabric piece containing a heat-sealing fiber, in which the fibers are previously bonded to each other to give a three-dimensional structure.
  • This non-woven fabric piece having a three-dimensional structure is produced by pulverizing the non-woven fabric into fine pieces by using a pulverizing means such as a cutter mill method, and due to such a production method, FIG. As described in No. 3, it has an indefinite shape and substantially does not have a portion that can be regarded as a plane.
  • Patent Document 2 as a preferred form of the absorbent body described in the same document, one in which nonwoven fabric pieces are heat-sealed is described.
  • Patent Document 3 describes a fine web having a relatively dense fine fiber core and fibers or fiber bundles extending outward from the core, and the fine web and wood pulp or water-absorbent polymer. It is described that a nonwoven web mixed with particles can be used as an absorber for absorbent articles. This fine web is produced by peeling or tearing off a raw material sheet such as a non-woven fabric, and like the non-woven fabric piece described in Patent Document 2, it has an irregular shape and has a portion that can be regarded as a flat surface. Virtually no.
  • the present invention is an absorbent body including a water-absorbent fiber and a fiber mass that is an aggregate of weakly water-absorbent fibers having a lower water-absorbing property than the water-absorbent fiber.
  • the fiber lumps are entangled with each other or the fiber lumps and the water absorbing fibers are entangled with each other.
  • the fiber mass has two opposing basic surfaces and a skeleton surface connecting the two basic surfaces.
  • the absorber has a compressive strain rate of 66% or more.
  • the absorber has a recovery work amount of 235 mN ⁇ cm/cm 2 or more.
  • the present invention also provides a liquid-permeable topsheet, a backsheet, and an absorber interposed between the two sheets, wherein the absorber is the absorbent article of the present invention. is there.
  • FIG. 1 is a plan view schematically showing a part of a sanitary napkin, which is an embodiment of the absorbent article of the present invention, on the skin-facing surface side (surface sheet side).
  • FIG. 2 is a transverse cross-sectional view schematically showing the II cross section of FIG. 3(a) and 3(b) are schematic perspective views of the main body of the fiber mass according to the present invention.
  • FIG. 4 is an explanatory view of the method for producing a fiber mass according to the present invention.
  • FIG. 5( a) is an electron micrograph (observation magnification: 25 times) of an example of a fiber mass according to the present invention
  • FIG. 5( b) is a fiber mass contained in the absorber shown in FIG.
  • FIG. 6 is a cross-sectional view schematically showing a cross section along the thickness direction of the absorbent body used in Examples and Reference Examples.
  • FIG. 7 is a graph comparing predetermined characteristics of Examples and Reference Examples in which the aspect ratio of the basic surface of the fiber mass is the same, and FIG. 7A shows the area of the basic surface of the fiber mass. And the compressive strain rate ( ⁇ T/T 0 ) of the absorbent body, and FIG. 7B is a graph showing the relationship between the area of the basic surface of the fiber mass and the recovery work amount (WC′). .. FIG.
  • FIG. 8 is a graph comparing predetermined characteristics of Examples and Reference Examples in which the aspect ratio of the basic surface of the fiber mass is different from each other.
  • FIG. 8A is a graph showing the area of the basic surface of the fiber mass and the absorption.
  • FIG. 8B is a graph showing the relationship with the compressive strain rate ( ⁇ T/T 0 ) of the body, and
  • FIG. 8B is a graph showing the relationship between the area of the basic surface of the fiber mass and the recovery work amount (WC′).
  • the absorbent body described in Patent Document 1 further contains synthetic fibers (thermoplastic resin fibers) in addition to the cellulosic water-absorbing fibers, but a plurality of contained synthetic fibers exist independently, It does not form a single lump. Therefore, the absorbent body described in Patent Document 1 does not have sufficient cushioning property, compression recovery property and the like, and therefore, when applied to an absorbent article, the absorbent body may be easily twisted and the fitting property may be insufficient. After absorption of body fluids such as urine and menstrual blood, the occurrence of such inconvenience is remarkable.
  • synthetic fibers thermoplastic resin fibers
  • the synthetic fibers contained therein are synthetic fiber aggregates called non-woven fabric pieces or fine webs, but as described above, the non-woven fabrics mainly made of synthetic fibers. Crushed into strips, or peeled off or torn off, so it has an indefinite shape and does not have the same shape and size. When mixed with, it is difficult to obtain a uniform mixture of both, and the desired effect may not be obtained.
  • the present invention relates to an absorbent body which is excellent in flexibility and compression recovery property and can improve wearing feeling when applied to the absorbent article, and an absorbent article using the absorbent body.
  • the napkin 1 includes an absorbent body 4 that absorbs and retains body fluid, a liquid-permeable surface sheet 2 that is disposed on the skin-facing surface side of the absorbent body 4, and that can come into contact with the wearer's skin, and a non-absorbent body of the absorbent body 4. And a back sheet 3 that is liquid-impermeable and disposed on the skin facing surface side. As shown in FIG.
  • the napkin 1 has a longitudinal direction X that corresponds to the front-back direction of the wearer and extends from the wearer's abdominal side to the back side through the crotch portion, and a lateral direction Y orthogonal thereto. Further, in the vertical direction X, a vertical central region B including an excretory portion facing portion (excretion point) facing the excretory portion such as the vaginal opening of the wearer, and the wearer's ventral side (front side) than the excretory portion facing portion. ), and a rear area C arranged on the wearer's back side (rear side) with respect to the excretion part facing portion.
  • a vertical central region B including an excretory portion facing portion (excretion point) facing the excretory portion such as the vaginal opening of the wearer, and the wearer's ventral side (front side) than the excretory portion facing portion.
  • a rear area C arranged on the wearer's back side (rear side) with respect to the excre
  • the “skin-facing surface” is a surface of the absorbent article or a constituent member thereof (for example, the absorbent body 4) that is directed toward the skin side of the wearer when the absorbent article is worn, that is, relatively to the wearer.
  • the term "when worn” as used herein means a state in which a normal proper wearing position, that is, a correct wearing position of the absorbent article is maintained.
  • the napkin 1 has an absorbent main body 5 having a shape elongated in the vertical direction X, and both side portions of the absorbent main body 5 along the vertical direction X of the vertical center region B outward in the horizontal direction Y. It has a pair of extending wing portions 5W, 5W.
  • the absorptive main body 5 is a main component of the napkin 1, and includes the above-mentioned top sheet 2, back sheet 3 and absorber 4, and in the longitudinal direction X, a front area A, a longitudinal center area B, and a rear area C. It is divided into three.
  • the longitudinal central region in the absorbent article of the present invention is a wing in the longitudinal direction (longitudinal direction, X direction in the drawing) of the absorbent article.
  • the excretion part facing portion in the absorbent article having no wing portion means a region located in the middle when the absorbent article is divided into three in the longitudinal direction X.
  • the absorbent body 4 is configured to include a liquid-absorbent absorbent core 40 and a liquid-permeable core wrap sheet 41 that covers the outer surface of the absorbent core 40.
  • the absorbent core 40 has a shape that is long in the vertical direction X in a plan view as shown in FIG. 1, and the longitudinal direction of the absorbent core 40 is substantially the same as the vertical direction X of the napkin 1. However, the width direction of the absorbent core 40 coincides with the lateral direction Y of the napkin 1.
  • the absorbent core 40 and the core wrap sheet 41 may be joined by an adhesive such as a hot melt adhesive.
  • the absorbent body 4 which is one embodiment of the absorbent body of the present invention is indirectly applied to human skin by being incorporated into an absorbent article such as the napkin 1, that is, the back sheet 3 and the like. It is used by being indirectly applied to the skin via a member, and when used, the skin facing surface (the topsheet 2 and the skin sheet 2) is arranged relatively close to the skin of the user (wearer of the napkin 1) during use. Of the napkin 1), and a non-skin facing surface (a facing surface with the back sheet 3) arranged at a position relatively far from the user's skin, further corresponding to the front-back direction of the wearer of the napkin 1.
  • the absorber 4 can be used by directly applying it to the skin without using a member such as a sheet in addition to the form of indirectly applying it to the skin.
  • the core wrap sheet 41 is a single continuous sheet having a width that is not less than 2 times and not more than 3 times the length of the absorbent core 40 in the lateral direction Y, and as shown in FIG. Covering the entire skin-facing surface of the absorbent core 40 and extending outward in the lateral direction Y from both side edges of the absorbent core 40 along the longitudinal direction X, and the extending portion is located below the absorbent core 40. It is wound down and covers the entire non-skin-facing surface of the absorbent core 40.
  • the core wrap sheet does not have to be such one sheet, and for example, one skin side core wrap sheet that covers the skin facing surface of the absorbent core 40 and the skin side
  • the core wrap sheet may be separate from the core wrap sheet, and may include two sheets, one non-skin side core wrap sheet that covers the non-skin facing surface of the absorbent core 40.
  • the topsheet 2 covers the entire skin-facing surface of the absorber 4.
  • the backsheet 3 covers the entire non-skin-facing surface of the absorber 4, and further extends outward in the lateral direction Y from both side edges along the longitudinal direction X of the absorber 4, together with the sidesheet 6 described later.
  • a side flap portion (a portion made of a member that extends outward from the absorber 4 in the lateral direction Y) is formed.
  • the back sheet 3 and the side sheet 6 are joined to each other at a portion extending from both side edges along the longitudinal direction X of the absorber 4 by a known joining means such as an adhesive, heat sealing, or ultrasonic sealing.
  • topsheet 2 and the backsheet 3 and the absorber 4 may be joined with an adhesive.
  • various materials conventionally used for absorbent articles such as sanitary napkins can be used without particular limitation.
  • the topsheet 2 a single-layer or multi-layered non-woven fabric, a perforated film, or the like can be used.
  • the back sheet 3 a moisture-permeable resin film or the like can be used.
  • a plurality of fixing materials 9 for fixing the napkin 1 to clothes such as underwear are arranged on the non-skin facing surface of the back sheet 3.
  • the side flap portions largely project outward in the horizontal direction Y in the vertical center area B, whereby a pair of left and right sides along the vertical direction X of the absorbent main body 5 are provided.
  • Wing parts 5W and 5W are extended.
  • the wing portion 5W has a substantially trapezoidal shape in which the lower bottom (the side longer than the upper bottom) is located on the side of the absorbent main body 5 in a plan view as shown in FIG.
  • a wing portion adhesive portion (not shown) for fixing the wing portion 5W to clothes such as shorts is formed on the side wall.
  • the wing portion 5W is used by being folded back to the non-skin facing surface (outer surface) side of the crotch portion of clothing such as shorts.
  • the wing part adhesive part is covered with a release sheet (not shown) made of a film, a non-woven fabric, paper or the like.
  • a pair of left and right side portions of the absorbent body 5 along the vertical direction X on the skin facing surface of the absorbent body 5, that is, the skin facing surface of the topsheet 2 are overlapped with each other in a plan view.
  • the side sheets 6 and 6 are arranged over substantially the entire length of the absorbent main body 5 in the vertical direction X.
  • the pair of side sheets 6 and 6 are joined to other members such as the top sheet 2 by a known joining means such as an adhesive at a joining line (not shown) extending in the vertical direction X.
  • the absorbent core 4, particularly the absorbent core 40 that is the main body of the absorbent core 4, is one of the main characteristic parts of the napkin 1.
  • the absorbent core 40 includes a fiber mass 11 that is an assembly of a plurality of fibers 11F and a water absorbent fiber 12F.
  • the fiber lump 11 is a fiber aggregate in which the fibers 11F are intentionally accumulated in a lump form and integrated, whereas the water-absorbent fibers 12F can exist independently without being intentionally integrated. And is present in the absorbent core 40.
  • the fiber mass 11 mainly contributes to improvement of the flexibility, cushioning property, compression recovery property, shape retention property, and the like of the absorbent core 40.
  • the water-absorbent fiber 12F mainly contributes to the improvement of the liquid absorbability and shape retention of the absorbent core 40.
  • the absorbent core 40 can be substantially referred to as the absorbent body 4 itself, and the following description of the absorbent core 40 is appropriately applied as the description of the absorbent body 4 unless otherwise specified.
  • the present invention includes the case where the absorbent body is formed of only the absorbent core without including the core wrap sheet. In that case, the absorbent body and the absorbent core have the same meaning.
  • the absorber 4 is characterized by having a compressive strain rate of 66% or more and a recovery work amount of 235 mN ⁇ cm/cm 2 or more.
  • the compressive strain rate is an index of the flexibility of the absorbent body, and it can be evaluated that the greater the numerical value of the compressive strain rate, the more excellent the absorbent body is.
  • the recovery work is an index of the recoverability of the absorbent core when the external force is applied to the absorber to compress it and then the external force is removed, that is, the compression recovery property. It can be evaluated that the larger the numerical value is, the more excellent the compression recovery of the absorbent body is.
  • the compressive strain rate and the recovery work of the absorber are measured by the following methods.
  • the recovery work amount (hereinafter, also referred to as “WC′”)
  • the compression work amount (hereinafter, also referred to as “WC”) can also be measured, and therefore WC and WC are described below.
  • the measurement method of' is also described.
  • the compression work (WC) is an index of the cushioning property of the absorber, and the larger the value of WC, the better the cushioning property of the absorber can be evaluated.
  • ⁇ Measurement method of compressive strain rate> A load is applied to the measurement target (absorbent body) to compress it in the thickness direction, and the thickness (initial thickness) T 0 at the time when the load is 103.9 mN/cm 2 and the load are gradually increased. Then, the thickness (compressed thickness) Tm of the measurement object at the time when the load reaches a predetermined maximum value (maximum load) is measured.
  • the measurement of the initial thickness T 0 and the compression thickness Tm can be carried out by a usual method using a compression tester (for example, KES-G5 compression tester manufactured by Kato Tech Co., Ltd.). Make sure that the object to be measured does not have wrinkles or bends.
  • the measurement conditions of the compression tester are as follows.
  • WC and WC′ of a measurement object can be represented by a measurement value by KES (Kawabata Evaluation System) manufactured by Kato Tech Co., Ltd. (reference: texture). Standardization and analysis of evaluation (2nd edition), author: K. Kawabata, published on July 10, 1980.
  • KES Kawabata Evaluation System
  • the compression test device KES-G5 manufactured by Kato Tech Co., Ltd. can be used to measure the compression work amount, the recovery work amount, and the compression recovery rate.
  • the measurement procedure is as follows.
  • a 240 mm ⁇ 70 mm sample in a quadrangular shape in plan view (an absorber wrapped with a core wrap sheet) is prepared and attached to a test stand of a compression test apparatus.
  • the non-concave part of the sample that is, the part where the original shape of the sample is left without being subjected to compression processing or the like is compressed between steel plates having a circular flat surface with an area of 2 cm 2 .
  • the compression speed is 0.2 cm/sec
  • the maximum compression load is 2450 mN/cm 2 .
  • the recovery process also measures at the same speed.
  • WC is represented by the following formula (1)
  • WC' is represented by the following formula (2).
  • T m is the thickness under a load of 2450 mN/cm 2 (4.9 kPa)
  • T O is the thickness under a load of 4.902 mN/cm 2 (49 Pa).
  • P b in formula (1) P a and the following formula (2), respectively, measured load at the compression process (mN / cm 2), measuring load during thickness recovery process (mN / cm 2 ) Is shown.
  • WC′ is not displayed on the measurement result screen of KES-G5, and what is displayed on the measurement result screen is WC and the compression recovery rate or compression resilience calculated from WC′ (hereinafter, “RC Also referred to as ".”
  • RC the compression recovery rate or compression resilience calculated from WC′
  • the parameters (WC, RC) displayed on the measuring device are used to calculate WC' by the following equation.
  • the absorber 4 having a compressive strain rate of 66% or more and a recovery work amount of 235 mN ⁇ cm/cm 2 or more has good flexibility and can be applied to external force not only in a dry state but also in a wet state in which a liquid is absorbed.
  • the napkin 1 including the absorbent body 4 is flexibly deformed against external force (for example, the body pressure of the wearer) received from various directions when the wearer wears the napkin 1 and fits the wearer's body with good fit. Excellent wearing feeling.
  • the compressive strain rate of the absorber 4 is preferably 67% or more, more preferably 68% or more.
  • the upper limit of the compressive strain rate of the absorbent body 4 is not particularly limited, but when the absorbent body 4 contains a water-absorbing polymer, it is preferably 80% or less, more preferably 75% or less, from the viewpoint of suppressing the falling of the water-absorbing polymer. Is.
  • the recovery work (WC′) of the absorber 4 is preferably 240 mN ⁇ cm/cm 2 or more, more preferably 250 mN ⁇ cm/cm 2 or more.
  • the upper limit of WC' of the absorber 4 is not particularly limited, but is preferably 300 mN ⁇ cm/cm 2 or less, more preferably 280 mN ⁇ cm/cm 2 or less, from the viewpoint of making it easier to feel softness when worn.
  • the absorbent core 40 is formed in the water absorbent fiber 12F as shown in FIG.
  • it further includes the fiber mass 11.
  • the size (surface area and the like) and shape (aspect ratio and the like) of the fiber mass 11 have a great influence on the compressive strain rate and the recovery work amount of the absorber 4.
  • the absorbent core 40 will be further described centering on the fiber mass 11.
  • the “fiber mass” refers to a fiber aggregate in which a plurality of fibers are united.
  • Examples of the form of the fiber lump include sheet pieces divided from a fiber sheet having a certain size. Particularly, a nonwoven fabric piece is selected as the fiber sheet, and a nonwoven fabric piece cut out from the nonwoven fabric into a predetermined size and shape is preferable as the fiber mass.
  • the sheet piece-like fiber lump which is a preferred embodiment of the fiber lump according to the present invention is not configured to form a sheet piece by accumulating a plurality of fibers, and as will be described later. It is produced by cutting a fiber sheet (preferably a non-woven fabric) having a size larger than the sheet piece.
  • the plurality of fiber lumps contained in the absorbent body of the present invention are a plurality of sheet-piece-shaped fiber lumps having a high formability as compared with those manufactured by the conventional techniques as disclosed in Patent Documents 2 and 3.
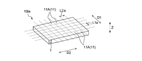
  • FIG. 3 shows two typical outer shapes of the fiber mass 11.
  • the fiber lump 11A shown in FIG. 3(a) has a rectangular parallelepiped shape, more specifically, a rectangular parallelepiped shape, and the fiber lump 11B shown in FIG. 3(b) has a disk shape.
  • the fiber masses 11A and 11B are common in that they have two base planes 111 facing each other and a skeletal plane 112 connecting the two base planes 111.
  • Both the basic surface 111 and the skeleton surface 112 are levels that are applied when evaluating the degree of unevenness of the surface of an article mainly composed of this type of fiber, and are portions that are recognized to have substantially no unevenness.
  • the rectangular parallelepiped fiber mass 11A of FIG. 3(a) has six flat surfaces. Of the six surfaces, the two opposite surfaces having the largest area are the basic surfaces 111, and the remaining surfaces are the remaining surfaces. Each of the four surfaces is a skeleton surface 112. The basic surface 111 and the skeleton surface 112 intersect with each other, more specifically, are orthogonal to each other.
  • the disk-shaped fiber mass 11B of FIG. 3B has two flat surfaces that are circular in plan view and that face each other, and a curved peripheral surface that connects both flat surfaces. Each surface is a basic surface 111, and the peripheral surface is a skeleton surface 112.
  • the fiber lumps 11A and 11B are also common in that the skeleton surface 112 has a quadrangular shape in a plan view, more specifically, a rectangular shape.
  • Each of the plurality of fiber lumps 11 contained in the absorbent core 40 has two opposing basic surfaces 111 and a skeletal surface 112 connecting both the basic surfaces 111, like the fiber lumps 11A and 11B shown in FIG.
  • the non-woven fabric piece or fine web described in Patent Documents 2 and 3, which is an irregular fiber aggregate, is different in that it is a “fixed-shaped fiber aggregate”.
  • the see-through shape of the fiber mass 11 differs depending on the observation angle.
  • each of the plurality of fiber lumps 11 in the absorbent core 40 connects two opposing basic surfaces 111 and both basic surfaces 111 as one of the plurality of transparent shapes. And a specific perspective shape having a skeleton surface 112.
  • the plurality of non-woven fabric pieces or fine webs contained in the absorbent bodies described in Patent Documents 2 and 3 have substantially "faces" such as the basic surface 111 and the skeleton surface 112, that is, a wide portion.
  • the external shapes are different from each other and are not "standard shapes".
  • Patent Documents 2 and 3 describe that the plurality of fiber lumps 11 included in the absorbent core 40 are “fixed-shaped fiber aggregates” defined by the basic surface 111 and the skeleton surface 112. Since the uniform dispersibility of the fiber mass 11 in the absorbent core 40 is improved as compared with the case of the irregularly shaped fiber mass as described, the fiber mass such as the fiber mass 11 is blended with the absorbent core 40. As a result, the expected effect (the effect of improving the flexibility, cushioning property, compression recovery property, etc. of the absorbent core 40) can be more stably exhibited. Further, in particular, in the case of a rectangular parallelepiped-shaped fiber mass 11A as shown in FIG.
  • the outer surface of the fiber mass 11A is composed of two basic surfaces 111 and four skeleton surfaces 112. It is possible to have a relatively large number of opportunities to contact with the fibers 12F, the entanglement is enhanced, and the shape retention and the like can be improved.
  • the total area of the two basic surfaces 111 is preferably larger than the total area of the skeleton surface 112. That is, in the rectangular parallelepiped fiber mass 11A of FIG. 3A, the total area of the two basic surfaces 111 is larger than the total area of the four skeletal surfaces 112, and FIG. In the disk-shaped fiber mass 11B, the sum of the areas of the two basic surfaces 111 is larger than the area of the skeleton surface 112 forming the peripheral surface of the disk-shaped fiber mass 11B. In each of the fiber lumps 11A and 11B, the basic surface 111 is the largest area among the plurality of surfaces of the fiber lumps 11A and 11B.
  • Such a fiber lump 11 which is a “fixed-shaped fiber aggregate” defined by the two basic surfaces 111 and the skeleton surface 112 intersecting the both basic surfaces 111 has a manufacturing method different from that of the prior art. This can be achieved.
  • a preferable method for producing the fiber lump 11 is to use a raw material fiber sheet 10bs (a sheet having the same composition as the fiber lump 11 and having a size larger than the fiber lump 11) as a raw material by a cutting means such as a cutter. It is used to cut into a fixed shape.
  • the plurality of fiber lumps 11 thus manufactured have a more uniform shape and size than those manufactured by the conventional techniques as disclosed in Patent Documents 2 and 3.
  • the absorbent core 40 contains a plurality of fiber lumps 11 having a uniform shape and size, which are obtained by cutting the fiber sheet into a regular shape in this manner.
  • the nonwoven fabric is preferable as the raw material fiber sheet 10bs.
  • the rectangular parallelepiped fiber mass 11A of FIG. 3(a) has a raw material fiber sheet 10bs in a first direction D1 and a second direction intersecting (more specifically, orthogonal) to the first direction D1. It is manufactured by cutting into D2 and a predetermined length. Both directions D1 and D2 are predetermined ones in the plane direction of the sheet 10bs, and the sheet 10bs is cut along the thickness direction Z orthogonal to the plane direction.
  • the cut surface that is, the surface that comes into contact with a cutting means such as a cutter when the sheet 10bs is cut is usually
  • the skeleton surface 112 and the non-cut surface, that is, the surface that does not contact the cutting means is the basic surface 111.
  • the basic surface 111 is the front and back surfaces (the surface orthogonal to the thickness direction Z) of the sheet 10bs, and as described above, is the surface having the largest area among the plurality of surfaces of the fiber mass 11A.
  • the above description of the fiber lump 11A basically applies to the disk-shaped fiber lump 11B of FIG. 3(b).
  • the substantial difference from the fiber lump 11A is only the cutting pattern of the raw fiber sheet 10bs, and when the sheet 10bs is cut into a regular shape to obtain the fiber lump 11B, in accordance with the plan view shape of the fiber lump 11B, The sheet 10bs may be cut into a circular shape.
  • the outer shape of the fiber mass 11 is not limited to that shown in FIG. 3, and both the basic surface 111 and the skeleton surface 112 are flat surfaces that are not curved like the surfaces 111 and 112 of FIG. 3A. Alternatively, it may be a curved surface such as the skeleton surface 112 (the peripheral surface of the disk-shaped fiber mass 11B) in FIG. 3B.
  • the basic surface 111 and the skeleton surface 112 may have the same shape and the same size, and specifically, for example, the outer shape of the fiber mass 11A may be a cubic shape.
  • the fiber mass 11 included in the absorbent core 40 should be It is effective to use a large size. If the size of the fiber mass 11 included in the absorbent core 40 is large, voids are likely to be formed inside the absorbent core 40, and if there are many voids inside the absorbent core 40, the compressive strain rate and the positive The compressed thickness amount ⁇ T having a correlation tends to increase, and the compression strain rate and the recovery work amount easily fall within the specific range. On the other hand, if the size of the fiber mass 11 is too large, the absorbent body 4 may not be provided with bulk.
  • the area of the basic surface 111 can be used as an index of the size of the fiber mass 11.
  • the basic surface 111 is a surface having the largest area among the plurality of surfaces of the fiber mass 11.
  • the area of the basic surface 111 of the fiber mass 11 is preferably 9 mm 2 or more, more preferably 16 mm 2 or more, and preferably 60 mm 2 or less, more preferably 50 mm 2 or less.
  • the fiber mass contained in the absorbent core 40 in order to set the compressive strain rate of the absorber 4 to 66% or more and the recovery work amount to 235 mN ⁇ cm/cm 2 or more, the fiber mass contained in the absorbent core 40.
  • Reference numeral 11 indicates that the aspect ratio of the basic surface 111 (the surface having the largest area among the plurality of surfaces of the fiber mass 11) is 1 or close to 1, that is, the basic surface 111 has a square shape in plan view or a similar shape. It is also effective to use one. As the aspect ratio of the fiber mass 11 included in the absorptive core 40 is closer to 1, the absorptive core 40 tends to be bulky, and the compressive strain rate and the recovery work amount are likely to fall within the specific range. Considering the above, the aspect ratio of the basic surface 111 of the fiber mass 11 is preferably 1 or more, more preferably 1.2 or more, and preferably less than 2, more preferably 1.8 or less.
  • the aspect ratio of the basic surface 111 is calculated as the ratio of the lengths of two sides that are orthogonal to each other and that define the rectangular basic surface 111 when the basic surface 111 has a quadrangular shape in plan view. If the two sides have the same length, the aspect ratio of the basic surface 111 having a quadrangular shape in plan view is 1, and if the two sides have different lengths, that is, the basic surface 111 has a plan view shape as shown in FIG. In the case of a rectangle as shown in (), it is obtained as a ratio (L2/L1) of the length L2 of the long side 111b to the length L1 of the short side 111a. Further, as in the fiber lump 11B shown in FIG.
  • the lengths of two axes passing through the center (center of gravity) of the basic surface 111 and orthogonal to each other. Is calculated as the ratio of. If the lengths of the two axes are the same, the aspect ratio of the basic surface 111 having a non-square shape in plan view is 1, and if the lengths of the two axes are different from each other, that is, the length is relatively short.
  • the ratio of the length of the long axis to the length of the short axis (the length indicated by the symbol L2 in FIG. 3B) (the latter/the former) ) Is required.
  • each part of the fiber mass 11 (11A, 11B) are preferably set as follows on the assumption that the area of the basic surface 111 and the aspect ratio fall within the specific range.
  • the size of each part of the fiber mass 11 can be measured based on an electron micrograph at the time of specifying the outer shape of the fiber mass 11 described later.
  • the length L1 of the short side 111a thereof is preferably 0.1 mm or more, more preferably 0.3 mm or more, further preferably 0.5 mm. Above, and preferably 10 mm or less, more preferably 8 mm or less, still more preferably 6 mm or less.
  • the length L2 of the long side 111b of the basic surface 111 having a rectangular shape in plan view is preferably 0.3 mm or more, more preferably 1 mm or more, further preferably 2 mm or more, and preferably 30 mm or less, more preferably 15 mm or less, More preferably, it is 10 mm or less.
  • the length L2 of the long side 111b is the maximum crossover length of the fiber mass 11. (Long axis length), and the maximum crossover length matches the diameter of the basic surface 111 of the disk-shaped fiber mass 11B, which is circular in plan view.
  • the thickness T of the fiber mass 11, that is, the length T between the two opposing basic surfaces 111 is preferably 0.1 mm or more, more preferably 0.3 mm or more, and preferably 10 mm or less, more preferably 6 mm or less. is there.
  • the fiber mass 11 contained in the absorbent core 40 is preferably bulky, and in order to satisfy the property, the fiber mass measured by the following method.
  • the lower packing bulk density of 11 is preferable. Packing bulk density of the fiber agglomerations 11 is preferably 0.016 g / cm 3 or less, more preferably 0.015 g / cm 3 or less.
  • the lower limit of the packing bulk density of the fiber mass 11 is preferably 0.010 g/cm 3 or more, and more preferably, from the viewpoint of suppressing the falling of the water-absorbent polymer when the absorbent body 4 contains the water-absorbent polymer. It is 0.015 g/cm 3 or more.
  • the fiber mass 11 contained in the absorbent core 40 has elasticity, and the property is satisfied. Therefore, it is preferable that the compression recovery rate of the fiber mass 11 measured by the following method is high.
  • the compression recovery rate of the fiber mass 11 is preferably 270% or more, more preferably 290% or more.
  • the upper limit of the compression recovery rate of the fiber mass 11 is preferably 400% or less, more preferably 380% or less in a practical range.
  • ⁇ Method of measuring compression recovery rate of fiber lump> This measurement is performed subsequent to the above-mentioned measurement of the packed bulk density. That is, the according ⁇ Measurement method of filling bulk density of the fiber agglomerations> After measuring the initial height h a of the fibrous mass layer in the container, pressurized with 20 g / cm 2 the fiber mass tank from above. After maintaining such a pressurized state for 1 minute, the height (compressed height) h b of the fiber lump layer from the bottom surface of the container was immediately measured, and 1 minute after the pressurization was stopped, the fiber lump was measured.
  • the height (restoration height) h c of the layer from the bottom surface of the container is measured, and the compression restoration rate of the fiber mass is calculated by the following equation.
  • the height h b, h c is when the partially different, their height h b, the height of the fiber mass layer the maximum value of h c h b, and h c.
  • Compression recovery rate of fiber lump (%) (h c /h b ) ⁇ 100
  • the constituent fibers 11F of the fiber mass 11 include weakly water-absorbing fibers having a lower water-absorbing property than the water-absorbing fibers 12F.
  • the "weakly water-absorbent fiber” referred to here is a "non-water-absorbent fiber” having no water-absorbing property, and a “weakly water-absorbent fiber” having water-absorbing property but having a lower water-absorbing property than the water-absorbing fiber 12F. And are included.
  • the water absorption of the fiber can be determined by using the water content measured by the following method as an index. The larger the water content value, the higher the water absorption.
  • the water content of the water absorbent fibers 12F is preferably 6% or more, more preferably 10% or more.
  • the water content of the weakly water-absorbent fibers that can be used as the constituent fibers 11F of the fiber mass 11 is preferably less than 6%, more preferably less than 4%.
  • the water content was calculated according to the water content test method of JIS P8203. That is, the fiber sample was allowed to stand in a test room at a temperature of 40° C. and a relative humidity of 80% RH for 24 hours, and the weight W (g) of the fiber sample before the absolute drying treatment was measured in the room. Then, the fiber sample was allowed to stand in an electric dryer (for example, manufactured by Isuzu Seisakusho Co., Ltd.) at a temperature of 105 ⁇ 2° C. for 1 hour, and the fiber sample was dried. After the absolute drying treatment, in a standard condition test room at a temperature of 20 ⁇ 2° C.
  • an electric dryer for example, manufactured by Isuzu Seisakusho Co., Ltd.
  • the constituent fibers 11F of the fiber mass 11 may include fibers other than the weakly water-absorbing fibers (fibers having a water content of less than 6%), that is, the water-absorbing fibers 12F, but mainly the weakly water-absorbing fibers. It is preferable that The content of weakly water-absorbing fibers (fibers having a water content of less than 6%) in the fiber mass 11 is preferably 90% by mass or more based on the total mass of the fiber mass 11, and 100% by mass, that is, the constituent fibers 11F. Most preferably, all of the fibers are weakly absorbent.
  • the fiber mass 11 is composed mainly of weakly water-absorbent fibers, not only when the absorbent core 40 is in a dry state, but also in a wet state by absorbing water (body fluid such as urine and menstrual blood). Even in some cases, the above-described action and effect (the effect of improving flexibility, cushioning property, compression recovery property, shape retaining property, etc.) due to the presence of the fiber mass 11 can be stably exhibited.
  • thermoplastic resin is particularly preferable. That is, as the "weakly water-absorbent fiber", a synthetic fiber mainly composed of a synthetic resin is preferable, and a thermoplastic fiber mainly composed of a thermoplastic resin is particularly preferable.
  • the thermoplastic resin include polyolefins such as polyethylene and polypropylene; polyesters such as polyethylene terephthalate; polyamides such as nylon 6 and nylon 66; polyacrylic acid, polymethacrylic acid alkyl ester, polyvinyl chloride, polyvinylidene chloride and the like. These may be used alone or in combination of two or more.
  • the fiber 11F may be a single fiber made of one kind of synthetic resin (thermoplastic resin) or a blend polymer in which two or more kinds of synthetic resins are mixed, or may be a composite fiber.
  • the composite fiber referred to here is a synthetic fiber (thermoplastic fiber) obtained by combining two or more kinds of synthetic resins having different components with a spinneret and simultaneously spinning, and a plurality of components are continuous in the length direction of the fiber.
  • the structure described above means that the fibers are mutually bonded within the single fiber.
  • the form of the composite fiber includes a core-sheath type and a side-by-side type, and is not particularly limited.
  • the fiber mass 11 preferably has a three-dimensional structure in which a plurality of thermoplastic fibers are heat-sealed to each other.
  • the absorbent core 40 including the fiber mass 11 having the three-dimensional structure has excellent effects in shape retention, flexibility, cushioning property, compression recovery property, resistance to twisting and the like in both a dry state and a wet state. Can be expressed.
  • the fibrous mass 11 having the three-dimensional structure may have a fibrous sheet (raw material fibrous sheet 10bs of FIG. 4) that is a raw material thereof similarly configured, and the fibrous sheet having the three-dimensional structure may be, for example, It can be produced by subjecting a web or nonwoven fabric mainly composed of thermoplastic fibers to a heat treatment such as hot air treatment.
  • the plurality of fiber lumps 11 are entangled with each other, or the fiber lumps 11 and the water absorbent fibers 12F are entangled with each other.
  • the plurality of fiber lumps 11 are combined by the entanglement, that is, the entanglement of the constituent fibers 11F to form one fiber lump continuous body, and the fiber lump continuous body is also formed.
  • the water absorbent fibers 12F are entwined with each other, that is, entangled and bonded. Further, usually, the plurality of water absorbent fibers 12F are also entangled with each other and bonded.
  • At least a part of the plurality of fiber lumps 11 contained in the absorbent core 40 is entangled with the other fiber lumps 11 or the water absorbent fibers 12F.
  • all of the plurality of fiber lumps 11 contained in the absorbent core 40 may be entangled with each other to form one fiber lump continuous body, and the plurality of fiber lump continuous bodies are not mutually connected. There may be cases where they are mixed in a combined state.
  • Form A A form in which the fiber lumps 11 or the like are joined not by fusion but by entanglement of the constituent fibers 11F of the fiber lumps 11.
  • Form B In the natural state of the absorbent core 40 (the state in which the external force is not applied), the fiber lumps 11 and the like are not bonded, but in the state in which the external force is applied to the absorbent core 40, the fiber lumps 11 and the like are A form in which the constituent fibers 11F can be combined by being entangled with each other.
  • the "state in which an external force is applied to the absorbent core 40" as used herein means, for example, that the absorbent core 40 is applied to the absorbent core 40 while wearing the absorbent article (the napkin 1 in the present embodiment) to which the absorbent core 40 is applied. It is in a state where a deforming force is applied.
  • the fiber lumps 11 are bonded to the other fiber lumps 11 or the water-absorbent fibers 12F by the entanglement of the fibers, that is, “entanglement”.
  • the absorbent core 40 preferably has the “entanglement” of the form A from the viewpoint of shape retention.
  • the individual elements fiber mass 11, water-absorbent fiber 12F having a high degree of freedom of movement can move within a range in which the individual elements can maintain their integrity as an aggregate composed of them. In this way, the absorbent core 40 is deformed when an external force is applied because the plurality of fiber lumps 11 contained in the absorbent core 40 or the fiber lumps 11 and the water absorbing fibers 12F are bonded relatively loosely.
  • the napkin 1 including such a high-quality absorbent core 40 adheres to the wearer's body with good fit and is excellent in wearing feeling.
  • the form A “fiber lumps 11 bound by entanglement” and the form B “fiber lumps 11 capable of being entangled” are provided.
  • the total number is preferably at least half, more preferably at least 70%, and even more preferably at least 80% with respect to the total number of fiber masses 11 in the absorbent core 40.
  • the number of the fiber lumps 11 having the “entanglement” of the form A is 70% or more, particularly 80% or more of the total number of the fiber lumps 11 having the bonding portion with the other fiber lumps 11 or the water absorbent fibers 12F.
  • the number of the fiber lumps 11 having the “entanglement” of the form A is 70% or more, particularly 80% or more of the total number of the fiber lumps 11 having the bonding portion with the other fiber lumps 11 or the water absorbent fibers 12F.
  • the boundary between the members 11 and 12F is caused by the difference in rigidity between the members 11 and 12F. Is particularly easy to bend, and where the boundary functions as a bent portion when the absorbent core 40 is deformed, the boundary that is the bent portion is usually formed by fusion of fiber lumps 11 with each other, such as in the first region 7 described later. Since the absorbent core 40 is present over the entire area of the absorbent core 40, the absorbent core 40 is responsively and flexibly deformed to various external forces, and when the external force is released. The compression recovery property of the fiber mass 11 allows the fiber mass 11 to be quickly restored to the original state.
  • the absorber 4 having such excellent deformation-recovery characteristics has a compressive strain rate of 66% or more and a recovery work amount of 235 mN ⁇ cm/cm 2 or more.
  • the excellent deformation-recovery characteristics of the absorbent body 4 having a compressive strain rate of 66% or more and a recovery work amount of 235 mN ⁇ cm/cm 2 or more are not only when the absorbent core 40 is compressed but also twisted. It can be similarly expressed in some cases. That is, since the absorbent core 40 incorporated in the napkin 1 is disposed in a state of being sandwiched between the thighs of the wearer when the napkin 1 is worn, the absorbent core 40 is walked by the wearer. The movement of both thighs during operation may cause twisting about an imaginary axis of rotation extending in the longitudinal direction X. Even in such a case, the absorbent core 40 has high deformation-recovery characteristics. Therefore, the napkin 1 can be easily deformed/recovered by an external force that promotes twisting from both thighs, and thus is resistant to twisting, and the napkin 1 can be given a high fit property to the wearer's body.
  • the two types of surfaces (the basic surface 111 and the skeletal surface 112) of the fiber mass 11 are the raw fiber sheet 10bs (see FIG. 4) obtained by a cutting means such as a cutter when manufacturing the fiber mass 11.
  • the cutting surface (skeleton surface 112) formed by the cutting (see reference) and the non-cutting surface (basic surface 111) that is the surface that the sheet 10bs originally has and that does not contact the cutting means are classified. Due to the difference between the cut surface and the cut surface, the skeleton surface 112 that is a cut surface has a larger number of fiber end portions per unit area than the basic surface 111 that is a non-cut surface. Have.
  • the “fiber end portion” here means the end portion in the length direction of the constituent fibers 11F of the fiber mass 11.
  • the fiber end portion is also present on the basic surface 111 which is a non-cutting surface, but the skeleton surface 112 is formed by the cutting because the cutting surface is formed by cutting the raw material fiber sheet 10bs.
  • a large number of fiber ends, which are the cut ends of the constituent fibers 11F, are present in the entire skeletal surface 112, that is, the number of fiber ends per unit area is larger than that of the basic surface 111. ..
  • the fiber ends existing on the respective surfaces (basic surface 111, skeletal surface 112) of the fiber mass 11 are located between the fiber mass 11 and other fiber masses 11 and the water absorbent fibers 12F included in the absorbent core 40.
  • Useful for forming confounding Generally, the larger the number of fiber ends per unit area is, the more the entanglement property can be improved, which can lead to the improvement of various properties such as shape retention of the absorbent core 40.
  • the number of fiber ends per unit area on each surface of the fiber mass 11 is not uniform, and the number of such fiber ends per unit area is "skeleton surface 112>basic surface 111".
  • the entanglement with other fibers (the other fiber lumps 11 and the water-absorbing fibers 12F) through the fiber lumps 11 differs depending on the surface of the fiber lumps 11, and the skeleton surface 112 is more than the basic surface 111.
  • the bond due to the entanglement with other fibers through the skeleton surface 112 has a stronger bonding force than that through the basic surface 111, and in one fiber lump 11, the basic surface 111 and the skeleton surface are There may be a difference between 112 and the bonding force with other fibers.
  • the stronger the binding force is, the more limited the degree of freedom of movement of the joined fibers is, and the strength (shape retention) of the entire absorbent core 40 is improved, but the softness tends to be decreased. ..
  • each of the plurality of fiber lumps 11 included in the absorbent core 40 has two kinds of binding force with respect to the other fibers (the other fiber lumps 11 and the water absorbent fibers 12F) around the fiber lump 11.
  • the absorbent core 40 thus has an appropriate softness and strength (shape retention).
  • the absorbent core 40 having such excellent characteristics is used as an absorbent body of an absorbent article according to a conventional method, it is possible to provide a wearer of the absorbent article with a comfortable wearing feeling. At the same time, the inconvenience of the absorbent core 40 being destroyed by external force such as body pressure of the wearer when worn is effectively prevented.
  • the nonwoven fabric pieces or fine webs described in Patent Documents 2 and 3 are manufactured by cutting the raw material fiber sheet into an irregular shape by a cutting machine such as a mill cutter as described above.
  • the fiber bundle does not have a fixed sheet piece shape having a “face” such as the face 111 or the skeleton face 112, and the external force of the cutting process is applied to the entire fiber bundle during the production thereof.
  • the fiber ends are randomly formed over the entire fiber mass, and it is difficult for the fiber ends to sufficiently exhibit the above-described effects.
  • the ratio between the number N 2 per unit area of the fiber ends assuming N 1 ⁇ N 2, as N 1 / N 2, preferably 0 or more, more preferably 0.05 or more, and, preferably 0 It is 0.90 or less, more preferably 0.60 or less. More specifically, N 1 /N 2 is preferably 0 or more and 0.90 or less, and more preferably 0.05 or more and 0.60 or more.
  • the number N 1 of the fiber ends of the basic surface 111 per unit area is preferably 0/mm 2 or more, more preferably 3/mm 2 or more, and preferably 8/mm 2 or less, more preferably 6 pieces/mm 2 or less.
  • the number N 2 of the fiber ends of the skeleton surface 112 per unit area is preferably 5/mm 2 or more, more preferably 8/mm 2 or more, and preferably 50/mm 2 or less, more preferably It is 40 pieces/mm 2 or less.
  • the number of fiber ends of the basic surface 111 and the skeleton surface 112 per unit area is measured by the following method.
  • the member (fiber mass) containing the fiber to be measured is attached to the sample table using a double-sided paper tape (Nystack NW-15 manufactured by Nichiban Co., Ltd.). Then, the measurement piece is coated with platinum. Ion sputtering equipment E-1030 (trade name) manufactured by Hitachi Naka Seiki Co., Ltd. is used for coating, and the sputtering time is 120 seconds. The cut surface of the measurement piece is observed with a JCM-6000 type electron microscope manufactured by JEOL Corporation at a magnification of 100 times for the basic surface and the skeleton surface.
  • a rectangular area having a length of 1.2 mm and a width of 0.6 mm is set at an arbitrary position on the measurement target surface (basic surface or skeletal surface), and the area of the rectangular area is After adjusting the observation angle and the like so as to occupy 90% or more of the area of the observation screen, the number of fiber ends included in the rectangular region is measured.
  • the “fiber end” that is the object of the number measurement is the lengthwise end of the constituent fiber of the fiber mass, and the portion other than the lengthwise end of the constituent fiber from the measurement target surface (the lengthwise middle). Part) is extended, the middle part in the lengthwise direction is not a target for counting.
  • FIG. 5( a) shows an electron micrograph of an example of the fiber mass according to the present invention
  • FIG. 5( b) shows a diagram schematically showing the fiber mass 11 according to this electron micrograph.
  • the fiber mass 11 is configured to include a main body 110 and fibers 11F existing around the main body 110 and extending outward from the main body 110, and A fiber having a low fiber density (a small number of fibers per unit area) and an extended fiber portion 113 can be included.
  • the absorbent core 40 may also include the fiber mass 11 that does not have the extending fiber part 113, that is, the fiber mass 11 that is composed of only the main body part 110.
  • the extending fiber portion 113 may include one kind of fiber end portion existing on each surface (the basic surface 111, the skeletal surface 112) of the fiber lump 11 described above. It is a fiber end portion extending outward from each surface of the lump 11.
  • the main body 110 is a portion defined by the above-described two opposing basic surfaces 111 and a skeleton surface 112 connecting the both basic surfaces 111.
  • the main body part 110 is a part which forms the main body of the fiber mass 11 and forms a fixed outer shape of the fiber mass 11.
  • various characteristics of the fiber mass 11 such as high flexibility, cushioning property and compression recovery property are It is largely due to the main body 110.
  • the extended fiber portion 113 mainly contributes to the improvement of the entanglement between the plurality of fiber lumps 11 contained in the absorbent core 40 or between the fiber lumps 11 and the water absorbent fibers 12F, and the retention of the absorbent core 40. In addition to being directly involved in improving the formability, it can also influence the uniform dispersibility of the fiber mass 11 in the absorbent core 40 and indirectly reinforce the action and effect caused by the main body 110.
  • the main body 110 has a higher fiber density than the extended fiber part 113, that is, the number of fibers per unit area is large.
  • the fiber density of the main body 110 itself is usually uniform.
  • the ratio of the main body 110 to the total mass of the fiber mass 11 is usually at least 40 mass% or more, preferably 50 mass% or more, more preferably 60 mass% or more, and further preferably 85 wt% or more.
  • the main body part 110 and the extended fiber part 113 can be distinguished by the external shape specifying work described later.
  • the work of specifying the outer shape of the main body 110 of the fiber mass 11 included in the absorbent core 40 is performed by determining the difference in the fiber density between the fiber mass 11 and its periphery (the number of fibers per unit area) and the fibers. This can be done by checking the “boundary” between the main body 110 and the other parts, paying attention to the difference in the type and fiber diameter.
  • the main body 110 has a higher fiber density than the extending fiber portion 113 existing around the main body 110, and normally, synthetic fibers (typically thermoplastic fibers) that are constituent fibers of the main body 110 are water absorbent fibers 12F (typically).
  • the boundary can be easily confirmed.
  • the boundary thus confirmed is the peripheral edge (side) of the basic surface 111 or the skeleton surface 112, and the basic surface 111 and the skeleton surface 112 are specified by the boundary confirmation work, and by extension, the main body 110 is specified. To be done.
  • boundary confirmation work can be performed by using an electron microscope and observing the object (absorbent core 40) at a plurality of observation angles as necessary.
  • At least one extending fiber portion 113 exists around the main body portion 110 and extends outward from at least one of the basic surface 111 and the skeleton surface 112 that is the outer surface of the main body portion 110. It is composed of the constituent fibers 11F of the main body 110 extending to the. In the fiber mass 11 shown in FIG. 5, a plurality of constituent fibers 11F protrudes outward from the four sides 112a, 112b of the skeleton surface 112 having a rectangular shape in plan view. All parts are extended fiber parts 113.
  • the form of the extended fiber portion 113 is not particularly limited.
  • the extended fiber portion 113 may be composed of a single fiber 11F, or may be composed of a plurality of fibers 11F, such as an extended fiber bundle portion 113S described later.
  • the extending fiber portion 113 typically includes the lengthwise end portion of the fiber 11F extending from the main body portion 110, but in addition to such a fiber end portion, or instead of the fiber end portion, In some cases, the fiber 11F may include a portion other than both ends in the length direction (intermediate portion in the length direction).
  • both end portions in the length direction of the constituent fibers 11F are present in the main body portion 110, and the other portion, that is, the intermediate portion in the length direction extends outward from the main body portion 110 in a loop shape (
  • the extended fiber portion 113 in such a case is configured to include a loop-shaped protruding portion of the fiber 11F.
  • the one whose end is exposed becomes one type of fiber end.
  • One of the main roles of the extending fiber portion 113 is to entangle the plurality of fiber lumps 11 contained in the absorbent core 40 with each other, or the fiber lumps 11 and the water absorbent fibers 12F, as described above. ..
  • the extension length of the extended fiber portion 113 from the main body portion 110 is long, or the thickness of the extended fiber portion 113 is large, or the number of the extended fiber portions 113 included in one fiber lump 11 is large.
  • the connection between the objects entangled through the extended fiber portion 113 becomes stronger and the entanglement becomes difficult to be released, so that the predetermined effects of the present invention can be more stably exhibited. Become.
  • the extended fiber portions 113 are present in a relatively large amount on the skeletal surface 112 which is the cut surface.
  • the basic surface 111 which is a non-cut surface, does not exist at all, or even if it exists, the number thereof is smaller than that of the skeleton surface 112.
  • the reason why the extended fiber portions 113 are unevenly distributed on the skeleton surface 112 that is the cut surface is that most of the extended fiber portions 113 are “fluffs” generated by the cutting of the raw fiber sheet.
  • the interval L1a (interval in the first direction, see FIG. 4) and the interval L2a (interval in the second direction, see FIG. 4) between the cutting lines when the raw fiber sheet 10bs is cut are the above-mentioned formation promotion of the extended fiber portion 113, etc.
  • the fiber mass 11 includes, as a kind of the extended fiber portion 113, a main body portion 110, more specifically, an extended fiber bundle portion 113S including a plurality of fibers 11F extending outward from the skeletal surface 112. Those that have can be included. At least one of the extended fiber portions 113 included in the fiber mass 11 may be the extended fiber bundle portion 113S.
  • the extended fiber bundle portion 113S is configured by gathering a plurality of fibers 11F extending from the skeleton surface 112, and has an extension length from the main body portion 110 skeleton surface 112 as compared with the extended fiber portion 113. Is characterized by a long point.
  • the extended fiber bundle part 113S may exist on the basic surface 111, but typically, it exists on the skeleton surface 112 as shown in FIG. 5 and does not exist on the basic surface 111 at all, or if it exists, its The number is smaller than that of the skeletal surface 112. The reason is the same as the reason that the extending fiber portion 113 mainly exists in the skeleton surface 112 which is the cut surface, and is as described above.
  • the fiber mass 11 has the extended fiber bundle part 113S that should be called such a long and thick large-sized extended fiber part 113, the fiber masses 11 or the fiber masses 11 and the water-absorbing fibers 12F are separated from each other. The entanglement is further strengthened, and as a result, the predetermined effects of the present invention due to the presence of the fiber mass 11 are more stably exhibited.
  • the extended fiber bundle portion 113S is easily formed by cutting the raw fiber sheet 10bs (see FIG. 4) under the above-described fluff-prone condition.
  • the extension length of the extended fiber bundle portion 113S from the main body 110 is preferably 0.2 mm or more, more preferably 0.5 mm or more, and It is preferably 7 mm or less, more preferably 4 mm or less.
  • the extension length of the extension fiber bundle part 113S can be measured in the above-described work of identifying the outer shape of the fiber mass 11 (boundary confirmation work). Specifically, for example, with a Keyence microscope (50 times magnification), a double-sided tape manufactured by 3M Co., Ltd. was attached to the surface of a transparent sample stand made of acrylic resin, and the fiber mass 11 was placed and fixed on it.
  • the length of the extension in the fiber 11F extending from the outer shape is measured, and the measured extension is measured.
  • the length of the portion is the extension length of the extension fiber bundle portion 113S.
  • the plurality of constituent fibers 11F of the extended fiber bundle portion 113S are heat-sealed to each other.
  • the heat-sealed portion of the extended fiber bundle portion 113S is usually longer than the other portion (non-heat-sealed portion) of the extended fiber bundle portion 113S in the longitudinal direction of the extended fiber bundle portion 113S.
  • the crossover length in the direction orthogonal to (the diameter when the cross section of the heat-sealed portion is circular) is long. Since the extended fiber bundle portion 113S has such a heat-sealed portion that can be referred to as a large-diameter portion, the strength of the extended fiber bundle portion 113S itself is increased, whereby the extended fiber bundle portion 113S is interposed.
  • the fiber lumps 11 that are entangled with each other or the fiber lumps 11 and the water-absorbent fibers 12F are further entangled.
  • the extended fiber bundle portion 113S has a heat-sealed portion, not only when the extended fiber bundle portion 113S is in a dry state, but also when it is in a wet state by absorbing water, There is a merit that the strength and shape retention of the extended fiber bundle portion 113S itself are enhanced. Due to such merit, when the absorbent core 40 is applied to the napkin 1, not only when the absorbent core 40 is in a dry state, but also when the wearer excretes body fluids such as urine and menstrual blood excreted by the wearer.
  • Such an extended fiber bundle portion 113S having a heat-sealed portion is used as the raw material fiber sheet 10bs in the manufacturing process of the fiber mass 11 as shown in FIG. 4, that is, in the cutting process of the raw material fiber sheet 10bs of the fiber mass 11. It can be produced by using the above-mentioned "nonwoven fabric having heat-sealed portions of synthetic fibers".
  • the extended fiber bundle portion 113S has a heat fusion portion.
  • the extended fiber bundle portion 113S is formed. It is also possible to obtain a preferable form of
  • the water-absorbent fibers 12F used together with the fiber mass 11 may be water-absorbent fibers conventionally used as a material for forming an absorbent body of this type of absorbent article.
  • Natural fibers such as wood pulp such as pulp and hardwood pulp, non-wood pulp such as cotton pulp and hemp pulp; modified pulp such as cationized pulp and mercerized pulp; regenerated fiber such as cupra and rayon; semi-synthetic fiber such as acetate Hydrophilic hydrophilic fibers such as polyvinyl alcohol fibers and polyacrylonitrile fibers; fibers obtained by subjecting synthetic fibers such as polyethylene terephthalate fibers, polyethylene fibers, polypropylene fibers and polyester fibers to a hydrophilic treatment, and the like, one of which is used alone Or, two or more kinds can be mixed and used.
  • hydrophilic treatment of the synthetic fiber examples include kneading the hydrophilic agent into the synthetic fiber, adhering the hydrophilic agent to the surface of the synthetic fiber, and plasma treatment.
  • the hydrophilizing agent is not particularly limited as long as it is a general hydrophilizing agent used for hygiene products.
  • the water absorbent fibers 12F are particularly preferably natural fibers or regenerated fibers (cellulosic fibers). ..
  • the content mass ratio of the fiber mass 11 and the water absorbent fiber 12F is not particularly limited, and may be appropriately adjusted according to the types of the constituent fibers 11F and the water absorbent fiber 12F of the fiber mass 11. From the viewpoint of more reliably exhibiting the predetermined effect of the present invention, the content mass ratio of the fiber mass 11 and the water absorbent fiber 12F is preferably the former (fiber mass 11)/the latter (water absorbent fiber 12F). Is 20/80 to 80/20, more preferably 40/60 to 60/40.
  • the basis weight of the fiber mass 11 in the absorbent core 40 is preferably 32 g/m 2 or more, more preferably 80 g/m 2 or more, and preferably 640 g/m 2 or less, more preferably 480 g/m 2 or less. ..
  • the basis weight of the water absorbent fibers 12F in the absorbent core 40 is preferably 32 g/m 2 or more, more preferably 80 g/m 2 or more, and preferably 640 g/m 2 or less, more preferably 480 g/m 2 or less. is there.
  • the absorbent core 40 may contain a component other than the fiber lump 11 and the water absorbent fiber 12F, and a water absorbent polymer can be exemplified as the other component.
  • a water absorbent polymer a particulate one is generally used, but a fibrous one may be used.
  • a particulate water-absorbing polymer When a particulate water-absorbing polymer is used, its shape may be spherical, lumpy, bale-shaped or amorphous.
  • the average particle diameter of the water-absorbent polymer is preferably 10 ⁇ m or more, more preferably 100 ⁇ m or more, and preferably 1000 ⁇ m or less, more preferably 800 ⁇ m or less.
  • water-absorbent polymer generally, a polymer or copolymer of acrylic acid or an alkali metal acrylate can be used.
  • examples thereof include polyacrylic acid and salts thereof, and polymethacrylic acid and salts thereof, and specifically, acrylic acid polymers such as Aqualic CA and Aqualic CAW (both manufactured by Nippon Shokubai Co., Ltd.). Partial sodium salts may be mentioned.
  • the content of the water-absorbent polymer in the absorbent core 40 is preferably 5% by mass or more, more preferably 10% by mass or more, and preferably 60% by mass or less, based on the total mass of the absorbent core 40 in a dry state. , And more preferably 40% by mass or less.
  • the basis weight of the water-absorbent polymer in the absorbent core 40 is preferably 10 g/m 2 or more, more preferably 30 g/m 2 or more, and preferably 100 g/m 2 or less, more preferably 70 g/m 2 or less. ..
  • the "dry absorbent core” used herein means an absorbent core before absorbing body fluid.
  • the basis weight of the absorbent core 40 can be appropriately adjusted in consideration of the usage state of the absorbent article and the like, but is preferably 100 g/m 2 or more, more preferably 150 g/m 2 or more, and preferably 800 g. /M 2 or less, more preferably 750 g/m 2 or less.
  • the absorbent core 40 can be manufactured in the same manner as an absorbent body including this type of fiber material.
  • the fiber lump 11 is obtained by using a raw material fiber sheet (a sheet having the same composition as the fiber lump 11 and having a size larger than the fiber lump 11) as a raw material by using a cutting means such as a cutter.
  • a plurality of fiber masses 11 manufactured in this way can be manufactured by cutting in two directions intersecting (orthogonal to each other).
  • 110 is a rectangular parallelepiped shape.
  • the absorbent core 40 including the fiber mass 11 and the water-absorbent fibers 12F can be manufactured according to a conventional method using, for example, a known fiber stacking device equipped with a rotating drum.
  • Such a fiber stacking apparatus typically conveys a rotating drum having an accumulating recess formed on the outer peripheral surface thereof, and the raw material of the absorbent core 40 (fiber mass 11, water absorbent fiber 12F) to the accumulating recess.
  • the raw material carried by air) is stacked in the accumulating recess.
  • the fiber stack formed in the accumulating recess by the fiber stacking step is the absorbent core 40.
  • the absorbent core 40 in the absorbent core 40, the first region 7 in which the plurality of fiber lumps 11 are fused to each other and the first region 7 in which the plurality of fiber lumps 11 are entangled without being fused to each other 2 areas 8 and. Further, at least in the second region 8, the fiber mass 11 and the water absorbent fibers 12F are entangled with each other.
  • the first region 7 is formed by subjecting the absorbent main body 5 to squeezing from the skin-facing surface, that is, the surface sheet 2 side. 7 can also be called a "squeezed area". Then, in the first region 7, due to the fact that the first region 7 is formed by the pressing process, the topsheet 2, the core wrap sheet 41 and the absorbent core 40 are not A leak-proof groove 70 that is integrally recessed toward the skin facing surface side (rear sheet 3 side) is formed. The portion other than the first region 7 in the absorbent main body 5 (absorbent core 40), that is, the non-recessed portion (flat portion) where the leakproof groove 70 is not formed is the second region 8.
  • the first region 7 (leakage preventive groove 70) has an annular shape in a plan view as shown in FIG. 1, and second regions 8 are present inside and outside the annular first region 7, respectively.
  • the leak-proof groove 70 formed on the skin-facing surface of the napkin 1 has a function of inhibiting movement of body fluid such as menstrual blood in the surface direction.
  • the absorber 4 is sandwiched between the topsheet 2 and the backsheet 3, and the topsheet 2 and the absorber 4 are integrated to form the topsheet 2 side.
  • a pair of leak-proof grooves 70 having a concave (skin-facing surface side) are formed on both sides in the horizontal direction Y along the vertical direction X.
  • a pair of leak-proof grooves 70 extending in the lateral direction Y are formed on both sides in the vertical direction X on the skin-facing surface of the napkin 1.
  • the pair of left and right leak preventive grooves 70 and the pair of front and rear leak preventive grooves 70 are connected at their longitudinal ends to form a continuous annular leak preventive groove 70 in a plan view as shown in FIG. Region 7) is formed.
  • the squeezing process examples include known embossing processes such as embossing with heat and ultrasonic embossing.
  • the pressing process includes thermoplastic fibers as the constituent fibers 11F of the fiber mass 11 included in the absorbent core 40, and if the thermoplastic fibers can be melted under the condition that the thermoplastic fibers can be melted, the pressing process is performed in the first region 7. Due to this, the topsheet 2, the core wrap sheet 41, and the absorbent core 40 can be heat-fused and integrated.
  • the area corresponds to the backsheet 3 of the absorbent body 4, that is, the leakproof groove 70 on the non-skin facing surface side.
  • the non-skin surface side depression 71 is provided at a position, in other words, at a position that overlaps with the leak-proof groove 70 in a plan view.
  • the recess facing portion 72 which is a portion sandwiched between the leak-proof groove 70 and the non-skin surface side recess 71 in the absorber 4, is the first region 7.
  • the recess facing portion 72 is compressed in the thickness direction as compared with the peripheral portion, and is located on the inner side in the thickness direction from both the skin surface side and the non-skin surface side of the absorber 4. Since the absorbent article receives pressure from the skin surface side when used, the absorbent body 4 is easily compressed toward the non-skin surface side. At this time, in the above-described recess facing portion 72, the material forming the absorbent core 40 concentrated on the non-skin surface side of the absorbent body 4 is prevented from moving in the lateral direction Y by the side wall portion of the non-skin surface side recess 71. It becomes possible to do.
  • the forming material of the absorbent core 40 including the fiber mass 11 it becomes difficult for the forming material of the absorbent core 40 including the fiber mass 11 to move in the surface direction across the recessed facing portion 72.
  • two recess facing portions 72 are intermittently arranged in the lateral direction Y to form three second regions 8 in the lateral direction Y. Since the recess facing portion 72 (first region 7) is located between two adjacent second regions 8 and 8, the fiber mass 11 may move between the two second regions 8 and 8. It is difficult.
  • the absorbent body 4 is provided with the recess facing portion 72, the movement of the fiber mass 11 in the surface direction is limited, and the distribution of the fiber mass 11 is easily stabilized.
  • the effect of the fiber mass 11 is more stably exhibited. Further, in the case of the absorbent core 40A in which the fiber mass 11 is unevenly distributed on the non-skin facing surface side as shown in FIG. 6, the depression facing portion 72 has an effect of suppressing the movement of the fiber mass 11 in the lateral direction Y. It is valid.
  • the region (second region 8) other than the recess facing portion 72 is a fiber mass movable region in which the fiber mass 11 is relatively easy to move, and the action and effect peculiar to the fiber mass 11 described above (flexibility of the absorbent core 40). , The effect of improving the cushioning property and the compression recovery property) is easily exhibited.
  • the recess facing portion 72 (first region 7) is a fiber lump difficult movement region in which the fiber lump 11 is hard to move, and thus contributes to improvement in shape retention and shape stability of the absorbent core 40.
  • the absorbent core 40 having the recess facing portion 72 is less likely to lose its shape even when subjected to an external force such as a strong compressive force in the lateral direction Y applied by both thighs of the wearer of the napkin 1. In addition, it can be deformed with good responsiveness to an external force, and can be promptly restored if the external force is released. This effect is remarkable when the fiber lumps 11 are heat-sealed in the recess facing portion 72. Further, in the napkin 1, due to the fact that the recess facing portion 72 (first region 7) in the high-density region and the low-density region (second region 8) other than that relatively coexist in the surface direction.
  • the body fluid such as menstrual blood received at the excretion part facing portion in the vertical central region B is quickly spread in the surface direction. It can be diffused, whereby the absorbent performance of the absorbent core 40 can be effectively utilized, leading to an improvement in leakproofness.
  • the shape-preserving property of the leak-proof groove 70 is excellent, which is advantageous in improving the leak-proof property.
  • the plan view shape of the first region 7 is not limited to the linear shape as shown in FIG. 1, and may be a dot shape (dot shape) such as a circle, an ellipse, a rectangle, a triangle, a star, and a heart.
  • the first area 7 having a linear shape in a plan view may include a straight line and/or a curved line, and may have a continuous linear shape as shown in FIG. 1, or a broken line shape, that is, the first area 7 and the second area 8 alternate in one direction. It may be a pattern arranged in.
  • the absorbent core 40, but also the topsheet 2 and the core wrap sheet 41 are recessed and integrated by the squeezing process, but only the absorbent core 40. It may be pressed.
  • the region where the leakproof groove 70 is provided is provided, more specifically, the leakproof groove is provided.
  • the density of the fiber mass 11 is a region sandwiched by the pair of leakproof grooves 70, 70 (the lateral side of the absorbent body 4). It is preferably higher than the second region 8) located at the center in the direction Y.
  • the leak-proof groove 70 and the non-skin surface side recess 71 can be formed by a conventional pressing process.
  • the leakproof groove 70 and the non-skin surface side depression 71 may be formed at the same time or separately.
  • a napkin for clothing such as shorts on the surface of the back sheet 3 opposite to the absorber 4 side, that is, the non-skin-facing surface of the back sheet 3.
  • a fixing member 9 which is a fixing means for fixing 1 is provided.
  • a plurality of, specifically, two fixing members 9 are intermittently arranged in the lateral direction Y.
  • the fixing material 9 a material that can be detachably joined to clothes such as shorts in this type of absorbent article can be used without particular limitation.
  • the fixing material 9 is formed by applying an adhesive, and is covered with a release sheet (not shown) made of a film, a non-woven fabric, paper or the like before use.
  • the region of the absorbent body 4 including the fiber mass 11 overlaps with the fixing material 9 in a plan view as shown in FIG.
  • the absorbent body 4 absorbent core 40
  • the fixing material 9 is less likely to come off from the clothes in combination with the property of being easily deformed, and the wearing feeling can be improved.
  • the distribution of the fiber lumps 11 is not particularly limited, and the fiber lumps 11 may be uniformly dispersed in the entire absorbent core 40, or may be unevenly distributed.
  • the absorbent core 40A shown in FIG. 6 can be exemplified.
  • the absorbent core 40A has a laminated structure (two-layer structure) of a fiber mass layer 11P mainly composed of the fiber mass 11 and a water absorbent fiber layer 12P mainly composed of the water absorbent fibers 12F.
  • the fiber lump layer 11P is located on the non-skin-facing surface side of the absorbent core 40, that is, on the back sheet 3 side, and the water-absorbent fiber layer 12P is located on the skin-facing surface side of the absorbent core 40, that is, the top sheet 2 side. There is.
  • Such uneven distribution of the fiber mass 11 in the absorbent core 40A is compared with the total content mass of the water absorbent fibers 12F used in combination with the fiber mass 11 to “the total content mass of the fiber mass 11 and the water absorbent fibers 12F.
  • the fiber mass occupancy rate of the absorbent core 40A is in the thickness direction of the absorbent core 40 (absorbent body 4). That is, the back sheet side (non-skin facing surface side) is larger than the top sheet side (skin facing surface side).
  • the fiber lump occupancy is obtained by measuring the content of each of the fiber lumps 11 and the water-absorbent fibers 12F existing in the measurement target site by mass with respect to a predetermined measurement target site of the absorbent core 40 (absorbent body 4).
  • the normal absorbent core is mainly composed of water-absorbent fibers, and when absorbing body fluid in the area facing the excretion part, it tends to get rough compared to the front and rear areas where body fluid is not absorbed or the amount of absorption is small, Deflection due to this is likely to occur.
  • the size relation of "fiber occupancy rate on the surface sheet side ⁇ fiber occupancy rate on the back sheet side” is satisfied, and the back sheet of the absorbent core 40A is Since the fiber lump layer 11P on the side is a part that has excellent shape retention even when it is in a wet state by absorbing a liquid due to the presence of many fiber lumps 11 containing synthetic fibers, the absorbent core Even when 40A absorbs body fluid and becomes wet, twisting is prevented. Further, usually, at the interface between the fiber lump layer 11P and the water absorbent fiber layer 12P on the surface sheet side of the absorbent core 40A and in the vicinity thereof, the fiber lump 11 and the water absorbent fiber 12F are entangled with each other, and the above-mentioned magnitude relationship is satisfied. In combination with the effect of establishment, the shape retention of the absorbent core 40 in the wet state can be further improved.
  • the water-absorbent fiber layer 12P which is the surface sheet side of the absorbent core 40A, receives the body fluid excreted from the excretory part of the wearer of the napkin 1 first in the absorbent core 40A, and therefore has an excellent liquid drawing property, It is desirable that the body fluid be quickly absorbed in the absorbent core 40A. Further, among the components contained in the absorbent core 40A, the water-absorbent fibers 12F can contribute most to the improvement of the liquid drawing property, and the fiber lumps 11 do not contribute much to the improvement of the liquid drawing property.
  • the absorbent core 40A As described above with respect to the fiber lump occupancy rate, the size relation of "top sheet side ⁇ back sheet side" is established, and the fiber lump occupancy rate on the top sheet side is smaller than that on the back sheet side.
  • the absorptive core 40A is excellent in the liquid draw-in property, and the excreted body fluid can be drawn into the inside promptly to be absorbed and held.
  • the size relationship of “the fiber lump occupancy rate on the surface sheet side ⁇ the fiber lump occupancy rate on the back sheet side” is at least the absorbability. It is preferable to be established in the central vertical region B of the core 40A.
  • the fiber lump occupancy of each part of the absorbent core 40A is set as follows. Assuming that the fiber mass occupancy rate of the longitudinal center area B of the absorbent core 40A is higher than that of the other parts of the absorbent core 40 (front area A, rear area C), preferably 50% by mass or more, The content is more preferably 90% by mass or more, and 100% by mass, that is, the water absorbing fibers 12F may not be contained at all instead of containing the fiber lump 11.
  • the fiber mass occupancy of the water absorbent fiber layer 12P on the surface sheet side of the absorbent core 40A is lower than that of the fiber mass layer 11P on the back sheet side, preferably 50 mass% or less, more preferably Is 10% by mass or less, and 0% by mass, that is, the water absorptive fiber 12F may be contained but the fiber lump 11 may not be contained at all.
  • the difference between the fiber mass occupancy on the back sheet side (fiber mass layer 11P) and the surface sheet side (water-absorbent fiber layer 12P) of the absorbent core 40A is preferably the same when the latter is subtracted from the former.
  • the back surface sheet side fiber lump layer 11P contains only the fiber lumps 11
  • the surface sheet side water absorbent fiber layer 12P contains fiber lumps. 11 may not be contained at all.
  • the fiber mass occupancy rates of the front area A and the rear area C of the absorbent core 40A are typically the same as those of the surface sheet side (the water absorbent fiber layer 12P) of the longitudinal center area B of the absorbent core 40A. Is set to.
  • the present invention includes a mode in which the above-described fiber lump occupancy rate is larger on one side than on the other side in the thickness direction of the absorbent body (absorbent core). Therefore, conversely to the absorbent core 40A shown in FIG. 6, a mode in which a size relation of “fibre lump occupancy on the surface sheet side>fibre lump occupancy on the back sheet side” is satisfied is also included.
  • the present invention has been described above based on the embodiments, the present invention can be appropriately modified without being limited to the embodiments.
  • all of the fiber aggregates (synthetic fiber aggregates) contained in the absorbent core may not be the regular fiber aggregates such as the fiber aggregates 11, which deviates from the gist of the present invention. In the range not to be included, in addition to such a regular fiber aggregate, a very small amount of irregular fiber aggregate may be contained.
  • the absorbent article of the present invention broadly includes articles used for absorbing body fluids (urine, loose stool, menstrual blood, sweat, etc.) discharged from the human body, and in addition to the sanitary napkins described above, sanitary shorts and fastenings. It includes so-called deployable disposable diapers having tapes, pants-type disposable diapers, incontinence pads and the like.
  • An absorbent body comprising a water-absorbent fiber and a fiber mass that is an assembly of weakly water-absorbent fibers having a lower water-absorbency than the water-absorbent fiber, wherein the fiber masses are the same or the fiber masses and the water-absorbent property
  • the fibers are entangled with each other, the fiber mass has two opposing basic surfaces and a skeletal surface connecting the two basic surfaces, the compression strain rate is 66% or more, and the recovery work amount.
  • the fiber mass has two opposing basic surfaces and a skeletal surface connecting the two basic surfaces
  • the compression strain rate is 66% or more
  • the recovery work amount Of 235 mN ⁇ cm/cm 2 or more.
  • ⁇ 2> The absorption according to ⁇ 1>, wherein the ratio of the content mass of the fiber mass to the total content mass of the fiber mass and the water-absorbent fiber is one side larger than the other side in the thickness direction of the absorber. body.
  • ⁇ 3> The absorbent body according to ⁇ 1> or ⁇ 2>, wherein the fiber lump has a three-dimensional structure in which a plurality of thermoplastic fibers are heat-sealed to each other.
  • ⁇ 4> The absorbent body according to any one of ⁇ 1> to ⁇ 3>, wherein the area of the basic surface is 9 mm 2 or more and 60 mm 2 or less.
  • ⁇ 5> The absorber according to any one of ⁇ 1> to ⁇ 4>, wherein the aspect ratio of the basic surface is 1 or more and less than 2.
  • ⁇ 6> The above ⁇ 1> to ⁇ 5>, which has a first region in which the plurality of fiber masses are fused and a second region in which the plurality of fiber masses are entangled without being fused.
  • ⁇ 7> The absorbent body according to any one of ⁇ 1> to ⁇ 6>, wherein the packed bulk density of the fiber mass is 0.016 g/cm 3 or less.
  • ⁇ 8> The absorbent body according to any one of ⁇ 1> to ⁇ 7>, wherein the compression recovery rate of the fiber mass is 270% or more.
  • the fiber lump has a main body having a relatively high fiber density and an extended fiber section existing around the main body and having a lower fiber density than the main body.
  • the absorbent body according to any one of the above ⁇ 10> The absorber according to any one of ⁇ 1> to ⁇ 9>, wherein the basic surface has a quadrangular shape in a plan view. ⁇ 11> The absorbent body according to any one of ⁇ 1> to ⁇ 10>, wherein a content mass ratio of the fiber lump and the water-absorbent fiber is 20/80 to 80/20 as the former/the latter. ..
  • ⁇ 12> A liquid-permeable top sheet, a back sheet, and an absorber interposed between the two sheets, wherein the absorber is any one of ⁇ 1> to ⁇ 11> above.
  • the ratio of the content mass of the fiber mass to the total content mass of the fiber mass and the water-absorbent fiber is larger on the backsheet side than on the topsheet side in the thickness direction of the absorbent body,
  • ⁇ 14> On the surface of the back sheet opposite to the absorber side, fixing means for fixing to the clothing is provided, and a region including the fiber mass in the absorber is seen in a plan view.
  • the absorbent article according to ⁇ 12> or ⁇ 13> which overlaps with the fixing means.
  • the absorbent article has a longitudinal direction corresponding to the front-back direction of the wearer and a lateral direction orthogonal to the longitudinal direction, and the topsheet and the absorber are integrated to form the topsheet side.
  • ⁇ 16> The absorbent article according to ⁇ 15>, wherein a density of the fiber mass is higher in a region where the leakproof groove is provided than in a region sandwiched by a pair of leakproof grooves.
  • a non-skin surface-side recess is provided at a position corresponding to the leak-proof groove on the back sheet side of the absorber, and the absorber is formed between the leak-proof groove and the non-skin-side recess.
  • ⁇ 19> On the skin-facing surface (skin-facing surface of the absorbent main body) side of the surface sheet, a pair of side sheets is arranged so as to overlap with both side portions of the absorbent body along the longitudinal direction in a plan view.
  • ⁇ 20> The absorbent article according to any one of ⁇ 12> to ⁇ 19>, wherein the absorbent article is a sanitary napkin.
  • the absorbent core 40A shown in FIG. 6 was manufactured and used as the absorbent body sample of each example. Specifically, the fiber core 11, the water-absorbent fibers 12F, and the particulate water-absorbent polymer were used as the material for forming the absorbent core 40A, and the absorbent core 40A was manufactured by a known method using a known fiber stacking device. Softwood bleached kraft pulp (NBKP) was used as the water absorbent fibers 12F, and acrylic acid polymer partial sodium salt was used as the water absorbent polymer. As shown in FIG.
  • NNKP Softwood bleached kraft pulp
  • the absorbent core 40A has a laminated structure (a two-layer structure) of a fiber lump layer 11P mainly composed of fiber lumps 11 (fibers 11F) and a water absorbent fiber layer 12P mainly composed of water absorbent fibers 12F. Structure), the water-absorbent fiber layer 12P is on the skin-facing surface side (the side relatively close to the user's skin when the absorbent core is used), and the fiber mass layer 11P is on the non-skin-facing surface side (of the absorbent core). Located on the side relatively far from the user's skin during use).
  • the fiber lump layer 11P includes the fiber lump 11 and a water-absorbent polymer.
  • the water absorbent fiber layer 12P is composed of the water absorbent fiber 12F and the water absorbent polymer.
  • the basis weight of the fiber aggregate 11 in the fiber aggregate layer 11P was 175 g/m 2
  • the basis weight of the water absorbent fibers 12F in the water absorbent fiber layer 12P was 175 g/m 2 .
  • the absorbent core 40A contains 50 g/m 2 of the water-absorbent polymer, and 90% by mass or more of the water-absorbent polymer is contained in the water-absorbent fiber layer 12P.
  • the fiber lump layer 11P At the interface between the fiber lump layer 11P and the water absorbent fiber layer 12P, entanglement between the fiber lump 11 and the water absorbent fiber 12F exists, but the fiber lump layer 11P absorbs water only at the interface and in the vicinity thereof.
  • the fiber 12F is not included, and the water absorbent fiber layer 12P does not include the fiber lump 11.
  • the fiber lump 11 used for the absorbent core 40A was manufactured by cutting the raw material fiber sheet into folds as shown in FIG.
  • a raw material fiber sheet a non-water-absorbing thermoplastic fiber composed of polyethylene resin fiber and polyethylene terephthalate resin fiber (non-water-absorbing fiber, fiber diameter 18 ⁇ m) is used as a constituent fiber, and the basis weight is 21 g/m 2 and the thickness is 0.6 mm.
  • the air-through non-woven fabric fiber sheet having a heat-sealed portion of constituent fibers was used.
  • the fiber lumps (fixed-shaped synthetic fiber aggregates) used in each of the examples and the reference examples have different main body outer shapes, and have a rectangular parallelepiped shape such as the fiber lump 11A shown in FIG.
  • the basic surface and the skeleton surface of the fiber mass used in each of the examples and the reference examples are both quadrangular in plan view.
  • the number of fiber ends on the basic surface per unit area was 3.2 pieces/mm 2
  • the number of fiber ends on the skeletal surface per unit area was 19.2.
  • the number of pieces/mm 2 was a large number of the above-mentioned extended fiber portions as compared with the basic surface.
  • the “basic surface” is a non-cut surface when the raw fiber sheet is cut to produce a fiber lump, and the area of the fiber lump is the maximum.
  • the “skeleton surface” is a cut surface when the raw material fiber sheet is cut to produce a fiber lump.
  • Comparative Example 1 A commercially available absorber (manufactured by Unicharm Co., Ltd., trade name “Tanom Pew Slim 23 cm”) was used as it was as Comparative Example 1.
  • the absorbent body of Comparative Example 1 is a mixture of synthetic fibers and cellulosic fibers (water-absorbent fibers), and does not contain fiber lumps.
  • the absorbent body of each of the examples and the reference examples respectively has two basic planes and a skeleton plane intersecting the two basic planes in addition to the water-absorbent fiber and the water-absorbent polymer.
  • the absorbent body (absorbent core) is It can be seen that the compression strain rate, which is an index of flexibility, is high, and the recovery work amount, which is an index of compression recovery of the absorbent body (absorbent core), is large, and the flexibility and compression recovery are excellent.
  • Example 1 to 9 the compressive strain rate is 66% or more, and the recovery work is 235 mN ⁇ cm/cm 2 or more, while Reference Examples 1 and 2 result in less than such a numerical range and are flexible. The results are inferior to those of Examples 1 to 9 in terms of properties and compression recovery. It is presumed that the reason is that the fiber lumps used in Reference Examples 1 and 2 have a relatively small area on the basic surface, and the aspect ratio of the basic surface is relatively far from 1.
  • FIGS. 7 and 8 the “area of the basic surface of the fiber mass contained in the absorber” is taken as the horizontal axis, and the “compressive strain rate of the absorber ( ⁇ T/T 0 )” or “the recovery work of the absorber ( WC′)” is taken as the vertical axis, and graphs prepared by plotting some numerical values of the examples and reference examples shown in Tables 1 and 2 are shown.
  • the numerical value in parentheses shown on the right side of each Example and Reference Example indicates the aspect ratio of the basic surface of the fiber mass contained in the absorbent body.
  • the aspect ratios of the basic surfaces of the fiber mass are the same as each other (all are 6.25), the larger the area of the basic surface of the fiber mass is, the larger the numerical value of the compressive strain rate is, The amount of recovery work is increasing. Therefore, in order to obtain the predetermined effect of the present invention, it is effective to increase the area of the basic surface when the aspect ratio of the basic surface of the fiber mass is a constant value. .. Further, as shown in FIG. 8, with respect to both the compression strain rate and the recovery work amount, the aspect ratio of the basic surface of the fiber mass of 1 or 1.56 is more than that of the aspect ratio of 6.25. The numbers are increasing.
  • the predetermined effect of the present invention it is effective to reduce the aspect ratio of the basic surface of the fiber mass, or to bring it close to 1, and the planar shape of the basic surface is square or It can be seen that an isotropic shape conforming to that is effective. From the above results, in order to obtain the predetermined effect of the present invention, as the fiber mass included in the absorber, the area of the basic surface is relatively large and the aspect ratio of the basic surface is relatively small ( It can be said that it is preferable to use one (close to 1).
  • the absorbent body of the present invention has excellent flexibility and compression recovery properties not only in a dry state but also in a wet state in which a liquid is absorbed, and when applied to an absorbent article, it can improve the wearing feeling. Moreover, since the absorbent article of the present invention is equipped with such a high-quality absorbent body, it has good cushioning and fitting properties and is excellent in wearing comfort.

Landscapes

  • Health & Medical Sciences (AREA)
  • Epidemiology (AREA)
  • Engineering & Computer Science (AREA)
  • Biomedical Technology (AREA)
  • Heart & Thoracic Surgery (AREA)
  • Vascular Medicine (AREA)
  • Life Sciences & Earth Sciences (AREA)
  • Animal Behavior & Ethology (AREA)
  • General Health & Medical Sciences (AREA)
  • Public Health (AREA)
  • Veterinary Medicine (AREA)
  • Absorbent Articles And Supports Therefor (AREA)
PCT/JP2019/048617 2018-12-13 2019-12-12 吸収体及び吸収性物品 Ceased WO2020122160A1 (ja)

Priority Applications (1)

Application Number Priority Date Filing Date Title
CN201980061925.8A CN112752557B (zh) 2018-12-13 2019-12-12 吸收体和吸收性物品

Applications Claiming Priority (2)

Application Number Priority Date Filing Date Title
JP2018233089A JP6824948B2 (ja) 2018-12-13 2018-12-13 吸収体及び吸収性物品
JP2018-233089 2018-12-13

Publications (1)

Publication Number Publication Date
WO2020122160A1 true WO2020122160A1 (ja) 2020-06-18

Family

ID=71077336

Family Applications (1)

Application Number Title Priority Date Filing Date
PCT/JP2019/048617 Ceased WO2020122160A1 (ja) 2018-12-13 2019-12-12 吸収体及び吸収性物品

Country Status (4)

Country Link
JP (1) JP6824948B2 (enExample)
CN (1) CN112752557B (enExample)
TW (1) TWI828820B (enExample)
WO (1) WO2020122160A1 (enExample)

Cited By (1)

* Cited by examiner, † Cited by third party
Publication number Priority date Publication date Assignee Title
JP2023028086A (ja) * 2021-08-18 2023-03-03 花王株式会社 吸収性物品

Citations (7)

* Cited by examiner, † Cited by third party
Publication number Priority date Publication date Assignee Title
JP2002301105A (ja) * 2001-04-06 2002-10-15 Uni Charm Corp 吸収性物品、吸収性物品用吸収体及びその製造方法
JP2003039585A (ja) * 2001-05-24 2003-02-13 Uni Charm Corp 積層シート
JP2005237952A (ja) * 2004-01-27 2005-09-08 Kao Corp 吸収性物品
JP2012075629A (ja) * 2010-09-30 2012-04-19 Unicharm Corp 吸収性物品
JP2017099563A (ja) * 2015-11-30 2017-06-08 花王株式会社 吸収性物品
JP2017119024A (ja) * 2015-12-28 2017-07-06 ユニ・チャーム株式会社 吸収性物品の外装シート用の不織布、並びに当該不織布を外装シートとして含む吸収性物品
WO2018123016A1 (ja) * 2016-12-28 2018-07-05 ユニ・チャーム株式会社 吸収性物品

Family Cites Families (9)

* Cited by examiner, † Cited by third party
Publication number Priority date Publication date Assignee Title
JP2003245304A (ja) * 2002-02-25 2003-09-02 Toray Ind Inc おむつ
EP1862156B1 (en) * 2005-03-23 2013-01-02 Kao Corporation Absorbent articles
TWI391129B (zh) * 2005-12-27 2013-04-01 Kao Corp Absorbent items
JP5123513B2 (ja) * 2006-06-23 2013-01-23 ユニ・チャーム株式会社 吸収体
JP5417133B2 (ja) * 2009-06-17 2014-02-12 花王株式会社 吸収性物品
SG11201405418WA (en) * 2012-03-30 2014-11-27 Unicharm Corp Absorbent and absorbent article provided therewith
JP6184721B2 (ja) * 2012-09-28 2017-08-23 ユニ・チャーム株式会社 吸収性物品
JP2014094200A (ja) * 2012-11-12 2014-05-22 Kao Corp 吸収性物品
CN108289766B (zh) * 2015-11-30 2020-10-27 花王株式会社 吸收性物品

Patent Citations (7)

* Cited by examiner, † Cited by third party
Publication number Priority date Publication date Assignee Title
JP2002301105A (ja) * 2001-04-06 2002-10-15 Uni Charm Corp 吸収性物品、吸収性物品用吸収体及びその製造方法
JP2003039585A (ja) * 2001-05-24 2003-02-13 Uni Charm Corp 積層シート
JP2005237952A (ja) * 2004-01-27 2005-09-08 Kao Corp 吸収性物品
JP2012075629A (ja) * 2010-09-30 2012-04-19 Unicharm Corp 吸収性物品
JP2017099563A (ja) * 2015-11-30 2017-06-08 花王株式会社 吸収性物品
JP2017119024A (ja) * 2015-12-28 2017-07-06 ユニ・チャーム株式会社 吸収性物品の外装シート用の不織布、並びに当該不織布を外装シートとして含む吸収性物品
WO2018123016A1 (ja) * 2016-12-28 2018-07-05 ユニ・チャーム株式会社 吸収性物品

Cited By (2)

* Cited by examiner, † Cited by third party
Publication number Priority date Publication date Assignee Title
JP2023028086A (ja) * 2021-08-18 2023-03-03 花王株式会社 吸収性物品
JP7633120B2 (ja) 2021-08-18 2025-02-19 花王株式会社 吸収性物品

Also Published As

Publication number Publication date
CN112752557B (zh) 2022-06-10
JP2020092857A (ja) 2020-06-18
JP6824948B2 (ja) 2021-02-03
CN112752557A (zh) 2021-05-04
TW202031218A (zh) 2020-09-01
TWI828820B (zh) 2024-01-11

Similar Documents

Publication Publication Date Title
JP7260396B2 (ja) 吸収性物品
JP7253977B2 (ja) 吸収性物品
JP7202167B2 (ja) 吸収体及び吸収性物品
JP6994368B2 (ja) 吸収性物品
CN111093583B (zh) 吸收体和吸收性物品
JP7058112B2 (ja) 吸収体及び吸収性物品
JP6763051B2 (ja) 吸収性物品
JP6824948B2 (ja) 吸収体及び吸収性物品
CN111163738B (zh) 吸收性物品
JP6538948B2 (ja) 吸収体及び吸収性物品
JP7014577B2 (ja) 吸収体及び吸収性物品
JP6990095B2 (ja) 吸収体及び吸収性物品
JP2020188918A (ja) 吸収性物品
JP3229946U (ja) 吸収性物品
JP2020188919A (ja) 吸収性物品
JP7257219B2 (ja) 吸収性物品
JP7257220B2 (ja) 吸収性物品
JP7045836B2 (ja) 吸収性物品
JP6523412B1 (ja) 吸収体及び吸収性物品
JP2019063373A (ja) 吸収性物品
WO2020122161A1 (ja) 吸収性物品
JP2022054307A (ja) 吸収性物品

Legal Events

Date Code Title Description
121 Ep: the epo has been informed by wipo that ep was designated in this application

Ref document number: 19895632

Country of ref document: EP

Kind code of ref document: A1

NENP Non-entry into the national phase

Ref country code: DE

122 Ep: pct application non-entry in european phase

Ref document number: 19895632

Country of ref document: EP

Kind code of ref document: A1