WO2020121727A1 - ゲート駆動回路 - Google Patents

ゲート駆動回路 Download PDF

Info

Publication number
WO2020121727A1
WO2020121727A1 PCT/JP2019/044705 JP2019044705W WO2020121727A1 WO 2020121727 A1 WO2020121727 A1 WO 2020121727A1 JP 2019044705 W JP2019044705 W JP 2019044705W WO 2020121727 A1 WO2020121727 A1 WO 2020121727A1
Authority
WO
WIPO (PCT)
Prior art keywords
gate
voltage
drive circuit
gate drive
constant
Prior art date
Legal status (The legal status is an assumption and is not a legal conclusion. Google has not performed a legal analysis and makes no representation as to the accuracy of the status listed.)
Ceased
Application number
PCT/JP2019/044705
Other languages
English (en)
French (fr)
Japanese (ja)
Inventor
一輝 山内
康隆 千田
Current Assignee (The listed assignees may be inaccurate. Google has not performed a legal analysis and makes no representation or warranty as to the accuracy of the list.)
Denso Corp
Original Assignee
Denso Corp
Priority date (The priority date is an assumption and is not a legal conclusion. Google has not performed a legal analysis and makes no representation as to the accuracy of the date listed.)
Filing date
Publication date
Application filed by Denso Corp filed Critical Denso Corp
Publication of WO2020121727A1 publication Critical patent/WO2020121727A1/ja
Priority to US17/336,980 priority Critical patent/US11368147B2/en
Anticipated expiration legal-status Critical
Ceased legal-status Critical Current

Links

Images

Classifications

    • HELECTRICITY
    • H03ELECTRONIC CIRCUITRY
    • H03KPULSE TECHNIQUE
    • H03K17/00Electronic switching or gating, i.e. not by contact-making and –breaking
    • H03K17/08Modifications for protecting switching circuit against overcurrent or overvoltage
    • H03K17/081Modifications for protecting switching circuit against overcurrent or overvoltage without feedback from the output circuit to the control circuit
    • H03K17/0812Modifications for protecting switching circuit against overcurrent or overvoltage without feedback from the output circuit to the control circuit by measures taken in the control circuit
    • H03K17/08126Modifications for protecting switching circuit against overcurrent or overvoltage without feedback from the output circuit to the control circuit by measures taken in the control circuit in bipolar transitor switches
    • HELECTRICITY
    • H03ELECTRONIC CIRCUITRY
    • H03KPULSE TECHNIQUE
    • H03K17/00Electronic switching or gating, i.e. not by contact-making and –breaking
    • H03K17/06Modifications for ensuring a fully conducting state
    • HELECTRICITY
    • H02GENERATION; CONVERSION OR DISTRIBUTION OF ELECTRIC POWER
    • H02MAPPARATUS FOR CONVERSION BETWEEN AC AND AC, BETWEEN AC AND DC, OR BETWEEN DC AND DC, AND FOR USE WITH MAINS OR SIMILAR POWER SUPPLY SYSTEMS; CONVERSION OF DC OR AC INPUT POWER INTO SURGE OUTPUT POWER; CONTROL OR REGULATION THEREOF
    • H02M1/00Details of apparatus for conversion
    • H02M1/08Circuits specially adapted for the generation of control voltages for semiconductor devices incorporated in static converters
    • HELECTRICITY
    • H02GENERATION; CONVERSION OR DISTRIBUTION OF ELECTRIC POWER
    • H02MAPPARATUS FOR CONVERSION BETWEEN AC AND AC, BETWEEN AC AND DC, OR BETWEEN DC AND DC, AND FOR USE WITH MAINS OR SIMILAR POWER SUPPLY SYSTEMS; CONVERSION OF DC OR AC INPUT POWER INTO SURGE OUTPUT POWER; CONTROL OR REGULATION THEREOF
    • H02M1/00Details of apparatus for conversion
    • H02M1/08Circuits specially adapted for the generation of control voltages for semiconductor devices incorporated in static converters
    • H02M1/084Circuits specially adapted for the generation of control voltages for semiconductor devices incorporated in static converters using a control circuit common to several phases of a multi-phase system
    • HELECTRICITY
    • H03ELECTRONIC CIRCUITRY
    • H03KPULSE TECHNIQUE
    • H03K17/00Electronic switching or gating, i.e. not by contact-making and –breaking
    • H03K17/08Modifications for protecting switching circuit against overcurrent or overvoltage
    • H03K17/081Modifications for protecting switching circuit against overcurrent or overvoltage without feedback from the output circuit to the control circuit
    • H03K17/0812Modifications for protecting switching circuit against overcurrent or overvoltage without feedback from the output circuit to the control circuit by measures taken in the control circuit
    • H03K17/08122Modifications for protecting switching circuit against overcurrent or overvoltage without feedback from the output circuit to the control circuit by measures taken in the control circuit in field-effect transistor switches
    • HELECTRICITY
    • H03ELECTRONIC CIRCUITRY
    • H03KPULSE TECHNIQUE
    • H03K17/00Electronic switching or gating, i.e. not by contact-making and –breaking
    • H03K17/08Modifications for protecting switching circuit against overcurrent or overvoltage
    • H03K17/081Modifications for protecting switching circuit against overcurrent or overvoltage without feedback from the output circuit to the control circuit
    • H03K17/0812Modifications for protecting switching circuit against overcurrent or overvoltage without feedback from the output circuit to the control circuit by measures taken in the control circuit
    • H03K17/08128Modifications for protecting switching circuit against overcurrent or overvoltage without feedback from the output circuit to the control circuit by measures taken in the control circuit in composite switches
    • HELECTRICITY
    • H02GENERATION; CONVERSION OR DISTRIBUTION OF ELECTRIC POWER
    • H02MAPPARATUS FOR CONVERSION BETWEEN AC AND AC, BETWEEN AC AND DC, OR BETWEEN DC AND DC, AND FOR USE WITH MAINS OR SIMILAR POWER SUPPLY SYSTEMS; CONVERSION OF DC OR AC INPUT POWER INTO SURGE OUTPUT POWER; CONTROL OR REGULATION THEREOF
    • H02M7/00Conversion of AC power input into DC power output; Conversion of DC power input into AC power output
    • H02M7/42Conversion of DC power input into AC power output without possibility of reversal
    • H02M7/44Conversion of DC power input into AC power output without possibility of reversal by static converters
    • H02M7/48Conversion of DC power input into AC power output without possibility of reversal by static converters using discharge tubes with control electrode or semiconductor devices with control electrode
    • H02M7/53Conversion of DC power input into AC power output without possibility of reversal by static converters using discharge tubes with control electrode or semiconductor devices with control electrode using devices of a triode or transistor type requiring continuous application of a control signal
    • H02M7/537Conversion of DC power input into AC power output without possibility of reversal by static converters using discharge tubes with control electrode or semiconductor devices with control electrode using devices of a triode or transistor type requiring continuous application of a control signal using semiconductor devices only, e.g. single switched pulse inverters
    • H02M7/5387Conversion of DC power input into AC power output without possibility of reversal by static converters using discharge tubes with control electrode or semiconductor devices with control electrode using devices of a triode or transistor type requiring continuous application of a control signal using semiconductor devices only, e.g. single switched pulse inverters in a bridge configuration

Definitions

  • the present disclosure relates to a gate drive circuit.
  • a gate drive type switching element such as an IGBT (Insulated Gate Bipolar Transistor) or power MOSFET
  • IGBT Insulated Gate Bipolar Transistor
  • MOSFET power MOSFET
  • an overcurrent flows due to a short circuit, etc.
  • the switching element itself will suddenly rise in temperature. May lead to destruction.
  • the short-circuit energy generated when an overcurrent flows due to a short circuit of the switching element increases, for example, in an IGBT, as the gate voltage generated between the gate and the emitter is higher. Therefore, in the gate drive circuit that drives the switching element, it is required to control the gate voltage at the time of on-driving for the purpose of reducing short circuit energy and preventing destruction.
  • the constant voltage control type can perform switching-on drive while controlling the gate voltage to be constant only by the constant voltage control circuit. Therefore, the constant voltage control type has a merit that the number of elements can be reduced as compared with the constant current driving type and thus the cost can be suppressed, but there is a problem that the switching loss is large.
  • the constant current control type has an advantage that the switching loss is smaller than the constant voltage drive type, but a power supply circuit needs to be provided upstream, and generally a plurality of output power elements are connected in series. Since it is necessary, there is a problem that the cost becomes high.
  • the present disclosure has an object to provide a gate drive circuit having two control functions of a constant voltage and a constant current, a low cost configuration without adding an output element of a drive unit.
  • a constant current drive circuit for controlling the element and a constant voltage drive circuit for controlling the output element so as to apply the gate drive signal to the gate of the gate drive type switching element at a constant voltage are provided.
  • a gate drive signal is applied to the gate of the gate drive type switching element by the output element, and the constant current drive circuit controls the gate drive signal so that it is supplied with a constant current.
  • the drive circuit controls so that the gate drive signal is given as a constant voltage.
  • the gate drive type switching element is controlled so as to maintain the constant voltage when the gate voltage rises at a constant rate of voltage rise due to the constant current and then reaches a predetermined gate voltage.
  • both the constant current control and the constant voltage control can be performed via one output element, and the cost can be reduced.
  • FIG. 1 is an electrical configuration diagram showing the first embodiment
  • FIG. 2 is an overall electrical configuration diagram of the application device showing the first embodiment
  • FIG. 3 is a time chart showing the first embodiment
  • FIG. 4 is an electrical configuration diagram showing the second embodiment
  • FIG. 5 is an electrical configuration diagram showing the third embodiment
  • FIG. 6 is an electrical configuration diagram showing the fourth embodiment
  • FIG. 7 is an electrical configuration diagram showing the fifth embodiment
  • FIG. 8 is a first electrical configuration diagram showing the sixth embodiment
  • FIG. 9 is a second electrical configuration diagram showing the sixth embodiment
  • FIG. 10 is a first electrical configuration diagram showing the seventh embodiment
  • FIG. 11 is a second electrical configuration diagram showing the seventh embodiment.
  • a gate drive circuit 10 drives an IGBT 1 as a gate drive type switching element.
  • the gate drive circuit 10 is supplied with power from the DC power supply VD through the shunt resistor 2 for current detection to the input terminal A, and drives the gate to the output terminal B via the source-drain of the P-channel MOSFET 3 as an output element. Output a signal.
  • the output terminal B is connected to the gate of the IGBT 1 via the gate resistor 4.
  • the gate drive circuit 10 includes a constant current drive circuit 20 and a constant voltage drive circuit 30.
  • the constant current drive circuit 20 has a first differential amplifier 21 and a first reference power supply 22.
  • the input voltage Vin is input from the DC power supply VD from the input terminal A via the shunt resistor 2 to the inverting input terminal of the first differential amplifier 21, and the non-inverting input terminal is input from the DC power supply VD via the first reference power supply 22.
  • the first reference voltage Vref1 is input.
  • the constant voltage drive circuit 30 includes a three-input type second differential amplifier 31, a second reference power source 32, and voltage dividing resistors 33 and 34.
  • the voltage dividing resistors 33 and 34 form a voltage dividing circuit by being connected in series, and are connected between the output terminal B and the ground.
  • the common connection point P of the voltage dividing resistors 33 and 34 outputs a voltage obtained by dividing the output voltage Vout of the output terminal B.
  • the second reference voltage Vref2 of the second reference power supply 32 is input to the inverting input terminal of the second differential amplifier 31, and the output signal of the first differential amplifier 21 is input to the first non-inverting input terminal of the second differential amplifier 31.
  • the divided voltage of the output voltage Vout is input to the non-inverting input terminal via the voltage dividing resistor 33.
  • the second differential amplifier 31 calculates the difference between the second reference voltage Vref2 input to the inverting input terminal and the smaller value of the first and second non-inverting input terminals to obtain the difference value.
  • the corresponding signal is output. That is, the second differential amplifier 31 corresponds to the difference between the output voltage of the first differential amplifier 21 and the divided voltage of the output voltage Vout, whichever is smaller, with the second reference voltage Vref2.
  • the voltage is output to the gate of MOSFET3.
  • the above configuration is a configuration for driving the IGBT 1 on, but the gate drive circuit 10 also includes a circuit configuration for off driving.
  • an N-channel type MOSFET is connected between the gate of the IGBT 1 and the ground, is turned on after the MOSFET 3 is turned off, and is configured to discharge the gate charge of the IGBT 1 to turn it off.
  • the gate drive circuit 10 having the above-described configuration applies a gate voltage to the IGBT 1 to be turned on when a high-level on-gate drive signal Sg is externally applied. Similarly, when the low-level gate drive signal Sg for instructing to turn off is applied, the gate drive circuit 10 stops applying the gate voltage to the IGBT 1 and discharges the gate charge to turn off the gate charge.
  • FIG. 1 is a configuration including a motor generator 100 having both functions of a motor and a generator and a power conversion device 200.
  • the motor generator 100 is used in an electric vehicle or the like.
  • the power conversion device 200 has a function of generating a three-phase alternating current from the battery 40 to drive the motor/generator 100 to rotate, and a function of converting a power output of the motor/generator 100 into a direct current and charging the battery 40.
  • the power conversion device 200 includes a DC power supply unit 201 and a three-phase inverter unit 202.
  • a capacitor 41 is connected in parallel to the battery 40, which is a DC power supply.
  • High voltage DC power is generated by energizing the booster coil 42 from the battery 40 by on/off control of the switching elements 43 and 44 to generate high voltage and charging the capacitor 45 connected to the output stage.
  • the three-phase inverter unit 202 includes six IGBTs 1a to 1f and forms a three-phase inverter circuit. The outputs of the three-phase arms are connected to the three terminals of the motor generator 100.
  • the six IGBTs 1a to 1f are drive-controlled by being supplied with gate voltages by similarly configured drive circuits 10a to 10f.
  • Each of the drive circuits 10a to 10f has the same configuration as the gate drive circuit 10 shown in FIG.
  • the DC power supply unit 201 when rotating the motor generator 100, controls the IGBTs 43 and 44 to be turned on and off, thereby boosting the terminal voltage of the battery 40 by the boosting coil 42 and causing the capacitor 45 to reach the capacitor 45.
  • the capacitors 45 are used as a DC power source to drive the IGBTs 1a to 1f on and off by the drive circuits 10a to 10f, respectively, to generate a three-phase alternating current and supply power to the motor generator 100.
  • the motor generator 100 functions as a generator
  • three-phase alternating current generated by rotation is converted into direct current through the three-phase inverter circuit 202 and the capacitor 45 is charged.
  • the electric charge of the capacitor 45 charges the battery 40 with the DC voltage reduced via the boosting coil 42 by turning on and off the IGBTs 43 and 44 in the DC power supply unit 201.
  • the motor generator 100 is rotationally driven by supplying power to the battery 40 with the power converter 200 in a three-phase alternating current, and in the case of regenerating electric power as a generator, the power converter 200 performs DC conversion and step-down. Then, it can be returned to the battery 40.
  • the gate drive circuit 10 starts operating at time t1 when a high-level gate drive signal Sg for instructing to turn on is externally applied at time t0.
  • the input voltage Vin is applied to the input terminal A from the DC power supply VD via the shunt resistor 2.
  • the first differential amplifier 21 turns on the MOSFET 3 because a voltage higher than the voltage set by the reference voltage Vref1 is applied to the inverting input terminal.
  • a voltage drop occurs due to the current Ig flowing from the DC power supply VD to the shunt resistor 2, and the input voltage Vin becomes lower than the terminal voltage of the DC power supply VD.
  • the input voltage Vin becomes a voltage lowered by the voltage obtained by the product of the current Ig flowing from the DC power supply VD to the shunt resistor 2, if the resistance value of the shunt resistor 2 is Rs, the input voltage Vin will be The voltage drops from the voltage of VD by “Rs ⁇ Ig”, which is the voltage drop at the shunt resistor 2.
  • the first differential amplifier 21 outputs a signal according to the difference between the input voltage Vin and the voltage set by the first reference voltage Vref1.
  • the output of the first differential amplifier 21 is controlled so that a predetermined gate current Ig set by the first reference voltage Vref1 flows through the shunt resistor 2.
  • the output signal of the first differential amplifier 21 is input to the second differential amplifier 31 of the constant voltage drive circuit 30.
  • the output voltage Vout of the output terminal B is controlled to be the predetermined gate voltage Vg set by the second reference voltage Vref2. In this case, when the output voltage Vout of the output terminal B has not reached the predetermined gate voltage Vg, the voltage applied to the second non-inverting input terminal is low, so that the MOSFET 3 is fully turned on as shown in FIG. Try to.
  • the second differential amplifier 31 since the value corresponding to the difference between the output signal from the first differential amplifier 21 and the second reference voltage Vref2 is smaller, as shown in FIG.
  • the output signal from the first differential amplifier 21 becomes a dominant control element, and as a result, a gate signal for flowing a constant current is output to the gate of the MOSFET 3 in a controlled state.
  • the MOSFET 3 is controlled so that the gate current Ig flows at a constant current as shown in FIG. 3C, and is output from the output terminal B to the gate of the IGBT 1.
  • the constant current Ig flows through the gate and the gate capacitance is charged with the constant current, so that the gate voltage Vg rises at a constant voltage change rate, as shown in FIG. 3B.
  • the gate voltage Vg is fixed to the mirror voltage Vmr until the time t2 when the mirror period ends.
  • the period T1 from time t0 to t2 is a constant current drive period in which the control by the constant current drive circuit 20 is performed.
  • the gate voltage Vg of the IGBT1 rises again at a constant voltage change rate.
  • the gate current Ig of the MOSFET 3 decreases and the gate voltage Vg reaches the predetermined level at time t3.
  • the period T2 from the time t2 to the time t3 is a constant current-constant voltage transition period in which the control state of constant current drive shifts to the control state of constant voltage drive.
  • the constant current drive circuit 20 performs the constant current control, and the MOSFET 3 is in the state of being controlled by the constant current output.
  • the first differential amplifier 21 of the constant current drive circuit 20 fully turns on the MOSFET 3 to flow the current.
  • the second differential amplifier 31 since the output voltage Vout of the constant voltage drive circuit 30 has reached the predetermined gate voltage Vg, the second differential amplifier 31 has almost the same level as the second reference voltage Vref2. Therefore, the second differential amplifier 31 serves as an output for turning off the MOSFET 3.
  • the second differential amplifier 31 stops the current output to the gate of the MOSFET 3 because the output voltage Vout reaches the predetermined voltage regardless of the signal output from the first differential amplifier 21. It becomes a state.
  • the second differential amplifier 31 controls the MOSFET 3 according to the fluctuation, and causes a gate current to flow through the IGBT 1 to generate a gate voltage. The control state is maintained to hold Vg.
  • the MOSFET 3 for giving the gate voltage of the IGBT 1 is driven by the gate drive circuit 10 immediately after being turned on by the constant current drive circuit 20 to perform constant current drive, and thereafter, when the gate voltage Vg reaches a predetermined level. Constant voltage driving is performed by the constant voltage driving circuit 30.
  • the gate drive circuit 10 causes the off drive circuit to discharge the gate charge of the IGBT 1 at time t5, as shown in FIG.
  • the gate voltage Vg is reduced to zero to turn off the IGBT 1.
  • the period T3 from the time t3 to t5 is a constant voltage drive period in which the control by the constant voltage drive circuit 30 is performed.
  • the MOSFET 3 is provided as a common output element, and the gate of the IGBT 1 can be driven by switching the control automatically by the constant current drive circuit 20 and the constant voltage drive circuit 30.
  • the gate drive circuit 10 can be constructed at low cost.
  • FIG. 4 shows the second embodiment, and hereinafter, portions different from the first embodiment will be described.
  • the gate drive circuit 10a includes a constant current drive circuit 20a and a constant voltage drive circuit 30a, and the constant current drive circuit 20a outputs a gate signal to the gate of the MOSFET 3.
  • the constant current drive circuit 20a includes a first differential amplifier 21a instead of the first differential amplifier 21.
  • the first differential amplifier 21a is of a 3-input type and has a function corresponding to the second differential amplifier 31 of the constant voltage drive circuit 30 in the first embodiment.
  • the constant voltage drive circuit 30a includes a two-input second differential amplifier 31a instead of the second differential amplifier 31.
  • the second embodiment employs a configuration in which the first differential amplifier 21 and the second differential amplifier 31 in the first embodiment are functionally replaced.
  • the first differential amplifier 21a receives the input voltage Vin from the DC power supply VD via the shunt resistor 2 and the input terminal A to the first inverting input terminal.
  • the output signal of the second differential amplifier 31a is input to the second inverting input terminal of the first differential amplifier 21a, and the first reference voltage is supplied from the DC power supply VD to the non-inverting input terminal via the first reference power supply 22.
  • Vref1 is input.
  • the output terminal of the first differential amplifier 21a is connected to the gate of the MOSFET 3 and applies a gate voltage.
  • the second differential amplifier 31a receives the second reference voltage Vref2 of the second reference power supply 32 at its inverting input terminal and outputs it at its non-inverting input terminal via the voltage dividing resistor 33.
  • the divided voltage of the voltage Vout is input.
  • the first differential amplifier 21a corresponds to a voltage value having a smaller difference between the first reference voltage Vref1 input to the non-inverting input terminal and the values of the first and second inverting input terminals.
  • the voltage corresponding to the difference from the 1 reference voltage Vref1 is output to the gate of the MOSFET 3.
  • the first differential amplifier 21a generates a gate drive signal for the MOSFET 3 similarly to the second differential amplifier 31 of the first embodiment. Therefore, the gate drive circuit 10a performs the constant current drive by the control of the constant current drive circuit 20a immediately after the IGBT 1 is turned on, and when the gate voltage Vg reaches a predetermined level thereafter, the constant voltage drive circuit 30a performs the constant voltage drive. Will be implemented. As a result, according to the second embodiment as described above, it is possible to obtain the same effect as that of the first embodiment.
  • FIG. 5 shows the third embodiment, and the portions different from the first embodiment will be described below.
  • the MOSFET 3 has a source directly connected to the DC power supply VD via the input terminal A and a drain connected to the output terminal B via the shunt resistor 2.
  • the gate drive circuit 10b is based on the gate drive circuit 10 in the first embodiment, and the constant voltage drive circuit 30b has the same configuration as the constant voltage drive circuit 30.
  • both terminals of the shunt resistor 2 are connected between both terminals of the first differential amplifier 21, and the terminal voltage of the shunt resistor 2 is input.
  • a voltage proportional to the current Ig flowing through the shunt resistor 2 is generated as in the first embodiment.
  • the constant current drive circuit 20b outputs a gate drive signal such that the first differential amplifier 21 causes a constant current Ig set by the second reference voltage Vref2 to flow to the gate of the MOSFET 3.
  • the constant current drive circuit 20b since the output voltage Vout of the output terminal B has not reached the predetermined voltage, the input signal to the second differential amplifier 31 becomes small, so that the difference from the second reference voltage Vref2 is small. growing. On the other hand, the difference between the output signal from the first differential amplifier 21 of the constant current drive circuit 20b and the second reference voltage Vref2 becomes small. As a result, in this state, the constant current drive circuit 20b enters the constant current control state.
  • FIG. 6 shows the fourth embodiment. Hereinafter, parts different from the third embodiment will be described.
  • the shunt resistor 2 of the third embodiment is omitted, and the gate resistance Ig is detected by the gate resistor 4.
  • the gate drive signal can be output to the MOSFET 3 as in the third embodiment, the drive control of the IGBT 1 can be performed in the same manner, and the same effect can be obtained.
  • the gate resistance 4 is used for current detection, the number of resistance elements can be reduced when the functions of the gate current detection operation and the gate input resistance can be combined.
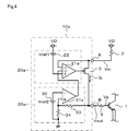
  • FIG. 7 shows the fifth embodiment, and hereinafter, parts different from the second embodiment will be described.
  • the gate drive circuit 10a has the same configuration as that of the second embodiment.
  • an n-channel MOSFET 1a is driven instead of the IGBT 1.
  • the MOSFET 1a is controlled by the constant voltage drive circuit 20a for constant current drive at the time of on-driving similarly to the second embodiment, and is controlled by the constant voltage drive circuit 30a when the gate voltage reaches a predetermined level. Drive control is performed. Therefore, also in the fifth embodiment, it is possible to obtain the same effects as those in the second embodiment.
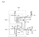
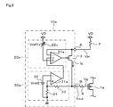
  • FIG. 8 and FIG. 9 show the sixth embodiment, and only portions different from the fifth embodiment will be described below.
  • the sixth embodiment employs a configuration in which the value of the constant current Ig can be changed in the constant current drive control of FIGS. 8 and 9.
  • the gate drive circuit 10x of the fifth embodiment is provided with a constant current drive circuit 20x instead of the constant current drive circuit 20a.
  • a variable first reference power supply 22x that supplies a variable first reference voltage Vref1x is provided instead of the first reference power supply 22 that supplies the first reference voltage Vref1.
  • the level when the constant current Ig flows in the gate of the MOSFET 3 can be set to different levels by adjusting the variable first reference voltage Vref1x. This makes it possible to adjust the voltage change rate when raising the gate voltage Vg of the MOSFET 1a.
  • the gate drive circuit 10a is the same as that of the fifth embodiment, and instead of the shunt resistor 2 having a predetermined shunt resistor R, a variable shunt resistor 2x capable of setting the variable shunt resistor Rx is provided. It is configured. As a result, even if the current Ig is the same, the value of the variable shunt resistor Rx of the variable shunt resistor 2x is changed, so that the input voltage Vin of the input terminal A is changed. Therefore, the level of the constant current set by the first reference voltage Vref1 is set to a substantially different level. This makes it possible to adjust the voltage change rate when raising the gate voltage Vg of the MOSFET 1a.
  • variable first reference voltage Vref1x is adjusted by the variable first reference power supply 22x, or the resistance value of the variable shunt resistance value Rx is adjusted by the variable shunt resistor 2x.
  • the level of the current Ig can be set to different levels. As a result, it is possible to cope with variations in the characteristics of the MOSFET 3 and the characteristics of the MOSFET 1a to be controlled, and to easily perform drive control under different conditions.
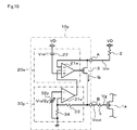
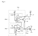
  • FIG. 10 and FIG. 11 show the seventh embodiment, and the portions different from the fifth embodiment will be described below.
  • the seventh embodiment employs a configuration in which the value of the constant voltage Vg can be changed in the constant voltage drive control of FIGS. 10 and 11.
  • the gate drive circuit 10a of the fifth embodiment has a gate drive circuit 10y provided with a constant voltage drive circuit 30y instead of the constant voltage drive circuit 30a.
  • a variable second reference power supply 32y that supplies a variable second reference voltage Vref2y is provided instead of the second reference power supply 32 that supplies the second reference voltage Vref2.
  • the level when the constant voltage Vg is applied to the gate of the MOSFET 3 can be set to a different level by adjusting the variable second reference voltage Vref2y. This makes it possible to adjust to which level the gate voltage Vg of the MOSFET 1a is set.
  • a constant voltage drive circuit 30z is provided instead of the constant voltage drive circuit 30a.
  • variable voltage dividing resistors 33z and 34z are provided instead of the voltage dividing resistors 33 and 34 that detect the output voltage Vout.
  • the constant voltage drive circuit 30z can adjust the level when the constant voltage Vg is applied to the gate of the MOSFET 3 and the voltage level for detecting the output voltage Vout of the output terminal B. This makes it possible to adjust to which level the gate voltage Vg of the MOSFET 1a is set.
  • the detection level of the output voltage Vout is adjusted by adjusting the variable second reference voltage Vref2y with the variable second reference power supply 32y or adjusting the resistance values of the variable voltage dividing resistors 33z and 34z. Can be set to different levels. As a result, it is possible to cope with variations in the characteristics of the MOSFET 3 and the characteristics of the MOSFET 1a to be controlled, and to easily perform drive control under different conditions.
  • control target can be the MOSFET 1a instead of the IGBT 1.
  • controlled object can be the IGBT 1 instead of the MOSFET 1a.
  • the level setting change of the variable first reference voltage Vref1x or the variable second reference voltage Vref2y, and the setting change of the resistance value of the variable shunt resistor 2x or the variable voltage dividing resistors 33z, 34z A configuration that can be set manually or electrically can be adopted. Further, in the configuration of electrically setting, a circuit for automatically adjusting to achieve a predetermined control level can be separately provided.
  • the first to seventh embodiments can form a composite gate drive circuit that is appropriately combined with each other.
  • the gate drive circuits 10, 10a, 10b, 10c, 10x, 10y, 10z of the present embodiment are also applied to gate drive type switching elements in circuit configurations other than the IGBTs 1a to 1f of the three-phase inverter 202 that drives the motor generator 100. can do.

Landscapes

  • Engineering & Computer Science (AREA)
  • Power Engineering (AREA)
  • Power Conversion In General (AREA)
  • Electronic Switches (AREA)
PCT/JP2019/044705 2018-12-10 2019-11-14 ゲート駆動回路 Ceased WO2020121727A1 (ja)

Priority Applications (1)

Application Number Priority Date Filing Date Title
US17/336,980 US11368147B2 (en) 2018-12-10 2021-06-02 Gate drive circuit

Applications Claiming Priority (2)

Application Number Priority Date Filing Date Title
JP2018-230804 2018-12-10
JP2018230804A JP6962308B2 (ja) 2018-12-10 2018-12-10 ゲート駆動回路

Related Child Applications (1)

Application Number Title Priority Date Filing Date
US17/336,980 Continuation US11368147B2 (en) 2018-12-10 2021-06-02 Gate drive circuit

Publications (1)

Publication Number Publication Date
WO2020121727A1 true WO2020121727A1 (ja) 2020-06-18

Family

ID=71076877

Family Applications (1)

Application Number Title Priority Date Filing Date
PCT/JP2019/044705 Ceased WO2020121727A1 (ja) 2018-12-10 2019-11-14 ゲート駆動回路

Country Status (3)

Country Link
US (1) US11368147B2 (enExample)
JP (1) JP6962308B2 (enExample)
WO (1) WO2020121727A1 (enExample)

Families Citing this family (2)

* Cited by examiner, † Cited by third party
Publication number Priority date Publication date Assignee Title
JP7614818B2 (ja) * 2020-12-14 2025-01-16 株式会社東芝 電力変換装置
JP7672370B2 (ja) * 2022-08-17 2025-05-07 三菱電機株式会社 半導体装置駆動回路

Citations (3)

* Cited by examiner, † Cited by third party
Publication number Priority date Publication date Assignee Title
JP2009011049A (ja) * 2007-06-27 2009-01-15 Mitsubishi Electric Corp ゲート駆動装置
JP2013038843A (ja) * 2011-08-04 2013-02-21 Mitsubishi Electric Corp ゲート駆動装置
US20140239930A1 (en) * 2013-02-28 2014-08-28 Shanghai Sim-Bcd Semiconductor Manufacturing Co., Ltd. Constant-voltage and constant-current buck converter and control circuit

Family Cites Families (1)

* Cited by examiner, † Cited by third party
Publication number Priority date Publication date Assignee Title
JP5761215B2 (ja) * 2013-01-21 2015-08-12 株式会社デンソー ゲート駆動回路

Patent Citations (3)

* Cited by examiner, † Cited by third party
Publication number Priority date Publication date Assignee Title
JP2009011049A (ja) * 2007-06-27 2009-01-15 Mitsubishi Electric Corp ゲート駆動装置
JP2013038843A (ja) * 2011-08-04 2013-02-21 Mitsubishi Electric Corp ゲート駆動装置
US20140239930A1 (en) * 2013-02-28 2014-08-28 Shanghai Sim-Bcd Semiconductor Manufacturing Co., Ltd. Constant-voltage and constant-current buck converter and control circuit

Also Published As

Publication number Publication date
JP6962308B2 (ja) 2021-11-05
US11368147B2 (en) 2022-06-21
US20210288639A1 (en) 2021-09-16
JP2020096222A (ja) 2020-06-18

Similar Documents

Publication Publication Date Title
US8054605B2 (en) Power supply controller
JP6597508B2 (ja) 電力変換装置
US8531212B2 (en) Drive circuit for voltage-control type of semiconductor switching device
US8704556B2 (en) Integrated circuit-based drive circuit for driving voltage-controlled switching device and method of manufacturing the drive circuit
US20080024099A1 (en) Power Supply Apparatus
US9490705B2 (en) Inverter device and air conditioner
US9923557B2 (en) Switching circuit and power conversion circuit
JP2018129910A (ja) Dc/dcコンバータおよびその制御回路、制御方法、車載電装機器
JP2015023654A (ja) 半導体素子の電流検出装置
JP2019062714A (ja) 同期整流回路及びスイッチング電源装置
US10254781B2 (en) Voltage source
US20150270774A1 (en) Power supply circuit
US11368147B2 (en) Gate drive circuit
JP2009254199A (ja) モータ駆動回路およびモータの異常判定方法
JP2018129907A (ja) Dc/dcコンバータおよびその制御回路、制御方法、車載電装機器
JP6458659B2 (ja) スイッチング素子の駆動装置
JP2016212005A (ja) 電流検出装置
US9866119B2 (en) DC-DC converter with pull-up and pull-down currents based on inductor current
JP6139422B2 (ja) 基準電圧出力回路および電源装置
JP2017077138A (ja) 半導体装置
US11264890B2 (en) Power supply protection circuit
JP2017142163A (ja) スイッチング素子の駆動装置
US12431789B2 (en) Integrated circuit and power supply circuit
JP2021034916A (ja) 負荷駆動装置
JP5294690B2 (ja) 耐圧保護回路およびそれを用いた反転型チャージポンプの制御回路

Legal Events

Date Code Title Description
121 Ep: the epo has been informed by wipo that ep was designated in this application

Ref document number: 19896798

Country of ref document: EP

Kind code of ref document: A1

NENP Non-entry into the national phase

Ref country code: DE

122 Ep: pct application non-entry in european phase

Ref document number: 19896798

Country of ref document: EP

Kind code of ref document: A1