WO2020031555A1 - 流量計測装置 - Google Patents

流量計測装置 Download PDF

Info

Publication number
WO2020031555A1
WO2020031555A1 PCT/JP2019/026293 JP2019026293W WO2020031555A1 WO 2020031555 A1 WO2020031555 A1 WO 2020031555A1 JP 2019026293 W JP2019026293 W JP 2019026293W WO 2020031555 A1 WO2020031555 A1 WO 2020031555A1
Authority
WO
WIPO (PCT)
Prior art keywords
flow
flow path
measurement device
communication hole
sub
Prior art date
Legal status (The legal status is an assumption and is not a legal conclusion. Google has not performed a legal analysis and makes no representation as to the accuracy of the status listed.)
Ceased
Application number
PCT/JP2019/026293
Other languages
English (en)
French (fr)
Japanese (ja)
Inventor
優介 吉田
篤史 本田
和明 上田
健悟 伊藤
Current Assignee (The listed assignees may be inaccurate. Google has not performed a legal analysis and makes no representation or warranty as to the accuracy of the list.)
Denso Corp
Original Assignee
Denso Corp
Priority date (The priority date is an assumption and is not a legal conclusion. Google has not performed a legal analysis and makes no representation as to the accuracy of the date listed.)
Filing date
Publication date
Application filed by Denso Corp filed Critical Denso Corp
Priority to DE112019002393.4T priority Critical patent/DE112019002393T5/de
Publication of WO2020031555A1 publication Critical patent/WO2020031555A1/ja
Priority to US17/168,755 priority patent/US11391610B2/en
Anticipated expiration legal-status Critical
Ceased legal-status Critical Current

Links

Images

Classifications

    • GPHYSICS
    • G01MEASURING; TESTING
    • G01FMEASURING VOLUME, VOLUME FLOW, MASS FLOW OR LIQUID LEVEL; METERING BY VOLUME
    • G01F1/00Measuring the volume flow or mass flow of fluid or fluent solid material wherein the fluid passes through a meter in a continuous flow
    • G01F1/68Measuring the volume flow or mass flow of fluid or fluent solid material wherein the fluid passes through a meter in a continuous flow by using thermal effects
    • G01F1/684Structural arrangements; Mounting of elements, e.g. in relation to fluid flow
    • G01F1/6842Structural arrangements; Mounting of elements, e.g. in relation to fluid flow with means for influencing the fluid flow
    • GPHYSICS
    • G01MEASURING; TESTING
    • G01FMEASURING VOLUME, VOLUME FLOW, MASS FLOW OR LIQUID LEVEL; METERING BY VOLUME
    • G01F1/00Measuring the volume flow or mass flow of fluid or fluent solid material wherein the fluid passes through a meter in a continuous flow
    • G01F1/68Measuring the volume flow or mass flow of fluid or fluent solid material wherein the fluid passes through a meter in a continuous flow by using thermal effects
    • G01F1/684Structural arrangements; Mounting of elements, e.g. in relation to fluid flow
    • G01F1/688Structural arrangements; Mounting of elements, e.g. in relation to fluid flow using a particular type of heating, cooling or sensing element
    • G01F1/69Structural arrangements; Mounting of elements, e.g. in relation to fluid flow using a particular type of heating, cooling or sensing element of resistive type
    • GPHYSICS
    • G01MEASURING; TESTING
    • G01FMEASURING VOLUME, VOLUME FLOW, MASS FLOW OR LIQUID LEVEL; METERING BY VOLUME
    • G01F1/00Measuring the volume flow or mass flow of fluid or fluent solid material wherein the fluid passes through a meter in a continuous flow
    • G01F1/68Measuring the volume flow or mass flow of fluid or fluent solid material wherein the fluid passes through a meter in a continuous flow by using thermal effects
    • G01F1/684Structural arrangements; Mounting of elements, e.g. in relation to fluid flow

Definitions

  • the present disclosure relates to a flow measurement device.
  • a flow measurement device that is a thermal flow meter that includes a housing disposed in a main flow path and a sub flow path provided in the housing and measures the flow rate of a fluid to be measured flowing through the main flow path is known (for example, Patent Document 1).
  • a drain hole for discharging water droplets flowing into the sub flow path is provided on the upstream side of the flow rate detection unit in the sub flow path.
  • a flow rate measurement device that is attached to the main flow path while being inserted from the outside of a main flow path through which a measurement target fluid flows, and measures a flow rate of the measurement target fluid in the main flow path. Is done.
  • the flow rate measurement device includes a housing having a side surface extending in a direction of insertion of the flow rate measurement device into the main flow path, and a sub-flow passage formed inside the housing and flowing a part of the fluid to be detected flowing through the main flow path.
  • a flow path an inlet portion provided on the side surface and allowing the measured fluid flowing through the main flow path to flow into the sub flow path, and the measured fluid flowing through the sub flow path to the main flow path
  • An outlet portion to be discharged a flow rate detection portion provided between the inlet portion and the outlet portion of the sub-flow path, for detecting a flow rate of the fluid to be measured flowing through the sub-flow path, and the sub-flow path
  • a communication hole that is provided between the flow rate detection section and the outlet section and communicates the sub flow path and the main flow path.
  • the flow measurement device is provided between the flow detection unit and the outlet in the sub flow path, and includes a communication hole that allows the sub flow path to communicate with the main flow path. Even when the fluid to be measured containing water droplets flows into the sub-flow path, the fluid to be measured that has flowed in can be discharged from the communication hole provided on the outlet side of the flow rate detection unit. For this reason, the possibility that water droplets adhere to the flow detection unit is reduced. Therefore, a decrease in the flow rate detection accuracy of the flow rate measurement device due to the attachment of water droplets to the flow rate detection unit is suppressed.
  • FIG. 1 is a schematic diagram of a combustion system in which the flow measurement device according to the first embodiment is used
  • FIG. 2 is an external view of the flow measurement device when viewed from a direction orthogonal to the opening direction of the inlet and the insertion direction
  • FIG. 3 is an external view of the flow measuring device when viewed from the inlet side
  • FIG. 4 is an external view of the flow measuring device when viewed from the outlet side.
  • FIG. 5 is a schematic cross-sectional view of the flow rate measuring device along the 5-5 cross section shown in FIG. FIG.
  • FIG. 6 is a schematic cross-sectional view of the flow rate measuring device taken along the line 6-6 shown in FIG.
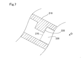
  • FIG. 7 is a schematic cross-sectional view of the flow measurement device taken along the line 7-7 shown in FIG.
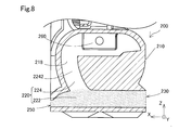
  • FIG. 8 is an explanatory diagram of a water flow path in a forward flow state in the first embodiment
  • FIG. 9 is an explanatory diagram of a flow path of water in a backflow state in the first embodiment
  • FIG. 10 is a schematic side view of the flow measurement device according to the second embodiment
  • FIG. 11 is a schematic top view of the flow measurement device according to the second embodiment
  • FIG. 12 is a schematic cross-sectional view of the flow measurement device taken along the line 12-12 shown in FIG.
  • FIG. 13 is a schematic cross-sectional view of the flow measurement device taken along the line 13-13 shown in FIG.
  • FIG. 14 is a first schematic cross-sectional view of a projection in the first other embodiment
  • FIG. 15 is a second schematic cross-sectional view of the protrusion in the first other embodiment
  • FIG. 16 is a third schematic cross-sectional view of the protrusion in the first other embodiment
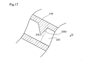
  • FIG. 17 is a fourth schematic cross-sectional view of the protrusion in the first other embodiment
  • FIG. 18 is a fifth schematic cross-sectional view of the projection in the first other embodiment
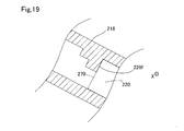
  • FIG. 19 is a sixth schematic cross-sectional view of the protrusion in the first other embodiment
  • FIG. 14 is a first schematic cross-sectional view of a projection in the first other embodiment
  • FIG. 15 is a second schematic cross-sectional view of the protrusion in the first other embodiment
  • FIG. 16 is a third schematic cross-sectional view of the protrusion in the first other embodiment
  • FIG. 17 is
  • FIG. 20 is a first explanatory view of a formation position of a communication hole in the second other embodiment
  • FIG. 21 is a second explanatory view of the formation position of the communication hole in the second other embodiment
  • FIG. 22 is a third explanatory view of the formation position of the communication hole in the second other embodiment
  • FIG. 23 is a fourth explanatory diagram of the formation position of the communication hole in the second other embodiment
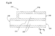
  • FIG. 24 is a schematic cross-sectional view taken along the line 24-24 shown in FIG.
  • FIG. 25 is a fifth explanatory view of the formation position of the communication hole in the second other embodiment
  • FIG. 26 is a sixth explanatory diagram of the formation position of the communication hole in the second other embodiment
  • FIG. 27 is a first explanatory view of the shape of the communication hole in the third other embodiment
  • FIG. 28 is a second explanatory view of the shape of the communication hole in the third other embodiment
  • FIG. 29 is a third explanatory view of the shape of the communication hole in the third other embodiment
  • FIG. 30 is a fourth explanatory view of the shape of the communication hole in the third other embodiment
  • FIG. 31 is a fifth explanatory view of the shape of the communication hole in the third other embodiment
  • FIG. 32 is a sixth explanatory diagram of the shape of the communication hole in the third other embodiment
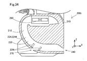
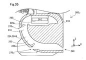
  • FIG. 33 is a first explanatory view of the formation position of the convex portion in the fourth other embodiment
  • FIG. 33 is a first explanatory view of the formation position of the convex portion in the fourth other embodiment
  • FIG. 34 is a second explanatory view of the formation position of the protrusion in the fourth other embodiment
  • FIG. 35 is a third explanatory view of the formation position of the protrusion in the fourth other embodiment
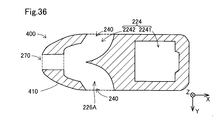
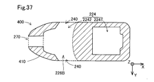
  • FIG. 36 is a first cross-sectional view of a branch channel according to a fifth other embodiment
  • FIG. 37 is a second cross-sectional view of the branch channel in the fifth other embodiment
  • FIG. 38 is a third cross-sectional view of the detection channel according to the fifth other embodiment.
  • a flow measurement device 200 is used for a combustion system 10 including an internal combustion engine 11.
  • the combustion system 10 includes an internal combustion engine 11, a main flow path 12 and an exhaust flow path 13 formed by piping, and an ECU 30.
  • the combustion system 10 is mounted on, for example, a gasoline-powered vehicle and is used as a driving device.
  • the internal combustion engine 11 includes a combustion chamber 110, a spark plug 111, a fuel injection valve 112, a combustion pressure sensor 114, an intake valve 125, and an exhaust valve 131.
  • the internal combustion engine 11 generates power by burning a mixed gas of air supplied through the main flow path 12 and fuel injected from the fuel injection valve 112.
  • the spark plug 111 generates a spark discharge and ignites a mixed gas (mixed gas of fuel and air) in the combustion chamber 110.
  • the fuel injection valve 112 injects fuel into the combustion chamber 110.
  • the combustion pressure sensor 114 detects the combustion pressure in the combustion chamber 110.
  • the main passage 12 and the exhaust passage 13 are connected to the combustion chamber 110.
  • the main flow path 12 is a flow path that guides air to the combustion chamber 110.
  • the exhaust passage 13 is a passage for discharging exhaust gas, which is a gas after combustion, from the combustion chamber 110.
  • the main flow path 12 is provided with an air cleaner 121, a flow rate measuring device 200, and a throttle valve 122 in order from the upstream side.
  • the air cleaner 121 removes dust in the air flowing through the main flow path 12.
  • the throttle valve 122 adjusts the opening degree and adjusts the flow resistance in the main flow path 12.
  • the flow measuring device 200 detects the flow rate of the intake air flowing through the main flow path 12.
  • FIG. 1 the flow direction Fd of the intake air in the forward flow state in which the intake air flows from the upstream side to the downstream side of the main flow path 12 is indicated by an arrow.
  • the ECU 30 is an arithmetic processing circuit including a processor, a storage medium such as a RAM, a ROM, and a flash memory, a microcomputer including an input / output unit, and a power supply circuit.
  • the ECU 30 controls the opening of the throttle valve 122 and the amount of fuel injected from the fuel injection valve 112 using detection results obtained from the flow measurement device 200 and various sensors, for example, the combustion pressure sensor 114.
  • the flow measurement device 200 includes a housing 210, an inlet 230, an outlet 240, an outlet 250, and a communication hole 270.
  • the Z-axis which is a direction axis along the insertion direction when attaching the flow measurement device 200 to the main flow path 12
  • the X-axis which is a direction axis along the opening direction of the inlet 230
  • the insertion direction and the inlet
  • a Y-axis which is a direction axis orthogonal to the opening direction of the portion 230.
  • the opening direction of the entrance 230 is the ⁇ X axis direction in FIG.
  • the insertion direction of the flow measurement device 200 is the ⁇ Z axis direction.
  • the flow measurement device 200 is attached to the main channel 12 such that the inlet 230 faces the upstream side of the main channel 12. That is, when the flow measuring device 200 is attached to the main flow path 12, the + X-axis direction substantially coincides with the flow direction Fd in FIG. Further, the ⁇ Z axis direction substantially coincides with the direction of gravity when the flow measurement device 200 is attached to the main flow path 12.
  • the outlet 240 is provided on a surface of the side surface of the housing 210 that faces the surface on which the inlet 230 is provided.
  • the communication hole 270 is provided on the surface on which the inlet 230 is provided.
  • the housing 210 is a housing made of a synthetic resin, and includes a sub-flow path forming section that forms the sub-flow path 220 therein, and a holding section that holds the flow rate detection section 260.
  • the sub flow path 220 is a flow path through which a part of the intake air flowing through the main flow path 12 flows.
  • the sub flow path 220 includes a discharge flow path 222 extending from the inlet 230 to the discharge port 250, and a detection flow path extending from the inlet 230 to the outlet 240 shown in FIG. 224.
  • the detection channel 224 has an upstream detection channel 2242 (FIG. 5) and a downstream detection channel 2244 (FIG. 6).
  • the upstream detection channel 2242 is a section of the detection channel 224 from the inlet 230 to the flow detection unit 260.
  • the downstream detection flow path 2244 is a section of the detection flow path 224 from the flow rate detector 260 to the outlet 240.
  • the discharge detection flow path 222 and the upstream detection flow path 2242 shown in FIG. 5 and the downstream detection flow path 2244 shown in FIG. 6 are separated from each other by the sub flow path wall 218.
  • the flow rate detection unit 260 is provided in the middle of the sub flow path 220 and detects the flow rate of the fluid to be measured flowing through the sub flow path. It is preferable that the flow rate detector 260 can distinguish whether the flow direction of the fluid to be measured is the forward flow direction or the backward flow direction. In the present embodiment, the flow rate detection unit 260 employs a temperature difference method that is capable of distinguishing the flow direction. In the present embodiment, the flow detection unit 260 has a heater and a plurality of temperature sensors (not shown). The heater heats the fluid to be measured. The plurality of temperature sensors are arranged along the flow direction of the fluid to be measured, and each acquire the temperature of the fluid to be measured.
  • the flow rate detection unit 260 of the present embodiment detects the flow rate from the temperature difference between the upstream side and the downstream side of the heater.
  • the temperature sensors are arranged on both the upstream side and the downstream side of the heater.
  • the temperature sensor is a temperature-sensitive resistor
  • the heater is a heating resistor.
  • the communication hole 270 is provided in the downstream detection flow channel 2244 of the sub flow channel 220, that is, between the flow detection unit 260 and the outlet 240. As shown in FIG. 3, in the present embodiment, the communication hole 270 is provided on the same side surface as the side surface on which the inlet 230 is provided. Further, as shown in FIG. 4, the opening of the communication hole 270 indicated by a broken line overlaps with the opening of the outlet 240 when viewed from the outlet 240 side.
  • a convex portion 228 for reducing the cross-sectional area of the sub flow path 220 is provided between the communication hole 270 and the flow rate detection section 260.
  • the protrusion 228 is provided at a position adjacent to the communication hole 270.
  • the protrusion 228 in the present embodiment has a structure that protrudes from the sub-flow channel wall 218 to the inside of the downstream detection flow channel 2244. This is a step having a step shape.
  • the stepped shape means a shape that changes the cross-sectional area of the sub flow path 220 discontinuously.
  • the cross-sectional area of the flow channel at the position where the convex portion 228 is provided is smaller than the cross-sectional area of the flow channel at the position where the convex portion 228 is not provided.
  • a part of the intake air in the forward flow state flowing from the upstream side to the downstream side of the main flow path 12 flows into the flow measuring device 200 from the inlet 230 as the fluid to be measured.
  • the fluid to be measured flowing from the inlet 230 flows through the sub flow path 220.
  • a part of the fluid to be measured flowing through the sub flow path 220 is discharged from a discharge port 250 provided on the upstream side of the sub flow path 220. Thereby, an increase in the pressure in the sub flow path 220 can be suppressed.
  • the fluid to be measured flowing through the sub flow path 220 the fluid to be measured that has not been discharged from the discharge port 250 passes through the flow rate detection unit 260 and then flows out of the outlet 240 into the main flow path 12.
  • the fluid to be measured flowing out of the outlet 240 into the main flow path 12 merges with the fluid to be measured flowing through the main flow path 12 without flowing into the flow measurement device 200, and is supplied to the internal combustion engine 11.
  • the fluid to be measured flowing from the outlet 240 flows through the sub-flow path 220.
  • a part of the fluid to be measured flowing in the sub flow path 220 is discharged from a communication hole 270 provided on the downstream side of the sub flow path 220. Thereby, an increase in the pressure in the sub flow path 220 can be suppressed.
  • the fluid to be measured that has not been discharged from the communication hole 270 among the fluids to be measured flowing through the sub flow path 220 flows out of the inlet 230 into the main flow path 12 after passing through the flow rate detector 260.
  • the fluid to be measured flowing out of the inlet 230 into the main flow path 12 joins the fluid to be measured flowing through the main flow path 12 without flowing into the flow measurement device 200, and flows to the upstream side of the main flow path 12.
  • the backflow state occurs, for example, when the idling operation is performed in the combustion system 10.
  • the combustion system 10 stops the flow of the intake air into the internal combustion engine 11 by closing the intake valve 125.
  • the pressure of the intake air on the internal passage 11 side of the main passage 12 increases, the pressure on the downstream side of the main passage 12 becomes higher than on the upstream side, and a backflow occurs.
  • the intake air contains water such as water droplets and water vapor. Therefore, moisture may flow into the sub flow path 220 together with the intake air as the fluid to be measured.
  • moisture may flow into the sub flow path 220 together with the intake air as the fluid to be measured.
  • the main path of the sub flow path 220 through which water, particularly a heavy water drop, flows is indicated by dots.
  • the water flowing from the inlet 230 mainly flows out from the outlet 250 to the main flow channel 12. Since a heavy water droplet tends to move in the ⁇ Z-axis direction due to gravity, it is difficult to flow into the detection flow path 224 extending in the antigravity direction (+ Z-axis direction) where the flow rate detection unit 260 is disposed. is there.
  • the main path of the sub flow path 220 through which water, particularly heavy water droplets, flows is indicated by dots.
  • the water flowing from the outlet 240 mainly flows out from the communication hole 270 to the main flow channel 12. This is because a heavy water droplet tends to move in the ⁇ Z-axis direction due to gravity, and thus it is difficult to flow above the communication hole 270 of the detection channel 224 (in the + Z-axis direction).
  • the flow path cross-sectional area of the area between the communication hole 270 and the flow rate detector 260 where the protrusion 228 is provided is smaller than the flow path cross-sectional areas of the other areas.
  • the flow path resistance between the communication hole 270 and the flow detection unit 260 is larger than the flow path resistance between the communication hole 270 and the outlet 240.
  • the inflow of moisture upward (in the + Z-axis direction) from the communication hole 270 of the detection flow path 224 is further suppressed.
  • the communication hole 270 is provided on the surface opposite to the side surface on which the outlet 240 is provided.
  • the outlet 240 faces the flow direction of the intake air in the reverse flow state. Therefore, the pressure outside the flow measurement device 200 via the communication hole 270 is smaller than the pressure outside the flow measurement device 200 via the outlet 240. Thereby, the movement of water from the outlet 240 to the communication hole 270 becomes smoother.
  • the communication hole 270 is provided between the flow detection unit 260 and the outlet 240 in the sub flow path 220, and the sub flow path 220 and the main flow path 12 is communicated. Therefore, even when the measured fluid containing water droplets flows into the sub-flow path 220 from the outlet 240 due to the backflow, the flow measuring device 200 can detect the flowing measured fluid from the flow detecting unit 260 to the outlet 240 It can be discharged from the communication hole 270 provided on the side. Therefore, the possibility that water droplets adhere to the flow rate detection unit 260 is reduced. Therefore, a decrease in flow rate measurement accuracy in the flow rate measurement device 200 due to the attachment of water droplets to the flow rate detection unit 260 is suppressed.
  • the flow path cross-sectional area of the sub flow path 220 in at least a part between the flow rate detection unit 260 and the communication hole 270 is determined by the communication hole 270 and the outlet.
  • the flow path cross-sectional area of the sub flow path 220 with the portion 240 is smaller than the flow path cross-sectional area. Therefore, the flow path resistance in the area between the flow rate detector 260 and the communication hole 270 in the sub flow path 220 is larger than the flow path resistance in the area between the communication hole 270 and the outlet 240. Therefore, the inflow of the moisture flowing from the outlet 240 to the flow detector 260 side is suppressed.
  • a convex portion 228 which is a step portion is provided between the flow rate detecting section 260 and the communication hole 270. For this reason, the moisture flowing from the outlet 240 side collides with the protrusion 228. Therefore, the flow measurement device 200 can more efficiently suppress the inflow of moisture from the protrusion 228 toward the flow detection unit 260 during the backflow.
  • the protrusion 228 is provided on the communication hole 270 side in the section between the communication hole 270 and the flow detection unit 260. For this reason, at the time of backflow, the flow measurement device 200 can efficiently discharge the water whose flow from the protrusion 228 from the communication hole 270 to the flow detection unit 260 is suppressed. Further, in the present embodiment, since the protrusion 228 is provided at a position adjacent to the communication hole 270, the water can be discharged more efficiently.
  • a flow measurement device 400 according to a second embodiment is different from the flow measurement device 200 according to the first embodiment in the structure of a housing 410.
  • the same reference numeral is given and the detailed description is omitted.
  • the housing 410 of the flow rate measuring device 400 is different from the housing 210 (FIG. 2) in the first embodiment in the appearance.
  • two outlets 240 are provided (only one is shown in FIG. 10), and in addition to the outlets 240 provided on the side shown in FIG. Is provided.
  • the two outlets 240 are provided on the side of the housing 410 that intersects the surface on which the inlet 230 is provided and the surface on which the discharge unit 250 is provided.
  • a sub flow path 220 is formed inside the flow measuring device 200.
  • the sub flow path 220 is provided with a flow rate detector 260.
  • the housing 410 is a housing made of a synthetic resin, and has a sub-flow path forming section that forms the sub-flow path 220 therein, and a holding section that holds the flow rate detecting section 260.
  • a communication hole 270 is formed in the downstream detection flow passage 2244 which is a section between the flow detection unit 260 and the outlet 240 in the sub flow passage 220.
  • a protrusion 228 is provided between the communication hole 270 and the flow rate detector 260.
  • the sub flow path 220 is a flow path through which a part of the intake air flowing through the main flow path 12 flows.
  • the downstream detection flow passage 2244 on the downstream side of the flow detection unit 260 in the sub flow passage 220 has a branch flow passage 226 in which the flow passage is branched into two, as shown in FIG. are doing.
  • the branch channels 226 are connected to two outlets 240, respectively.
  • a communication hole is provided at substantially the same position where the outlet 240 is provided.
  • the moisture flowing from the inlet 230 mainly flows out from the outlet 250 to the main flow channel 12. This is because, as in the case of the first embodiment, since a heavy water droplet tends to move in the ⁇ Z-axis direction due to gravity, it is located on the gravitational direction (+ Z-axis direction) side where the flow rate detector 260 is disposed. This is because it is difficult to flow into the detection flow path 224 extending to In the reverse flow state, the moisture flowing from the outlet 240 mainly flows out from the communication hole 270 to the main flow channel 12.
  • the cross-sectional area of the flow passage in the region between the communication hole 270 and the flow detection unit 260 where the protrusion 228 is provided is reduced.
  • the flow path resistance between the communication hole 270 and the flow detection unit 260 is larger than the flow path resistance between the communication hole 270 and the outlet 240. Accordingly, the inflow of moisture upward (in the + Z-axis direction) from the communication hole 270 of the detection channel 224 is further suppressed.
  • the sub flow path 220 branches between the flow detection unit 260 and the plurality of outlets 240, and connects the plurality of outlets 240 and the communication hole 270. It has a branch channel 226. Further, at the time of backflow, the communication hole 270 is provided on the surface of the housing 410 on which the inlet 230 is provided, which is a wall surface on which the pressure is smaller than the pressure on the opposing surface. At the time of the backflow, the water can be more efficiently discharged from the sub flow path 220.
  • the flow measurement devices 200 and 400 have, for example, a step-shaped convex portion 228 as shown in FIG.
  • the shape of the protrusion 228 is not limited to this.
  • the protrusion 228 may have any shape as long as the cross-sectional area of the detection channel 224 is reduced.
  • an example of the shape of the convex portion 228 that can be employed will be described with reference to FIGS. 14 to 19.
  • the protrusion 228 a may have a shape that is pointed toward the inside of the detection channel 224. Further, for example, as shown in FIG.
  • the convex portion 228b has a shape having an inclined side surface and a planar end surface.
  • the convex portion 228c may have a curved surface shape.
  • the convex portion 228d has a shape that is sharp toward the inside of the detection flow channel 224, and the inclination angle is different between the upstream side and the downstream side of the detection flow channel 224. May be provided.
  • the convex portion 228 e may protrude inward of the detection channel 224, and may have a curved shape such that a tip thereof faces the detection channel 224 side.
  • the shape of the convex portion 228e is a shape more suitable for capturing moisture flowing from the downstream side.
  • the protrusion 228f may have a plurality of steps. Note that the protrusion 228 does not necessarily need to be provided as long as the cross-sectional area of the detection channel 224 can be reduced.
  • the detection flow path 224 may have a shape in which a part thereof becomes thinner.
  • the formation position of the communication hole 270 can be changed as appropriate as long as it is provided in the section between the flow detection unit 260 and the outlet 240 in the detection channel 224. It is.
  • an example of a position where the communication hole 270 can be employed will be described with reference to FIGS. 20 to 26, the flow channel structure of the flow measurement device 200 according to the first embodiment is employed. 20 to 26, the convex portion 228 is omitted for convenience of description.
  • the flow measurement device 200g has a communication hole 270g on the downstream side, that is, on the side closer to the outlet 240 as compared with the flow measurement device 200 according to the first embodiment. Is also good.
  • the opening of the communication hole 270g is formed on the distal end surface of the flow measuring device 200g on the insertion direction (-Z axis direction) side. Even in this case, in the backflow state, the pressure outside the communication hole 270 g becomes smaller than the pressure on the outlet 240 side. Therefore, the movement of water from the outlet 240 to the communication hole 270g is smooth.
  • the flow measurement devices 200h and 200i have communication holes closer to the upstream side, that is, closer to the flow detection unit 260, than the flow measurement device 200 according to the first embodiment. It may have 270 g.
  • the flow measurement device 200h illustrated in FIG. 21 has a communication hole 270h formed near the center of the downstream detection channel 2244.
  • the flow measurement device 200i illustrated in FIG. 22 has a communication hole 270i formed upstream from the center of the downstream detection flow channel 2244.
  • the openings of the communication holes 270h and 270i shown in FIGS. 21 and 22 are provided on the side surface of the flow measuring devices 200h and 200i where the inlet 230 is provided.
  • the flow measurement device 270j may have a communication hole 270j provided on a side surface intersecting the side surface provided with the inlet 230 and the front end surface.
  • the flow measurement device 270j has a communication hole 270j that opens in the ⁇ Y-axis direction, that is, has a direction of opening that intersects with the direction in which the sub flow path 220 extends. Even in this case, in the backflow state, the pressure outside the communication hole 270j becomes smaller than the pressure at the outlet 240 side. Therefore, the movement of moisture from the outlet 240 to the communication hole 270j is smooth.
  • the number of communication holes 270 is not limited to one.
  • the flow measurement device 200k may have two communication holes 270k.
  • the flow measurement device 200l may have three communication holes 270l.
  • the shape of the opening of the communication hole 270 is square, but the shape of the opening of the communication hole 270 is not limited to a square.
  • the flow measurement device 200m may have a communication hole 270m having a circular opening.
  • the flow measurement device 200n may have a communication hole 270n having a triangular opening shape.
  • the flow rate measurement device 200o may have a communication hole 270o having a rhombic opening. Further, as shown in FIG.
  • the distal end side ( ⁇ Z axis direction side) of the flow measurement device 200p of the opening shape extends in the horizontal direction, and the base end side (+ Z axis direction side). May have a communication hole 270p having an arc shape.
  • the flow rate measuring device 200q may have a communication hole 270q having a cross shape of an opening.
  • the flow measurement device 200r may have a polygonal communication hole 270r having four or more vertices, specifically, a hexagonal communication hole 270r.
  • the flow measurement devices 200 and 400 include the protrusion 228 formed between the communication hole 270 and the flow detection unit 260 and adjacent to the communication hole 270. Have.
  • the formation position of the protrusion 228 is not limited to this.
  • the flow measurement device 200 s may have a protrusion 228 s formed between the communication hole 270 and the outlet 240.
  • the flow measurement device 200t has two protrusions 228t, and a protrusion 2281t formed between the communication hole 270 and the flow detection unit 260, And a convex portion 2282t formed between the outlet portion 240 and the outlet portion 240.
  • the flow measurement device 200u may have a protrusion 228u near each of the plurality of communication holes 270u.
  • the flow path structure of the flow measurement device 200 according to the first embodiment is used, but the flow measurement device 400 according to the second embodiment is used.
  • the flow path structure described above can be similarly changed.
  • a flow measurement device 400 according to a second embodiment has a branch flow path 226 having the shape shown in FIG. 13, but connects a flow detection unit 260 and two outlets 240. If possible, it may have a branch channel 226 of a different shape.
  • the branch channel 226A has a curved wall surface in a region where the detection channel 224 branches.
  • the branch flow path 226B has a pointed wall surface in a region where the detection flow path 224 branches.
  • the number of outlets 240 included in the flow measurement device 400 according to the second embodiment is not limited to two. For example, three or more outlets 240 may be provided.
  • the flow measurement device 400 may have a branch flow path 226 branched into three or more so that three or more outlets 240 and the flow detection part 260 can be connected.
  • the number of the outlet 240 may be one.
  • the detection channel 224 may have a channel structure having no branch.
  • the discharge port 250 only needs to be provided on the wall surface of the housings 210 and 410 whose pressure is lower than the pressure on the surface of the housings 210 and 410 facing the flow direction during backflow.
  • the outlet 250 may be provided, for example, on a surface of the housings 210 and 410 facing the flow direction, for example, a distal end surface.
  • the flow measurement devices 200 and 400 may have different flow path structures.
  • the number of outlets 240 may be three or more.
  • the number of the inlet portions 230 may be two or more.
  • the flow measurement device 200 may not include the outlet 250.
  • the flow rate measuring devices 200 and 400 are used in the combustion system 10, but may be used in other than the combustion system 10.
  • the flow measurement device 200 may be attached to an air supply pipe of an air supply system in a fuel cell system using air as an oxidant gas.
  • the flow measurement devices 200 and 400 have a structure for reducing the flow path cross-sectional area of the detection flow path 224, for example, a convex portion 228.
  • the flow measurement devices 200 and 400 need not have a structure for reducing the flow path cross-sectional area of the detection flow path 224.
  • the present disclosure is not limited to the above-described embodiments, and can be implemented with various configurations without departing from the spirit thereof.
  • the technical features in the present embodiment corresponding to the technical features in the respective embodiments described in the summary of the invention may be used to solve some or all of the above-described problems, or to achieve the above-described effects. In order to achieve some or all of them, replacements and combinations can be appropriately performed. Unless the technical features are described as essential in the present specification, they can be deleted as appropriate.

Landscapes

  • Physics & Mathematics (AREA)
  • Fluid Mechanics (AREA)
  • General Physics & Mathematics (AREA)
  • Measuring Volume Flow (AREA)
PCT/JP2019/026293 2018-08-08 2019-07-02 流量計測装置 Ceased WO2020031555A1 (ja)

Priority Applications (2)

Application Number Priority Date Filing Date Title
DE112019002393.4T DE112019002393T5 (de) 2018-08-08 2019-07-02 Strömungsratenmessvorrichtung
US17/168,755 US11391610B2 (en) 2018-08-08 2021-02-05 Flow rate measurement device

Applications Claiming Priority (2)

Application Number Priority Date Filing Date Title
JP2018-149049 2018-08-08
JP2018149049A JP2020024152A (ja) 2018-08-08 2018-08-08 流量計測装置

Related Child Applications (1)

Application Number Title Priority Date Filing Date
US17/168,755 Continuation US11391610B2 (en) 2018-08-08 2021-02-05 Flow rate measurement device

Publications (1)

Publication Number Publication Date
WO2020031555A1 true WO2020031555A1 (ja) 2020-02-13

Family

ID=69414633

Family Applications (1)

Application Number Title Priority Date Filing Date
PCT/JP2019/026293 Ceased WO2020031555A1 (ja) 2018-08-08 2019-07-02 流量計測装置

Country Status (4)

Country Link
US (1) US11391610B2 (enExample)
JP (1) JP2020024152A (enExample)
DE (1) DE112019002393T5 (enExample)
WO (1) WO2020031555A1 (enExample)

Families Citing this family (1)

* Cited by examiner, † Cited by third party
Publication number Priority date Publication date Assignee Title
DE102021203219B3 (de) * 2021-03-30 2022-06-23 Vitesco Technologies GmbH Luftmassensensor und Kraftfahrzeug

Citations (5)

* Cited by examiner, † Cited by third party
Publication number Priority date Publication date Assignee Title
JP2006501452A (ja) * 2002-09-30 2006-01-12 ローベルト ボツシユ ゲゼルシヤフト ミツト ベシユレンクテル ハフツング 管路内を流れる媒体の少なくとも1つのパラメータを測定する装置
JP2009145162A (ja) * 2007-12-13 2009-07-02 Denso Corp エアフローメータ
JP2013068600A (ja) * 2011-09-07 2013-04-18 Denso Corp 空気流量測定装置
JP2014095619A (ja) * 2012-11-09 2014-05-22 Denso Corp 空気流量測定装置
US20140174166A1 (en) * 2012-12-20 2014-06-26 Robert Bosch Gmbh Sensor device for detecting at least one flow property of a fluid medium

Family Cites Families (18)

* Cited by examiner, † Cited by third party
Publication number Priority date Publication date Assignee Title
JPH06307906A (ja) 1993-04-28 1994-11-04 Hitachi Ltd 空気流量測定装置
JP3561219B2 (ja) * 1995-08-03 2004-09-02 株式会社日立製作所 発熱抵抗式流量測定装置
JPH1114421A (ja) 1997-06-23 1999-01-22 Hitachi Ltd 発熱抵抗体式空気流量測定装置
JP2002122452A (ja) * 2000-08-11 2002-04-26 Ngk Spark Plug Co Ltd 分流式流量計
US7004022B2 (en) * 2001-07-18 2006-02-28 Hitachi, Ltd. Equipment for measuring gas flow rate
JP2003262546A (ja) * 2002-03-07 2003-09-19 Ngk Spark Plug Co Ltd 流れに関する測定装置及び流量測定方法
JP5047079B2 (ja) 2008-07-02 2012-10-10 三菱電機株式会社 流量測定装置
JP5408195B2 (ja) * 2011-07-19 2014-02-05 株式会社デンソー 空気流量測定装置
JP6114674B2 (ja) 2013-09-30 2017-04-12 日立オートモティブシステムズ株式会社 熱式流量計
JP6102664B2 (ja) 2013-09-30 2017-03-29 オムロン株式会社 操作レバー装置
WO2016047243A1 (ja) * 2014-09-26 2016-03-31 日立オートモティブシステムズ株式会社 熱式流量計
EP3203195B1 (en) * 2014-09-30 2021-12-08 Hitachi Astemo, Ltd. Thermal flow meter
CN107110683B (zh) 2015-01-30 2020-01-10 日立汽车系统株式会社 物理量检测装置和电子装置
JP6433408B2 (ja) 2015-10-28 2018-12-05 日立オートモティブシステムズ株式会社 熱式流量計
CN108139250B (zh) 2015-10-28 2020-02-28 日立汽车系统株式会社 流量计
US10928231B2 (en) 2015-10-28 2021-02-23 Hitachi Automotive Systems, Ltd. Thermal flow meter with housing surfaces that minimize vortex formation
JP6628754B2 (ja) * 2017-03-01 2020-01-15 株式会社デンソー 流量測定システム
CN107101798B (zh) * 2017-05-12 2019-01-18 中国科学院工程热物理研究所 一种动态五孔探针

Patent Citations (5)

* Cited by examiner, † Cited by third party
Publication number Priority date Publication date Assignee Title
JP2006501452A (ja) * 2002-09-30 2006-01-12 ローベルト ボツシユ ゲゼルシヤフト ミツト ベシユレンクテル ハフツング 管路内を流れる媒体の少なくとも1つのパラメータを測定する装置
JP2009145162A (ja) * 2007-12-13 2009-07-02 Denso Corp エアフローメータ
JP2013068600A (ja) * 2011-09-07 2013-04-18 Denso Corp 空気流量測定装置
JP2014095619A (ja) * 2012-11-09 2014-05-22 Denso Corp 空気流量測定装置
US20140174166A1 (en) * 2012-12-20 2014-06-26 Robert Bosch Gmbh Sensor device for detecting at least one flow property of a fluid medium

Also Published As

Publication number Publication date
JP2020024152A (ja) 2020-02-13
US11391610B2 (en) 2022-07-19
DE112019002393T5 (de) 2021-01-28
US20210156722A1 (en) 2021-05-27

Similar Documents

Publication Publication Date Title
WO2015045435A1 (ja) 熱式流量計
JP6502573B2 (ja) 熱式流量計
JP6114673B2 (ja) 熱式流量計
WO2020031555A1 (ja) 流量計測装置
CN105888798B (zh) 用于感测微粒物质的系统
JP2017040224A (ja) 内燃機関の排気浄化装置
JP6463245B2 (ja) 熱式流量計
CN108139248B (zh) 热式流量计
JP6723075B2 (ja) 熱式流量計
US10768033B2 (en) Thermal flowmeter
JP6433408B2 (ja) 熱式流量計
JP6438707B2 (ja) 熱式流量計
US11262223B2 (en) Flowmeter
JP6654239B2 (ja) 熱式流量計
JP5769076B2 (ja) ガスセンサの被水防止装置
JP6686126B2 (ja) 熱式流量計
US20200326217A1 (en) Thermal flowmeter
JP2020046292A (ja) 流量測定装置
KR20000034016A (ko) 자동차의 공기유량 측정장치

Legal Events

Date Code Title Description
121 Ep: the epo has been informed by wipo that ep was designated in this application

Ref document number: 19847007

Country of ref document: EP

Kind code of ref document: A1

122 Ep: pct application non-entry in european phase

Ref document number: 19847007

Country of ref document: EP

Kind code of ref document: A1