WO2019203057A1 - Light reception device and distance measurement device - Google Patents

Light reception device and distance measurement device Download PDF

Info

Publication number
WO2019203057A1
WO2019203057A1 PCT/JP2019/015423 JP2019015423W WO2019203057A1 WO 2019203057 A1 WO2019203057 A1 WO 2019203057A1 JP 2019015423 W JP2019015423 W JP 2019015423W WO 2019203057 A1 WO2019203057 A1 WO 2019203057A1
Authority
WO
WIPO (PCT)
Prior art keywords
pixel
light reception
light
reception device
sensitivity
Prior art date
Legal status (The legal status is an assumption and is not a legal conclusion. Google has not performed a legal analysis and makes no representation as to the accuracy of the status listed.)
Ceased
Application number
PCT/JP2019/015423
Other languages
English (en)
French (fr)
Inventor
Osamu Ozawa
Hayato Kamizuru
Current Assignee (The listed assignees may be inaccurate. Google has not performed a legal analysis and makes no representation or warranty as to the accuracy of the list.)
Sony Semiconductor Solutions Corp
Original Assignee
Sony Semiconductor Solutions Corp
Priority date (The priority date is an assumption and is not a legal conclusion. Google has not performed a legal analysis and makes no representation as to the accuracy of the date listed.)
Filing date
Publication date
Application filed by Sony Semiconductor Solutions Corp filed Critical Sony Semiconductor Solutions Corp
Priority to EP19719629.8A priority Critical patent/EP3781967A1/en
Priority to DE112019002068.4T priority patent/DE112019002068T5/de
Priority to KR1020207016811A priority patent/KR102740857B1/ko
Priority to US16/957,253 priority patent/US11714172B2/en
Publication of WO2019203057A1 publication Critical patent/WO2019203057A1/en
Anticipated expiration legal-status Critical
Priority to US18/137,303 priority patent/US12474451B2/en
Ceased legal-status Critical Current

Links

Images

Classifications

    • GPHYSICS
    • G01MEASURING; TESTING
    • G01SRADIO DIRECTION-FINDING; RADIO NAVIGATION; DETERMINING DISTANCE OR VELOCITY BY USE OF RADIO WAVES; LOCATING OR PRESENCE-DETECTING BY USE OF THE REFLECTION OR RERADIATION OF RADIO WAVES; ANALOGOUS ARRANGEMENTS USING OTHER WAVES
    • G01S17/00Systems using the reflection or reradiation of electromagnetic waves other than radio waves, e.g. lidar systems
    • G01S17/02Systems using the reflection of electromagnetic waves other than radio waves
    • G01S17/06Systems determining position data of a target
    • G01S17/08Systems determining position data of a target for measuring distance only
    • G01S17/10Systems determining position data of a target for measuring distance only using transmission of interrupted, pulse-modulated waves
    • GPHYSICS
    • G01MEASURING; TESTING
    • G01SRADIO DIRECTION-FINDING; RADIO NAVIGATION; DETERMINING DISTANCE OR VELOCITY BY USE OF RADIO WAVES; LOCATING OR PRESENCE-DETECTING BY USE OF THE REFLECTION OR RERADIATION OF RADIO WAVES; ANALOGOUS ARRANGEMENTS USING OTHER WAVES
    • G01S17/00Systems using the reflection or reradiation of electromagnetic waves other than radio waves, e.g. lidar systems
    • G01S17/88Lidar systems specially adapted for specific applications
    • GPHYSICS
    • G01MEASURING; TESTING
    • G01SRADIO DIRECTION-FINDING; RADIO NAVIGATION; DETERMINING DISTANCE OR VELOCITY BY USE OF RADIO WAVES; LOCATING OR PRESENCE-DETECTING BY USE OF THE REFLECTION OR RERADIATION OF RADIO WAVES; ANALOGOUS ARRANGEMENTS USING OTHER WAVES
    • G01S7/00Details of systems according to groups G01S13/00, G01S15/00, G01S17/00
    • G01S7/48Details of systems according to groups G01S13/00, G01S15/00, G01S17/00 of systems according to group G01S17/00
    • G01S7/483Details of pulse systems
    • G01S7/486Receivers
    • G01S7/4861Circuits for detection, sampling, integration or read-out
    • G01S7/4863Detector arrays, e.g. charge-transfer gates
    • GPHYSICS
    • G01MEASURING; TESTING
    • G01SRADIO DIRECTION-FINDING; RADIO NAVIGATION; DETERMINING DISTANCE OR VELOCITY BY USE OF RADIO WAVES; LOCATING OR PRESENCE-DETECTING BY USE OF THE REFLECTION OR RERADIATION OF RADIO WAVES; ANALOGOUS ARRANGEMENTS USING OTHER WAVES
    • G01S7/00Details of systems according to groups G01S13/00, G01S15/00, G01S17/00
    • G01S7/48Details of systems according to groups G01S13/00, G01S15/00, G01S17/00 of systems according to group G01S17/00
    • G01S7/483Details of pulse systems
    • G01S7/486Receivers
    • G01S7/487Extracting wanted echo signals, e.g. pulse detection
    • GPHYSICS
    • G01MEASURING; TESTING
    • G01SRADIO DIRECTION-FINDING; RADIO NAVIGATION; DETERMINING DISTANCE OR VELOCITY BY USE OF RADIO WAVES; LOCATING OR PRESENCE-DETECTING BY USE OF THE REFLECTION OR RERADIATION OF RADIO WAVES; ANALOGOUS ARRANGEMENTS USING OTHER WAVES
    • G01S7/00Details of systems according to groups G01S13/00, G01S15/00, G01S17/00
    • G01S7/48Details of systems according to groups G01S13/00, G01S15/00, G01S17/00 of systems according to group G01S17/00
    • G01S7/491Details of non-pulse systems
    • G01S7/4912Receivers
    • G01S7/4913Circuits for detection, sampling, integration or read-out
    • G01S7/4914Circuits for detection, sampling, integration or read-out of detector arrays, e.g. charge-transfer gates
    • GPHYSICS
    • G01MEASURING; TESTING
    • G01SRADIO DIRECTION-FINDING; RADIO NAVIGATION; DETERMINING DISTANCE OR VELOCITY BY USE OF RADIO WAVES; LOCATING OR PRESENCE-DETECTING BY USE OF THE REFLECTION OR RERADIATION OF RADIO WAVES; ANALOGOUS ARRANGEMENTS USING OTHER WAVES
    • G01S7/00Details of systems according to groups G01S13/00, G01S15/00, G01S17/00
    • G01S7/48Details of systems according to groups G01S13/00, G01S15/00, G01S17/00 of systems according to group G01S17/00
    • G01S7/491Details of non-pulse systems
    • G01S7/4912Receivers
    • G01S7/4918Controlling received signal intensity, gain or exposure of sensor
    • HELECTRICITY
    • H10SEMICONDUCTOR DEVICES; ELECTRIC SOLID-STATE DEVICES NOT OTHERWISE PROVIDED FOR
    • H10FINORGANIC SEMICONDUCTOR DEVICES SENSITIVE TO INFRARED RADIATION, LIGHT, ELECTROMAGNETIC RADIATION OF SHORTER WAVELENGTH OR CORPUSCULAR RADIATION
    • H10F30/00Individual radiation-sensitive semiconductor devices in which radiation controls the flow of current through the devices, e.g. photodetectors
    • H10F30/20Individual radiation-sensitive semiconductor devices in which radiation controls the flow of current through the devices, e.g. photodetectors the devices having potential barriers, e.g. phototransistors
    • H10F30/21Individual radiation-sensitive semiconductor devices in which radiation controls the flow of current through the devices, e.g. photodetectors the devices having potential barriers, e.g. phototransistors the devices being sensitive to infrared, visible or ultraviolet radiation
    • H10F30/22Individual radiation-sensitive semiconductor devices in which radiation controls the flow of current through the devices, e.g. photodetectors the devices having potential barriers, e.g. phototransistors the devices being sensitive to infrared, visible or ultraviolet radiation the devices having only one potential barrier, e.g. photodiodes
    • H10F30/225Individual radiation-sensitive semiconductor devices in which radiation controls the flow of current through the devices, e.g. photodetectors the devices having potential barriers, e.g. phototransistors the devices being sensitive to infrared, visible or ultraviolet radiation the devices having only one potential barrier, e.g. photodiodes the potential barrier working in avalanche mode, e.g. avalanche photodiodes
    • HELECTRICITY
    • H10SEMICONDUCTOR DEVICES; ELECTRIC SOLID-STATE DEVICES NOT OTHERWISE PROVIDED FOR
    • H10FINORGANIC SEMICONDUCTOR DEVICES SENSITIVE TO INFRARED RADIATION, LIGHT, ELECTROMAGNETIC RADIATION OF SHORTER WAVELENGTH OR CORPUSCULAR RADIATION
    • H10F39/00Integrated devices, or assemblies of multiple devices, comprising at least one element covered by group H10F30/00, e.g. radiation detectors comprising photodiode arrays
    • H10F39/80Constructional details of image sensors
    • H10F39/802Geometry or disposition of elements in pixels, e.g. address-lines or gate electrodes
    • H10F39/8027Geometry of the photosensitive area
    • GPHYSICS
    • G01MEASURING; TESTING
    • G01JMEASUREMENT OF INTENSITY, VELOCITY, SPECTRAL CONTENT, POLARISATION, PHASE OR PULSE CHARACTERISTICS OF INFRARED, VISIBLE OR ULTRAVIOLET LIGHT; COLORIMETRY; RADIATION PYROMETRY
    • G01J1/00Photometry, e.g. photographic exposure meter
    • G01J1/42Photometry, e.g. photographic exposure meter using electric radiation detectors
    • G01J1/44Electric circuits
    • G01J2001/4413Type
    • G01J2001/442Single-photon detection or photon counting
    • GPHYSICS
    • G01MEASURING; TESTING
    • G01JMEASUREMENT OF INTENSITY, VELOCITY, SPECTRAL CONTENT, POLARISATION, PHASE OR PULSE CHARACTERISTICS OF INFRARED, VISIBLE OR ULTRAVIOLET LIGHT; COLORIMETRY; RADIATION PYROMETRY
    • G01J1/00Photometry, e.g. photographic exposure meter
    • G01J1/42Photometry, e.g. photographic exposure meter using electric radiation detectors
    • G01J1/44Electric circuits
    • G01J2001/4413Type
    • G01J2001/4433Peak sensing
    • GPHYSICS
    • G01MEASURING; TESTING
    • G01JMEASUREMENT OF INTENSITY, VELOCITY, SPECTRAL CONTENT, POLARISATION, PHASE OR PULSE CHARACTERISTICS OF INFRARED, VISIBLE OR ULTRAVIOLET LIGHT; COLORIMETRY; RADIATION PYROMETRY
    • G01J1/00Photometry, e.g. photographic exposure meter
    • G01J1/42Photometry, e.g. photographic exposure meter using electric radiation detectors
    • G01J1/44Electric circuits
    • G01J2001/444Compensating; Calibrating, e.g. dark current, temperature drift, noise reduction or baseline correction; Adjusting

Definitions

  • a distance measurement device includes, as a light reception unit, an element configured to generate a signal in response to photon light reception (refer to PTL 1, for example).
  • a distance measurement device according to a conventional technology has a dynamic range increased by contriving signal processing of a histogram obtained by accumulating results of measurement of the time of flight (TOF) over a predetermined measurement time. Specifically, the number of pulses is detected in a case of a low light quantity, and a pulse width is detected in a case of a large light quantity.
  • the light reception system comprises a light source configured to irradiate a measurement object with light, and a light reception device configured to receive light reflected by the measurement object, wherein the light reception device includes a pixel array including a plurality of pixels each including a photosensitive element configured to generate a signal in response to detecting at least one photon incident on the photosensitive element, and the pixel array unit includes a first pixel having a first sensitivity to detect a first photon incident on the first pixel and a second pixel having a second sensitivity to detect a second photon incident on the second pixel, wherein the second sensitivity is lower than the first sensitivity.
  • dynamic range increase can be achieved without contriving histogram signal processing.
  • FIG. 5 is a waveform diagram for description of a dead time DT of the SPAD element in a case of a relatively small irradiation light quantity.
  • Fig. 6 is a waveform diagram for description of the dead time DT of the SPAD element in a case of a relatively large irradiation light quantity.
  • Fig. 7A is a characteristic diagram illustrating the relation between the dead time DT and an incident light quantity-count value characteristic
  • Fig. 7B is a characteristic diagram illustrating the relation between a photon detection probability PDE and the incident light quantity-count value characteristic.
  • Fig. 8 is a plan view illustrating a schematic configuration of a pixel array unit according to Example 1.
  • FIG. 9A is a plan view illustrating a schematic configuration of a pixel array unit according to Example 2
  • Fig. 9B is a cross-sectional view illustrating a sectional structure of a light reception unit.
  • Fig. 10A is a plan view illustrating a schematic configuration of a pixel array unit according to Example 3
  • Fig. 10B is a characteristic diagram illustrating the relation between an excess bias voltage V EX and the probability PDE as a sensitivity index.
  • Fig. 11 is a waveform diagram for description of the sensitivity of the SPAD element in a case where the excess bias voltage V EX is set to be small.
  • Fig. 12 is a circuit block diagram illustrating a schematic configuration of a light reception device according to Example 4.
  • Example 2 (example in which semiconductor layer thickness is changed) 3-3.
  • Example 3 (example in which excess bias voltage is changed) 3-4.
  • Example 4 (modification of Example 3: example in which excess bias voltage is adjusted) 4.
  • Exemplary application (exemplary moving object) of technology according to embodiment of the present disclosure 5. Configurations of the present disclosure
  • the light reception area of a pixel having the first sensitivity may be larger than the light reception area of a pixel having the second sensitivity
  • the thickness of a semiconductor layer of a light reception unit of the pixel having the first sensitivity may be larger than the thickness of a semiconductor layer of a light reception unit of the pixel having the second sensitivity
  • the voltage value of excess bias voltage of the pixel having the first sensitivity may be higher than the voltage value of excess bias voltage of the pixel having the second sensitivity.
  • the voltage value of the excess bias voltage may be set by the voltage value of anode voltage applied to an anode electrode of the light reception unit.
  • the voltage value of the anode voltage may be set in accordance with an intensity of ambient light.
  • the light reception unit may include a single photon avalanche diode.
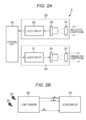
  • Figs. 2A and 2B illustrate a specific configuration of the distance measurement device 1 according to the present embodiment.
  • the light source 20 includes, for example, a laser driver 21, a laser light source 22, and a diffusion lens 23, and emits a laser beam to the object 10.
  • the laser driver 21 drives the laser light source 22 under control of a control unit 40.
  • the laser light source 22 includes, for example, a semiconductor laser, and is driven by the laser driver 21 to emit a laser beam.
  • the diffusion lens 23 diffuses the laser beam emitted from the laser light source 22, and emits the diffused laser beam to the object 10.
  • the control unit 40 is achieved by, for example, a central processing unit (CPU) or the like, controls the light source 20 and the light reception device 30, and measures a time t until a laser beam emitted from the light source 20 toward the object 10 returns after reflection at the object 10.
  • a distance L to the object 10 can be calculated based on the time t.
  • the time t is measured by a method of starting a timer at a timing when pulse light is emitted from the light source 20 and stopping the timer at a timing when the pulse light is received by the light reception device 30.
  • a SPAD element 51 has a cathode electrode connected with a terminal 52 provided with a power voltage V DD through a resistance element R as a load, and an anode electrode connected with a terminal 53 provided with an anode voltage V bd .
  • a terminal 52 and a terminal 53 are coupled to a voltage source to provide a power voltage V DD and an anode voltage V bd respectively.
  • the anode voltage V bd is a large negative voltage that causes avalanche multiplication.
  • a capacitor element C connects the anode electrode and the ground.
  • a cathode voltage V CA of the SPAD element 51 is derived as a SPAD output (pixel output) through a CMOS inverter 54 including a P-type MOS transistor Q p and a N-type MOS transistor Q n connected in series with each other.
  • the SPAD element 51 is provided with a voltage equal to or higher than a breakdown voltage V BD .
  • An excessive voltage equal to or higher than the breakdown voltage V BD is referred to as an excess bias voltage V EX , and is typically 2 to 5 V approximately.
  • the SPAD element 51 operates in a region called Geiger mode in which there is no stable DC point.
  • Fig. 4A illustrates an I(current)-V(voltage) characteristic of the PN junction of the SPAD element 51.
  • the cathode voltage V CA is waveform-shaped by the CMOS inverter 54, and a pulse signal having a pulse width T with the arrival time of one photon as a start point is obtained as the SPAD output (pixel output).
  • the SPAD element 51 is a high-performance light sensor capable of detecting the incidence of a single photon at a certain probability PDE.
  • the SPAD element 51 has a period of time during which the SPAD element 51 cannot react to photons, that is, a dead time Dead Time (DT) for several ns to several tens ns. Accordingly, when a large light quantity condition is satisfied so that the detection frequency of photons is increased, the total duration of the dead time DT becomes too long to ignore with respect to the observation time, and the accuracy of light detection decreases.
  • DT dead time Dead Time
  • the distance measurement device 1 including the light reception device 30 in which the SPAD element 51 is used as the light sensor 32 can be mounted and used on a moving object such as an automobile.
  • the car in automatic operation of an automobile, the car is required to be able to detect an obstacle 300 m ahead through irradiation with a laser beam having a limit on the maximum light quantity by regulation.
  • the sensitivity of the SPAD element 51 needs to be high.
  • the SPAD element 51 needs to operate normally even under conditions of morning sun, strong reflected light, or the like, and should not reach saturation at or below a customer requesting maximum light quantity illustrated in Figs. 7A and 7B.
  • the light reception device 30 in which the SPAD element 51 is used as the light sensor 32 is required to operate in a high dynamic range, in other words, to be able to react with weak incident light but not reach saturation with strong incident light.
  • the sensitivity (that is, the first sensitivity) of the high-sensitivity pixel may be a sensitivity that allows detection of incident light (photons in an amount smaller than a predetermined amount) having an intensity lower than a predetermined light intensity.
  • the sensitivity (that is, the second sensitivity) of the low-sensitivity pixel is preferably a sensitivity with which saturation is not reached at or below a predetermined light quantity, specifically, at or below the customer requesting maximum light quantity illustrated in Figs. 7A and 7B.
  • the pixel sensitivity is set to two stages at the first sensitivity and the second sensitivity, but the present technology is not limited to setting of sensitivities at two stages.
  • One or both of the first sensitivity and the second sensitivity may be further subdivided into a set of sensitivities at three or more stages.
  • a pixel array unit 60 in which pixels are two-dimensionally disposed in a matrix includes a first pixel 61 having a relatively large pixel size, and a second pixel 62 having a pixel size smaller than that of the first pixel 61.
  • this example exemplarily describes a pixel arrangement in which the first pixel 61 and the four second pixels 62 disposed in a region having a size equal to that of the first pixel 61 are arranged in a lattice.
  • the present technology is not limited to this pixel arrangement, but is basically applicable to any pixel arrangement in which the first pixel 61 and the second pixel 62 are mixed in the pixel array unit 60.
  • the difference between the pixel sizes of the first pixel 61 and the second pixel 62 means that the light reception areas of the first pixel 61 and the second pixel 62 are different from each other. Specifically, as apparent from Fig. 8, the light reception area of the first pixel 61 is larger than that of the second pixel 62. Accordingly, the first pixel 61 has a sensitivity higher than that of the second pixel 62.
  • the light reception device 30 includes, in the pixel array unit 60, the first pixel 61 having a relatively large pixel size (light reception area), and the second pixel 62 having a relatively small pixel size (light reception area).
  • the first pixel 61 having a relatively large pixel size (light reception area)
  • the second pixel 62 having a relatively small pixel size (light reception area).
  • Such functions need determination of the light quantity of reflected light, and thus a result of the determination can be used to weight the outputs of the first pixel 61 and the second pixel 62 in accordance with the pixel sizes (light reception areas) and determine the light quantity of reflected light based on the sum thereof.
  • Only a pixel (the first pixel 61 or the second pixel 62) having either pixel size may be operated depending on the intensity (light quantity) of ambient light.
  • a distance measurement device such as a LIDAR device mounted on a moving object such as an automobile has a preparation mode in which the degree of ambient light is determined in a non-light emission state before emission of a laser beam.
  • a result of determination in the preparation mode can be used to determine on the basis of the intensity of ambient light whether to use the first pixel 61 having a large pixel size or the second pixel 62 having a small pixel size.
  • the first pixel 61 having a relatively large pixel size and the second pixel 62 having a relatively small pixel size may be selectively used in a temporally sequential manner.
  • the first pixel 61 having a large pixel size and the second pixel 62 having a small pixel size may be alternately operated, or whether to use the first pixel 61 having a large pixel size or the second pixel 62 having a small pixel size may be determined on the basis of a previous evaluation result.
  • Example 2 is an example in which the dynamic range is increased by changing the thickness of the semiconductor layer of the light reception unit of a pixel.
  • Fig. 9A illustrates a schematic configuration of the pixel array unit according to Example 2
  • Fig. 9B illustrates a sectional structure of the light reception unit.
  • a semiconductor substrate for example, a p - substrate 71 includes a SPAD element configured to cause avalanche multiplication through a pn junction between a n - well 72 as a semiconductor layer and the bottom surface of a p + diffusion layer 73.
  • a guard ring of a p - well 74 is formed at a peripheral part of the p + diffusion layer 73. Accordingly, soft breakdown is prevented from occurring at a voltage lower than the breakdown voltage V BD .
  • Example 2 a first pixel 63 having a relatively high sensitivity and a second pixel 64 having a relatively low sensitivity are provided in the pixel array unit 60 as illustrated in Fig. 9A by changing the thickness t of the n - well 72 of the SPAD element.
  • this example exemplarily describes a pixel arrangement in which the first pixel 63 as a high-sensitivity pixel and the second pixel 64 as a low-sensitivity pixel are arranged in a lattice.
  • the present technology is not limited to this pixel arrangement, but is basically applicable to any pixel arrangement in which the first pixel 63 and the second pixel 64 are mixed in the pixel array unit 60.
  • the thickness t of the n - well 72 of the SPAD element is larger in the first pixel 63 as a high-sensitivity pixel than in the second pixel 64 as a low-sensitivity pixel.
  • the light reception device 30 includes, in the pixel array unit 60, the first pixel 63 having a relatively large thickness t of the n - well 72 and the second pixel 64 having a relatively small thickness t of the n - well 72.
  • the first pixel 63 can reliably detect photons under a condition of a small incident light quantity, and the second pixel 64 can perform the detection operation without reaching saturation under a condition of a large incident light quantity.
  • the dynamic range of the light reception device 30 is increased.
  • Example 2 can be used in combination with the Example 1.
  • the light reception device 30 may include, in the pixel array unit 60, the first pixel 61 having a relatively large pixel size and the second pixel 62 having a relatively small pixel size in addition to the first pixel 63 having a relatively large thickness t of the n - well 72 and the second pixel 64 having a relatively small thickness t of the n - well 72.
  • Example 2 may have exemplary applications similar to Exemplary applications 1 to 3 of Example 1.
  • - Exemplary application 1 The outputs of the first pixel 63 and the second pixel 64 may be weighted in accordance with the thickness t of the n - well 72 and summed to perform light quantity determination. Specific examples thereof are same as those in Exemplary application 1 of Example 1.
  • - Exemplary application 2 Only pixel (the first pixel 63 or the second pixel 64) having either thickness t of the n - well 72 may be operated depending on the intensity (light quantity) of ambient light. Specific examples thereof are same as those in Exemplary application 2 of Example 1.
  • the first pixel 63 having a relatively large thickness t of the n - well 72 and the second pixel 64 having a relatively small thickness t of the n - well 72 may be selectively used in a temporally sequential manner. Specific examples thereof are same as those in Exemplary application 3 of Example 1.
  • Example 3 is an example in which the dynamic range is increased by changing the light reception unit of a pixel, in other words, the excess bias voltage V EX of the SPAD element.
  • the excess bias voltage V EX is an excessive voltage equal to or larger than the breakdown voltage V BD applied to the SPAD element.
  • Fig. 10A illustrates a schematic configuration of the pixel array unit according to Example 3, and Fig. 10B illustrates the relation between the excess bias voltage V EX and the probability PDE as a sensitivity index.
  • the photon detection probability PDE in other words, the sensitivity of the SPAD element can be reduced by decreasing the voltage value of the excess bias voltage V EX , and thus light saturation is unlikely to occur under a condition of a large light quantity.
  • the pulse width of the SPAD output in other words, the dead time DT during which no reaction to photons is possible is reduced as illustrated in Fig. 11, and thus the light saturation characteristic under a condition of a large light quantity can be improved based on the above-described theoretical expression.
  • the excess bias voltage V EX , the photon detection probability PDE, the dead time DT during which no reaction to photons is possible, and the characteristic of the SPAD element have a relation as follows.
  • the SPAD element having a relatively high excess bias voltage V EX , a relatively high probability PDE, and a relatively long dead time DT has a relatively high sensitivity, and is relatively likely to reach saturation.
  • the SPAD element having a relatively low excess bias voltage V EX , a relatively low probability PDE, and a relatively short dead time DT has a relatively low sensitivity, and is relatively unlikely to reach saturation.
  • the sensitivity of the SPAD element can be adjusted on the basis of the voltage value of the excess bias voltage V EX applied to the SPAD element.
  • the voltage value of the excess bias voltage V EX can be changed on the basis of the voltage value of the anode voltage V bd provided to the terminal 53 in Figs. 3A and 3B.
  • the anode voltage V bd is provided by at least one voltage source.
  • the voltage value of the anode voltage V bd is typically set to a fixed value common to pixels in the pixel array unit.
  • Example 3 a first pixel 65 having a relatively high sensitivity and a second pixel 66 having a relatively low sensitivity are provided in the pixel array unit 60 as illustrated in Fig. 10A by changing the voltage value of the excess bias voltage V EX applied to the SPAD element.
  • this example exemplarily describes a pixel arrangement in which the first pixel 65 as a high-sensitivity pixel and the second pixel 66 as a low-sensitivity pixel are arranged in a lattice.
  • the present technology is not limited to this pixel arrangement, but is basically applicable to any pixel arrangement in which the first pixel 65 and the second pixel 66 are mixed in the pixel array unit 60.
  • the voltage value of the excess bias voltage V EX is not limited to setting at two stages at the first pixel 65 and the second pixel 66, but may be set at three or more stages.
  • the pixel arrangement may include mixture of pixels having a high-sensitivity pixel, an intermediate sensitivity pixel, and a low-sensitivity pixel.
  • the light reception device 30 includes, in the pixel array unit 60, the first pixel 65 having a relatively high excess bias voltage V EX and the second pixel 66 having a relatively low excess bias voltage V EX .
  • the first pixel 65 can reliably detect photons under a condition of a small incident light quantity, and the second pixel 66 can perform the detection operation without reaching saturation under a condition of a large incident light quantity. As a result, the dynamic range of the light reception device 30 is increased.
  • Example 3 may be used in combination with Example 1, in combination with Example 2, or in combination with Examples 1 and 2.
  • the light reception device 30 may include, in the pixel array unit 60, the first pixel 61 having a relatively large pixel size and the second pixel 62 having a relatively small pixel size in addition to the first pixel 65 having a relatively high excess bias voltage V EX and the second pixel 66 having a relatively low excess bias voltage V EX .
  • the light reception device 30 may include, in the pixel array unit 60, the first pixel 63 having a relatively large thickness t of the n - well 72 and the second pixel 64 having a relatively small thickness t of the n - well 72 in addition to the first pixel 65 having a relatively high excess bias voltage V EX and the second pixel 66 having a relatively low excess bias voltage V EX .
  • the light reception device 30 may include, in the pixel array unit 60, the first pixel 61 having a relatively large pixel size and the second pixel 62 having a relatively small pixel size, and the first pixel 63 having a relatively large thickness t of the n - well 72 and the second pixel 64 having a relatively small thickness t of the n - well 72 in addition to the first pixel 65 having a relatively high excess bias voltage V EX and the second pixel 66 having a relatively low excess bias voltage V EX .
  • Example 3 may have exemplary applications similar to Exemplary applications 1 to 3 of Example 1.
  • - Exemplary application 1 The outputs of the first pixel 65 and the second pixel 66 may be weighted in accordance with the excess bias voltage V EX and summed to perform light quantity determination. Specific examples thereof are same as those in Exemplary application 1 of Example 1.
  • - Exemplary application 2 Only a pixel (the first pixel 65 or the second pixel 66) having either excess bias voltage V EX may be operated depending on the intensity (light quantity) of ambient light. Specific examples thereof are same as those in Exemplary application 2 of Example 1.
  • the first pixel 65 having a relatively high excess bias voltage V EX and the second pixel 66 having a relatively low excess bias voltage V EX may be selectively used in a temporally sequential manner. Specific examples thereof are same as those in Exemplary application 3 of Example 1.
  • Example 4 is a modification of Example 3, and an example in which the magnitude of the voltage value of the excess bias voltage V EX is adjusted in accordance with the intensity (light quantity) of ambient light.
  • Fig. 12 illustrates a schematic configuration of the light reception device according to Example 4.
  • Example 4 similarly to Example 3, the dynamic range is increased by changing the excess bias voltage V EX of the SPAD element, and the magnitude of the voltage value of the excess bias voltage V EX is adjusted in accordance with the intensity (light quantity) of ambient light.
  • the light reception device includes an anode voltage setting unit 71 configured to set the anode voltage V bd applied to the terminal 53 of the pixel circuit 50, and an ambient light detection unit 72 configured to detect the intensity (light quantity) of ambient light.
  • the anode voltage setting unit 71 sets the voltage value of the anode voltage V bd continuously or at stages in accordance with the intensity of ambient light detected by the ambient light detection unit 72. Accordingly, the magnitude of the voltage value of the excess bias voltage V EX is adjusted continuously or at stages in accordance with the intensity of ambient light. As a result, the pixel sensitivity can be changed without changing the pixel size (light reception area) or the thickness of the semiconductor layer of the light reception unit, and thus the dynamic range can be increased.
  • the ambient light detection unit 72 may be a publicly known light sensor.
  • a LIDAR device has a preparation mode in which the degree of ambient light is determined in a non-light emission state before laser beam emission.
  • the intensity of ambient light determined in the preparation mode may be used as an input to the anode voltage setting unit 71.
  • the technology according to an embodiment of the present disclosure is applicable to various products.
  • the following describes more specific exemplary applications.
  • the technology according to an embodiment of the present disclosure may be achieved as a distance measurement device mounted on any kinds of moving objects such as an automobile, an electric vehicle, a hybrid electric vehicle, a motorcycle, a bicycle, a personal mobility, an airplane, a drone, a ship, a robot, a construction machine, and an agriculture machine (tractor).
  • FIG. 13 is a block diagram illustrating an exemplary schematic configuration of a vehicle control system 7000 as an exemplary moving object control system to which the technology according to an embodiment of the present disclosure is applicable.
  • the vehicle control system 7000 includes a plurality of electronic control units connected with each other through a communication network 7010.
  • the vehicle control system 7000 includes a drive system control unit 7100, a body system control unit 7200, a battery control unit 7300, an exterior information detection unit 7400, an interior information detection unit 7500, and an integration control unit 7600.
  • the communication network 7010 connecting these plurality of control units may be an on-board communication network compliant with an optional standard such as a controller area network (CAN), a local interconnect network (LIN), a local area network (LAN), or a FlexRay (registered trademark).
  • CAN controller area network
  • LIN local interconnect network
  • LAN local area network
  • FlexRay registered trademark
  • Each control unit includes a microcomputer configured to perform arithmetic processing in accordance with various computer programs, a storage unit configured to store, for example, computer programs executed by the microcomputer and parameters used for various calculation, and a drive circuit configured to drive various kinds of control target devices.
  • Each control unit includes a network I/F for performing communication with another control unit through the communication network 7010, and a communication I/F for performing communication with a device, sensor, or the like in or out of a vehicle through wired communication or wireless communication.
  • FIG. 13 illustrates, as functional configurations of the integration control unit 7600, a microcomputer 7610, a general-purpose communication I/F 7620, a dedicated communication I/F 7630, a positioning unit 7640, a beacon reception unit 7650, an interior instrument I/F 7660, a voice image output unit 7670, an on-board network I/F 7680, and a storage unit 7690.
  • any other control unit includes a microcomputer, a communication I/F, a storage unit, and the like.
  • the drive system control unit 7100 controls device operations related to the drive system of a vehicle in accordance with various computer programs.
  • the drive system control unit 7100 functions as a control device of, for example, a drive power generation device such as an internal combustion or a drive motor configured to generate drive power of the vehicle, a drive power transmission mechanism configured to transfer the drive power to wheels, a steering mechanism configured to adjust the angle of the vehicle, and a braking device configured to generate braking force of the vehicle.
  • the drive system control unit 7100 may have the function of a control device of, for example, an antilock brake system (ABS) or an electronic stability control (ESC).
  • ABS antilock brake system
  • ESC electronic stability control
  • the drive system control unit 7100 is connected with a vehicle state detection unit 7110.
  • the vehicle state detection unit 7110 includes, for example, a gyro sensor configured to detect the angular velocity of axial rotation motion of the vehicle body, an acceleration sensor configured to detect acceleration of the vehicle, and at least one of sensors configured to detect, for example, the operation amount of the acceleration pedal, the operation amount of the brake pedal, the steering angle of the steering wheel, the engine rotation speed, and the rotational speed of the wheels.
  • the drive system control unit 7100 performs arithmetic processing by using a signal input from the vehicle state detection unit 7110, and controls an internal combustion, a drive motor, an electric power steering device, a brake device, and the like.
  • the body system control unit 7200 controls operations of various devices mounted on the vehicle body in accordance with various computer programs.
  • the body system control unit 7200 functions as a control device of a keyless entry system, a smart key system, a power window device, and various lamps such as a head lamp, a rear lamp, a brake lamp, an indicator, and a fog lamp.
  • the body system control unit 7200 may receive radio wave emitted by a portable device as an alternative key or various switch signals.
  • the body system control unit 7200 receives inputting of the radio wave or signals and controls a door lock device, a power window device, a lamp, and the like of the vehicle.
  • the battery control unit 7300 controls a secondary battery 7310 as an electrical power supply source of the drive motor in accordance with various computer programs. For example, the battery control unit 7300 receives information such as the battery temperature, the battery output voltage, or the battery remaining capacity from a battery device including the secondary battery 7310. The battery control unit 7300 performs arithmetic processing by using these signals, and controls adjustment of the temperature of the secondary battery 7310, or a cooling device or the like included in the battery device.
  • the vehicle exterior information detection unit 7400 detects information regarding the outside of the vehicle on which the vehicle control system 7000 is mounted.
  • the exterior information detection unit 7400 is connected with at least one of an image capturing unit 7410 or an exterior information detection unit 7420.
  • the image capturing unit 7410 includes at least one of a time of flight (ToF) camera, a stereo camera, a single-lens camera, an infrared camera, or any other camera.
  • the exterior information detection unit 7420 includes, for example, at least one of an environment sensor for detecting current weather or climate or a circumference information detection sensor for detecting any other vehicle, an obstacle, a pedestrian, or the like around the vehicle on which the vehicle control system 7000 is mounted.
  • the environment sensor may be at least one of a raindrop sensor configured to detect rain, a mist sensor configured to detect mist, a sunshine sensor configured to detect the degree of sunshine, or a snowflake sensor configured to detect snowfall.
  • the circumference information detection sensor may be at least one of an ultrasonic sensor, a radar device, or a light detection and ranging, laser imaging detection and ranging (LIDAR) device.
  • the image capturing unit 7410 and the exterior information detection unit 7420 may be provided as independent sensors or devices, or may be provided as devices in which a plurality of sensors or devices are integrated.
  • FIG. 14 illustrates exemplary installation positions of the image capturing unit 7410 and the exterior information detection unit 7420
  • the image capturing units 7910, 7912, 7914, 7916, and 7918 are provided at, for example, at least one of the positions of the front nose, the side mirrors, the rear bumper, the backdoor, and an upper part of the windshield inside the vehicle of a vehicle 7900.
  • the image capturing unit 7910 provided to the front nose and the image capturing unit 7918 provided to the upper part of the windshield inside the vehicle mainly acquire images on the front side of the vehicle 7900.
  • the image capturing units 7912 and 7914 provided to the side mirrors mainly acquire images on sides of the vehicle 7900.
  • the image capturing unit 7916 provided to the rear bumper or the backdoor mainly acquires an image on the back side of the vehicle 7900.
  • the image capturing unit 7918 provided to the upper part of the windshield inside the vehicle is mainly used to detect, for example, a preceding vehicle, a pedestrian, an obstacle, a traffic light, a traffic sign, and a lane.
  • FIG. 14 illustrates exemplary image capturing ranges of the image capturing units 7910, 7912, 7914, and 7916.
  • Image capturing range a indicates the image capturing range of the image capturing unit 7910 provided to the front nose
  • Image capturing ranges b and c indicate the image capturing ranges of the image capturing units 7912 and 7914 provided to the respective side mirrors
  • Image capturing range d indicates the image capturing range of the image capturing unit 7916 provided to the rear bumper or the backdoor.
  • image data captured by the image capturing units 7910, 7912, 7914, and 7916 is placed over to obtain a bird's-eye view image of the vehicle 7900 when viewed from above.
  • Exterior information detection units 7920, 7922, 7924, 7926, 7928, and 7930 provided at front, rear, sides, corners, and an interior upper part of the windshield of the vehicle 7900 may be each, for example, an ultrasonic wave sensor or a radar device.
  • the exterior information detection units 7920, 7926, and 7930 provided at the front nose, the rear bumper, the backdoor, and the interior upper part of the windshield of the vehicle 7900 may be each, for example, a LIDAR device.
  • the exterior information detection units 7920 to 7930 are mainly used for detection of a preceding vehicle, a pedestrian, an obstacle, and the like.
  • the exterior information detection unit 7400 causes the image capturing unit 7410 to capture an exterior image and receives the captured image data.
  • the exterior information detection unit 7400 receives detection information from the exterior information detection unit 7420 connected therewith.
  • the exterior information detection unit 7420 is an ultrasonic wave sensor, a radar device, or a LIDAR device
  • the exterior information detection unit 7400 emits, for example, ultrasonic wave or electromagnetic wave, and receives information of received reflected wave.
  • the exterior information detection unit 7400 may perform, on the basis of the received information, object detection processing or distance detection processing of a person, a car, an obstacle, a sign, a character on a road surface, and the like.
  • the exterior information detection unit 7400 may perform, on the basis of the received information, environment recognition processing of recognizing rainfall, fog, a road surface status, and the like.
  • the exterior information detection unit 7400 may calculate the distance to an exterior object on the basis of the received information.
  • the exterior information detection unit 7400 may perform, on the basis of the received image data, image recognition processing or distance detection processing of recognizing a person, a car, obstacle, a sign, a character on a road surface, and the like.
  • the exterior information detection unit 7400 may perform processing such as distortion correction or positioning on the received image data, and may synthesize the image data with image data captured by another image capturing unit 7410 to generate a bird's-eye view image or a panoramic image.
  • the exterior information detection unit 7400 may perform viewpoint conversion processing by using image data captured by another image capturing unit 7410.
  • the interior information detection unit 7500 detects interior information.
  • the interior information detection unit 7500 is connected with, for example, a driver state detection unit 7510 configured to detect the state of the driver.
  • the driver state detection unit 7510 may include, for example, a camera configured to capture an image of the driver, a living body sensor configured to detect living body information of the driver, or a microphone configured to collect interior voice.
  • the living body sensor is provided to, for example, a seat surface, the steering wheel, or the like, and detects living body information of a passenger sitting on the seat or the driver holding the steering wheel.
  • the interior information detection unit 7500 may calculate the fatigue degree or concentration degree of the driver or may determine whether the driver is asleep.
  • the interior information detection unit 7500 may perform processing such as noise canceling processing on a collected voice signal.
  • the integration control unit 7600 controls the entire operation in the vehicle control system 7000 in accordance with various computer programs.
  • the integration control unit 7600 is connected with an input unit 7800.
  • the input unit 7800 is achieved by a device, such as a touch panel, a button, a microphone, a switch, or a lever, through which an input operation can be performed by a passenger.
  • the integration control unit 7600 may receive data acquired through voice recognition of voice input through a microphone.
  • the input unit 7800 may be, for example, a remote control device using infrared or other radio wave, or an external connection instrument such as a cellular phone or a personal digital assistant (PDA) capable of operating according to the vehicle control system 7000.
  • PDA personal digital assistant
  • the input unit 7800 may be, for example, a camera, which allows the passenger to input information through gesture. Alternatively, data obtained by detecting motion of a wearable device worn by the passenger may be input. Furthermore, the input unit 7800 may include, for example, an input control circuit or the like configured to generate an input signal on the basis of information input by a passenger or the like through the above-described input unit 7800 and output the input signal to the integration control unit 7600. The passenger or the like operates the input unit 7800 to input various kinds of data or give an instruction for a processing operation to the vehicle control system 7000.
  • the storage unit 7690 may include a read only memory (ROM) configured to store various computer programs executed by the microcomputer, and a random access memory (RAM) configured to store, for example, various parameters, calculation results, or sensor values.
  • ROM read only memory
  • RAM random access memory
  • the storage unit 7690 may be achieved by, for example, a magnetic storage device such as a hard disc drive (HDD), a semiconductor storage device, an optical storage device, or a magneto-optical storage device.
  • the general-purpose communication I/F 7620 is a general-purpose communication I/F configured to mediate communication with various instruments present in an external environment 7750.
  • the general-purpose communication I/F 7620 may implement a cellular communication protocol such as global system of mobile communications (GSM) (registered trademark), WiMAX, long term evolution (LTE) or LTE-advanced (LTE-A ), or any other wireless communication protocol of wireless LAN (also referred to as Wi-Fi (registered trademark)), Bluetooth (registered trademark), or the like.
  • GSM global system of mobile communications
  • WiMAX wireless access control
  • LTE long term evolution
  • LTE-A LTE-advanced
  • wireless LAN also referred to as Wi-Fi (registered trademark)
  • Bluetooth registered trademark
  • the general-purpose communication I/F 7620 may be connected with an instrument (for example, an application server or a control server) on an external network (for example, the Internet, a cloud network, or a network unique to a business operator) through a base station or an access point, for example.
  • an instrument for example, an application server or a control server
  • an external network for example, the Internet, a cloud network, or a network unique to a business operator
  • the general-purpose communication I/F 7620 may be connected with a terminal (for example, a terminal of a driver, a pedestrian, or a shop, or a machine type communication (MTC) terminal near the vehicle by using, for example, a peer-to-peer (P2P) technology.
  • MTC machine type communication
  • the dedicated communication I/F 7630 is a communication I/F that supports a communication protocol formulated for use in a vehicle.
  • the dedicated communication I/F 7630 may implement a standard protocol such as wireless access in vehicle environment (WAVE), dedicated short range communications (DSRC), or cellular communication protocol as combination of IEEE802.11p of the lower-level layer and IEEE1609 of the higher-level layer.
  • the dedicated communication I/F 7630 typically performs V2X communication as a concept including one or more of vehicle-to-vehicle communication, vehicle-to-infrastructure communication, vehicle-to-home communication, and vehicle-to-pedestrian communication.
  • the positioning unit 7640 receives, for example, global navigation satellite system (GNSS) signals from GNSS satellites (for example, global positioning system (GPS) signals from GPS satellites), executes positioning, and generates position information including the latitude, longitude, and altitude of the vehicle.
  • GNSS global navigation satellite system
  • GPS global positioning system
  • the positioning unit 7640 may specify the current position through signal interchange with a wireless access point, or may acquire position information from a terminal such as a cellular phone, a PHS, or a smartphone having a positioning function.
  • the beacon reception unit 7650 receives, for example, radio wave or electromagnetic wave emitted from a wireless station or the like installed on a road, and acquires information such as the current position, a traffic jam, a road closing, or a required traveling time. Note that the function of the beacon reception unit 7650 may be included in the dedicated communication I/F 7630 described above.
  • the interior instrument I/F 7660 is a communication interface configured to mediate connection between the microcomputer 7610 and various interior instruments 7760 in the vehicle.
  • the interior instrument I/F 7660 may establish wireless connection by using a wireless communication protocol such as wireless LAN, Bluetooth (registered trademark), near field communication (NFC), or wireless USB (WUSB).
  • a wireless communication protocol such as wireless LAN, Bluetooth (registered trademark), near field communication (NFC), or wireless USB (WUSB).
  • the interior instrument I/F 7660 may establish wired connection such as universal serial bus (USB), high-definition multimedia interface (HDMI) (registered trademark), or mobile high-definition link (MHL) through a connection terminal (not illustrated) (and a cable, as needed).
  • USB universal serial bus
  • HDMI high-definition multimedia interface
  • MHL mobile high-definition link
  • the interior instruments 7760 may include, for example, at least one of a mobile device or a wearable instrument owned by a passenger, or an information instrument conveyed into or attached to the vehicle.
  • the interior instruments 7760 may include a navigation device configured to search for a path to an optional destination.
  • the interior instrument I/F 7660 exchanges a control signal or a data signal with the interior instruments 7760.
  • the on-board network I/F 7680 is an interface configured to mediate communication between the microcomputer 7610 and the communication network 7010.
  • the on-board network I/F 7680 communicates a signal or the like according to a predetermined protocol supported by the communication network 7010.
  • the microcomputer 7610 of the integration control unit 7600 controls the vehicle control system 7000 in accordance with various computer programs on the basis of information acquired through at least one of the general-purpose communication I/F 7620, the dedicated communication I/F 7630, the positioning unit 7640, the beacon reception unit 7650, the interior instrument I/F 7660, and the on-board network I/F 7680.
  • the microcomputer 7610 may calculate a control target value of a drive power generation device, a steering mechanism, or a braking device on the basis of acquired interior and exterior information, and may output a control command to the drive system control unit 7100.
  • the microcomputer 7610 may perform cooperative control to implement the function of an advanced driver assistance system (ADAS) including, for example, collision avoidance or impact reduction of the vehicle, following travel based on the inter-vehicular distance, vehicle speed maintaining travel, vehicle collision warning, or vehicle lane deviation warning.
  • ADAS advanced driver assistance system
  • the microcomputer 7610 may perform cooperative control to achieve, for example, automated driving in which the vehicle autonomously travels independently from an operation by the driver, by controlling the drive power generation device, the steering mechanism, the braking device, and the like on the basis of acquired information around the vehicle.
  • the microcomputer 7610 may generate information regarding the three-dimensional distance between the vehicle and a surrounding object such as a structure or a person on the basis of information acquired through at least one of the general-purpose communication I/F 7620, the dedicated communication I/F 7630, the positioning unit 7640, the beacon reception unit 7650, the interior instrument I/F 7660, or the on-board network I/F 7680, and may produce local map information including information around the current position of the vehicle. Furthermore, the microcomputer 7610 may predict danger such as collision of the vehicle, approaching of a pedestrian or the like, or entry to a closed road on the basis of the acquired information, and may generate a warning signal.
  • the warning signal may be, for example, a signal for generating warning sound or turning on a warning lamp.
  • the voice image output unit 7670 transmits at least one of a voice output signal or an image output signal to an output device capable of visually or audibly notifying a passenger in the vehicle or the outside of the vehicle of information.
  • the output device is an audio speaker 7710, a display unit 7720, or an instrument panel 7730.
  • the display unit 7720 may include, for example, at least one of an on-board display or a head-up display.
  • the display unit 7720 may have an augmented reality (AR) display function.
  • the output device may be, in place of these devices, a headphone, a wearable device such as a spectacle display mounted on the passenger, a projector, a lamp, or another device.
  • the output device is a display device
  • the display device visually displays a result obtained through various kinds of processing performed by the microcomputer 7610 or information received from another control unit, in various formats of text, image, table, graph, and the like.
  • the output device is a sound output device
  • the sound output device converts an audio signal including, for example, played-back voice data or acoustic data into an analog signal, and audibly outputs the signal.
  • At least two control units connected with each other through the communication network 7010 may be integrated as one control unit.
  • an individual control unit may include a plurality of control units.
  • the vehicle control system 7000 may include another control unit (not illustrated).
  • part or all of the function of any control unit in the above description may be achieved by another control unit.
  • predetermined arithmetic processing may be performed at any control unit as long as information is transmitted and received through the communication network 7010.
  • a sensor or a device connected with any control unit may be connected with another control unit, and a plurality of control units may mutually transmit and receive detection information through the communication network 7010.
  • the above describes an exemplary vehicle control system to which the technology according to an embodiment of the present disclosure is applicable.
  • the technology according to an embodiment of the present disclosure is applicable to, for example, the image capturing units 7910, 7912, 7914, 7916, and 7918 and the exterior information detection units 7920, 7922, 7924, 7926, 7928, and 7930 among the above-described configurations.
  • the dynamic range of the light reception device can be increased, reaction to weak incident light is possible, and operation can be performed without reaching saturation with strong incident light, thereby achieving, for example, a vehicle control system capable of highly accurately detecting an image capturing target.
  • a light reception device including a pixel array unit including a plurality of pixels each including a light reception unit configured to generate a signal in response to photon light reception in which the pixel array unit includes a pixel having a first sensitivity and a pixel having a second sensitivity lower than the first sensitivity.
  • A-2 The light reception device according to (A-1), in which the first sensitivity is a sensitivity that allows detection of incident light having an intensity lower than a predetermined light intensity, and the second sensitivity is a sensitivity with which saturation is not reached at a predetermined light quantity or smaller.
  • A-3) The light reception device according to (A-2), in which a light reception area of the pixel having the first sensitivity is larger than a light reception area of the pixel having the second sensitivity.
  • A-4) The light reception device according to (A-2), in which a thickness of a semiconductor layer of the light reception unit of the pixel having the first sensitivity is larger than a thickness of a semiconductor layer of the light reception unit of the pixel having the second sensitivity.
  • A-5) The light reception device according to (A-2), in which a voltage value of excess bias voltage of the pixel having the first sensitivity is higher than a voltage value of excess bias voltage of the pixel having the second sensitivity.
  • A-6 The light reception device according to (A-5), in which the voltage value of the excess bias voltage is set by a voltage value of anode voltage applied to an anode electrode of the light reception unit.
  • A-7 The light reception device according to (A-6), in which the voltage value of the anode voltage is set in accordance with an intensity of ambient light.
  • A-8 The light reception device according to any one of (A-1) to (A-7), in which the light reception unit includes a single photon avalanche diode.
  • a distance measurement device including: a light source configured to irradiate a measurement object with light; and a light reception device configured to receive light reflected at the measurement object, in which the light reception device includes a pixel array unit including a plurality of pixels each including a light reception unit configured to generate a signal in response to photon light reception, and the pixel array unit includes a pixel having a first sensitivity and a pixel having a second sensitivity lower than the first sensitivity.
  • (B-2) The distance measurement device according to (B-1), in which the first sensitivity is a sensitivity that allows detection of incident light having an intensity lower than a predetermined light intensity, and the second sensitivity is a sensitivity with which saturation is not reached at a predetermined light quantity or smaller.
  • (B-3) The distance measurement device according to (B-2), in which a light reception area of the pixel having the first sensitivity is larger than a light reception area of the pixel having the second sensitivity.
  • (B-4) The distance measurement device according to (B-2), in which a thickness of a semiconductor layer of the light reception unit of the pixel having the first sensitivity is larger than a thickness of a semiconductor layer of the light reception unit of the pixel having the second sensitivity.
  • (B-5) The distance measurement device according to (B-2), in which a voltage value of excess bias voltage of the pixel having the first sensitivity is higher than a voltage value of excess bias voltage of the pixel having the second sensitivity.
  • (B-6) The distance measurement device according to (B-5), in which the voltage value of the excess bias voltage is set by a voltage value of anode voltage applied to an anode electrode of the light reception unit.
  • (B-7) The distance measurement device according to (B-6), in which the voltage value of the anode voltage is set in accordance with an intensity of ambient light.
  • (B-8) The distance measurement device according to any one of (B-1) to (B-7), in which the light reception unit includes a single photon avalanche diode.
  • a light reception device comprising: a pixel array including a plurality of pixels, each of the plurality of pixels including a photosensitive element configured to generate a signal in response to detection of a photon by the photosensitive element, wherein the plurality of pixels include a first pixel having a first sensitivity to detect a first photon incident on the first pixel and a second pixel having a second sensitivity to detect a second photon incident on the second pixel, wherein the second sensitivity is lower than the first sensitivity.
  • C-2 The light reception device according to (C-1), further comprising a processor in communication with the pixel array, wherein the processor is configured to count a number of signals generated by each of the photosensitive elements during a time interval.
  • (C-3) The light reception device according to (C-1) or (C-2), wherein the photosensitive element of the first pixel is configured to saturate at an incident light amount less than an incident light amount at which the photosensitive element of the second pixel is configured to saturate.
  • (C-4) The light reception device according to any one of (C-1) to (C-3), wherein a light reception area of the first pixel is larger than a light reception area of the second pixel.
  • (C-5) The light reception device according to any one of (C-1) to (C-3), wherein a thickness of a semiconductor layer of the photosensitive element in the first pixel is larger than a thickness of a semiconductor layer of the photosensitive element in the second pixel.
  • (C-6) The light reception device according to (C-5), wherein a thickness of an n-well region of the photosensitive element in the first pixel is larger than a thickness of an n-well region of the photosensitive element in the second pixel.
  • (C-7) The light reception device according to any one of (C-1) to (C-3), further comprising at least one voltage source, wherein the at least one voltage source is configured to provide a first excess bias voltage to the first pixel and to provide a second excess bias voltage to the second pixel, wherein the first excess bias voltage is higher than the second excess bias voltage.
  • (C-8) The light reception device according to (C-7), wherein the first excess bias voltage is set in accordance with an anode voltage received by an anode electrode of the photosensitive element in the first pixel.
  • (C-9) The light reception device according to (C-8), further comprising: an ambient light detector configured to detect an intensity of ambient light, wherein the anode voltage is set in accordance with the intensity of ambient light.
  • (C-10) The light reception device according to any one of (C-1) to (C-9), wherein the photosensitive element includes a single photon avalanche diode.
  • (C-11) The light reception device according to any one of (C-1) to (C-10), wherein the light reception device is configured to be mounted in a vehicle.
  • (C-12) The light reception device according to (C-2) or (C-3), wherein the processor is configured to apply a weighting factor to the signal output from the first pixel and/or the second pixel in response to the first sensitivity and/or the second sensitivity.
  • (C-13) The light reception device according to (C-2) or (C-3), wherein the processor is configured to determine a distance from the light reception device to an object based on the number of signals counted by the processor.
  • (C-14) The light reception device according to (C-2) or (C-3), wherein the processor is configured to recognize an object based on the number of signals counted by the processor.
  • a light reception system comprising: a light source configured to irradiate a measurement object with light; and a light reception device configured to receive light reflected by the measurement object, wherein the light reception device includes a pixel array including a plurality of pixels each including a photosensitive element configured to generate a signal in response to detecting at least one photon incident on the photosensitive element, and the pixel array unit includes a first pixel having a first sensitivity to detect a first photon incident on the first pixel and a second pixel having a second sensitivity to detect a second photon incident on the second pixel, wherein the second sensitivity is lower than the first sensitivity.
  • (C-17) The light reception system according to (C-16), wherein the photosensitive element of the first pixel is configured to saturate at an incident light amount less than an incident light amount at which the photosensitive element of the second pixel is configured to saturate.
  • (C-18) The light reception system according to (C-16) or (C-17), further comprising at least one voltage source, wherein the at least one voltage source is configured to provide a first excess bias voltage to the first pixel and to provide a second excess bias voltage to the second pixel, wherein the first excess bias voltage is higher than the second excess bias voltage.

Landscapes

  • Engineering & Computer Science (AREA)
  • Physics & Mathematics (AREA)
  • Computer Networks & Wireless Communication (AREA)
  • General Physics & Mathematics (AREA)
  • Radar, Positioning & Navigation (AREA)
  • Remote Sensing (AREA)
  • Electromagnetism (AREA)
  • Optical Radar Systems And Details Thereof (AREA)
  • Light Receiving Elements (AREA)
  • Measurement Of Optical Distance (AREA)
  • Multimedia (AREA)
  • Signal Processing (AREA)
PCT/JP2019/015423 2018-04-20 2019-04-09 Light reception device and distance measurement device Ceased WO2019203057A1 (en)

Priority Applications (5)

Application Number Priority Date Filing Date Title
EP19719629.8A EP3781967A1 (en) 2018-04-20 2019-04-09 Light reception device and distance measurement device
DE112019002068.4T DE112019002068T5 (de) 2018-04-20 2019-04-09 Lichtempfangsvorrichtung und abstandsmessvorrichtung
KR1020207016811A KR102740857B1 (ko) 2018-04-20 2019-04-09 수광 장치 및 측거 장치
US16/957,253 US11714172B2 (en) 2018-04-20 2019-04-09 Light reception device and distance measurement device
US18/137,303 US12474451B2 (en) 2018-04-20 2023-04-20 Light reception device and distance measurement device

Applications Claiming Priority (2)

Application Number Priority Date Filing Date Title
JP2018-081068 2018-04-20
JP2018081068A JP7246863B2 (ja) 2018-04-20 2018-04-20 受光装置、車両制御システム及び測距装置

Related Child Applications (2)

Application Number Title Priority Date Filing Date
US16/957,253 A-371-Of-International US11714172B2 (en) 2018-04-20 2019-04-09 Light reception device and distance measurement device
US18/137,303 Continuation US12474451B2 (en) 2018-04-20 2023-04-20 Light reception device and distance measurement device

Publications (1)

Publication Number Publication Date
WO2019203057A1 true WO2019203057A1 (en) 2019-10-24

Family

ID=66286843

Family Applications (1)

Application Number Title Priority Date Filing Date
PCT/JP2019/015423 Ceased WO2019203057A1 (en) 2018-04-20 2019-04-09 Light reception device and distance measurement device

Country Status (8)

Country Link
US (2) US11714172B2 (enExample)
EP (1) EP3781967A1 (enExample)
JP (1) JP7246863B2 (enExample)
KR (1) KR102740857B1 (enExample)
CN (2) CN210166495U (enExample)
DE (1) DE112019002068T5 (enExample)
TW (2) TWI815877B (enExample)
WO (1) WO2019203057A1 (enExample)

Cited By (3)

* Cited by examiner, † Cited by third party
Publication number Priority date Publication date Assignee Title
WO2022150126A1 (en) * 2021-01-11 2022-07-14 Microsoft Technology Licensing, Llc Photodiode assembly
US12399259B2 (en) 2020-08-24 2025-08-26 Kabushiki Kaisha Toshiba Light-receiving apparatus and electronic device
TWI905331B (zh) 2021-01-11 2025-11-21 美商微軟技術授權有限責任公司 光電二極體組件

Families Citing this family (27)

* Cited by examiner, † Cited by third party
Publication number Priority date Publication date Assignee Title
JP7246863B2 (ja) 2018-04-20 2023-03-28 ソニーセミコンダクタソリューションズ株式会社 受光装置、車両制御システム及び測距装置
EP3591712A1 (en) * 2018-07-05 2020-01-08 STMicroelectronics (Research & Development) Limited Optical sensor and method of operating an optical sensor
CN110530515A (zh) * 2019-08-23 2019-12-03 上海禾赛光电科技有限公司 光电探测电路、激光雷达和控制方法
US20220384493A1 (en) * 2019-11-20 2022-12-01 Sony Semiconductor Solutions Corporation Solid-state imaging apparatus and distance measurement system
JP2021089962A (ja) * 2019-12-04 2021-06-10 ソニーセミコンダクタソリューションズ株式会社 受光装置及び受光装置の制御方法、並びに、測距装置
US11346924B2 (en) * 2019-12-09 2022-05-31 Waymo Llc SiPM with cells of different sizes
JP7383542B2 (ja) * 2020-03-24 2023-11-20 株式会社東芝 光検出器及び距離計測装置
TWI735191B (zh) 2020-03-27 2021-08-01 國立陽明交通大學 光達除霧系統與方法
CN111830530B (zh) * 2020-06-04 2023-02-24 深圳奥锐达科技有限公司 一种距离测量方法、系统及计算机可读存储介质
CN115699792A (zh) * 2020-06-05 2023-02-03 索尼集团公司 固态成像装置、控制固态成像装置的方法和移动体
JP7527853B2 (ja) * 2020-06-11 2024-08-05 キヤノン株式会社 光電変換装置
JP7527871B2 (ja) * 2020-07-10 2024-08-05 キヤノン株式会社 光電変換装置及びその駆動方法
JP2023145810A (ja) * 2020-08-11 2023-10-12 ソニーセミコンダクタソリューションズ株式会社 面発光レーザ装置及び電子機器
CN120370328A (zh) * 2020-08-21 2025-07-25 上海禾赛科技有限公司 利用激光雷达探测的方法以及激光雷达
TW202208876A (zh) * 2020-08-25 2022-03-01 神盾股份有限公司 光感測陣列與飛時測距裝置
JP7745207B2 (ja) * 2020-12-10 2025-09-29 パナソニックIpマネジメント株式会社 フォトディテクタ、フォトディテクタアレイおよび距離測定システム
JP7701799B2 (ja) 2021-04-26 2025-07-02 キヤノン株式会社 測距装置および計測ユニット、ならびに測距装置の制御方法
JP7766413B2 (ja) * 2021-04-26 2025-11-10 キヤノン株式会社 投光ユニットおよびそれを用いた測距装置
JP7730659B2 (ja) * 2021-04-26 2025-08-28 キヤノン株式会社 測距装置および電子機器
US11784196B2 (en) * 2021-05-04 2023-10-10 Globalfoundries Singapore Pte. Ltd. Trenchless single-photon avalanche diodes
PH12022551324A1 (en) * 2021-09-15 2023-11-20 Halliburton Energy Services Inc Improved steerability of downhole ranging tools using rotary magnets
WO2023044176A1 (en) 2021-09-15 2023-03-23 Halliburton Energy Services, Inc. Improved steerability of downhole ranging tools using rotary magnets
KR102774273B1 (ko) * 2021-12-31 2025-02-27 주식회사 트루픽셀 단일 광자 검출 픽셀 및 이를 포함하는 단일 광자 검출 픽셀 어레이
CN115291663B (zh) * 2022-08-03 2025-04-08 深圳市灵明光子科技有限公司 一种spad控制电路、spad阵列和激光测距装置
CN118566932A (zh) * 2023-02-28 2024-08-30 上海禾赛科技有限公司 集成的光探测和数据处理装置、激光雷达及其探测方法
CN119375897A (zh) * 2023-07-25 2025-01-28 爱思开海力士有限公司 用于感测距离的图像感测装置
CN120871071A (zh) * 2024-04-15 2025-10-31 深圳引望智能技术有限公司 一种面阵列探测器、探测装置、激光雷达和终端

Citations (5)

* Cited by examiner, † Cited by third party
Publication number Priority date Publication date Assignee Title
US20110164132A1 (en) * 2010-01-06 2011-07-07 Mesa Imaging Ag Demodulation Sensor with Separate Pixel and Storage Arrays
US20120249998A1 (en) * 2009-09-11 2012-10-04 Robert Bosch Gmbh Optical Distance Measuring Device
JP2014081254A (ja) 2012-10-16 2014-05-08 Toyota Central R&D Labs Inc 光学的測距装置
US20150357360A1 (en) * 2014-06-10 2015-12-10 Hui Tian Layout and operation of pixels for image sensors
US20170366726A1 (en) * 2016-06-17 2017-12-21 Panasonic Intellectual Property Management Co., Ltd. Imaging apparatus including light source that emits pulsed light, image sensor, and control circuit

Family Cites Families (15)

* Cited by examiner, † Cited by third party
Publication number Priority date Publication date Assignee Title
JP2006253876A (ja) * 2005-03-09 2006-09-21 Sony Corp 物理量分布検知装置および物理量分布検知装置の駆動方法
JP2007288522A (ja) * 2006-04-17 2007-11-01 Fujifilm Corp 撮像装置及び固体撮像素子駆動方法
JP2008084962A (ja) * 2006-09-26 2008-04-10 Toshiba Corp 固体撮像装置及びその製造方法
US7674648B2 (en) * 2007-03-21 2010-03-09 Eastman Kodak Company Extended dynamic range using variable sensitivity pixels
EP2446301B1 (en) 2009-06-22 2018-08-01 Toyota Motor Europe Pulsed light optical rangefinder
JP5553707B2 (ja) * 2009-08-21 2014-07-16 株式会社半導体エネルギー研究所 光検出装置
DE102009029364A1 (de) 2009-09-11 2011-03-24 Robert Bosch Gmbh Messvorrichtung zur Messung einer Entfernung zwischen der Messvorrichtung und einem Zielobjekt mit Hilfe optischer Messstrahlung
JP2016103708A (ja) * 2014-11-27 2016-06-02 株式会社ソシオネクスト 撮像装置および撮像方法
JP6785429B2 (ja) * 2015-12-03 2020-11-18 パナソニックIpマネジメント株式会社 撮像装置
JP6650261B2 (ja) 2015-12-21 2020-02-19 浜松ホトニクス株式会社 光電変換素子
WO2017138370A1 (ja) * 2016-02-09 2017-08-17 ソニー株式会社 固体撮像素子およびその製造方法、並びに電子機器
WO2018181978A1 (ja) * 2017-03-31 2018-10-04 株式会社デンソー 光検出器
CN107607960B (zh) * 2017-10-19 2024-12-20 深圳市欢创科技股份有限公司 一种光学测距的方法及装置
JP7246863B2 (ja) 2018-04-20 2023-03-28 ソニーセミコンダクタソリューションズ株式会社 受光装置、車両制御システム及び測距装置
CA3239810A1 (en) * 2019-03-08 2020-09-17 Leddartech Inc. Method, system and computer readable medium for evaluating influence of an action performed by an external entity

Patent Citations (5)

* Cited by examiner, † Cited by third party
Publication number Priority date Publication date Assignee Title
US20120249998A1 (en) * 2009-09-11 2012-10-04 Robert Bosch Gmbh Optical Distance Measuring Device
US20110164132A1 (en) * 2010-01-06 2011-07-07 Mesa Imaging Ag Demodulation Sensor with Separate Pixel and Storage Arrays
JP2014081254A (ja) 2012-10-16 2014-05-08 Toyota Central R&D Labs Inc 光学的測距装置
US20150357360A1 (en) * 2014-06-10 2015-12-10 Hui Tian Layout and operation of pixels for image sensors
US20170366726A1 (en) * 2016-06-17 2017-12-21 Panasonic Intellectual Property Management Co., Ltd. Imaging apparatus including light source that emits pulsed light, image sensor, and control circuit

Cited By (4)

* Cited by examiner, † Cited by third party
Publication number Priority date Publication date Assignee Title
US12399259B2 (en) 2020-08-24 2025-08-26 Kabushiki Kaisha Toshiba Light-receiving apparatus and electronic device
WO2022150126A1 (en) * 2021-01-11 2022-07-14 Microsoft Technology Licensing, Llc Photodiode assembly
US11509848B2 (en) 2021-01-11 2022-11-22 Microsoft Technology Licensing, Llc Photodiode assembly
TWI905331B (zh) 2021-01-11 2025-11-21 美商微軟技術授權有限責任公司 光電二極體組件

Also Published As

Publication number Publication date
US20210025990A1 (en) 2021-01-28
DE112019002068T5 (de) 2021-01-28
KR102740857B1 (ko) 2024-12-09
EP3781967A1 (en) 2021-02-24
JP2019190892A (ja) 2019-10-31
TWI885453B (zh) 2025-06-01
TWI815877B (zh) 2023-09-21
TW202349027A (zh) 2023-12-16
KR20210003711A (ko) 2021-01-12
CN210166495U (zh) 2020-03-20
TW202001288A (zh) 2020-01-01
US12474451B2 (en) 2025-11-18
US11714172B2 (en) 2023-08-01
JP7246863B2 (ja) 2023-03-28
US20230251357A1 (en) 2023-08-10
CN110389332A (zh) 2019-10-29

Similar Documents

Publication Publication Date Title
US12474451B2 (en) Light reception device and distance measurement device
JP7511562B2 (ja) 受光装置及び受光装置の制御方法、並びに、測距装置
US12247872B2 (en) Light receiving device and distance measuring device including resistor and transistors between light receiving element and readout circuit
WO2021111766A1 (ja) 受光装置及び受光装置の制御方法、並びに、測距装置
JP7568504B2 (ja) 受光装置及び測距装置
WO2022091607A1 (ja) 受光装置及び測距装置
WO2020121736A1 (ja) 光検出装置及び測距装置
JP2023066297A (ja) 光検出装置および測距システム
CN112840183B (zh) 光检测装置、光检测装置的控制方法和测距装置
WO2021124762A1 (ja) 受光装置及び受光装置の制御方法、並びに、測距装置
WO2020153182A1 (ja) 光検出装置及び光検出装置の駆動方法、並びに、測距装置
US20220342040A1 (en) Light reception device, distance measurement apparatus, and method of controlling distance measurement apparatus

Legal Events

Date Code Title Description
121 Ep: the epo has been informed by wipo that ep was designated in this application

Ref document number: 19719629

Country of ref document: EP

Kind code of ref document: A1

WWE Wipo information: entry into national phase

Ref document number: 2019719629

Country of ref document: EP