WO2019073667A1 - パッチアンテナおよび車載用アンテナ装置 - Google Patents

パッチアンテナおよび車載用アンテナ装置 Download PDF

Info

Publication number
WO2019073667A1
WO2019073667A1 PCT/JP2018/028892 JP2018028892W WO2019073667A1 WO 2019073667 A1 WO2019073667 A1 WO 2019073667A1 JP 2018028892 W JP2018028892 W JP 2018028892W WO 2019073667 A1 WO2019073667 A1 WO 2019073667A1
Authority
WO
WIPO (PCT)
Prior art keywords
metal
metal wall
radiation element
patch antenna
vehicle
Prior art date
Legal status (The legal status is an assumption and is not a legal conclusion. Google has not performed a legal analysis and makes no representation as to the accuracy of the status listed.)
Ceased
Application number
PCT/JP2018/028892
Other languages
English (en)
French (fr)
Japanese (ja)
Inventor
威 山保
Current Assignee (The listed assignees may be inaccurate. Google has not performed a legal analysis and makes no representation or warranty as to the accuracy of the list.)
Yokowo Co Ltd
Original Assignee
Yokowo Co Ltd
Yokowo Mfg Co Ltd
Priority date (The priority date is an assumption and is not a legal conclusion. Google has not performed a legal analysis and makes no representation as to the accuracy of the date listed.)
Filing date
Publication date
Application filed by Yokowo Co Ltd, Yokowo Mfg Co Ltd filed Critical Yokowo Co Ltd
Priority to US16/649,137 priority Critical patent/US11476565B2/en
Priority to CN201880063746.3A priority patent/CN111164831B/zh
Priority to EP18866316.5A priority patent/EP3696914A4/en
Publication of WO2019073667A1 publication Critical patent/WO2019073667A1/ja
Anticipated expiration legal-status Critical
Ceased legal-status Critical Current

Links

Images

Classifications

    • HELECTRICITY
    • H01ELECTRIC ELEMENTS
    • H01QANTENNAS, i.e. RADIO AERIALS
    • H01Q1/00Details of, or arrangements associated with, antennas
    • H01Q1/27Adaptation for use in or on movable bodies
    • H01Q1/32Adaptation for use in or on road or rail vehicles
    • H01Q1/325Adaptation for use in or on road or rail vehicles characterised by the location of the antenna on the vehicle
    • H01Q1/3283Adaptation for use in or on road or rail vehicles characterised by the location of the antenna on the vehicle side-mounted antennas, e.g. bumper-mounted, door-mounted
    • HELECTRICITY
    • H01ELECTRIC ELEMENTS
    • H01QANTENNAS, i.e. RADIO AERIALS
    • H01Q1/00Details of, or arrangements associated with, antennas
    • H01Q1/42Housings not intimately mechanically associated with radiating elements, e.g. radome
    • HELECTRICITY
    • H01ELECTRIC ELEMENTS
    • H01QANTENNAS, i.e. RADIO AERIALS
    • H01Q1/00Details of, or arrangements associated with, antennas
    • H01Q1/48Earthing means; Earth screens; Counterpoises
    • HELECTRICITY
    • H01ELECTRIC ELEMENTS
    • H01QANTENNAS, i.e. RADIO AERIALS
    • H01Q19/00Combinations of primary active antenna elements and units with secondary devices, e.g. with quasi-optical devices, for giving the antenna a desired directional characteristic
    • H01Q19/10Combinations of primary active antenna elements and units with secondary devices, e.g. with quasi-optical devices, for giving the antenna a desired directional characteristic using reflecting surfaces
    • H01Q19/106Combinations of primary active antenna elements and units with secondary devices, e.g. with quasi-optical devices, for giving the antenna a desired directional characteristic using reflecting surfaces using two or more intersecting plane surfaces, e.g. corner reflector antennas
    • HELECTRICITY
    • H01ELECTRIC ELEMENTS
    • H01QANTENNAS, i.e. RADIO AERIALS
    • H01Q9/00Electrically-short antennas having dimensions not more than twice the operating wavelength and consisting of conductive active radiating elements
    • H01Q9/04Resonant antennas
    • H01Q9/0407Substantially flat resonant element parallel to ground plane, e.g. patch antenna
    • HELECTRICITY
    • H01ELECTRIC ELEMENTS
    • H01QANTENNAS, i.e. RADIO AERIALS
    • H01Q1/00Details of, or arrangements associated with, antennas
    • H01Q1/12Supports; Mounting means
    • H01Q1/22Supports; Mounting means by structural association with other equipment or articles
    • H01Q1/24Supports; Mounting means by structural association with other equipment or articles with receiving set
    • H01Q1/241Supports; Mounting means by structural association with other equipment or articles with receiving set used in mobile communications, e.g. GSM
    • HELECTRICITY
    • H01ELECTRIC ELEMENTS
    • H01QANTENNAS, i.e. RADIO AERIALS
    • H01Q1/00Details of, or arrangements associated with, antennas
    • H01Q1/27Adaptation for use in or on movable bodies
    • H01Q1/32Adaptation for use in or on road or rail vehicles
    • H01Q1/3208Adaptation for use in or on road or rail vehicles characterised by the application wherein the antenna is used

Definitions

  • the present invention relates to a patch antenna and an on-vehicle antenna device.
  • a patch antenna is known as a planar antenna having square or circular small-area radiating elements.
  • the application of the patch antenna is wide, and Patent Document 1 can receive a circularly polarized signal of a satellite wave and a linearly polarized signal of a ground wave, and can reduce the height when placed. It is disclosed.
  • the conventional patch antenna generally has a configuration including a plate-like radiating element and a plate-like ground plane disposed in parallel to the radiation element. Therefore, the directivity in the direction normal to the plate surface of the radiation element (90-degree elevation angle viewed from the center of the radiation element) is strong.
  • the directivity of each azimuth in the direction of the plate surface which is the extension direction of the plate surface of the radiating element viewed from the center of the radiating element called Azimuth direction or azimuthal direction, that is, each orientation in the plate surface direction of the radiating element
  • the directivity is relatively high in the direction parallel to the line connecting the center of the radiating element and the feeding point, but the gain is compared in the direction intersecting the line connecting the center of the radiating element and the feeding point Lower.
  • a plate-like radiation element and a metal wall part provided outside the periphery of the radiation element such that the wall intersects with a line connecting the center of the radiation element and the feeding point.
  • a patch antenna and
  • the metal wall portion is provided on the outer side of the periphery of the radiation element so that the wall surface intersects with the line connecting the center of the radiation element and the feeding point.
  • the metal wall portion can change the radiation characteristics of radio waves. Therefore, it is possible to realize a technique capable of improving the gain in the direction intersecting the line connecting the center of the radiation element and the feeding point in the plate surface direction of the radiation element.
  • a second aspect of the present invention is the patch antenna according to the first aspect, wherein the metal wall portion protrudes in the radial direction from the radiation element.
  • the metal wall portion protrudes in the radial direction from the radiation element, the radiation characteristic can be largely changed.
  • a third aspect of the present invention is the patch antenna according to the first or second aspect, wherein the metal wall portion is disposed in electrical non-conduction with the ground plane.
  • the metal wall portion is electrically disconnected from the ground plate. Therefore, the interaction between the metal wall portion and the ground plate functioning as the ground can be reduced or suppressed.
  • a metal portion in which a base portion and the metal wall portion are formed of a bent-shaped metal, and the base plate is spaced apart from the base portion so as not to electrically connect with the metal portion. It is a patch antenna which concerns on a 3rd aspect provided with the antenna main-body part which is installed in a conduction
  • the metal wall portion is disposed on both sides of the radiation element, and the metal portion has a central portion as the base portion and one end side and the other end side as the metal wall portion. It is a patch antenna concerning the 4th mode which has a bent shape.
  • the metal wall can be formed by the bent metal, the metal wall can be easily manufactured.
  • the arrangement configuration of the metal portion and the antenna main portion can also be a relatively simple structure. For this reason, it is possible to easily manufacture a patch antenna that exhibits the effects according to the first to third aspects.
  • a sixth aspect of the present invention is the patch antenna according to any one of the first to fifth aspects, wherein the metal wall portion is configured as a metal thin film.
  • the thickness of the metal wall can be reduced. Therefore, the patch antenna can be miniaturized.
  • a seventh aspect of the present invention is an on-vehicle antenna device including the patch antenna according to any one of the first to sixth aspects, wherein a housing installed in a predetermined direction at a predetermined position of a vehicle; And a supporting portion for supporting the patch antenna such that the patch antenna is for vertical polarization.
  • the seventh aspect it is possible to realize a vertically polarized on-vehicle antenna device in which the gain in the direction intersecting the line connecting the center of the radiation element and the feeding point in the plate surface direction of the radiation element is improved.
  • FIG. 3 is a longitudinal sectional view of the in-vehicle antenna device taken along the III-III section of FIG. 2;
  • FIG. 4 is an exploded view of the in-vehicle antenna device corresponding to FIG. 3;
  • the longitudinal cross-sectional view which longitudinally cut the vehicle-mounted antenna apparatus of a modification along the VIII-VIII cross section of FIG. The gain characteristic graph at the time of using a vehicle-mounted antenna apparatus as a circular polarization antenna.
  • the directions are defined as follows.
  • the direction from the dielectric substrate 32 toward the radiation element 31 Is called "radial direction”.
  • the radiation direction is not the two directions from the dielectric substrate 32 to the radiation element 31 and the direction from the radiation element 31 to the dielectric substrate 32, but the direction is fixed.
  • left-handed orthogonal three axes are defined. The coordinate origin of the orthogonal three axes is taken as the plate surface center of the radiation element 31.
  • reference directions indicating directions parallel to the directions of the orthogonal three axes are added to the respective drawings.
  • the reference direction is used because the origin of the orthogonal three axes is exactly at the plate surface center of the radiation element 31. It is shown as a reference for direction only.
  • the normal direction to the plate surface of the radiation element 31 is taken as the Z-axis direction, and the radial direction is taken as the Z-axis positive direction.
  • the direction along the line connecting the center of the radiation element 31 and the feed point (also described as core wire attachment hole) 31h is taken as the X-axis direction (see FIG. 2).
  • the direction from the center of the radiation element 31 toward the feed point 31h is The X axis is in the positive direction. It becomes obvious that the Y-axis direction and the Y-axis positive direction are three left-handed orthogonal axes and that the X-axis positive direction and the Z-axis positive direction are defined.
  • the elevation angle 90 ° direction when the direction (plate surface direction) along the plate surface of the radiation element 31 is an azimuth as viewed from the center of the radiation element 31 (orthogonal three-axis origin)
  • the direction from the center of the radiation element 31 toward the feeding point 31h is the positive direction of the X axis
  • the positive direction of the X axis from the positive direction of the Z axis to the negative direction of the Z axis is 12 o'clock.
  • the azimuth in the time direction is the Y-axis positive direction.
  • the plate surface direction of the radiation element 31 may be called an azimuth direction, an azimuth direction, or the like.
  • X-axis direction means a direction parallel to the X-axis, and includes ⁇ both directions of the X-axis positive direction and the X-axis negative direction. The same applies to the Y-axis direction and the Z-axis direction. Therefore, each axial direction is the reference direction shown in each figure.
  • the E plane, which is the electric field surface of the radiation element 31, and the H plane, which is the magnetic field surface, are in the X axis direction and the Z axis direction
  • the YZ direction plane including the XZ direction plane including the E plane and the Y axis direction and the Z axis direction is the H plane. If the E plane and the H plane are defined in another expression, the plane including the direction perpendicular to the plate surface of the radiating element 31 and the direction of the line connecting the center of the radiating element 31 and the feeding point 31 h is the E plane, A plane perpendicular to the E plane and including a direction perpendicular to the plate surface of the radiation element 31 is the H plane.
  • FIG. 1 is a perspective external view showing a configuration example of the on-vehicle antenna device 10 of the present embodiment, and a conceptual view showing a usage example.
  • the in-vehicle antenna device 10 is an antenna device provided with an in-vehicle antenna for V2X (Vehicle-to-everything) communication equipped with a patch antenna, and is installed in a predetermined direction at a predetermined position of the vehicle 3 via the coaxial cable 4 Are connected to the V2X controller 5.
  • V2X Vehicle-to-everything
  • the on-vehicle antenna device 10 is installed on an upper portion of a windshield (for example, near a rearview mirror) in a vehicle such that a radiation direction is directed to the front of the vehicle.
  • a radiation direction is directed to the front of the vehicle.
  • forward means the forward direction of the vehicle.
  • the installation position and the installation number of the on-vehicle antenna device 10 can be appropriately changed according to the assumed environmental conditions such as the communication target. For example, multiple locations may be provided.
  • the installation location may be, for example, the upper part of the dashboard, a bumper, a mounting portion of a license plate, a pillar portion such as an A-pillar, or the like.
  • the on-vehicle antenna device 10 may be installed on the rear glass in the vehicle so that the radiation direction is directed to the rear of the vehicle.
  • the term "rearward" means the backward direction of the vehicle.
  • the on-vehicle antenna device 10 may be installed such that the radiation direction is directed to the right or left of the vehicle.
  • the right direction means the right direction toward the forward direction of the vehicle
  • the left direction means the left direction toward the forward direction of the vehicle.
  • the on-vehicle antenna device 10 may be installed on the roof of a vehicle or the like.
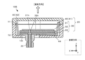
  • the on-vehicle antenna device 10 of the present embodiment has a rectangular parallelepiped appearance, and incorporates the patch antenna 20 in the case of the division structure of the first housing 11 and the second housing 12 divided in the radiation direction.
  • the patch antenna 20 suitably functions as an antenna for vertical polarization by being mounted on the vehicle 3 by the support portion 13 for mounting on the vehicle body provided on the side of the housing.
  • the support portion 13 is a boss for inserting a bolt or a screw used for installing the in-vehicle antenna device 10, and both left and right side surfaces (both side surfaces in the Y-axis direction) viewed from the vehicle 3.
  • the configuration is provided for each, the setting position and the number of setting of the support portion 13 can be appropriately selected.
  • the method of installing and fixing the in-vehicle antenna device 10 is not limited to the method using bolts and screws, and other methods may be used, and accordingly, the support portion 13 appropriately adopts a structure suitable for the method such as a clip structure. be able to.
  • the support portion 13 supports the first housing 11 and the second housing 12 so that the first housing 11 and the second housing 12 are installed at a predetermined position of the vehicle 3 in a predetermined direction. That is, by placing the first housing 11 and the second housing 12 at a predetermined position of the vehicle 3 in a predetermined direction, the support 13 is patched so that the patch antenna 20 functions as an antenna for vertical polarization. It becomes suitable to support the antenna 20.
  • FIG. 2 is a view for explaining an example of the internal configuration of the in-vehicle antenna device 10, in which the first housing 11 is removed and the inside of the second housing 12 is viewed from the Z-axis positive direction. is there.
  • FIG. 3 is a view for explaining an example of the internal configuration of the in-vehicle antenna device 10, and the in-vehicle antenna device 10 including the first housing 11 is taken along the III-III cross section of FIG. It is the longitudinal cross-sectional view cut longitudinally.
  • FIG. 4 is an exploded view of the on-vehicle antenna device 10 including the first housing 11, and is an exploded view of the on-vehicle antenna device 10 shown in FIG.
  • the first housing 11 defines an upper accommodation space 11 a which is a recess
  • the second enclosure 12 defines a lower accommodation space 12 a which is a recess.
  • the upper housing space 11 a and the lower housing space 12 a become one continuous housing space by assembling the first housing 11 and the second housing 12.
  • the patch antenna 20 is installed so as to be mainly accommodated in the lower accommodation space 12 a in the accommodation space.
  • the patch antenna 20 includes an antenna main body 30 and a metal portion 40 in order from the top toward the FIGS.
  • the antenna main body 30 includes the radiation element 31, the dielectric substrate 32, and the ground plate 33 in order from the top toward the FIGS.
  • the antenna main body 30 can be created by applying the method of manufacturing a printed circuit board, as in the conventional patch antenna.
  • the radiation element 31 has a rectangular plate shape as viewed from the Z-axis positive direction, and is located at a position deviated from the center of the plate surface in the X-axis positive direction (direction along the polarization plane of the linear polarization of the patch antenna 20).
  • a core wire attachment hole 31h which is a through hole in the Z-axis direction for inserting and fixing the core wire 4a of the coaxial cable 4 is provided.
  • the core wire attachment hole 31 h serves as a feeding point. Therefore, the feeding point 31h will be appropriately described using the same reference numerals.
  • FIGS. 3 and 4 although the thickness of the radiation element 31 and the ground plane 33 in the Z-axis direction is intentionally drawn large so that the structure can be easily understood, in practice the thin plate, ie, a thin film is formed You may
  • the dielectric substrate 32 has a larger area than the radiation element 31 when viewed from the positive Z-axis direction.
  • a core wire insertion hole 32 h penetrating in the Z-axis direction is provided at a position communicating with the core wire attachment hole 31 h of the radiation element 31.
  • the ground plate 33 has the same shape as or a slightly smaller shape than the lower surface of the dielectric substrate 32 and has a core insertion hole 33 h communicating with the core attachment hole 31 h of the radiation element 31 and the core insertion hole 32 h of the dielectric substrate 32.
  • the coaxial connector for substrate 22 is mounted on the lower surface of the base plate 33 through the insertion hole 12 h provided in the bottom of the second housing 12 so as to be coaxial with the core wire insertion hole 33 h.
  • the core wire penetration hole 33h is illustrated on a large scale.
  • the core wire insertion hole 33h corresponds to the core attachment hole 31h or the core insertion hole 32h. It may have the same diameter.
  • the metal portion 40 is a sheet metal member in which both end portions in the X-axis direction are bent in the positive Z-axis direction.
  • the base portion 49 and the first metal wall portion are formed by bending the central portion of the metal plate to the base portion 49 and bending one end side and the other end side in the Z-axis positive direction by 90 degrees or approximately 90 degrees, respectively.
  • 41 and the second metal wall portion 42 are formed of bent metal. That is, the wall surfaces of the first metal wall portion 41 and the second metal wall portion 42 are provided in the direction along the H plane (the direction parallel or substantially parallel to the H plane).
  • the metal portion 40 is not a sheet metal, and may be, for example, a resin on which a metal thin film is formed. Alternatively, a metal thin film may be formed on the inner surface of the second housing 12 (which may include the inner surface of the first housing 11) to form the metal portion 40. This eliminates the need for the sheet metal material, so the on-vehicle antenna device 10 can be miniaturized. Also in these cases, the base portion 49, the first metal wall portion 41, and the second metal wall portion 42 are formed as bent metal.
  • the base portion 49 may be omitted, and the first metal wall portion 41 and the second metal wall portion 42 may be configured as a metal thin film. Furthermore, when only one of the first metal wall portion 41 and the second metal wall portion 42 is provided, one of them may be configured as a metal thin film.
  • the first metal wall portion 41 and the second metal wall portion 42 are flat plate portions parallel or substantially parallel to each other.
  • the lengths in the Z-axis direction of the first metal wall portion 41 and the second metal wall portion 42 are the upper surface of the antenna main body 30 (the upper end in FIG.
  • the surface of the radiation element 31 is set to project in the positive Z-axis direction side with respect to the Z-axis positive direction end surface).
  • a connector insertion hole 49h for inserting the substrate coaxial connector 22 and a protrusion 12t (see FIG. 4) which protrudes in the positive Z-axis direction from the bottom surface of the lower accommodation space 12a of the second housing 12 are inserted.
  • the metal portion 40 is fixed to the bottom of the second housing 12 by aligning the projection insertion hole 49 j of the base 49 with the projection 12 t of the second housing 12 inserted.
  • the fixing method may be appropriately selected, but for example, the metal portion 40 and the bottom of the second housing 12 may be bonded.
  • the protrusion 12t protrudes in the positive Z-axis direction from the base 49, and the lower surface (surface of the ground plate 33: end surface in the negative Z-axis direction) of the antenna main body 30 abuts on the tip thereof.
  • the part 12t is fixed.
  • the fixing method may be appropriately selected, but for example, the antenna main body 30 and the protrusion 12t may be adhered.
  • the distance from the upper surface (the end surface on the Z axis positive direction side) of the base portion 49 to the surface of the ground plane 33 be less than 2 mm.
  • an interval is provided so that the outer peripheral portion of the antenna main body 30 does not contact the metal portion 40. That is, the antenna main body 30 and the substrate coaxial connector 22 are electrically disconnected from the metal portion 40.
  • the space between the antenna main body 30 and the metal part 40 is a kind of a type that does not interfere with the propagation (conduction) of radio signals of V2X communication. It functions as a capacitor. Therefore, this space may be an air layer, that is, a space, or may be a resin layer which is an electrically insulating material. If a resin layer is used, the resin can also be used as a space replenisher and a bonding agent.
  • the antenna main body 30 and the metal portion 40 are nonconductive, various advantages occur. For example, it is possible to reduce or suppress the interaction between the ground plate 33 and the metal portion 40, and to suppress the variation in the characteristics and the electrical stability when mass-producing the in-vehicle antenna device 10. In addition, the mass production effect can be enhanced by using the antenna main body 30 as the same component as one incorporated in another antenna device.
  • FIG. 5 is a figure for demonstrating the effect of the vehicle-mounted antenna apparatus 10 of this embodiment, Comprising: It is a gain characteristic graph in H surface (YZ direction plane).
  • the antenna gain in which the positive Z-axis direction in the H plane is 0 degrees and the negative direction in the Z axis is -180 degrees is shown. Since +90 degrees and -90 degrees are in the Y-axis direction, +90 degrees and -90 degrees are orthogonal to the line connecting the center of the radiation element 31 and the feeding point 31h in the plate surface direction of the radiation element 31 .
  • the solid line indicates the characteristics of the on-vehicle antenna device 10 of the present embodiment, and the dotted line indicates the characteristics of a comparison configuration (conventional configuration) in which the metal portion 40 is omitted.
  • the first metal wall portion 41 and the second metal wall are arranged outside the periphery of the radiation element 31 so that the wall intersects with a line (X-axis direction) connecting the center of the radiation element 31 and the feeding point 31h.
  • the part 42 was provided.
  • a metal wall may be provided so that the wall intersects the Y-axis direction. In that case, it is possible to improve the gain in the direction of the line connecting the center of the radiation element 31 and the feeding point 31h.
  • FIG. 6A shows the H plane (YZ) when the wall heights of the first metal wall portion 41 and the second metal wall portion 42 (the projection length from the radiation element 31 (the length in the Z-axis direction)) are changed. Gain characteristic graph in the direction plane). Similarly to FIG. 5, the antenna gain in which the Z-axis positive direction in the H plane is 0 degrees and the Z-axis negative direction is ⁇ 180 degrees is shown. +90 degrees and -90 degrees are in the Y-axis direction.
  • the dotted line indicates the wall height of 0 mm
  • the solid line indicates the wall height of 3.5 mm corresponding to the present embodiment
  • the broken line indicates the wall height of 6.0 mm.
  • FIG. 6B is a view showing a cross section of the on-vehicle antenna device 10 equivalent to FIG. 3 in order to show the wall height.
  • the metal wall portion of the metal portion 40 is a line connecting the center of the radiation element 31 and the feeding point 31h outside the periphery of the antenna main body 30, ie, outside the periphery of the radiation element 31.
  • the radiation element 31 is provided on both sides of the radiation element 31 so as to intersect with the above.
  • the on-vehicle antenna device 10 B may be configured to have only one side.
  • FIG. 7 is a view showing an example of an internal configuration of the on-vehicle antenna device 10B in the case where one metal wall portion is provided on the outer side of the peripheral edge of the radiation element 31.
  • FIG. 8 is a longitudinal cross-sectional view of the in-vehicle antenna device 10B including the first housing 11 taken along the line VIII-VIII in FIG. 7 and 8 show an example in which the first metal wall portion 41 is omitted and the second metal wall portion 42 is left, but the second metal wall portion 42 is omitted and the first metal is omitted.
  • the wall 41 may be left.
  • the vehicle-mounted antenna apparatus 10B shown to FIG. 7, FIG. 8 is shown as an example of the circularly-polarized-wave antenna of the 2nd modification mentioned later which provided two feeding points, one like the said embodiment. It may be a linearly polarized antenna with only the feed point 31h. As described above, even in the case where the metal wall portion is set to only one side, the gain in the direction intersecting the line connecting the center of the radiation element 31 and the feeding point 31h in the plate surface direction of the radiation element 31 Can be improved.
  • the patch antenna 20 is a linearly polarized antenna, but as shown in FIGS. 7 and 8, a feeding point 31 j is provided in addition to the feeding point 31 h to provide a car antenna for a circularly polarized antenna. It can also be an apparatus 10B.
  • FIG. 9 is a gain characteristic graph in the H plane (plane in the YZ direction) in the case of a circularly polarized antenna. Similarly to FIG. 5, the antenna gain in which the Z-axis positive direction in the H plane is 0 degrees and the Z-axis negative direction is ⁇ 180 degrees is shown. +90 degrees and -90 degrees are in the Y-axis direction. In the solid line in FIG.
  • the metal wall portion is in a state in which the first metal wall portion 41 and the second metal wall portion 42 are present as in the above embodiment.
  • the patch antenna is a circularly polarized antenna, in the plane direction of the radiating element 31, the direction orthogonal to the line connecting the center of the radiating element 31 and the feeding point 31h is obtained. It can be seen that the gain can be improved around ⁇ 90 degrees.
  • FIG. 10 is a gain characteristic graph in the H plane (plane in the YZ direction) in the case of a quadrilateral configuration in which metal walls are provided on all four sides surrounding the radiating element 31.
  • the antenna gain in which the Z-axis positive direction in the H plane is 0 degrees and the Z-axis negative direction is ⁇ 180 degrees is shown. +90 degrees and -90 degrees are in the Y-axis direction.
  • the characteristics of the above-described embodiment the configuration in which the metal wall portions are provided on both sides across the radiation element 31
  • the metal wall portion is omitted.
  • the characteristic is shown by a dotted line
  • the characteristic in the case of the configuration of a square box is indicated by a dashed dotted line.
  • numerical values of gains at ⁇ 90 degrees are shown in the table.
  • the center of the radiation element 31 and the feeding point in the plate surface direction of the radiation element 31 are compared with the comparison configuration (conventional configuration) in which the metal wall portion is omitted as compared with the comparison configuration (conventional configuration). It can be seen that the gain in the vicinity of ⁇ 90 degrees in the direction orthogonal to the line connecting 31h can be improved.
  • FIG. 11 is a gain characteristic graph in the H plane (plane in the YZ direction) in the case of an L-shaped arrangement in which metal wall portions are provided in the L-shape on two adjacent sides among the four circumferences surrounding the radiation element 31.
  • the antenna gain in which the Z-axis positive direction in the H plane is 0 degrees and the Z-axis negative direction is ⁇ 180 degrees is shown. +90 degrees and -90 degrees are in the Y-axis direction.
  • the characteristics of the above-described embodiment the configuration in which the metal wall portions are provided on both sides across the radiation element 31
  • the characteristic is indicated by a dotted line
  • the characteristic in the case of the L-shaped arrangement is indicated by a two-dot chain line.
  • numerical values of gains at ⁇ 90 degrees are shown in the table.
  • the center of the radiating element 31 and the feed in the plate surface direction of the radiating element 31 are also supplied It can be seen that the gain in the vicinity of ⁇ 90 degrees in the direction orthogonal to the line connecting the point 31 h can be improved.
  • the feeding system of the radiation element 31 is the back-axis coaxial feeding, as shown in FIG. 12, the microstrip line 34 is provided to configure the on-vehicle antenna device 10C in the form of coplanar feeding. It can also be done.
  • the 1st metal wall part 41, the base part 49, and the 2nd metal wall part 42 are the integral metal parts 40 by making it the bending shape which bent the one end part and the other end part of a metal plate.
  • the base portion 49 is omitted, and the first metal wall portion 41 and the second metal wall portion 42 are configured as independent metal parts, respectively. May be realized.
  • the base plate 33 and the metal portion 40 are illustrated as being in the non-conductive state, but as shown in FIG. It may be realized.
  • the ground plate 33 and the metal portion 40 may be integrated.
  • the 1st metal wall part 41 and the 2nd metal wall part 42 were comprised so that it might become parallel or substantially parallel with Z-axis direction, the 1st metal wall part 41 and the 2nd metal wall part In 42, the wall surfaces do not necessarily have to be parallel.
  • the tip is inclined so as to be close to the center side of the antenna main body 30, and as shown in FIG. 14, the tip is inclined to be away from the antenna main body 30. It may be a posture. If the gain in the direction intersecting the line connecting the center of the radiating element 31 and the feeding point 31h in the plate surface direction of the radiating element 31 is improved, what kind of first metal wall portion 41 and second metal wall portion 42 are It may be inclined at an angle.

Landscapes

  • Engineering & Computer Science (AREA)
  • Remote Sensing (AREA)
  • Waveguide Aerials (AREA)
  • Details Of Aerials (AREA)
  • Support Of Aerials (AREA)
PCT/JP2018/028892 2017-10-13 2018-08-01 パッチアンテナおよび車載用アンテナ装置 Ceased WO2019073667A1 (ja)

Priority Applications (3)

Application Number Priority Date Filing Date Title
US16/649,137 US11476565B2 (en) 2017-10-13 2018-08-01 Patch antenna and antenna device for vehicle
CN201880063746.3A CN111164831B (zh) 2017-10-13 2018-08-01 贴片天线以及车载用天线装置
EP18866316.5A EP3696914A4 (en) 2017-10-13 2018-08-01 PATCH ANTENNA AND VEHICLE MOUNTED ANTENNA DEVICE

Applications Claiming Priority (2)

Application Number Priority Date Filing Date Title
JP2017199095A JP6971119B2 (ja) 2017-10-13 2017-10-13 パッチアンテナおよび車載用アンテナ装置
JP2017-199095 2017-10-13

Publications (1)

Publication Number Publication Date
WO2019073667A1 true WO2019073667A1 (ja) 2019-04-18

Family

ID=66101432

Family Applications (1)

Application Number Title Priority Date Filing Date
PCT/JP2018/028892 Ceased WO2019073667A1 (ja) 2017-10-13 2018-08-01 パッチアンテナおよび車載用アンテナ装置

Country Status (5)

Country Link
US (1) US11476565B2 (enExample)
EP (1) EP3696914A4 (enExample)
JP (1) JP6971119B2 (enExample)
CN (1) CN111164831B (enExample)
WO (1) WO2019073667A1 (enExample)

Cited By (1)

* Cited by examiner, † Cited by third party
Publication number Priority date Publication date Assignee Title
JP2024120888A (ja) * 2023-02-24 2024-09-05 株式会社デンソー アンテナ構造による通信および位置検索のためのmimoベースのシステムおよび方法

Families Citing this family (7)

* Cited by examiner, † Cited by third party
Publication number Priority date Publication date Assignee Title
CN115411507A (zh) 2018-04-24 2022-11-29 Agc株式会社 车辆用天线、附带车辆用天线的窗玻璃及天线系统
CN116210126A (zh) 2020-09-28 2023-06-02 株式会社友华 贴片天线
CN118355562A (zh) 2021-12-03 2024-07-16 Agc株式会社 天线装置及车辆用天线装置
JPWO2023112866A1 (enExample) * 2021-12-14 2023-06-22
DE112022005103T5 (de) * 2021-12-24 2024-08-29 Yokowo Co., Ltd. Patch-Antenne und Antennenvorrichtung
WO2023132715A1 (ko) * 2022-01-07 2023-07-13 주식회사 케이엠더블유 안테나 보드 어셈블리 및 이를 포함하는 안테나 장치
CN114678686A (zh) * 2022-04-20 2022-06-28 泰州苏中天线集团有限公司 车联网v2x天线

Citations (7)

* Cited by examiner, † Cited by third party
Publication number Priority date Publication date Assignee Title
JPH03157005A (ja) * 1989-08-21 1991-07-05 Mitsubishi Electric Corp マイクロストリップアンテナ
JP2002009537A (ja) * 2000-06-22 2002-01-11 Furukawa Electric Co Ltd:The アンテナ
JP2003347838A (ja) 2002-05-30 2003-12-05 Yokowo Co Ltd アンテナ装置
JP2004320214A (ja) * 2003-04-14 2004-11-11 Mitsubishi Electric Corp 狭域通信車載器
JP2005294892A (ja) * 2004-03-31 2005-10-20 Maspro Denkoh Corp アンテナ装置及びギャップフィラーシステム
WO2008136408A1 (ja) * 2007-04-27 2008-11-13 Nec Corporation 金属壁付きパッチアンテナ
JP2012070156A (ja) * 2010-09-22 2012-04-05 Nippon Soken Inc 複合アンテナ

Family Cites Families (13)

* Cited by examiner, † Cited by third party
Publication number Priority date Publication date Assignee Title
JP3739230B2 (ja) * 1999-04-26 2006-01-25 株式会社日立製作所 高周波通信装置
BR0109773A (pt) * 2000-04-04 2003-01-21 Huber+Suhner Ag Antena de comunicação de banda larga
JP3926089B2 (ja) * 2000-09-26 2007-06-06 原田工業株式会社 車載用平面アンテナ装置
JP4053486B2 (ja) * 2003-09-29 2008-02-27 株式会社ヨコオ マイクロストリップアンテナ
DE102006038528B3 (de) 2006-08-17 2007-11-22 Kathrein-Werke Kg Abstimmbare Antenne planarer Bauart
JP4807413B2 (ja) * 2006-12-15 2011-11-02 株式会社村田製作所 アンテナおよびそのアンテナを備えた通信装置
DE112008003704T5 (de) * 2008-02-04 2010-12-09 AGC Automotive Americas R&D, Inc., Ypsilanti Hohlraumgekoppelte Mehrelementantenne
US7936306B2 (en) * 2008-09-23 2011-05-03 Kathrein-Werke Kg Multilayer antenna arrangement
JP4976533B2 (ja) 2010-09-10 2012-07-18 Dxアンテナ株式会社 アンテナ
EP2477275A1 (en) * 2011-01-12 2012-07-18 Alcatel Lucent Patch antenna
CN202930564U (zh) * 2012-11-29 2013-05-08 深圳市鼎耀科技有限公司 一种多频卫星导航天线
CN106797071B (zh) * 2015-02-05 2019-12-24 株式会社藤仓 车载用天线装置
US10347991B2 (en) * 2016-05-08 2019-07-09 Tubis Technology, Inc. Orthogonally polarized dual frequency co-axially stacked phased-array patch antenna apparatus and article of manufacture

Patent Citations (7)

* Cited by examiner, † Cited by third party
Publication number Priority date Publication date Assignee Title
JPH03157005A (ja) * 1989-08-21 1991-07-05 Mitsubishi Electric Corp マイクロストリップアンテナ
JP2002009537A (ja) * 2000-06-22 2002-01-11 Furukawa Electric Co Ltd:The アンテナ
JP2003347838A (ja) 2002-05-30 2003-12-05 Yokowo Co Ltd アンテナ装置
JP2004320214A (ja) * 2003-04-14 2004-11-11 Mitsubishi Electric Corp 狭域通信車載器
JP2005294892A (ja) * 2004-03-31 2005-10-20 Maspro Denkoh Corp アンテナ装置及びギャップフィラーシステム
WO2008136408A1 (ja) * 2007-04-27 2008-11-13 Nec Corporation 金属壁付きパッチアンテナ
JP2012070156A (ja) * 2010-09-22 2012-04-05 Nippon Soken Inc 複合アンテナ

Cited By (1)

* Cited by examiner, † Cited by third party
Publication number Priority date Publication date Assignee Title
JP2024120888A (ja) * 2023-02-24 2024-09-05 株式会社デンソー アンテナ構造による通信および位置検索のためのmimoベースのシステムおよび方法

Also Published As

Publication number Publication date
US11476565B2 (en) 2022-10-18
JP6971119B2 (ja) 2021-11-24
CN111164831A (zh) 2020-05-15
CN111164831B (zh) 2023-01-10
EP3696914A4 (en) 2021-06-30
JP2019075644A (ja) 2019-05-16
EP3696914A1 (en) 2020-08-19
US20200295444A1 (en) 2020-09-17

Similar Documents

Publication Publication Date Title
WO2019073667A1 (ja) パッチアンテナおよび車載用アンテナ装置
JP7634032B2 (ja) アンテナ装置
EP2538489B1 (en) Composite resonating antenna structure
JP7146418B2 (ja) パッチアンテナ
JP7550328B2 (ja) パッチアンテナ
JP2018074263A (ja) 車両用アンテナ及びアンテナ付き窓ガラス
JP7782156B2 (ja) 車両用無線装置
WO2023127835A1 (ja) パッチアンテナ及びアンテナ装置
CN218160806U (zh) 贴片天线以及天线装置
US20240014561A1 (en) Antenna device
WO2023026790A1 (ja) アンテナ装置
WO2024116430A1 (ja) アンテナ装置
US20240322435A1 (en) Antenna device and vehicle antenna device
JP2007329735A (ja) 無線通信モジュールおよびその製造方法
JP3804924B2 (ja) 平面アンテナ
WO2024176729A1 (ja) アンテナ及びアンテナの製造方法
WO2024034680A1 (ja) パッチアンテナ
JP2007336279A (ja) アンテナ
WO2025191968A1 (ja) アンテナ及びアンテナ装置
JP2009032622A (ja) 接点装置及びガラスアンテナ装置

Legal Events

Date Code Title Description
121 Ep: the epo has been informed by wipo that ep was designated in this application

Ref document number: 18866316

Country of ref document: EP

Kind code of ref document: A1

NENP Non-entry into the national phase

Ref country code: DE

ENP Entry into the national phase

Ref document number: 2018866316

Country of ref document: EP

Effective date: 20200513