WO2018221392A1 - 物体検知システム - Google Patents

物体検知システム Download PDF

Info

Publication number
WO2018221392A1
WO2018221392A1 PCT/JP2018/020077 JP2018020077W WO2018221392A1 WO 2018221392 A1 WO2018221392 A1 WO 2018221392A1 JP 2018020077 W JP2018020077 W JP 2018020077W WO 2018221392 A1 WO2018221392 A1 WO 2018221392A1
Authority
WO
WIPO (PCT)
Prior art keywords
wave
object detection
frequency
transmission
reception
Prior art date
Legal status (The legal status is an assumption and is not a legal conclusion. Google has not performed a legal analysis and makes no representation as to the accuracy of the status listed.)
Ceased
Application number
PCT/JP2018/020077
Other languages
English (en)
French (fr)
Japanese (ja)
Inventor
充保 松浦
岳人 原田
優 小山
卓也 野村
真和 竹市
Current Assignee (The listed assignees may be inaccurate. Google has not performed a legal analysis and makes no representation or warranty as to the accuracy of the list.)
Denso Corp
Original Assignee
Denso Corp
Priority date (The priority date is an assumption and is not a legal conclusion. Google has not performed a legal analysis and makes no representation as to the accuracy of the date listed.)
Filing date
Publication date
Application filed by Denso Corp filed Critical Denso Corp
Priority to DE112018002734.1T priority Critical patent/DE112018002734T5/de
Publication of WO2018221392A1 publication Critical patent/WO2018221392A1/ja
Anticipated expiration legal-status Critical
Ceased legal-status Critical Current

Links

Images

Classifications

    • GPHYSICS
    • G01MEASURING; TESTING
    • G01SRADIO DIRECTION-FINDING; RADIO NAVIGATION; DETERMINING DISTANCE OR VELOCITY BY USE OF RADIO WAVES; LOCATING OR PRESENCE-DETECTING BY USE OF THE REFLECTION OR RERADIATION OF RADIO WAVES; ANALOGOUS ARRANGEMENTS USING OTHER WAVES
    • G01S15/00Systems using the reflection or reradiation of acoustic waves, e.g. sonar systems
    • G01S15/88Sonar systems specially adapted for specific applications
    • G01S15/93Sonar systems specially adapted for specific applications for anti-collision purposes
    • G01S15/931Sonar systems specially adapted for specific applications for anti-collision purposes of land vehicles
    • BPERFORMING OPERATIONS; TRANSPORTING
    • B60VEHICLES IN GENERAL
    • B60RVEHICLES, VEHICLE FITTINGS, OR VEHICLE PARTS, NOT OTHERWISE PROVIDED FOR
    • B60R21/00Arrangements or fittings on vehicles for protecting or preventing injuries to occupants or pedestrians in case of accidents or other traffic risks
    • GPHYSICS
    • G01MEASURING; TESTING
    • G01SRADIO DIRECTION-FINDING; RADIO NAVIGATION; DETERMINING DISTANCE OR VELOCITY BY USE OF RADIO WAVES; LOCATING OR PRESENCE-DETECTING BY USE OF THE REFLECTION OR RERADIATION OF RADIO WAVES; ANALOGOUS ARRANGEMENTS USING OTHER WAVES
    • G01S15/00Systems using the reflection or reradiation of acoustic waves, e.g. sonar systems
    • G01S15/87Combinations of sonar systems
    • GPHYSICS
    • G01MEASURING; TESTING
    • G01SRADIO DIRECTION-FINDING; RADIO NAVIGATION; DETERMINING DISTANCE OR VELOCITY BY USE OF RADIO WAVES; LOCATING OR PRESENCE-DETECTING BY USE OF THE REFLECTION OR RERADIATION OF RADIO WAVES; ANALOGOUS ARRANGEMENTS USING OTHER WAVES
    • G01S7/00Details of systems according to groups G01S13/00, G01S15/00, G01S17/00
    • G01S7/52Details of systems according to groups G01S13/00, G01S15/00, G01S17/00 of systems according to group G01S15/00
    • G01S7/523Details of pulse systems
    • G01S7/524Transmitters
    • GPHYSICS
    • G08SIGNALLING
    • G08GTRAFFIC CONTROL SYSTEMS
    • G08G1/00Traffic control systems for road vehicles
    • G08G1/16Anti-collision systems

Definitions

  • the present invention relates to an object detection system including a plurality of object detection devices that transmit exploration waves and acquire received waves including reflected waves from surrounding objects.
  • an object detection device transmits ultrasonic waves as an exploration wave, receives a reflected wave reflected by an object, and detects the distance and relative speed with the object.
  • the search wave transmitted from the other object detection device is received or the reflected wave based on the search wave is received.
  • Interference may occur. If interference occurs, the position of the object will be detected by the exploration wave transmitted from another object detection device or the reflected wave based on the exploration wave, and it may be determined that there is an object that does not actually exist There is.
  • control for randomly changing the transmission timing of the exploration wave is performed in order to suppress such interference.
  • interference is suppressed by providing an infrared transmitter / receiver in the object detection device and irradiating the other object detection device with infrared rays at the transmission timing of the exploration wave.
  • each object detection device a means for differentiating the resonance frequency among a plurality of object detection devices and transmitting a search wave having its own resonance frequency is adopted in each object detection device.
  • the sensitivity decreases as the frequency of the received wave that is received deviates from the resonance frequency, so that the reflected wave of its own exploration wave can be obtained with high accuracy.
  • the present disclosure has been made to solve the above-described problems, and a main object thereof is to provide an object detection system capable of suppressing interference while reducing the cost of the entire system.
  • the present disclosure includes an object mounted on a vehicle, which includes a plurality of object detection devices that transmit an exploration wave from a transmission / reception unit, acquire a reception wave including a reflected wave from a surrounding object by the transmission / reception unit, and detect the object.
  • the plurality of object detection devices each have a common range in the frequency of the search wave that can be transmitted by the transmission / reception unit, and based on the search wave having a frequency within the common range, Based on the reception characteristic, a transmission control unit that transmits one of the search waves from the transmission / reception unit, a characteristic acquisition unit that acquires the reception characteristic of the reception wave, among a plurality of search waves having different transmission characteristics, A determination unit that determines whether a received wave received by the object detection device is a reflected wave of a search wave having its own transmission characteristics, the object detection provided adjacent to each other in the vehicle and having different transmission characteristics from each other Equipment No.
  • the plurality of object detection devices have a common range in the frequency of the exploration wave that can be transmitted and received by the transmission / reception unit. Reduction is possible.
  • an exploration wave when an exploration wave is transmitted from an object detection device, generally only an exploration wave having a transmission characteristic that matches at a frequency within a common range is transmitted.
  • the transmission characteristics are made common, even if the reception characteristics of the received wave are acquired in the configuration in which the object detection devices are provided adjacent to each other in the vehicle, the reflected wave transmitted from any object detection device. It is difficult to determine whether it is based on.
  • the reception characteristic of the reception wave is acquired. By doing so, it is possible to determine which received wave is the reflected wave of the exploration wave transmitted from which object detection device. Therefore, it is possible to appropriately determine whether the reflected wave is based on the exploration wave transmitted from which object detection device while realizing cost reduction by sharing the structure of the object detection device. Furthermore, even if the exploration waves are transmitted from the adjacent object detection devices at the same time, it is possible to determine which of the object detection devices is the reflected wave of the exploration wave.
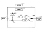
  • FIG. 1 is a diagram showing a configuration of an object detection system
  • FIG. 2 is a cross-sectional view of the object detection device
  • FIG. 3 is a diagram illustrating a resonance frequency and a transmission frequency.
  • FIG. 4 is a diagram illustrating a configuration of the phase calculation unit
  • FIG. 5 is a diagram showing the relationship between the phase rotation amount and the frequency
  • FIG. 6 is a flowchart showing a series of processes in the object detection system.
  • FIG. 7 is a diagram illustrating a transmission frequency of the object detection system according to the second embodiment
  • FIG. 8 is a diagram illustrating a transmission frequency of the object detection system according to the third embodiment.
  • FIG. 9 is a diagram illustrating a transmission frequency of the object detection system according to the fourth embodiment.
  • FIG. 10 is a diagram illustrating a transmission frequency of the object detection system according to the fifth embodiment.
  • FIG. 11 is a diagram illustrating a transmission frequency of the object detection system according to the sixth embodiment.
  • FIG. 12 is a diagram illustrating a transmission frequency of the object detection system according to the seventh embodiment.
  • FIG. 13 is a diagram illustrating a transmission frequency of the object detection system according to the eighth embodiment.
  • FIG. 14 is a diagram illustrating a modification of the object detection system according to the eighth embodiment.
  • FIG. 15 is a diagram illustrating a transmission frequency of the object detection system according to the ninth embodiment.
  • FIG. 10 is a diagram illustrating a transmission frequency of the object detection system according to the fifth embodiment.
  • FIG. 11 is a diagram illustrating a transmission frequency of the object detection system according to the sixth embodiment.
  • FIG. 12 is a diagram illustrating a transmission frequency of the object detection system according to the
  • FIG. 16 is a diagram illustrating a transmission frequency of the object detection system according to the tenth embodiment
  • FIG. 17 is a diagram illustrating a transmission frequency of the object detection system according to the eleventh embodiment
  • FIG. 18 is a diagram illustrating a transmission frequency of the object detection system according to the twelfth embodiment.
  • the object detection system is mounted on a vehicle.
  • the object detection system transmits an exploration wave that is an ultrasonic wave at each predetermined transmission / reception opportunity, receives a reflected wave reflected by an object existing around the vehicle as a reception wave, and receives a reception wave from the transmission of the exploration wave
  • the distance between the vehicle and the object is obtained by measuring the time until. Then, when the distance between the vehicle and the object is shorter than a predetermined distance, the vehicle driver is notified of the approach to the object, or a braking device provided in the vehicle is operated.
  • FIG. 1 is a configuration diagram of an object detection system according to the present embodiment.
  • the object detection system includes ultrasonic sensors 10 and 10a that are object detection apparatuses, and an ECU 100 that is communicably connected to the ultrasonic sensors 10 and 10a.
  • the ultrasonic sensors 10, 10a have a common structure. That is, the ultrasonic sensors 10 and 10a have a common resonance frequency (resonance period). This resonance frequency can be referred to as resonance characteristics. Note that the phrase that the resonance frequencies are common is defined not only that the resonance frequencies are exactly the same, but also that the resonance frequencies are equal if they are manufactured under a design in which the resonance frequencies are the same. That is, even if there is an error in the resonance frequency during the manufacturing process of the ultrasonic sensors 10 and 10a, it can be said that the resonance frequencies are equal.
  • ultrasonic sensors 10 and 10a are arranged at intervals, and when an exploration wave is transmitted from one ultrasonic sensor 10 and the exploration wave is reflected by a surrounding object, the reflected wave is
  • the ultrasonic sensors 10 and 10a can receive signals. That is, the ultrasonic sensors 10 and 10a can receive both the direct wave that is the reflected wave of the exploration wave transmitted by itself and the indirect wave that is the reflected wave of the exploration wave transmitted by another sensor.
  • one ultrasonic sensor 10 will be described.
  • the components of the other ultrasonic sensor 10 a are illustrated by adding “a” to the reference numerals indicating the components of the one ultrasonic sensor 10.
  • the ultrasonic sensor 10 includes a communication unit 11 that performs communication with the ECU 100, a transmission control unit 12 that receives a search wave transmission control start signal from the communication unit 11, and performs transmission control of the search wave, and a transmission control unit thereof.
  • 12 includes a transmission circuit 13 driven by 12. The transmission circuit 13 is driven by a drive signal from the transmission control unit 12, and driving power with a predetermined frequency is supplied to the transmission / reception unit 14.
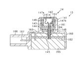
  • the transmission / reception unit 14 is a unit in which a piezoelectric element is attached to the inside of a bottomed cylindrical casing having a piezoelectric element. A specific structure of the transmission / reception unit 14 will be described with reference to FIG.
  • the transmission / reception unit 14 includes a housing 141, a piezoelectric element 142, a spacer 143, a base 144, and a connection pin 145.
  • the housing 141 is made of a conductive material and has a bottomed cylindrical shape, so that an internal space 146 is formed inside the housing 141.
  • a piezoelectric element 142 is attached to the inner surface of the bottom 141a of the housing 141, and the outer surface of the bottom 141a is a transmission / reception surface.
  • aluminum is used as the conductive material, and the transmission / reception surface is circular.
  • the piezoelectric element 142 is made of piezoelectric ceramics, for example, lead zirconate titanate ceramics, and has electrodes on both sides.
  • One electrode of the piezoelectric element 142 is electrically connected to one of the pair of connection pins 145 by a lead 147a.
  • the other electrode of the piezoelectric element 142 is attached to the bottom 141a of the housing 141 with, for example, a conductive adhesive and connected to the lead 147b via the housing 141 made of a conductive material, and then a pair of connections.
  • the other end of the pin 145 is electrically connected.
  • the spacer 143 is disposed between the opening of the housing 141 and the base 144.
  • the spacer 143 is an elastic body for suppressing unnecessary vibration generated in the housing 141 due to the vibration of the bottom 141a of the housing 141 from being transmitted to the base 144, and is made of, for example, silicone rubber.
  • the base 144 is fixed to the housing 141 by being fitted to the outer peripheral surface of the housing 141 on the opening side via the spacer 143.
  • the base 144 is made of an insulating material, for example, a synthetic resin such as ABS resin.
  • the base 144 is provided with a protection portion 148 for covering the connection pin 145 so as to protrude toward the circuit board 162, and the connection pin 145 is disposed so as to penetrate the protection portion 148.
  • the casing 141, the spacer 143, and the base 144 are bonded to each other, so that the transmission / reception unit 14 having an integral structure is configured.
  • the transmission / reception unit 14 configured as described above is assembled into a hollow main body 160 made of synthetic resin, with a cylindrical elastic member 150 covering a part of the side surface and the bottom surface.
  • the main body 160 is formed of a hollow, substantially rectangular parallelepiped.
  • a cylindrical side wall part 161 having an open upper end is provided on one surface of the main body part 160, and the transmission / reception part 14 and the elastic member 150 are accommodated inside the side wall part 161.
  • the transmission / reception unit 14 is assembled to the main body 160 with the elastic member 150 being brought into contact with the outer peripheral surface and a foamed elastic body 164 serving as an elastic body that suppresses vibration on the lower side.
  • the main body 160 is provided with a guide portion 163 for positioning the connection pin 145 with respect to the connection position of the circuit board 162.
  • the guide portion 163 includes a plate-like portion that divides the internal space of the main body portion 160 into an arrangement space for the transmission / reception unit 14 and an arrangement space for the circuit board 162.
  • a moisture-proof member 165 is filled in a hollow part in which the circuit board 162 is arranged in the main body part 160 partitioned by the guide part 163.
  • the circuit board 162 is provided with an external output terminal 167 for outputting to the outside, and one end side of the external output terminal 167 is exposed from a connector 166 formed on one surface of the main body 160. Connection between the ultrasonic sensor 10 and the ECU 100 is performed by the external output terminal 167.
  • driving power having a predetermined frequency is supplied from the transmission circuit 13 to the piezoelectric element, and the piezoelectric element oscillates with the driving power, thereby transmitting an ultrasonic wave as an exploration wave.
  • the transmission frequency that is the frequency of this exploration wave will be described with reference to FIG. Since this transmission frequency is a characteristic of the transmission wave, it can be referred to as a transmission characteristic.
  • the transmission control unit 12 selects one of the first frequency f1 smaller than the resonance frequency f0 and the second frequency f2 larger than the resonance frequency f0.
  • the resonance frequency f0 is 66.7 kHz
  • the first frequency f1 is 64.7 kHz which is 2 kHz (second predetermined value) smaller than the resonance frequency f0
  • the second frequency f2 is less than the resonance frequency f0.
  • the first frequency f1 can be referred to as a first characteristic
  • the second frequency f2 can be referred to as a second characteristic.
  • the reflected wave When the exploration wave is reflected by a surrounding object after the exploration wave is transmitted, the reflected wave, which is a reflected ultrasonic wave, enters the transmission / reception unit 14. In addition, as described above, even when an exploration wave is transmitted from the transmission / reception unit 14a of the other ultrasonic sensor 10a and reflected by an object, the reflected wave enters the transmission / reception unit 14.
  • the piezoelectric element included in the transmission / reception unit 14 is vibrated by the received wave, generates an electric signal having a frequency equal to the frequency of the received wave and a voltage proportional to the amplitude of the received wave.
  • the electric signal generated by the piezoelectric element is input to the receiving circuit 15.
  • the receiving circuit 15 includes a known bandpass filter circuit, and removes a received wave having a frequency that deviates from the frequency of the exploration wave.
  • the electric signal output from the receiving circuit 15 is input to the threshold value determination unit 16.
  • the threshold determination unit 16 determines whether or not the voltage corresponding to the amplitude of the received wave has become larger than a predetermined threshold. That is, it is determined whether or not a received wave having a sufficiently large amplitude and possibly a reflected wave has been received.
  • the threshold determination unit 16 transmits a reception time, which is a time when the voltage of the electric signal becomes larger than the threshold, to the distance calculation unit 17.
  • the distance calculation unit 17 calculates the distance to the object based on the transmission time of the exploration wave acquired from the transmission control unit 12 and the reception time of the reception wave acquired from the threshold value. Specifically, the sound speed is multiplied by the value obtained by subtracting the transmission time from the reception time, and the distance from the object is half the value.
  • the ultrasonic sensor 10 further includes a phase calculation unit 18 that calculates the phase of the received wave.
  • the phase calculator 18 calculates the phase of the received wave by quadrature detection.
  • the phase calculation unit 18 acquires the transmission frequency of the exploration wave from the transmission control unit 12 and acquires an electrical signal having a frequency equal to the frequency of the reception wave from the reception circuit 15. Specific processing performed by the phase calculation unit 18 will be described with reference to FIG.
  • the sine wave generation unit 181 acquires the resonance frequency f0 from the transmission control unit 12, and generates a sine wave having a frequency four times the resonance frequency f0. This sine wave is input to the first multiplier 182.
  • the first multiplier 182 multiplies the received signal by a sine wave.
  • the sine wave generated by the sine wave generation unit 181 is input to the cosine wave conversion unit 183.
  • the cosine wave conversion unit 183 generates a cosine wave in which the period of the sine wave is delayed by ⁇ / 2.
  • This cosine wave is input to the second multiplier 184.
  • the second multiplier 184 multiplies the received signal by a cosine wave.
  • the output value of the first multiplier 182 and the output value of the second multiplier 184 are input to the arithmetic unit 187 as the in-phase component I and the quadrature phase component Q of the received wave through the low-pass filters 185 and 186, respectively.
  • the computing unit 187 calculates the phase of the received wave based on the in-phase component I and the quadrature phase component Q.
  • phase of the received wave calculated by the calculation unit 187 of the phase calculation unit 18 is input to the phase rotation amount calculation unit 19.
  • the resonance frequency f0 is used to calculate the phase of the received wave by quadrature detection. Therefore, the phase rotation amount calculation unit 19 sets the phase of the received wave as the phase rotation amount, and inputs the phase rotation amount to the frequency calculation unit 20.
  • the frequency calculation unit 20 obtains a reception frequency that is a frequency of the reception wave based on the acquired phase rotation amount. Specifically, a table or function indicating the relationship between the phase rotation amount and the frequency of the received wave is stored in a memory (not shown), and the reception frequency is specified from the phase rotation amount based on the table or function. The relationship between the phase rotation amount and the reception frequency will be described with reference to FIG. The relationship between the phase rotation amount and the reception frequency is obtained by calculation, but since the relationship is well known, a specific description thereof is omitted.
  • the reception frequency can be referred to as reception characteristics.
  • the correlation between the phase rotation amount and the reception frequency is a linear negative correlation. That is, the frequency decreases as the phase rotation amount increases, and the frequency increases as the phase rotation amount decreases. Further, as described above, since the quadrature detection process is performed using the resonance frequency f0, the reception frequency when the phase rotation amount is zero is the resonance frequency f0.
  • the first frequency f1 is smaller than the resonance frequency f0
  • the second frequency f2 is larger than the resonance frequency f0
  • the absolute value of the difference between the first frequency f1 and the resonance frequency f0, the second frequency f2 and the resonance frequency f0 Is equal to the absolute value of the difference. Therefore, if the phase rotation amount is a positive value d corresponds to the first frequency f1, the phase rotation amount is negative value -d and corresponds to the second frequency f2. is doing.
  • the distance calculated by the distance calculation unit 17 and the reception frequency calculated by the frequency calculation unit 20 are transmitted from the communication unit 11 to the ECU 100.
  • the ECU 100 includes a communication unit 101, a control unit 102, and a determination unit 103.
  • the communication unit 101 is connected to the communication units 11 and 11 a of the ultrasonic sensors 10 and 10 a, and transmission and reception of information between the ECU 100 and the ultrasonic sensors 10 and 10 a are performed via the communication unit 101.
  • the control unit 102 acquires the distance from the object via the communication unit 101.
  • the determination unit 103 acquires the reception frequency via the communication unit 101.
  • the determination unit 103 determines which ultrasonic sensor 10, 10a the received wave is a reflected wave of the exploration wave. Specifically, a first range indicating a frequency range is set with respect to the first frequency f1, and the upper limit of the first range is a value smaller than the resonance frequency f0 and larger than the first frequency f1. The lower limit of the first range is a value smaller than the first frequency f1. Similarly, a second range indicating a frequency range is set with respect to the second frequency f2, and the lower limit of the second range is a value larger than the resonance frequency f0 and smaller than the second frequency f2. The upper limit of the two ranges is a value larger than the second frequency f2. That is, the upper limit of the first range is set smaller than the lower limit of the second range.
  • the reception frequency When the reception frequency is within the first range, it is determined that the reception wave is a reflected wave of the exploration wave transmitted at the first frequency f1. Similarly, when the reception frequency is within the second range, it is determined that the reception wave is a reflected wave of the exploration wave transmitted at the second frequency f2. Further, when the reception frequency is neither within the first range nor within the second range, the reception wave is determined as an interference wave. That is, even when the reception frequency is larger than the upper limit of the first range and smaller than the lower limit of the second range, it is determined as an interference wave. When the reception frequency is higher than the upper limit of the first range and lower than the lower limit of the second range, the reception frequency takes a value closer to the resonance frequency f0.
  • it may be determined that it is an interference wave by obtaining a determination result that it is an interference wave a plurality of times without determining that it is an interference wave by only one determination by the determination unit 103. That is, when the reception frequency is larger than the upper limit of the first range and smaller than the lower limit of the second range, the determination may be limited.
  • This determination result is input to the control unit 102.
  • the control unit 102 receives the determination result that the received wave is a reflected wave of the exploration wave of any of the ultrasonic sensors 10 and 10a, various processes using the distance corresponding to the received wave, that is, the object Control to avoid collision with the robot. Since this process is a well-known process, a specific description is omitted. If it is determined that the received wave is an interference wave, the distance based on the received wave is discarded.
  • a transmission frequency is determined. That is, it is determined whether to transmit the exploration wave having the first frequency f1 or the exploration wave having the second frequency f2. If the transmission frequency is determined in step S101, a search wave having the determined transmission frequency is transmitted in subsequent step S102.
  • step S103 it is determined whether or not the received wave has been acquired in the subsequent step S103. That is, it is determined whether or not the voltage indicating the amplitude of the received wave has become larger than the threshold value. If a negative determination is made in step S103, that is, if the voltage indicating the amplitude of the received wave is equal to or less than the threshold value, the determination in step S103 is repeated. On the other hand, if an affirmative determination is made in step S103, the process proceeds to step S104, and the phase rotation amount of the received wave is calculated. If the phase rotation amount is calculated, the process proceeds to step S105, and the reception frequency is calculated from the phase rotation amount.
  • step S106 it is determined whether or not the reception frequency is within a predetermined range including the transmission frequency. That is, in the ultrasonic sensor 10, when it is determined whether or not the received wave is a reflected wave of its own exploration wave, if the transmission frequency is the first frequency f1, the reception frequency includes the first frequency f1. It is determined whether the frequency is within the first range. If the transmission frequency is the second frequency f2, it is determined whether the reception frequency is within the second range including the second frequency f2. In the ultrasonic sensor 10, the determination whether the received wave is the reflected wave of the exploration wave of the other ultrasonic sensor 10a is performed in the same manner.
  • step S106 If affirmative determination is made in step S106, that is, if the reception frequency is within a predetermined range including the transmission frequency, the process proceeds to step S107, and it is determined that the reception wave is a reflected wave. If determination of step S107 is made, various control will be performed using the distance based on a received wave.
  • step S106 determines whether the reception frequency is outside the predetermined range including the transmission frequency. If a negative determination is made in step S106, that is, if the reception frequency is outside the predetermined range including the transmission frequency, the process proceeds to step S108, where it is determined that the reception wave is an interference wave. In this case, the information on the distance based on the received wave is discarded, and the series of processes is terminated.
  • the object detection system according to the present embodiment has the following effects.
  • the resonance characteristics of the ultrasonic sensors 10 and 10a are made common, so that the cost of the entire system can be reduced.
  • a search wave is transmitted from the ultrasonic sensors 10 and 10a
  • a search wave having a transmission frequency that matches the resonance frequency f0 is transmitted.
  • the resonance characteristics are standardized, it is difficult to determine which of the ultrasonic sensors 10 and 10a the received wave is based on the reflected wave even if the reception frequency is acquired.
  • the reception wave is acquired and any ultrasonic sensor is obtained by acquiring the reception frequency.
  • the search waves having different transmission frequencies are transmitted, even if the search waves are transmitted simultaneously from the plurality of transmission / reception units 14 and 14a, by acquiring the frequency of the received wave, It can be determined which exploration wave the received wave is a reflected wave. Therefore, the transmission / reception cycle can be shortened, and the object detection accuracy can be improved.
  • the sensitivity for detecting the received wave improves as the first frequency f1 and the second frequency f2 approach the resonance frequency f0.
  • the frequency of the reflected wave differs from the exploration wave frequency due to the Doppler effect.
  • the closer the first frequency f1 and the second frequency f2 are to the resonance frequency f0 the more difficult it is to determine which frequency the search wave is reflected when the frequency of the received wave is detected.
  • the first frequency f1 is set to a value lower than the resonance frequency f0
  • the second frequency f2 is set to a value higher than the resonance frequency f0.
  • the first frequency f1, the second frequency f2, and the resonance frequency It is possible to achieve both reducing the difference from f0 and increasing the difference between the first frequency f1 and the second frequency f2. Thereby, it is possible to accurately determine which frequency of the search wave is reflected from the received wave while improving the sensitivity in detecting the received wave.
  • the sensitivity for detecting the received wave improves as the first frequency f1 and the second frequency f2 approach the resonance frequency f0.
  • the frequency of the reflected wave differs from the exploration wave frequency due to the Doppler effect.
  • the closer the first frequency f1 and the second frequency f2 are to the resonance frequency f0 the more difficult it is to determine which frequency the search wave is reflected when the frequency of the received wave is detected.
  • the difference between the first frequency f1 and the resonance frequency f0 and the difference between the second frequency f2 and the resonance frequency f0 are both 3%.
  • the difference between the first frequency f1 and the second frequency f2 is about 3%, respectively, it is necessary to accurately detect the frequency in order to distinguish the first frequency f1 and the second frequency f2. Will occur. Therefore, it is necessary to make the sampling period shorter both in the case of obtaining the frequency by measuring the time between the zero cross points of the received wave and in the case of obtaining the frequency by fast Fourier transform (FFT). Specifically, it is necessary to perform sampling at a frequency that is 10 times or more the frequency. That is, in order to improve the frequency detection accuracy by shortening the sampling period, the apparatus is increased in size and cost.
  • the sampling frequency may be about 2 to 4 times the assumed frequency of the received wave. Therefore, in this embodiment, since the frequency is obtained from the phase rotation amount of the received wave, the frequency detection accuracy can be improved while suppressing the increase in size and cost of the apparatus.
  • the frequency of the received wave may deviate from the frequency of the exploration wave due to the Doppler effect. That is, even if the transmission frequency of the exploration wave is the first frequency f1, the frequency of the reflected wave may be greater than the first frequency f1, and even if the transmission frequency of the exploration wave is the second frequency f2, The frequency of the reflected wave may be smaller than the second frequency f2. This is because when the frequency of the received wave is within a predetermined range between the first frequency f1 and the second frequency f2, it is difficult to determine which frequency the received wave is a reflected wave based on the search wave of. It means that.
  • the determination based on the frequency is limited when the frequency of the received wave is within a predetermined range that is higher than the first frequency f1 and lower than the second frequency f2, the erroneous determination of the received wave is avoided. It is possible to suppress erroneous detection of the resulting object position.
  • the arrangement of ultrasonic sensors included in the object detection system is embodied.
  • FIG. 7 the arrangement of the ultrasonic sensors included in the object detection system will be described.
  • first to fourth front sensors 31 to 34 which are object detection devices, are provided in front of the vehicle in order from the left side with a space between each other (adjacent).
  • first to fourth rear sensors 41 to 44 which are object detection devices, are provided at intervals (adjacent to each other) in order from the left side.
  • first and second left side sensors 51 and 52 which are object detection devices, are provided at an interval (adjacent) in order from the front side, and on the right side of the vehicle from the front side.
  • first and second right-side sensors 61 and 62 that are object detection devices are provided at intervals (adjacent).
  • the first front sensor 31 and the first left side sensor 51 are provided adjacent to each other.
  • the fourth front sensor 34 and the first right side sensor 61 are provided adjacent to each other.
  • the first rear sensor 41 and the second left side sensor 52 are provided adjacent to each other.
  • the fourth rear sensor 44 and the second right side sensor 62 are provided adjacent to each other.
  • the first to fourth front sensors 31 to 34, the first left side sensor 51, and the first right side sensor 61 are attached to the front bumper of the vehicle.
  • the first to fourth rear sensors 41 to 44, the second The left side sensor 52 and the second right side sensor 62 are attached to the rear bumper of the vehicle.
  • Specific configurations of the first to fourth front sensors 31 to 34, the first to fourth rear sensors 41 to 44, the first and second left side sensors 51 and 52, and the first and second right side sensors 61 and 62 are as follows.
  • the configuration is the same as that of the ultrasonic sensors 10 and 10a in the first embodiment. That is, the sensors 31 to 34, 41 to 44, 51, 52, 61 and 62 have a common configuration.
  • the sensor that transmits the exploration wave at the first frequency f ⁇ b> 1 is illustrated by a triangle
  • the sensor that transmits the exploration wave at the second frequency f ⁇ b> 2 is illustrated by a circle. That is, the first to fourth front sensors 31 to 34 and the first to fourth rear sensors 41 to 44 are set to transmit the exploration wave at the first frequency f1, and the first and second left side sensors 51, 52 and the first and second right side sensors 61 and 62 are set to transmit the exploration wave at the second frequency f2.
  • the sensors adjacent to each other at an interval can receive the reflected wave of the exploration wave transmitted by another sensor in addition to the reflected wave of the exploration wave transmitted by itself.
  • the left front sensor group of the vehicle that is, the first front sensor 31, the second front sensor 32, and the first left side sensor 51 will be described.
  • the right front sensor group, the left rear sensor group, and the right rear sensor group of the vehicle have the same functions as the left front sensor group of the vehicle, and will not be specifically described.
  • the first front sensor 31 can receive the reflected wave based on the search wave of the second front sensor 32 in addition to the reflected wave of the search wave transmitted by itself. 1
  • the reflected wave based on the exploration wave of the left side sensor 51 can be received.
  • the first left side sensor 51 can receive the reflected wave of the exploration wave of the first front sensor 31 in addition to the reflected wave of the exploration wave transmitted by itself.
  • the first front sensor 31 and the second front sensor 32 are set to transmit the exploration wave at the first frequency f1, and the first left side sensor 51 transmits the exploration wave at the second frequency f2. It is set as something to do. That is, the first front sensor 31 and the first left side sensor 51 provided adjacent to each other in the vehicle transmit exploration waves having different frequencies (transmission characteristics).
  • the transmission frequency of the exploration wave is set in this way, when the second front sensor 32 and the first left side sensor 51 transmit the exploration wave, the reflected wave incident on the first front sensor 31 is It can be determined whether it is based on the exploration wave transmitted from this sensor.
  • the reflected wave incident on the first front sensor 31 is based on the exploration wave transmitted from which sensor. It can be determined, and it can be determined whether the reflected wave incident on the first left side sensor 51 is based on the exploration wave transmitted from which sensor.
  • the object detection system according to the present embodiment has an effect similar to that of the first embodiment.
  • the configuration of the entire object detection system is the same as that of the second embodiment, and a part of the transmission frequency in each sensor is different from that of the second embodiment.
  • the object detection system according to the present embodiment will be described with reference to FIG.
  • the sensor that transmits the exploration wave at the first frequency f1 is illustrated by a triangle
  • the sensor that transmits the exploration wave at the second frequency f2 is illustrated by a circle. That is, the first to fourth front sensors 31 to 34, the second left side sensor 52, and the second right side sensor 62 are set to transmit the exploration wave at the first frequency f1, and the first to fourth The rear sensors 41 to 44, the first left side sensor 51, and the first right side sensor 61 are set to transmit an exploration wave at the second frequency f2.
  • the first left side sensor 51 can receive the reflected wave of the exploration wave transmitted by the adjacent second left side sensor 52, and the second left side sensor 52 is adjacent.
  • the reflected wave of the exploration wave transmitted by the first left side sensor 51 can be received.
  • the first right side sensor 61 can receive the reflected wave of the exploration wave transmitted by the adjacent second right side sensor 62, and the second right side sensor 62 can receive the exploration wave transmitted by the adjacent first right side sensor 61.
  • the reflected wave can be received.
  • the transmission frequency of the first left side sensor 51 and the transmission frequency of the second left side sensor 52 are different from each other, the received wave is received in each of the first left side sensor 51 and the second left side sensor 52.
  • each of the first right side sensor 61 and the second right side sensor 62 receives the received wave. It is possible to determine which sensor is the reflected wave of the exploration wave.
  • the left front sensor group, the right front sensor group, the left rear sensor group, and the right rear sensor group of the vehicle have the same functions as those in the second embodiment. Is omitted.
  • the object detection system according to the present embodiment has an effect similar to that of the first embodiment.
  • three or more left side sensors may be provided, and the frequencies (transmission characteristics) of adjacent exploration waves may be different from each other. That is, at least two sensors (object detection devices) are provided adjacent to each other on the left side of the vehicle, and the transmission characteristics of the adjacent sensors in the at least two sensors may be different from each other. The same applies to the right side sensor.
  • ⁇ Fourth embodiment> the configuration of the entire object detection system is the same as that of the second embodiment, and a part of the transmission frequency in each sensor is different from that of the second embodiment.
  • the object detection system according to the present embodiment will be described with reference to FIG.
  • the sensor that transmits the exploration wave at the first frequency f1 is illustrated by a triangle
  • the sensor that transmits the exploration wave at the second frequency f2 is illustrated by a circle. That is, the first, second front sensors 31, 32, the third, fourth rear sensors 43, 44, the second left side sensor 52, and the first right side sensor 61 are set to transmit the exploration wave at the first frequency f1.
  • the third and fourth front sensors 33 and 34, the first and second rear sensors 41 and 42, the first left side sensor 51, and the second right side sensor 62 transmit the exploration wave at the second frequency f2. Is set as
  • the sensor group in front of the vehicle that is, the first to fourth front sensors 31 to 34 will be described.
  • the sensor group on the rear side of the vehicle, that is, the first to fourth rear sensors 41 to 44 have the same functions as the sensor group on the front side of the vehicle, and a detailed description thereof will be omitted.
  • the second front sensor 32 can receive a reflected wave based on the search wave of the adjacent first front sensor 31 in addition to the reflected wave of the search wave transmitted by itself.
  • the reflected wave based on the exploration wave of the adjacent third front sensor 33 can be received.
  • the third front sensor 33 can receive the reflected wave of the exploration wave of the adjacent second front sensor 32 in addition to the reflected wave of the exploration wave transmitted by itself, and the adjacent fourth forward sensor 34. It is possible to receive the reflected wave of the exploration wave.
  • the first and second front sensors 31 and 32 are set to transmit the exploration wave at the first frequency f1, and the third and fourth front sensors 33 and 34 transmit the exploration wave at the second frequency f2. It is set to send.
  • the transmission frequency of the exploration wave is set in this way, when the first front sensor 31 and the third front sensor 33 transmit the exploration wave, the reflected wave incident on the second front sensor 32 is It can be determined whether it is based on the exploration wave transmitted from the sensor. Similarly, when the second front sensor 32 and the fourth front sensor 34 transmit the exploration wave, the reflected wave incident on the third front sensor 33 is based on the exploration wave transmitted from any sensor. Can be determined.
  • the incident reflected wave is transmitted from which sensor in each of the second front sensor 32 and the third front sensor 33. Whether it is based on the exploration wave can be determined.
  • the left front sensor group, the right front sensor group, the left rear sensor group, and the right rear sensor group of the vehicle have the same functions as those in the second embodiment. Is omitted.
  • the object detection system according to the present embodiment has an effect similar to that of the first embodiment.
  • the frequencies (transmission characteristics) of adjacent exploration waves may be different from each other. That is, at least two sensors (object detection devices) may be provided adjacent to each other at the front end of the vehicle, and the transmission characteristics of the adjacent sensors in the at least two sensors may be different from each other. The same applies to the sensor provided at the rear end of the vehicle.
  • the configuration of the entire object detection system is the same as that of the second embodiment, and a part of the processing is different from that of the second embodiment. Processing in the present embodiment will be described with reference to FIG.
  • the first setting (shown in FIG. 10A) in which the transmission frequency is set in the same manner as in the second embodiment and the second setting in which the transmission frequency is different from that in the second embodiment (see FIG. 10B). ) are used by switching between them.
  • the sensor that transmits the exploration wave at the first frequency f1 in the first setting transmits the exploration wave at the second frequency f2.
  • the sensor that transmits the exploration wave at the second frequency f2 transmits the exploration wave at the first frequency f1. That is, the first to fourth front sensors 31 to 34 and the first to fourth rear sensors 41 to 44 are set to transmit the exploration wave at the second frequency f2, and the first and second left side sensors 51, 52 and the first and second right side sensors 61 and 62 are set to transmit the exploration wave at the first frequency f1.
  • the switching between the first setting and the second setting is performed every predetermined period. In this case, it may be set as a predetermined period that transmission / reception control is performed once by each sensor, or may be set as a predetermined period that transmission / reception control is performed multiple times by each sensor. Good.
  • the object detection system according to the present embodiment has the following effects.
  • the transmission frequency of the exploration wave can be different from the transmission frequency of the exploration wave of other ultrasonic sensors, Can be suppressed.
  • the own vehicle transmits at the first frequency f1 and the other vehicle also transmits at the first frequency f1
  • the transmission frequency of the own vehicle is switched to the second frequency f2
  • object detection at the transmission frequency after the change may be continued without returning from the transmission frequency after the change to the transmission frequency before the change. By doing so, the object can be detected while excluding the exploration wave and the reflected wave transmitted from the other vehicle as interference waves.
  • the first frequency f1 and the second frequency f2 are used, and the third frequency f3 is also used.
  • the third frequency f3 may be lower than the first frequency f1 or higher than the second frequency f2. Further, it may be larger than the first frequency f1 and smaller than the second frequency f2, and in this case, the third frequency f3 may be equal to the resonance frequency f0.
  • the sensor that transmits the exploration wave at the first frequency f1 is illustrated by a triangle
  • the sensor that transmits the exploration wave at the second frequency f2 is illustrated by a circle
  • the exploration wave is transmitted at the third frequency f3.
  • the transmitting sensor is shown as a square. That is, the first to fourth front sensors 31 to 34 and the first to fourth rear sensors 41 to 44 are set to transmit the exploration wave at the first frequency f1, and the first and second left side sensors 51, 52 is set to transmit the exploration wave at the third frequency f3, and the first and second right side sensors 61 and 62 are set to transmit the exploration wave at the second frequency f2.
  • the object detection system according to this embodiment has the following effects in addition to the effects exhibited by the object detection system according to the second embodiment.
  • the left side of one vehicle and the right side of the other vehicle are close to each other. At this time, the closer the distance between the vehicles is, the easier it is to receive the exploration waves transmitted from the sensors of other vehicles.
  • the transmission frequency of the first and second left side sensors 51 and 52 and the transmission frequency of the first and second right side sensors 61 and 62 are different from each other.
  • the determination unit 103 determines that the received wave is caused by the exploration wave of another object detection system or the like and does not use it for its own distance measurement. Can be. Accordingly, it is possible to suppress crosstalk when a vehicle including an object detection system having a configuration equivalent to that of the present embodiment lies side by side.
  • first to fourth front sensors 31 to 34 are omitted, the first to fourth rear sensors 41 to 44 are omitted, the first to fourth front sensors 31 to 34, and the first to fourth rear sensors. 41 to 44 may be omitted.
  • ⁇ Seventh embodiment> the configuration of the entire object detection system is the same as that of the second embodiment, and a part of the transmission frequency in each sensor is different from that of the second embodiment. With reference to FIG. 12, the object detection system which concerns on this embodiment is demonstrated.
  • the first frequency f1, the second frequency f2, and the third frequency f3 are used.
  • the sensor that transmits the exploration wave at the first frequency f1 is indicated by a triangle
  • the sensor that transmits the exploration wave at the second frequency f2 is indicated by a circle
  • the exploration wave is transmitted at the third frequency f3.
  • the transmitting sensor is shown as a square. That is, the first to fourth front sensors 31 to 34 are set to transmit the exploration wave at the second frequency f2, and the first to fourth rear sensors 41 to 44 transmit the exploration wave at the third frequency f3.
  • the first and second left side sensors 51 and 52 and the first and second right side sensors 61 and 62 are set to transmit an exploration wave at the first frequency f1.
  • the object detection system according to this embodiment has the following effects in addition to the effects exhibited by the object detection system according to the second embodiment.
  • the vehicle having an object detection system having the same configuration as that of the present embodiment When traveling on a congested road, the front end of one vehicle and the rear end of the other vehicle And will be close. At this time, the closer the distance between the vehicles is, the easier it is to receive the exploration wave transmitted from the object detection system of another vehicle.
  • the vehicles since the transmission frequencies of the front sensors 31 to 34 and the transmission frequencies of the rear sensors 41 to 44 are different from each other, the vehicles are arranged vertically, and the search waves of the object detection system provided in the other vehicles are When the signal is received, the determination unit 103 determines that the received wave is caused by an exploration wave or the like of another object detection system, and can not be used for own distance measurement. Therefore, it is possible to suppress interference when a vehicle including an object detection system having a configuration equivalent to that of the present embodiment is arranged vertically.
  • the configuration of the entire object detection system is the same as that of the second embodiment, and a part of the transmission frequency in each sensor is different from that of the second embodiment.
  • the object detection system according to the present embodiment will be described.
  • the first frequency f1, the second frequency f2, and the third frequency f3 are used.
  • a sensor that transmits the exploration wave at the first frequency f1 is illustrated by a triangle
  • a sensor that transmits the exploration wave at the second frequency f2 is illustrated by a circle
  • the exploration wave is transmitted at the third frequency f3.
  • the transmitting sensor is shown as a square. That is, the first front sensor 31, the fourth front sensor 34, the first rear sensor 41, and the fourth rear sensor 44 are set to transmit the exploration wave at the first frequency f1, and the third front sensor 33, The second rear sensor 42, the first left side sensor 51, and the second right side sensor 62 are set to transmit an exploration wave at the second frequency f2.
  • the second front sensor 32, the third rear sensor 43, and the second The left side sensor 52 and the first right side sensor 61 are assumed to transmit an exploration wave at the third frequency f3.
  • the own transmission frequency and the transmission frequency on both sides are different. Therefore, even when the exploration wave is transmitted from any one of the sensors and the adjacent sensors, it is possible to determine which received wave is the reflected wave of the exploration wave of which sensor. This means that even if exploration waves are transmitted almost simultaneously from all sensors, it is possible to determine in which sensor the received wave is the reflected wave of the exploration wave of each sensor.
  • the first front sensor 31, the third front sensor 33, the first right side sensor 61, the second rear sensor 42, the fourth rear sensor 44, and the second left side sensor 52 have the first frequency. It is set to transmit the exploration wave with f1 (transmission characteristics), and the second front sensor 32, the fourth front sensor 34, the first rear sensor 41, the third rear sensor 43, the first left side sensor 51, the first The two right side sensors 62 may be set to transmit the exploration wave at the second frequency f2 (transmission characteristic).
  • the second front sensor 32, the third front sensor 33, the second rear sensor 42, and the third rear sensor 43 are omitted, or the first left side sensor 51, the second left side sensor 52, and the first right side are omitted.
  • the sensor 61 and the second right side sensor 62 may be omitted. That is, at least eight sensors (object detection devices) are provided adjacent to each other on the outer peripheral edge of the vehicle, and the transmission characteristics of the adjacent sensors in the at least eight sensors may be different from each other.
  • the first setting (shown in FIG. 15A) and the second setting (shown in FIG. 15B) are switched and used.
  • the second front sensor 32, the third rear sensor 43, the second left side sensor 52, and the first right side sensor 61 have a search wave at the first frequency f1.
  • the third front sensor 33, the second rear sensor 42, the first left side sensor 51, and the second right side sensor 62 are set to transmit the exploration wave at the second frequency f2.
  • the 1st front sensor 31, the 4th front sensor 34, the 1st back sensor 41, and the 4th back sensor 44 which were shown with the broken line do not transmit an exploration wave.
  • the sensor that transmits the exploration wave in the first setting is not transmitted, and the sensor that does not transmit the exploration wave in the first setting is the exploration wave.
  • the fourth front sensor 34 and the first rear sensor 41 are set to transmit a search wave at the first frequency f1
  • the first front sensor 31 and the fourth rear sensor 44 are set as a search wave at the second frequency f2.
  • the second right side sensor 62 does not transmit an exploration wave.
  • the switching between the first setting and the second setting is performed every predetermined period. In this case, it may be set as a predetermined period that transmission / reception control is performed once by each sensor, or may be set as a predetermined period that transmission / reception control is performed multiple times by each sensor. Good.
  • the object detection system according to the present embodiment has the following effects.
  • the second front sensor 32 and the first left side sensor 51 having different transmission characteristics are provided with a gap therebetween. For this reason, based on the reception characteristic acquired by the first front sensor 31, it is determined which of the second front sensor 32 and the first left side sensor 51 is the reflected wave of the search wave having the transmission characteristic. can do. The same applies to the right front sensor group, the left rear sensor group, and the right rear sensor group of the vehicle.
  • the transmission frequency of the exploration wave can be different from the transmission frequency of the exploration wave of other ultrasonic sensors, and interference can be suppressed.
  • the first setting (shown in FIG. 16A) and the second setting (shown in FIG. 16B) are switched and used.
  • the setting is the same as that in FIG. 15A of the ninth embodiment.
  • the first right side sensor 61 transmits the exploration wave at the second frequency f2.
  • the second right side sensor 62 is set to transmit the exploration wave at the first frequency f1. That is, the first left side sensor 51, the second left side sensor 52, the first right side sensor 61, and the second right side sensor 62 always transmit a search.
  • the object detection system according to the present embodiment has an effect similar to that of the ninth embodiment. Furthermore, since the first left side sensor 51, the second left side sensor 52, the first right side sensor 61, and the second right side sensor 62 are always transmitting exploration, they always detect a side object. Can do.
  • the first setting (shown in FIG. 17A) and the second setting (shown in FIG. 17B) are switched and used.
  • the first front sensor 31, the fourth rear sensor 44, the second left side sensor 52, and the first right side sensor 61 have an exploration wave at the first frequency f1.
  • the third front sensor 33 and the second rear sensor 42 are set to transmit the exploration wave at the second frequency f2.
  • the second front sensor 32, the fourth front sensor 34, the first rear sensor 41, the third rear sensor 43, the first left side sensor 51, and the second right side sensor 62 indicated by broken lines do not transmit the exploration wave.
  • the sensor that transmits the exploration wave in the first setting does not transmit the exploration wave, and the sensor that does not transmit the exploration wave in the first setting.
  • the second front sensor 32 and the second right side sensor 62 are set to transmit the exploration wave at the first frequency f1
  • the fourth front sensor 34 and the first left side sensor 51 are set at the second frequency f2. It is set to transmit exploration waves.
  • the first front sensor 31, the third front sensor 33, the second rear sensor 42, the fourth rear sensor 44, the second left side sensor 52, and the first right side sensor 61 indicated by broken lines do not transmit the exploration wave.
  • the switching between the first setting and the second setting is performed every predetermined period. In this case, it may be set as a predetermined period that transmission / reception control is performed once by each sensor, or may be set as a predetermined period that transmission / reception control is performed multiple times by each sensor. Good.
  • the object detection system according to the present embodiment has the following effects.
  • the second front sensor 32 and the first left side sensor 51 having different transmission characteristics are provided with a gap therebetween. For this reason, based on the reception characteristic acquired by the first front sensor 31, it is determined which of the second front sensor 32 and the first left side sensor 51 is the reflected wave of the search wave having the transmission characteristic. can do. Based on the reception characteristic acquired by the third front sensor 33, it can be determined which of the second front sensor 32 and the fourth front sensor 34 is the reflected wave of the search wave having the transmission characteristic. . The same applies to the sensor group on the rear side of the vehicle.
  • the transmission frequency of the exploration wave can be different from the transmission frequency of the exploration wave of other ultrasonic sensors, and interference can be suppressed.
  • the first setting (shown in FIG. 18A) and the second setting (shown in FIG. 18B) are switched and used.
  • the first left side sensor 51 and the second right side sensor 62 are set to the second setting. It is set to transmit an exploration wave at the frequency f2.
  • the second left side sensor 52 and the first right side sensor 61 are the first. It is set to transmit an exploration wave at the frequency f1. That is, the first left side sensor 51, the second left side sensor 52, the first right side sensor 61, and the second right side sensor 62 always transmit a search.
  • the object detection system according to the present embodiment has an effect similar to that of the eleventh embodiment. Furthermore, since the first left side sensor 51, the second left side sensor 52, the first right side sensor 61, and the second right side sensor 62 are always transmitting exploration, they always detect a side object. Can do.
  • phase rotation amount is used, but it may be referred to as a phase difference.
  • quadrature detection is performed using the resonance frequency f0 in obtaining the phase rotation amount, but quadrature detection may be performed using the first frequency f1 or the second frequency f2. Alternatively, both quadrature detection using the first frequency f1 and quadrature detection using the second frequency f2 may be performed.
  • the difference between the first frequency f1 and the second frequency f2 and the resonance frequency f0 is 3% of the resonance frequency f0.
  • the difference between the first frequency f1, the second frequency f2, and the resonance frequency f0 is The difference may be larger or smaller than this.
  • the closer the first frequency f1 and the second frequency f2 are to the resonance frequency f0 the smaller the difference between the first frequency f1 and the second frequency f2, so when the frequency of the reflected wave changes due to the Doppler effect, It becomes difficult to determine at which frequency the reflected wave of the exploration wave is transmitted.
  • the difference between the first frequency f1 and the second frequency f2 and the resonance frequency f0 is preferably 2 to 5% of the resonance frequency f0.
  • the difference between the first frequency f1 and the resonance frequency f0 and the difference between the second frequency f2 and the resonance frequency f0 may not be equal.
  • the first frequency f1 and the second frequency f2 may both be greater than the resonance frequency f0. Further, both the first frequency f1 and the second frequency f2 may be smaller than the resonance frequency f0.
  • One of the first frequency f1 and the second frequency f2 may be the resonance frequency f0.
  • the transmission frequency using the first frequency f1 and the second frequency f2 and the transmission frequency using the first to third frequencies f1 to f3 are exemplified, but four or more types of transmission frequencies may be used. Good.
  • the determination unit 103 is provided in the ECU 100, but the determination unit 103 may be provided in the ultrasonic sensors 10 and 10a. Further, part of the functions of the ultrasonic sensors 10 and 10a may be provided in the ECU 100.
  • the specific structure and shape of the transmission / reception unit 14 are not limited to those shown in FIG. 2 and may have other structures and shapes.
  • the resonance frequency f0 is used as the resonance characteristic
  • the first frequency f1 is used as the first characteristic
  • the second frequency f2 is used as the second characteristic, but the reciprocal of the frequency is used instead of the frequency. It is good also as what uses the period which is.
  • a period may be used instead of the transmission frequency as the transmission characteristic
  • a period may be used instead of the reception frequency as the reception characteristic.
  • the transmission characteristics of the exploration wave are not limited to the frequency and period, and the phase and amplitude can be varied.
  • the modulation unit acquires a pulse train composed of a plurality of pulses from the signal generation unit, and changes the phase for each pulse train of the pulse signal in accordance with a code sequence composed of a combination of a plurality of codes.
  • the phase calculation unit obtains a signal used for demodulation of the received wave from the demodulation unit, demodulates the received wave, and calculates the phase of the received wave.
  • the determination unit compares the acquired phase with the phase of the exploration wave, and if the difference between the acquired phase and the phase of the exploration wave is within a predetermined value, the received wave is reflected from the exploration wave. Judge as a wave.
  • an off period may be provided.
  • a plurality of amplitude envelope peaks are generated. If a plurality of amplitude envelope peaks are generated, a plurality of peaks are also generated for the reflected wave amplitude envelope. Therefore, it is possible to determine whether or not the received wave is a reflected wave of the exploration wave. .
  • the plurality of sensors have a common range for the search wave frequencies that can be transmitted to each other by the transmission / reception units 14 and 14a, and based on the search wave having a frequency within the common range, It suffices to include transmission control units 12 and 12a for transmitting any of the exploration waves from the transmission / reception units 14 and 14a among a plurality of exploration waves having different transmission characteristics such as period, phase, and amplitude.
  • the frequency before switching and after switching is not limited to that shown in the fifth embodiment in performing the process of switching the transmission frequency.
  • the object detection system is mounted on the vehicle, but the mounting target is not limited to the vehicle.

Landscapes

  • Engineering & Computer Science (AREA)
  • Radar, Positioning & Navigation (AREA)
  • Remote Sensing (AREA)
  • Physics & Mathematics (AREA)
  • General Physics & Mathematics (AREA)
  • Computer Networks & Wireless Communication (AREA)
  • Acoustics & Sound (AREA)
  • Mechanical Engineering (AREA)
  • Measurement Of Velocity Or Position Using Acoustic Or Ultrasonic Waves (AREA)
PCT/JP2018/020077 2017-05-29 2018-05-24 物体検知システム Ceased WO2018221392A1 (ja)

Priority Applications (1)

Application Number Priority Date Filing Date Title
DE112018002734.1T DE112018002734T5 (de) 2017-05-29 2018-05-24 Objekterfassungssystem

Applications Claiming Priority (2)

Application Number Priority Date Filing Date Title
JP2017105943A JP6714542B2 (ja) 2017-05-29 2017-05-29 物体検知システム
JP2017-105943 2017-05-29

Publications (1)

Publication Number Publication Date
WO2018221392A1 true WO2018221392A1 (ja) 2018-12-06

Family

ID=64455344

Family Applications (1)

Application Number Title Priority Date Filing Date
PCT/JP2018/020077 Ceased WO2018221392A1 (ja) 2017-05-29 2018-05-24 物体検知システム

Country Status (3)

Country Link
JP (1) JP6714542B2 (enExample)
DE (1) DE112018002734T5 (enExample)
WO (1) WO2018221392A1 (enExample)

Cited By (1)

* Cited by examiner, † Cited by third party
Publication number Priority date Publication date Assignee Title
WO2021024481A1 (ja) * 2019-08-08 2021-02-11 三菱電機株式会社 障害物検出装置

Families Citing this family (2)

* Cited by examiner, † Cited by third party
Publication number Priority date Publication date Assignee Title
EP3813033A4 (en) 2018-06-25 2022-03-30 Hochiki Corporation Fire detection device
JP7271952B2 (ja) * 2019-01-08 2023-05-12 株式会社アイシン 物体検出システムおよび物体検出装置

Citations (7)

* Cited by examiner, † Cited by third party
Publication number Priority date Publication date Assignee Title
JPS62277581A (ja) * 1986-05-26 1987-12-02 Matsushita Electric Works Ltd 物体検知センサ
JPH0792265A (ja) * 1993-09-20 1995-04-07 Sumitomo Electric Ind Ltd 障害物検出装置
JP2006298266A (ja) * 2005-04-22 2006-11-02 Denso Corp 障害物検知装置
US20150078130A1 (en) * 2013-09-17 2015-03-19 Volkswagen Aktiengesellschaft Device and method for lateral environment detection of a motor vehicle
JP2015191441A (ja) * 2014-03-28 2015-11-02 三菱電機株式会社 衝突判定装置
WO2016042697A1 (ja) * 2014-09-19 2016-03-24 パナソニックIpマネジメント株式会社 障害物検出装置
JP2017078642A (ja) * 2015-10-20 2017-04-27 株式会社日本自動車部品総合研究所 超音波式物体検知装置

Family Cites Families (1)

* Cited by examiner, † Cited by third party
Publication number Priority date Publication date Assignee Title
JP2010230425A (ja) * 2009-03-26 2010-10-14 Denso Corp 障害物検出装置

Patent Citations (7)

* Cited by examiner, † Cited by third party
Publication number Priority date Publication date Assignee Title
JPS62277581A (ja) * 1986-05-26 1987-12-02 Matsushita Electric Works Ltd 物体検知センサ
JPH0792265A (ja) * 1993-09-20 1995-04-07 Sumitomo Electric Ind Ltd 障害物検出装置
JP2006298266A (ja) * 2005-04-22 2006-11-02 Denso Corp 障害物検知装置
US20150078130A1 (en) * 2013-09-17 2015-03-19 Volkswagen Aktiengesellschaft Device and method for lateral environment detection of a motor vehicle
JP2015191441A (ja) * 2014-03-28 2015-11-02 三菱電機株式会社 衝突判定装置
WO2016042697A1 (ja) * 2014-09-19 2016-03-24 パナソニックIpマネジメント株式会社 障害物検出装置
JP2017078642A (ja) * 2015-10-20 2017-04-27 株式会社日本自動車部品総合研究所 超音波式物体検知装置

Cited By (1)

* Cited by examiner, † Cited by third party
Publication number Priority date Publication date Assignee Title
WO2021024481A1 (ja) * 2019-08-08 2021-02-11 三菱電機株式会社 障害物検出装置

Also Published As

Publication number Publication date
DE112018002734T5 (de) 2020-02-20
JP6714542B2 (ja) 2020-06-24
JP2018200276A (ja) 2018-12-20

Similar Documents

Publication Publication Date Title
KR101775572B1 (ko) 송신 신호와 수신 신호를 디커플링하고 간섭 방사를 억제하기 위한 어레이와 방법을 채용한 레이더 시스템
CN105474039B (zh) 用于运行车辆的周围环境检测系统的方法
US12032062B2 (en) Obstacle detection apparatus
CN107402312A (zh) 用于速度和/或位置感测的方法和装置
JP6879169B2 (ja) 超音波センサ
WO2018221392A1 (ja) 物体検知システム
CN112578342B (zh) 一种信号发送方法、信号处理方法及雷达装置
CN108780144B (zh) 物体探测装置
KR20160098362A (ko) 초음파 트랜스듀서의 에코 신호 처리 방법
JP2018105701A (ja) 物体検知装置
JP2020091286A (ja) 不感帯が低減された飛行時間測定値を判定する距離検出システム
CN113544536B (zh) 超声波传感器
US20190107513A1 (en) Method And Assembly For Determining The Type Of A Fluid Using Ultrasound
CN104067140A (zh) 用于确定物体的位置和/或运动的周围环境检测设备和所属方法
JP2019200194A (ja) 物体検知装置および駐車支援装置
KR20170046221A (ko) 초음파 센서 제어장치 및 그 제어방법
US10379212B2 (en) Multi frequency range estimation
JP2018169366A (ja) 物体検知装置、物体検知システム及び移動体
WO2018221393A1 (ja) 超音波センサ及び物体検知システム
US20250093503A1 (en) Object detection device
WO2017138334A1 (ja) 超音波受信装置
JPH0926318A (ja) 測距装置
JP2020060410A (ja) 音波処理装置、および超音波システム
US20240241251A1 (en) Signal processing device, sound wave system, and vehicle
US20250093504A1 (en) Object detection device

Legal Events

Date Code Title Description
121 Ep: the epo has been informed by wipo that ep was designated in this application

Ref document number: 18810260

Country of ref document: EP

Kind code of ref document: A1

122 Ep: pct application non-entry in european phase

Ref document number: 18810260

Country of ref document: EP

Kind code of ref document: A1