WO2018180877A1 - 両偏波送受用アンテナ - Google Patents

両偏波送受用アンテナ Download PDF

Info

Publication number
WO2018180877A1
WO2018180877A1 PCT/JP2018/011374 JP2018011374W WO2018180877A1 WO 2018180877 A1 WO2018180877 A1 WO 2018180877A1 JP 2018011374 W JP2018011374 W JP 2018011374W WO 2018180877 A1 WO2018180877 A1 WO 2018180877A1
Authority
WO
WIPO (PCT)
Prior art keywords
antenna
dual
linear
reception
inverted
Prior art date
Legal status (The legal status is an assumption and is not a legal conclusion. Google has not performed a legal analysis and makes no representation as to the accuracy of the status listed.)
Ceased
Application number
PCT/JP2018/011374
Other languages
English (en)
French (fr)
Japanese (ja)
Inventor
操 羽石
昌弘 蘇武
欣行 米井
亘孝 中尾
章典 松井
Current Assignee (The listed assignees may be inaccurate. Google has not performed a legal analysis and makes no representation or warranty as to the accuracy of the list.)
Chikoji Gakuen Educational Foundation
Seiko Solutions Inc.
Original Assignee
Chikoji Gakuen Educational Foundation
Seiko Solutions Inc.
Priority date (The priority date is an assumption and is not a legal conclusion. Google has not performed a legal analysis and makes no representation as to the accuracy of the date listed.)
Filing date
Publication date
Application filed by Chikoji Gakuen Educational Foundation, Seiko Solutions Inc. filed Critical Chikoji Gakuen Educational Foundation
Publication of WO2018180877A1 publication Critical patent/WO2018180877A1/ja
Anticipated expiration legal-status Critical
Ceased legal-status Critical Current

Links

Images

Classifications

    • HELECTRICITY
    • H01ELECTRIC ELEMENTS
    • H01QANTENNAS, i.e. RADIO AERIALS
    • H01Q21/00Antenna arrays or systems
    • H01Q21/06Arrays of individually energised antenna units similarly polarised and spaced apart
    • HELECTRICITY
    • H01ELECTRIC ELEMENTS
    • H01QANTENNAS, i.e. RADIO AERIALS
    • H01Q21/00Antenna arrays or systems
    • H01Q21/24Combinations of antenna units polarised in different directions for transmitting or receiving circularly and elliptically polarised waves or waves linearly polarised in any direction
    • HELECTRICITY
    • H01ELECTRIC ELEMENTS
    • H01QANTENNAS, i.e. RADIO AERIALS
    • H01Q9/00Electrically-short antennas having dimensions not more than twice the operating wavelength and consisting of conductive active radiating elements
    • H01Q9/04Resonant antennas
    • HELECTRICITY
    • H01ELECTRIC ELEMENTS
    • H01QANTENNAS, i.e. RADIO AERIALS
    • H01Q9/00Electrically-short antennas having dimensions not more than twice the operating wavelength and consisting of conductive active radiating elements
    • H01Q9/04Resonant antennas
    • H01Q9/16Resonant antennas with feed intermediate between the extremities of the antenna, e.g. centre-fed dipole
    • HELECTRICITY
    • H01ELECTRIC ELEMENTS
    • H01QANTENNAS, i.e. RADIO AERIALS
    • H01Q9/00Electrically-short antennas having dimensions not more than twice the operating wavelength and consisting of conductive active radiating elements
    • H01Q9/04Resonant antennas
    • H01Q9/30Resonant antennas with feed to end of elongated active element, e.g. unipole
    • H01Q9/42Resonant antennas with feed to end of elongated active element, e.g. unipole with folded element, the folded parts being spaced apart a small fraction of the operating wavelength

Definitions

  • the present invention relates to a dual-polarized transmission / reception antenna, and relates to an antenna that transmits and receives vertical polarization and horizontal polarization.
  • Non-Patent Documents 1 and 2 When transmitting and receiving two polarizations of vertical polarization and horizontal polarization, two feeding points corresponding to both polarizations are required.
  • a polarization sharing antenna As a technique for transmitting and receiving such two polarized waves, a polarization sharing antenna has been proposed (see Non-Patent Documents 1 and 2).
  • This dual-polarized antenna can transmit and receive two polarizations of vertical polarization and horizontal polarization at the same frequency, or can transmit and receive simultaneously, and is used in fields such as satellite communication and remote sensing.
  • the object of the present invention is to enable transmission and reception of vertically polarized waves and horizontally polarized waves with a simpler configuration.
  • the first linear antenna having at least one open end, and at least one open end, the open end side and the open end side of the first linear antenna. Are arranged at a predetermined interval and substantially orthogonal to the first linear antenna, and are formed at a resonance frequency substantially the same as the resonance frequency of the first linear antenna, and the first linear antenna.
  • the first linear antenna and the second linear antenna are arranged to be opposed to each of the open end side of the linear antenna and the open end side of the second linear antenna at a predetermined interval.
  • An electromagnetic coupling type power supply unit (EM power supply unit) that is electromagnetically connected to the EM power supply unit, and the first linear antenna and the second linear antenna that are electrically connected to the EM power supply unit via the EM power supply unit
  • the antenna main part to be arranged the first short-circuiting part that short-circuits the opposite end part of the antenna main part on the open end side and the ground conductor plate, and the first mains short-circuiting part of the antenna main part that is open.
  • the antenna is an inverted F antenna having a second short-circuit portion that short-circuits the antenna main portion and the ground conductor plate.
  • the first linear antenna is disposed substantially parallel to an end surface of the ground conductor plate, and an open end side faces the EM power feeding portion.
  • a dual-polarized transmission / reception antenna according to claim 1 is provided.
  • the first linear antenna is a dipole antenna, and both of the claims according to any one of claims 1 to 3 are characterized.
  • a polarized wave transmitting / receiving antenna is provided.
  • the second linear antenna is a dipole antenna, an inverted F antenna, or an inverted L antenna.
  • a dual-polarized transmission / reception antenna according to any one of the claims is provided.
  • a dual-polarized transmission / reception antenna according to claim 1 is provided.
  • a dual-polarized transmission / reception antenna according to any one of claims 1 to 6 is provided.
  • each of the first linear antenna, the second linear antenna, and the EM feeder is formed of a plurality of layers connected to each other via.
  • a dual-polarized transmission / reception antenna according to any one of claims 1 to 7 is provided.
  • the shape of the antenna element portion is a linear shape, a meander shape, a helical shape, or a bent end shape,
  • the dual-polarized transmission / reception antenna according to any one of claims 1 to 8 is provided.
  • the first linear antenna and the second linear antenna having substantially the same resonance frequency are orthogonally arranged, and are opposed to both open ends of the two linear antennas at a predetermined interval.
  • vertical polarization and horizontal polarization can be transmitted and received with a simpler configuration.
  • any two of a dipole antenna, an inverted F antenna, and an inverted L antenna whose resonance frequencies are adjusted to be substantially the same are used as the first linear shape.
  • An antenna and a second linear antenna are used, and the open end sides of the two linear antennas are orthogonally arranged with a predetermined distance therebetween.
  • an EM power feeding part is disposed opposite to each of the open ends of the first linear antenna and the second linear antenna at a predetermined interval, and the power feeding line is electrically connected to the EM power feeding part.
  • the dual-polarized transmission / reception antenna of the present embodiment by realizing electromagnetic one-point power feeding from both open ends of two orthogonal linear antennas having substantially the same resonance frequency.
  • the power feeding unit and the high frequency circuit can be simplified. That is, it is possible to obtain a dual-polarized wave transmission / reception antenna that can transmit and receive vertical polarization and horizontal polarization with a simpler configuration.
  • the orthogonal arrangement of the antennas is arranged in an orthogonal state, and the arrangement in the orthogonal state is not limited to a right angle in a strict sense, but an angle width that can realize a practical dual-polarized transmission / reception antenna. For example, it is set in the range of ⁇ / 2 ⁇ 10 degrees, preferably in the range of ⁇ / 2 ⁇ 5 degrees.
  • an inverted F antenna 20 (first linear antenna) having an open end on one side of two orthogonal sides of the rectangular ground conductor plate 10 and a dipole antenna on the other side. 30 (second linear antenna) is disposed, and the EM power feeding portion 41 of the power feeding portion 40 is disposed opposite to both open ends.
  • the resonant frequencies of the inverted F antenna 20 and the dipole antenna 30 are set to be substantially the same in order to obtain a dual-polarized transmission / reception antenna having a resonance frequency of 2.44 GHz.
  • the opposite side of the open end side of the inverted F antenna 20 is short-circuited to the ground conductor plate 10 by the first short-circuit portion 22 and the second short-circuit portion 23.
  • the dipole antenna 30 is not short-circuited to the ground conductor plate 10, the voltage at the central portion of the entire length is zero, so that it can be connected to the ground conductor plate 10 at this central portion.
  • both polarization transmitting and receiving antennas can be reduced in size, and the ground conductor plate
  • the center portion of the slab can be cut off or an electronic circuit can be provided.
  • FIG. 1 is a perspective view showing the configuration of an embodiment of a dual-polarized transmission / reception antenna.
  • the dual-polarized transmission / reception antenna 1 includes a ground conductor plate 10, an inverted F antenna 20 ( ⁇ / 4 type antenna), a dipole antenna 30 ( ⁇ / 2 type antenna), and a power feeding unit. 40.
  • the inverted F antenna 20 functions as a first linear antenna
  • the dipole antenna 30 functions as a second linear antenna.
  • the ground conductor plate 10 is formed of a rectangular sheet metal. The size of the ground conductor plate 10 is 40 mm ⁇ 40 mm.
  • the inverted F antenna 20 includes an antenna main portion 21 disposed substantially parallel to the side 11 of the ground conductor plate 10, and a first short-circuit portion 22 that connects the end portion side of the antenna main portion 21 and the ground conductor plate 10. And the second short-circuit portion 23 are provided.
  • the first short-circuit portion 22 connects the end portion of the antenna main portion 21 and the end portion of the ground conductor plate 10, and the second short-circuit portion 23 is substantially parallel to the antenna main portion on the open end side with respect to the first short-circuit portion 22.
  • the part 21 and the ground conductor plate 10 are connected.
  • the inverted F antenna 20 is formed with a line width of 1 mm as a whole, the length of the antenna main portion 21 is 32 mm, and the length of the first short-circuit portion 22 and the second short-circuit portion 23 is 4 mm (in the drawing, the antenna main portion 21 The width is added and displayed as 5 mm).
  • the size of the inverted F antenna 20 of this size is 2.44 GHz band when used alone.
  • the second short-circuit portion 23 is disposed with an interval of 9 mm.
  • the inverted F antenna 20 of the present embodiment is integrally formed of the same material as the ground conductor plate 10, but may be formed separately and connected to each other, or may be formed of a different material. .
  • the dipole antenna 30 is provided with an antenna main portion 31 disposed substantially in parallel with the other side 12 orthogonal to the side 11 of the ground conductor plate 10, and extends from the antenna main portion 31 toward the side 11.
  • a bent portion 32 is provided.
  • the bent portion 32 functions as an open end side facing a power supply portion 40 described later.
  • the dipole antenna 30 is formed with a line width of 1 mm as a whole, the antenna main part 31 is 51 mm long, and the bent part 32 is 7 mm long.
  • the distance between the antenna main portion 31 and the side 12 of the ground conductor plate 10 is 5 mm.
  • the dipole antenna 30 has the same 2.44 GHz band as the inverted F antenna 20 when used alone with an overall length of 58 mm.
  • the open end of the bent portion 32 and the open end of the antenna main portion 21 in the inverted F antenna 20 are arranged at a predetermined interval so that they do not come into contact with each other. In this embodiment, an interval of 7 mm (not shown) ) Is opened.
  • the bent portion 32 is bent so as to face the power feeding portion 40, but is not necessary when the power feeding portion 40 side is bent as will be described later, and the antenna main portion 31 is formed longer by that amount. (See FIG. 8 (a)).
  • the power feeding unit 40 is disposed in parallel with the side 11 of the ground conductor plate 10 so as to be opposed to the open end side of the inverted F antenna 20 and the open end side (bent portion 32) of the dipole antenna 30 with a predetermined distance therebetween. 41 and a power supply line 42 electrically connected to the EM power supply unit 41 at one end side. The other end side of the feed line 42 extends to the ground conductor plate 10 side, and has a feed point P1 at the end thereof.
  • the power feeding unit 40 is formed to have a line width of 1 mm throughout, and the length of the EM power feeding unit 41 is formed to 17 mm (not shown), and about 5 mm (not shown) on both ends, or in the vicinity thereof.
  • the feed region having the value of 1 is opposed to the open end side of the inverted F antenna 20 and the dipole antenna 30 with an interval of 0.5 mm.
  • a general inverted-F antenna has a short-circuited portion near the outside of the feeding point in order to facilitate impedance matching of an inverted-L antenna that is bent in the middle to lower the profile.
  • the feeding point is not connected to the ground conductor plate.
  • electromagnetic coupling EM coupling
  • the power feeding unit 40 disposed opposite to the open end side of the antenna main part 21 and the second short circuit corresponding to the power feeding point.
  • the part 23 is connected to the ground conductor plate 10.
  • the EM power feeding portion 41 when the EM power feeding portion 41 is electromagnetically fed (EM feeding) to the inverted F antenna 20, a current also flows to the second short-circuit portion 23 via the antenna main portion 21, thereby causing the second short-circuit.
  • the part 23 acts in the same manner as a general feeding point and functions as a general inverted F antenna as a whole. The same applies to the inverted L antenna used in FIGS. 7 and 9B described later.
  • the inverted F antenna 20 ( ⁇ / 4 type) and the dipole antenna 30 ( ⁇ / 2 type) are arranged orthogonally on the sheet metal and fed at one point by EM coupling.
  • both polarization transmitting / receiving antennas 1 have very good characteristics with radiation efficiency of slightly over 95%.
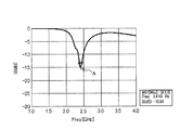
  • FIG. 2 is an explanatory diagram showing the return loss characteristics of the dual-polarized transmission / reception antenna 1.
  • the characteristics of the dual-polarized transmission / reception antenna 1 described below are as follows.
  • the length directions of the side 11 and the side 12 of the ground conductor plate 10 are the Y axis and the X axis, respectively.
  • the direction orthogonal to the conductor plate 10 will be described as the Z-axis direction.
  • the resonance point is one point A indicated by an arrow, which indicates that the resonance frequencies of the two antennas are equal.
  • FIG. 3 is an explanatory diagram showing the directivity characteristics of the dual-polarized transmission / reception antenna 1.
  • ⁇ Z As shown in the directivity characteristics of FIGS. 3 (a) and 3 (b), according to the dual polarization transmitting / receiving antenna 1 of the present embodiment, ⁇ Z as shown by the regions B to D surrounded by dotted lines.
  • ⁇ Z By having the maximum radiation direction of both horizontal / vertical polarized waves in the direction (direction perpendicular to the ground conductor plate 10), it is possible to simultaneously transmit and receive two polarized waves of vertical polarization and horizontal polarization in the same frequency band. From the directivity characteristics (XY plane) shown in FIG. 3C, it can be said that one polarization has a substantially uniform characteristic.
  • FIG. 4 is an explanatory diagram showing the distribution state of the surface current density (2.44 GHz) in the ground conductor plate 10 of the dual-polarized transmission / reception antenna 1.
  • the surface current density in a specific phase generated in the ground conductor plate 10 is merely that the high-frequency current is applied to the edge (near the outer periphery) of the ground conductor plate 10. This is the same in any phase including other phases not shown. That is, according to the dual-polarized transmission / reception antenna 1 of the present embodiment, the high-frequency current does not get on the central portion of the ground conductor plate 10.
  • the ground conductor plate 10 when the length of one side of the ground conductor plate 10 is L, it is possible to cut out the central L / 2 or 3L / 5 square range, or the range of the vicinity thereof. Thereby, it is possible to reduce the weight of both the polarization transmitting / receiving antennas 1. Further, since the high frequency current is not applied to the central region of the ground conductor plate 10, an electronic circuit or the like can be disposed in the region. It is also possible to cut out the central region as described above and arrange an electronic circuit or the like in the cutout region.
  • the opposite sides formed at substantially the same resonance frequency so as to face the two orthogonal sides 11 and 12 of the ground conductor plate 10.
  • the F antenna 20 and the dipole antenna 30 are disposed so as to be substantially orthogonal.
  • the EM power feeding portion 41 of the common power feeding portion 40 is disposed opposite to the open end side of the inverted F antenna 20 and the open end side of the dipole antenna 30, so that electromagnetic power feeding to both antennas 20 and 30 is performed. Is performed at one point.
  • the dual polarization transmission / reception antenna 1 of the present embodiment by adopting the one-point feeding method by EM feeding, the feeding section and the high frequency circuit can be simplified, and the vertically polarized wave can be obtained with a simpler configuration.
  • a dual-polarized transmission / reception antenna capable of transmitting and receiving horizontal polarization is obtained.
  • both polarization transmitting and receiving antennas can be miniaturized, and the center portion of the ground conductor plate can be cut off or an electronic circuit can be provided.
  • FIG. 5 is an explanatory diagram showing the arrangement of the polarization transmitting / receiving antennas 1 and the switching of the polarization. Except for FIG. 9A, the drawings in FIG. 5 and the following drawings are simplified because they illustrate the shape and arrangement of each antenna.
  • FIG. 5A is the same as the dual-polarized transmission / reception antenna 1 described in FIG. 1, and shows a dual-polarization transmission / reception antenna 1 serving as a reference. Even when the both-polarized transmission / reception antennas 1 in FIG. 5 (a) are arranged symmetrically in FIG. 5 (b) in the left-right symmetry (the front and back are reversed with respect to the longitudinal center axis), FIG.
  • FIG. 6 shows a configuration of a modified example of the dual-polarized transmission / reception antenna 1.
  • FIG. 6A shows two sets of the dual-polarized transmission / reception antennas 1 described in FIG. 1 arranged in point symmetry (on the opposite side). That is, with respect to one ground conductor plate 10, the first dual-polarized transmission / reception antenna 1 a including the inverted F antenna 20 a, the dipole antenna 30 a, and the feeding unit 40 a, the inverted F antenna 20 b, the dipole antenna 30 b, and the feeding unit 40 b are provided. Two sets of the second polarized wave transmitting / receiving antennas 1b are arranged point-symmetrically.
  • the resonance frequency (for example, 2.44 GHz) of both the polarization transmitting / receiving antennas 1a and 1b is made common, thereby gain compared with the both polarization transmitting / receiving antenna 1 described in the embodiment. Can be improved.
  • the first dual-polarized transmission / reception antenna 1a and the second dual-polarization transmission / reception antenna 1b as antennas of different frequency bands, a dual-frequency dual-polarization transmission / reception antenna can be provided.
  • the first dual-polarized transmission / reception antenna 1a is set to the 2.44 GHz band
  • the second dual-polarization transmission / reception antenna 1b is set to the 5.2 GHz band.
  • both polarization transmitting / receiving antennas When two sets of both polarization transmitting / receiving antennas are arranged as shown in FIG. 6 (b), the vertically polarized waves and the horizontally polarized waves cancel each other. If two sets are fed at different timings by switching or the like, both polarization transmission / reception becomes possible. Moreover, if the element dimensions of 20a and 30a, 20b and 30b are controlled and the respective resonance frequencies are changed, it is possible to construct an antenna system that realizes dual-polarized transmission / reception for both frequencies.
  • FIG. 7 shows modified examples in which other types of antennas are combined.
  • any one of an inverted F antenna, an inverted L antenna, and a dipole antenna can be selected, and the selectable combinations are shown in FIG.
  • the inverted F antenna and the inverted L antenna are simply expressed as inverted F and inverted L
  • the dipole antenna is simply expressed as a dipole.
  • both ⁇ / 4 type antennas are arranged as the first linear antenna and the second linear antenna.
  • FIG. 7A shows an inverted F + inverted F dual-polarized transmission / reception antenna in which two inverted F antennas are arranged so that the open end side is on the same corner side of the ground conductor plate 10.
  • the open end side is bent so as to face the EM power feeding portion 41, similarly to the bent portion 32 of the dipole antenna 30 described in FIG. The same applies to the bending of the open end side of one of the antennas so as to face the EM power feeding portion 41 in FIGS. 7B to 7E.
  • FIG. 7B is an example of an inverted F + inverted L type dual-polarized transmission / reception antenna in which an inverted L antenna is arranged instead of the dipole antenna 30 of the embodiment. Also in this example, the feeding portion 40 side is bent with the open end side, and a short-circuit portion is provided on the opposite side.
  • FIG. 7C shows an inverted L + inverted L type dual-polarized transmission / reception antenna in which both the inverted F antenna 20 and the dipole antenna 30 of the embodiment are replaced with an inverted L antenna. In each of FIGS. 7A to 7C, the short-circuit portions of both antennas are arranged diagonally with respect to the ground conductor plate 10.
  • FIG. 7D shows an example of an inverted L + dipole dual-polarized transmission / reception antenna in which an inverted L antenna is arranged instead of the inverted F antenna 20 of the embodiment.
  • ⁇ / 4 type and ⁇ / 2 type antennas are used as in the embodiment.
  • both the polarization transmitting / receiving antennas use ⁇ / 4 type antennas (inverted F antenna, inverted L antenna).
  • the ground conductor plate 10 is required.
  • a high-frequency current is also applied to the central portion of the ground conductor plate 10 in each of the modified examples of FIGS. never ride. Therefore, also in these modified examples, the central portion of the ground conductor plate 10 can be cut out or an electronic circuit can be provided.
  • FIG. 7E shows an example of a dipole + dipole type dual polarization transmitting / receiving antenna in which a dipole antenna is arranged instead of the inverted F antenna 20 of the embodiment. According to this modification, since both are ⁇ / 2 type antennas, the ground conductor plate 10 is not required, and a light dual-polarized transmission / reception antenna can be obtained.
  • both of the first dual-polarized transmission / reception antenna 1a and the second dual-polarization transmission / reception antenna 1b are shown in FIGS. 7 (a) to (e). It is also possible to select any one of them.
  • FIG. 8 is an explanatory diagram of a modified example in which the shape of the power feeding portion is changed in both polarization transmitting / receiving antennas.
  • the antenna main portion 21 of the inverted F antenna 20 and the bent portion 32 of the dipole antenna 30 are arranged on substantially the same straight line.
  • the EM feed portion 41 is disposed opposite to the open ends of both antennas.
  • the open end side of the dipole antenna 30c (second linear antenna) is not bent, and only the linear antenna main portion 31c is configured, and the EM power feeding portion 41c is bent instead.
  • the dipole antenna 30c is disposed opposite to the open end.
  • FIG. 8A the open end side of the dipole antenna 30c (second linear antenna) is not bent, and only the linear antenna main portion 31c is configured, and the EM power feeding portion 41c is bent instead.
  • the dipole antenna 30c is disposed opposite to the open end.
  • the antenna main portion 21 of the inverted F antenna 20 and the bent portion 32 of the dipole antenna 30d are not arranged on the same line but are arranged in parallel at a predetermined interval, and at the predetermined interval.
  • the EM power feeding part 41d is arranged inside. Accordingly, in the example of FIG. 8, when the side facing the ground conductor plate 10 of the EM power feeding portion 41d is the inside and the opposite side is the outside, the antenna main portion 21 of the inverted F antenna 20 is outside the EM feeding portion 41d.
  • the bent portion of the dipole antenna 30d faces the inside of the EM power feeding portion 41d.
  • positioning of EM electric power feeding part FIG. The same can be applied to each of the modified examples described in FIG. 7 and the modified examples described later.
  • FIG. 9 is an explanatory diagram showing the configuration of another modified example of the dual-polarized transmission / reception antenna 1.
  • FIG. 9A shows a modified example of the dual-polarized transmission / reception antenna in which the inverted F antenna 20, the dipole antenna 30, and the power feeding unit 40 have a three-dimensional structure. As shown in FIG. 9A, the first short circuit portion 22e and the second short circuit portion 23e of the inverted F antenna 20e connected to the ground conductor plate 10 are bent at a right angle with respect to the ground conductor plate 10, thereby 1 on the ZY plane.
  • the central portion where the voltage is zero or the vicinity thereof is connected by the short-circuit portion 33e, and the short-circuit portion 33e is bent at a right angle with respect to the ground conductor plate 10, thereby It is formed on a plane.
  • the feed line 42e has a three-dimensional structure so as to be orthogonal to the ground conductor plate 10 in the same manner. It is formed on the -Y plane.
  • the bent portion 32e of the dipole antenna 30e has a shorter length than the embodiment described with reference to FIG. 1 due to the three-dimensional structure.
  • the end portion 43e on the dipole antenna 30e side of the EM feed portion 41e is not 12 (see FIG. 1). According to the modification shown in FIG. 9A, it is possible to reduce the arrangement area of the entire antenna for both polarization transmission and reception.
  • a second dual-polarized transmission / reception antenna is reversely arranged on the outer side of the inverted F antenna 20 and the dipole antenna 30 of the dual-polarization transmission / reception antenna 1 described in FIG.
  • An L antenna 50 and a dipole antenna 60 are provided.
  • the inverted L antenna 50 forms a short-circuit portion (a feeding line portion in a general inverted-L antenna) on an extension line of the second short-circuit portion 23 of the inverted F antenna 20.
  • the electric power feeding part 40 it feeds electromagnetically in common with two sets of both polarized-wave transmission / reception antennas. According to this modification, it is possible to provide a multi-frequency dual-polarized transmission / reception antenna.
  • the dual-polarized transmission / reception antenna 1 of the present embodiment and the modified examples thereof have been described, but various modifications can be made.
  • the single-layer dual-polarized transmission / reception antenna has been described.
  • both the embodiment and the modification described above on the high relative dielectric constant substrate such as glass epoxy resin are used.
  • the antenna layer may be multilayered (for example, two layers, four layers, eight layers).
  • the respective parts of the ground conductor plate 10, the inverted F antenna 20, the dipole antenna 30, and the power feeding unit 40 in the dual-polarized transmission / reception antennas of each layer are connected to each other via.
  • the power supply line 42 of the power supply unit 40 may have a single layer and may be connected to the EM power supply unit 41 of any one layer.
  • the antenna is made of n layers, and the high relative dielectric constant substrate is made of n ⁇ 1 layers, so that the multi-polarization antenna for both polarization transmission and reception is obtained. You may arrange
  • the antenna element shape in a straight state is described except for the open end.
  • the shape is not limited to the linear shape.
  • a meander shape, a helical shape, or a bent end shape (a bent end shape) can be used.

Landscapes

  • Variable-Direction Aerials And Aerial Arrays (AREA)
PCT/JP2018/011374 2017-03-28 2018-03-22 両偏波送受用アンテナ Ceased WO2018180877A1 (ja)

Applications Claiming Priority (2)

Application Number Priority Date Filing Date Title
JP2017063558A JP6678616B2 (ja) 2017-03-28 2017-03-28 両偏波送受用アンテナ
JP2017-063558 2017-03-28

Publications (1)

Publication Number Publication Date
WO2018180877A1 true WO2018180877A1 (ja) 2018-10-04

Family

ID=63675649

Family Applications (1)

Application Number Title Priority Date Filing Date
PCT/JP2018/011374 Ceased WO2018180877A1 (ja) 2017-03-28 2018-03-22 両偏波送受用アンテナ

Country Status (2)

Country Link
JP (1) JP6678616B2 (enExample)
WO (1) WO2018180877A1 (enExample)

Cited By (3)

* Cited by examiner, † Cited by third party
Publication number Priority date Publication date Assignee Title
JP2021052335A (ja) * 2019-09-26 2021-04-01 Necプラットフォームズ株式会社 無線通信装置及び無線通信方法
WO2021215121A1 (ja) * 2020-04-22 2021-10-28 Necプラットフォームズ株式会社 アンテナ装置及び無線通信装置
US12500342B2 (en) 2022-08-09 2025-12-16 Shure Acquisition Holdings, Inc. Quadrature antenna for portable wireless applications

Families Citing this family (1)

* Cited by examiner, † Cited by third party
Publication number Priority date Publication date Assignee Title
JP7746857B2 (ja) * 2022-01-18 2025-10-01 株式会社デンソー アンテナモジュール、無線通信装置

Citations (7)

* Cited by examiner, † Cited by third party
Publication number Priority date Publication date Assignee Title
JPH0955621A (ja) * 1995-08-14 1997-02-25 Toyo Commun Equip Co Ltd アレーアンテナ
JPH1098329A (ja) * 1996-09-20 1998-04-14 Murata Mfg Co Ltd マイクロストリップアンテナ
JP2004260434A (ja) * 2003-02-25 2004-09-16 Nec Access Technica Ltd 小型無線機用アンテナ装置
US20060220959A1 (en) * 2003-03-18 2006-10-05 Zhinong Ying Compact diversity antenna
JP2009123058A (ja) * 2007-11-16 2009-06-04 Dainippon Printing Co Ltd 非接触型icタグ及び非接触型icタグの製造方法
US20090160724A1 (en) * 2004-09-09 2009-06-25 Mckivergan Patrick D Polarization agile antenna
WO2014013840A1 (ja) * 2012-07-20 2014-01-23 旭硝子株式会社 アンテナ装置及びそれを備える無線装置

Family Cites Families (3)

* Cited by examiner, † Cited by third party
Publication number Priority date Publication date Assignee Title
JP2007159064A (ja) * 2005-12-08 2007-06-21 Sony Corp アンテナとそれを用いた無線装置および電子機器
JP2009076960A (ja) * 2007-09-18 2009-04-09 Samsung Electronics Co Ltd アンテナ装置
JP2011082951A (ja) * 2009-09-14 2011-04-21 Nagasaki Univ 逆l型アンテナ

Patent Citations (7)

* Cited by examiner, † Cited by third party
Publication number Priority date Publication date Assignee Title
JPH0955621A (ja) * 1995-08-14 1997-02-25 Toyo Commun Equip Co Ltd アレーアンテナ
JPH1098329A (ja) * 1996-09-20 1998-04-14 Murata Mfg Co Ltd マイクロストリップアンテナ
JP2004260434A (ja) * 2003-02-25 2004-09-16 Nec Access Technica Ltd 小型無線機用アンテナ装置
US20060220959A1 (en) * 2003-03-18 2006-10-05 Zhinong Ying Compact diversity antenna
US20090160724A1 (en) * 2004-09-09 2009-06-25 Mckivergan Patrick D Polarization agile antenna
JP2009123058A (ja) * 2007-11-16 2009-06-04 Dainippon Printing Co Ltd 非接触型icタグ及び非接触型icタグの製造方法
WO2014013840A1 (ja) * 2012-07-20 2014-01-23 旭硝子株式会社 アンテナ装置及びそれを備える無線装置

Cited By (8)

* Cited by examiner, † Cited by third party
Publication number Priority date Publication date Assignee Title
JP2021052335A (ja) * 2019-09-26 2021-04-01 Necプラットフォームズ株式会社 無線通信装置及び無線通信方法
WO2021059651A1 (ja) * 2019-09-26 2021-04-01 Necプラットフォームズ株式会社 無線通信装置及び無線通信方法
CN114450852A (zh) * 2019-09-26 2022-05-06 Nec平台株式会社 无线通信装置和无线通信方法
US12218443B2 (en) 2019-09-26 2025-02-04 Nec Platforms, Ltd. Wireless communication device and wireless communication method
WO2021215121A1 (ja) * 2020-04-22 2021-10-28 Necプラットフォームズ株式会社 アンテナ装置及び無線通信装置
JP2021175044A (ja) * 2020-04-22 2021-11-01 Necプラットフォームズ株式会社 アンテナ装置及び無線通信装置
US12300891B2 (en) 2020-04-22 2025-05-13 Nec Platforms, Ltd. Antenna device, and wireless communication device
US12500342B2 (en) 2022-08-09 2025-12-16 Shure Acquisition Holdings, Inc. Quadrature antenna for portable wireless applications

Also Published As

Publication number Publication date
JP6678616B2 (ja) 2020-04-08
JP2018166294A (ja) 2018-10-25

Similar Documents

Publication Publication Date Title
US11245202B2 (en) Millimeter wave array antenna and mobile terminal
Orban et al. The basics of patch antennas, updated
KR102641158B1 (ko) 이중대역 이중편파 안테나 복사소자
CN112751155B (zh) 电子设备
US7339531B2 (en) Multi frequency magnetic dipole antenna structures and method of reusing the volume of an antenna
US11081800B2 (en) Dual-polarized antenna
US8907857B2 (en) Compact multi-antenna and multi-antenna system
US10103440B2 (en) Stripline coupled antenna with periodic slots for wireless electronic devices
EP3172797B1 (en) Slot antenna
JP2017511667A (ja) アンテナアイソレーションの提供を有する容量結合型ループアンテナを用いたアンテナシステム
CN101982899A (zh) S/x双波段双极化微带振子/叠层贴片天线阵
JP6678617B2 (ja) 円偏波アンテナ
WO2018077408A1 (en) Compact dual-band mimo antenna
CN105048078A (zh) 一种共口径多频段宽波束圆极化天线
CN107636892A (zh) 天线
WO2018180877A1 (ja) 両偏波送受用アンテナ
US20130194147A1 (en) Antenna device
CN113826282B (zh) 利用位移串联供电的双极化天线
TWI462392B (zh) 多天線系統及具有該多天線系統的電子裝置
JP2001244727A (ja) マイクロストリップアンテナ
CN107845854B (zh) 复合天线
JP4769664B2 (ja) 円偏波パッチアンテナ
CN111641050B (zh) 共口径多极化天线
CN117748170A (zh) 电子设备
CN109687133B (zh) 一种小型化北斗卫星终端天线

Legal Events

Date Code Title Description
121 Ep: the epo has been informed by wipo that ep was designated in this application

Ref document number: 18777409

Country of ref document: EP

Kind code of ref document: A1

NENP Non-entry into the national phase

Ref country code: DE

122 Ep: pct application non-entry in european phase

Ref document number: 18777409

Country of ref document: EP

Kind code of ref document: A1