WO2018168436A1 - Microchip and microparticle measuring apparatus - Google Patents

Microchip and microparticle measuring apparatus Download PDF

Info

Publication number
WO2018168436A1
WO2018168436A1 PCT/JP2018/007158 JP2018007158W WO2018168436A1 WO 2018168436 A1 WO2018168436 A1 WO 2018168436A1 JP 2018007158 W JP2018007158 W JP 2018007158W WO 2018168436 A1 WO2018168436 A1 WO 2018168436A1
Authority
WO
WIPO (PCT)
Prior art keywords
microchip
discharge part
substrate layer
substrate
cavity
Prior art date
Legal status (The legal status is an assumption and is not a legal conclusion. Google has not performed a legal analysis and makes no representation as to the accuracy of the status listed.)
Ceased
Application number
PCT/JP2018/007158
Other languages
English (en)
French (fr)
Inventor
Hiroto Kasai
Shoji Akiyama
Kazuya Takahashi
Current Assignee (The listed assignees may be inaccurate. Google has not performed a legal analysis and makes no representation or warranty as to the accuracy of the list.)
Sony Corp
Original Assignee
Sony Corp
Priority date (The priority date is an assumption and is not a legal conclusion. Google has not performed a legal analysis and makes no representation as to the accuracy of the date listed.)
Filing date
Publication date
Application filed by Sony Corp filed Critical Sony Corp
Priority to US16/490,138 priority Critical patent/US20200070152A1/en
Priority to CN201880016751.9A priority patent/CN110382117B/zh
Priority to EP18720027.4A priority patent/EP3595814B1/en
Publication of WO2018168436A1 publication Critical patent/WO2018168436A1/en
Anticipated expiration legal-status Critical
Priority to US17/959,491 priority patent/US20230063086A1/en
Ceased legal-status Critical Current

Links

Images

Classifications

    • BPERFORMING OPERATIONS; TRANSPORTING
    • B01PHYSICAL OR CHEMICAL PROCESSES OR APPARATUS IN GENERAL
    • B01LCHEMICAL OR PHYSICAL LABORATORY APPARATUS FOR GENERAL USE
    • B01L3/00Containers or dishes for laboratory use, e.g. laboratory glassware; Droppers
    • B01L3/50Containers for the purpose of retaining a material to be analysed, e.g. test tubes
    • B01L3/502Containers for the purpose of retaining a material to be analysed, e.g. test tubes with fluid transport, e.g. in multi-compartment structures
    • B01L3/5027Containers for the purpose of retaining a material to be analysed, e.g. test tubes with fluid transport, e.g. in multi-compartment structures by integrated microfluidic structures, i.e. dimensions of channels and chambers are such that surface tension forces are important, e.g. lab-on-a-chip
    • B01L3/502707Containers for the purpose of retaining a material to be analysed, e.g. test tubes with fluid transport, e.g. in multi-compartment structures by integrated microfluidic structures, i.e. dimensions of channels and chambers are such that surface tension forces are important, e.g. lab-on-a-chip characterised by the manufacture of the container or its components
    • BPERFORMING OPERATIONS; TRANSPORTING
    • B01PHYSICAL OR CHEMICAL PROCESSES OR APPARATUS IN GENERAL
    • B01LCHEMICAL OR PHYSICAL LABORATORY APPARATUS FOR GENERAL USE
    • B01L3/00Containers or dishes for laboratory use, e.g. laboratory glassware; Droppers
    • B01L3/02Burettes; Pipettes
    • B01L3/0241Drop counters; Drop formers
    • B01L3/0268Drop counters; Drop formers using pulse dispensing or spraying, eg. inkjet type, piezo actuated ejection of droplets from capillaries
    • BPERFORMING OPERATIONS; TRANSPORTING
    • B01PHYSICAL OR CHEMICAL PROCESSES OR APPARATUS IN GENERAL
    • B01LCHEMICAL OR PHYSICAL LABORATORY APPARATUS FOR GENERAL USE
    • B01L3/00Containers or dishes for laboratory use, e.g. laboratory glassware; Droppers
    • B01L3/50Containers for the purpose of retaining a material to be analysed, e.g. test tubes
    • B01L3/502Containers for the purpose of retaining a material to be analysed, e.g. test tubes with fluid transport, e.g. in multi-compartment structures
    • B01L3/5027Containers for the purpose of retaining a material to be analysed, e.g. test tubes with fluid transport, e.g. in multi-compartment structures by integrated microfluidic structures, i.e. dimensions of channels and chambers are such that surface tension forces are important, e.g. lab-on-a-chip
    • B01L3/502761Containers for the purpose of retaining a material to be analysed, e.g. test tubes with fluid transport, e.g. in multi-compartment structures by integrated microfluidic structures, i.e. dimensions of channels and chambers are such that surface tension forces are important, e.g. lab-on-a-chip specially adapted for handling suspended solids or molecules independently from the bulk fluid flow, e.g. for trapping or sorting beads, for physically stretching molecules
    • GPHYSICS
    • G01MEASURING; TESTING
    • G01NINVESTIGATING OR ANALYSING MATERIALS BY DETERMINING THEIR CHEMICAL OR PHYSICAL PROPERTIES
    • G01N15/00Investigating characteristics of particles; Investigating permeability, pore-volume or surface-area of porous materials
    • G01N15/10Investigating individual particles
    • G01N15/14Optical investigation techniques, e.g. flow cytometry
    • G01N15/1404Handling flow, e.g. hydrodynamic focusing
    • GPHYSICS
    • G01MEASURING; TESTING
    • G01NINVESTIGATING OR ANALYSING MATERIALS BY DETERMINING THEIR CHEMICAL OR PHYSICAL PROPERTIES
    • G01N15/00Investigating characteristics of particles; Investigating permeability, pore-volume or surface-area of porous materials
    • G01N15/10Investigating individual particles
    • G01N15/14Optical investigation techniques, e.g. flow cytometry
    • G01N15/1456Optical investigation techniques, e.g. flow cytometry without spatial resolution of the texture or inner structure of the particle, e.g. processing of pulse signals
    • G01N15/1459Optical investigation techniques, e.g. flow cytometry without spatial resolution of the texture or inner structure of the particle, e.g. processing of pulse signals the analysis being performed on a sample stream
    • GPHYSICS
    • G01MEASURING; TESTING
    • G01NINVESTIGATING OR ANALYSING MATERIALS BY DETERMINING THEIR CHEMICAL OR PHYSICAL PROPERTIES
    • G01N15/00Investigating characteristics of particles; Investigating permeability, pore-volume or surface-area of porous materials
    • G01N15/10Investigating individual particles
    • G01N15/14Optical investigation techniques, e.g. flow cytometry
    • G01N15/1484Optical investigation techniques, e.g. flow cytometry microstructural devices
    • BPERFORMING OPERATIONS; TRANSPORTING
    • B01PHYSICAL OR CHEMICAL PROCESSES OR APPARATUS IN GENERAL
    • B01LCHEMICAL OR PHYSICAL LABORATORY APPARATUS FOR GENERAL USE
    • B01L2200/00Solutions for specific problems relating to chemical or physical laboratory apparatus
    • B01L2200/02Adapting objects or devices to another
    • B01L2200/025Align devices or objects to ensure defined positions relative to each other
    • BPERFORMING OPERATIONS; TRANSPORTING
    • B01PHYSICAL OR CHEMICAL PROCESSES OR APPARATUS IN GENERAL
    • B01LCHEMICAL OR PHYSICAL LABORATORY APPARATUS FOR GENERAL USE
    • B01L2300/00Additional constructional details
    • B01L2300/08Geometry, shape and general structure
    • B01L2300/0809Geometry, shape and general structure rectangular shaped
    • B01L2300/0816Cards, e.g. flat sample carriers usually with flow in two horizontal directions
    • BPERFORMING OPERATIONS; TRANSPORTING
    • B01PHYSICAL OR CHEMICAL PROCESSES OR APPARATUS IN GENERAL
    • B01LCHEMICAL OR PHYSICAL LABORATORY APPARATUS FOR GENERAL USE
    • B01L2300/00Additional constructional details
    • B01L2300/08Geometry, shape and general structure
    • B01L2300/0887Laminated structure
    • BPERFORMING OPERATIONS; TRANSPORTING
    • B01PHYSICAL OR CHEMICAL PROCESSES OR APPARATUS IN GENERAL
    • B01LCHEMICAL OR PHYSICAL LABORATORY APPARATUS FOR GENERAL USE
    • B01L2400/00Moving or stopping fluids
    • B01L2400/04Moving fluids with specific forces or mechanical means
    • B01L2400/0403Moving fluids with specific forces or mechanical means specific forces
    • B01L2400/0433Moving fluids with specific forces or mechanical means specific forces vibrational forces
    • B01L2400/0439Moving fluids with specific forces or mechanical means specific forces vibrational forces ultrasonic vibrations, vibrating piezo elements
    • GPHYSICS
    • G01MEASURING; TESTING
    • G01NINVESTIGATING OR ANALYSING MATERIALS BY DETERMINING THEIR CHEMICAL OR PHYSICAL PROPERTIES
    • G01N15/00Investigating characteristics of particles; Investigating permeability, pore-volume or surface-area of porous materials
    • G01N15/10Investigating individual particles
    • G01N15/14Optical investigation techniques, e.g. flow cytometry
    • G01N15/149Optical investigation techniques, e.g. flow cytometry specially adapted for sorting particles, e.g. by their size or optical properties

Definitions

  • the present technology relates to a microchip and a microparticle measuring apparatus.
  • microchips having a region or a flow path for chemical or biological analysis on substrates made of silicon or glass have been developed by applying fine processing technology in the semiconductor industry.
  • An analysis system using such a microchip is referred to as a micro-Total-Analysis System ( ⁇ -TAS), a lab-on-a-chip, a biochip, and the like.
  • ⁇ -TAS micro-Total-Analysis System
  • the technology of the analysis system can accelerate the speed of the analysis, improve efficiency, and achieve integration, in addition, miniaturize the measuring apparatus.
  • the analysis system using the microchip described above can perform an analysis with a small amount of samples and can use disposable microchips, the analysis system is especially applied to a biological analysis using valuable microscale samples and a large number of specimens.
  • Applications of the analysis system include, for example, an electrochemical detector of liquid chromatography and a compact electrochemical sensor in the medical field.
  • microparticle measuring technique for optically, electrically, or magnetically measuring characteristics of the microparticles such as cells and microbeads in the flow path formed in the microchip.
  • a population (group) which has been determined to satisfy a predetermined condition by measurement is separated and collected from the microparticles.
  • PLT 1 discloses “a microchip including a flow path through which liquid flows and a discharge part for discharging the liquid to outside which are formed on the microchip, and in which a notch which has a larger diameter than an opening is provided between the position of the opening of the discharge part which is opened toward the direction of an end surface of laminated substrate layers and the end surface”.
  • Such a microchip is used for separating and collecting the microparticles which have been determined to have predetermined optical characteristics by controlling a moving direction of a droplet including the microparticle discharged from the discharge part.
  • a microchip comprising a substrate including a flow channel configured to convey a fluid therein.
  • the substrate comprises a first substrate layer, a second substrate layer laminated to the first substrate layer to create the flow channel, and a discharge part formed in only one of the first substrate layer or the second substrate layer.
  • the discharge part includes an opening directed toward an end face of the substrate, and being configured to eject the fluid flowing through the flow channel.
  • the microparticle measuring apparatus comprises a microchip comprising a substrate including a flow channel configured to convey a fluid therein.
  • the substrate comprises a first substrate layer, a second substrate layer laminated to the first substrate layer to create the flow channel, and a discharge part formed in only one of the first substrate layer or the second substrate layer.
  • the discharge part includes an opening directed toward an end face of the substrate, and being configured to eject the fluid flowing through the flow channel.
  • Figs. 1A and 1B are schematic diagrams of an exemplary configuration of a microparticle measuring apparatus A according to an embodiment of the present technology.
  • Fig. 2 is a schematic diagram of an exemplary configuration of the microparticle measuring apparatus A according to the embodiment of the present technology.
  • Fig. 3 is a schematic diagram of an exemplary configuration of the microparticle measuring apparatus A according to the embodiment of the present technology.
  • Fig. 4 is a schematic diagram of an exemplary configuration of the microparticle measuring apparatus A according to the embodiment of the present technology.
  • Figs. 5A and 5B are schematic diagrams of an exemplary configuration of a microchip 1 according to the embodiment of the present technology.
  • Fig. 6 is an enlarged view of a portion (refer to Q in Fig.
  • Fig. 5A is surrounded by a broken line in Fig. 5A.
  • Fig. 7 is an enlarged view of a portion R-R in Fig. 5B.
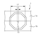
  • Fig. 8 is a schematic diagram of an exemplary configuration of a discharge part 12 in a front view viewed from a discharge direction.
  • Fig. 9A and 9B are diagrams of states in which shapes of droplets made to be different from each other according to a difference between shapes of the discharge parts have been confirmed.
  • Fig. 10 is a schematic diagram of a state of a droplet D discharged from the discharge part 12.
  • Fig. 11 is a schematic diagram of a microparticles sorting operation by the microparticle measuring apparatus A according to the embodiment of the present technology.
  • FIGS. 12A and 12B are schematic diagrams of exemplary shapes of a discharge part of a traditional microchip.
  • Fig. 13 is a schematic diagram of an exemplary configuration of the discharge part 12 in a front view viewed from the discharge direction, with a space formed by first and second cavity forming parts that form the orifice of the discharge part.
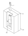
  • FIGS. 1A to 4 are schematic diagrams schematically illustrating an exemplary configuration of the microparticle measuring apparatus A according to the embodiment of the present technology.
  • the microparticle measuring apparatus A includes a microparticle sorting area protected by a cover A2 of a main body A1, and in addition, protected by a sorting cover A3.
  • the microparticle sorting area includes the microchip 1 to be described later which is inserted and attached in an upper opening of the sorting cover A3.
  • a block arrow in Fig. 2 indicates an insertion direction of a microchip module including the microchip 1 as a component into the sorting cover A3. Note that, in Fig. 3, for convenience, the illustration of the sorting cover A3 is omitted. In addition, the illustration of parts of the microchip module inserted into the sorting cover A3 other than the microchip 1 is omitted.
  • the microparticle sorting area includes the microchip 1, an optical detection unit 3 which irradiates a predetermined portion of the microchip 1 with light, a pair of counter electrodes 4, and three collection parts (containers 51, 52, and 53).
  • the optical detection unit 3 and the counter electrodes 4 are disposed in the main body A1, and the containers 51 to 53 are detachably attached to the main body A1.
  • the number of containers is set to be three for convenience. However, the number is not limited to this in the present technology.
  • a reference numeral 2 denotes a vibration element disposed on the microchip 1
  • reference numerals 6 denote ground electrodes which are grounded.
  • a flow path 11 (also referred to as a flow channel) through which liquid (sample liquid) including microparticle to be sorted flows is formed.
  • the optical detection unit 3 irradiates a predetermined portion of the flow path 11 with light (measurement light) and detects light (measurement target light) generated from the microparticle passing through the flow path 11.
  • the portion irradiated with the measurement light from the optical detection unit 3 in the flow path 11 is referred to as a “light irradiation portion”.
  • the optical detection unit 3 can have a configuration similar to that of a traditional microparticle measuring apparatus.
  • the optical detection unit 3 includes a laser light source, an irradiation system including a condensing lens and a dichroic mirror for collecting a laser beam from the microparticle or irradiating the microparticles with the laser beam, and a band-pass filter, and a detection system for detecting the measurement target light generated from the microparticles by irradiating the microparticles with the laser beam.
  • the detection system includes, for example, a photo multiplier tube (PMT), an area image pickup element such as a CCD or a CMOS element.
  • PMT photo multiplier tube
  • an area image pickup element such as a CCD or a CMOS element.
  • the measurement target light to be detected by the detection system of the optical detection unit 3 is light which is generated from the microparticle by the irradiation with the measurement light, and for example, the measurement target light can be scattering light such as forward scattering light, side scattering light, Rayleigh scattering, and Mie scattering and fluorescence. These measurement target light is converted into an electric signal, and optical characteristic of the microparticle is detected on the basis of the electric signal.
  • the sample liquid which has passed through the light irradiation portion is ejected from the discharge part 12 provided at one end of the flow path 11 to a space outside the chip.
  • a vibration element 2 such as a piezo element
  • the sample liquid can be formed into droplets and discharged to the space outside the chip.
  • a reference numeral D denotes the droplet which has discharged to the space outside the chip.
  • a droplet D includes the microparticle to be sorted.
  • the counter electrodes 4 are disposed along a moving direction of the droplets discharged to the space outside the chip and are provided to be opposed to each other with the moving droplets interposed therebetween.
  • a charge is applied to the discharged droplet by a charging unit which is not shown, and the counter electrodes 4 control the moving direction of the droplet by electric repulsion (or suction force) with the charge applied to the droplet, and guides the droplet to any one of the containers 51 to 53.
  • microparticle measuring apparatus A by controlling the moving direction of the droplet including the microparticle by the counter electrodes 4 on the basis of the optical characteristic of the microparticle detected by the optical detection unit 3, it is possible to collect and sort the microparticle having desired characteristic into any one of the containers 51 to 53.
  • the optical detection unit 3 may be replaced with, for example, an electric or magnetic detection unit.
  • microelectrodes are disposed on both sides of the flow path 11 to be opposed to each other to measure a resistance value, a capacitance value, an inductance value, an impedance, a change value of an electric field between electrodes, a change in the magnetization, a change in a magnetic field, or the like.
  • the microparticles are sorted on the basis of the electrical or magnetic characteristics of the microparticles.
  • FIGs. 5A and 5B are schematic diagrams of an exemplary configuration of the microchip 1 according to the embodiment of the present technology.
  • Fig. 5A is a schematic top view
  • Fig. 5B is a schematic cross-sectional view corresponding to a P-P cross section in Fig. 5A.
  • Fig. 6 is an enlarged view of a portion (refer to Q in Fig. 5A) surrounded by a broken line in Fig. 5A
  • Fig. 7 is an enlarged view of a portion R-R in Fig. 5B.
  • Fig. 5A is a schematic top view
  • Fig. 5B is a schematic cross-sectional view corresponding to a P-P cross section in Fig. 5A.
  • Fig. 6 is an enlarged view of a portion (refer to Q in Fig. 5A) surrounded by a broken line in Fig. 5A
  • Fig. 7 is an enlarged view of a portion R-R in Fig. 5B.
  • Fig. 8 is a schematic diagram of an exemplary configuration of the discharge part 12 in a front view viewed from the discharge direction.
  • Fig. 13 is a schematic diagram of an exemplary configuration of the discharge part 12 in a front view viewed from the discharge direction, with a space 12C formed by first and second cavity forming parts 12a and 12b that form the orifice of the discharge part 12.
  • the microchip 1 includes at least the flow path 11 through which liquid flows and the discharge part 12 for discharging the liquid flowing through the flow path 11 to the outside.
  • the flow path 11 and the discharge part 12 are formed in laminated substrate layers, and as illustrated in Figs. 7, 8 and 13, the discharge part 12 is formed in one of the two substrate layers.
  • the microchip 1 may further include a detection area 13, a tapered part 14, a cavity 15, and the like, as necessary.
  • a cross section of a discharge part is completely symmetrical in the laminated horizontal direction of the substrate layer.
  • a microchip disclosed in PTL 1 JP 2013-32994A
  • a misalignment in bonding may occur when the substrate layers are bonded, and for example, as illustrated in B of Fig. 12, the semicircular shapes are shifted from each other, and this affects a symmetry of the shape of the droplet and a discharge angle of the droplet. Therefore, it has been necessary to bond the substrate layers with high precision, and reduction in yield has been caused.
  • the discharge part 12 is formed in only one of the substrate layers, a problem of the misalignment is eliminated, and a problem in the yield is improved. Therefore, a microchip with less manufacturing variation and performance variation reduced by the less manufacturing variation can be provided.
  • the shape of the discharge part 12 in the front view from the discharge direction be a polygon that is bilaterally symmetrical in a direction perpendicular to the substrate layer. This is because if the discharge part 12 has a circular shape, it is very difficult to process a mold and to mirror finish the surface. Therefore, there has been a risk in manufacturing a repeat mold with high repeatability. In this way, it is possible to process the mold with higher precision, and the manufacturing variation and the performance variation caused by the manufacturing variation can be suppressed. Furthermore, if the discharge part 12 is formed in a circular shape, the light is scattered. Therefore, the detection area 13 to be described later becomes small. Therefore, by forming the discharge part 12 in such a shape, limitation of the detection area 13 to be described later can be prevented.
  • a specific shape of the discharge part 12 in a front view viewed from the discharge direction is not especially limited, it is preferable that the shape be any one selected from the group including a triangle, a quadrangle, and a hexagon. In this way, it is possible to process the mold with higher precision, and the manufacturing variation and the performance variation caused by the manufacturing variation can be suppressed.
  • the quadrangle naturally includes a trapezoid, a rectangle, and a square.
  • the specific shape of the discharge part 12 in a front view viewed from the discharge direction is preferably a quadrangle, and is more preferably a rectangle or a square. The reason will be described in detail later.
  • Fig. 11 is a schematic diagram to describe a microparticles sorting operation by the microparticle measuring apparatus A and illustrates a state where the droplet is formed from the microchip set in the microparticle measuring apparatus.
  • the length from a point where the droplet is discharged from the discharge part of the microchip to a point where the droplet is formed is referred to as a break off point (referred to as “BOP” below).
  • BOP break off point
  • Fig. 9A and 9B are diagrams of states in which the shapes of the droplets made to be different from each other according to a difference between the shapes of the discharge parts have been confirmed.
  • Fig. 9A illustrates a state in which the shape of the droplet discharged by using the discharge part 12 having the shape (quadrangle) according to the embodiment of the present technology is confirmed
  • Fig. 9B illustrates a state in which the shape of the droplet discharged by using the discharge part 12 having a traditional shape is confirmed.
  • the vertical axis represents a height (a. u.) of the BOP
  • the horizontal axis represents a frequency (Hz) a piezoelectric element.
  • the “satellite” is a small droplet formed when a thin bar-shaped liquid column stretched backward after the droplet has been discharged is separated from the main droplet and a nozzle by surface tension. Since the satellite causes a charge fluctuation of the droplets, it has been known that the satellite is one of parameters, which should be controlled, for the microparticle measuring apparatus which may require accuracy of a deflection position of the droplet such as an inkjet printer and a sorter.
  • the length of one side of the discharge part 12 is not especially limited. However, it is preferable that the length of the side of the discharge part 12 be 50 ⁇ m to 300 ⁇ m. With this configuration, the microparticle measuring apparatus A described above can be preferably used.
  • the specific shape of the discharge part 12 in a front view viewed from the discharge direction be a quadrangle.
  • a square shape may be rounded (roundness: R) according to processing accuracy of the mold.
  • R roundness: R
  • an angle R which is one% to 20% of the length of one side may be expected.
  • the microchip 1 according to the embodiment of the present technology is, for example, formed by bonding substrate layers 1a and 1b in which the flow path 11 has been formed.
  • the flow path 11 can be formed in the substrate layers 1a and 1b by performing injection molding to a thermoplastic resin by using a mold. Note that the flow path 11 may be formed in one of the substrate layers 1a and 1b, or may be formed in both of the substrate layers 1a and 1b.
  • thermoplastic resin a material such as polycarbonate, polymethylmethacrylate resin (PMMA), cyclic polyolefin, polyethylene, polystyrene, polypropylene, and polymethyldisilazane (PDMS) which are known as traditional materials of the microchip can be appropriately and freely selected.
  • PMMA polymethylmethacrylate resin
  • PDMS polymethyldisilazane
  • the injection molding can be performed by a known traditional method.
  • polyolefin ZEONEX1060R, Zeon Corporation
  • SE75DU manufactured by Sumitomo Heavy Industries, Ltd.
  • conditions including a resin temperature of 270°C, a temperature of the mold of 80°C, and a mold clamping force of 500 kN are used as a typical molding condition.
  • the flow path 11 and the discharge part 12 can be formed by applying the injection molding and thermocompression bonding to the thermoplastic resin without polishing expensive quartz, ceramics such as alumina and zirconia. Therefore, the microchip 1 according to the embodiment of the present technology is inexpensive and has excellent productivity.
  • the substrate layers 1a and 1b in which the flow path 11 has been formed can be bonded to each other by thermocompression bonding with a known traditional method.
  • typical compression bonding conditions include a bonding temperature of 95°C and a pressing force of 10 kN, and the substrate layers are pressed under this condition for several minutes.
  • the sample liquid is introduced from a sample inlet M1, is joined with sheath liquid introduced from a sheath inlet M2, and is sent through the flow path 11.
  • the sheath liquid introduced from the sheath inlet M2 is joined with the sample liquid so as to sandwich the sample liquid from two directions at a junction with the sample liquid introduced from the sample inlet M1.
  • the sample channel M11 is formed in the same substrate layer in which the discharge part 12 is formed, such that the sample flow from the sample channel M11 flows straight from the sample channel M11 through the flow path 11 to the orifice of the discharge part 12.
  • the sample flow does not bend as it flows from the sample channel M11 to the discharge part 12.
  • a reference numeral M3 denotes a suction flow path for temporarily reversing the flow by applying a negative pressure in the flow path 11 to eliminate a clogging and bubbles when the clogging or the bubbles occur in the flow path 11.
  • a suction outlet M31 which is connected to a negative pressure source such as a vacuum pump is formed at one end of the suction flow path M3, and the other end of the suction flow path M3 is connected to the flow path 11 at a communication port M32.
  • the width of the laminar flow is narrowed in a narrowing portion M4 (refer to Figs. 5 and 10) which has been formed so that the area of the cross section perpendicular to the flow direction of the liquid is gradually or stepwisely decreased from the upper stream to the down stream in the flow direction of the liquid.
  • the three-dimensional laminar flow is discharged from the discharge part 12 provided at one end of the flow path.
  • the droplets D discharged from the discharge part 12 to the space outside the chip are illustrated.
  • a reference numeral P denotes the microparticles
  • a reference numeral F denotes the discharge direction of the droplet D from the discharge part 12.
  • a connection part of the flow path 11 to the discharge part 12 further includes the detection area 13 where the sample flowing through the flow path 11 is optically detected, and it is assumed that the depth of the flow path from the detection area 13 to the discharge part 12 be constant.
  • the detection area 13 has a constant width portion 13a and a contracted portion 13b with a width that decreases continuously from the constant width portion 13a towards the discharge part 12.
  • the flow path 11 further include the tapered part 14 communicating with the detection area 13. This can reduce the variation in speed due to the type and size of the cells.
  • the discharge part 12 is formed in either one of the substrate layers 1a or 1b, that is, the discharge part 12 is opened to an end surface direction of one of the substrate layers, and the microchip 1 according to the embodiment of the present technology may further include the cavity 15 which communicates with the discharge part 12 and spatially covers the droplet discharged from the discharge part 12.
  • the cavity 15 can be formed, for example, by cutting out the substrate layers 1a and 1b between the discharge part 12 and the substrate end surface so that a diameter L1 of the cavity 15 becomes larger than a diameter L2 of the discharge part 12 (refer to Figs. 8 and 13).
  • the microchip 1 according to the embodiment of the present technology includes the cavity 15, irregularities or deformation of the shapes of the discharge part 12 and the flow path 11 due to the injection molding and the thermocompression bonding of the substrate layers are prevented. Therefore, in the microchip 1 according to the embodiment of the present technology, droplets having a certain size and shape can be discharged straight in a certain direction from the discharge part 12 having a uniform shape. In addition, since the discharge part 12 does not exist on the end surface of the chip, breakage of the discharge part 12 due to an unexpected contact or the like in a manufacturing process hardly occurs, and high productivity can be obtained.
  • the diameter L1 of the cavity 15 be formed to be equal to or more than twice of the diameter L2 of the discharge part 12 so as not to hinder the movement of the droplets discharged from the discharge part 12.
  • the diameter L1 of the cavity 15 is excessively increased, uniformity of a heat distribution and a pressure distribution at the time of applying the thermocompression bonding to the substrate layers 1a and 1b deteriorates, or “gas” is accumulated in the cavity 15. This causes the irregularity of the shape of the discharge part 12.
  • the cavity 15 is formed by cutting out the substrate layers 1a and 1b in an octagonal prism shape.
  • the shape of the cavity 15 is not especially limited as long as the cavity 15 can spatially cover the droplet discharged from the discharge part 12.
  • the position of the cavity 15 is not limited thereto.
  • the cavity 15 may be formed by cutting out the entire length of the substrate layers 1a and 1b in the thickness direction.
  • the orifice of the discharge part 12 can be defined by two cavity forming parts 12a, 12b shown in Fig.
  • Fig. 13 which are thinner than the thickness of substrates 1a, 1b used to form the channels in the microchip 1.
  • Fig. 13 shows some aspects discussed in conjunction with Fig. 8, including that the diameter L1 of the cavity 15 is much larger than the diameter L2 of the discharge part 12.
  • the cavity forming parts 12a, 12b are thinner than the thickness of the substrate 1a, 1b, when the substrates 1a, 1b of the microchip 1 are joined (e.g., bonded, cured, and/or formed by controlling the depth) together with a bond surface 12d, the cavity forming parts 12a, 12b that form the cavity of the discharge part 12 will not bond or contact with each other.
  • a space 12c is between the inner sides of the cavity forming parts 12a, 12b of the discharge part 12.
  • the cavity forming parts 12a and 12b may cause the connection portion of the microchip 1 and the discharge part 12 to not be able to bond completely.
  • the substrates of discharge part can be designed thinner than the substrate of microchip 1, and will thus not bond together.
  • a molding defect called as a “burr” or a “dripping” occurs in a portion of the thermoplastic resin having contact with the mold when the substrate layer is injection-molded.
  • the “gas” generated at the time of molding significantly deforms the shape of the end surface of the substrate layer and the periphery thereof after molding. Therefore, in a case where the discharge part 12 is provided on the end surface of the substrate layer, the shape of the discharge part 12 tends to be irregular due to the influence of the molding defect.
  • the discharge part 12 is provided at a position recessed by a predetermined length from the end surface of the substrate layer. As a result, even if the molding defect occurs at the end surface of the substrate layer and the periphery thereof, the molding defect does not affect the shape of the discharge part 12. Therefore, in the microchip 1, it is possible to stably form the shape of the discharge part 12 in a desired shape, and the droplet having a certain size and shape can be discharged from the discharge part 12.
  • the length from the discharge part 12 to the end of the cavity 15 (refer to W in Fig. 7) be equal to or longer than 0.2 mm. With this length, it is possible to completely eliminate the influence of the molding defect which occurs on the end surface of the substrate layer and the periphery thereof.
  • the size of the microchip 1 according to the embodiment of the present technology is not especially limited, for example, the size of the microchip 1 may have the width of 75 mm ⁇ the length of 25 mm ⁇ the thickness of 2 mm.
  • the discharge part 12 is provided at a position on the predetermined length inner side from the end surface of the substrate layer.
  • the shape of the discharge part 12 and the shape of the detection area 13 connected to the discharge part 12 are not deformed at the time when the thermocompression bonding is applied to the substrate layer. Therefore, in the microchip 1, it is possible to maintain the shapes of the discharge part 12 and the detection area 13 in desired shapes and to discharge the droplet D having a certain size and shape straight from the discharge part 12.
  • microchip 1 The application of the microchip 1 according to the embodiment of the present technology is not especially limited. However, as will be described later, the microchip 1 is preferably used to measure the microparticles.
  • the sample liquid and the sheath liquid which have passed through the light irradiation portion of the flow path 11 are discharged from the discharge part 12 to the space outside the chip.
  • the optical detection unit detects the optical characteristics of the microparticles and simultaneously detects a flow rate of the microparticles and intervals between the microparticles.
  • the optical characteristic, the flow rate, the interval, and the like of the microparticle which have been detected are converted into electrical signals and output to a general control unit (not shown) of the apparatus.
  • the general control unit controls the frequency of the vibration element 2 (refer to Fig. 4) on the basis of the signal and vibrates the microchip 1 so that a single microparticle P is included in the droplet D which is formed in the discharge part 12.
  • the general control unit switches the polarity of the charge to be applied to the sheath liquid and the sample liquid passing through the flow path 11 in synchronization with the vibration frequency of the vibration element 2 and applies a positive or negative charge to the droplet D which is formed in the discharge part 12.
  • the optical characteristic of the microparticle detected by the optical detection unit is converted into the electrical signal and output to the general control unit.
  • the general control unit determines the charge to be applied to the droplet according to the optical characteristic of the microparticle included in each droplet on the basis of the signal. Specifically, for example, the general control unit positively charges the droplet including the microparticle to be sorted having desired characteristic and negatively charges the droplet which does not include the microparticle to be sorted.
  • ground electrodes 6 are arranged near the discharge part 12 and along the moving direction of the droplet discharged to the space outside the chip.
  • the ground electrodes 6 are disposed to be opposed to each other with the moving droplets interposed therebetween and disposed between the counter electrodes 4 which control the moving direction of the microparticles and the discharge part 12.
  • the moving direction of the charged droplet D discharged from the discharge part 12 is controlled by an electric force acting between the droplet D and the counter electrodes 4.
  • the moving direction of the droplet D discharged from the discharge part 12 is controlled, for example, as follows. That is, in the above example in which the droplet including the microparticle to be sorted having desired characteristic is positively charged and the droplet which does not include the microparticle to be sorted is negatively charged, the microparticle to be sorted can be sorted into the container 53 by positively charging one of the counter electrodes 4 and negatively charging the other counter electrode 4. More specifically, the droplet including the microparticle to be sorted which has been positively charged is controlled to move in the direction of an arrow f3 and is guided into the container 53 by the electric repulsion with one of the counter electrodes 4 and the electric suction force with the other counter electrode 4. On the other hand, the droplet which does not include the microparticle to be sorted which has been negatively charged is controlled to move in the direction of an arrow f2 and is guided into the container 52.
  • the microparticle to be sorted can be sorted into the container 51.
  • a combination of the charge to be applied to the droplet D and the control of the moving direction of the droplet by the counter electrode 4 can be variously set similarly to a traditional flow cytometry.
  • two or more containers to collect the droplet D are usually provided.
  • the number of the containers is not limited to three.
  • these containers may be formed as a discharge path for discharging the collected droplets without storing them, and the collected microparticles which are not the sorting targets may be discarded.
  • the droplet D having a certain size and shape can be discharged straight in a certain direction from the discharge part 12 having a uniform shape. Therefore, in the microparticle measuring apparatus A, it is possible to control the moving direction of the droplet D with high accuracy, and it is possible to accurately sort the microparticle having the desired characteristic.
  • the positive or negative charge is switched and applied to the droplet D on the basis of the characteristic of the microparticle included in the droplet and the droplet D is sorted as an example.
  • the sort of the droplet even in a case where the optical detection unit is replaced with an electric or magnetic detection unit, by similarly controlling the moving direction of the droplet based on the electric or magnetic characteristic of the microparticle, the microparticles having the desired characteristic can be collected and sorted into any one of the containers 51 to 53.
  • a microchip comprising: a substrate including a flow channel configured to convey a fluid therein, the substrate comprising: a first substrate layer; a second substrate layer laminated to the first substrate layer to create the flow channel; and a discharge part formed in only one of the first substrate layer or the second substrate layer, the discharge part: including an opening directed toward an end face of the substrate; and being configured to eject the fluid flowing through the flow channel.
  • the discharge part is configured to eject the fluid to a cavity.
  • the discharge part comprises a quadrangle shape.
  • microchip according to (1) wherein the discharge part is bilaterally symmetrical in a direction perpendicular to the first and second substrate layers.
  • the flow channel comprises a tapered portion.
  • the flow channel comprises a first portion and a second portion, wherein: the first portion of the flow channel is formed in the first substrate layer; and the second portion of the flow channel is formed in the second substrate layer.
  • the flow channel comprises a first end distal to the discharge part and a second end proximate to the discharge part; the discharge part is formed in the second substrate layer; and the first portion of the flow channel tapers as it extends from the first end to the second end, such that the first portion ends before the discharge part.
  • a sample inlet used to introduce a sample into a sample channel, wherein the sample channel is formed in only the one of the first substrate layer or the second substrate layer in which the discharge part is formed, such that the sample flow from the sample channel flows straight from the sample channel through the flow channel to the opening.
  • the substrate comprising: a first cavity forming part forming an end portion of the first substrate layer; and a second cavity forming part forming an end portion of the second substrate layer; wherein an inner side of the first cavity forming part is spaced from an inner side of the second cavity forming part.
  • the first cavity forming part is mounted to the first substrate layer, such that the first cavity forming part extends away from the first substrate layer in a direction parallel to the first and second substrate layers; and the second cavity forming part is mounted to the second substrate layer, such that the second cavity forming part extends away from the second substrate layer in a direction parallel to the first and second substrate layers.
  • the microchip according to (1) wherein a cavity is formed by the inner side of the first cavity forming part and the inner side of the second cavity forming part.
  • a first portion of the cavity is formed in the inner side of the first cavity forming part; and a second portion of the cavity is formed in the inner side of the second cavity forming part.
  • the first portion and the second portion of the cavity are bilaterally symmetrical in a first direction perpendicular to the first and second substrate layers; and the first portion and the second portion of the cavity are bilaterally symmetrical in a second direction parallel to the first and second substrate layers.
  • a microparticle measuring apparatus comprising: a microchip comprising a substrate including a flow channel configured to convey a fluid therein, the substrate comprising: a first substrate layer; a second substrate layer laminated to the first substrate layer to create the flow channel; and a discharge part formed in only one of the first substrate layer or the second substrate layer, the discharge part: including an opening directed toward an end face of the substrate; and being configured to eject the fluid flowing through the flow channel.

Landscapes

  • Chemical & Material Sciences (AREA)
  • Health & Medical Sciences (AREA)
  • General Health & Medical Sciences (AREA)
  • Dispersion Chemistry (AREA)
  • Analytical Chemistry (AREA)
  • Physics & Mathematics (AREA)
  • General Physics & Mathematics (AREA)
  • Biochemistry (AREA)
  • Life Sciences & Earth Sciences (AREA)
  • Immunology (AREA)
  • Pathology (AREA)
  • Clinical Laboratory Science (AREA)
  • Chemical Kinetics & Catalysis (AREA)
  • Hematology (AREA)
  • Fluid Mechanics (AREA)
  • Automatic Analysis And Handling Materials Therefor (AREA)
  • Physical Or Chemical Processes And Apparatus (AREA)
PCT/JP2018/007158 2017-03-14 2018-02-27 Microchip and microparticle measuring apparatus Ceased WO2018168436A1 (en)

Priority Applications (4)

Application Number Priority Date Filing Date Title
US16/490,138 US20200070152A1 (en) 2017-03-14 2018-02-27 Microchip and microparticle measuring apparatus
CN201880016751.9A CN110382117B (zh) 2017-03-14 2018-02-27 微芯片及微粒测量装置
EP18720027.4A EP3595814B1 (en) 2017-03-14 2018-02-27 Microchip and microparticle measuring apparatus
US17/959,491 US20230063086A1 (en) 2017-03-14 2022-10-04 Microchip and microparticle measuring apparatus

Applications Claiming Priority (2)

Application Number Priority Date Filing Date Title
JP2017-049011 2017-03-14
JP2017049011A JP6922281B2 (ja) 2017-03-14 2017-03-14 マイクロチップ、及び微小粒子測定装置

Related Child Applications (2)

Application Number Title Priority Date Filing Date
US16/490,138 A-371-Of-International US20200070152A1 (en) 2017-03-14 2018-02-27 Microchip and microparticle measuring apparatus
US17/959,491 Continuation US20230063086A1 (en) 2017-03-14 2022-10-04 Microchip and microparticle measuring apparatus

Publications (1)

Publication Number Publication Date
WO2018168436A1 true WO2018168436A1 (en) 2018-09-20

Family

ID=62046995

Family Applications (1)

Application Number Title Priority Date Filing Date
PCT/JP2018/007158 Ceased WO2018168436A1 (en) 2017-03-14 2018-02-27 Microchip and microparticle measuring apparatus

Country Status (5)

Country Link
US (2) US20200070152A1 (enExample)
EP (1) EP3595814B1 (enExample)
JP (1) JP6922281B2 (enExample)
CN (1) CN110382117B (enExample)
WO (1) WO2018168436A1 (enExample)

Families Citing this family (10)

* Cited by examiner, † Cited by third party
Publication number Priority date Publication date Assignee Title
US10908066B2 (en) 2010-11-16 2021-02-02 1087 Systems, Inc. Use of vibrational spectroscopy for microfluidic liquid measurement
US11796449B2 (en) 2013-10-30 2023-10-24 Abs Global, Inc. Microfluidic system and method with focused energy apparatus
JP2018509615A (ja) 2015-02-19 2018-04-05 プレミアム ジェネティクス (ユーケー) リミテッド 走査型赤外線測定システム
JP6919215B2 (ja) 2017-02-17 2021-08-18 ソニーグループ株式会社 マイクロチップ及び微小粒子分取装置
WO2019226790A1 (en) 2018-05-23 2019-11-28 Abs Global, Inc. Systems and methods for particle focusing in microchannels
WO2020215011A1 (en) 2019-04-18 2020-10-22 Abs Global, Inc. System and process for continuous addition of cryoprotectant
US11628439B2 (en) * 2020-01-13 2023-04-18 Abs Global, Inc. Single-sheath microfluidic chip
EP4232601A4 (en) 2020-10-21 2024-10-09 ABS Global, Inc. METHODS AND SYSTEMS FOR PROCESSING GENETIC SAMPLES TO DETERMINE IDENTITY OR DETECT CONTAMINATION
EP4248190A4 (en) 2020-11-23 2024-12-25 ABS Global, Inc. MODULAR FLOW CYTOMETRY SYSTEMS AND METHODS FOR PROCESSING SAMPLES
JPWO2023238564A1 (enExample) * 2022-06-10 2023-12-14

Citations (3)

* Cited by examiner, † Cited by third party
Publication number Priority date Publication date Assignee Title
US20110284378A1 (en) * 2009-02-17 2011-11-24 Sony Corporation Apparatus and microchip for sorting micro particles
WO2013018273A1 (en) * 2011-08-03 2013-02-07 Sony Corporation Microchip and particle analyzing apparatus
US20150114093A1 (en) * 2013-10-30 2015-04-30 Premium Genetics (Uk) Ltd. Microfluidic system and method with focused energy apparatus

Family Cites Families (8)

* Cited by examiner, † Cited by third party
Publication number Priority date Publication date Assignee Title
JP2832117B2 (ja) * 1991-11-29 1998-12-02 キヤノン株式会社 サンプル測定デバイス及びサンプル測定システム
US7413709B2 (en) * 2003-02-12 2008-08-19 Agilent Technologies, Inc. PAEK-based microfluidic device with integrated electrospray emitter
WO2007009125A2 (en) * 2005-07-14 2007-01-18 Nano-Ditech Corporation Microfluidic devices and methods of preparing and using the same
JP2011237201A (ja) * 2010-05-06 2011-11-24 Sony Corp 微小粒子分取装置、マイクロチップ及びマイクロチップモジュール
JP5859974B2 (ja) * 2010-10-29 2016-02-16 コニカミノルタ株式会社 マイクロチップ、及びマイクロチップの製造方法
US8961904B2 (en) * 2013-07-16 2015-02-24 Premium Genetics (Uk) Ltd. Microfluidic chip
CN110975947A (zh) * 2013-07-16 2020-04-10 Abs全球公司 识别流体混合物中的成分的设备和产生流体混合物的设备
WO2015056516A1 (ja) * 2013-10-16 2015-04-23 ソニー株式会社 粒子分取装置、粒子分取方法及びプログラム

Patent Citations (3)

* Cited by examiner, † Cited by third party
Publication number Priority date Publication date Assignee Title
US20110284378A1 (en) * 2009-02-17 2011-11-24 Sony Corporation Apparatus and microchip for sorting micro particles
WO2013018273A1 (en) * 2011-08-03 2013-02-07 Sony Corporation Microchip and particle analyzing apparatus
US20150114093A1 (en) * 2013-10-30 2015-04-30 Premium Genetics (Uk) Ltd. Microfluidic system and method with focused energy apparatus

Also Published As

Publication number Publication date
US20230063086A1 (en) 2023-03-02
JP2018151319A (ja) 2018-09-27
EP3595814A1 (en) 2020-01-22
US20200070152A1 (en) 2020-03-05
CN110382117B (zh) 2022-09-27
EP3595814B1 (en) 2025-07-30
CN110382117A (zh) 2019-10-25
JP6922281B2 (ja) 2021-08-18

Similar Documents

Publication Publication Date Title
US20230063086A1 (en) Microchip and microparticle measuring apparatus
US10315194B2 (en) Chip device and a particle analyzing apparatus
KR101850548B1 (ko) 미소 입자 분류 장치, 마이크로칩 모듈 및 미소 입자들의 분류 방법
KR101683066B1 (ko) 미소 입자 분취를 위한 장치 및 마이크로칩
JP5994337B2 (ja) 微小粒子分取装置及びディレイタイム決定方法
JP4572973B2 (ja) マイクロチップ及びマイクロチップにおける送流方法
JP4661942B2 (ja) マイクロチップとその流路構造
JP5601424B2 (ja) 微小粒子分取装置及び該装置における流体ストリーム最適化方法
JP5924077B2 (ja) 微小粒子分取装置及び微小粒子分取装置における軌道方向判定方法
JP5905317B2 (ja) 微小粒子分取装置におけるキャリブレーション方法及び該装置
WO2013145862A1 (ja) 微小粒子分取装置及び微小粒子分取装置における位置制御方法
JP2016145834A (ja) 微小粒子分取装置及びキャリブレーション用粒子
JP2011064706A (ja) マイクロチップとその流路構造
JP5974429B2 (ja) 複合材料構造物及びその製造方法
JP6135796B2 (ja) 微小粒子分取装置及び微小粒子分取装置における軌道方向判定方法

Legal Events

Date Code Title Description
121 Ep: the epo has been informed by wipo that ep was designated in this application

Ref document number: 18720027

Country of ref document: EP

Kind code of ref document: A1

NENP Non-entry into the national phase

Ref country code: DE

ENP Entry into the national phase

Ref document number: 2018720027

Country of ref document: EP

Effective date: 20191014

WWG Wipo information: grant in national office

Ref document number: 2018720027

Country of ref document: EP