WO2018150932A1 - 電磁弁用マニホールドベース及びマニホールド型電磁弁 - Google Patents

電磁弁用マニホールドベース及びマニホールド型電磁弁 Download PDF

Info

Publication number
WO2018150932A1
WO2018150932A1 PCT/JP2018/003887 JP2018003887W WO2018150932A1 WO 2018150932 A1 WO2018150932 A1 WO 2018150932A1 JP 2018003887 W JP2018003887 W JP 2018003887W WO 2018150932 A1 WO2018150932 A1 WO 2018150932A1
Authority
WO
WIPO (PCT)
Prior art keywords
valve
flow path
silencer
manifold
valve mounting
Prior art date
Legal status (The legal status is an assumption and is not a legal conclusion. Google has not performed a legal analysis and makes no representation as to the accuracy of the status listed.)
Ceased
Application number
PCT/JP2018/003887
Other languages
English (en)
French (fr)
Japanese (ja)
Inventor
宮添真司
芳村親一
吉田勝
Current Assignee (The listed assignees may be inaccurate. Google has not performed a legal analysis and makes no representation or warranty as to the accuracy of the list.)
SMC Corp
Original Assignee
SMC Corp
Priority date (The priority date is an assumption and is not a legal conclusion. Google has not performed a legal analysis and makes no representation as to the accuracy of the date listed.)
Filing date
Publication date
Application filed by SMC Corp filed Critical SMC Corp
Priority to RU2019128857A priority Critical patent/RU2019128857A/ru
Priority to KR1020197025514A priority patent/KR102475548B1/ko
Priority to EP18753889.7A priority patent/EP3584481B1/en
Priority to MX2019009738A priority patent/MX2019009738A/es
Priority to CN201880012047.6A priority patent/CN110291318B/zh
Priority to US16/485,542 priority patent/US10900581B2/en
Priority to BR112019017081A priority patent/BR112019017081A2/pt
Publication of WO2018150932A1 publication Critical patent/WO2018150932A1/ja
Anticipated expiration legal-status Critical
Ceased legal-status Critical Current

Links

Images

Classifications

    • FMECHANICAL ENGINEERING; LIGHTING; HEATING; WEAPONS; BLASTING
    • F16ENGINEERING ELEMENTS AND UNITS; GENERAL MEASURES FOR PRODUCING AND MAINTAINING EFFECTIVE FUNCTIONING OF MACHINES OR INSTALLATIONS; THERMAL INSULATION IN GENERAL
    • F16KVALVES; TAPS; COCKS; ACTUATING-FLOATS; DEVICES FOR VENTING OR AERATING
    • F16K27/00Construction of housing; Use of materials therefor
    • FMECHANICAL ENGINEERING; LIGHTING; HEATING; WEAPONS; BLASTING
    • F15FLUID-PRESSURE ACTUATORS; HYDRAULICS OR PNEUMATICS IN GENERAL
    • F15BSYSTEMS ACTING BY MEANS OF FLUIDS IN GENERAL; FLUID-PRESSURE ACTUATORS, e.g. SERVOMOTORS; DETAILS OF FLUID-PRESSURE SYSTEMS, NOT OTHERWISE PROVIDED FOR
    • F15B21/00Common features of fluid actuator systems; Fluid-pressure actuator systems or details thereof, not covered by any other group of this subclass
    • F15B21/008Reduction of noise or vibration
    • FMECHANICAL ENGINEERING; LIGHTING; HEATING; WEAPONS; BLASTING
    • F16ENGINEERING ELEMENTS AND UNITS; GENERAL MEASURES FOR PRODUCING AND MAINTAINING EFFECTIVE FUNCTIONING OF MACHINES OR INSTALLATIONS; THERMAL INSULATION IN GENERAL
    • F16KVALVES; TAPS; COCKS; ACTUATING-FLOATS; DEVICES FOR VENTING OR AERATING
    • F16K27/00Construction of housing; Use of materials therefor
    • F16K27/003Housing formed from a plurality of the same valve elements
    • FMECHANICAL ENGINEERING; LIGHTING; HEATING; WEAPONS; BLASTING
    • F16ENGINEERING ELEMENTS AND UNITS; GENERAL MEASURES FOR PRODUCING AND MAINTAINING EFFECTIVE FUNCTIONING OF MACHINES OR INSTALLATIONS; THERMAL INSULATION IN GENERAL
    • F16KVALVES; TAPS; COCKS; ACTUATING-FLOATS; DEVICES FOR VENTING OR AERATING
    • F16K31/00Actuating devices; Operating means; Releasing devices
    • F16K31/02Actuating devices; Operating means; Releasing devices electric; magnetic
    • F16K31/06Actuating devices; Operating means; Releasing devices electric; magnetic using a magnet, e.g. diaphragm valves, cutting off by means of a liquid
    • FMECHANICAL ENGINEERING; LIGHTING; HEATING; WEAPONS; BLASTING
    • F16ENGINEERING ELEMENTS AND UNITS; GENERAL MEASURES FOR PRODUCING AND MAINTAINING EFFECTIVE FUNCTIONING OF MACHINES OR INSTALLATIONS; THERMAL INSULATION IN GENERAL
    • F16KVALVES; TAPS; COCKS; ACTUATING-FLOATS; DEVICES FOR VENTING OR AERATING
    • F16K31/00Actuating devices; Operating means; Releasing devices
    • F16K31/02Actuating devices; Operating means; Releasing devices electric; magnetic
    • F16K31/06Actuating devices; Operating means; Releasing devices electric; magnetic using a magnet, e.g. diaphragm valves, cutting off by means of a liquid
    • F16K31/0603Multiple-way valves
    • F16K31/061Sliding valves
    • F16K31/0613Sliding valves with cylindrical slides
    • FMECHANICAL ENGINEERING; LIGHTING; HEATING; WEAPONS; BLASTING
    • F15FLUID-PRESSURE ACTUATORS; HYDRAULICS OR PNEUMATICS IN GENERAL
    • F15BSYSTEMS ACTING BY MEANS OF FLUIDS IN GENERAL; FLUID-PRESSURE ACTUATORS, e.g. SERVOMOTORS; DETAILS OF FLUID-PRESSURE SYSTEMS, NOT OTHERWISE PROVIDED FOR
    • F15B11/00Servomotor systems without provision for follow-up action; Circuits therefor
    • F15B11/06Servomotor systems without provision for follow-up action; Circuits therefor involving features specific to the use of a compressible medium, e.g. air, steam
    • FMECHANICAL ENGINEERING; LIGHTING; HEATING; WEAPONS; BLASTING
    • F15FLUID-PRESSURE ACTUATORS; HYDRAULICS OR PNEUMATICS IN GENERAL
    • F15BSYSTEMS ACTING BY MEANS OF FLUIDS IN GENERAL; FLUID-PRESSURE ACTUATORS, e.g. SERVOMOTORS; DETAILS OF FLUID-PRESSURE SYSTEMS, NOT OTHERWISE PROVIDED FOR
    • F15B13/00Details of servomotor systems ; Valves for servomotor systems
    • F15B13/02Fluid distribution or supply devices characterised by their adaptation to the control of servomotors
    • F15B13/06Fluid distribution or supply devices characterised by their adaptation to the control of servomotors for use with two or more servomotors
    • F15B13/08Assemblies of units, each for the control of a single servomotor only
    • F15B13/0803Modular units
    • F15B13/0807Manifolds
    • F15B13/0814Monoblock manifolds
    • FMECHANICAL ENGINEERING; LIGHTING; HEATING; WEAPONS; BLASTING
    • F15FLUID-PRESSURE ACTUATORS; HYDRAULICS OR PNEUMATICS IN GENERAL
    • F15BSYSTEMS ACTING BY MEANS OF FLUIDS IN GENERAL; FLUID-PRESSURE ACTUATORS, e.g. SERVOMOTORS; DETAILS OF FLUID-PRESSURE SYSTEMS, NOT OTHERWISE PROVIDED FOR
    • F15B2211/00Circuits for servomotor systems
    • F15B2211/80Other types of control related to particular problems or conditions
    • F15B2211/86Control during or prevention of abnormal conditions
    • F15B2211/8616Control during or prevention of abnormal conditions the abnormal condition being noise or vibration
    • FMECHANICAL ENGINEERING; LIGHTING; HEATING; WEAPONS; BLASTING
    • F16ENGINEERING ELEMENTS AND UNITS; GENERAL MEASURES FOR PRODUCING AND MAINTAINING EFFECTIVE FUNCTIONING OF MACHINES OR INSTALLATIONS; THERMAL INSULATION IN GENERAL
    • F16KVALVES; TAPS; COCKS; ACTUATING-FLOATS; DEVICES FOR VENTING OR AERATING
    • F16K47/00Means in valves for absorbing fluid energy
    • F16K47/02Means in valves for absorbing fluid energy for preventing water-hammer or noise

Definitions

  • the present invention relates to a manifold base for mounting a plurality of solenoid valves, and a manifold type solenoid valve having solenoid valves mounted on the manifold base, and in particular, a manifold having a silencer for suppressing exhaust noise.
  • the present invention relates to a base and manifold type solenoid valve.
  • a manifold base for mounting a plurality of solenoid valves as described in, for example, Patent Document 1 and Patent Document 2 is known.
  • the manifold base is divided into a collective air supply passage and collective exhaust passage that penetrates the inside of the manifold base in the length direction of the manifold base, and the manifold base branches from the collective air supply passage and collective exhaust passage.
  • a plurality of air supply communication holes and exhaust communication holes are formed in the upper surface (electromagnetic valve mounting surface).
  • a pipe for supplying compressed air is connected to the opening of the collective air supply passage that opens to the end surface of the manifold base, and a plurality of solenoid valve mounting surfaces are connected to the solenoid valve mounting surface.
  • the solenoid valve is mounted so as to correspond to each of the plurality of air supply communication holes and the exhaust communication holes.
  • an opening portion of the collective exhaust passage is opened on the end face of the manifold base in the same manner as the opening portion of the collective air supply passage, and a silencer for suppressing exhaust noise is provided by the user in the opening portion.
  • a manifold base for a solenoid valve equipped with a silencer in advance in Patent Document 3 but this manifold base is additionally provided with a silencer at the opening of the collective exhaust passage of the conventional manifold base described above.
  • the present invention has been made in view of the circumstances as described above, and the technical problem thereof is that a silencer for reducing exhaust sound from the electromagnetic valve is built in the manifold base, so that a more rational design can be achieved. It is an object to provide a solenoid valve manifold base with a silencer and a manifold type solenoid valve using the manifold base.
  • a manifold base for mounting a plurality of solenoid valves side by side, wherein the manifold base has a plurality of valve mounting regions for mounting the solenoid valves.
  • a base body provided with a provided valve mounting surface, an air supply passage for supplying compressed air to the electromagnetic valve, and an exhaust passage for discharging exhaust discharged from the electromagnetic valve to the outside; And a silencer for reducing the exhaust noise of the exhaust, wherein the exhaust passage passes through the inside of the base body in the direction in which the valve mounting regions are arranged side by side, and the valve
  • a solenoid valve manifold having a communication port that opens to a mounting surface and communicates the flow passage body with the valve mounting region, and the silencer is fitted inside the communication port.
  • a base is provided.
  • the communication port has an elongated groove shape along the flow path body, and the silencer is formed in a square material shape by a porous silencing material having air permeability.
  • the communication port is formed so as to continuously traverse all the valve mounting regions, and one silencer continuously traverses all the valve mounting regions inside the communication port. It is preferable to be accommodated.
  • a support groove is formed at a position facing the communication port at the bottom of the flow path body, and the lower end of the silencer is fitted in the support groove.
  • the support groove may be formed between a pair of support walls rising in parallel from the bottom wall of the flow path body.
  • the air supply flow path is branched from the collective air supply flow path for collectively flowing the compressed air supplied to the plurality of solenoid valves, and the collective air supply flow path.
  • a plurality of individual air supply passages that open to the valve mounting surface, and the collective air supply passage penetrates the inside of the base body in parallel with the exhaust passage.
  • the two exhaust passages are provided on both sides of the collective air supply passage.
  • a manifold type solenoid valve comprising a manifold base having the above-described configuration and a solenoid valve mounted on a valve mounting region of the valve mounting surface of the manifold base.
  • the exhaust flow path for passing exhaust from the electromagnetic valve is configured by a flow path body that penetrates the base body and a communication port that communicates the flow path body and the valve mounting area.
  • the silencer since the silencer is pre-fitted into the communication port, the silencer can be installed more reliably and stably than conventional products that require a silencer to be retrofitted to the opening of the exhaust passage. This makes it possible to more rationally design the manifold base with a silencer, such as simplifying the structure of the base body and reducing the size and weight.
  • FIG. 1 is an external perspective view showing a manifold type solenoid valve formed by mounting a plurality of solenoid valves on a solenoid valve manifold base according to the present invention. It is sectional drawing of FIG. It is a disassembled perspective view of the said manifold base. It is a perspective view which shows the manifold base of the state which attached the silencer to the base main body from the state of FIG.
  • FIG. 5 is a perspective view of a state where a gasket is attached to a part of the valve mounting region of the manifold base of FIG. 4.
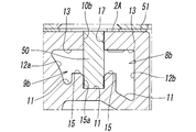
  • FIG. 3 is a partial enlarged cross-sectional view showing an enlarged exhaust flow passage in FIG. 2.
  • FIG. 1 to 6 show an embodiment of a solenoid valve manifold base 1 according to the present invention and a manifold type solenoid valve formed using the manifold base 1.
  • the manifold base 1 constitutes a manifold type electromagnetic valve by mounting a plurality of electromagnetic valves 30 as shown in FIGS.
  • the manifold base 1 includes a base body 2 having a valve mounting surface 2A for mounting the plurality of solenoid valves 30 side by side in the width direction of the solenoid valve 30, and the solenoid valve 30 mounted in the base body 2.
  • the silencer 50 is configured to suppress the sound of the exhaust gas discharged from the exhaust gas.
  • the solenoid valve 30 is a known 5-port solenoid valve having a pilot valve 31, and has output ports A and B for outputting compressed air supplied from the manifold base 1 toward an actuator (not shown). It has.
  • FIG. 1 shows an example in which five electromagnetic valves 30 are mounted on the base body 2. However, since each electromagnetic valve 30 has the same structure, one electromagnetic valve 30 is used here. The structure will be described with reference to FIG.
  • the electromagnetic valve 30 includes a main valve part 32 having a substantially rectangular parallelepiped shape, and a first adapter part connected to one end and the other end of the main valve part 32 in the axis L1 direction (longitudinal direction). 33, the second adapter portion 43, and the pilot valve 31 connected to the first adapter portion 33.
  • the housing 32a of the main valve portion 32 has a valve hole 34 penetrating the inside thereof in the direction of the axis L1, and a spool 35 is accommodated in the valve hole 34.
  • the valve hole 34 communicates with a supply through hole 36, a first discharge through hole 37a and a second discharge through hole 37b, and a first output through hole 38a and a second output through hole 38b, respectively. Yes.
  • the supply through hole 36 and the two discharge through holes 37a and 37b are open to the bottom surface of the housing 32a, whereas the two output through holes 38a and 38b are two. It opens to the upper surface of the housing 32a through the output ports A and B.
  • the bottom surface of the housing 32a forms a joint surface for joining to the valve mounting surface 2A of the base body 2.
  • the supply through hole 36 is provided at the approximate center in the longitudinal direction of the housing 32 a, and the discharge through holes 37 a and 37 b are provided on both sides of the supply through hole 36.
  • the first output through hole 38a is provided between the supply through hole 36 and the first discharge through hole 37a along the longitudinal direction of the housing 32a, and the second output through hole 38b is a supply through hole. 36 and the second discharge through hole 37b.
  • the spool 35 slides in the valve hole 34 in the axial direction, so that the connection state of the flow path between the through holes is switched.
  • the first and second adapter parts 33, 43 have first cylinder chambers 39 and second cylinder chambers 40 communicating with the valve holes 34 on the end surfaces of the bodies 33a, 43a on the main valve part 32 side.
  • the first and second pistons 41 and 42 connected to one end and the other end in the axial direction of the spool 35 are accommodated in the cylinder chambers 39 and 40.
  • the cylinder diameter of the first cylinder chamber 39 is larger than the cylinder diameter of the second cylinder chamber 40, and accordingly, the first piston 41 accommodated in the first cylinder chamber 39 is also in the second cylinder chamber 40.
  • the second piston 42 is formed in a larger diameter than that of the second piston 42 accommodated therein.
  • the first pressure chamber 39a (the left chamber partitioned by the first piston 41 in FIG. 2) formed in the first cylinder chamber 39 communicates with the supply through hole 36 through the pilot valve 31.
  • the pilot valve 31 is an electromagnetically operated three-port valve. When the pilot valve 31 is turned on, the first pressure chamber 39a is connected to the supply through hole 36. When the pilot valve 31 is turned off, the connection is cut off, and the first pressure chamber 39a. To the atmosphere.
  • the second pressure chamber 40 a (the right chamber partitioned by the second piston 42 in FIG. 2) formed in the second cylinder chamber 40 is always in communication with the supply through hole 36. Further, the chambers 39b, 40b on the spool 35 side in the cylinder chambers 39, 40 are always open to the atmosphere.
  • the pilot valve 31 is turned on and off to supply and exhaust pilot air to the first pressure chamber 39a of the first cylinder chamber 39.
  • the spool 35 is driven to reciprocate in the valve hole 34 due to the difference in acting force due to the air pressure acting on the large and small pistons 41, 42, and the connection state between the through holes 36, 37a, 37b, 38a, 38b is switched. It is supposed to be.
  • Reference numeral 45 in FIG. 2 is an operator for manual operation, and is used for manually switching the connection state of each through hole when the pilot valve 31 is turned on.
  • the base body 2 constituting the manifold base 1 is a block-like member formed into a rectangular parallelepiped shape elongated in the direction of the axis L2 by casting or the like, and is flat.
  • the valve mounting surface 2A for mounting the electromagnetic valve 30 is formed on the upper surface.
  • the valve mounting surface 2A is provided with a plurality of valve mounting areas 3 for mounting the electromagnetic valves 30 individually. 2 are arranged in parallel in the longitudinal direction (axis L2 direction).
  • the valve mounting surface 2A is configured to be arranged in five valve mounting regions 3 so that the five electromagnetic valves 30 can be arranged side by side in the lateral width direction.
  • the valve mounting region 3 is not clearly partitioned by a mark such as a boundary line, but can be partitioned by providing some mark if necessary.
  • 3 to 5 are screw holes for fixing the electromagnetic valve 30 to the base body 2 with fixing screws 4b.
  • each portion in the valve mounting region 3 The two screw holes 4a are provided at the diagonal positions, and the valve mounting regions 3 are defined by the two screw holes 4a.
  • the length in the short side direction (width direction) of the base body 2 is formed to be approximately equal to the length in the axis L1 direction of the housing 32a of the electromagnetic valve 30 (see FIG. 1 or FIG. 2).
  • a collective air supply passage 5 and an individual air supply passage 6 for supplying compressed air to each electromagnetic valve 30 are formed inside the base body 2.
  • the collective air supply flow path 5 is for supplying compressed air to the plurality of solenoid valves 30 at once, and the individual supply air flow path 6 is branched from the collective air supply flow path 5 to provide a valve mounting surface. It opens individually to each valve mounting area 3 of 2A.
  • the collective air supply channel 5 has a substantially circular cross-sectional shape, penetrates the center position in the short direction (width direction) of the base body 2 in the longitudinal direction of the base body 2, and the base body 2
  • the end openings 7 are open on both end faces of the two, and female threads are formed on the inner peripheral walls of the end openings 7 respectively.
  • a quick connection type pipe joint having a male thread formed on the outer periphery can be attached to the end opening 7 by screwing.
  • the individual air supply channel 6 is a channel for individually sending the compressed air supplied from the collective air supply channel 5 to each electromagnetic valve 30. As shown in FIG. It penetrates linearly between the inner peripheral wall and the valve mounting surface 2A.
  • the individual air supply channel 6 has a circular cross-sectional shape like the collective air supply channel 5, and the diameter thereof is smaller than the diameter of the collective air supply channel 5.
  • a total of five individual air supply passages 6 are arranged in the longitudinal direction of the base body 2. It is juxtaposed in the direction.
  • the individual air supply flow path 6 is open at the center of the base body 2 in the short direction, that is, at the center of the valve mounting surface 2A.
  • the base main body 2 has a first exhaust flow path 8a and a second exhaust flow path 8b for discharging the exhaust discharged from the electromagnetic valve 30 to the outside of the base main body 2.
  • the cross-sectional shape and arrangement of the first exhaust flow path 8a and the second exhaust flow path 8b are bilaterally symmetric with respect to a circle that includes the axis L2 of the collective air supply flow path 5. ing.
  • the first and second exhaust flow paths 8a and 8b pass through the inside of the base body 2 in the parallel direction of the valve mounting region 3 (longitudinal direction of the base body 2). It has main bodies 9a, 9b and groove-shaped first and second communication ports 10a, 10b that allow the flow path bodies 9a, 9b to communicate with the valve mounting surface 2A of the base body 2. And the said silencer 50 for suppressing the exhaust sound of the air discharged
  • the first flow path body 9a and the first communication port 10a communicate with each other, and the second flow path body 9b and the second communication port 10b communicate with each other.
  • first and second flow path main bodies 9a and 9b and the first and second communication ports 10a and 10b will be described.
  • first and second exhaust passages 8a and 8b have substantially the same configuration except that their cross-sectional shapes are symmetrical with each other.
  • the second exhaust flow path 8b will be described with reference to the first exhaust flow path 8a.
  • the second flow path main body 9b in the second exhaust flow path 8b includes a bottom wall 11, left and right side walls 12a and 12b continuous from both sides of the bottom wall 11, and the valve mounting surface from the upper ends of the side walls 12a and 12b. 2A, and the second communication port 10b is formed on the upper wall 13 so as to continuously extend from one end to the other end of the base body 2. .
  • the opening width of the second communication port 10b is constant over the entire length.
  • one side wall 12a of the second flow path main body 9b is formed in an arcuate surface concentric with the circular inner peripheral wall of the collective air supply flow path 5 (see FIG. 2), and the other side wall 12b is While forming the flat wall surface extended in the perpendicular direction along the side end surface of the base main body 2, it is extended below the said side wall 12a. Thereby, the bottom wall 11 is inclined so as to descend from the left side toward the right side in the drawing.
  • a pair of support walls 15, 15 rises in parallel and perpendicularly from the bottom wall 11 toward the upper wall 13 side at the bottom of the second flow path body 9 b, and the pair of support walls 15, A support groove 15 a is formed between 15. Since the support walls 15, 15 extend continuously from one end to the other end of the base body 2, the support groove 15 a also extends continuously from one end to the other end of the base body 2. ing.
  • the support groove 15a is for holding the lower end portion of the silencer 50, and is located immediately below the second communication port 10b.
  • the width of the support groove 15a is the same as the entire length of the support groove 15a. It is constant over the range and is approximately equal to the opening width of the second communication port 10b.
  • the upper end surfaces of the pair of support walls 15 and 15 are at the same height and are formed as flat surfaces, and the upper end portions of the inner side surfaces of the support walls 15 and 15, that is, the grooves of the support grooves 15a.
  • the upper end of the wall is chamfered.
  • the first and second communication ports 10a and 10b are formed on the valve mounting surface 2A so as to continuously cross a plurality of valve mounting regions 3 on the valve mounting surface 2A. It has been established. More specifically, the first and second communication ports 10a and 10b are formed so as to continue from the valve mounting surface 2A which is horizontal to the flow path main bodies 9a and 9b, and the flow path main bodies 9a and 9b. And the valve mounting surface 2A thereabove are in linear communication with each other, and are formed so as to cross all of the plurality of valve mounting regions 3 along the flow path main bodies 9a and 9b (see FIG. 4). Further, the two communication ports 10a and 10b are opened so as to be parallel to each other on both sides in the short direction of the base body 2 with the individual air supply channel 6 interposed therebetween.
  • the first communication port 10a is connected to the first discharge hole 37a of the electromagnetic valve 30, and the second communication port 10b. Is connected to the second discharge hole 37b of the electromagnetic valve 30 (see FIG. 2).
  • the opening width of the first and second communication ports 10a, 10b is the maximum flow width of the first and second flow passage bodies 9a, 9b (between the pair of side walls 12a, 12b).
  • the first and second discharge through holes 37a and 37b are formed narrower than the opening width of the electromagnetic valve 30 in the longitudinal direction.
  • locking projections 17 are provided on the opening walls of the first and second communication ports 10a and 10b, respectively.
  • the locking projection 17 bites into the silencer 50 fitted in the first and second communication ports 10a and 10b and locks to the silencer 50, and the silencer 50 is removed from the communication ports 10a and 10b. This is to prevent a shift movement.
  • the locking protrusion 17 is a linear protrusion extending in the length direction of the communication ports 10a and 10b, and is provided on one of two opposed opening walls of the communication ports 10a and 10b.
  • the locking projection 17 has an arcuate cross-sectional shape, thereby facilitating attachment / detachment when the silencer 50 is replaced, and the silencer 50 is damaged or damaged during attachment / detachment. Can be prevented.
  • the silencer 50 is integrally formed of a porous silencing material having air permeability. More specifically, the silencer 50 is formed in an elongated stick shape (square bar shape) having a rectangular cross-sectional shape having a longitudinal direction and a short-side direction, and the longitudinal direction of the cross-section is the vertical direction. It is inserted into the first and second communication ports 10a and 10b in a vertically oriented posture. Further, the length (thickness) in the short direction of the cross section of the silencer 50 is substantially equal to the opening width of the first and second communication ports 10a and 10b, and the length in the long direction (high) of the cross section. Is substantially the same as the linear distance from the bottom of the support groove 15a to the valve mounting surface 2A.
  • the silencer 50 having such a cross-sectional dimension extends from the valve mounting surface 2A to the groove bottom of the support groove 15a in a state where the silencer 50 is fitted to the first and second communication ports 10a and 10b. Is supported by the communication ports 10a and 10b, and the lower end is supported by the support groove 15a. Therefore, the upper end surface of the silencer 50 and the valve mounting surface 2A are located on substantially the same plane.
  • the first and second flow path main bodies 9a and 9b are divided into right and left parts with the silencer 50 interposed therebetween.
  • the exhaust discharged from the electromagnetic valve 30 passes through the silencer 50 and is then discharged to the outside (atmosphere) through the hollow portions on both sides of the silencer 50 in the flow path main bodies 9a and 9b.
  • the sound deadening material for example, an open cell foam in which bubbles communicate with each other or a fiber aggregate formed by entwining fibers are preferably used, but is not limited thereto.
  • the base body 2 has two attachment holes 60 penetrating from the valve mounting surface 2A to the bottom surface at one end and the other end in the longitudinal direction.
  • the mounting hole 60 is for inserting a mounting member such as a screw to fix the base body 2 at a predetermined installation location, and is close to the first and second communication ports 10a and 10b. Each position is formed.
  • the length of the silencer 50 in the direction of the axis L2 is shorter than the length of the base body 2 in the longitudinal direction, and more specifically, one end of the base body 2 in the longitudinal direction along the communication ports 10a and 10b and It is shorter than the distance between the two mounting holes 60, 60 located at the other end.
  • a pair of left and right cutout grooves 14 and 14 are formed on the bottom surface of the base body 2 from one end in the longitudinal direction of the base body 2 along the exhaust flow paths 8a and 8b (flow path bodies 9a and 9b). It is formed to extend to the other end.
  • the lightening grooves 14 and 14 leave the base body 2 with portions where the collective air supply passage 5 and the flow passage main bodies 9a and 9b of the first and second exhaust flow passages 8a and 8b are formed.
  • the base body 2 is formed in a recessed shape in the height direction. The lightening grooves 14 and 14 can reduce the weight of the base body 2 and can reduce the manufacturing cost.
  • an arcuate bottom portion 16 having an arcuate surface concentric with the opening of the collective air supply channel 5 is formed at the center in the width direction of the bottom surface of the base body 2.
  • the arc-shaped bottom portion 16 is provided with a protrusion 18 extending in the longitudinal direction of the base body 2, and the protrusion 18 forms a leg portion when the base body 2 is installed at an installation location.
  • the solenoid valves 30 are respectively mounted in all the valve mounting regions 3 on the valve mounting surface 2 ⁇ / b> A. As described above, these solenoid valves 30 have substantially the same configuration. Therefore, here, one electromagnetic valve 30 will be described. However, since the specific operation of the electromagnetic valve 30 itself having the above-described configuration is generally known, detailed description thereof is omitted here. Further, depending on the number of actuators to be controlled, the number of electromagnetic valves 30 to be mounted may be smaller than the number of valve mounting regions 3 formed on the valve mounting surface 2A. In such a case, the individual air supply passages 6 that open to the surplus valve mounting area 3 may be airtightly closed with plugs, or the surplus valve mounting area 3 may be covered airtightly with a sealing member such as a plate.
  • a sealing member such as a plate.
  • the two silencers 50 are respectively mounted on the valve mounting surface of the base body 2 with respect to the first and second communication ports 10a and 10b. Push in from the top of 2A in the direction of the arrow below. At this time, as shown in FIG. 2, the silencer 50 is pushed to a position where it abuts against the bottom of the support groove 15a of the first and second flow path main bodies 9a, 9b. By doing so, as described above, the silencer 50 is supported with the lower end portion fitted into the support groove 15a and the upper end portion supported by the first and second communication ports 10a and 10b. And the upper end surface is in a state of being located on substantially the same plane as the valve mounting surface 2A. At this time, the silencer 50 is locked to the locking protrusion 17.
  • a seal member 51 such as a gasket is disposed in each valve mounting region 3 of the valve mounting surface 2A of the base body 2, and the seal member 51 is sandwiched therebetween.
  • the electromagnetic valve 30 is fixed to the base body 2.
  • the individual air supply passage 6 of the base body 2 communicates with the supply through hole 36 of the electromagnetic valve 30, and the first and second communication ports of the base body 2.
  • 10a, 10b and the first and second discharge through holes 37a, 37b of the electromagnetic valve 30 communicate with each other.
  • the first and second output ports A and B of the electromagnetic valve 30 are connected to respective pressure chambers of a pneumatic actuator such as a double-acting cylinder (not shown), for example. Further, compressed air is supplied to the collective air supply passage 5 of the base body 2 from an air pressure source (not shown).
  • the operation of the spool 35 in one direction causes the supply through hole 36 of the electromagnetic valve 30 to
  • the second output through hole 38b of the second output port B communicates with the first output through hole 38a of the first output port A and the first discharge through hole 37a.
  • the compressed air supplied from the collective air supply passage 5 to the supply passage 36 through the individual supply passage 6 is output from the second output port B to the actuator.
  • the compressed air from the first output port A that is, the exhaust from the actuator, passes through the first exhaust passage 8a of the base body 2, that is, through the first communication port 10a and the first body passage 9a. It is discharged outside the base body 2 (atmosphere).
  • the exhaust gas is silenced (absorbed) by the silencer 50 attached to the first communication port 10a and then exhausted to the atmosphere through the first flow path body 9a.
  • the operation of the spool 35 in the other direction causes the supply through hole 36 and the first output port A to be
  • the first output through hole 38a communicates with the second output port B
  • the second output through hole 38b and the second discharge through hole 37b communicate with each other.
  • the compressed air supplied to the supply through hole 36 is output from the first output port A to the actuator, while the compressed air from the second output port B, that is, the actuator.
  • the exhaust from the base body 2 is discharged to the outside of the base body 2 through the second exhaust passage 8b of the base body 2, that is, the second communication port 10b and the second body passage 9b. At this time, the exhaust gas is silenced (absorbed) by the silencer 50 attached to the second communication port 10b and then released into the atmosphere through the second flow path body 9b.
  • the manifold base 1 is provided with the silencer 50 for suppressing the exhaust sound from the electromagnetic valve 30 at the first and second communication ports 10a and 10b that are opened on the valve mounting surface 2A of the base body 2. Since the base body 2 is designed on the assumption that the silencer 50 is attached, a silencer is retrofitted to the opening of the manifold base collective exhaust passage. Compared to conventional products that must be done, the silencer can be mounted securely and stably, and the base body 2 with a silencer has a more rational design, such as simplification of the structure and reduction in size and weight. Etc. are possible.
  • the single pilot type electromagnetic valve 30 including one pilot valve 31 is mounted on the valve mounting surface 2A of the base body, but the double pilot type electromagnetic valve including two pilot valves is provided. May be installed.
  • the first and second communication ports 10a and 10b are formed so as to continuously traverse all the valve mounting areas 3 on the valve mounting surface 2A, but may be opened in each valve mounting area 3.
  • each of the valve mounting areas 3 may be formed individually, or the plurality of valve mounting areas 3 are divided into a plurality of groups, and each group includes a valve mounting area included in the group. 3 may be formed so as to cross 3.
  • the silencer 50 is also divided into a plurality according to the number of the communication ports 10a and 10b.
  • the silencer 50 is formed integrally with the silencer, but it is sufficient that the silencer is formed so that at least the silencer is disposed in each valve mounting region 3 on the valve mounting surface 2A.
  • the silencer and the non-breathable member are used, and the silencer is used as the valve mounting area.
  • the silencer and the non-breathable member may be alternately combined so that the non-breathable member is disposed between the valve mounting regions 3 and 3.

Landscapes

  • Engineering & Computer Science (AREA)
  • General Engineering & Computer Science (AREA)
  • Mechanical Engineering (AREA)
  • Physics & Mathematics (AREA)
  • Fluid Mechanics (AREA)
  • Chemical & Material Sciences (AREA)
  • Analytical Chemistry (AREA)
  • Valve Housings (AREA)
  • Magnetically Actuated Valves (AREA)
  • Details Of Valves (AREA)
  • Multiple-Way Valves (AREA)
PCT/JP2018/003887 2017-02-16 2018-02-06 電磁弁用マニホールドベース及びマニホールド型電磁弁 Ceased WO2018150932A1 (ja)

Priority Applications (7)

Application Number Priority Date Filing Date Title
RU2019128857A RU2019128857A (ru) 2017-02-16 2018-02-06 Распределительное основание для электромагнитного клапана и распределительный электромагнитный клапан
KR1020197025514A KR102475548B1 (ko) 2017-02-16 2018-02-06 전자밸브용 매니폴드 베이스 및 매니폴드형 전자밸브
EP18753889.7A EP3584481B1 (en) 2017-02-16 2018-02-06 Manifold base for electromagnetic valve and manifold-type electromagnetic valve
MX2019009738A MX2019009738A (es) 2017-02-16 2018-02-06 Base de colector para valvula electromagnetica y valvula electromagnetica tipo colector.
CN201880012047.6A CN110291318B (zh) 2017-02-16 2018-02-06 电磁阀用歧管基座及歧管型电磁阀
US16/485,542 US10900581B2 (en) 2017-02-16 2018-02-06 Manifold base for electromagnetic valve and manifold-type electromagnetic valve
BR112019017081A BR112019017081A2 (pt) 2017-02-16 2018-02-06 base de coletor para válvula eletromagnética e válvula eletromagnética tipo coletor

Applications Claiming Priority (2)

Application Number Priority Date Filing Date Title
JP2017-027123 2017-02-16
JP2017027123A JP6819867B2 (ja) 2017-02-16 2017-02-16 電磁弁用マニホールドベース及びそれを用いた電磁弁集合体

Publications (1)

Publication Number Publication Date
WO2018150932A1 true WO2018150932A1 (ja) 2018-08-23

Family

ID=63169340

Family Applications (1)

Application Number Title Priority Date Filing Date
PCT/JP2018/003887 Ceased WO2018150932A1 (ja) 2017-02-16 2018-02-06 電磁弁用マニホールドベース及びマニホールド型電磁弁

Country Status (10)

Country Link
US (1) US10900581B2 (enExample)
EP (1) EP3584481B1 (enExample)
JP (1) JP6819867B2 (enExample)
KR (1) KR102475548B1 (enExample)
CN (1) CN110291318B (enExample)
BR (1) BR112019017081A2 (enExample)
MX (1) MX2019009738A (enExample)
RU (1) RU2019128857A (enExample)
TW (1) TWI756364B (enExample)
WO (1) WO2018150932A1 (enExample)

Families Citing this family (6)

* Cited by examiner, † Cited by third party
Publication number Priority date Publication date Assignee Title
JP7454527B2 (ja) * 2021-06-25 2024-03-22 Ckd株式会社 電磁弁マニホールド
CN113357432B (zh) * 2021-07-08 2022-06-21 河南航天液压气动技术有限公司 一种高精度易调节消声平衡阀
US12060898B2 (en) * 2021-12-15 2024-08-13 Ford Global Technologies, Llc Unitized valve body having connection orifices
CN114151583A (zh) * 2021-12-30 2022-03-08 深圳市东吉联医疗科技有限公司 一种空气波理疗仪电磁阀组件
JP7705823B2 (ja) * 2022-04-08 2025-07-10 Ckd株式会社 電磁弁マニホールド
WO2024218140A1 (en) * 2023-04-19 2024-10-24 BSH Hausgeräte GmbH Gas main and a gas cooking appliance

Citations (5)

* Cited by examiner, † Cited by third party
Publication number Priority date Publication date Assignee Title
JPH04125303A (ja) * 1990-09-11 1992-04-24 Smc Corp 消音機能を有するマニホールド
JP2006226377A (ja) 2005-02-16 2006-08-31 Smc Corp マニホールドベース組立体
JP2007032831A (ja) 2005-06-20 2007-02-08 Smc Corp マニホールド形電磁弁集合体
JP2009257554A (ja) 2008-04-21 2009-11-05 Smc Corp 電磁弁用マニホールド
WO2017104179A1 (ja) * 2015-12-14 2017-06-22 Smc株式会社 電磁弁用マニホールド組立体及びそれを用いた電磁弁集合体

Family Cites Families (10)

* Cited by examiner, † Cited by third party
Publication number Priority date Publication date Assignee Title
US3504704A (en) * 1968-04-29 1970-04-07 Beckett Harcum Co Valve and control assembly
DE3326802C2 (de) * 1983-07-26 1986-03-20 Festo KG, 7300 Esslingen Anschlußblock
JPH0227074U (enExample) * 1988-08-09 1990-02-22
JPH0743447Y2 (ja) * 1988-10-14 1995-10-09 株式会社巴技術研究所 弁の操作速度制御装置
DE4232628A1 (de) * 1992-09-29 1994-03-31 Herion Werke Kg Wegeventil
JP3486238B2 (ja) * 1994-09-21 2004-01-13 Smc株式会社 切換弁
JP4378627B2 (ja) * 2004-03-30 2009-12-09 Smc株式会社 エアサーボシリンダ
CN100497963C (zh) * 2005-06-20 2009-06-10 Smc株式会社 汇流型电磁阀集合体
KR20140020944A (ko) * 2011-03-28 2014-02-19 가부시키가이샤 고가네이 이젝터
CN106555656A (zh) * 2015-09-30 2017-04-05 重庆展瑞汽车配件厂 一种汽车排气歧管消音筒

Patent Citations (5)

* Cited by examiner, † Cited by third party
Publication number Priority date Publication date Assignee Title
JPH04125303A (ja) * 1990-09-11 1992-04-24 Smc Corp 消音機能を有するマニホールド
JP2006226377A (ja) 2005-02-16 2006-08-31 Smc Corp マニホールドベース組立体
JP2007032831A (ja) 2005-06-20 2007-02-08 Smc Corp マニホールド形電磁弁集合体
JP2009257554A (ja) 2008-04-21 2009-11-05 Smc Corp 電磁弁用マニホールド
WO2017104179A1 (ja) * 2015-12-14 2017-06-22 Smc株式会社 電磁弁用マニホールド組立体及びそれを用いた電磁弁集合体

Non-Patent Citations (1)

* Cited by examiner, † Cited by third party
Title
See also references of EP3584481A4

Also Published As

Publication number Publication date
EP3584481A4 (en) 2020-12-09
TW201835477A (zh) 2018-10-01
KR102475548B1 (ko) 2022-12-08
RU2019128857A (ru) 2021-03-16
CN110291318A (zh) 2019-09-27
EP3584481A1 (en) 2019-12-25
JP6819867B2 (ja) 2021-01-27
US20200049271A1 (en) 2020-02-13
BR112019017081A2 (pt) 2020-04-07
CN110291318B (zh) 2021-10-15
JP2018132144A (ja) 2018-08-23
KR20190117574A (ko) 2019-10-16
MX2019009738A (es) 2019-10-15
RU2019128857A3 (enExample) 2021-06-21
US10900581B2 (en) 2021-01-26
EP3584481B1 (en) 2023-07-26
TWI756364B (zh) 2022-03-01

Similar Documents

Publication Publication Date Title
WO2018150932A1 (ja) 電磁弁用マニホールドベース及びマニホールド型電磁弁
KR102540684B1 (ko) 전자 밸브용 매니폴드 조립체 및 그것을 사용한 전자 밸브 집합체
JP4919002B2 (ja) マニホールド形電磁弁集合体
JP4594404B2 (ja) マニホールド電磁弁
KR100275913B1 (ko) 파일럿식 5포트 밸브
US5971022A (en) Selector valve with counterflow prevention means
JP2017009073A (ja) 多連一体型マニホールドバルブ
KR101321758B1 (ko) 다연식 전자 밸브
JP4016152B2 (ja) 切換弁組立体
US6186161B1 (en) Manifold for change-over valve
WO2017061400A1 (ja) スプール弁
JP2010169163A (ja) ベース部材に対する弁取付機構
US20210324961A1 (en) Spool valve
WO2003104695A1 (ja) 電磁弁
JP2597767Y2 (ja) パイロット形弁

Legal Events

Date Code Title Description
121 Ep: the epo has been informed by wipo that ep was designated in this application

Ref document number: 18753889

Country of ref document: EP

Kind code of ref document: A1

NENP Non-entry into the national phase

Ref country code: DE

REG Reference to national code

Ref country code: BR

Ref legal event code: B01A

Ref document number: 112019017081

Country of ref document: BR

ENP Entry into the national phase

Ref document number: 20197025514

Country of ref document: KR

Kind code of ref document: A

ENP Entry into the national phase

Ref document number: 2018753889

Country of ref document: EP

Effective date: 20190916

ENP Entry into the national phase

Ref document number: 112019017081

Country of ref document: BR

Kind code of ref document: A2

Effective date: 20190816