WO2018070137A1 - ミリ波レーダ装置およびその製造方法 - Google Patents

ミリ波レーダ装置およびその製造方法 Download PDF

Info

Publication number
WO2018070137A1
WO2018070137A1 PCT/JP2017/031603 JP2017031603W WO2018070137A1 WO 2018070137 A1 WO2018070137 A1 WO 2018070137A1 JP 2017031603 W JP2017031603 W JP 2017031603W WO 2018070137 A1 WO2018070137 A1 WO 2018070137A1
Authority
WO
WIPO (PCT)
Prior art keywords
substrate
antenna
wave radar
radar device
mounting
Prior art date
Legal status (The legal status is an assumption and is not a legal conclusion. Google has not performed a legal analysis and makes no representation as to the accuracy of the status listed.)
Ceased
Application number
PCT/JP2017/031603
Other languages
English (en)
French (fr)
Japanese (ja)
Inventor
利彦 高畑
杉浦 和彦
Current Assignee (The listed assignees may be inaccurate. Google has not performed a legal analysis and makes no representation or warranty as to the accuracy of the list.)
Denso Corp
Original Assignee
Denso Corp
Priority date (The priority date is an assumption and is not a legal conclusion. Google has not performed a legal analysis and makes no representation as to the accuracy of the date listed.)
Filing date
Publication date
Application filed by Denso Corp filed Critical Denso Corp
Publication of WO2018070137A1 publication Critical patent/WO2018070137A1/ja
Anticipated expiration legal-status Critical
Ceased legal-status Critical Current

Links

Images

Classifications

    • GPHYSICS
    • G01MEASURING; TESTING
    • G01SRADIO DIRECTION-FINDING; RADIO NAVIGATION; DETERMINING DISTANCE OR VELOCITY BY USE OF RADIO WAVES; LOCATING OR PRESENCE-DETECTING BY USE OF THE REFLECTION OR RERADIATION OF RADIO WAVES; ANALOGOUS ARRANGEMENTS USING OTHER WAVES
    • G01S7/00Details of systems according to groups G01S13/00, G01S15/00, G01S17/00
    • G01S7/02Details of systems according to groups G01S13/00, G01S15/00, G01S17/00 of systems according to group G01S13/00
    • G01S7/03Details of HF subsystems specially adapted therefor, e.g. common to transmitter and receiver
    • HELECTRICITY
    • H01ELECTRIC ELEMENTS
    • H01QANTENNAS, i.e. RADIO AERIALS
    • H01Q1/00Details of, or arrangements associated with, antennas
    • H01Q1/36Structural form of radiating elements, e.g. cone, spiral, umbrella; Particular materials used therewith
    • H01Q1/38Structural form of radiating elements, e.g. cone, spiral, umbrella; Particular materials used therewith formed by a conductive layer on an insulating support
    • HELECTRICITY
    • H01ELECTRIC ELEMENTS
    • H01QANTENNAS, i.e. RADIO AERIALS
    • H01Q21/00Antenna arrays or systems
    • H01Q21/06Arrays of individually energised antenna units similarly polarised and spaced apart

Definitions

  • the present disclosure relates to a millimeter wave radar device and a manufacturing method thereof.
  • a conventional millimeter wave radar device actually mounted on a vehicle uses an integrated substrate in which a control substrate and an antenna substrate are integrated. A plurality of conductor patterns are formed on the surface of the integrated substrate. Each of the plurality of conductor patterns is used as an antenna element.
  • An MMIC (Monolithic Microwave Integrated Circuit) chip as a high-frequency component for transmitting millimeter waves is mounted on the back surface of the integrated substrate.
  • the diversification of the millimeter wave transmission direction is required for the conventional millimeter wave radar device described above.
  • a method for realizing this is to increase the antenna area and mount a plurality of MMIC chips.
  • the volume of the entire millimeter wave radar device increases as the antenna area increases.
  • a tradeoff between diversification of the millimeter wave transmission direction and downsizing of the millimeter wave radar apparatus is inevitable. Therefore, in the conventional millimeter wave radar device, it is difficult to achieve both diversification of the millimeter wave transmission direction and downsizing of the millimeter wave radar device.
  • a millimeter wave radar device includes: Case and A mounting board housed inside the case; The antenna board mounted on the mounting board and transmitting millimeter waves,
  • the antenna substrate includes one or more bent portions, a plurality of plane portions connected to each other via the bend portions, and an antenna element formed on each surface of the plurality of plane portions,
  • the whole of the plurality of planar portions has a convex shape toward the side away from the mounting substrate in the thickness direction of the mounting substrate.
  • the antenna substrate has a plurality of flat portions on which antenna elements are formed.
  • the whole of the plurality of flat portions has a convex shape. For this reason, it is possible to realize a wider angle in the millimeter wave transmission direction as compared with the case where the antenna substrate is configured by only one plane portion.
  • the antenna substrate is housed inside the case in a state of being bent at one or more bent portions. For this reason, even if the number of antenna elements is increased, an increase in size in a direction parallel to the surface of the mounting substrate can be suppressed as compared with a case where the antenna substrate is configured by only one planar portion.
  • a method for manufacturing a millimeter wave radar device includes: Preparing a case, a mounting board, and an antenna board; Mounting the antenna substrate on the mounting substrate; Assembling a mounting board on which an antenna board is mounted to a case, Preparing an antenna substrate includes forming a plurality of antenna elements by a printing method in which a solution containing a conductive nanomaterial is applied onto the surface of a dielectric film, and the applied solution is dried.
  • the antenna substrate includes one or more bent portions, a plurality of planar portions connected to each other via the bent portions, and a plurality of antennas formed on the respective surfaces of the plurality of planar portions.
  • the antenna substrate is mounted on the mounting substrate so that the whole of the plurality of planar portions has a convex shape toward the side away from the mounting substrate in the thickness direction of the mounting substrate.
  • the same effect as the above millimeter wave radar device can be obtained. Further, according to this, a plurality of antenna elements are formed by a printing method. For this reason, compared with the case where a some antenna element is formed through an etching process, the roughness of the surface of the completion of a some antenna element can be reduced. Therefore, the antenna gain can be increased as compared with this case.
  • FIG. 1st Embodiment shows the cross-sectional structure of the millimeter wave radar apparatus in 1st Embodiment. It is a disassembled perspective view of the millimeter wave radar apparatus of FIG. It is a top view of the antenna substrate of 1st Embodiment in the state before mounting in a control board. It is sectional drawing of the antenna board
  • a millimeter wave radar device 1 of this embodiment shown in FIG. 1 is mounted on a vehicle.
  • the millimeter wave radar device 1 acquires information on a target by transmitting a millimeter wave from the transmission antenna unit and receiving the millimeter wave reflected by the target by the reception antenna unit.
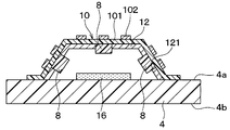
  • the millimeter wave radar device 1 of the present embodiment includes a case 2, a control board 4, a control chip 6, an MMIC chip 8, an antenna board 10, and a shield board 12.
  • Case 2 accommodates components such as the control board 4, the control chip 6, the MMIC chip 8, the antenna board 10, and the shield board 12.
  • the case 2 includes a radome 22 and a case main body 24.
  • the radome 22 is an electromagnetically permeable cover.
  • the control board 4 is fixed to the case body 24.
  • the control board 4 has a first surface 4a and a second surface 4b opposite to the first surface 4a.
  • the first surface 4a is a surface on the radome 22 side.
  • the second surface 4b is a surface on the case body 24 side.
  • a plurality of MMIC chips 8 are mounted on the first surface 4a.
  • a plurality of control chips 6 are mounted on the second surface 4b.
  • the control board 4 corresponds to a mounting board.
  • the first surface 4a corresponds to one surface of the mounting substrate. In FIG. 1, for convenience, one MMIC chip 8 and one control chip 6 are shown.
  • the control board 4 is fixed to the case main body 24 with screws 5.
  • the control board 4 and the control chip 6 and the MMIC chip 8 constitute a control circuit that controls the operation of the millimeter wave radar device 1.
  • the control circuit includes various signal processing circuits, a microcomputer, a power supply circuit, and the like.
  • the MMIC chip 8 constitutes a millimeter wave oscillator. Therefore, in this embodiment, the MMIC chip 8 is a high-frequency component that oscillates millimeter waves.
  • the antenna substrate 10 is mounted on the control substrate 4 while being held by the shield substrate 12. As shown in FIG. 3, the antenna substrate 10 includes a dielectric film 101 and a plurality of conductor patterns 102.
  • the dielectric film 101 is made of a resin material.
  • a resin material having a dielectric constant lower than that of the insulating material constituting the control substrate 4 is used as the resin material constituting the dielectric film 101.
  • the relative dielectric constant of the dielectric film is preferably 2-4.
  • the plurality of conductor patterns 102 are formed on the surface of the dielectric film 101.
  • Each of the plurality of conductor patterns 102 is an antenna element.
  • Each of the plurality of conductor patterns 102 is rectangular.
  • the plurality of conductor patterns 102 are formed by a printing method, as will be described later.
  • All of the plurality of conductor patterns 102 constitute the antenna unit 11.
  • a part of the plurality of conductor patterns 102 located on the upper half of the dielectric film 101 in FIG. 3 constitutes the receiving antenna portion 11a.
  • Another part of the plurality of conductor patterns 102 located in the lower half of the dielectric film 101 in FIG. 3 constitutes the transmitting antenna portion 11b.
  • the receiving antenna unit 11a is a patch array antenna in which four patch antennas are arranged in five rows.
  • the transmission antenna unit 11b is a patch array antenna in which four patch antennas are arranged in 16 rows.
  • the number of patch antennas is not limited to this, and can be arbitrarily changed.
  • Shield board 12 blocks radio waves.
  • the shield substrate 12 also functions as a holding unit that holds the antenna substrate 10.
  • the shield substrate 12 maintains the desired shape of the antenna substrate 10.
  • the shield substrate 12 is made of a metal material such as white and white.
  • the shield substrate 12 is fixed to the control substrate 4 by soldering or the like.
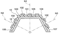
  • the antenna substrate 10 is bent along the shape of the shield substrate 12 as shown in FIG.
  • the antenna substrate 10 has a shape bent so as to be convex toward the side away from the first surface 4a.
  • the antenna substrate 10 has two bent portions 103 and 104 and three flat portions 105, 106, and 107.
  • the antenna substrate 10 is bent at the two bent portions 103 and 104 so as to have the three flat portions 105, 106 and 107.
  • the antenna substrate 10 includes the first flat surface portion 105, the second flat surface portion 106 located adjacent to the first flat surface portion 105 with the first bent portion 103 interposed therebetween, and the second flat surface portion 106 side. On the opposite side, it has a third plane portion 107 located adjacent to the first plane portion 106 with the second bent portion 104 interposed therebetween.
  • the angle of the bent portion 103 is an obtuse angle.
  • the angle of the bent portion 103 is an angle formed between the flat portion 105 and the flat portion 106 on the control board 4 side.
  • the angle of the bent portion 104 is an obtuse angle.
  • the angle of the bent portion 104 is an angle formed between the flat portion 105 and the flat portion 107 on the control board 4 side. Therefore, the normal direction N1 of the first plane portion 105, the normal direction N2 of the second plane portion 106, and the normal direction N3 of the third plane portion 107 intersect each other.
  • the first plane portion 105 is formed with a plurality of conductor patterns 102 constituting the reception antenna portion 11a and a plurality of conductor patterns 102 constituting the transmission antenna portion 11b. ing. A plurality of conductor patterns 102 constituting the transmission antenna part 11b are formed on the second plane part 106. In the third plane portion 107, a plurality of conductor patterns 102 constituting the transmitting antenna portion 11b are formed.
  • the antenna substrate 10 is disposed on the first surface 4 a of the control substrate 4 so as to cover the MMIC chip 8.
  • the antenna substrate 10 is mechanically and electrically connected to the control substrate 4. Therefore, each of the plurality of conductor patterns 102 is electrically connected to the corresponding MMIC chip 8.
  • Examples of a method for connecting the antenna substrate 10 to the control substrate 4 include caulking and ACF connection.
  • ACF connection is a connection method using an anisotropic conductive film (Anisotropic Condactive Film).
  • the millimeter wave radar device 1 further includes a connector 14, a radio wave absorber 16, and a heat dissipation member 18.
  • the connector 14 is a component for electrically connecting the control board 4 and the outside.
  • the radio wave absorber 16 absorbs radio waves.
  • the radio wave absorber 16 is fixed to the surface of the shield substrate 12 on the MMIC chip 8 side.
  • the heat radiating member 18 is a component for releasing heat from the control board 4 and the control chip 6.
  • the heat radiating member 18 is fixed to the case main body 24.
  • the heat radiating member 18 also functions as a fixing portion that fixes the control board 4 to the case main body 24.
  • the millimeter wave radar device 1 is manufactured by sequentially performing a preparation step S1, a mounting step S2, and an assembly step S3.
  • each component such as the case 2, the control board 4, the control chip 6, the MMIC chip 8, the antenna board 10, the shield board 12, the connector 14, the radio wave absorber 16, and the heat radiating member 18 is prepared.
  • a plurality of conductor patterns 102 are formed on the surface of the dielectric film 101 by a printing method.
  • This printing method is a method in which a solution (that is, ink) containing a conductive nanomaterial and a solvent is applied onto the surface of the dielectric film 101, and the applied solution is dried.
  • the dielectric film 101 can be dried at a temperature lower than the heat resistant temperature.
  • the conductive nanomaterial a silver nanomaterial or a copper nanomaterial can be used.
  • the solvent an aqueous solvent or an organic solvent can be used.
  • the antenna substrate 10 is fixed to the shield substrate 12 in advance.
  • the antenna substrate 10 and the shield substrate 12 are fixed to the first surface 4 a of the control substrate 4 so that the antenna substrate 10 and the shield substrate 12 cover the MMIC chip 8.
  • the antenna substrate 10 may be mounted on the shield substrate 12 after the shield substrate 12 is fixed to the control substrate 4. Thereafter, the antenna substrate 10 is mechanically and electrically connected to the control substrate 4.
  • the parts such as the control board 4 are assembled to the case. Thereby, the millimeter wave radar apparatus 1 shown in FIG. 1 is manufactured.
  • the antenna substrate 10 is separated from the control substrate 4.
  • the antenna substrate 10 is bent at two bent portions 103 and 104 so that the antenna substrate 10 is convex toward the side away from the control substrate 4 in the thickness direction of the control substrate 4, and three plane portions 105 are formed. , 106, 107.
  • the transmission direction of the millimeter wave from each of the three plane portions 105, 106, 107 is a predetermined angle range including the respective normal directions N1, N2, N3. That is, each of the three plane portions 105, 106, and 107 has directivity that the radiation intensity of the millimeter wave in the respective normal directions N1, N2, and N3 is maximum or close thereto.
  • the present embodiment it is possible to realize a wider angle in the transmission direction of the millimeter wave as compared with the case where the antenna substrate 10 is configured by only one plane portion.
  • the angle ⁇ indicating the millimeter wave transmittable range R1 can be set to the wide angle shown in FIG. It becomes.
  • the antenna substrate 10 is bent. For this reason, compared with the case where the antenna board
  • the conventional millimeter wave radar apparatus a plurality of conductor patterns as antenna elements are formed through a copper foil etching process. For this reason, the surface roughness of the plurality of conductor patterns was large. It is known that alternating current flows densely on the surface of a conductor (that is, the skin effect). For this reason, the passage characteristics of the plurality of conductor patterns were bad. Therefore, the conventional millimeter wave radar device has a problem that the gain of the antenna is lowered.
  • the plurality of conductor patterns 102 are formed by a printing method of printing a solution. According to this, the plurality of conductor patterns 102 are formed using the wettability of the solution without going through an etching process. For this reason, compared with the case where it forms via an etching process, the surface roughness Ra of the completion
  • This embodiment is different from the first embodiment in the arrangement of the MMIC chip 8 and the radio wave absorber 16.
  • the other configuration of the millimeter wave radar device 1 is the same as that of the first embodiment.
  • the MMIC chip 8 is mounted on the back surface of the antenna substrate 10.
  • the back surface of the antenna substrate 10 is a surface opposite to the surface on which the plurality of conductor patterns 102 are formed in the antenna substrate 10.
  • the shield substrate 12 has a plurality of openings 121.
  • the MMIC chip 8 is located inside the opening 121.
  • the radio wave absorber 16 is disposed in a portion of the first surface 4 a of the control board 4 that is covered with the antenna board 10.
  • the MMIC chip 8 is mounted on the back surface of the antenna substrate 10.
  • the radio wave absorber 16 and the shield substrate 12 are mounted and fixed on the control substrate 4.
  • the antenna substrate 10 is mounted on the shield substrate 12.
  • the position of the MMIC chip 8 is matched with the position of the opening 121 of the shield substrate 12.
  • the antenna substrate 10 is mechanically and electrically connected to the control substrate 4.
  • the antenna substrate 10 is the same as in the first embodiment. For this reason, also in this embodiment, the effect similar to 1st Embodiment is acquired.
  • the antenna substrate 30 has a flat plate shape. That is, the antenna substrate 30 is composed of only one plane portion.
  • the antenna substrate 30 is stacked on the control substrate 4.
  • the antenna substrate 30 has a plurality of conductor patterns 34 formed on the surface 32 a of the dielectric film 32.
  • the plurality of conductor patterns 34 include a first group of conductor patterns 34a, a second group of conductor patterns 34b, and a third group of conductor patterns 34c.
  • the second group of conductor patterns 34b is located next to the first group of conductor patterns 34a.
  • the third group of conductor patterns 34c is located adjacent to the first group of conductor patterns 34a on the side opposite to the second group of conductor patterns 34b.
  • the top surface 341 a of the first group of conductor patterns 34 a is parallel to the surface 32 a of the dielectric film 32.
  • the side surface 342 a of the first group of conductor patterns 34 a is perpendicular to the surface 32 a of the dielectric film 32.
  • the top surface 341 b of the second group of conductor patterns 34 b is parallel to the surface 32 a of the dielectric film 32.
  • the side surface 342b of the second group of conductor patterns 34b is inclined with respect to the surface 32a of the dielectric film 32.
  • the top surface 341c of the third group of conductor patterns 34c is parallel to the surface 32a of the dielectric film 32.
  • a side surface 342 c of the third group of conductor patterns 34 c is inclined with respect to the surface 32 a of the dielectric film 32.
  • the second group of conductor patterns 34b and the third group of conductor patterns 34c are formed by a printing method so that the side surfaces 342b and 342c are inclined. At this time, it is preferable that the areas of the side surfaces 342b and 342c are formed so as to be larger than the areas of the top surfaces 341b and 341c, respectively.
  • the antenna substrate 30 has a protective layer 36 that protects the plurality of conductor patterns 34.
  • a plurality of MMIC chips 8 are mounted on the surface of the antenna substrate 30.
  • a radio wave absorber 16 is installed in a part of the case 2 that faces the antenna substrate 30.
  • the top surface 341a of the first group of conductor patterns 34a, the side surface 342b of the second group of conductor patterns 34b, and the side surface 342c of the third group of conductor patterns 34c are used as antenna surfaces.
  • the normal direction of the top surface 341a, the normal direction of the side surface 342b, and the normal direction of the side surface 342c intersect each other. For this reason, also in this embodiment, the effect similar to 1st Embodiment is acquired.
  • each of the bent portions 103 and 104 is an obtuse angle, but may be a right angle.
  • the angles of the bent portions 103 and 104 may be the same or different.
  • a plurality of conductor patterns are formed on each of the three plane portions 105, 106, and 107, but the present invention is not limited to this.
  • One conductor pattern may be formed on each of the three plane portions 105, 106, and 107.
  • the antenna substrate 10 has two bent portions 103 and 104 and three flat portions 105, 106, and 107 connected to each other through the two bent portions 103 and 104.
  • the antenna substrate 10 may have two or four or more flat portions. Even in these cases, it is only necessary that the whole of the plurality of planar portions has a convex shape toward the side away from the control board in the thickness direction of the control board.

Landscapes

  • Engineering & Computer Science (AREA)
  • Computer Networks & Wireless Communication (AREA)
  • Physics & Mathematics (AREA)
  • General Physics & Mathematics (AREA)
  • Radar, Positioning & Navigation (AREA)
  • Remote Sensing (AREA)
  • Radar Systems Or Details Thereof (AREA)
  • Variable-Direction Aerials And Aerial Arrays (AREA)
  • Details Of Aerials (AREA)
PCT/JP2017/031603 2016-10-12 2017-09-01 ミリ波レーダ装置およびその製造方法 Ceased WO2018070137A1 (ja)

Applications Claiming Priority (2)

Application Number Priority Date Filing Date Title
JP2016-201129 2016-10-12
JP2016201129A JP6699500B2 (ja) 2016-10-12 2016-10-12 ミリ波レーダ装置およびその製造方法

Publications (1)

Publication Number Publication Date
WO2018070137A1 true WO2018070137A1 (ja) 2018-04-19

Family

ID=61906241

Family Applications (1)

Application Number Title Priority Date Filing Date
PCT/JP2017/031603 Ceased WO2018070137A1 (ja) 2016-10-12 2017-09-01 ミリ波レーダ装置およびその製造方法

Country Status (2)

Country Link
JP (1) JP6699500B2 (enExample)
WO (1) WO2018070137A1 (enExample)

Cited By (1)

* Cited by examiner, † Cited by third party
Publication number Priority date Publication date Assignee Title
JP2020123946A (ja) * 2019-01-30 2020-08-13 株式会社村田製作所 アンテナモジュール及びアンテナ機器

Families Citing this family (6)

* Cited by examiner, † Cited by third party
Publication number Priority date Publication date Assignee Title
WO2020027058A1 (ja) * 2018-08-02 2020-02-06 株式会社村田製作所 アンテナ装置
CN110082767B (zh) * 2019-04-01 2024-07-16 深圳市九洲卓能电气有限公司 毫米波雷达组件
JP7272146B2 (ja) * 2019-07-05 2023-05-12 株式会社デンソー レーダ装置
JP7230713B2 (ja) * 2019-07-05 2023-03-01 株式会社デンソー レーダ装置
TWI897003B (zh) * 2023-07-31 2025-09-11 啓碁科技股份有限公司 天線裝置及其形成方法
TWI886732B (zh) 2024-01-03 2025-06-11 鼎天國際股份有限公司 超廣角雷達系統

Citations (5)

* Cited by examiner, † Cited by third party
Publication number Priority date Publication date Assignee Title
WO2003040754A1 (en) * 2001-11-09 2003-05-15 Hitachi, Ltd. Mobile millimetric wave radar
JP2007158352A (ja) * 2005-12-07 2007-06-21 Samsung Electro Mech Co Ltd 配線基板の製造方法及び配線基板
US20100090902A1 (en) * 2005-06-29 2010-04-15 Dane Thompson Multilayer electronic component systems and methods of manufacture
JP2012029163A (ja) * 2010-07-26 2012-02-09 Furukawa Electric Co Ltd:The アレーアンテナ及びその製造方法
JP2015171070A (ja) * 2014-03-10 2015-09-28 日本ピラー工業株式会社 アンテナ装置

Patent Citations (5)

* Cited by examiner, † Cited by third party
Publication number Priority date Publication date Assignee Title
WO2003040754A1 (en) * 2001-11-09 2003-05-15 Hitachi, Ltd. Mobile millimetric wave radar
US20100090902A1 (en) * 2005-06-29 2010-04-15 Dane Thompson Multilayer electronic component systems and methods of manufacture
JP2007158352A (ja) * 2005-12-07 2007-06-21 Samsung Electro Mech Co Ltd 配線基板の製造方法及び配線基板
JP2012029163A (ja) * 2010-07-26 2012-02-09 Furukawa Electric Co Ltd:The アレーアンテナ及びその製造方法
JP2015171070A (ja) * 2014-03-10 2015-09-28 日本ピラー工業株式会社 アンテナ装置

Cited By (2)

* Cited by examiner, † Cited by third party
Publication number Priority date Publication date Assignee Title
JP2020123946A (ja) * 2019-01-30 2020-08-13 株式会社村田製作所 アンテナモジュール及びアンテナ機器
JP7145402B2 (ja) 2019-01-30 2022-10-03 株式会社村田製作所 アンテナモジュール及びアンテナ機器

Also Published As

Publication number Publication date
JP2018063159A (ja) 2018-04-19
JP6699500B2 (ja) 2020-05-27

Similar Documents

Publication Publication Date Title
JP6699500B2 (ja) ミリ波レーダ装置およびその製造方法
JP5285089B2 (ja) 集積開口部結合型パッチ・アンテナを有する無線周波数(rf)集積回路(ic)パッケージ
KR101309469B1 (ko) 알에프 모듈
US11211689B2 (en) Chip antenna
CN104769775B (zh) 阵列天线
US20100066622A1 (en) Multi-sector antenna
US11637362B2 (en) Antenna module
CN104051440A (zh) 具有天线的半导体结构
JP6195080B2 (ja) アンテナ装置
CN112652878A (zh) 片式天线
CN114552186A (zh) 天线装置、天线阵列及电子装置
US10978785B2 (en) Chip antenna module
WO2010013610A1 (ja) 平面アンテナ
US7671806B2 (en) Antenna system for a radar transceiver
US9653807B2 (en) Planar array antenna having antenna elements arranged in a plurality of planes
US11888227B2 (en) Communication device
JP6807946B2 (ja) アンテナ、モジュール基板およびモジュール
US20240291166A1 (en) Antenna module and communication apparatus including the same
JP2002280921A (ja) 無線機器筐体
JP2019186741A (ja) アンテナ及びアンテナモジュール
JP6761480B2 (ja) アンテナ、モジュール基板およびモジュール
JP7124986B2 (ja) 無線通信モジュール
CN112701454A (zh) 天线设备
JP2002271135A (ja) コリニアアンテナ
KR102530829B1 (ko) 칩 안테나

Legal Events

Date Code Title Description
121 Ep: the epo has been informed by wipo that ep was designated in this application

Ref document number: 17859469

Country of ref document: EP

Kind code of ref document: A1

NENP Non-entry into the national phase

Ref country code: DE

122 Ep: pct application non-entry in european phase

Ref document number: 17859469

Country of ref document: EP

Kind code of ref document: A1