WO2018029980A1 - 車両用表示制御装置及び車両運転アシストシステム - Google Patents

車両用表示制御装置及び車両運転アシストシステム Download PDF

Info

Publication number
WO2018029980A1
WO2018029980A1 PCT/JP2017/022095 JP2017022095W WO2018029980A1 WO 2018029980 A1 WO2018029980 A1 WO 2018029980A1 JP 2017022095 W JP2017022095 W JP 2017022095W WO 2018029980 A1 WO2018029980 A1 WO 2018029980A1
Authority
WO
WIPO (PCT)
Prior art keywords
display
tunnel
information
image
vehicle
Prior art date
Legal status (The legal status is an assumption and is not a legal conclusion. Google has not performed a legal analysis and makes no representation as to the accuracy of the status listed.)
Ceased
Application number
PCT/JP2017/022095
Other languages
English (en)
French (fr)
Japanese (ja)
Inventor
中根 秀行
Current Assignee (The listed assignees may be inaccurate. Google has not performed a legal analysis and makes no representation or warranty as to the accuracy of the list.)
Denso Corp
Original Assignee
Denso Corp
Priority date (The priority date is an assumption and is not a legal conclusion. Google has not performed a legal analysis and makes no representation as to the accuracy of the date listed.)
Filing date
Publication date
Application filed by Denso Corp filed Critical Denso Corp
Priority to EP17839055.5A priority Critical patent/EP3499876A4/en
Publication of WO2018029980A1 publication Critical patent/WO2018029980A1/ja
Priority to US16/269,645 priority patent/US20190168610A1/en
Anticipated expiration legal-status Critical
Ceased legal-status Critical Current

Links

Images

Classifications

    • BPERFORMING OPERATIONS; TRANSPORTING
    • B60VEHICLES IN GENERAL
    • B60KARRANGEMENT OR MOUNTING OF PROPULSION UNITS OR OF TRANSMISSIONS IN VEHICLES; ARRANGEMENT OR MOUNTING OF PLURAL DIVERSE PRIME-MOVERS IN VEHICLES; AUXILIARY DRIVES FOR VEHICLES; INSTRUMENTATION OR DASHBOARDS FOR VEHICLES; ARRANGEMENTS IN CONNECTION WITH COOLING, AIR INTAKE, GAS EXHAUST OR FUEL SUPPLY OF PROPULSION UNITS IN VEHICLES
    • B60K35/00Instruments specially adapted for vehicles; Arrangement of instruments in or on vehicles
    • B60K35/20Output arrangements, i.e. from vehicle to user, associated with vehicle functions or specially adapted therefor
    • B60K35/29Instruments characterised by the way in which information is handled, e.g. showing information on plural displays or prioritising information according to driving conditions
    • BPERFORMING OPERATIONS; TRANSPORTING
    • B60VEHICLES IN GENERAL
    • B60KARRANGEMENT OR MOUNTING OF PROPULSION UNITS OR OF TRANSMISSIONS IN VEHICLES; ARRANGEMENT OR MOUNTING OF PLURAL DIVERSE PRIME-MOVERS IN VEHICLES; AUXILIARY DRIVES FOR VEHICLES; INSTRUMENTATION OR DASHBOARDS FOR VEHICLES; ARRANGEMENTS IN CONNECTION WITH COOLING, AIR INTAKE, GAS EXHAUST OR FUEL SUPPLY OF PROPULSION UNITS IN VEHICLES
    • B60K35/00Instruments specially adapted for vehicles; Arrangement of instruments in or on vehicles
    • B60K35/20Output arrangements, i.e. from vehicle to user, associated with vehicle functions or specially adapted therefor
    • B60K35/21Output arrangements, i.e. from vehicle to user, associated with vehicle functions or specially adapted therefor using visual output, e.g. blinking lights or matrix displays
    • B60K35/23Head-up displays [HUD]
    • BPERFORMING OPERATIONS; TRANSPORTING
    • B60VEHICLES IN GENERAL
    • B60RVEHICLES, VEHICLE FITTINGS, OR VEHICLE PARTS, NOT OTHERWISE PROVIDED FOR
    • B60R16/00Electric or fluid circuits specially adapted for vehicles and not otherwise provided for; Arrangement of elements of electric or fluid circuits specially adapted for vehicles and not otherwise provided for
    • B60R16/02Electric or fluid circuits specially adapted for vehicles and not otherwise provided for; Arrangement of elements of electric or fluid circuits specially adapted for vehicles and not otherwise provided for electric constitutive elements
    • GPHYSICS
    • G06COMPUTING OR CALCULATING; COUNTING
    • G06VIMAGE OR VIDEO RECOGNITION OR UNDERSTANDING
    • G06V20/00Scenes; Scene-specific elements
    • G06V20/50Context or environment of the image
    • G06V20/56Context or environment of the image exterior to a vehicle by using sensors mounted on the vehicle
    • GPHYSICS
    • G09EDUCATION; CRYPTOGRAPHY; DISPLAY; ADVERTISING; SEALS
    • G09GARRANGEMENTS OR CIRCUITS FOR CONTROL OF INDICATING DEVICES USING STATIC MEANS TO PRESENT VARIABLE INFORMATION
    • G09G3/00Control arrangements or circuits, of interest only in connection with visual indicators other than cathode-ray tubes
    • G09G3/20Control arrangements or circuits, of interest only in connection with visual indicators other than cathode-ray tubes for presentation of an assembly of a number of characters, e.g. a page, by composing the assembly by combination of individual elements arranged in a matrix no fixed position being assigned to or needed to be assigned to the individual characters or partial characters
    • HELECTRICITY
    • H04ELECTRIC COMMUNICATION TECHNIQUE
    • H04NPICTORIAL COMMUNICATION, e.g. TELEVISION
    • H04N5/00Details of television systems
    • H04N5/66Transforming electric information into light information
    • BPERFORMING OPERATIONS; TRANSPORTING
    • B60VEHICLES IN GENERAL
    • B60KARRANGEMENT OR MOUNTING OF PROPULSION UNITS OR OF TRANSMISSIONS IN VEHICLES; ARRANGEMENT OR MOUNTING OF PLURAL DIVERSE PRIME-MOVERS IN VEHICLES; AUXILIARY DRIVES FOR VEHICLES; INSTRUMENTATION OR DASHBOARDS FOR VEHICLES; ARRANGEMENTS IN CONNECTION WITH COOLING, AIR INTAKE, GAS EXHAUST OR FUEL SUPPLY OF PROPULSION UNITS IN VEHICLES
    • B60K2360/00Indexing scheme associated with groups B60K35/00 or B60K37/00 relating to details of instruments or dashboards
    • B60K2360/18Information management
    • B60K2360/186Displaying information according to relevancy
    • B60K2360/1868Displaying information according to relevancy according to driving situations
    • BPERFORMING OPERATIONS; TRANSPORTING
    • B60VEHICLES IN GENERAL
    • B60KARRANGEMENT OR MOUNTING OF PROPULSION UNITS OR OF TRANSMISSIONS IN VEHICLES; ARRANGEMENT OR MOUNTING OF PLURAL DIVERSE PRIME-MOVERS IN VEHICLES; AUXILIARY DRIVES FOR VEHICLES; INSTRUMENTATION OR DASHBOARDS FOR VEHICLES; ARRANGEMENTS IN CONNECTION WITH COOLING, AIR INTAKE, GAS EXHAUST OR FUEL SUPPLY OF PROPULSION UNITS IN VEHICLES
    • B60K2360/00Indexing scheme associated with groups B60K35/00 or B60K37/00 relating to details of instruments or dashboards
    • B60K2360/20Optical features of instruments
    • B60K2360/33Illumination features
    • B60K2360/334Projection means
    • BPERFORMING OPERATIONS; TRANSPORTING
    • B60VEHICLES IN GENERAL
    • B60KARRANGEMENT OR MOUNTING OF PROPULSION UNITS OR OF TRANSMISSIONS IN VEHICLES; ARRANGEMENT OR MOUNTING OF PLURAL DIVERSE PRIME-MOVERS IN VEHICLES; AUXILIARY DRIVES FOR VEHICLES; INSTRUMENTATION OR DASHBOARDS FOR VEHICLES; ARRANGEMENTS IN CONNECTION WITH COOLING, AIR INTAKE, GAS EXHAUST OR FUEL SUPPLY OF PROPULSION UNITS IN VEHICLES
    • B60K2360/00Indexing scheme associated with groups B60K35/00 or B60K37/00 relating to details of instruments or dashboards
    • B60K2360/20Optical features of instruments
    • B60K2360/33Illumination features
    • B60K2360/349Adjustment of brightness
    • BPERFORMING OPERATIONS; TRANSPORTING
    • B60VEHICLES IN GENERAL
    • B60KARRANGEMENT OR MOUNTING OF PROPULSION UNITS OR OF TRANSMISSIONS IN VEHICLES; ARRANGEMENT OR MOUNTING OF PLURAL DIVERSE PRIME-MOVERS IN VEHICLES; AUXILIARY DRIVES FOR VEHICLES; INSTRUMENTATION OR DASHBOARDS FOR VEHICLES; ARRANGEMENTS IN CONNECTION WITH COOLING, AIR INTAKE, GAS EXHAUST OR FUEL SUPPLY OF PROPULSION UNITS IN VEHICLES
    • B60K35/00Instruments specially adapted for vehicles; Arrangement of instruments in or on vehicles
    • B60K35/10Input arrangements, i.e. from user to vehicle, associated with vehicle functions or specially adapted therefor
    • BPERFORMING OPERATIONS; TRANSPORTING
    • B60VEHICLES IN GENERAL
    • B60KARRANGEMENT OR MOUNTING OF PROPULSION UNITS OR OF TRANSMISSIONS IN VEHICLES; ARRANGEMENT OR MOUNTING OF PLURAL DIVERSE PRIME-MOVERS IN VEHICLES; AUXILIARY DRIVES FOR VEHICLES; INSTRUMENTATION OR DASHBOARDS FOR VEHICLES; ARRANGEMENTS IN CONNECTION WITH COOLING, AIR INTAKE, GAS EXHAUST OR FUEL SUPPLY OF PROPULSION UNITS IN VEHICLES
    • B60K35/00Instruments specially adapted for vehicles; Arrangement of instruments in or on vehicles
    • B60K35/20Output arrangements, i.e. from vehicle to user, associated with vehicle functions or specially adapted therefor
    • B60K35/21Output arrangements, i.e. from vehicle to user, associated with vehicle functions or specially adapted therefor using visual output, e.g. blinking lights or matrix displays
    • B60K35/23Head-up displays [HUD]
    • B60K35/231Head-up displays [HUD] characterised by their arrangement or structure for integration into vehicles
    • BPERFORMING OPERATIONS; TRANSPORTING
    • B60VEHICLES IN GENERAL
    • B60KARRANGEMENT OR MOUNTING OF PROPULSION UNITS OR OF TRANSMISSIONS IN VEHICLES; ARRANGEMENT OR MOUNTING OF PLURAL DIVERSE PRIME-MOVERS IN VEHICLES; AUXILIARY DRIVES FOR VEHICLES; INSTRUMENTATION OR DASHBOARDS FOR VEHICLES; ARRANGEMENTS IN CONNECTION WITH COOLING, AIR INTAKE, GAS EXHAUST OR FUEL SUPPLY OF PROPULSION UNITS IN VEHICLES
    • B60K35/00Instruments specially adapted for vehicles; Arrangement of instruments in or on vehicles
    • B60K35/20Output arrangements, i.e. from vehicle to user, associated with vehicle functions or specially adapted therefor
    • B60K35/28Output arrangements, i.e. from vehicle to user, associated with vehicle functions or specially adapted therefor characterised by the type of the output information, e.g. video entertainment or vehicle dynamics information; characterised by the purpose of the output information, e.g. for attracting the attention of the driver
    • BPERFORMING OPERATIONS; TRANSPORTING
    • B60VEHICLES IN GENERAL
    • B60KARRANGEMENT OR MOUNTING OF PROPULSION UNITS OR OF TRANSMISSIONS IN VEHICLES; ARRANGEMENT OR MOUNTING OF PLURAL DIVERSE PRIME-MOVERS IN VEHICLES; AUXILIARY DRIVES FOR VEHICLES; INSTRUMENTATION OR DASHBOARDS FOR VEHICLES; ARRANGEMENTS IN CONNECTION WITH COOLING, AIR INTAKE, GAS EXHAUST OR FUEL SUPPLY OF PROPULSION UNITS IN VEHICLES
    • B60K35/00Instruments specially adapted for vehicles; Arrangement of instruments in or on vehicles
    • B60K35/80Arrangements for controlling instruments
    • B60K35/81Arrangements for controlling instruments for controlling displays
    • BPERFORMING OPERATIONS; TRANSPORTING
    • B60VEHICLES IN GENERAL
    • B60KARRANGEMENT OR MOUNTING OF PROPULSION UNITS OR OF TRANSMISSIONS IN VEHICLES; ARRANGEMENT OR MOUNTING OF PLURAL DIVERSE PRIME-MOVERS IN VEHICLES; AUXILIARY DRIVES FOR VEHICLES; INSTRUMENTATION OR DASHBOARDS FOR VEHICLES; ARRANGEMENTS IN CONNECTION WITH COOLING, AIR INTAKE, GAS EXHAUST OR FUEL SUPPLY OF PROPULSION UNITS IN VEHICLES
    • B60K35/00Instruments specially adapted for vehicles; Arrangement of instruments in or on vehicles
    • B60K35/90Calibration of instruments, e.g. setting initial or reference parameters; Testing of instruments, e.g. detecting malfunction

Definitions

  • the present disclosure relates to a vehicle display control device and a vehicle driving assist system including the vehicle display control device.
  • a head-up display (hereinafter referred to as “HUD”) that projects a display image onto a projection member that transmits the foreground in the host vehicle and displays the display image in a virtual image so as to be visually recognized by a user is conventionally known. ing.
  • HUD head-up display
  • Such a HUD is widely used, for example, in a vehicle driving assist system that assists the user in driving the host vehicle.
  • Patent Document 1 discloses a vehicle display control technique for changing the brightness of a display image based on tunnel information before passing through a tunnel entrance.
  • the tunnel information position information and shape information regarding the entrance / exit of the tunnel are employed.
  • tunnel information is only map data stored in a navigation device or a server device that can communicate with the host vehicle, and therefore does not reflect the inside / outside situation of the tunnel in a timely and accurate manner. A situation is assumed.
  • a display image displayed as a virtual image based on timely and inaccurate tunnel information is referred to as visual readability (hereinafter referred to as “visual readability”) with respect to the foreground as a display background in the host vehicle. ) May be reduced.
  • An object of the present disclosure is to provide a vehicle display control device and a vehicle driving assist system that ensure visual legibility of a display image displayed as a virtual image with respect to a foreground inside and outside a tunnel that is a background of display in the host vehicle.
  • the virtual image display is performed on the host vehicle equipped with the head-up display that projects the display image onto the projection member that transmits the foreground and displays the display image so that the user can visually recognize the display image.
  • a vehicle display control device is provided.
  • the vehicle display control device transmits the information inside the tunnel that is transmitted from outside of the host vehicle by wireless communication to represent the internal state of the tunnel at the information acquisition unit that acquires the information at the entrance adjustment timing before the entrance of the tunnel.
  • An adjustment unit that adjusts the brightness of the display image in accordance with the tunnel internal information acquired by the acquisition unit.
  • the brightness of the display image is adjusted in accordance with the tunnel internal information acquired by the information acquisition unit at the entrance adjustment timing before the entrance of the tunnel.
  • the tunnel internal information representing the internal situation of the tunnel is transmitted and acquired by wireless communication from the outside of the own vehicle, the internal situation immediately before the entry of the own vehicle to the tunnel entrance is obtained in a timely and accurate manner. Can be reflected. Therefore, according to the timely and accurate adjustment according to the inside information of the tunnel, the display image of the brightness that can ensure visual legibility with respect to the foreground that is the background of the display in the own vehicle is entered into the tunnel entrance. Accordingly, a virtual image can be displayed.
  • a vehicle display control device for controlling display transmits information from the outside of the host vehicle by wireless communication and represents the tunnel external information representing the tunnel external information at the information acquisition unit for acquiring the information and the exit adjustment timing before the tunnel exit.
  • An adjustment unit that adjusts the brightness of the display image in accordance with the tunnel external information acquired by the acquisition unit.
  • the brightness of the display image is adjusted in accordance with the tunnel external information acquired by the information acquisition unit at the exit adjustment timing before the tunnel exit.
  • the tunnel external information representing the external situation of the tunnel is transmitted and acquired by wireless communication from the outside of the own vehicle, the external situation immediately before the exit of the own vehicle at the tunnel exit can be obtained in a timely and accurate manner. Can be reflected. Therefore, according to the timely and accurate adjustment according to the outside information of the tunnel, a display image having a brightness that can ensure visual legibility with respect to the foreground as a display background in the host vehicle is displayed at the tunnel exit. A virtual image can be displayed in response to the exit.
  • a vehicle display control device for controlling display is provided.
  • the vehicle display control apparatus acquires information on an information acquisition unit that acquires information on the inside and outside of the tunnel that is transmitted from the outside of the host vehicle by wireless communication and represents the inside and outside of the tunnel, and information that is provided to the user by a display image.
  • a restriction unit for restricting inside the tunnel to tunnel inside information representing the inside state of the tunnel among the inside and outside information acquired by the unit is provided.
  • the information provided by the display image is limited to the tunnel internal information out of the tunnel internal / external information acquired by the information acquisition unit.
  • the tunnel internal information representing the internal situation of the tunnel is acquired and transmitted by wireless communication from the outside of the host vehicle as tunnel internal / external information representing the tunnel internal / external situation
  • the internal situation when the host vehicle is traveling Can be reflected in a timely and accurate manner. Therefore, according to restrictions on timely and accurate information types, when traveling inside a tunnel, the provided information is narrowed down to the amount of information that can ensure visual legibility for the foreground that is the background of display in the vehicle.
  • the display image representing the provided information can be displayed as a virtual image.
  • a vehicle driving assist system that assists driving of the host vehicle.
  • the vehicle driving assist system includes the vehicle display control device according to any one of the first to third disclosures and a HUD.
  • a display image displayed as a virtual image with respect to the foreground inside and outside the tunnel which is the background of display in the host vehicle by the vehicle display control device of any of the first to third disclosures described above. It is possible to ensure the visual legibility of.
  • FIG. 1 is an interior view showing an interior of a host vehicle equipped with a vehicle driving assist system according to an embodiment.
  • FIG. 2 is a block diagram illustrating a vehicle driving assist system according to an embodiment.
  • FIG. 3 is a structural diagram schematically showing the detailed configuration of the HUD of FIGS.
  • FIG. 4 is a front view showing a virtual image display state by the HUD of FIGS.
  • FIG. 5 is a front view showing a virtual image display state by the HUD of FIGS.
  • FIG. 6 is a front view showing a virtual image display state by the HUD of FIGS.
  • FIG. 1 is an interior view showing an interior of a host vehicle equipped with a vehicle driving assist system according to an embodiment.
  • FIG. 2 is a block diagram illustrating a vehicle driving assist system according to an embodiment.
  • FIG. 3 is a structural diagram schematically showing the detailed configuration of the HUD of FIGS.
  • FIG. 4 is a front view showing a virtual image display state by the HUD of FIGS.
  • FIG. 7 is a front view showing a virtual image display state by the HUD of FIGS.
  • FIG. 8 is a flowchart showing a display control flow by the HCU of FIG.
  • FIG. 9 is a schematic diagram for explaining the processing contents in S101 and S107 of FIG.
  • FIG. 10 is a flowchart showing a modification of FIG.
  • FIG. 11 is a flowchart showing a modification of FIG.
  • FIG. 12 is a flowchart showing a modification of FIG.
  • FIG. 13 is a flowchart showing a modification of FIG.
  • FIG. 14 is a flowchart showing a modification of FIG.
  • FIG. 15 is a flowchart showing a modification of FIG.
  • FIG. 16 is a flowchart showing a modification of FIG.
  • FIG. 17 is a flowchart showing a modification of FIG.
  • FIG. 18 is a front view showing a modification of FIG.
  • a vehicle driving assist system 1 according to an embodiment to which the present disclosure is applied is mounted on the host vehicle 2 as shown in FIGS. 1 and 2, and can particularly assist driving of the host vehicle 2 when passing through the tunnel 7. ing.
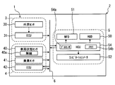
  • the vehicle driving assist system 1 includes a periphery monitoring system 3, a vehicle control system 4, and a display system 5.
  • the periphery monitoring system 3, the vehicle control system 4, and the display system 5 are connected to each other via an in-vehicle network 6 such as a LAN (Local Area Network).
  • LAN Local Area Network
  • the periphery monitoring system 3 includes an external sensor 30 and a periphery monitoring ECU (Electronic Control Unit) 31.
  • the external sensor 30 detects obstacles that exist in the external environment of the host vehicle 2 and may collide, such as other vehicles, artificial structures, humans, and animals, and traffic-related objects that exist in the external environment. .
  • the external sensor 30 is, for example, one type or plural types of sonar, radar, LIDAR (Light (Detection (and Ranging / Laser Imaging Detection and Ranging), a camera, and the like.
  • the sonar is an ultrasonic sensor installed in, for example, the front part or the rear part of the host vehicle 2.
  • the sonar detects the obstacle in the detection area by outputting the reflected wave of the ultrasonic wave transmitted to the detection area in the external environment of the host vehicle 2, and outputs a detection signal.
  • the radar is a millimeter wave sensor or a laser sensor installed in the front part or the rear part of the host vehicle 2.
  • the radar receives the millimeter wave or quasi-millimeter reflected wave transmitted to the detection area in the external environment of the host vehicle 2, thereby detecting an obstacle in the detection area and outputting a detection signal.
  • the LIDAR is a laser scanner installed on the roof of the host vehicle 2, for example.
  • the LIDAR receives the reflected wave of the laser transmitted to the detection area in the external world of the host vehicle 2, thereby detecting an obstacle in the detection area and outputting a detection signal.
  • the camera is a monocular or compound eye camera installed on, for example, a room mirror or a door mirror of the host vehicle 2. The camera captures an image of a detection area in the external environment of the host vehicle 2 to detect an obstacle and a traffic-related object in the detection area and outputs an image signal.
  • the periphery monitoring ECU 31 is mainly configured by a microcomputer having a processor and a memory, and is connected to the external sensor 30 and the in-vehicle network 6.
  • the surroundings monitoring ECU 31 outputs the obstacle information such as the type of obstacle (here, if the obstacle is another vehicle, including the vehicle type) and the relative position of the obstacle with respect to the host vehicle 2 from the output of the external sensor 30. Acquire based on the signal.
  • the periphery monitoring ECU 31 acquires sign information such as speed limit signs and lane signs, travel road information such as white lines and road surface conditions, and tunnel information related to the tunnel 7 based on the output signal of the external sensor 30.
  • the vehicle control system 4 includes a vehicle state sensor 40, an occupant sensor 41, and a vehicle control ECU 42.
  • the vehicle state sensor 40 is connected to the in-vehicle network 6.
  • the vehicle state sensor 40 detects the traveling state of the host vehicle 2.
  • the vehicle state sensor 40 is, for example, at least the wireless communication device 40a in the present embodiment among the wireless communication device 40a, the vehicle speed sensor, the rotation speed sensor, the rudder angle sensor, the fuel sensor, the water temperature sensor, and the GPS (Global Positioning System) receiver.
  • GPS Global Positioning System
  • the wireless communication device 40a is wireless from one or more types of communication devices outside the host vehicle 2, such as other vehicle transmitters or portable terminals for vehicle-to-vehicle communication, and roadside devices for road-to-vehicle communication.
  • the wireless communication device 40a includes the tunnel internal information Ii representing the internal status of the tunnel 7 as the tunnel internal / external information I (for example, see FIG. 8) representing the internal / external status of the tunnel 7 through which the host vehicle 2 passes.
  • the tunnel external information Io representing the external information of the tunnel 7 is generated.
  • As the tunnel internal information Ii at least illuminance information, traffic information, travel route information, and tunnel information are generated.
  • at least illuminance information, traffic information, travel route information, and weather information are generated as the tunnel external information Io.
  • the illuminance information is physical information representing the external illuminance of the vehicle 2.
  • the traffic information includes, for example, obstacle information such as information on the distance between the other vehicle that is an obstacle and the host vehicle 2, traffic information in front of the host vehicle 2, broken vehicle information, accident vehicle information, and fallen object information.
  • obstacle information such as information on the distance between the other vehicle that is an obstacle and the host vehicle 2, traffic information in front of the host vehicle 2, broken vehicle information, accident vehicle information, and fallen object information.
  • the tunnel information includes, for example, at least the reach distance information among the reach distance information to the entrance 7a and the exit 7b (see, for example, FIGS. 1, 4 to 7 and 9) of the tunnel 7 and the structure information of the entrance 7a and the exit 7b.
  • the road information is, for example, one or more types including at least road surface information in the present embodiment among road surface information representing road surface conditions such as a frozen state and shape information representing road shapes such as slopes and curves.
  • the weather information includes, for example, weather information representing weather conditions such as sunny weather, rainy weather, cloudy weather, and snowfall, ambient light information representing ambient light conditions such as solar radiation direction, and temperature information representing the outside temperature of the vehicle 2
  • weather information representing weather conditions such as sunny weather, rainy weather, cloudy weather, and snowfall
  • ambient light information representing ambient light conditions such as solar radiation direction
  • temperature information representing the outside temperature of the vehicle 2
  • the vehicle speed sensor outputs a vehicle speed signal corresponding to the detection by detecting the vehicle speed of the host vehicle 2.
  • the rotation speed sensor detects the engine rotation speed of the internal combustion engine in the host vehicle 2 and outputs a rotation speed signal corresponding to the detection.
  • the steering angle sensor detects the steering angle of the host vehicle 2 and outputs a steering angle signal corresponding to the detection.
  • the fuel sensor detects the remaining amount of fuel in the fuel tank of the host vehicle 2 and outputs a fuel signal corresponding to the detection.
  • the water temperature sensor detects the cooling water temperature of the internal combustion engine in the host vehicle 2 and outputs a water temperature signal corresponding to the detection.
  • the GPS receiver acquires position information related to the traveling position of the host vehicle 2 by receiving radio waves transmitted from GPS satellites.
  • the passenger sensor 41 is connected to the in-vehicle network 6.
  • the occupant sensor 41 detects the state or operation of a user who has boarded the passenger compartment 2a of the host vehicle 2 shown in FIG.
  • the occupant sensor 41 is, for example, one type or a plurality of types including at least a power switch among a power switch, a user status monitor, a display setting switch, a turn switch, an automatic control switch, and the like.
  • the power switch is operated by the user in the passenger compartment 2a to start the internal combustion engine or the motor generator of the host vehicle 2, and outputs a power signal corresponding to the operation.
  • the user state monitor captures the user state on the driver's seat 20 in the passenger compartment 2a with an image sensor, thereby detecting the user state and outputting an image signal.
  • the display setting switch is operated by the user to set the display state in the passenger compartment 2a, and outputs a display setting signal corresponding to the operation.
  • the turn switch is operated by the user in the passenger compartment 2a to operate the direction indicator of the host vehicle 2, and outputs a turn signal corresponding to the operation.
  • the automatic control switch outputs an automatic control signal corresponding to the operation when operated by the user in the passenger compartment 2a in order to instruct automatic control with respect to the traveling state of the host vehicle 2.
  • the vehicle control ECU 42 shown in FIG. 2 is mainly composed of a microcomputer having a processor and a memory, and is connected to the in-vehicle network 6.
  • the vehicle control ECU 42 is one type or a plurality of types among an engine control ECU, a motor control ECU, a brake control ECU, a steering control ECU, an integrated control ECU, and the like.
  • the engine control ECU controls the operation of the throttle actuator and the fuel injection valve of the internal combustion engine according to the operation of the accelerator pedal 26 in the passenger compartment 2a shown in FIG. Accelerate and decelerate.
  • the motor control ECU accelerates or decelerates the vehicle speed of the host vehicle 2 by controlling the operation of the motor generator according to the operation of the accelerator pedal 26 in the passenger compartment 2a or automatically.
  • the brake control ECU accelerates or decelerates the vehicle speed of the host vehicle 2 by controlling the operation of the brake actuator according to the operation of the brake pedal 27 in the passenger compartment 2a or automatically.
  • the steering control ECU adjusts the steering angle of the host vehicle 2 by controlling the operation of the electric power steering according to the operation of the steering handle 24 in the passenger compartment 2a or automatically.
  • the integrated control ECU synchronously controls the operations of the other ECUs based on, for example, the output signals of the sensors 40 and 41, the acquisition information of the periphery monitoring ECU 31, and the control information of the ECUs other than itself among the vehicle control ECUs 42.
  • the display system 5 is mounted on the host vehicle 2 for visually presenting information.
  • the display system 5 includes an HUD 50, an MFD (Multi Function Display) 51, a combination meter 52, and an HCU (Human Machine Interface Control Unit) 54.
  • the HUD 50 is installed on the instrument panel 22 in the passenger compartment 2a shown in FIGS.
  • the HUD 50 forms a display image 56 representing predetermined information by, for example, a liquid crystal type or scanning type projector 50a.
  • the HUD 50 projects the display image 56 formed in this way onto the front windshield 21 as a “projection member” in the host vehicle 2 through an optical system 50 b such as a concave mirror.
  • the front windshield 21 is formed of translucent glass, and transmits the foreground 8 existing in front of the host vehicle 2 outside the passenger compartment 2a.
  • the light flux of the display image 56 reflected by the front windshield 21 and the light flux from the foreground 8 transmitted through the shield 21 are perceived by the user on the driver seat 20.
  • the virtual image of the display image 56 formed at a position ahead of the front windshield 21 is displayed superimposed on a part of the foreground 8 as shown in FIG. Is visible.
  • two types of areas A1 and A2 are set in the display area as a range where the virtual image of the display image 56 is displayed.
  • the first display area A1 is set in order to superimpose the display image 56 of the virtual image display in association with the specific object in the foreground 8.
  • the first display area A1 for the purpose of such association is adjusted by the HUD 50 so that the display image 56 is formed at a far position, for example, about 15 m away from the host vehicle 2 in the foreground 8 forward.
  • the second display area A2 is set in order to remove the association with the specific object in the foreground 8 and display the display image 56 in a virtual image.
  • the second display area A2 for the purpose of such disassociation is formed from the first display area A1 by the HUD 50 so that the display image 56 is imaged in the foreground 8 forward from the vehicle 2 at a short distance position of about 2 m, for example. Is also adjusted downward and to a small size. That is, in the second display area A2, the display image 56 imaged at a position closer to the host vehicle 2 than in the case of the first display area A1 is displayed as a virtual image.
  • the projector 50a and the optical system 50b constituting the HUD 50 may be provided for each of the display areas A1 and A2, respectively. You may provide in common in area
  • the first display area A1 as long as at least one type of display image 56 is associated with the specific object in the foreground 8, such disassociated display image 56 may be displayed as a virtual image.
  • the second display area A2 as long as at least one type of display image 56 is disassociated from the specific object in the foreground 8, the display image 56 that realizes such association is displayed as a virtual image. May be.
  • the display image 56 that the HUD 50 displays as a virtual image in one of the display areas A1 and A2 a plurality of types of images as shown in FIGS. 4 to 7 are prepared in order to assist the user in driving the host vehicle 2.
  • the plurality of types of display images 56 include at least an inter-vehicle distance image 560, an exit distance image 561, a road surface image 562, a weather image 563, a temperature image 564, a navigation image 565, a vehicle speed image 566, and a rotation speed image 567. It is.
  • the inter-vehicle distance image 560 is displayed in a virtual image in association with another vehicle as a front obstacle in the first display area A1.
  • the inter-vehicle distance image 560 represents inter-vehicle distance information with the nearest other vehicle that travels ahead of the host vehicle 2 in the obstacle information as traffic information.
  • the inter-vehicle distance image 560 in the standard display state indicates numbers and characters indicating the value and unit of the inter-vehicle distance, characters indicating the meaning of the numbers, and the nearest other vehicle that is the target of the numbers. The figure is made up of.
  • the display amount of the inter-vehicle distance image 560 in the simple display state is reduced by omitting the characters indicating the contents.
  • the exit distance image 561 is displayed as a virtual image in association with the exit 7b of the tunnel 7 in the first display area A1.
  • the exit distance image 561 represents the reach distance information to the nearest exit 7b to which the host vehicle 2 heads among the tunnel information.
  • the exit distance image 561 in the standard display state indicates the numbers and characters indicating the value and unit of the reach distance, the characters indicating the meaning of the numbers, and the exit 7b that is the target of the numbers. It consists of figures.
  • the exit distance image 561 in the simple display state is reduced in display amount by omitting characters indicating the contents.
  • the road surface image 562 is displayed as a virtual image in association with the traveling road ahead of the host vehicle 2 in the first display area A1.
  • the road surface image 562 represents road surface information related to the forward traveling road of the host vehicle 2 in the traveling road information.
  • a standard display state as shown in FIG. 4 and a simple display state in which the display amount is limited as compared with the standard display state as shown in FIG. 7 are set.
  • the road surface image 562 in the standard display state is composed of a figure schematically showing the road surface state and characters showing the contents meant by the figure.
  • the display amount of the road image 562 in the simple display state is reduced by omitting the characters indicating the contents.
  • the weather image 563 is displayed as a virtual image in the first display area A1 in association with the sky area above the vehicle 2 in front.
  • the weather image 563 represents weather information regarding the traveling environment of the host vehicle 2 among the weather information.
  • a standard display state as shown in FIG. 4 and a simple display state in which the display amount is limited as compared with the standard display state as shown in FIG. 7 are set.
  • the weather image 563 in the standard display state is composed of a figure that schematically shows the weather state and characters that indicate the contents that the figure means.
  • the display amount of the weather image 563 in the simple display state is reduced by omitting the characters indicating the contents.
  • the temperature image 564 is displayed as a virtual image in the first display area A1 in association with the sky area above the front of the host vehicle 2.
  • the temperature image 564 represents temperature information regarding the traveling environment of the host vehicle 2 among the weather information.
  • a standard display state as shown in FIG. 4 and a simple display state in which the display amount is limited as compared with the standard display state as shown in FIG. 7 are set.
  • the temperature image 564 in the standard display state is composed of numbers and letters indicating the value and unit of the outside air temperature, and letters indicating the contents that the numbers mean.
  • the display amount of the temperature image 564 in the simple display state is reduced by omitting characters indicating the contents.
  • the navigation image 565 is displayed as a virtual image in association with the traveling road ahead of the host vehicle 2 in the first display area A1.
  • the navigation image 565 represents navigation information for guiding a travel route toward the host vehicle 2.
  • the navigation image 565 is composed of at least a figure showing the planned travel route of the host vehicle 2 in the navigation information.
  • the navigation information can be acquired based on the map information stored in the memory 54b and the output signal of the vehicle state sensor 40 in the HCU 54 described in detail later.
  • the vehicle speed image 566 is displayed as a virtual image at a certain location not associated with the specific object in the second display area A2.
  • the vehicle speed image 566 represents vehicle speed information based on an output signal from the vehicle speed sensor in the vehicle state sensor 40.
  • the vehicle speed image 566 is composed of numbers and characters indicating the value and unit of the vehicle speed, respectively.
  • the rotational speed image 567 is displayed as a virtual image along with the vehicle speed image 566 at a fixed location that is not associated with the specific object in the second display area A2.
  • the rotational speed image 567 represents engine rotational speed information based on an output signal from the rotational speed sensor of the vehicle state sensor 40.
  • the engine speed image 567 is composed of numerals and characters indicating the engine speed value and unit, respectively.
  • the display image 56 in addition to the above images 560, 561, 562, 563, 564, 565, 566, 567, for example, music information or video information provided in the passenger compartment 2a of the host vehicle 2 or the like.
  • An image or the like related to may be adopted.
  • a translucent combiner that is arranged on the instrument panel 22 and transmits the foreground 8 in cooperation with the front windshield 21, a virtual image display can be realized by projecting the display image 56 on the combiner. Is possible.
  • the MFD 51 is installed in the center console 23 in the passenger compartment 2a shown in FIG.
  • the MFD 51 displays a real image of an image formed so as to show predetermined information on one or a plurality of liquid crystal panels so that it can be visually recognized by a user on the driver's seat 20.
  • As the real image display by the MFD 51 display of an image indicating one type or a plurality of types of information among navigation information, music information, video information, and the like is employed.
  • the combination meter 52 is installed on the instrument panel 22 in the passenger compartment 2a.
  • the combination meter 52 displays vehicle information related to the host vehicle 2 so that the user on the driver's seat 20 can visually recognize the vehicle information.
  • the combination meter 52 is a digital meter that displays vehicle information by an image formed on a liquid crystal panel, or an analog meter that displays vehicle information by indicating a scale with a pointer.
  • a display indicating one type or a plurality of types of information among information such as a vehicle speed, an engine speed, a remaining fuel amount, a coolant temperature, a turn switch, and an automatic control switch is adopted. .
  • the HCU 54 is mainly composed of a microcomputer having a processor 54a and a memory 54b, and is connected to the display elements 50, 51, 52 of the display system 5 and the in-vehicle network 6.
  • the HCU 54 synchronously controls the operation of the display elements 50, 51, 52.
  • the HCU 54 performs operation control thereof based on, for example, acquisition information or output signals of the ECU 31 and sensors 40 and 41, control information of the ECU 42, storage information of the memory 54b, acquisition information of the HCU 54 itself, and the like.
  • the memory 54b of the HCU 54 and the memories of other various ECUs are respectively configured by using one or a plurality of storage media such as a semiconductor memory, a magnetic medium, or an optical medium.
  • the HCU 54 of the present embodiment functions as a “vehicle display control device” so as to read the display image 56 stored as data in the memory 54 b and display the virtual image on the HUD 50.
  • the HCU 54 functionally realizes each step of the display control flow shown in FIG. 8 by executing a display control program by the processor 54a.
  • the display control flow starts in response to an ON operation of a power switch as the occupant sensor 41 and ends in response to an OFF operation of the switch.
  • “S” in the display control flow means each step.
  • each of the memories of the built-in ECU of the display elements 50, 51, 52 or each of those memories and the memory 54 b of the HCU 54 May be realized by sharing a plurality of memories.
  • the timing at which the execution of S ⁇ b> 101 is started is the first timing T ⁇ b> 1 when the traveling position of the host vehicle 2 is before the entrance 7 a of the tunnel 7.
  • the first timing T1 is adjusted to the timing when the traveling position of the host vehicle 2 arrives from the entrance 7a to the front by a set distance L1 as shown in FIG.
  • the set distance L1 for determining the first timing T1 is based on at least one type or a plurality of types of vehicle speed information, traffic information, tunnel information, travel route information, weather information, and the like of the host vehicle 2, for example. It is variably set to ensure safety.
  • the host vehicle 2 when the host vehicle 2 is traveling on a general road having a prescribed legal maximum speed, the host vehicle 2 is traveling on an expressway having a speed of 100 m or higher than the ordinary road.
  • the set distance L1 is set to 200 m or the like.
  • the process proceeds to S102 to execute normal control of virtual image display in each of the display areas A1 and A2, and then returns to S101.
  • the normal control as shown in FIG. 4, as the display image 56, an inter-vehicle distance image 560, an exit distance image 561, a road surface image 562, a weather image 563, a temperature image 564, and a navigation image 565 are displayed in the first display area A1.
  • a virtual image is displayed.
  • the inter-vehicle distance image 560 and the road surface image 562 are displayed in bright red
  • the weather image 563 and the temperature image 564 are displayed in bright yellow
  • the navigation image 565 is displayed in bright blue.
  • a vehicle speed image 566 and a rotation speed image 567 are displayed as virtual images in the second display area A2 as the display image 56 as shown in FIG.
  • the vehicle speed image 566 and the rotation speed image 567 are displayed in white.
  • each image 560, 561, 562, 563, 564, 565, 566, 567 can be adjusted by, for example, the RGB gradation value in the projector 50a, the light emission luminance value of the light source in the projector 50a, or the like. It is.
  • the virtual image display starts when the host vehicle 2 exceeds the travel position separated from the entrance 7a of the tunnel 7 by a predetermined distance longer than the set distance L1 outside the tunnel 7. ing.
  • the process proceeds to S103, whereby the pieces of information Ii and Io that are the tunnel inside / outside information I are acquired from the outside through the wireless communication device 40a.
  • the tunnel internal information Ii At this time, at least illuminance information, traffic information, travel route information, and tunnel information regarding the internal state of the forward tunnel 7 are acquired as the tunnel internal information Ii.
  • at least illuminance information, traffic information, travel route information, and weather information relating to the external situation before the front tunnel 7 is acquired as the tunnel external information Io.
  • the provision information provided to the user inside the tunnel 7 is limited to the tunnel internal information Ii among the tunnel internal / external information I acquired in S103.
  • the display range and display color are limited.
  • the information provided to the user includes the inter-vehicle distance information and the reaching distance information represented by the inter-vehicle distance image 560 and the exit distance image 561 in the first display area A1 as the tunnel internal information Ii necessary for driving the host vehicle 2, respectively. Limited. Therefore, the information represented by the road surface image 562, the weather image 563, the temperature image 564, and the navigation image 565 in the first display area A1, and the information represented by the vehicle speed image 566 and the rotation speed image 567 in the second display area A2. The information is not provided to the user.
  • the timing at which the execution of S104 is started can be assumed as the first timing T1 before the entrance 7a of the tunnel 7. Therefore, the provision information in the first display area A1 is substantially from the first timing T1 to the second timing T2, which will be described later, that is, from before the entrance 7a outside the tunnel 7 to before the exit 7b inside the tunnel 7. It is limited to the inter-vehicle distance information and the reach distance information.
  • the restriction process restricts the display range of the display image 56 to only the first display area A1, and the display color of the display image 56 is the display color of the inter-vehicle distance image 560 and the exit distance image 561 (for example, during normal control). This is also the process of limiting to red) of the same system.
  • the brightness of the display image 56 representing the tunnel internal information Ii restricted in S104 is adjusted according to the tunnel internal information Ii acquired in S103. Specifically, the inter-vehicle distance image 560 and the exit distance image 561 representing the inter-vehicle distance information and the reaching distance information as the limited tunnel internal information Ii are matched with the illuminance information inside the front tunnel 7 in the tunnel internal information Ii. The brightness is adjusted. At this time, in particular, the brightness of the inter-vehicle distance image 560 and the exit distance image 561 is adjusted to be darker than that in the normal control in S102 in accordance with the illuminance information inside the front tunnel 7. As a result, for example, in the present embodiment, the display color of the inter-vehicle distance image 560 and the exit distance image 561 is dark red.
  • the timing at which the execution of S105 is started can also be assumed as the first timing T1 before the entrance 7a of the tunnel 7. Therefore, an image to be displayed in the first display area A1 from the first timing T1 to the second timing T2, which will be described later, that is, from before the entrance 7a outside the tunnel 7 to before the exit 7b inside the tunnel 7.
  • the brightness of 560, 561 is adjusted according to the illuminance information. Therefore, in the present embodiment, the first timing T1 corresponds to “entrance adjustment timing”.
  • the brightness of the images 560 and 561 can be adjusted by, for example, RGB gradation values in the projector 50a, light emission luminance values of the light source in the projector 50a, and the like.
  • the display image 56 of the brightness limited to the information Ii in S104 and adjusted in S105 is displayed by the HUD 50 as a virtual image.
  • both the inter-vehicle distance image 560 and the exit distance image 561 whose brightness is suppressed in the first display area A1 as compared with the normal control in S102 are simply displayed as shown in FIGS.
  • a virtual image is displayed in the state. In other words, the display amount is limited.
  • the virtual image display of the road surface image 562, the weather image 563, the temperature image 564, and the navigation image 565 in the first display area A1 and the virtual image display of the vehicle speed image 566 and the rotation speed image 567 in the second display area A2, Disappear.
  • the timing at which the execution of S106 is started can also be assumed as the first timing T1 that is before the entrance 7a of the tunnel 7. Therefore, from the first timing T1 to the second timing T2 to be described later, that is, from before the entrance 7a outside the tunnel 7 to before the exit 7b inside the tunnel 7, the display image 56 is displayed in the first display area A1.
  • the display amount by is limited to the display amount by the images 560 and 561 in the simple display state. Therefore, FIG. 5 shows a display state from the first timing T ⁇ b> 1 to the timing when the host vehicle 2 enters the entrance 7 a of the tunnel 7 outside the tunnel 7.
  • FIG. 5 shows a display state from the first timing T ⁇ b> 1 to the timing when the host vehicle 2 enters the entrance 7 a of the tunnel 7 outside the tunnel 7.
  • the first timing T1 also corresponds to “entrance restriction timing”.
  • the process proceeds to S107, and the timing at which the execution of S107 is started is the second timing when the traveling position of the host vehicle 2 is before the exit 7b of the tunnel 7. It is determined whether or not T2.
  • the second timing T2 is adjusted to a timing at which the traveling position of the host vehicle 2 arrives from the exit 7b to the front by a set distance L2, as shown in FIG.
  • the set distance L2 for determining the second timing T2 is variably set similarly to the set distance L1. Therefore, for example, when the host vehicle 2 is traveling on a general road having a prescribed legal maximum speed, the host vehicle 2 is traveling on an expressway having a speed of 100 m or higher than the ordinary road. In this case, the set distance L2 is set to 200 m or the like.
  • the provided information provided to the user before the exit 7b of the tunnel 7 is limited to the tunnel external information Io in the tunnel internal / external information I acquired in S108.
  • the display range and display color are limited.
  • the information provided to the user includes road surface information and weather information represented as a road surface image 562, a weather image 563, and a temperature image 564 in the first display area A1, as tunnel external information Io necessary for driving the host vehicle 2. And temperature information. Therefore, the information represented by the inter-vehicle distance image 560, the exit distance image 561, and the navigation image 565 in the first display area A1, and the information represented by the vehicle speed image 566 and the rotation speed image 567 in the second display area A2 are transmitted to the user. Is not provided.
  • the timing at which the execution of S109 is started can be assumed as the second timing T2 before the exit 7b of the tunnel 7. Therefore, the provision information in the first display area A1 is the road surface information from the second timing T2 until the third timing T3 described later, that is, from before the exit 7b in the tunnel 7 to the exit at the exit 7b. It is limited to weather information and temperature information. Further, the restriction process restricts the display range of the display image 56 to only the first display area A1, and the display color of the display image 56 is the same as the display color of road surface information, weather information, and temperature information (for example, the same as in normal control). It is also a process limited to the system yellow).
  • the brightness of the display image 56 representing the tunnel external information Io restricted in S109 is adjusted according to the tunnel external information Io acquired in S108.
  • road surface information 562, weather image 563, and temperature image 564 representing road surface information, weather information, and temperature information as restricted tunnel external information Io are illuminance outside the front exit 7b of the tunnel external information Io.
  • the brightness is adjusted according to the information and weather information.
  • the brightness of the road surface image 562, the weather image 563, and the temperature image 564 is adjusted to be brighter than that at the time of adjustment in S105 according to the illuminance information and weather information outside the front exit 7b.
  • the display color of the road surface image 562, the weather image 563, and the temperature image 564 is dark yellow.
  • the timing at which the execution of S110 is started can also be assumed as the second timing T2 before the exit 7b of the tunnel 7. Therefore, the image 562 displayed in the first display area A1 from the second timing T2 until the third timing T3 described later, that is, from before the exit 7b in the tunnel 7 to the exit at the exit 7b.
  • the brightness of 563 and 564 is adjusted according to the illuminance information and the weather information. Therefore, in the present embodiment, the second timing T2 corresponds to “exit adjustment timing”.
  • the brightness of the images 562, 563, and 564 can be adjusted by, for example, RGB gradation values in the projector 50a, light emission luminance values of the light sources in the projector 50a, and the like.
  • the display image 56 having the brightness limited to the information Io in S109 and adjusted in S110 is displayed as a virtual image by the HUD 50.
  • the road surface image 562, the weather image 563, and the temperature image 564, which are brighter than those during the adjustment in S105 in the first display area A1 are all in a simple display state as shown in FIG. Is displayed as a virtual image. In other words, the display amount is limited.
  • the virtual image display of the inter-vehicle distance image 560, the exit distance image 561, and the navigation image 565 in the first display area A1, and the virtual image display of the vehicle speed image 566 and the rotation speed image 567 in the second display area A2 disappear. .
  • the timing at which the execution of S111 is started can also be assumed as the second timing T2 before the exit 7b of the tunnel 7. Therefore, from the second timing T2 until a later-described third timing T3, that is, from before the exit 7b in the tunnel 7 to the exit at the exit 7b, display by the display image 56 in the first display area A1.
  • the amount is limited to the display amount by the images 562, 563, and 564 in the simple display state.
  • the second timing T2 also corresponds to “exit restriction timing”.
  • the timing at which the execution of S112 is started by shifting to S112 after the completion of the execution of S111 is the third timing T3 when the host vehicle 2 exits the exit 7b of the tunnel 7. It is determined whether or not. As a result, when a negative determination is made, the process returns to S111, whereas when an affirmative determination is made, the process returns to S101.
  • the functional part that executes S103 and S108 corresponds to an “information acquisition unit”
  • the functional part that executes S105 and S110 corresponds to an “adjustment unit”
  • S104 The functional part that executes 106, S109, and S111 corresponds to a “restriction unit”.
  • the brightness of the display image 56 is adjusted in accordance with the tunnel internal information Ii acquired by the HCU 54 at the first timing T1 before the entrance 7a of the tunnel 7.
  • the tunnel internal information Ii representing the internal state of the tunnel 7 is transmitted and acquired from outside the host vehicle 2 by wireless communication, the internal state immediately before the host vehicle 2 enters the entrance 7a It can be reflected in a timely and accurate manner. Therefore, according to the timely and accurate adjustment in accordance with the tunnel internal information Ii, the display image 56 having a brightness capable of ensuring visual legibility with respect to the foreground 8 serving as a display background in the host vehicle 2 is displayed at the entrance 7a. A virtual image can be displayed in response to the approach to the vehicle.
  • the brightness of the display image 56 is adjusted according to the illuminance information inside the tunnel 7 among the tunnel internal information Ii acquired by the HCU 54.
  • the illuminance information is transmitted and acquired by wireless communication from the outside of the host vehicle 2 as the tunnel internal information Ii representing the internal state of the tunnel 7, the external illuminance inside the tunnel 7 immediately before entering the entrance 7a is obtained. , Timely and accurately reflected. Therefore, according to the adjustment according to timely and accurate illuminance information, a display image 56 having a brightness that can ensure visual legibility with respect to the external illuminance inside the tunnel 7 is converted into a virtual image according to the approach to the entrance 7a. It can be displayed.
  • the first display area A1 that associates the display image 56 with the specific object in the foreground 8 and the first display area A2 that has been removed from the association are displayed on the first display area A1.
  • the brightness of the display image 56 in the area A1 is adjusted. According to this, since the brightness of the display image 56 that is easy for the user to gaze can be adjusted preferentially by associating with the specific object, the visual legibility for the foreground 8 is ensured according to the approach to the entrance 7a. It becomes possible.
  • the brightness of the display image 56 is adjusted in accordance with the tunnel external information Io acquired by the HCU 54 at the second timing T2 before the exit 7b of the tunnel 7.
  • the tunnel external information Io representing the external situation of the tunnel 7 is transmitted and acquired by wireless communication from the outside of the own vehicle 2, the external situation immediately before the exit of the own vehicle 2 at the exit 7b is obtained. It can be reflected in a timely and accurate manner. Therefore, according to the timely and accurate adjustment in accordance with the tunnel external information Io, the display image 56 having a brightness that can ensure visual legibility with respect to the foreground 8 serving as a display background in the host vehicle 2 is displayed on the exit 7b. It is possible to display a virtual image in response to the exit at.
  • the brightness of the display image 56 is adjusted in accordance with the illuminance information outside the tunnel 7 out of the tunnel external information Io acquired by the HCU 54.
  • the illuminance information is transmitted and acquired by wireless communication from the outside of the vehicle 2 as the tunnel external information Io representing the external situation of the tunnel 7, the external illuminance outside the tunnel 7 immediately before exiting at the exit 7b is obtained. , Timely and accurately reflected. Therefore, according to the timely and accurate adjustment in accordance with the illuminance information, the display image 56 having a brightness that can ensure visual legibility with respect to the external illuminance outside the tunnel 7 is changed to a virtual image according to the exit at the exit 7b. It can be displayed.
  • the brightness of the display image 56 is adjusted in accordance with weather information outside the tunnel 7 out of the tunnel external information Io acquired by the HCU 54.
  • the weather information is transmitted and acquired by wireless communication from the outside of the vehicle 2 as the tunnel external information Io representing the external situation of the tunnel 7, the weather condition outside the tunnel 7 immediately before exiting at the exit 7b is obtained.
  • Timely and accurately reflected Therefore, according to such adjustment in accordance with timely and accurate weather information, a display image 56 having a brightness that can ensure visual legibility with respect to weather conditions outside the tunnel 7 can be used to exit at the exit 7b. Accordingly, a virtual image can be displayed.
  • the first display area A1 for associating the display image 56 with the specific object in the foreground 8 and the second display area A2 for which the association has been removed also at the second timing T2 of the present embodiment.
  • the brightness of the display image 56 in the display area A1 is adjusted. According to this, the brightness of the display image 56 that is easy for the user to gaze can be preferentially adjusted by associating with the specific object, so that the visual legibility for the foreground 8 is ensured according to the exit at the exit 7b. It becomes possible.
  • the information provided by the display image 56 is limited to the tunnel internal information Ii among the tunnel internal / external information I acquired by the HCU 54.
  • the tunnel internal information Ii representing the internal state of the tunnel 7 is transmitted and acquired by wireless communication from the outside of the own vehicle 2 as the tunnel internal / external information I representing the inside / outside state of the tunnel 7, the own vehicle 2
  • the internal situation at the time of traveling can be reflected in a timely and accurate manner. Therefore, according to the limitation to the timely and accurate information type, when traveling inside the tunnel 7, the information provided in an amount of information that can ensure visual legibility with respect to the foreground 8 that is the display background in the host vehicle 2.
  • the display image 56 representing the provided information can be displayed as a virtual image.
  • the information provided by the display image 56 is limited to the tunnel internal information Ii necessary for driving the host vehicle 2 out of the tunnel internal / external information I acquired by the HCU 54.
  • the tunnel internal information Ii can be provided within the tunnel 7 where it is difficult for the user to accept the side effect, by narrowing down the amount of information necessary for driving the host vehicle 2. Therefore, it is possible to ensure the legibility of the display image 56 with respect to the foreground 8 while giving the user a sense of security when traveling inside the tunnel 7.
  • the restriction to the tunnel internal information Ii is started from the first timing T1 before the entrance 7a of the tunnel 7.
  • the information provided by the display image 56 can be reliably limited to the tunnel internal information Ii from the time when the host vehicle 2 enters the entrance 7a inside the tunnel 7, so that the legibility of the foreground 8 can be ensured. It becomes.
  • the display image 56 is limited to the tunnel internal information Ii, but also the display color of the display image 56 representing the tunnel internal information Ii is limited. According to these information restrictions and display color restrictions, it is possible to reliably ensure the visual legibility required for the foreground 8 that is required when the user travels inside the tunnel 7 where it is difficult for a user to look aside.
  • the provided information by the display image 56 is not limited to the tunnel internal information Ii, but the display range of the display image 56 representing the tunnel internal information Ii is also limited. According to these information restrictions and display range restrictions, it is possible to reliably ensure the visual legibility required for the foreground 8 that is required when traveling inside the tunnel 7 where it is difficult for the user to look aside.
  • the information provided by the display image 56 is not limited to the tunnel internal information Ii, but the display amount of the display image 56 representing the tunnel internal information Ii is also limited. . According to these information restrictions and display quantity restrictions, it is possible to reliably ensure the visual legibility required for the foreground 8 that is required when traveling inside the tunnel 7 where it is difficult for the user to look aside.
  • the first display among the first display area A1 that associates the display image with the specific object in the foreground 8 and the second display area A2 that has been removed from the association.
  • the provided information in the area A1 is limited to the tunnel internal information Ii. According to this, it is possible to preferentially reduce the amount of information provided by the display image 56 that is easy for the user to gaze by associating with the specific object. It can be secured.
  • the information provided by the display image 56 is replaced with the tunnel internal information Ii of the tunnel internal / external information I acquired by the HCU 54.
  • the tunnel external information Io representing the external situation of the tunnel 7 is acquired and transmitted by wireless communication from the outside of the host vehicle 2 as the tunnel internal / external information I representing the internal / external situation of the tunnel 7.
  • the external situation immediately before leaving can be reflected in a timely and accurate manner.
  • the provided information is narrowed down to the amount of information that can ensure visual legibility for the foreground 8 that is the background of display in the own vehicle 2, and the provided information is reduced.
  • the displayed display image 56 can be displayed as a virtual image in accordance with the exit at the exit 7b.
  • the information provided by the display image 56 is limited to the tunnel external information Io necessary for driving the host vehicle 2 out of the tunnel internal / external information I acquired by the HCU 56.
  • the tunnel external information Io can be provided by narrowing down the amount of information necessary for driving the host vehicle 2 immediately before exiting at the exit 7b where it is difficult for the user to accept a side look. Therefore, it is possible to ensure the visual legibility of the display image 56 with respect to the foreground 8 while giving the user a sense of security in accordance with the exit at the exit 7b.
  • the display color, display range, and display amount of the display image 56 representing the tunnel external information Io are limited in accordance with the processing inside the tunnel 7 described above. Become. Therefore, it is possible to reliably ensure the visual legibility required for the foreground 8 in accordance with the exit at the exit 7b where it is difficult for the user to accept a side look.
  • the provided information in the display area A1 is limited to the tunnel external information Io. According to this, it is possible to preferentially reduce the amount of information provided by the display image 56 that is easy for the user to gaze by associating with the specific object, so that the visual legibility for the foreground 8 can be reduced according to the exit at the exit 7b. Can be secured.
  • the visual legibility of the display image 56 displayed as a virtual image with respect to the foreground 8 inside and outside the tunnel 7 serving as a display background is improved. It is possible to ensure.
  • the brightness of each image 560, 561, 562, 563, 564, 565, 566, 567 is set to S105 by sequentially shifting from S103 to S113, S114. Except for the adjustment according to the above, virtual image display similar to the normal control in S102 may be executed.
  • S115 following S114 it is determined whether or not the timing at which the execution of S115 is started is the fourth timing T4 when the host vehicle 2 enters the entrance 7a of the tunnel 7. As a result, when a negative determination is made, the process returns to S114, whereas when an affirmative determination is made, the process proceeds to S104.
  • the timing at which the execution of S118 is started by executing S119 instead of S101 is the fourth timing when the host vehicle 2 enters the entrance 7a of the tunnel 7. You may determine whether it is T4. As a result, if a negative determination is made, the process proceeds to S102, whereas if an affirmative determination is made, the process proceeds to S103.
  • each image 560, 561, 562, 563, 564, 565, 566, 567 is set according to S110 by sequentially shifting from S108 to S120, S121. Except for the adjustment, virtual image display similar to the normal control in S102 may be executed.
  • S122 following S121 it is determined whether or not the timing at which execution of S122 is started is the third timing T3 when the host vehicle 2 exits the exit 7b of the tunnel 7. As a result, when a negative determination is made, the process returns to S121, whereas when an affirmative determination is made, the process returns to S101.
  • the timing at which the execution of S 126 is started is the third timing at which the host vehicle 2 exits the exit 7 b of the tunnel 7. You may determine whether it is T3. As a result, when a negative determination is made, the process returns to S106, whereas when an affirmative determination is made, the process proceeds to S101.
  • any one of the modification examples 1 to 3 and any one of the modification examples 4 to 6 may be combined.
  • FIG. 16 shows Modification 7 in which Modification 1 and Modification 4 are combined
  • FIG. 17 shows Modification 7 in which Modification 2 and Modification 5 are combined.
  • the characters indicating the unit in the standard display state are used. It may be omitted.
  • the brightness adjustment in S105 is performed in addition to or in place of the illuminance information, for example, according to traveling road information (specifically road surface state), external light information (specifically solar radiation direction), or the like. May be executed.
  • the brightness adjustment in S110 is performed in addition to or in place of at least one of the illuminance information and the weather information, for example, traveling road information (specifically, road surface state) and external light information (specifically, (Solar radiation direction) etc. may be performed.
  • information restricted in S104 of the modification 11 As provided information restricted in S104 of the modification 11, as long as it becomes the tunnel internal information Ii necessary for driving the host vehicle 2, traffic information other than the inter-vehicle distance information and the reach distance information may be adopted. Good. Provided information limited in S109 of the modified example 12 is as long as the tunnel external information Io necessary for driving the host vehicle 2, for example, inter-vehicle distance information or traffic jam information other than road surface information, weather information, and temperature information, etc. May be adopted.
  • the display image 56 representing the provided provision information is displayed as a virtual image in S106 or S111.
  • At least the latter of the display color and display range of the display image 56 is limited by adopting all the provision information in the display areas A1 and A2 during normal control without being limited in S104. You don't have to.
  • As a modified example 16 by restricting at least the latter among the display color and display range of the display image 56 by adopting all the provision information in the display areas A1 and A2 at the time of normal control without being limited in S109. You don't have to.
  • the display image 56 representing the provided provision information is displayed as a virtual image in S106 or S111.
  • the display amount of the display image 56 may not be limited by adopting the standard display state instead of the simple display state in S106.
  • the display amount of the display image 56 may not be limited by adopting the standard display state instead of the simple display state in S111.
  • At least one type of provision information in the second display area A2 at the time of normal control is adopted without restriction in S104, and the provision information in the second display area A2 in S105.
  • the brightness may be adjusted similarly to the provision information in the first display area A1.
  • at least one type of provision information in the second display area A2 at the time of normal control is adopted without restriction in S109, and the provision information in the second display area A2 in S110.
  • the brightness may be adjusted similarly to the provision information in the first display area A1.
  • the display image 56 representing the provided provision information is displayed as a virtual image in S106 or S111.
  • the virtual image display of the display image 56 in the second display area A2 may not be adopted.
  • the display image 56 whose information is limited and brightness is adjusted by the display control flow may be displayed as a virtual image in the second display area A2 instead of the first display area A1.
  • the virtual image display of the display image 56 in the first display area A1 may not be employed in the modified example 22.
  • At least a part of the steps of the display control flow may be realized in hardware by one or a plurality of ICs instead of functionally realized by the HCU 54.
  • one type or a plurality of types of the peripheral monitoring ECU 31 and the display control ECUs of the display elements 50, 51 and 52 may function as a “vehicle display control device”. Good.
  • each step is expressed as S101, for example. Further, each step can be divided into a plurality of sub-steps, while a plurality of steps can be combined into one step.
  • the embodiment, configuration, and aspect of the vehicle driving assist system configured to include the vehicle display control device and the vehicle display control device according to one aspect of the present disclosure have been exemplified, but the embodiment, configuration according to the present disclosure
  • the embodiments are not limited to the above-described embodiments, configurations, and aspects.
  • embodiments, configurations, and aspects obtained by appropriately combining technical sections disclosed in different embodiments, configurations, and aspects are also included in the scope of the embodiments, configurations, and aspects according to the present disclosure.

Landscapes

  • Engineering & Computer Science (AREA)
  • Mechanical Engineering (AREA)
  • Transportation (AREA)
  • Combustion & Propulsion (AREA)
  • Chemical & Material Sciences (AREA)
  • General Physics & Mathematics (AREA)
  • Multimedia (AREA)
  • Theoretical Computer Science (AREA)
  • Physics & Mathematics (AREA)
  • Signal Processing (AREA)
  • Computer Hardware Design (AREA)
  • Instrument Panels (AREA)
  • Transforming Electric Information Into Light Information (AREA)
  • Testing, Inspecting, Measuring Of Stereoscopic Televisions And Televisions (AREA)
PCT/JP2017/022095 2016-08-11 2017-06-15 車両用表示制御装置及び車両運転アシストシステム Ceased WO2018029980A1 (ja)

Priority Applications (2)

Application Number Priority Date Filing Date Title
EP17839055.5A EP3499876A4 (en) 2016-08-11 2017-06-15 VEHICLE DISPLAY CONTROL DEVICE AND VEHICLE ASSISTANCE SYSTEM
US16/269,645 US20190168610A1 (en) 2016-08-11 2019-02-07 Vehicular display control apparatus and vehicle driving assistance system

Applications Claiming Priority (2)

Application Number Priority Date Filing Date Title
JP2016-158319 2016-08-11
JP2016158319A JP6705335B2 (ja) 2016-08-11 2016-08-11 車両用表示制御装置及び車両運転アシストシステム

Related Child Applications (1)

Application Number Title Priority Date Filing Date
US16/269,645 Continuation US20190168610A1 (en) 2016-08-11 2019-02-07 Vehicular display control apparatus and vehicle driving assistance system

Publications (1)

Publication Number Publication Date
WO2018029980A1 true WO2018029980A1 (ja) 2018-02-15

Family

ID=61162107

Family Applications (1)

Application Number Title Priority Date Filing Date
PCT/JP2017/022095 Ceased WO2018029980A1 (ja) 2016-08-11 2017-06-15 車両用表示制御装置及び車両運転アシストシステム

Country Status (4)

Country Link
US (1) US20190168610A1 (enExample)
EP (1) EP3499876A4 (enExample)
JP (1) JP6705335B2 (enExample)
WO (1) WO2018029980A1 (enExample)

Cited By (1)

* Cited by examiner, † Cited by third party
Publication number Priority date Publication date Assignee Title
WO2024127923A1 (ja) * 2022-12-16 2024-06-20 株式会社デンソー 虚像表示装置

Families Citing this family (10)

* Cited by examiner, † Cited by third party
Publication number Priority date Publication date Assignee Title
WO2017064797A1 (ja) * 2015-10-15 2017-04-20 日立マクセル株式会社 情報表示装置
JP6737242B2 (ja) * 2017-06-20 2020-08-05 株式会社Jvcケンウッド 輝度制御装置、ヘッドアップディスプレイ装置、輝度制御方法およびプログラム
US10748426B2 (en) * 2017-10-18 2020-08-18 Toyota Research Institute, Inc. Systems and methods for detection and presentation of occluded objects
FR3077885B1 (fr) * 2018-02-15 2020-08-28 Delphi Tech Llc Systeme et methode de detection de tunnel pour vehicule automobile
JP7125893B2 (ja) * 2018-11-26 2022-08-25 本田技研工業株式会社 走行制御装置、制御方法およびプログラム
US11505181B2 (en) * 2019-01-04 2022-11-22 Toyota Motor Engineering & Manufacturing North America, Inc. System, method, and computer-readable storage medium for vehicle collision avoidance on the highway
JP7767738B2 (ja) * 2021-06-01 2025-11-12 マツダ株式会社 ヘッドアップディスプレイ装置
CN116343698A (zh) * 2021-12-23 2023-06-27 华为技术有限公司 一种显示方法、装置及系统
CN116901844A (zh) * 2023-08-17 2023-10-20 重庆赛力斯新能源汽车设计院有限公司 一种隧道界限处理方法、装置、电子设备及存储介质
CN119150027B (zh) * 2024-11-11 2025-03-14 云南云岭高速公路交通科技有限公司 一种隧道亮度控制动态优化方法、系统、终端及介质

Citations (7)

* Cited by examiner, † Cited by third party
Publication number Priority date Publication date Assignee Title
JP2003123186A (ja) * 2001-10-16 2003-04-25 Toshiba Corp 路車間通信を利用した配光制御システム
JP2004182006A (ja) * 2002-11-29 2004-07-02 Denso Corp 車両の走行安全装置、プログラム
JP2004230934A (ja) * 2003-01-28 2004-08-19 Matsushita Electric Ind Co Ltd ヘッドライト制御システム
WO2013088511A1 (ja) * 2011-12-13 2013-06-20 パイオニア株式会社 表示装置、表示方法、ヘッドアップディスプレイ及び検出装置
JP2015003544A (ja) * 2013-06-19 2015-01-08 三菱電機株式会社 車載用表示装置
JP2015127170A (ja) * 2013-12-27 2015-07-09 パイオニア株式会社 ヘッドアップディスプレイ、制御方法、プログラム、及び記憶媒体
JP2015178297A (ja) * 2014-03-19 2015-10-08 アイシン・エィ・ダブリュ株式会社 ヘッドアップディスプレイ装置

Family Cites Families (3)

* Cited by examiner, † Cited by third party
Publication number Priority date Publication date Assignee Title
JPH10100739A (ja) * 1996-09-27 1998-04-21 Fujitsu Ten Ltd ヘッドアップディスプレイ装置
JPH10250472A (ja) * 1997-03-11 1998-09-22 Toyota Motor Corp 車両用表示装置
JP4496964B2 (ja) * 2005-01-14 2010-07-07 株式会社デンソー 車両用トンネル検出装置および車両用ライト制御装置

Patent Citations (7)

* Cited by examiner, † Cited by third party
Publication number Priority date Publication date Assignee Title
JP2003123186A (ja) * 2001-10-16 2003-04-25 Toshiba Corp 路車間通信を利用した配光制御システム
JP2004182006A (ja) * 2002-11-29 2004-07-02 Denso Corp 車両の走行安全装置、プログラム
JP2004230934A (ja) * 2003-01-28 2004-08-19 Matsushita Electric Ind Co Ltd ヘッドライト制御システム
WO2013088511A1 (ja) * 2011-12-13 2013-06-20 パイオニア株式会社 表示装置、表示方法、ヘッドアップディスプレイ及び検出装置
JP2015003544A (ja) * 2013-06-19 2015-01-08 三菱電機株式会社 車載用表示装置
JP2015127170A (ja) * 2013-12-27 2015-07-09 パイオニア株式会社 ヘッドアップディスプレイ、制御方法、プログラム、及び記憶媒体
JP2015178297A (ja) * 2014-03-19 2015-10-08 アイシン・エィ・ダブリュ株式会社 ヘッドアップディスプレイ装置

Non-Patent Citations (1)

* Cited by examiner, † Cited by third party
Title
See also references of EP3499876A4 *

Cited By (1)

* Cited by examiner, † Cited by third party
Publication number Priority date Publication date Assignee Title
WO2024127923A1 (ja) * 2022-12-16 2024-06-20 株式会社デンソー 虚像表示装置

Also Published As

Publication number Publication date
JP2018024363A (ja) 2018-02-15
EP3499876A1 (en) 2019-06-19
EP3499876A4 (en) 2019-09-25
JP6705335B2 (ja) 2020-06-03
US20190168610A1 (en) 2019-06-06

Similar Documents

Publication Publication Date Title
JP6705335B2 (ja) 車両用表示制御装置及び車両運転アシストシステム
US10663315B2 (en) Vehicle display control device and vehicle display control method
JP7056569B2 (ja) 車両制御装置、車両制御方法、移動体、および車両制御システム
US11710429B2 (en) Display control device and non-transitory computer readable storage medium for display control by head-up display
US11897499B2 (en) Autonomous driving vehicle information presentation device
WO2018139139A1 (ja) 車両用表示装置
CN111667687B (zh) 显示装置、显示控制方法、及存储介质
JP6969509B2 (ja) 車両用表示制御装置、車両用表示制御方法、及び制御プログラム
US20230001947A1 (en) Information processing apparatus, vehicle, and information processing method
JP2018200626A (ja) 車両用表示制御装置及び表示制御プログラム
WO2020189238A1 (ja) 車両用表示制御装置、車両用表示制御方法、車両用表示制御プログラム
JP7255429B2 (ja) 表示制御装置および表示制御プログラム
JP2024169579A (ja) 車両用表示制御装置、方法、プログラムおよび車両用表示システム
JP7024619B2 (ja) 移動体用表示制御装置、移動体用表示制御方法、及び制御プログラム
JP6589775B2 (ja) 車両用表示制御装置及び車両用表示システム
JP2017040773A (ja) 頭部装着型表示装置
CN111216631B (zh) 行驶控制装置、控制方法以及存储程序的存储介质
JP2023123208A (ja) 車両用表示制御装置、表示制御方法、表示制御プログラム
US20250333080A1 (en) Vehicle control device and vehicle control method
JP7255443B2 (ja) 表示制御装置及び表示制御プログラム
WO2025192300A1 (ja) 表示制御装置、表示制御方法
WO2021075402A1 (ja) 表示制御装置

Legal Events

Date Code Title Description
121 Ep: the epo has been informed by wipo that ep was designated in this application

Ref document number: 17839055

Country of ref document: EP

Kind code of ref document: A1

NENP Non-entry into the national phase

Ref country code: DE

ENP Entry into the national phase

Ref document number: 2017839055

Country of ref document: EP

Effective date: 20190311