WO2018025700A1 - 光硬化性樹脂組成物、画像表示装置、及び画像表示装置の製造方法 - Google Patents

光硬化性樹脂組成物、画像表示装置、及び画像表示装置の製造方法 Download PDF

Info

Publication number
WO2018025700A1
WO2018025700A1 PCT/JP2017/026795 JP2017026795W WO2018025700A1 WO 2018025700 A1 WO2018025700 A1 WO 2018025700A1 JP 2017026795 W JP2017026795 W JP 2017026795W WO 2018025700 A1 WO2018025700 A1 WO 2018025700A1
Authority
WO
WIPO (PCT)
Prior art keywords
image display
resin composition
photocurable resin
meth
display device
Prior art date
Legal status (The legal status is an assumption and is not a legal conclusion. Google has not performed a legal analysis and makes no representation as to the accuracy of the status listed.)
Ceased
Application number
PCT/JP2017/026795
Other languages
English (en)
French (fr)
Japanese (ja)
Inventor
中村 司
Current Assignee (The listed assignees may be inaccurate. Google has not performed a legal analysis and makes no representation or warranty as to the accuracy of the list.)
Dexerials Corp
Original Assignee
Dexerials Corp
Priority date (The priority date is an assumption and is not a legal conclusion. Google has not performed a legal analysis and makes no representation as to the accuracy of the date listed.)
Filing date
Publication date
Application filed by Dexerials Corp filed Critical Dexerials Corp
Priority to DE112017003845.6T priority Critical patent/DE112017003845B4/de
Priority to CN201780043915.2A priority patent/CN109563217B/zh
Priority to CN202310488137.5A priority patent/CN116554416A/zh
Priority to US16/314,970 priority patent/US12521972B2/en
Priority to KR1020207032418A priority patent/KR102259181B1/ko
Priority to KR1020187035921A priority patent/KR102179246B1/ko
Priority to KR1020217015793A priority patent/KR102467401B1/ko
Publication of WO2018025700A1 publication Critical patent/WO2018025700A1/ja
Anticipated expiration legal-status Critical
Ceased legal-status Critical Current

Links

Images

Classifications

    • CCHEMISTRY; METALLURGY
    • C08ORGANIC MACROMOLECULAR COMPOUNDS; THEIR PREPARATION OR CHEMICAL WORKING-UP; COMPOSITIONS BASED THEREON
    • C08FMACROMOLECULAR COMPOUNDS OBTAINED BY REACTIONS ONLY INVOLVING CARBON-TO-CARBON UNSATURATED BONDS
    • C08F220/00Copolymers of compounds having one or more unsaturated aliphatic radicals, each having only one carbon-to-carbon double bond, and only one being terminated by only one carboxyl radical or a salt, anhydride ester, amide, imide or nitrile thereof
    • C08F220/02Monocarboxylic acids having less than ten carbon atoms; Derivatives thereof
    • C08F220/10Esters
    • C08F220/20Esters of polyhydric alcohols or phenols, e.g. 2-hydroxyethyl (meth)acrylate or glycerol mono-(meth)acrylate
    • GPHYSICS
    • G02OPTICS
    • G02BOPTICAL ELEMENTS, SYSTEMS OR APPARATUS
    • G02B5/00Optical elements other than lenses
    • G02B5/30Polarising elements
    • G02B5/3025Polarisers, i.e. arrangements capable of producing a definite output polarisation state from an unpolarised input state
    • G02B5/3033Polarisers, i.e. arrangements capable of producing a definite output polarisation state from an unpolarised input state in the form of a thin sheet or foil, e.g. Polaroid
    • G02B5/3041Polarisers, i.e. arrangements capable of producing a definite output polarisation state from an unpolarised input state in the form of a thin sheet or foil, e.g. Polaroid comprising multiple thin layers, e.g. multilayer stacks
    • G02B5/305Polarisers, i.e. arrangements capable of producing a definite output polarisation state from an unpolarised input state in the form of a thin sheet or foil, e.g. Polaroid comprising multiple thin layers, e.g. multilayer stacks including organic materials, e.g. polymeric layers
    • CCHEMISTRY; METALLURGY
    • C08ORGANIC MACROMOLECULAR COMPOUNDS; THEIR PREPARATION OR CHEMICAL WORKING-UP; COMPOSITIONS BASED THEREON
    • C08FMACROMOLECULAR COMPOUNDS OBTAINED BY REACTIONS ONLY INVOLVING CARBON-TO-CARBON UNSATURATED BONDS
    • C08F265/00Macromolecular compounds obtained by polymerising monomers on to polymers of unsaturated monocarboxylic acids or derivatives thereof as defined in group C08F20/00
    • C08F265/04Macromolecular compounds obtained by polymerising monomers on to polymers of unsaturated monocarboxylic acids or derivatives thereof as defined in group C08F20/00 on to polymers of esters
    • C08F265/06Polymerisation of acrylate or methacrylate esters on to polymers thereof
    • BPERFORMING OPERATIONS; TRANSPORTING
    • B32LAYERED PRODUCTS
    • B32BLAYERED PRODUCTS, i.e. PRODUCTS BUILT-UP OF STRATA OF FLAT OR NON-FLAT, e.g. CELLULAR OR HONEYCOMB, FORM
    • B32B27/00Layered products comprising a layer of synthetic resin
    • B32B27/30Layered products comprising a layer of synthetic resin comprising vinyl (co)polymers; comprising acrylic (co)polymers
    • CCHEMISTRY; METALLURGY
    • C08ORGANIC MACROMOLECULAR COMPOUNDS; THEIR PREPARATION OR CHEMICAL WORKING-UP; COMPOSITIONS BASED THEREON
    • C08FMACROMOLECULAR COMPOUNDS OBTAINED BY REACTIONS ONLY INVOLVING CARBON-TO-CARBON UNSATURATED BONDS
    • C08F2/00Processes of polymerisation
    • C08F2/46Polymerisation initiated by wave energy or particle radiation
    • C08F2/48Polymerisation initiated by wave energy or particle radiation by ultraviolet or visible light
    • C08F2/50Polymerisation initiated by wave energy or particle radiation by ultraviolet or visible light with sensitising agents
    • CCHEMISTRY; METALLURGY
    • C08ORGANIC MACROMOLECULAR COMPOUNDS; THEIR PREPARATION OR CHEMICAL WORKING-UP; COMPOSITIONS BASED THEREON
    • C08FMACROMOLECULAR COMPOUNDS OBTAINED BY REACTIONS ONLY INVOLVING CARBON-TO-CARBON UNSATURATED BONDS
    • C08F220/00Copolymers of compounds having one or more unsaturated aliphatic radicals, each having only one carbon-to-carbon double bond, and only one being terminated by only one carboxyl radical or a salt, anhydride ester, amide, imide or nitrile thereof
    • C08F220/02Monocarboxylic acids having less than ten carbon atoms; Derivatives thereof
    • C08F220/10Esters
    • C08F220/12Esters of monohydric alcohols or phenols
    • C08F220/16Esters of monohydric alcohols or phenols of phenols or of alcohols containing two or more carbon atoms
    • C08F220/18Esters of monohydric alcohols or phenols of phenols or of alcohols containing two or more carbon atoms with acrylic or methacrylic acids
    • CCHEMISTRY; METALLURGY
    • C08ORGANIC MACROMOLECULAR COMPOUNDS; THEIR PREPARATION OR CHEMICAL WORKING-UP; COMPOSITIONS BASED THEREON
    • C08FMACROMOLECULAR COMPOUNDS OBTAINED BY REACTIONS ONLY INVOLVING CARBON-TO-CARBON UNSATURATED BONDS
    • C08F220/00Copolymers of compounds having one or more unsaturated aliphatic radicals, each having only one carbon-to-carbon double bond, and only one being terminated by only one carboxyl radical or a salt, anhydride ester, amide, imide or nitrile thereof
    • C08F220/02Monocarboxylic acids having less than ten carbon atoms; Derivatives thereof
    • C08F220/10Esters
    • C08F220/26Esters containing oxygen in addition to the carboxy oxygen
    • CCHEMISTRY; METALLURGY
    • C08ORGANIC MACROMOLECULAR COMPOUNDS; THEIR PREPARATION OR CHEMICAL WORKING-UP; COMPOSITIONS BASED THEREON
    • C08FMACROMOLECULAR COMPOUNDS OBTAINED BY REACTIONS ONLY INVOLVING CARBON-TO-CARBON UNSATURATED BONDS
    • C08F220/00Copolymers of compounds having one or more unsaturated aliphatic radicals, each having only one carbon-to-carbon double bond, and only one being terminated by only one carboxyl radical or a salt, anhydride ester, amide, imide or nitrile thereof
    • C08F220/02Monocarboxylic acids having less than ten carbon atoms; Derivatives thereof
    • C08F220/10Esters
    • C08F220/34Esters containing nitrogen, e.g. N,N-dimethylaminoethyl (meth)acrylate
    • C08F220/343Esters containing nitrogen, e.g. N,N-dimethylaminoethyl (meth)acrylate in the form of urethane links
    • CCHEMISTRY; METALLURGY
    • C08ORGANIC MACROMOLECULAR COMPOUNDS; THEIR PREPARATION OR CHEMICAL WORKING-UP; COMPOSITIONS BASED THEREON
    • C08FMACROMOLECULAR COMPOUNDS OBTAINED BY REACTIONS ONLY INVOLVING CARBON-TO-CARBON UNSATURATED BONDS
    • C08F220/00Copolymers of compounds having one or more unsaturated aliphatic radicals, each having only one carbon-to-carbon double bond, and only one being terminated by only one carboxyl radical or a salt, anhydride ester, amide, imide or nitrile thereof
    • C08F220/02Monocarboxylic acids having less than ten carbon atoms; Derivatives thereof
    • C08F220/10Esters
    • C08F220/34Esters containing nitrogen, e.g. N,N-dimethylaminoethyl (meth)acrylate
    • C08F220/36Esters containing nitrogen, e.g. N,N-dimethylaminoethyl (meth)acrylate containing oxygen in addition to the carboxy oxygen, e.g. 2-N-morpholinoethyl (meth)acrylate or 2-isocyanatoethyl (meth)acrylate
    • CCHEMISTRY; METALLURGY
    • C08ORGANIC MACROMOLECULAR COMPOUNDS; THEIR PREPARATION OR CHEMICAL WORKING-UP; COMPOSITIONS BASED THEREON
    • C08FMACROMOLECULAR COMPOUNDS OBTAINED BY REACTIONS ONLY INVOLVING CARBON-TO-CARBON UNSATURATED BONDS
    • C08F283/00Macromolecular compounds obtained by polymerising monomers on to polymers provided for in subclass C08G
    • C08F283/006Macromolecular compounds obtained by polymerising monomers on to polymers provided for in subclass C08G on to polymers provided for in C08G18/00
    • C08F283/008Macromolecular compounds obtained by polymerising monomers on to polymers provided for in subclass C08G on to polymers provided for in C08G18/00 on to unsaturated polymers
    • CCHEMISTRY; METALLURGY
    • C08ORGANIC MACROMOLECULAR COMPOUNDS; THEIR PREPARATION OR CHEMICAL WORKING-UP; COMPOSITIONS BASED THEREON
    • C08FMACROMOLECULAR COMPOUNDS OBTAINED BY REACTIONS ONLY INVOLVING CARBON-TO-CARBON UNSATURATED BONDS
    • C08F290/00Macromolecular compounds obtained by polymerising monomers on to polymers modified by introduction of aliphatic unsaturated end or side groups
    • C08F290/02Macromolecular compounds obtained by polymerising monomers on to polymers modified by introduction of aliphatic unsaturated end or side groups on to polymers modified by introduction of unsaturated end groups
    • C08F290/06Polymers provided for in subclass C08G
    • CCHEMISTRY; METALLURGY
    • C08ORGANIC MACROMOLECULAR COMPOUNDS; THEIR PREPARATION OR CHEMICAL WORKING-UP; COMPOSITIONS BASED THEREON
    • C08FMACROMOLECULAR COMPOUNDS OBTAINED BY REACTIONS ONLY INVOLVING CARBON-TO-CARBON UNSATURATED BONDS
    • C08F290/00Macromolecular compounds obtained by polymerising monomers on to polymers modified by introduction of aliphatic unsaturated end or side groups
    • C08F290/02Macromolecular compounds obtained by polymerising monomers on to polymers modified by introduction of aliphatic unsaturated end or side groups on to polymers modified by introduction of unsaturated end groups
    • C08F290/06Polymers provided for in subclass C08G
    • C08F290/067Polyurethanes; Polyureas
    • CCHEMISTRY; METALLURGY
    • C08ORGANIC MACROMOLECULAR COMPOUNDS; THEIR PREPARATION OR CHEMICAL WORKING-UP; COMPOSITIONS BASED THEREON
    • C08GMACROMOLECULAR COMPOUNDS OBTAINED OTHERWISE THAN BY REACTIONS ONLY INVOLVING UNSATURATED CARBON-TO-CARBON BONDS
    • C08G18/00Polymeric products of isocyanates or isothiocyanates
    • C08G18/06Polymeric products of isocyanates or isothiocyanates with compounds having active hydrogen
    • C08G18/28Polymeric products of isocyanates or isothiocyanates with compounds having active hydrogen characterised by the compounds used containing active hydrogen
    • C08G18/67Unsaturated compounds having active hydrogen
    • C08G18/671Unsaturated compounds having only one group containing active hydrogen
    • C08G18/672Esters of acrylic or alkyl acrylic acid having only one group containing active hydrogen
    • CCHEMISTRY; METALLURGY
    • C08ORGANIC MACROMOLECULAR COMPOUNDS; THEIR PREPARATION OR CHEMICAL WORKING-UP; COMPOSITIONS BASED THEREON
    • C08GMACROMOLECULAR COMPOUNDS OBTAINED OTHERWISE THAN BY REACTIONS ONLY INVOLVING UNSATURATED CARBON-TO-CARBON BONDS
    • C08G18/00Polymeric products of isocyanates or isothiocyanates
    • C08G18/06Polymeric products of isocyanates or isothiocyanates with compounds having active hydrogen
    • C08G18/70Polymeric products of isocyanates or isothiocyanates with compounds having active hydrogen characterised by the isocyanates or isothiocyanates used
    • C08G18/72Polyisocyanates or polyisothiocyanates
    • C08G18/74Polyisocyanates or polyisothiocyanates cyclic
    • C08G18/75Polyisocyanates or polyisothiocyanates cyclic cycloaliphatic
    • C08G18/751Polyisocyanates or polyisothiocyanates cyclic cycloaliphatic containing only one cycloaliphatic ring
    • C08G18/752Polyisocyanates or polyisothiocyanates cyclic cycloaliphatic containing only one cycloaliphatic ring containing at least one isocyanate or isothiocyanate group linked to the cycloaliphatic ring by means of an aliphatic group
    • C08G18/753Polyisocyanates or polyisothiocyanates cyclic cycloaliphatic containing only one cycloaliphatic ring containing at least one isocyanate or isothiocyanate group linked to the cycloaliphatic ring by means of an aliphatic group containing one isocyanate or isothiocyanate group linked to the cycloaliphatic ring by means of an aliphatic group having a primary carbon atom next to the isocyanate or isothiocyanate group
    • C08G18/755Polyisocyanates or polyisothiocyanates cyclic cycloaliphatic containing only one cycloaliphatic ring containing at least one isocyanate or isothiocyanate group linked to the cycloaliphatic ring by means of an aliphatic group containing one isocyanate or isothiocyanate group linked to the cycloaliphatic ring by means of an aliphatic group having a primary carbon atom next to the isocyanate or isothiocyanate group and at least one isocyanate or isothiocyanate group linked to a secondary carbon atom of the cycloaliphatic ring, e.g. isophorone diisocyanate
    • CCHEMISTRY; METALLURGY
    • C08ORGANIC MACROMOLECULAR COMPOUNDS; THEIR PREPARATION OR CHEMICAL WORKING-UP; COMPOSITIONS BASED THEREON
    • C08KUse of inorganic or non-macromolecular organic substances as compounding ingredients
    • C08K5/00Use of organic ingredients
    • C08K5/0008Organic ingredients according to more than one of the "one dot" groups of C08K5/01 - C08K5/59
    • C08K5/0016Plasticisers
    • CCHEMISTRY; METALLURGY
    • C08ORGANIC MACROMOLECULAR COMPOUNDS; THEIR PREPARATION OR CHEMICAL WORKING-UP; COMPOSITIONS BASED THEREON
    • C08KUse of inorganic or non-macromolecular organic substances as compounding ingredients
    • C08K5/00Use of organic ingredients
    • C08K5/04Oxygen-containing compounds
    • C08K5/05Alcohols; Metal alcoholates
    • C08K5/053Polyhydroxylic alcohols
    • CCHEMISTRY; METALLURGY
    • C09DYES; PAINTS; POLISHES; NATURAL RESINS; ADHESIVES; COMPOSITIONS NOT OTHERWISE PROVIDED FOR; APPLICATIONS OF MATERIALS NOT OTHERWISE PROVIDED FOR
    • C09JADHESIVES; NON-MECHANICAL ASPECTS OF ADHESIVE PROCESSES IN GENERAL; ADHESIVE PROCESSES NOT PROVIDED FOR ELSEWHERE; USE OF MATERIALS AS ADHESIVES
    • C09J4/00Adhesives based on organic non-macromolecular compounds having at least one polymerisable carbon-to-carbon unsaturated bond ; adhesives, based on monomers of macromolecular compounds of groups C09J183/00 - C09J183/16
    • C09J4/06Organic non-macromolecular compounds having at least one polymerisable carbon-to-carbon unsaturated bond in combination with a macromolecular compound other than an unsaturated polymer of groups C09J159/00 - C09J187/00
    • GPHYSICS
    • G02OPTICS
    • G02BOPTICAL ELEMENTS, SYSTEMS OR APPARATUS
    • G02B1/00Optical elements characterised by the material of which they are made; Optical coatings for optical elements
    • G02B1/04Optical elements characterised by the material of which they are made; Optical coatings for optical elements made of organic materials, e.g. plastics
    • GPHYSICS
    • G02OPTICS
    • G02BOPTICAL ELEMENTS, SYSTEMS OR APPARATUS
    • G02B5/00Optical elements other than lenses
    • G02B5/30Polarising elements
    • GPHYSICS
    • G02OPTICS
    • G02FOPTICAL DEVICES OR ARRANGEMENTS FOR THE CONTROL OF LIGHT BY MODIFICATION OF THE OPTICAL PROPERTIES OF THE MEDIA OF THE ELEMENTS INVOLVED THEREIN; NON-LINEAR OPTICS; FREQUENCY-CHANGING OF LIGHT; OPTICAL LOGIC ELEMENTS; OPTICAL ANALOGUE/DIGITAL CONVERTERS
    • G02F1/00Devices or arrangements for the control of the intensity, colour, phase, polarisation or direction of light arriving from an independent light source, e.g. switching, gating or modulating; Non-linear optics
    • G02F1/01Devices or arrangements for the control of the intensity, colour, phase, polarisation or direction of light arriving from an independent light source, e.g. switching, gating or modulating; Non-linear optics for the control of the intensity, phase, polarisation or colour 
    • G02F1/13Devices or arrangements for the control of the intensity, colour, phase, polarisation or direction of light arriving from an independent light source, e.g. switching, gating or modulating; Non-linear optics for the control of the intensity, phase, polarisation or colour  based on liquid crystals, e.g. single liquid crystal display cells
    • G02F1/133Constructional arrangements; Operation of liquid crystal cells; Circuit arrangements
    • G02F1/1333Constructional arrangements; Manufacturing methods
    • GPHYSICS
    • G02OPTICS
    • G02FOPTICAL DEVICES OR ARRANGEMENTS FOR THE CONTROL OF LIGHT BY MODIFICATION OF THE OPTICAL PROPERTIES OF THE MEDIA OF THE ELEMENTS INVOLVED THEREIN; NON-LINEAR OPTICS; FREQUENCY-CHANGING OF LIGHT; OPTICAL LOGIC ELEMENTS; OPTICAL ANALOGUE/DIGITAL CONVERTERS
    • G02F1/00Devices or arrangements for the control of the intensity, colour, phase, polarisation or direction of light arriving from an independent light source, e.g. switching, gating or modulating; Non-linear optics
    • G02F1/01Devices or arrangements for the control of the intensity, colour, phase, polarisation or direction of light arriving from an independent light source, e.g. switching, gating or modulating; Non-linear optics for the control of the intensity, phase, polarisation or colour 
    • G02F1/13Devices or arrangements for the control of the intensity, colour, phase, polarisation or direction of light arriving from an independent light source, e.g. switching, gating or modulating; Non-linear optics for the control of the intensity, phase, polarisation or colour  based on liquid crystals, e.g. single liquid crystal display cells
    • G02F1/133Constructional arrangements; Operation of liquid crystal cells; Circuit arrangements
    • G02F1/1333Constructional arrangements; Manufacturing methods
    • G02F1/1335Structural association of cells with optical devices, e.g. polarisers or reflectors
    • G02F1/133528Polarisers
    • GPHYSICS
    • G02OPTICS
    • G02FOPTICAL DEVICES OR ARRANGEMENTS FOR THE CONTROL OF LIGHT BY MODIFICATION OF THE OPTICAL PROPERTIES OF THE MEDIA OF THE ELEMENTS INVOLVED THEREIN; NON-LINEAR OPTICS; FREQUENCY-CHANGING OF LIGHT; OPTICAL LOGIC ELEMENTS; OPTICAL ANALOGUE/DIGITAL CONVERTERS
    • G02F1/00Devices or arrangements for the control of the intensity, colour, phase, polarisation or direction of light arriving from an independent light source, e.g. switching, gating or modulating; Non-linear optics
    • G02F1/35Non-linear optics
    • G02F1/3501Constructional details or arrangements of non-linear optical devices, e.g. shape of non-linear crystals
    • GPHYSICS
    • G09EDUCATION; CRYPTOGRAPHY; DISPLAY; ADVERTISING; SEALS
    • G09FDISPLAYING; ADVERTISING; SIGNS; LABELS OR NAME-PLATES; SEALS
    • G09F9/00Indicating arrangements for variable information in which the information is built-up on a support by selection or combination of individual elements
    • CCHEMISTRY; METALLURGY
    • C09DYES; PAINTS; POLISHES; NATURAL RESINS; ADHESIVES; COMPOSITIONS NOT OTHERWISE PROVIDED FOR; APPLICATIONS OF MATERIALS NOT OTHERWISE PROVIDED FOR
    • C09KMATERIALS FOR MISCELLANEOUS APPLICATIONS, NOT PROVIDED FOR ELSEWHERE
    • C09K2323/00Functional layers of liquid crystal optical display excluding electroactive liquid crystal layer characterised by chemical composition
    • C09K2323/05Bonding or intermediate layer characterised by chemical composition, e.g. sealant or spacer
    • C09K2323/057Ester polymer, e.g. polycarbonate, polyacrylate or polyester
    • GPHYSICS
    • G02OPTICS
    • G02FOPTICAL DEVICES OR ARRANGEMENTS FOR THE CONTROL OF LIGHT BY MODIFICATION OF THE OPTICAL PROPERTIES OF THE MEDIA OF THE ELEMENTS INVOLVED THEREIN; NON-LINEAR OPTICS; FREQUENCY-CHANGING OF LIGHT; OPTICAL LOGIC ELEMENTS; OPTICAL ANALOGUE/DIGITAL CONVERTERS
    • G02F1/00Devices or arrangements for the control of the intensity, colour, phase, polarisation or direction of light arriving from an independent light source, e.g. switching, gating or modulating; Non-linear optics
    • G02F1/35Non-linear optics
    • G02F1/3501Constructional details or arrangements of non-linear optical devices, e.g. shape of non-linear crystals
    • G02F1/3505Coatings; Housings; Supports

Definitions

  • the present technology relates to a photocurable resin composition, an image display device, and a method for manufacturing the image display device.
  • This application claims priority on the basis of Japanese Patent Application No. 2016-151290 filed on Aug. 1, 2016 in Japan. This application is incorporated herein by reference. Incorporated.
  • the image display device is manufactured, for example, by the following method (see, for example, Patent Document 1). First, a photocurable resin composition is disposed between an image display member and a light transmissive member to form a resin composition layer. And a cured resin layer is formed by irradiating light to a resin composition layer and making it harden
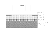
  • a conventional image display apparatus 100 includes an image display member 4, a cured resin layer 101, and a light transmissive member 5 in this order, for example, as shown in FIG. 1.
  • the polarizing plate 2 is usually formed on the viewing side surface of the image display cell 3.
  • a laminate in which a polarizer 8 is sandwiched between a protective layer 9 and a protective layer 10 is used.
  • the conventional image display device 100 may discolor the polarizing plate 2 under a high temperature environment.
  • the present technology has been proposed in view of such conventional circumstances, and is a photocurable resin composition, an image display device, and an image display device that can suppress discoloration of a polarizing plate in an image display device under a high-temperature environment.
  • a manufacturing method is provided.
  • the photocurable resin composition which concerns on this technique is a photocurable resin composition used for the cured resin layer in an image display apparatus provided with the image display member containing a polarizing plate, a cured resin layer, and a light transmissive member in this order.
  • the cured photocurable resin composition has a moisture permeability of 400 g / m 2 / day or more in an environment of 40 ° C. and a relative humidity of 90% when the thickness is 0.3 mm.
  • the image display device includes an image display member including a polarizing plate, a cured resin layer, and a light-transmitting member in this order, and the cured resin layer has a moisture permeability when the thickness is 0.3 mm. It is 400 g / m 2 / day or more in an environment of 40 ° C. and relative humidity 90%.
  • the method of manufacturing an image display device includes a step of applying the above-described photocurable resin composition to a surface of a light transmissive member including a polarizing plate or a surface of an image display member including a polarizing plate, and an image. It has the process of bonding a display member and a light transmissive member through a photocurable resin composition, and the process of hardening a photocurable resin composition.
  • discoloration of the polarizing plate in the image display device can be suppressed under a high temperature environment.
  • FIG. 1 is a cross-sectional view illustrating an example of an image display device.
  • FIG. 2 is a cross-sectional view illustrating an example of a polarizing plate used in the image display device.
  • FIG. 3 is a cross-sectional view showing an example of step (A) of the method for manufacturing the image display device.
  • FIG. 4 is a cross-sectional view illustrating an example of a step (B) of the method for manufacturing the image display device.
  • FIG. 5 is a cross-sectional view showing an example of step (C) of the method for manufacturing the image display device.
  • FIG. 6 is a cross-sectional view illustrating an example of a process (AA) of the method for manufacturing the image display device.
  • FIG. 7 is a cross-sectional view showing an example of a process (BB) of the method for manufacturing the image display device.
  • FIG. 8 is a cross-sectional view showing an example of a process (BB) of the method for manufacturing the image display device.
  • FIG. 9 is a cross-sectional view illustrating an example of a process (CC) of the method for manufacturing the image display device.
  • FIG. 10 is a cross-sectional view illustrating an example of a process (DD) of the method for manufacturing the image display device.
  • FIG. 11 is a cross-sectional view schematically showing a polarizing plate.
  • FIG. 12 is a cross-sectional view schematically showing a glass joined body.
  • FIG. 13 is a cross-sectional view schematically showing an image display device for testing.
  • FIG. 14 is a diagram for explaining a method of a moisture permeability test.
  • the photocurable resin composition according to the present embodiment has a moisture permeability of 400 g / m 2 / day or more in an environment of 40 ° C. and a relative humidity of 90% when the thickness after curing is 0.3 mm, Preferably it is 500 g / m 2 / day or more, more preferably 600 g / m 2 / day or more, and still more preferably 700 g / m 2 / day or more.
  • the upper limit of the water vapor transmission rate after hardening of a photocurable resin composition is not specifically limited, For example, it can be 1000 g / m ⁇ 2 > / day or less.
  • the moisture permeability refers to a moisture permeability measured in an atmosphere of 40 ° C. and a relative humidity of 90% in accordance with JISZ0208.
  • the cured product of the photocurable resin composition has, for example, an average reaction rate (curing rate) of 90% of the entire cured product obtained by photoradical polymerization of the photocurable resin composition by light irradiation in the air. That which is hardened so that it becomes the above (preferably 97% or more).
  • the reaction rate of the entire cured product of the photocurable resin composition means, for example, the reaction rate measured for a cured product formed into a film having a thickness of 0.3 mm.
  • the reaction rate is the ratio (consumption ratio) of the amount of (meth) acryloyl group after light irradiation to the amount of (meth) acryloyl group in the photocurable resin composition layer before light irradiation. It is a numerical value defined by. It shows that reaction is progressing more, so that the numerical value of reaction rate is large. Specifically, the reaction rate is determined by the absorption peak height (X) of 1640 to 1620 cm ⁇ 1 from the baseline in the FT-IR measurement chart of the photocurable resin composition layer before the light irradiation, and the light irradiation after the light irradiation.
  • FIG. 1 is a cross-sectional view showing an example of an image display device.
  • FIG. 2 is a cross-sectional view illustrating an example of a polarizing plate used in the image display device.
  • the moisture permeability of the cured resin layer 6 can be increased. it can. Accordingly, moisture generated from the polarizing plate 2 in a high temperature environment is easily discharged to the outside of the image display device 1 through the cured resin layer 6, and is generated from the polarizing plate 2 (for example, the protective layer 9 or the protective layer 10). It is thought that the water
  • a photocurable resin composition will not be specifically limited if it is a composition which satisfy
  • the photocurable resin composition preferably contains, for example, a (meth) acrylate resin, a monofunctional monomer, a photopolymerization initiator, a plasticizer, and an antioxidant.
  • (meth) acrylate includes both methacrylate and acrylate.
  • the (meth) acrylate resin is a photocurable resin (polymer) having two or more (meth) acryloyl groups in one molecule.
  • the (meth) acrylate resin preferably contains at least one of a polyether-based urethane (meth) acrylate resin and a polyester-based urethane (meth) acrylate resin from the viewpoint of compatibility.
  • the (meth) acrylate resin may be a polymer or an oligomer.
  • the polyether-based urethane (meth) acrylate resin is a urethane (meth) acrylate resin having a polyether skeleton in the main chain, and specific examples thereof include a urethane (meth) acrylate oligomer having a polyether skeleton.
  • Examples of commercially available products include Art Resin UN-6200, UN-6202, UN-6300, UN-6301 (above, manufactured by Negami Kogyo Co., Ltd.).
  • the polyester-based urethane (meth) acrylate resin is a urethane (meth) acrylate resin having a polyester skeleton in the main chain, and specific examples thereof include a urethane (meth) acrylate oligomer having a polyester skeleton.
  • Examples of commercially available products include Art Resins UN-7600 and UN-7700 (manufactured by Negami Kogyo Co., Ltd.).
  • the weight average molecular weight of the (meth) acrylate resin is, for example, preferably from 1,000 to 100,000, more preferably from 5,000 to 40,000, and even more preferably from 10,000 to 25,000.
  • the content of the (meth) acrylate resin is preferably 5 to 50% by mass, and more preferably 20 to 45% by mass.
  • the total content of the polyether-based urethane (meth) acrylate resin and the polyester-based urethane (meth) acrylate resin is preferably 40% by mass or more with respect to the total content of the (meth) acrylate resin. More preferably, the content is 50% by mass or more, and further preferably 80% by mass or more.
  • (Meth) acrylate resins may be used alone or in combination of two or more. When using together 2 or more types of (meth) acrylate resin, it is preferable that the total amount satisfy
  • the monofunctional monomer is, for example, a photocurable (meth) acrylate monomer.
  • the monofunctional monomer is a hydroxyl group-containing (meth) acrylate monomer and a heterocyclic ring-containing (meth) from the viewpoint of increasing the moisture permeability of the cured product of the photocurable resin composition and from the viewpoint of compatibility with other components. It is preferable to contain at least one acrylate monomer.
  • hydroxyl group-containing (meth) acrylate monomer examples include, for example, 2-hydroxyethyl (meth) acrylate, 1-hydroxyethyl (meth) acrylate, 2-hydroxypropyl (meth) acrylate, and 3-hydroxypropyl (meth) acrylate.
  • the heterocycle in the heterocycle-containing (meth) acrylate monomer preferably contains at least one oxygen atom or nitrogen atom as a heteroatom.
  • the heterocycle is preferably a 3- to 8-membered ring, more preferably a 3- to 6-membered ring.
  • the number of carbon atoms constituting the heterocycle is preferably 2 to 6, and more preferably 3 to 5.
  • the heterocycle may be a monocyclic structure or a polycyclic structure.
  • the heterocycle may have a substituent. Examples of the substituent that the hetero ring may have include a methyl group and an ethyl group.
  • the heterocycle-containing (meth) acrylate monomer is preferably a (meth) acrylate containing a heterocycle selected from the group consisting of a morpholine ring, a furan ring and a dioxolane ring.
  • a heterocycle selected from the group consisting of a morpholine ring, a furan ring and a dioxolane ring.
  • Specific examples include acryloylmorpholine, tetrahydrofurfuryl (meth) acrylate, (2-methyl-2-ethyl-1,3-dioxolan-4-yl) methyl (meth) acrylate, and the like.
  • the content of the monofunctional monomer is preferably 10 to 40% by mass, and more preferably 20 to 40% by mass.
  • the total content of the hydroxyl group-containing (meth) acrylate monomer and the heterocyclic ring-containing (meth) acrylate monomer with respect to the total content of monofunctional monomers is preferably 40% by mass or more, and 50% by mass or more. More preferably, it is more preferably 80% by mass or more.
  • a monofunctional monomer may be used individually by 1 type, and may use 2 or more types together. When using together 2 or more types of monofunctional monomers, it is preferable that the total amount satisfy
  • the photopolymerization initiator is preferably a radical photopolymerization initiator, and more preferably contains at least one of an alkylphenone photopolymerization initiator and an acylphosphine oxide photopolymerization initiator.
  • alkylphenone photopolymerization initiator examples include 1-hydroxycyclohexyl phenyl ketone (Irgacure 184, manufactured by BASF), 2-hydroxy-1- ⁇ 4- [4- (2 monohydroxy-2-methyl-propyronyl)] Benzyl] phenyl ⁇ -2-methyl-1-propan-1-one (Irgacure 127, manufactured by BASF) and the like can be used.
  • acylphosphine oxide photopolymerization initiator 2,4,6-trimethylbenzoyldiphenylphosphine oxide (Irgacure TPO, manufactured by BASF) or the like can be used.
  • benzophenone, acetophenone, or the like can also be used as the photopolymerization initiator.
  • the content of the photopolymerization initiator is preferably 0.1 to 5 parts by mass, preferably 0.2 to 3 parts per 100 parts by mass in total of the radical polymerizable components (the above-mentioned (meth) acrylate resin and monofunctional monomer). Part by mass is more preferable.
  • a photoinitiator may be used individually by 1 type and may use 2 or more types together. When using 2 or more types of photoinitiators together, it is preferable that the total amount satisfy
  • a plasticizer itself does not undergo photocuring by light irradiation, and imparts flexibility to the cured resin layer after photocuring. It is preferable that a plasticizer contains at least 1 sort (s) of a polyether-type polyol and a polyester-type polyol from a compatible viewpoint with another component.
  • polyether-based polyol for example, a general polyether polyol obtained by addition polymerization of alkylene oxide to an initiator such as ethylene glycol, propylene glycol, glycerin, trimethylolpropane, or the like can be used.
  • the alkylene oxide is not particularly limited, and examples thereof include ethylene oxide, propylene oxide, butylene oxide and the like.
  • polyether polyols examples include “ADEKA polyether” manufactured by ADEKA. More specifically, “P series” which is polypropylene glycol, “BPX series” which is a polypropylene glycol adduct of bisphenol A, “G series” which is a polypropylene glycol adduct of glycerin, polypropylene glycol adduct of trimethylolpropane.
  • T series polypropylene glycol adduct of ethylenediamine
  • EDP series polypropylene glycol adduct of ethylenediamine
  • SP series polypropylene glycol adduct of sorbitol
  • PR series random copolymer of ethylene oxide and propylene oxide
  • CM series propylene glycol And “CM series” to which a propylene oxide-ethylene oxide block copolymer is added.
  • the number average molecular weight of the polyether polyol is preferably, for example, 500 to 8000, more preferably 1000 to 5000.
  • polyester-based polyol for example, a general polyester polyol obtained by condensation polymerization of a dicarboxylic acid and a diol can be used.
  • dicarboxylic acid include aliphatic carboxylic acids such as adipic acid, azelaic acid, sebacic acid, and dodecanedioic acid; and aromatic carboxylic acids such as terephthalic acid and isophthalic acid.
  • diol examples include straight-chain diols such as ethylene glycol, 1,4-butanediol, 1,6-hexanediol, 1,9-nonanediol, diethylene glycol; 1,2-propylene glycol, 1,3- Butylene glycol, 2-methyl-1,3-propanediol, neopentyl glycol, 3-methyl-1,5-pentadiol, 2,2-dimethyl-1,3-propanediol, 2-methyl-1,8- And octanediol.
  • straight-chain diols such as ethylene glycol, 1,4-butanediol, 1,6-hexanediol, 1,9-nonanediol, diethylene glycol; 1,2-propylene glycol, 1,3- Butylene glycol, 2-methyl-1,3-propanediol, neopentyl glycol, 3-methyl-1,5-pent
  • polyester polyols include “P-1010”, “P-2010”, “P-3010”, “P-2050” (manufactured by Kuraray), “OD-X-102”, “OD”. -X-668 “,” OD-X-2068 “(manufactured by DIC),” NS-2400 “,” YT-101 “,” F7-67 “,” # 50 ",” F1212-29 “ “YG-108”, “V14-90”, “Y65-55” (manufactured by ADEKA) and the like.
  • the number average molecular weight of the polyester polyol is preferably, for example, 500 to 8000, and more preferably 1000 to 5000.
  • the plasticizer content is preferably 15 to 50% by mass, more preferably 25 to 45% by mass.
  • the total content of the polyether-based polyol and the polyester-based polyol with respect to the total content of the plasticizer is preferably 40% by mass or more, more preferably 50% by mass or more, and 80% by mass. More preferably, it is the above.
  • a plasticizer may be used individually by 1 type and may use 2 or more types together. When using 2 or more types of plasticizers together, it is preferable that the total amount satisfies the content range.
  • the antioxidant is used, for example, for the purpose of preventing discoloration of the photocurable resin composition.
  • the antioxidant is not particularly limited, and a known antioxidant can be used.
  • the compound which has a hindered phenol structure, the compound which has a hindered amine structure, the compound which has a thioether structure etc. are mentioned, The compound which has a hindered phenol structure is preferable.
  • IRGANOX1010 Commercially available compounds having a hindered phenol structure, which is an example of an antioxidant, include “IRGANOX1010”, “IRGANOX1035”, “IRGANOX1076”, “IRGANOX1098”, “IRGANOX1135”, “IRGANOX1330”, “IRGANOX1726”, “IRGANOX1425WL ”,“ IRGANOX1520L ”,“ IRGANOX245 ”,“ IRGANOX259 ”,“ IRGANOX3114 ”,“ IRGANOX565 ”,“ IRGAMOD295 ”(above, manufactured by BASF).
  • the content of the antioxidant is preferably 0.1 to 10 parts by mass, and more preferably 0.5 to 3 parts by mass.
  • An antioxidant may be used individually by 1 type and may use 2 or more types together. When using 2 or more types of antioxidant together, it is preferable that the total amount satisfy
  • the photocurable resin composition may further contain other components other than the components described above as long as the effect of suppressing discoloration of the polarizing plate in the image display device is not impaired under a high temperature environment.
  • other components include tackifiers.
  • the photocurable resin composition is preferably liquid at normal temperature.
  • the photocurable resin composition preferably has a viscosity at 25 ° C. measured by a B-type viscometer of 0.01 to 100 Pa ⁇ s.
  • the photocurable resin composition preferably has a transmittance in the visible light region of 90% or more. Thereby, when the cured resin layer is formed, the visibility of the image formed on the image display member can be further improved.
  • the refractive index of the photocurable resin composition is preferably substantially the same as the refractive index of the image display member or the light transmissive member, and is preferably 1.45 or more and 1.55 or less, for example. Thereby, the brightness
  • the photocurable resin composition can be prepared by uniformly mixing the above-described components according to a known mixing technique.
  • the photocurable resin composition according to the present embodiment has a moisture permeability of 400 g / m 2 / day or more in an environment of 40 ° C. and a relative humidity of 90% when the thickness after curing is 0.3 mm. Thereby, discoloration of the polarizing plate 2 in the image display apparatus 1 can be suppressed under a high temperature environment.
  • the image display device 1 includes an image display member 4 including a polarizing plate 2, a cured resin layer 6, and a light transmissive member 5 in this order.
  • the cured resin layer 6 has a moisture permeability of 400 g / m 2 / day or more in an environment of 40 ° C. and a relative humidity of 90% when the thickness is 0.3 mm.
  • the image display member 4 is, for example, an image display panel in which the polarizing plate 2 is formed on the viewing side surface of the image display cell 3.
  • the image display member 4 is, for example, a liquid crystal display panel, an organic EL display panel, a touch panel, or the like.
  • the touch panel means an image display / input panel in which a display element such as a liquid crystal display panel and a position input device such as a touch pad are combined.
  • Examples of the image display cell 3 include a liquid crystal cell and an organic EL cell.
  • Examples of the liquid crystal cell include a reflective liquid crystal cell and a transmissive liquid crystal cell.
  • the polarizing plate 2 includes a polarizer 8, a protective layer 9 provided on one surface of the polarizer 8, and a protective layer 10 provided on the other surface of the polarizer 8. It is a laminated body provided.
  • the polarizing plate 2 may further include an adhesive layer (not shown) between the polarizer 8 and the protective layer 9 and between the polarizer 8 and the protective layer 10.
  • the polarizing plate 2 may further include an optical layer (for example, a retardation plate) other than the polarizer 8 and the protective layers 9 and 10.
  • polarizer 8 for example, a polarizing plate having a well-known configuration obtained by subjecting a polyvinyl alcohol resin to a dyeing treatment with a dichroic substance (for example, an iodine compound) and a stretching treatment can be used.
  • a dichroic substance for example, an iodine compound
  • thermoplastic resins such as triacetyl cellulose (TAC), polyester resins such as polyethylene terephthalate (PET) and polyethylene naphthalate (PEN), polyethersulfone resins, polysulfone resins, polycarbonate resins, Examples include polyamide resins, polyimide resins, polyolefin resins, (meth) acrylic resins, cyclic polyolefin resins, polyarylate resins, polystyrene resins, polyvinyl alcohol resins, and mixtures thereof.
  • TAC triacetyl cellulose
  • PET polyethylene terephthalate
  • PEN polyethylene naphthalate
  • polyethersulfone resins polysulfone resins
  • polysulfone resins polycarbonate resins
  • examples include polyamide resins, polyimide resins, polyolefin resins, (meth) acrylic resins, cyclic polyolefin resins, polyarylate resins, polystyrene resins
  • the light transmissive member 5 only needs to be light transmissive so that an image formed on the image display member 4 can be visually recognized.
  • Examples thereof include plate-like materials and sheet-like materials such as glass, acrylic resin, polyethylene terephthalate, polyethylene naphthalate, and polycarbonate. These materials may be subjected to a hard coat treatment, an antireflection treatment or the like on one side or both sides. Physical properties such as the thickness and elastic modulus of the light transmissive member 5 can be appropriately determined according to the purpose of use.
  • the light transmitting member 5 includes not only a member having a relatively simple structure as described above but also a member in which various sheets or film materials such as a touch panel module are laminated.
  • a light shielding layer 7 may be provided on the periphery of the light transmissive member 5 in order to improve image contrast.
  • the light shielding layer 7 can be formed, for example, by applying a paint colored black or the like by screen printing or the like, and drying and curing.
  • the thickness of the light shielding layer 7 is usually 5 to 100 ⁇ m.
  • the cured resin layer 6 is a cured product of the above-described photocurable resin composition.
  • the cured resin layer 6 has a moisture permeability of 400 g / m 2 / day or more in an environment of 40 ° C. and a relative humidity of 90% when the thickness is 0.3 mm.
  • the preferable range of moisture permeability of the cured resin layer 6 is the same as the range of moisture permeability of the cured product of the photocurable resin composition described above.
  • the cured resin layer 6 preferably has a transmittance in the visible light region of 90% or more. By satisfying such a range, the visibility of the image formed on the image display member 4 can be improved.
  • the refractive index of the cured resin layer 6 is preferably substantially equal to the refractive index of the image display member 4 or the light transmissive member 5.
  • the refractive index of the cured resin layer 6 is preferably 1.45 or more and 1.55 or less, for example. Thereby, the brightness
  • the thickness of the cured resin layer 6 can be about 25 to 200 ⁇ m, for example.
  • An image display device 1 includes an image display member 4 including a polarizing plate 2, a cured resin layer 6, a light transmissive member 5, and a cured resin layer 6 having a thickness of 0.3 mm.
  • the moisture permeability at the time is 400 g / m 2 / day or more in an environment of 40 ° C. and a relative humidity of 90%.
  • the image display apparatus 1 can suppress discoloration of the polarizing plate 2 in a high temperature environment by including the cured resin layer 6 having high moisture permeability.
  • the manufacturing method according to the first embodiment includes a step (A) of applying a photocurable resin composition to the surface of a light transmissive member, an image display member, and a light transmissive member. There are a step (B) for bonding via a step and a step (C) for curing the photocurable resin composition.
  • Step (A) In the step (A), for example, as shown in FIG. 3, the photocurable resin composition 11 is applied to the surface of the light transmissive member 5 on the side where the light shielding layer 7 is formed.
  • the photocurable resin composition 11 is synonymous with the photocurable resin composition mentioned above, and its preferable range is also the same.
  • Step (B) In the step (B), for example, as illustrated in FIG. 4, the light transmissive member 5 is bonded to the polarizing plate 2 side of the image display member 4 via the photocurable resin composition 11. Thereby, the photocurable resin composition layer 12 is formed between the polarizing plate 2 and the light transmissive member 5.
  • Step (C) In the step (C), for example, as shown in FIG. 5, the photocurable resin composition layer 12 is cured by irradiating the photocurable resin composition layer 12 with light (preferably ultraviolet rays). Thereby, as shown in FIG. 1, the image display apparatus 1 in which the image display member 4 and the light transmissive member 5 are laminated via the cured resin layer 6 is obtained.
  • light preferably ultraviolet rays
  • the light irradiation is preferably performed so that the reaction rate (curing rate) of the cured resin layer 6 is 90% or more, and more preferably 95% or more. By satisfying such a range, the visibility of the image formed on the image display member 4 can be improved.
  • the reaction rate of the cured resin layer 6 is synonymous with the reaction rate mentioned above.
  • the type, output, illuminance, integrated light quantity, etc. of the light source used for light irradiation are not particularly limited, and for example, known radical photopolymerization process conditions of (meth) acrylate by ultraviolet irradiation can be employed.
  • the photocurable resin composition 11 is applied to the surface of the light transmissive member 5, but the present invention is not limited to this example.
  • the photocurable resin composition 11 may be applied to the surface of the image display member 4.
  • the step (AA) of applying the photocurable resin composition to the surface of the light transmissive member, and the photocurable resin composition layer are irradiated with light to perform temporary curing. It has a process (BB), the process (CC) which bonds an image display member and a light transmissive member through a temporary-hardening resin layer, and the process (DD) which hardens a temporary-hardening resin layer.
  • the photocurable resin composition 11 is applied to the surface of the light transmissive member 5 to form the photocurable resin composition layer 12.
  • the photocurable resin composition 11 is applied to the entire surface of the light transmissive member 5 on the side where the light shielding layer 7 is formed, including the surface of the light shielding layer 7, so that a step is formed. It is preferable not to occur.
  • the thickness of the photocurable resin composition layer 12 is preferably 1.2 to 50 times the thickness of the light shielding layer 7, and more preferably 2 to 30 times.
  • coating of the photocurable resin composition 11 should just be performed so that required thickness may be obtained, and may be performed once and may be performed in multiple times.
  • Step (BB) In the step (BB), for example, as shown in FIG. 7, the photocurable resin composition layer 12 formed in the step (AA) is irradiated with light (preferably ultraviolet rays) to be temporarily cured, and shown in FIG. Thus, the temporarily cured resin layer 13 is formed.
  • light preferably ultraviolet rays
  • the temporary curing of the photocurable resin composition layer 12 is preferably performed so that the reaction rate of the temporary cured resin layer 13 is 10 to 80%, and more preferably 40 to 80%.
  • the conditions for light irradiation are not particularly limited as long as the reaction rate of the temporarily cured resin layer 13 can be cured so that it is preferably 10 to 80%.
  • the light transmissive member 5 is bonded to the image display member 4 via the temporarily cured resin layer 13.
  • the laminating can be performed, for example, by applying pressure at 10 to 80 ° C. using a known pressure bonding apparatus.
  • the temporarily cured resin layer 13 is irradiated with light (preferably ultraviolet rays) to be fully cured.
  • light preferably ultraviolet rays
  • the main curing of the temporarily cured resin layer 13 is preferably performed so that the reaction rate of the cured resin layer 6 is 90% or more, and more preferably 95% or more.
  • the conditions for the main curing are not particularly limited as long as they can be cured so that the reaction rate of the cured resin layer 6 is 90% or more.
  • the photocurable resin composition 11 is applied to the surface of the light transmissive member 5 on which the light shielding layer 7 is formed has been described.
  • the photocurable resin composition 11 may be applied.
  • the present invention is not limited to this example.
  • the image display device may be manufactured using a light transmissive member that does not have the light shielding layer 7.
  • dam fill process for example, an application area of the fill material is formed on the surface of the image display member using a dam material, and the fill material is applied to the application area, and the image display member and the light transmissive member are used as the fill material. And the cured resin layer is formed by irradiating the fill material with light.
  • Art Resin UN-6202 Polyether skeleton urethane acrylate oligomer, manufactured by Negami Kogyo Co., Ltd.
  • Art Resin UN-7700 Polyester skeleton urethane acrylate oligomer, manufactured by Negami Kogyo Co., Ltd.
  • TE-2000 Polybutadiene skeleton urethane acrylate oligomer, manufactured by Nippon Soda Co., Ltd.
  • Adeka polyether P-3000 Polyether polyol
  • ADEKA Kuraray polyol P-3010 Polyester polyol
  • Kuraray Krasol LBH-P3000 Polybutadiene polyol, manufactured by Clay Valley
  • Irganox 1135 Octyl 3- (4-hydroxy-3,5-diisopropylphenyl) propionate, manufactured by BASF
  • a polarization comprising a TAC layer 14 having a thickness of 80 ⁇ m, a PVA layer 15 having a thickness of 30 ⁇ m, a TAC layer 16 having a thickness of 80 ⁇ m, and an acrylic adhesive layer 17 having a thickness of 25 ⁇ m in this order.
  • a plate 18 manufactured by Polatechno Co., Ltd. was prepared.
  • a glass plate 19 having a thickness of 1.1 mm was bonded through the acrylic pressure-sensitive adhesive layer 17 of the polarizing plate 18. Moreover, the photocurable resin composition 20 is dropped on the glass plate 19 on which the polarizing plate 18 is bonded, and the glass plate 21 having a thickness of 1.1 mm is placed on the dropped photocurable resin composition 20. And the glass plate 21 was affixed with the dead weight of the glass plate 21. Thereby, the glass joined body 22 was obtained.
  • the photocurable resin composition 20 is cured by irradiating ultraviolet rays from the glass plate 21 side of the glass bonded body 22 so that the integrated light amount becomes 5000 mJ / cm 2.
  • the test image display device 24 shown in FIG. 13 was obtained.
  • the maximum thickness of the cured resin layer 23 formed between the glass plate 19 and the glass plate 21 was about 0.3 mm.
  • the thickness of the cured resin layer 23 formed between the polarizing plate 18 and the glass plate 21 was 0.1 mm.
  • the reaction rate of the cured resin layer 23 was 90% or more.
  • the image display device 24 was left in an environment of 100 ° C. for 240 hours. The presence or absence of discoloration of the polarizing plate 18 in the image display device 24 after standing for 240 hours was visually confirmed. The case where it was determined that the polarizing plate 18 was not discolored was evaluated as “ ⁇ ”, and the case where it was determined that the polarizing plate 18 was discolored was evaluated as “x”. The results are shown in Table 1.
  • the moisture permeability of the cured resin layer was measured based on the moisture permeability test (moisture permeability cup method) of JISZ0208.
  • the photocurable resin composition described above was irradiated with ultraviolet rays so that the accumulated light amount was 5000 mJ / cm 2 to prepare a cured resin layer having a thickness of 0.3 mm.
  • the cured resin layer 25 is set in a cup 27 containing calcium chloride 26, placed in a thermostatic oven at 40 ° C. and 90% relative humidity, and left for 24 hours.
  • the moisture permeability of the cured resin layer 25 was determined by measuring the increase.
  • the photocurable resin composition used in the examples had a moisture permeability of 400 g / m 2 / day or more in an environment of 40 ° C. and a relative humidity of 90% when the thickness after curing was 0.3 mm, It was found that discoloration of the polarizing plate under a high temperature environment can be suppressed.
  • the photocurable resin compositions used in Comparative Examples 1, 2, and 6 have a water vapor transmission rate of 400 g / m 2 in an environment of 40 ° C. and 90% relative humidity when the thickness after curing is 0.3 mm. Since it was less than / day, it was found difficult to suppress discoloration of the polarizing plate in a high temperature environment. Note that the photocurable resin composition used in Comparative Example 3-5 cannot be formed into a cured resin layer because of incompatibility, and the moisture permeability of the cured product and the discoloration of the polarizing plate can be evaluated. There wasn't.

Landscapes

  • Chemical & Material Sciences (AREA)
  • Physics & Mathematics (AREA)
  • Organic Chemistry (AREA)
  • Health & Medical Sciences (AREA)
  • Chemical Kinetics & Catalysis (AREA)
  • Medicinal Chemistry (AREA)
  • Polymers & Plastics (AREA)
  • General Physics & Mathematics (AREA)
  • Nonlinear Science (AREA)
  • Optics & Photonics (AREA)
  • Crystallography & Structural Chemistry (AREA)
  • Mathematical Physics (AREA)
  • Engineering & Computer Science (AREA)
  • Theoretical Computer Science (AREA)
  • Devices For Indicating Variable Information By Combining Individual Elements (AREA)
  • Polarising Elements (AREA)
  • Liquid Crystal (AREA)
  • Macromonomer-Based Addition Polymer (AREA)
  • Polymerisation Methods In General (AREA)
  • Laminated Bodies (AREA)
  • Electroluminescent Light Sources (AREA)
  • Graft Or Block Polymers (AREA)
  • Compositions Of Macromolecular Compounds (AREA)
PCT/JP2017/026795 2016-08-01 2017-07-25 光硬化性樹脂組成物、画像表示装置、及び画像表示装置の製造方法 Ceased WO2018025700A1 (ja)

Priority Applications (7)

Application Number Priority Date Filing Date Title
DE112017003845.6T DE112017003845B4 (de) 2016-08-01 2017-07-25 Lichtaushärtbare Harzzusammensetzung, Bildanzeigevorrichtung und Verfahren zur Herstellung einer Bildanzeigevorrichtung
CN201780043915.2A CN109563217B (zh) 2016-08-01 2017-07-25 光固化性树脂组合物、图像显示装置及图像显示装置的制造方法
CN202310488137.5A CN116554416A (zh) 2016-08-01 2017-07-25 光固化性树脂组合物、图像显示装置及图像显示装置的制造方法
US16/314,970 US12521972B2 (en) 2016-08-01 2017-07-25 Photocurable resin composition, image display device, and image display device manufacturing method
KR1020207032418A KR102259181B1 (ko) 2016-08-01 2017-07-25 광경화성 수지 조성물, 화상 표시 장치, 및 화상 표시 장치의 제조 방법
KR1020187035921A KR102179246B1 (ko) 2016-08-01 2017-07-25 광경화성 수지 조성물, 화상 표시 장치, 및 화상 표시 장치의 제조 방법
KR1020217015793A KR102467401B1 (ko) 2016-08-01 2017-07-25 광경화성 수지 조성물, 화상 표시 장치, 및 화상 표시 장치의 제조 방법

Applications Claiming Priority (2)

Application Number Priority Date Filing Date Title
JP2016151290A JP6898715B2 (ja) 2016-08-01 2016-08-01 光硬化性樹脂組成物、画像表示装置、及び画像表示装置の製造方法
JP2016-151290 2016-08-01

Publications (1)

Publication Number Publication Date
WO2018025700A1 true WO2018025700A1 (ja) 2018-02-08

Family

ID=61072674

Family Applications (1)

Application Number Title Priority Date Filing Date
PCT/JP2017/026795 Ceased WO2018025700A1 (ja) 2016-08-01 2017-07-25 光硬化性樹脂組成物、画像表示装置、及び画像表示装置の製造方法

Country Status (7)

Country Link
US (1) US12521972B2 (enExample)
JP (3) JP6898715B2 (enExample)
KR (3) KR102259181B1 (enExample)
CN (2) CN116554416A (enExample)
DE (1) DE112017003845B4 (enExample)
TW (2) TWI815795B (enExample)
WO (1) WO2018025700A1 (enExample)

Families Citing this family (5)

* Cited by examiner, † Cited by third party
Publication number Priority date Publication date Assignee Title
JP6898715B2 (ja) * 2016-08-01 2021-07-07 デクセリアルズ株式会社 光硬化性樹脂組成物、画像表示装置、及び画像表示装置の製造方法
JP2020196829A (ja) * 2019-06-04 2020-12-10 デクセリアルズ株式会社 光硬化性樹脂組成物及び画像表示装置の製造方法
US11155723B2 (en) * 2019-10-18 2021-10-26 Mitsubishi Electric Research Laboratories, Inc. On-orbit additive manufacturing of parabolic reflectors via solar photopolymerization
JP2023518216A (ja) * 2020-03-13 2023-04-28 ビーエーエスエフ ソシエタス・ヨーロピア 3d印刷用の光硬化性組成物、その製造と使用、及びその組成物を用いた3d印刷物体の形成方法
JP7667417B2 (ja) 2021-04-14 2025-04-23 デクセリアルズ株式会社 光硬化性材料及び画像表示装置

Citations (10)

* Cited by examiner, † Cited by third party
Publication number Priority date Publication date Assignee Title
JP2008248199A (ja) * 2007-03-30 2008-10-16 Jsr Corp 耐衝撃粘着層、耐衝撃粘着積層体、及び表示装置
JP2013231979A (ja) * 2010-12-08 2013-11-14 Asahi Glass Co Ltd 表示装置
JP2014118508A (ja) * 2012-12-18 2014-06-30 Origin Electric Co Ltd 紫外線硬化型接着剤組成物、それを用いた積層体
JP2014118450A (ja) * 2012-12-14 2014-06-30 Dexerials Corp 光硬化性樹脂組成物及びそれを用いた画像表示装置の製造方法
WO2014109223A1 (ja) * 2013-01-10 2014-07-17 昭和電工株式会社 重合性組成物、重合物、光学用粘着シート、画像表示装置およびその製造方法
JP2014139297A (ja) * 2012-12-21 2014-07-31 Asahi Glass Co Ltd 粘着層付き透明面材、表示装置およびそれらの製造方法
WO2014192502A1 (ja) * 2013-05-31 2014-12-04 昭和電工株式会社 重合性組成物、重合物、光学用粘着シート、画像表示装置およびその製造方法
US20150166860A1 (en) * 2012-08-20 2015-06-18 Henkel (China) Co. Ltd Liquid optically clear photo-curable adhesive for display application
WO2015159957A1 (ja) * 2014-04-17 2015-10-22 旭硝子株式会社 粘着層付き透明面材、表示装置およびそれらの製造方法、ならびに粘着シート
JP2015214594A (ja) * 2014-05-07 2015-12-03 昭和電工株式会社 重合性組成物、重合物、光学用粘着シート、画像表示装置およびその製造方法

Family Cites Families (18)

* Cited by examiner, † Cited by third party
Publication number Priority date Publication date Assignee Title
JPH0990124A (ja) * 1995-09-22 1997-04-04 Sekisui Chem Co Ltd 反射型偏光板
EP1375617A1 (en) * 2002-06-19 2004-01-02 3M Innovative Properties Company Radiation-curable, solvent-free and printable precursor of a pressure-sensitive adhesive
WO2006099168A2 (en) * 2005-03-11 2006-09-21 3M Innovative Properties Company Polymerizable compositions comprising nanoparticles
WO2008126868A1 (ja) 2007-04-09 2008-10-23 Sony Chemical & Information Device Corporation 画像表示装置
JP2009198811A (ja) * 2008-02-21 2009-09-03 Fujifilm Corp 偏光板保護フィルム、これを用いた偏光板および画像表示装置
US9563004B2 (en) * 2009-10-27 2017-02-07 Dai Nippon Printing Co., Ltd. Image source unit and image display unit
JP5201125B2 (ja) * 2009-12-15 2013-06-05 荒川化学工業株式会社 ウレタン(メタ)アクリレート樹脂、活性エネルギー線硬化性樹脂組成物、コーティング剤及びプラスチック成形物
WO2011158840A1 (ja) * 2010-06-16 2011-12-22 旭硝子株式会社 硬化性樹脂組成物ならびにこれを用いた積層体およびその製造方法
JP2012255096A (ja) 2011-06-09 2012-12-27 Hitachi Chemical Co Ltd 熱硬化型バリア性ポリウレタン樹脂組成物及びそれを用いた硬化物、光学部材、光半導体装置
JP5764435B2 (ja) * 2011-08-29 2015-08-19 綜研化学株式会社 粘着剤組成物、粘着シートおよびタッチパネル用積層体
WO2013057957A1 (ja) 2011-10-21 2013-04-25 日本化薬株式会社 紫外線硬化型樹脂組成物、硬化物及び物品
US20140111859A1 (en) * 2012-10-19 2014-04-24 Corning Incorporated Scratch resistant polarizing articles and methods for making and using same
JP5786016B2 (ja) * 2012-12-27 2015-09-30 富士フイルム株式会社 偏光板保護フィルム、偏光板、並びに液晶表示装置
JP6127745B2 (ja) * 2013-06-06 2017-05-17 デクセリアルズ株式会社 光硬化性樹脂組成物、及び画像表示装置の製造方法
US9658376B2 (en) * 2014-04-17 2017-05-23 Corning Incorporated Polarizing article and method for making the same
WO2016077984A1 (en) * 2014-11-18 2016-05-26 Henkel (China) Company Limited Photo-curable adhesive composition, preparation and use thereof
JP2016151290A (ja) 2015-02-16 2016-08-22 日本精工株式会社 軸受ユニット
JP6898715B2 (ja) * 2016-08-01 2021-07-07 デクセリアルズ株式会社 光硬化性樹脂組成物、画像表示装置、及び画像表示装置の製造方法

Patent Citations (10)

* Cited by examiner, † Cited by third party
Publication number Priority date Publication date Assignee Title
JP2008248199A (ja) * 2007-03-30 2008-10-16 Jsr Corp 耐衝撃粘着層、耐衝撃粘着積層体、及び表示装置
JP2013231979A (ja) * 2010-12-08 2013-11-14 Asahi Glass Co Ltd 表示装置
US20150166860A1 (en) * 2012-08-20 2015-06-18 Henkel (China) Co. Ltd Liquid optically clear photo-curable adhesive for display application
JP2014118450A (ja) * 2012-12-14 2014-06-30 Dexerials Corp 光硬化性樹脂組成物及びそれを用いた画像表示装置の製造方法
JP2014118508A (ja) * 2012-12-18 2014-06-30 Origin Electric Co Ltd 紫外線硬化型接着剤組成物、それを用いた積層体
JP2014139297A (ja) * 2012-12-21 2014-07-31 Asahi Glass Co Ltd 粘着層付き透明面材、表示装置およびそれらの製造方法
WO2014109223A1 (ja) * 2013-01-10 2014-07-17 昭和電工株式会社 重合性組成物、重合物、光学用粘着シート、画像表示装置およびその製造方法
WO2014192502A1 (ja) * 2013-05-31 2014-12-04 昭和電工株式会社 重合性組成物、重合物、光学用粘着シート、画像表示装置およびその製造方法
WO2015159957A1 (ja) * 2014-04-17 2015-10-22 旭硝子株式会社 粘着層付き透明面材、表示装置およびそれらの製造方法、ならびに粘着シート
JP2015214594A (ja) * 2014-05-07 2015-12-03 昭和電工株式会社 重合性組成物、重合物、光学用粘着シート、画像表示装置およびその製造方法

Also Published As

Publication number Publication date
KR20190008549A (ko) 2019-01-24
JP2023090732A (ja) 2023-06-29
US12521972B2 (en) 2026-01-13
TWI815795B (zh) 2023-09-21
DE112017003845T5 (de) 2019-04-18
TW202348660A (zh) 2023-12-16
CN116554416A (zh) 2023-08-08
JP2021167952A (ja) 2021-10-21
JP2018021962A (ja) 2018-02-08
CN109563217A (zh) 2019-04-02
DE112017003845B4 (de) 2024-08-29
TW201829500A (zh) 2018-08-16
KR102467401B1 (ko) 2022-11-16
JP6898715B2 (ja) 2021-07-07
KR20200129195A (ko) 2020-11-17
JP7536940B2 (ja) 2024-08-20
KR20210064405A (ko) 2021-06-02
CN109563217B (zh) 2023-05-16
KR102179246B1 (ko) 2020-11-17
JP7494147B2 (ja) 2024-06-03
US20190275773A1 (en) 2019-09-12
TWI876491B (zh) 2025-03-11
KR102259181B1 (ko) 2021-05-31

Similar Documents

Publication Publication Date Title
JP7536940B2 (ja) 光硬化性樹脂組成物、画像表示装置、及び画像表示装置の製造方法
CN106978092B (zh) 光固化性树脂组合物
JP5973476B2 (ja) 耐久性に優れた接着剤組成物
KR20160016820A (ko) 광경화성 수지 조성물, 및 화상 표시 장치의 제조 방법
TW201710429A (zh) 黏著片、附黏著劑之光學膜、及圖像顯示裝置之製造方法
KR101907237B1 (ko) 광학용 점착제 조성물 및 점착 필름
JP6894686B2 (ja) 粘接着剤組成物、粘接着剤、粘接着シートおよび表示体
KR101479813B1 (ko) 반경화 감압 점착필름
JP2019035031A (ja) 活性エネルギー線重合性樹脂組成物
JP2016172801A (ja) 活性エネルギー線重合性樹脂組成物および積層体
KR20140134656A (ko) 경화성 수지 조성물
JP7667417B2 (ja) 光硬化性材料及び画像表示装置
JP7578878B2 (ja) 光硬化性材料及び画像表示装置
KR20230115914A (ko) 편광판 및 화상 표시 장치

Legal Events

Date Code Title Description
DPE1 Request for preliminary examination filed after expiration of 19th month from priority date (pct application filed from 20040101)
121 Ep: the epo has been informed by wipo that ep was designated in this application

Ref document number: 17836806

Country of ref document: EP

Kind code of ref document: A1

ENP Entry into the national phase

Ref document number: 20187035921

Country of ref document: KR

Kind code of ref document: A

122 Ep: pct application non-entry in european phase

Ref document number: 17836806

Country of ref document: EP

Kind code of ref document: A1