WO2017209247A1 - 回転電機の回転子 - Google Patents

回転電機の回転子 Download PDF

Info

Publication number
WO2017209247A1
WO2017209247A1 PCT/JP2017/020446 JP2017020446W WO2017209247A1 WO 2017209247 A1 WO2017209247 A1 WO 2017209247A1 JP 2017020446 W JP2017020446 W JP 2017020446W WO 2017209247 A1 WO2017209247 A1 WO 2017209247A1
Authority
WO
WIPO (PCT)
Prior art keywords
cylindrical member
claw
shaped magnetic
magnetic pole
rotor
Prior art date
Legal status (The legal status is an assumption and is not a legal conclusion. Google has not performed a legal analysis and makes no representation as to the accuracy of the status listed.)
Ceased
Application number
PCT/JP2017/020446
Other languages
English (en)
French (fr)
Japanese (ja)
Inventor
高橋 裕樹
敦朗 石塚
Current Assignee (The listed assignees may be inaccurate. Google has not performed a legal analysis and makes no representation or warranty as to the accuracy of the list.)
Denso Corp
Original Assignee
Denso Corp
Priority date (The priority date is an assumption and is not a legal conclusion. Google has not performed a legal analysis and makes no representation as to the accuracy of the date listed.)
Filing date
Publication date
Application filed by Denso Corp filed Critical Denso Corp
Priority to US16/306,692 priority Critical patent/US20190123603A1/en
Priority to CN201780034462.7A priority patent/CN109314416A/zh
Priority to DE112017002801.9T priority patent/DE112017002801T5/de
Publication of WO2017209247A1 publication Critical patent/WO2017209247A1/ja
Anticipated expiration legal-status Critical
Ceased legal-status Critical Current

Links

Images

Classifications

    • HELECTRICITY
    • H02GENERATION; CONVERSION OR DISTRIBUTION OF ELECTRIC POWER
    • H02KDYNAMO-ELECTRIC MACHINES
    • H02K1/00Details of the magnetic circuit
    • H02K1/06Details of the magnetic circuit characterised by the shape, form or construction
    • H02K1/22Rotating parts of the magnetic circuit
    • H02K1/24Rotor cores with salient poles ; Variable reluctance rotors
    • H02K1/243Rotor cores with salient poles ; Variable reluctance rotors of the claw-pole type
    • HELECTRICITY
    • H02GENERATION; CONVERSION OR DISTRIBUTION OF ELECTRIC POWER
    • H02KDYNAMO-ELECTRIC MACHINES
    • H02K1/00Details of the magnetic circuit
    • H02K1/06Details of the magnetic circuit characterised by the shape, form or construction
    • H02K1/22Rotating parts of the magnetic circuit
    • H02K1/24Rotor cores with salient poles ; Variable reluctance rotors
    • HELECTRICITY
    • H02GENERATION; CONVERSION OR DISTRIBUTION OF ELECTRIC POWER
    • H02KDYNAMO-ELECTRIC MACHINES
    • H02K1/00Details of the magnetic circuit
    • H02K1/06Details of the magnetic circuit characterised by the shape, form or construction
    • H02K1/22Rotating parts of the magnetic circuit
    • H02K1/27Rotor cores with permanent magnets
    • HELECTRICITY
    • H02GENERATION; CONVERSION OR DISTRIBUTION OF ELECTRIC POWER
    • H02KDYNAMO-ELECTRIC MACHINES
    • H02K19/00Synchronous motors or generators
    • H02K19/16Synchronous generators
    • H02K19/22Synchronous generators having windings each turn of which co-operates alternately with poles of opposite polarity, e.g. heteropolar generators
    • HELECTRICITY
    • H02GENERATION; CONVERSION OR DISTRIBUTION OF ELECTRIC POWER
    • H02KDYNAMO-ELECTRIC MACHINES
    • H02K21/00Synchronous motors having permanent magnets; Synchronous generators having permanent magnets
    • H02K21/02Details
    • H02K21/04Windings on magnets for additional excitation ; Windings and magnets for additional excitation
    • H02K21/042Windings on magnets for additional excitation ; Windings and magnets for additional excitation with permanent magnets and field winding both rotating
    • H02K21/044Rotor of the claw pole type
    • HELECTRICITY
    • H02GENERATION; CONVERSION OR DISTRIBUTION OF ELECTRIC POWER
    • H02KDYNAMO-ELECTRIC MACHINES
    • H02K2213/00Specific aspects, not otherwise provided for and not covered by codes H02K2201/00 - H02K2211/00
    • H02K2213/03Machines characterised by numerical values, ranges, mathematical expressions or similar information

Definitions

  • the present disclosure relates to a rotor of a rotating electrical machine that is mounted on, for example, an automobile or a truck and used as an electric motor or a generator.
  • a conventional rotating electric machine there has been known one provided with a stator around which a stator winding is wound, and a rotor arranged to be rotatably opposed to the stator in a radial direction across an electromagnetic gap.
  • a Landell type rotor including a field core having a plurality of claw-shaped magnetic pole portions and a field winding is known.
  • the field core is formed with a cylindrical boss portion fixed to the rotating shaft and magnetic poles arranged on the outer peripheral side of the boss portion and having different polarities alternately in the circumferential direction.
  • the field winding is wound around the outer peripheral side of the boss portion and generates a magnetomotive force when energized.
  • a cylindrical magnetic pole cylinder portion (cylindrical member) is formed of a laminated body in which a plurality of soft magnetic plates are laminated in the axial direction, and is arranged on the outer peripheral side of the claw-shaped magnetic pole part of the field core.
  • This cylindrical member has a convex portion corresponding to the contour shape of the claw-shaped magnetic pole portion and a concave portion corresponding to the gap between adjacent claw-shaped magnetic pole portions on the outer diameter side surface.
  • the convex portion and the concave portion of the cylindrical member are connected in a slope shape.
  • Patent Document 2 describes a technique for forming a rotor core by winding a strip-shaped soft magnetic long plate having round holes and slits in a spiral manner and laminating them in the axial direction.
  • a member disposed on the outer peripheral side of the claw-shaped magnetic pole portion of the field core is formed on the outer peripheral surface of the claw-shaped magnetic pole portion when the roundness is not sufficient.
  • the chattering noise of the claw-shaped magnetic pole portion due to vibration is often taken up as a factor that deteriorates the performance of the Landell motor. In the case of Patent Document 1, such a situation often occurs. In this situation, the magnetic resistance due to the air gap is increased and the magnetic force is reduced at the floating portion.
  • the present disclosure eliminates the gap between the cylindrical member disposed on the outer peripheral side of the claw-shaped magnetic pole part and the claw-shaped magnetic pole part, thereby improving torque by reducing the magnetic resistance and by vibrating the claw-shaped magnetic pole part. It is an object to be solved to provide a stator of a rotating electrical machine that can realize a reduction in strength.
  • a cylindrical boss part a plurality of disk parts projecting radially outward from the axial end part of the boss part at a predetermined circumferential direction pitch, and an axis from the outer peripheral end part of each disk part to the outer peripheral side of the boss part
  • a field core having a plurality of claw-shaped magnetic pole portions that protrude in the direction and are magnetized in different polarities in the circumferential direction
  • a rotor of a rotating electrical machine comprising a cylindrical member arranged to cover the outer periphery of the claw-shaped magnetic pole part,
  • the cylindrical member is composed of a plurality of steel plates laminated in the axial direction, and the inner diameter in a steady state is smaller than the outer diameter of the claw-shaped magnetic pole part.
  • the cylindrical member is composed of a plurality of steel plates stacked in the axial direction, and the inner diameter in a steady state is smaller than the outer diameter of the claw-shaped magnetic pole portion. Therefore, when the cylindrical member is mounted on the outer periphery of the claw-shaped magnetic pole portion, the inner peripheral surface of the cylindrical member is in close contact with the outer peripheral surface of the claw-shaped magnetic pole portion, and the claw-shaped magnetic pole portion and the cylindrical shape No gap (air gap) is formed between the members. Thereby, the improvement of the torque by reduction of magnetic resistance and the avoidance of the strength reduction by the vibration of the claw-shaped magnetic pole part can be realized.
  • FIG. 3 is a perspective view of a rotor according to Embodiment 1.
  • FIG. FIG. 3 is a perspective view of a state where a cylindrical member of the rotor according to the first embodiment is removed. It is the front view seen from the axial direction of the state which removed the cylindrical member of the rotor which concerns on Embodiment 1.
  • FIG. It is a perspective view of the steady state of the cylindrical member which concerns on Embodiment 1.
  • FIG. is a perspective view which shows a state when the cylindrical member which concerns on Embodiment 1 is mounted
  • FIG. 1 It is explanatory drawing which shows the relationship between the field core in Embodiment 1, and the dimension of a cylindrical member. It is explanatory drawing which shows the relationship between the field core in the modification 1, and the dimension of a cylindrical member. It is explanatory drawing which shows the state of the cylindrical member with which the outer periphery of the claw-shaped magnetic pole part was mounted
  • FIG. It is a characteristic view which shows the relationship between the tempering temperature after performing hardening about steel with a carbon amount of 0.4%, and a yield point.
  • FIG. 5 is a characteristic diagram showing a relationship between a tempering temperature after quenching and a breaking stress when a bar is treated as a beam and a breaking force is applied perpendicular to the longitudinal direction of the beam.
  • 6 is a perspective view of a rotor according to Embodiment 2.
  • FIG. It is a perspective view of the steady state of the cylindrical member which concerns on Embodiment 2.
  • FIG. It is a perspective view which shows a state when the cylindrical member which concerns on Embodiment 2 is mounted
  • 10 is a perspective view of a rotor according to Modification 3.
  • Embodiment 1 The rotor of the rotating electrical machine according to the first embodiment will be described with reference to FIGS.
  • the rotor according to the first embodiment is mounted on, for example, a rotating electrical machine used as the vehicle alternator 1.
  • a rotating electrical machine used as the vehicle alternator 1 As shown in FIGS. 1 and 2, the housing 10, the stator 20, and the rotor 30 are mounted. , Field winding feeding mechanism, rectifier 45 and the like.
  • the housing 10 includes a bottomed cylindrical front housing 11 and a rear housing 12 each having an open end.
  • the front housing 11 and the rear housing 12 are fastened by bolts 13 in a state where the openings are joined to each other.
  • the stator 20 is an armature including an annular stator core 21 having a plurality of slots and teeth (not shown) arranged in the circumferential direction, and a three-phase phase winding wound around the slots of the stator core 21. And winding 25.
  • the stator 20 is fixed to the inner peripheral surfaces of the peripheral walls of the front housing 11 and the rear housing 12 while being sandwiched in the axial direction.
  • the rotor 30 is disposed on the radially inner side of the stator 20, and is provided so as to be able to rotate integrally with a rotating shaft 31 that is rotatably supported by the housing 10 via a pair of bearings 14, 14.
  • the rotor 30 is a Landel type rotor having a field core 32 composed of a pair of pole cores 32 a and 32 b and a field winding 33.
  • the rotor 30 is rotationally driven by an engine (not shown) mounted on the vehicle via a pulley 31A fixed to the front end portion of the rotating shaft 31.
  • the field winding power supply mechanism is a device for supplying power to the field winding 33, and includes a pair of brushes 41, a pair of slip rings 42, a regulator 43, and the like.
  • the rotor 30 rotates in a predetermined direction together with the rotating shaft 31.
  • the first and second claw-shaped magnetic pole portions of the first and second pole cores 32a and 32b. 323a and 323b are excited.
  • NS magnetic poles are alternately formed along the rotational circumferential direction of the rotor 30.
  • a rotating magnetic field is applied to the armature winding 25 of the stator 20, thereby generating an alternating electromotive force in the armature winding 25.
  • the alternating electromotive force generated in the armature winding 25 is rectified into a direct current through the rectifier 45 and then supplied to a battery (not shown).
  • the rotor 30 according to the first embodiment includes a rotary shaft 31 that is rotatably supported by the housing 10 via a pair of bearings 14 and 14, and an outer periphery of the rotary shaft 31.
  • a field core 32 composed of a pair of pole cores 32a and 32b fitted and fixed to each other; a field winding 33 wound around a boss 321 (321a and 321b) of the field core 32; A plurality of permanent magnets 34 disposed between the claw-shaped magnetic pole portions 323 (323a, 323b) adjacent in the circumferential direction and a cylindrical member disposed so as to cover the outer periphery of the claw-shaped magnetic pole portion 323 of the field core 32 35.
  • the rotor 30 is rotatably provided on the inner circumferential side of the stator 20 so as to face the radial direction.
  • the field core 32 includes a first pole core 32a fixed to the front side (left side in FIG. 1) of the rotary shaft 31 and the rear side (right side in FIG. 1) of the rotary shaft 31.
  • the second pole core 32b is fixed.
  • the first pole core 32a includes a cylindrical first boss portion 321a, a first disk portion 322a, and a first claw-shaped magnetic pole portion 323a.
  • the first boss portion 321 a causes the field magnetic flux to flow in the axial direction on the radially inner side of the field winding 33.
  • the first disk portion 322a projects radially outward at a predetermined pitch in the circumferential direction from the axial front end portion of the first boss portion 321a to flow field magnetic flux in the radial direction.
  • the first claw-shaped magnetic pole portion 323a protrudes in the axial direction from the outer peripheral end portion of each first disk portion 322a to the outer peripheral side of the first boss portion 321a so as to surround the field winding 33, and the stator core 21 and the magnetic flux Give and receive.
  • the second pole core 32b has the same shape as the first pole core 32a, and includes a second boss portion 321b, a second disk portion 322b, and a second claw-shaped magnetic pole portion 323b.
  • the first and second pole cores 32a and 32b are made of a soft magnetic material.
  • the first pole core 32a and the second pole core 32b are formed so that the first claw-shaped magnetic pole portions 323a and the second claw-shaped magnetic pole portions 323b face each other alternately so that the axial rear end surface of the first pole core 32a and the second pole core 32b It is assembled in a state in which the front end surface in the axial direction is in contact.
  • the first claw-shaped magnetic pole portions 323a of the first pole core 32a and the second claw-shaped magnetic pole portions 323b of the second pole core 32b are alternately arranged in the circumferential direction.
  • Each of the first and second pole cores 32a and 32b has eight claw-shaped magnetic pole portions 323.
  • a 16-pole (N pole: 8, S pole: 8) Landell rotor core is formed. ing.
  • the field winding 33 is wound around the outer peripheral surfaces of the first and second boss portions 321a and 321b while being electrically insulated from the field core 32, and the first and second claw-shaped magnetic pole portions 323a. , 323b.
  • the field winding 33 generates a magnetomotive force in the boss portion 321 when a field current If is supplied from a field current control circuit (not shown).
  • a field current control circuit not shown.
  • magnetic poles having different polarities are formed on the first claw-shaped magnetic pole portion 323a and the second claw-shaped magnetic pole portion 323b of the first and second pole cores 32a and 32b, respectively.
  • the first claw-shaped magnetic pole part 323a is magnetized to the S pole
  • the second claw-shaped magnetic pole part 323b is magnetized to the N pole.
  • the magnetic flux generated in the boss part 321 of the field core 32 by the field winding 33 flows from the first boss part 321a of the first pole core 32a to the first disk part 322a and the first claw-shaped magnetic pole part 323a, for example.
  • the first claw-shaped magnetic pole portion 323a flows through the stator core 21 to the second claw-shaped magnetic pole portion 323b of the second pole core 32b, and the second claw-shaped magnetic pole portion 323b, the second disk portion 322b, A magnetic circuit that returns to the first boss portion 321a via the boss portion 321b is formed.
  • This magnetic circuit is a magnetic circuit that generates a counter electromotive force of the rotor 30.
  • each gap extending in a direction inclined from the axial direction is formed between the first claw-shaped magnetic pole portions 323a and the second claw-shaped magnetic pole portions 323b that are alternately arranged in the circumferential direction.
  • One permanent magnet 34 is arranged in each gap.
  • Each permanent magnet 34 has a rectangular parallelepiped outer shape, and an easy magnetization axis is directed in the circumferential direction.
  • Each permanent magnet 34 has first and second claw-shaped magnetic poles in a state where end surfaces (flux inflow / outflow surfaces) on both sides in the circumferential direction are in contact with the circumferential side surfaces of the first and second claw-shaped magnetic pole portions 323a and 323b, respectively. It is hold
  • the permanent magnets 34 are arranged so that the polarities thereof coincide with the polarities alternately appearing in the first and second claw-shaped magnetic pole portions 323a and 323b by the excitation of the field winding 33.
  • the cylindrical member 35 is formed in a cylindrical shape by a plurality of ring-shaped steel plates (soft magnetic bodies) 36 stacked in the axial direction, and the field core 32. Are arranged so as to be coaxial with the field core 32 so as to cover the outer peripheral surface of the claw-shaped magnetic pole portion 323.
  • the cylindrical member 35 has the same axial width as the axial length of the claw-shaped magnetic pole portion 323. Therefore, the cylindrical member 35 is formed in a size that covers the entire outer peripheral surface of the claw-shaped magnetic pole portion 323.
  • the cylindrical member 35 has an inner diameter D ⁇ b> 1 in a steady state that is smaller than an outer diameter D ⁇ b> 2 of the claw-shaped magnetic pole part 323.
  • the steady state in the first embodiment means a state in which no external force is applied before the cylindrical member 35 is attached to the outer periphery of the field core 32.
  • the cylindrical member 35 is fitted on the outer peripheral surface of the claw-shaped magnetic pole portion 323 by press fitting, and is fixed in a state where a predetermined pressure is applied to the outer peripheral surface of the claw-shaped magnetic pole portion 323. As a result, as shown in FIG.
  • the claw-shaped magnetic pole portion 323 is deformed by the centrifugal force generated when the rotor 30 rotates as shown in FIG. Further, since the claw-shaped magnetic pole part 323 extends from the base of the claw-shaped magnetic pole part 323, chatter vibration of a similar mode is generated by vibration, and the total force of the centrifugal force and the vibration is generated. Increase stress. In the case of the first embodiment, since the inner diameter surface of the cylindrical member 35 suppresses the claw-shaped magnetic pole portion 323 like a spring, a vibration damper effect is obtained.
  • the cylindrical member 35 is formed with a distorted portion 35A that protrudes toward the inner diameter side, the pressing force of the distorted portion 35A is applied to the outer peripheral surface of the claw-shaped magnetic pole portion 323. Therefore, a better damper effect can be obtained.
  • the cylindrical member 35 of Embodiment 1 has an axial length L1 that is smaller than an axial length L2 in a steady state when mounted on the outer periphery of the claw-shaped magnetic pole portion 323. Yes. That is, when the cylindrical member 35 is mounted on the outer periphery of the claw-shaped magnetic pole portion 323, it is desirable that the steel plates 36 adjacent in the axial direction are in close contact with each other in order to obtain a magnetically dense structure. Further, the cylindrical member 35 has a gap G ⁇ b> 1 between at least a part of the steel plates 36 adjacent in the axial direction in order to suppress the axial vibration of the cylindrical member 35.
  • the steel plate 36 constituting the cylindrical member 35 is composed of a ring-shaped magnetic body and an electrically insulating layer that covers both the front and back surfaces of the magnetic body. Therefore, the cylindrical member 35 formed by laminating a plurality of steel plates 36 has a structure in which magnetic bodies and electrical insulating layers are alternately laminated in the axial direction. Thereby, the eddy current loss in the cylindrical member 35 can be reduced.
  • the magnetic body is made of a magnetic material having a carbon content of 0.4 to 1.05%.
  • iron containing carbon is hardened by quenching or processing, and then forms a martensite structure through a tempering process, and becomes high strength. This is widely known in common sense. It is effective in the present disclosure to obtain an ideal aspect as a structural material by using this structure. That is, in the present disclosure, it can be said that electromagnetic soft iron that cannot sufficiently form a martensite structure is not a suitable material.
  • FIG. 11 is a characteristic diagram showing the relationship between the tempering temperature and the yield point after quenching for steel with a carbon content of 0.4%. It can be confirmed from FIG. 11 that the stress is increased at a temperature of 200 ° C. when the carbon content is 0.4%. Therefore, it can be said that the effect is confirmed if the carbon content is 0.4%.
  • FIG. 12 is a characteristic diagram showing the relationship between the tempering temperature after quenching and the breaking stress when a bar is treated as a beam and a breaking force is applied perpendicular to the longitudinal direction of the beam.
  • This breaking stress is a method of applying a stress close to whether or not the tubular member 35 breaks when receiving the force of the claw-shaped magnetic pole portion 323 and the permanent magnet 34.
  • a high carbon steel having a carbon content different from the S10C class low carbon steel generally used as a magnetic material has the most excellent breaking stress value at about 200 ° C.
  • a temperature range of about 80 to 200 ° C. in the vicinity of the installation site of the rotating electrical machine according to Embodiment 1 is suitable as a tempering temperature if the carbon content is in the range of 1.35% or less. ing. Further, when the carbon content is in the range of 1.05% or less, a temperature range of about 80 to 200 ° C. near the installation site of the rotating electrical machine according to Embodiment 1 is more suitable as the tempering temperature. For this reason, members within the above carbon amount range are partially heated by heat generated by iron loss or the like of high-energy bodies such as centrifugal force, magnets, and magnetic pole surface of the rotor, and tempered during operation. In this way, it is spontaneously brought into an ideal state.
  • the ferrous material containing 0.4% to 1.35% carbon is suitable for the steel plate 36 of the cylindrical member 35, and the ferrous material containing 0.4% to 1.05% carbon is used. It can be said that this is more suitable for the steel plate 36 of the cylindrical member 35.
  • the JIS symbols are classified into SK, SUP, SWRH, SWRS, etc., and those called carbon tool steel, hard steel wire, piano wire, and martensitic stainless steel are respectively used for the cylindrical member 35. Suitable for steel plate 36.
  • the cylindrical member 35 is configured by the plurality of steel plates 36 stacked in the axial direction, and the inner diameter D1 in the steady state is the claw-shaped magnetic pole portion 323. It is smaller than the outer diameter D2. Therefore, when the cylindrical member 35 is mounted on the outer periphery of the claw-shaped magnetic pole portion 323, the inner peripheral surface of the cylindrical member 35 is in close contact with the outer peripheral surface of the claw-shaped magnetic pole portion 323, and the claw-shaped magnetic pole portion 323 is pressed. A gap (air gap) is not formed between the portion 323 and the cylindrical member 35. Thereby, it is possible to improve the torque by reducing the magnetic resistance and to avoid the strength reduction due to the vibration of the claw-shaped magnetic pole portion 323.
  • the cylindrical member 35 has an axial length L1 that is smaller than the axial length L2 in the steady state when mounted on the outer periphery of the claw-shaped magnetic pole portion 323, and is at least partially adjacent in the axial direction.
  • a gap G ⁇ b> 1 is provided between the steel plates 36. According to this configuration, when the cylindrical member 35 is mounted, the cylindrical member 35 can have a magnetically dense structure, and vibration in the axial direction of the cylindrical member 35 can be suppressed.
  • the steel plate 36 constituting the cylindrical member 35 is formed of a magnetic material having a carbon content of 0.4 to 1.05%. Therefore, in a rotating electrical machine that is used in an environment where the temperature changes greatly between when the vehicle is operated and when the operation is stopped, material deterioration during the operation of the vehicle and low temperature tempering when the vehicle is stopped are repeated. Thereby, the material composition of the steel plate 36 is automatically restored. Therefore, the strength of the product is ensured at a high level without heat deterioration.
  • FIGS. 1 A rotor 30 according to the second embodiment will be described with reference to FIGS.
  • the basic configuration of the rotor 30 according to the second embodiment is the same as that of the first embodiment, but only the configuration of the cylindrical member 37 is different from the first embodiment.
  • different points and important points will be described.
  • symbol is used and detailed description is abbreviate
  • the cylindrical member 37 of Embodiment 2 is configured by a steel wire 38 that is spirally wound and laminated in the axial direction.
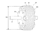
  • the cylindrical member 37 has an inner diameter D3 (FIG. 14) in a steady state smaller than an outer diameter D4 (FIG. 13) of the claw-shaped magnetic pole portion 323.
  • the steady state in the second embodiment means a state in which no external force is applied before the cylindrical member 37 is mounted on the outer periphery of the field core 32.
  • the cylindrical member 37 is fitted into the outer peripheral surface of the claw-shaped magnetic pole portion 323 by press fitting, and is fixed in a state where a predetermined pressure is applied to the outer peripheral surface of the claw-shaped magnetic pole portion 323.
  • the cylindrical member 37 has an axial length L3 when it is mounted on the outer periphery of the claw-shaped magnetic pole portion 323 so that the natural length of the cylindrical member 37 (the cylindrical member 37 has a field
  • the axial length of the cylindrical member 37 in a state where no external force is applied before being attached to the outer periphery of the core 32 is made smaller.
  • the cylindrical member 37 has a gap G ⁇ b> 2 between at least a part of the steel wires 38 adjacent to the cylindrical member 37 in the axial direction in order to suppress vibration in the axial direction of the cylindrical member 37. ing.
  • the steel wire 38 which comprises the cylindrical member 37 consists of a steel wire with a circular cross section and an electrically insulating layer covering the outer peripheral surface of the steel wire.
  • the steel wire is formed of a magnetic material having a carbon content of preferably 0.4 to 1.35%, more preferably 0.4 to 1.05%, as in the first embodiment.
  • the cylindrical member 37 is adjacent to the axial direction by a resin adhesive 39 applied between the outer peripheral surface of the claw-shaped magnetic pole portion 323 and the inner peripheral surface of the cylindrical member 37.
  • Steel wires 38 are connected and fixed on the inner peripheral side.
  • the cylindrical member 37 is configured by the steel wire 38 that is spirally wound and stacked in the axial direction, and the inner diameter D3 in the steady state has a claw.
  • the magnetic pole portion 323 is smaller than the outer diameter D4. Therefore, no gap (air gap) is formed between the claw-shaped magnetic pole part 323 and the cylindrical member 37. Therefore, according to the rotor 30 of the second embodiment, the same operations and effects as those of the first embodiment can be realized, such as an improvement in torque due to a reduction in magnetic resistance and avoidance of a decrease in strength due to vibration of the claw-shaped magnetic pole portion 323. Play.
  • the tubular member 37 has the steel wires 38 adjacent to each other in the axial direction coupled and fixed on the inner peripheral side by the resin adhesive 39. Therefore, it is possible to prevent the occurrence of a problem that the cylindrical member 37 tends to fall apart when the self-weight or impact load is input or when the composition changes due to tempering.
  • the tubular member 37 is formed by connecting and fixing the steel wires 38 adjacent in the axial direction on the inner peripheral side.
  • the steel wires 38 adjacent to each other in the axial direction may be connected and fixed on the outer peripheral side with a resin adhesive 39 or the like applied to the outer peripheral surface of 37.
  • the steel plates 36 adjacent to each other in the axial direction are also connected and fixed to the cylindrical member 35 of the first embodiment on the inner peripheral side or the outer peripheral side with a resin adhesive or the like as in the second embodiment. May be.
  • the steel wire 38 constituting the cylindrical member 37 has a circular cross section, but instead of this, a steel wire 38A having a rectangular cross section as in Modification 3 shown in FIG. May be adopted.
  • the rotor 30 according to the present invention is applied to the vehicle alternator 1 .
  • an electric motor as a rotating electric machine mounted on the vehicle, and further, a generator and an electric motor are provided.
  • the present invention can also be applied to rotating electrical machines that can be used selectively.
  • a rotor (30) of a rotating electrical machine comprising a cylindrical member (35) arranged to cover the outer periphery of the claw-shaped magnetic pole part,
  • the cylindrical member is composed of a plurality of steel plates (36) stacked in the axial direction, and an inner diameter (D1) in a steady state is smaller than an outer diameter (D2) of the claw
  • the cylindrical member is composed of a plurality of steel plates stacked in the axial direction, and the inner diameter in a steady state is smaller than the outer diameter of the claw-shaped magnetic pole portion. Therefore, when the cylindrical member is mounted on the outer periphery of the claw-shaped magnetic pole portion, the inner peripheral surface of the cylindrical member is in close contact with the outer peripheral surface of the claw-shaped magnetic pole portion, and the claw-shaped magnetic pole portion and the cylindrical shape No gap (air gap) is formed between the members. Thereby, the improvement of the torque by reduction of magnetic resistance and the avoidance of the strength reduction by the vibration of the claw-shaped magnetic pole part can be realized.
  • the cylindrical member has an axial length (L1) when mounted on an outer periphery of the claw-shaped magnetic pole portion, which is longer than an axial length (L2) in a steady state.
  • a gap (G1) is provided between at least some of the steel plates that are made smaller and are axially adjacent.
  • the cylindrical member can have a magnetically dense structure when the cylindrical member is mounted.
  • the axial vibration of the cylindrical member can be suppressed. Even if the gap between the steel plates is a minute gap between the insulating films provided on the surface of the steel plate, a certain degree of vibration suppressing effect can be obtained.
  • the cylindrical member when mounting the cylindrical member on the outer periphery of the claw-shaped magnetic pole part, without providing a member for fixing the cylindrical member, by increasing the friction coefficient of the contact surface of the cylindrical member and the claw-shaped magnetic pole part, The position in the axial direction may be fixed. At this time, it is preferable to use irregularities due to cutting marks formed on the outer peripheral surface of the claw-shaped magnetic pole portion, which usually becomes an air gap, because irregularities can be freely formed.
  • a rotor (30) of a rotating electrical machine comprising a cylindrical member (37) arranged to cover the outer periphery of the claw-shaped magnetic pole part,
  • the cylindrical member is composed of steel wires (38, 38A) which are spirally wound and laminated in the axial direction, and the inner diameter (D3) in a steady state is larger than the outer diameter (D4) of the claw-shaped magnetic
  • the cylindrical member is formed of a steel wire that is spirally wound and laminated in the axial direction, and the inner diameter in a steady state is smaller than the outer diameter of the claw-shaped magnetic pole portion. Therefore, when the cylindrical member is mounted on the outer periphery of the claw-shaped magnetic pole portion, the inner peripheral surface of the cylindrical member is in close contact with the outer peripheral surface of the claw-shaped magnetic pole portion, and the claw-shaped magnetic pole portion and the cylindrical shape No gap (air gap) is formed between the members. Thereby, the improvement of the torque by reduction of magnetic resistance and the avoidance of the strength reduction by the vibration of the claw-shaped magnetic pole part can be realized. Further, when mounting the cylindrical member, the diameter of the cylindrical member can be expanded and mounted on the outer periphery of the claw-shaped magnetic pole portion, so that the mounting operation of the cylindrical member is facilitated.
  • the cylindrical member has an axial length (L3) when mounted on an outer periphery of the claw-shaped magnetic pole portion, and a natural length (L4) of the cylindrical member. And a gap (G2) between at least some of the steel wires adjacent in the axial direction. According to this structure, the vibration of the cylindrical member in the axial direction can be suppressed. In addition, about the mounting
  • the magnetic material constituting the cylindrical member has a carbon content of 0.4 to 1.05%.
  • a rotating electrical machine such as a motor equipped with the rotor of the present disclosure is used in an environment where the temperature changes from minus to 100 ° C. or more. Therefore, by adopting the present disclosure, the surface of the claw-shaped magnetic pole part that is a heat source within the operating temperature range, the permanent magnet of the adjacent heat source, and the cylindrical member that receives heat from the stator are low-temperature baked. The effect of reversion is exhibited, and the composition can be automatically repaired.
  • Distortion due to centrifugal force and stress due to temperature change is heated by large iron loss and copper loss due to a large current at the start of idle stop, and the cylindrical member is exposed to a particularly high temperature.
  • the cylindrical member of the present invention having a low heat capacity and receiving heat generated by a heat source designed with a limit of 100 to 200 ° C. is equivalent to that.
  • the cylindrical member is formed by connecting and fixing the steels adjacent in the axial direction on the inner peripheral side. According to this configuration, it is possible to prevent the occurrence of a problem that the cylindrical member tends to fall apart when the weight or impact load is input or when the composition changes due to tempering.
  • the axial dimension may not be determined, especially when the material selection is made of a material having a carbon content of 0.6% or more, which is tempered at a low temperature. There is sex.
  • the carbon content of the materials shown in Patent Documents 1 and 2 can be assumed to be 0.1% or less in consideration of the content suggestion of electromagnetic properties.
  • a fixing means welding, an adhesive agent, etc. are employable, for example.
  • the cylindrical member is configured such that the steels adjacent in the axial direction are connected and fixed on the outer peripheral side. According to this structure, generation
  • a fixing means a varnish, an adhesive agent, etc. are employable. Alternatively, a material having a self-bonding function that is bonded by heating may be used.

Landscapes

  • Engineering & Computer Science (AREA)
  • Power Engineering (AREA)
  • Iron Core Of Rotating Electric Machines (AREA)
  • Synchronous Machinery (AREA)
PCT/JP2017/020446 2016-06-03 2017-06-01 回転電機の回転子 Ceased WO2017209247A1 (ja)

Priority Applications (3)

Application Number Priority Date Filing Date Title
US16/306,692 US20190123603A1 (en) 2016-06-03 2017-06-01 Rotor of rotating electrical machine
CN201780034462.7A CN109314416A (zh) 2016-06-03 2017-06-01 旋转电机的转子
DE112017002801.9T DE112017002801T5 (de) 2016-06-03 2017-06-01 Rotor einer elektrischen drehmaschine

Applications Claiming Priority (2)

Application Number Priority Date Filing Date Title
JP2016112287A JP6641600B2 (ja) 2016-06-03 2016-06-03 回転電機の回転子
JP2016-112287 2016-06-03

Publications (1)

Publication Number Publication Date
WO2017209247A1 true WO2017209247A1 (ja) 2017-12-07

Family

ID=60477689

Family Applications (1)

Application Number Title Priority Date Filing Date
PCT/JP2017/020446 Ceased WO2017209247A1 (ja) 2016-06-03 2017-06-01 回転電機の回転子

Country Status (5)

Country Link
US (1) US20190123603A1 (enExample)
JP (1) JP6641600B2 (enExample)
CN (1) CN109314416A (enExample)
DE (1) DE112017002801T5 (enExample)
WO (1) WO2017209247A1 (enExample)

Families Citing this family (2)

* Cited by examiner, † Cited by third party
Publication number Priority date Publication date Assignee Title
CN110858732B (zh) * 2018-08-24 2022-04-19 广东威灵电机制造有限公司 定子和电机
JP2025163843A (ja) * 2024-04-18 2025-10-30 株式会社デンソー 巻線界磁ロータ

Citations (2)

* Cited by examiner, † Cited by third party
Publication number Priority date Publication date Assignee Title
JPH0998556A (ja) * 1995-10-03 1997-04-08 Hitachi Ltd 車両用交流発電機
JP2009148057A (ja) * 2007-12-13 2009-07-02 Denso Corp 車両用交流発電機

Family Cites Families (12)

* Cited by examiner, † Cited by third party
Publication number Priority date Publication date Assignee Title
US3599020A (en) * 1970-02-27 1971-08-10 Ibm Linear actuator with alternating magnetic poles
US3914631A (en) * 1973-08-17 1975-10-21 Ibm Capstan motor having a ceramic output shaft and an adhesively attached capstan
US4496287A (en) * 1980-02-14 1985-01-29 Robert M. Nelson Sensors for detection of fluid condition, and control systems utilizing their signals
JP3598586B2 (ja) * 1995-06-06 2004-12-08 株式会社デンソー 車両用交流発電機
JP4211200B2 (ja) 2000-06-12 2009-01-21 株式会社デンソー 磁石併用同期機
JP3830779B2 (ja) * 2001-06-27 2006-10-11 株式会社日立製作所 車両用交流発電機
US7168480B2 (en) * 2004-04-29 2007-01-30 Los Alamos National Security, Llc Off-axis cooling of rotating devices using a crank-shaped heat pipe
JP4291235B2 (ja) * 2004-08-20 2009-07-08 株式会社日立製作所 車両用電源装置
CN202586695U (zh) * 2012-02-16 2012-12-05 合肥环洋电气有限公司 一种无刷混合励磁式的爪极发电机
US20140183988A1 (en) * 2012-12-31 2014-07-03 Teco-Westinghouse Motor Company Assemblies For Cooling Electric Machines
JP6166926B2 (ja) * 2013-03-26 2017-07-19 山洋電気株式会社 リニアモータ
JP2016112287A (ja) 2014-12-17 2016-06-23 株式会社アサヒ製作所 乾燥機

Patent Citations (2)

* Cited by examiner, † Cited by third party
Publication number Priority date Publication date Assignee Title
JPH0998556A (ja) * 1995-10-03 1997-04-08 Hitachi Ltd 車両用交流発電機
JP2009148057A (ja) * 2007-12-13 2009-07-02 Denso Corp 車両用交流発電機

Also Published As

Publication number Publication date
JP6641600B2 (ja) 2020-02-05
US20190123603A1 (en) 2019-04-25
CN109314416A (zh) 2019-02-05
JP2017220989A (ja) 2017-12-14
DE112017002801T5 (de) 2019-02-28

Similar Documents

Publication Publication Date Title
JP6597705B2 (ja) 回転電機
USRE43055E1 (en) Permanent magnet type generator
CN105229905B (zh) 旋转电机
US6882081B2 (en) Rotor for rotary electric rotor
JP2008029124A (ja) 車両用回転電機の回転子とその製造方法
WO2010052794A1 (ja) 回転電機およびその回転子の製造方法
US8115362B2 (en) Rotating electric machine having fusion bonded stator core blocks
JP6641601B2 (ja) 回転電機用回転子
JP3663958B2 (ja) 車両用交流発電機
WO2017209247A1 (ja) 回転電機の回転子
JP2009171699A (ja) モータ
JP2000184643A (ja) ホイールインモータのアウターロータ
JP4879708B2 (ja) 回転電機
CN110417156B (zh) 旋转电机
JP4556408B2 (ja) クローポール形回転機
JP6305608B1 (ja) 車両用回転電機
US20170353074A1 (en) Rotor for rotating electric machine
US20050116581A1 (en) Rotor for dynamo-electric machine
JP6061832B2 (ja) 回転電機およびその製造方法
KR20220090459A (ko) 외부 여기식 전기 기계
JP2010035251A (ja) 車両用回転電機
JP6425081B2 (ja) 回転電機の回転子
US10840786B2 (en) Rotary electric machine having magnetic flux supplied from a field coil
JP6634960B2 (ja) 回転電機の回転子
JP4607823B2 (ja) 交流回転電機

Legal Events

Date Code Title Description
121 Ep: the epo has been informed by wipo that ep was designated in this application

Ref document number: 17806797

Country of ref document: EP

Kind code of ref document: A1

122 Ep: pct application non-entry in european phase

Ref document number: 17806797

Country of ref document: EP

Kind code of ref document: A1