WO2017199763A1 - Communication device and communication system - Google Patents

Communication device and communication system Download PDF

Info

Publication number
WO2017199763A1
WO2017199763A1 PCT/JP2017/017224 JP2017017224W WO2017199763A1 WO 2017199763 A1 WO2017199763 A1 WO 2017199763A1 JP 2017017224 W JP2017017224 W JP 2017017224W WO 2017199763 A1 WO2017199763 A1 WO 2017199763A1
Authority
WO
WIPO (PCT)
Prior art keywords
parity bit
data
parity
calculated
communication device
Prior art date
Legal status (The legal status is an assumption and is not a legal conclusion. Google has not performed a legal analysis and makes no representation as to the accuracy of the status listed.)
Ceased
Application number
PCT/JP2017/017224
Other languages
English (en)
French (fr)
Inventor
Hiroo Takahashi
Takashi Yokokawa
Sonfun Lee
Naohiro Koshisaka
Current Assignee (The listed assignees may be inaccurate. Google has not performed a legal analysis and makes no representation or warranty as to the accuracy of the list.)
Sony Semiconductor Solutions Corp
Original Assignee
Sony Semiconductor Solutions Corp
Priority date (The priority date is an assumption and is not a legal conclusion. Google has not performed a legal analysis and makes no representation as to the accuracy of the date listed.)
Filing date
Publication date
Application filed by Sony Semiconductor Solutions Corp filed Critical Sony Semiconductor Solutions Corp
Priority to CN201780029045.3A priority Critical patent/CN109074294B/zh
Priority to SG11201808956YA priority patent/SG11201808956YA/en
Priority to EP17729204.2A priority patent/EP3458962B1/en
Priority to US16/099,306 priority patent/US10721022B2/en
Publication of WO2017199763A1 publication Critical patent/WO2017199763A1/en
Anticipated expiration legal-status Critical
Ceased legal-status Critical Current

Links

Images

Classifications

    • GPHYSICS
    • G06COMPUTING OR CALCULATING; COUNTING
    • G06FELECTRIC DIGITAL DATA PROCESSING
    • G06F11/00Error detection; Error correction; Monitoring
    • G06F11/07Responding to the occurrence of a fault, e.g. fault tolerance
    • G06F11/08Error detection or correction by redundancy in data representation, e.g. by using checking codes
    • G06F11/10Adding special bits or symbols to the coded information, e.g. parity check, casting out 9's or 11's
    • G06F11/1008Adding special bits or symbols to the coded information, e.g. parity check, casting out 9's or 11's in individual solid state devices
    • G06F11/1012Adding special bits or symbols to the coded information, e.g. parity check, casting out 9's or 11's in individual solid state devices using codes or arrangements adapted for a specific type of error
    • G06F11/1032Simple parity
    • HELECTRICITY
    • H04ELECTRIC COMMUNICATION TECHNIQUE
    • H04LTRANSMISSION OF DIGITAL INFORMATION, e.g. TELEGRAPHIC COMMUNICATION
    • H04L1/00Arrangements for detecting or preventing errors in the information received
    • H04L1/004Arrangements for detecting or preventing errors in the information received by using forward error control
    • H04L1/0056Systems characterized by the type of code used
    • H04L1/0061Error detection codes
    • HELECTRICITY
    • H04ELECTRIC COMMUNICATION TECHNIQUE
    • H04LTRANSMISSION OF DIGITAL INFORMATION, e.g. TELEGRAPHIC COMMUNICATION
    • H04L1/00Arrangements for detecting or preventing errors in the information received
    • H04L1/08Arrangements for detecting or preventing errors in the information received by repeating transmission, e.g. Verdan system

Definitions

  • the present disclosure relates to a communication apparatus, a communication method, a program, and a communication system, and more specifically relates to a communication apparatus, a communication method, a program, and a communication system which are capable of performing communication more reliably.
  • bus interface used for communication between a plurality of devices through a bus in a board mounting the devices
  • I2C Inter-Integrated Circuit
  • I3C Inter Integrated Circuit
  • a master and a slave can perform communication bidirectionally using two signal lines, and, for example, data transfer from the master to the slave (write transfer) and data transfer from the slave to the master (read transfer) are performed.
  • Patent Literature 1 discloses a digital data processing system in which a host processor and a subsystem controller are interconnected by an I2C.
  • Patent Literature 2 discloses a method for implementing a communication protocol arranged in layers on the standard I2C protocol.
  • I3C it is defined that, for example, a master and a slave perform error detection by parity, cyclic redundancy check (CRC), or the like, but a signal for which the error detection is not prepared is also transmitted/received.
  • CRC cyclic redundancy check
  • the I3C is sometimes in a state in which both of the master and the slave do not drive a data signal line.
  • the present disclosure has been made in view of such a situation, and is to perform communication more reliably.
  • a communication apparatus of a first aspect of the present disclosure includes a transmission/reception unit which transmits/receives a signal to/from another communication apparatus, and an error detection unit which detects error occurrence by performing parity check to data received by the transmission/reception unit, in which the error detection unit performs error detection assuming one bit of 2-bit parity included in the data as even parity, and the other bit as odd parity.
  • a communication method or a program of the first aspect of the present disclosure includes transmitting/receiving a signal to/from another communication apparatus, detecting error occurrence by performing parity check to received data, and performing error detection assuming one bit of 2-bit parity included in the data as even parity, and the other bit as odd parity.
  • the error occurrence is detected by transmitting/receiving a signal to/from the other communication apparatus, and performing parity check to received data. Then, the error detection is performed assuming one bit of 2-bit parity included in the data as even parity, and the other bit as odd parity.
  • a communication system of a second aspect of the present disclosure includes a first communication apparatus which has control initiative in a bus, and a second communication apparatus which performs communication according to control by the first communication apparatus, in which the first communication apparatus and the second communication apparatus each include a transmission/reception unit which transmits/receives a signal, and an error detection unit which detects error occurrence by performing parity check to data received by the transmission/reception unit, and the error detection unit performs error detection assuming one bit of 2-bit parity included in the data as even parity, and the other bit as odd parity.
  • the error occurrence is detected by transmitting/receiving a signal, and performing parity check to received data. Then, the error detection is performed assuming one bit of 2-bit parity included in the data as even parity, and the other bit as odd parity.
  • Fig. 1 is a block diagram illustrating a configuration example of an embodiment of a bus IF to which the present technology is applied.
  • Fig. 2 is a diagram explaining an error which occurs in a preamble.
  • Fig. 3A is a diagram explaining error detection by parity.
  • Fig. 3B is a diagram explaining error detection by parity.
  • Fig. 3C is a diagram explaining error detection by parity.
  • Fig. 4A is a diagram explaining error detection by parity.
  • Fig. 4B is a diagram explaining error detection by parity.
  • Fig. 5 is a diagram illustrating a first configuration example of a parity error detector.
  • Fig. 6 is a flowchart explaining communication processing in a DDR mode of a master.
  • Fig. 6 is a flowchart explaining communication processing in a DDR mode of a master.
  • Fig. 6 is a flowchart explaining communication processing in a DDR mode of a master.
  • Fig. 6 is
  • FIG. 7A is a diagram explaining error detection by parity.
  • Fig. 7B is a diagram explaining error detection by parity.
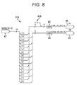
  • Fig. 8 is a diagram illustrating a second configuration example of a parity error detector.
  • Fig. 9 is a block diagram illustrating a configuration example of an embodiment of a computer to which the present technology is applied.
  • Fig. 1 is a block diagram illustrating a configuration example of an embodiment of a bus IF to which the present technology is applied.
  • a bus IF 11 illustrated in Fig. 1 is configured by connecting a master 12 with three slaves 13-1 to 13-3 through a data signal line 14-1 and a clock signal line 14-2.
  • the master 12 has the control initiative in the bus IF 11, and can communicate with the slaves 13-1 to 13-3 through the data signal line 14-1 and the clock signal line 14-2.
  • the slaves 13-1 to 13-3 can communicate with the master 12 through the data signal line 14-1 and the clock signal line 14-2 according to the control by the master 12.
  • the slaves 13-1 to 13-3 are configured similarly to each other, and are, hereinafter, simply referred to as the slave 13 unless they need to be distinguished, and which is similarly apply to each block included in the slave 13.
  • the data signal line 14-1 and the clock signal line 14-2 are used to transmit a signal between the master 12 and the slave 13.
  • serial data SDA
  • SCL serial clock
  • a plurality of transmission systems having different communication speed is defined in compliance with the I3C standard, and the master 12 can switch these transmission systems.
  • SDR Standard Data Rate
  • HDR High Data Rate
  • a Standard Data Rate (SDR) mode in which data communication is performed at a normal transfer rate
  • HDR High Data Rate
  • DDR Double Data Rate
  • TSP Ternary Symbol Pure-Bus
  • TTL Ternary Symbol Legacy-inclusive-Bus
  • the master 12 includes a transmission/reception unit 21, an error detection unit 22, a confirmation signal detection unit 23, and a conflict avoidance unit 24.
  • the transmission/reception unit 21 transmits/receives a signal to/from the slave 13 through the data signal line 14-1 and the clock signal line 14-2.
  • the transmission/reception unit 21 transmits a signal to the slave 13 by driving the data signal line 14-1 (switching electric potential to an H level or an L level) according to the timing of the serial clock transmitted by driving the clock signal line 14-2.
  • the transmission/reception unit 21 receives a signal transmitted from the slave 13 by driving the data signal line 14-1 according to the timing of the serial clock of the clock signal line 14-2 by the slave 13.
  • the master 12 drives the clock signal line 14-2 at all times
  • the transmission/reception unit 21 adds parity to be described later to data to be transmitted to the slave 13, and performs the transmission.
  • the error detection unit 22 detects an error occurring in the signal received by the transmission/reception unit 21.
  • the error detection unit 22 can detect the error by performing parity check or cyclic redundancy check (CRC) to the signal received by the transmission/reception unit 21, or checking a token issued when a transmission right is changed from the slave 13 to the master 12. Then, when detecting that an error occurs in the signal received by the transmission/reception unit 21, the error detection unit 22 can instruct, for example, the transmission/reception unit 21 to restart the communication with the slave 13.
  • CRC parity check
  • CRC cyclic redundancy check
  • the confirmation signal detection unit 23 confirms whether the slave 13 has succeeded in receiving a command, data, or the like by detecting an acknowledgement signal (ACK) or a negative acknowledgement signal (NACK) transmitted from the slave 13 which has received the signal transmitted from the transmission/reception unit 21.
  • ACK acknowledgement signal
  • NACK negative acknowledgement signal
  • the slave 13 transmits the ACK to the master 12 when the slave 13 has succeeded in receiving a command, data, or the like with no error in the signal.
  • the slave 13 transmits the NACK to the master 12 when an error occurs in the signal and the slave 13 has failed to receive a command, data, or the like.
  • the confirmation signal detection unit 23 can confirm that the slave 13 has succeeded in receiving a command, data, or the like transmitted from the master 12 when detecting the ACK transmitted from the slave 13.
  • the confirmation signal detection unit 23 can confirm that the slave 13 has failed to receive a command, data, or the like transmitted from the master 12 when detecting the NACK transmitted from the slave 13.
  • the conflict avoidance unit 24 instructs the transmission/reception unit 21 to transmit an abort signal for instructing that the communication be interrupted halfway after the predetermined number of bits following the NACK is ignored.
  • the conflict avoidance unit 24 can thereby avoid a conflict from occurring by, for example, the read data transmitted from the slave 13 and an HDR end command transmitted from the master 12. Note that, in order to perform master abort reliably, the master 12 drives the second bit of a preamble to be transmitted/received after the read data at all times.
  • the conflict avoidance unit 24 instructs the transmission/reception unit 21 to transmit an abort signal for instructing that the communication be interrupted halfway after transmitting a clock according to the number of bits corresponding to the difference between the CRC word and the read data following the preamble.
  • the conflict avoidance unit 24 can thereby avoid a conflict from occurring by, for example, the read data transmitted from the slave 13 and an HDR end command transmitted from the master 12.
  • the slave 13 includes a transmission/reception unit 31 and an error detection unit 32.
  • the transmission/reception unit 31 transmits/receives a signal to/from the master 12 through the data signal line 14-1 and the clock signal line 14-2.
  • the transmission/reception unit 31 receives a signal transmitted from the master 12 by driving the data signal line 14-1 according to the timing of a serial clock of the clock signal line 14-2 by the master 12.
  • the transmission/reception unit 31 transmits a signal to the master 12 by driving the data signal line 14-1 according to the timing of the serial clock of the clock signal line 14-2.
  • the transmission/reception unit 31 adds parity to be described later to data to be transmitted to the master 12, and performs the transmission.
  • the error detection unit 32 detects, similarly to the error detection unit 22 of the master 12, an error occurring in the signal received by the transmission/reception unit 31. Then, when no error occurs in the signal received by the transmission/reception unit 31, the error detection unit 32 transmits an ACK informing that the reception of a command, data, or the like transmitted by the signal has succeeded from the transmission/reception unit 31 to the master 12. On the other hand, when an error occurs in the signal received by the transmission/reception unit 31, the error detection unit 32 transmits a NACK informing that the reception of a command, data, or the like transmitted by the signal has failed from the transmission/reception unit 31 to the master 12.
  • the error detection unit 32 ignores all the communication thereafter, stops the response to the master 12, and causes the slave 13 to be in a standby state.
  • the bus IF 11 is configured as described above, and the master 12 and the slave 13 can transmit/receive a signal through the data signal line 14-1 and the clock signal line 14-2.
  • a type of the data to be transmitted next is specified using a 2-bit signal called a preamble in the DDR mode.
  • a preamble in the DDR mode.
  • the error detection by the parity or the CRC for the preamble is not prepared, when an error occurs in the preamble, it is difficult to detect the error.
  • the master 12 when the master 12 transmits a read command to the slave 13, the first bit of the preamble transmitted following the read command is driven by the master 12, and the second bit is driven by the slave 13.
  • the master 12 specifies, by the first bit, that data is to be transmitted following the read command, and the slave 13 can transmit, by the second bit, whether the reception of the read command has succeeded.
  • the slave 13 transmits the ACK indicating that the reception of the read command has succeeded by driving the second bit of the preamble following the read command to 0, and transmits the NACK indicating that the reception of the read command has failed by driving the second bit to 1.
  • both of the master 12 and the slave 13 become a state for not driving the data signal line 14-1.
  • the error detection unit 22 of the master 12 can detect, by using a parity bit included in read data transmitted from the slave 13, an error which occurs in the read data. For example, as illustrated in Fig. 3A, the error detection unit 22 can detect whether an error occurs in data on the basis of a parity bit P1 calculated from odd bits of the data and a parity bit P0 calculated from even bits of the data. For example, normally, the parity bit P1 is set so as to take 0 when the logical disjunction of the odd bits of the data is even, and the parity bit P0 is set so as to take 0 when the logical disjunction of the even bits of the data is even.
  • the error detection unit 22 of the master 12 is set so that the parity bit P1 is to be the even parity which takes 0 when the logical disjunction of the odd bits of the data is even, and the parity bit P0 is to be the odd parity which takes 0 when the logical disjunction of the even bits of the data is odd.
  • the error detection unit 32 of the slave 13 is configured similarly. Then, the data is transmitted after parity to be described below is attached by the transmission/reception unit 21 and the transmission/reception unit 31.
  • the parity bit P1 is to be 0, and the parity bit P0 is to be 1.
  • the parity bit P1 is to be 0, and the parity bit P0 is to be 1.
  • the error detection unit 22 of the master 12 includes a parity error detector 41 illustrated in Fig. 5.
  • the parity error detector 41 includes an input terminal 42, XOR gates 43 and 44, a one-bit addition unit 45, and output terminals 46 and 47.
  • serial data supplied through the data signal line 14-1 is input. Then, the input terminal 42 is connected to the XOR gates 43 and 44 so that the odd bits of the serial data are supplied to the XOR gate 43, and the even bits of the serial data are supplied to the XOR gate 44.
  • the parity error detector 41 1 bit of value 1 is added to the XOR gate 44 from the one-bit addition unit 45. Accordingly, the parity error detector 41 is configured so that the parity bit P1 output from the output terminal 46 is to take 0 when the logical disjunction of the odd bits of the data is even, and the parity bit P0 output from the output terminal 47 is to take 0 when the logical disjunction of the odd bits of the data is odd.
  • the parity error detector 41 configured in this manner can detect that the data has not been received correctly when, for example, neither the master 12 nor the slave 13 drives the data signal line 14-1 while the data signal line 14-1 is not being kept at the H level (that is, while the data signal line 14-1 is being at the L level). In other words, although all the received signals are to be 0 in this case, since the parity bit P1 is to be 0 and the parity bit P0 is to be 1, an error can be detected from the fact that the parity bits are not matched (see Fig. 4A).
  • the parity error detector 41 can detect that the data has not been received correctly when, for example, neither the master 12 nor the slave 13 drives the data signal line 14-1 while the data signal line 14-1 is being kept at the H level. In other words, although all the received signals are to be 1 in this case, since the parity bit P1 is to be 0 and the parity bit P0 is to be 1, an error can be detected from the fact that the parity bits are not matched (see Fig. 4B).
  • the parity error detector 41 can detect an error early considering the case in which, for example, the master 12 continues to keep the data signal line 14-1 at the H level. In other words, when the master 12 continues to keep the data signal line 14-1 at the H level, all bits of the data are to be 1, and it is possible to detect an error early from the fact that the parity bit P1 is to be 0.
  • Fig. 6 is a flowchart explaining communication processing in which the master 12 reads data from the slave 13 in the DDR mode which is one of the HDR mode (DDR Read).
  • step S11 the master 12 performs processing to switch communication from the SDR mode to the HDR mode.
  • the transmission/reception unit 21 transmits a common command code (ENTHDR CCC (0x20)) for entering the HDR mode.
  • ENTHDR CCC (0x20)
  • step S12 the transmission/reception unit 21 of the master 12 drives the data signal line 14-1 and the clock signal line 14-2, and transmits the read command.
  • step S13 the transmission/reception unit 21 detects the value of the second bit of the preamble after the read command is transmitted, and determines whether the slave 13 has transmitted the ACK or the NACK. In other words, when detecting that the second bit of the preamble after the read command is transmitted is 0, the transmission/reception unit 21 determines that the slave 13 has transmitted the ACK. On the other hand, when detecting that the second bit of the preamble after the read command is transmitted is 1, the transmission/reception unit 21 determines that the slave 13 has transmitted the NACK.
  • step S13 When the transmission/reception unit 21 determines that the slave 13 has transmitted the ACK in step S13, the processing proceeds to step S14.
  • step S14 the transmission/reception unit 21 receives the read data transmitted from the slave 13.
  • step S15 the error detection unit 22 performs the parity check to the data received by the transmission/reception unit 21 in step S14, and determines whether an error occurs in the data.
  • the parity bit P1 takes 0 when the logical disjunction of the odd-numbered bits of the data is even, and the parity bit P1 takes 0 when the logical disjunction of the even-numbered bits of the data is odd.
  • step S15 the processing proceeds to step S16, and the transmission/reception unit 21 receives the preamble following the data.
  • step S17 the transmission/reception unit 21 determines whether the preamble received in step S16 specifies the data or the CRC word to be transmitted next.
  • step S17 When the transmission/reception unit 21 determines that the data is to be transmitted next in step S17, the processing proceeds to step S18. Then, after the transmission/reception unit 21 receives the read data, the processing returns back to step S15, and similar processing is repeated thereafter.
  • step S17 when the transmission/reception unit 21 determines that the CRC word is to be transmitted next in step S17, the processing proceeds to step S19, and the transmission/reception unit 21 receives the CRC word.
  • step S19 the processing proceeds to step S22.
  • step S20 the processing proceeds to step S20.
  • step S21 the transmission/reception unit 21 transmits the abort signal for instructing the slave 13 to suspend the processing, and the processing proceeds to step S22.
  • step S22 the transmission/reception unit 21 transmits an HDR end command, and communication processing in which the master 12 reads the data from the slave 13 in the DDR mode (DDR Read) is thereby terminated.
  • the master 12 determines that an ACK is received, it is possible to detect that the received date is not correct by performing the parity check by the error detection unit 22 although the ACK is a 1-bit error of a NACK and the data signal line 14-1 is not being driven. The master 12 thereby accurately determines whether the received data is correct or whether the data signal line 14-1 is not being driven, and can reliably perform communication.
  • the parity error detector 41 described above with reference to Figs. 4A, 4B and 5 is configured so that the parity bit P1 takes 0 when the logical disjunction of the odd bits of the data is even and the parity bit P0 takes 0 when the logical disjunction of the even bits of the data is odd.
  • a parity error detector 41A is configured so that the parity bit P1 takes 1 when the logical disjunction of the odd bits of the data is even and the parity bit P0 takes 1 when the logical disjunction of the even bits of the data is odd.
  • the parity error detector 41A configured in this manner can detect that the data has not been received correctly when, for example, neither the master 12 nor the slave 13 drives the data signal line 14-1 while the data signal line 14-1 is not being kept at the H level (that is, while the data signal line 14-1 is being at the L level).
  • the parity bit P1 is to be 1 and the parity bit P0 is to be 0, an error can be detected from the fact that the parity bits are not matched.
  • the parity error detector 41A can detect that the data has not been received correctly when, for example, neither the master 12 nor the slave 13 drives the data signal line 14-1 while the data signal line 14-1 is being kept at the H level.
  • the parity bit P1 is to be 1 and the parity bit P0 is to be 0, an error can be detected from the fact that the parity bits are not matched.
  • the present technology is not limited to the bus IF 11 in compliance with the I3C standard, and can be applied to the bus IF 11 in compliance with other standards.
  • the bus IF 11 has been connected with the slaves 13-1 to 13-3 in the configuration example illustrated in Fig. 1, the number of the slaves 13 may be, for example, one, two, or three.
  • each processing described above with reference to the flowchart is not necessarily performed in the order described as the flowchart in time series, and processing performed in parallel or independently (for example, parallel processing or a processing object) is included.
  • the program may be executed by one CPU or a plurality of CPUs.
  • a system means an entire apparatus including a plurality of apparatuses.
  • the above described series of processing may be performed by hardware or software.
  • a program constituting the software is installed, from a program recording medium recording the program, in a computer embedded in dedicated hardware or a general-purpose personal computer capable of performing various functions by installing various programs.
  • Fig. 9 is a block diagram illustrating a hardware configuration example of a computer which performs the above described series of processing by a program.
  • a central processing unit (CPU)101, a read-only memory (ROM) 102, a random-access memory (RAM) 103, and an electronically erasable and programmable read only memory (EEPROM) 104 are connected with each other by a bus 105.
  • the bus 105 is further connected with an input/output interface 106, and the input/output interface 106 is connected externally (for example, to the data signal line 14-1 and the clock signal line 14-2 of Fig. 1).
  • the CPU 101 loads and executes the program stored in, for example, the ROM 102 or the EEPROM 104 into the RAM 103 through the bus 105, and the above described series of processing is thereby performed. Furthermore, the program to be executed by the computer (CPU 101) can be not only written in the ROM 102 in advance, but also installed in the EEPROM 104 through the input/output interface 106 or updated externally.
  • a communication apparatus includes: a transmission/reception unit which transmits/receives a signal to/from another communication apparatus; and an error detection unit which detects error occurrence by performing parity check to data received by the transmission/reception unit, in which the error detection unit performs error detection assuming one bit of 2-bit parity included in the data as even parity, and the other bit as odd parity.
  • the communication apparatus according to (1) in which the error detection unit assumes parity calculated from odd-numbered bits of the data received by the transmission/reception unit as even parity, and parity calculated from even-numbered bits as odd parity.
  • the communication apparatus further includes: an error detection unit which detects error occurrence by receiving, by the transmission/reception unit, a preamble specifying a type of data to be transmitted next and comparing a bit sequence of a signal received following the preamble with a bit sequence to be transmitted in the transmission type specified by the preamble; and a conflict avoidance unit which instructs, when the error detection unit detects the error occurrence, the transmission/reception unit to transmit an abort signal for instructing that communication be interrupted halfway after a clock according to the predetermined number of bits is transmitted following the preamble.
  • the communication apparatus further includes: a confirmation signal detection unit which detects either of an acknowledgement signal or a negative acknowledgement signal to be transmitted from the other communication apparatus which has received the signal transmitted from the transmission/reception unit; and a conflict avoidance unit which instructs, when the confirmation signal detection unit detects the negative acknowledgement signal, the transmission/reception unit to transmit an abort signal for instructing that communication be interrupted halfway after the predetermined number of bits following the negative acknowledgement signal is ignored.
  • the communication apparatus according to any of (1) to (8), in which the transmission/reception unit receives read data read from the other communication apparatus, and drives a second bit of a preamble to be transmitted/received after the read data at all times.
  • the communication apparatus in which the transmission/reception unit is capable of transmitting/receiving a signal in a standard data rate (SDR) mode in which data communication is performed at a normal transfer rate, and in a high data rate (HDR) mode in which data communication is performed at a higher transfer rate than the SDR mode.
  • SDR standard data rate
  • HDR high data rate
  • the transmission/reception unit performs communication through two signal lines of a data signal line which sequentially transmits serial data bit by bit and a clock signal line which transmits a serial clock having a predetermined frequency.
  • a communication method includes: transmitting/receiving a signal to/from another communication apparatus; detecting error occurrence by performing parity check to received data; and performing error detection assuming one bit of 2-bit parity included in the data as even parity and the other bit as odd parity.
  • a program causes a computer to perform communication processing including: transmitting/receiving a signal to/from another communication apparatus; detecting error occurrence by performing parity check to received data; and performing error detection assuming one bit of 2-bit parity included in the data as even parity and the other bit as odd parity.
  • a communication system includes: a first communication apparatus which has control initiative in a bus; and a second communication apparatus which performs communication according to control by the first communication apparatus, in which the first communication apparatus and the second communication apparatus each include a transmission/reception unit which transmits/receives a signal, and an error detection unit which detects error occurrence by performing parity check to data received by the transmission/reception unit, and the error detection unit performs error detection assuming one bit of 2-bit parity included in the data as even parity, and the other bit as odd parity.

Landscapes

  • Engineering & Computer Science (AREA)
  • Theoretical Computer Science (AREA)
  • Signal Processing (AREA)
  • Computer Networks & Wireless Communication (AREA)
  • General Engineering & Computer Science (AREA)
  • General Physics & Mathematics (AREA)
  • Physics & Mathematics (AREA)
  • Quality & Reliability (AREA)
  • Information Transfer Systems (AREA)
  • Detection And Prevention Of Errors In Transmission (AREA)
  • Detection And Correction Of Errors (AREA)
  • Bus Control (AREA)
  • Stereo-Broadcasting Methods (AREA)
  • Reduction Or Emphasis Of Bandwidth Of Signals (AREA)
  • Error Detection And Correction (AREA)
PCT/JP2017/017224 2016-05-18 2017-05-02 Communication device and communication system Ceased WO2017199763A1 (en)

Priority Applications (4)

Application Number Priority Date Filing Date Title
CN201780029045.3A CN109074294B (zh) 2016-05-18 2017-05-02 通信装置和通信系统
SG11201808956YA SG11201808956YA (en) 2016-05-18 2017-05-02 Communication device and communication system
EP17729204.2A EP3458962B1 (en) 2016-05-18 2017-05-02 Communication device and communication system
US16/099,306 US10721022B2 (en) 2016-05-18 2017-05-02 Communication apparatus, communication method, program, and communication system

Applications Claiming Priority (2)

Application Number Priority Date Filing Date Title
JP2016-099930 2016-05-18
JP2016099930A JP6971538B2 (ja) 2016-05-18 2016-05-18 通信装置、通信方法、プログラム、および、通信システム

Publications (1)

Publication Number Publication Date
WO2017199763A1 true WO2017199763A1 (en) 2017-11-23

Family

ID=59034818

Family Applications (1)

Application Number Title Priority Date Filing Date
PCT/JP2017/017224 Ceased WO2017199763A1 (en) 2016-05-18 2017-05-02 Communication device and communication system

Country Status (7)

Country Link
US (1) US10721022B2 (enExample)
EP (1) EP3458962B1 (enExample)
JP (1) JP6971538B2 (enExample)
CN (1) CN109074294B (enExample)
SG (1) SG11201808956YA (enExample)
TW (1) TWI771299B (enExample)
WO (1) WO2017199763A1 (enExample)

Cited By (2)

* Cited by examiner, † Cited by third party
Publication number Priority date Publication date Assignee Title
CN109144913A (zh) * 2018-09-29 2019-01-04 联想(北京)有限公司 一种数据处理方法、系统及电子设备
CN116243148A (zh) * 2023-02-22 2023-06-09 成都电科星拓科技有限公司 一种针对芯片i3c协议的调试和验证架构

Families Citing this family (4)

* Cited by examiner, † Cited by third party
Publication number Priority date Publication date Assignee Title
JP6828271B2 (ja) * 2016-05-18 2021-02-10 ソニー株式会社 通信装置、通信方法、プログラム、および、通信システム
JP6786871B2 (ja) 2016-05-18 2020-11-18 ソニー株式会社 通信装置、通信方法、プログラム、および、通信システム
US20200220571A1 (en) * 2019-01-04 2020-07-09 Qorvo Us, Inc. Apparatus supporting multi-radio coexistence
US12360938B2 (en) * 2021-03-09 2025-07-15 Intel Corporation Selection of communication protocol for management bus

Citations (5)

* Cited by examiner, † Cited by third party
Publication number Priority date Publication date Assignee Title
US5453999A (en) * 1994-04-26 1995-09-26 Unisys Corporation Address verification system using parity for transmitting and receiving circuits
US5566193A (en) * 1994-12-30 1996-10-15 Lucent Technologies Inc. Method and apparatus for detecting and preventing the communication of bit errors on a high performance serial data link
JP2000099448A (ja) 1998-06-30 2000-04-07 Sun Microsyst Inc ディジタル・デ―タ処理システムにおいて複数のホスト・コンピュ―タ間で記憶サブシステムなどの資源の共用を容易にするためのシステムおよび方法。
JP2002175269A (ja) 2000-09-29 2002-06-21 Lucent Technol Inc I2cバス用拡張ブリッジ装置および方法
US7865805B1 (en) * 2007-02-26 2011-01-04 Lockheed Martin Corporation Multiple bit upset insensitive error detection and correction circuit for field programmable gate array based on static random access memory blocks

Family Cites Families (27)

* Cited by examiner, † Cited by third party
Publication number Priority date Publication date Assignee Title
US4621323A (en) * 1983-03-28 1986-11-04 Digital Equipment Corporation Message transmission circuitry
JPS63131738A (ja) * 1986-11-21 1988-06-03 Hitachi Seiko Ltd パリテイチエツク方式
JPH06161793A (ja) * 1992-11-18 1994-06-10 Fujitsu Ltd パリティエラ発生時の対処装置
US5465262A (en) * 1994-01-28 1995-11-07 International Business Machines Corporation Method and structure for providing error correction code and automatic parity sensing
US5835511A (en) * 1996-05-17 1998-11-10 Advanced Micro Devices, Inc. Method and mechanism for checking integrity of byte enable signals
JPH10334044A (ja) * 1997-06-03 1998-12-18 Oki Electric Ind Co Ltd シリアルインタフェース方法
JP4047498B2 (ja) * 1999-08-25 2008-02-13 株式会社東芝 データ処理装置
US6543023B2 (en) * 2001-02-05 2003-04-01 Agere Systems Inc. Parity-check coding for efficient processing of decoder error events in data storage, communication and other systems
US7519005B2 (en) * 2002-05-08 2009-04-14 Semtech Corp. Single-wire communication bus for miniature low-power systems
JP2005084791A (ja) * 2003-09-05 2005-03-31 Alpine Electronics Inc データ通信方法
US7356681B2 (en) * 2004-03-05 2008-04-08 Finisar Corporation Transient transceiver clock configuration
US7325155B2 (en) * 2004-09-14 2008-01-29 Seagate Technology Llc Embedded system with reduced susceptibility to single event upset effects
US7634694B2 (en) * 2004-10-15 2009-12-15 Standard Microsystems Corporation Selective scrambler for use in a communication system and method to minimize bit error at the receiver
US7478286B2 (en) * 2005-04-08 2009-01-13 Linear Technology Corporation Circuit and method of detecting and resolving stuck I2C buses
US7596743B2 (en) * 2005-09-28 2009-09-29 Ati Technologies Inc. Method and apparatus for error management
US20070113162A1 (en) * 2005-10-26 2007-05-17 Lery Scott A Error code for wireless remote control device and method
CN100458722C (zh) * 2005-12-12 2009-02-04 深圳艾科创新微电子有限公司 一种通过pc对i2c接口器件进行调试的系统及方法
US7694211B2 (en) * 2006-08-21 2010-04-06 Agere Systems, Inc. Method and apparatus for error compensation
JP5507813B2 (ja) * 2007-02-16 2014-05-28 パナソニック株式会社 送信装置及び受信装置
JP5354979B2 (ja) * 2007-07-12 2013-11-27 パナソニック株式会社 低密度パリティ検査畳み込み符号(ldpc−cc)符号化器及びldpc−cc復号器
US20100268897A1 (en) * 2009-04-16 2010-10-21 Keishi Okamoto Memory device and memory device controller
US8239745B2 (en) * 2009-06-02 2012-08-07 Freescale Semiconductor, Inc. Parity data encoder for serial communication
JP5724877B2 (ja) * 2009-10-21 2015-05-27 日本電気株式会社 パリティ制御システム及び方法、並びに通信システム及び方法
US8194480B2 (en) * 2009-11-19 2012-06-05 Himax Technologies Limited Method for initializing memory device
US9389953B2 (en) * 2013-03-04 2016-07-12 Samsung Electronics Co., Ltd. Semiconductor memory device and system conducting parity check and operating method of semiconductor memory device
US9658921B2 (en) * 2013-10-31 2017-05-23 Samsung Display Co., Ltd. Maximal transition hamming codes
US10007628B2 (en) * 2014-06-18 2018-06-26 Qualcomm Incorporated Dynamically adjustable multi-line bus shared by multi-protocol devices

Patent Citations (5)

* Cited by examiner, † Cited by third party
Publication number Priority date Publication date Assignee Title
US5453999A (en) * 1994-04-26 1995-09-26 Unisys Corporation Address verification system using parity for transmitting and receiving circuits
US5566193A (en) * 1994-12-30 1996-10-15 Lucent Technologies Inc. Method and apparatus for detecting and preventing the communication of bit errors on a high performance serial data link
JP2000099448A (ja) 1998-06-30 2000-04-07 Sun Microsyst Inc ディジタル・デ―タ処理システムにおいて複数のホスト・コンピュ―タ間で記憶サブシステムなどの資源の共用を容易にするためのシステムおよび方法。
JP2002175269A (ja) 2000-09-29 2002-06-21 Lucent Technol Inc I2cバス用拡張ブリッジ装置および方法
US7865805B1 (en) * 2007-02-26 2011-01-04 Lockheed Martin Corporation Multiple bit upset insensitive error detection and correction circuit for field programmable gate array based on static random access memory blocks

Cited By (3)

* Cited by examiner, † Cited by third party
Publication number Priority date Publication date Assignee Title
CN109144913A (zh) * 2018-09-29 2019-01-04 联想(北京)有限公司 一种数据处理方法、系统及电子设备
CN116243148A (zh) * 2023-02-22 2023-06-09 成都电科星拓科技有限公司 一种针对芯片i3c协议的调试和验证架构
CN116243148B (zh) * 2023-02-22 2024-03-15 成都电科星拓科技有限公司 一种针对芯片i3c协议的调试和验证架构

Also Published As

Publication number Publication date
CN109074294B (zh) 2023-03-10
JP6971538B2 (ja) 2021-11-24
EP3458962B1 (en) 2021-04-14
US10721022B2 (en) 2020-07-21
TWI771299B (zh) 2022-07-21
US20190215100A1 (en) 2019-07-11
TW201741891A (zh) 2017-12-01
EP3458962A1 (en) 2019-03-27
SG11201808956YA (en) 2018-11-29
JP2017208710A (ja) 2017-11-24
CN109074294A (zh) 2018-12-21

Similar Documents

Publication Publication Date Title
US10721022B2 (en) Communication apparatus, communication method, program, and communication system
US10740172B2 (en) Communication apparatus, communication method, program, and communication system
US8799545B2 (en) Restoring stability to an unstable bus
US20140244874A1 (en) Restoring stability to an unstable bus
WO2017183482A1 (en) Communication device, communication method, program, and communication system
US10892852B2 (en) Communication apparatus, communication method, program, and communication system
JP6903645B2 (ja) 通信装置、通信方法、プログラム、および、通信システム
EP3459190B1 (en) Communication device, communication method, program, and communication system
WO2017183483A1 (en) Communication apparatus, communication method, program, and communication system

Legal Events

Date Code Title Description
NENP Non-entry into the national phase

Ref country code: DE

121 Ep: the epo has been informed by wipo that ep was designated in this application

Ref document number: 17729204

Country of ref document: EP

Kind code of ref document: A1

ENP Entry into the national phase

Ref document number: 2017729204

Country of ref document: EP

Effective date: 20181218