WO2017195892A1 - 光モジュール - Google Patents

光モジュール Download PDF

Info

Publication number
WO2017195892A1
WO2017195892A1 PCT/JP2017/018054 JP2017018054W WO2017195892A1 WO 2017195892 A1 WO2017195892 A1 WO 2017195892A1 JP 2017018054 W JP2017018054 W JP 2017018054W WO 2017195892 A1 WO2017195892 A1 WO 2017195892A1
Authority
WO
WIPO (PCT)
Prior art keywords
photonics
optical
lightwave circuit
optical waveguide
optical fiber
Prior art date
Legal status (The legal status is an assumption and is not a legal conclusion. Google has not performed a legal analysis and makes no representation as to the accuracy of the status listed.)
Ceased
Application number
PCT/JP2017/018054
Other languages
English (en)
French (fr)
Japanese (ja)
Inventor
智浩 中西
佐藤 照明
石井 元速
悟 今野
鈴木 雄一
茂雄 長島
美野 真司
浅川 修一郎
福田 浩
亀井 新
相馬 俊一
都築 健
光男 碓氷
才田 隆志
Current Assignee (The listed assignees may be inaccurate. Google has not performed a legal analysis and makes no representation or warranty as to the accuracy of the list.)
NTT Electronics Corp
NTT Inc
Original Assignee
NTT Electronics Corp
Nippon Telegraph and Telephone Corp
Priority date (The priority date is an assumption and is not a legal conclusion. Google has not performed a legal analysis and makes no representation as to the accuracy of the date listed.)
Filing date
Publication date
Application filed by NTT Electronics Corp, Nippon Telegraph and Telephone Corp filed Critical NTT Electronics Corp
Priority to DE112017002464.1T priority Critical patent/DE112017002464B4/de
Priority to CA3023857A priority patent/CA3023857C/en
Priority to US16/099,955 priority patent/US10649147B2/en
Publication of WO2017195892A1 publication Critical patent/WO2017195892A1/ja
Anticipated expiration legal-status Critical
Ceased legal-status Critical Current

Links

Images

Classifications

    • GPHYSICS
    • G02OPTICS
    • G02BOPTICAL ELEMENTS, SYSTEMS OR APPARATUS
    • G02B6/00Light guides; Structural details of arrangements comprising light guides and other optical elements, e.g. couplings
    • G02B6/10Light guides; Structural details of arrangements comprising light guides and other optical elements, e.g. couplings of the optical waveguide type
    • G02B6/12Light guides; Structural details of arrangements comprising light guides and other optical elements, e.g. couplings of the optical waveguide type of the integrated circuit kind
    • G02B6/122Basic optical elements, e.g. light-guiding paths
    • G02B6/1228Tapered waveguides, e.g. integrated spot-size transformers
    • GPHYSICS
    • G02OPTICS
    • G02BOPTICAL ELEMENTS, SYSTEMS OR APPARATUS
    • G02B6/00Light guides; Structural details of arrangements comprising light guides and other optical elements, e.g. couplings
    • G02B6/24Coupling light guides
    • G02B6/42Coupling light guides with opto-electronic elements
    • G02B6/4201Packages, e.g. shape, construction, internal or external details
    • G02B6/4202Packages, e.g. shape, construction, internal or external details for coupling an active element with fibres without intermediate optical elements, e.g. fibres with plane ends, fibres with shaped ends, bundles
    • G02B6/4203Optical features
    • GPHYSICS
    • G02OPTICS
    • G02BOPTICAL ELEMENTS, SYSTEMS OR APPARATUS
    • G02B6/00Light guides; Structural details of arrangements comprising light guides and other optical elements, e.g. couplings
    • G02B6/24Coupling light guides
    • G02B6/26Optical coupling means
    • G02B6/30Optical coupling means for use between fibre and thin-film device
    • G02B6/305Optical coupling means for use between fibre and thin-film device and having an integrated mode-size expanding section, e.g. tapered waveguide
    • GPHYSICS
    • G02OPTICS
    • G02BOPTICAL ELEMENTS, SYSTEMS OR APPARATUS
    • G02B6/00Light guides; Structural details of arrangements comprising light guides and other optical elements, e.g. couplings
    • G02B6/10Light guides; Structural details of arrangements comprising light guides and other optical elements, e.g. couplings of the optical waveguide type
    • G02B6/12Light guides; Structural details of arrangements comprising light guides and other optical elements, e.g. couplings of the optical waveguide type of the integrated circuit kind
    • G02B6/122Basic optical elements, e.g. light-guiding paths
    • GPHYSICS
    • G02OPTICS
    • G02BOPTICAL ELEMENTS, SYSTEMS OR APPARATUS
    • G02B6/00Light guides; Structural details of arrangements comprising light guides and other optical elements, e.g. couplings
    • G02B6/24Coupling light guides
    • G02B6/26Optical coupling means
    • G02B6/30Optical coupling means for use between fibre and thin-film device
    • GPHYSICS
    • G02OPTICS
    • G02BOPTICAL ELEMENTS, SYSTEMS OR APPARATUS
    • G02B6/00Light guides; Structural details of arrangements comprising light guides and other optical elements, e.g. couplings
    • G02B6/24Coupling light guides
    • G02B6/36Mechanical coupling means
    • G02B6/3628Mechanical coupling means for mounting fibres to supporting carriers
    • G02B6/3648Supporting carriers of a microbench type, i.e. with micromachined additional mechanical structures
    • G02B6/3652Supporting carriers of a microbench type, i.e. with micromachined additional mechanical structures the additional structures being prepositioning mounting areas, allowing only movement in one dimension, e.g. grooves, trenches or vias in the microbench surface, i.e. self aligning supporting carriers

Definitions

  • the invention relates to an optical module comprising a Si photonics lightwave circuit having a connection with an optical fiber.
  • the Si photonics device is widely used as a semiconductor, and comprises a light wave circuit in which a minute optical waveguide is manufactured using a silicon having a very large refractive index as compared with a silicon oxide film or a polymer as a core material.
  • the optical waveguide made of this Si core has a relative refractive index 10 times higher than that of the conventional PLC, a mode field diameter (MFD) of 1/10 or less, strong micron-order confinement, and a small minimum bending radius ( ⁇ 5 ⁇ m). Therefore, the Si photonics device itself is characterized by being ultra-small as compared with the conventional optical device, and the realization of an optical module such as a small and high-density optical transceiver is expected more than ever.
  • MFD mode field diameter
  • the Si photonics elements and small optical components are often used in combination with other optical fiber pigtail modules such as LD modules, and not only individual modules but also subs There is a need to miniaturize the entire size of a board or a case for accommodating them, for example, a case limited in size such as CFP 2.
  • the Si core of the optical waveguide of the Si photonics device is thinner than the core formed by the SiO 2 film and has a submicron order angle.
  • Such a thin optical waveguide has a large optical coupling loss when directly connected to a normal optical fiber, so it is necessary to expand the mode field diameter of light emitted from the end of the optical waveguide.
  • the Si photonics lightwave circuit is integrated with a radius of curvature of about 5 ⁇ m, the density of functions is increased, and multi-arraying of optical fibers and electric circuits is progressing, while the curvature of optical fibers is, for example, about 15 mm
  • the module group that also includes the external optical fiber routing section.
  • FIG. 11 shows a typical example of a conventional Si photonic device.
  • Two package modules 1102 and 1105 are mounted on the same board 1101.
  • the Si photonics lightwave circuit 1103 is 20 mm square, and is mounted on a 30 mm square package module 1102.
  • the Si photonics lightwave circuit 1103 is connected to the optical fiber array 1106 fixed by the fixed optical fiber two-core ferrule (8 ⁇ 10 mm) 1104 on the right side of the figure.
  • the optical fiber array 1106 fixed by the fixed optical fiber two-core ferrule (8 ⁇ 10 mm) 1104 on the right side of the figure.
  • a means for connecting the two-core optical waveguide of the Si photonics lightwave circuit 1103 to the optical fiber array 1106 a method of fixing an optical fiber ferrule by YAG welding via a lens, a method of soldering a metal coated optical fiber, etc. There is.
  • the optical fiber array 1106 contacts the right optical module 1105. Also, normally, there is no space for passing an optical fiber in the direction perpendicular to the substrate surface of the package modules 1102 and 1105 due to heat radiation, etc., and the package module and the optical fiber can not be overlapped. Therefore, in order to pass the optical fiber as shown in the figure around the package module 1105, the package modules 1102 and 1105 need to be laid out with a certain distance apart in consideration of the curvature 15 mm of the optical fiber. In an example layout, the package modules 1102 and 1105 need to be spaced by 27 mm or more.
  • the present invention has been made in view of such problems, and an object of the present invention is to provide a high-density mountable optical module having a connection with an optical fiber array.
  • the present invention is an optical module, and it is a Si photonics lightwave circuit having an optical waveguide composed of Si core and SiO 2 clad, wherein the optical waveguide has the emission end face at the emission end face And the center at the exit end face of the optical waveguide is in a direction in which the optical waveguide is inclined relative to the center of the side surface including the exit end face of the Si photonics lightwave circuit It is characterized by comprising a shifted Si photonics lightwave circuit, and an optical fiber block for fixing an optical fiber array at the same oblique angle as the optical waveguide.
  • Another aspect of the present invention is characterized in that the exit end face of the optical waveguide of the Si photonics lightwave circuit is perpendicular to the mounting surface of the Si photonics lightwave circuit.
  • the optical waveguide of the Si photonics lightwave circuit is an optical waveguide array in which a plurality of optical waveguides are arranged in parallel.
  • the optical waveguide of the Si photonics lightwave circuit includes a spot size expanding portion including a tapered portion in which the width of the Si core is narrowed toward the emission end face.
  • Another aspect of the present invention is characterized in that the oblique inclination angle is 5 degrees or more and 50 degrees or less.
  • the optical waveguide of the Si photonics lightwave circuit includes a waveguide having a constant width at the tip of a tapered portion in which the width of the Si core is narrowed toward the emission end face.
  • FIG. 3 is a diagram showing a configuration in which two configurations of FIG. 2 are mounted on the same chassis 301. It is a figure which shows the connection part of the optical waveguide of a Si photonics lightwave circuit, and an optical fiber block. It is a figure which shows the module space
  • FIG. 2 shows an enlarged view of an optical waveguide array of a Si photonics lightwave circuit.
  • FIG. 2 shows a cross-sectional view of an optical waveguide array of a Si photonics lightwave circuit.
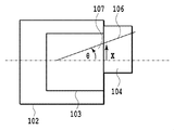
  • FIG. 1 shows the configuration of the optical module according to the first embodiment of the present invention.
  • the optical waveguide and the optical waveguide of the 20 mm square Si photonics lightwave circuit 103 in which two 30 mm square package modules 102 and 105 are mounted on the board 101 and mounted on the package module 102.
  • the optical fiber array 106 fixed to the fiber block (15 ⁇ 10 mm) 104 is connected.
  • the emission end face of the optical waveguide of the Si photonics lightwave circuit 103 is a mounting surface of the package module 102 which is a surface in contact with the board 101 and the package module 102 or a Si photonics lightwave in which the package module 102 and the Si photonics lightwave circuit 103 are in contact. It is perpendicular to the mounting surface of the circuit 103.
  • the center waveguide, or the position on the end face of the center between the optical waveguides at both ends is the center of the right side corresponding to the exit end face of the package module 102 as in the configuration of FIG. 15 mm points).
  • the optical waveguide of the Si photonics lightwave circuit 103 is inclined at an appropriate angle, for example, 20 degrees, from the direction perpendicular to the right end face.
  • the optical fiber block 104 is also fixed at an angle of 20 degrees from the direction perpendicular to the end face connecting each optical fiber to the Si photonics lightwave circuit 103.
  • the optical waveguide of the Si photonics lightwave circuit 103 enlarges the MFD at the end face to make the same field diameter as the optical fiber. Therefore, the optical waveguide and the optical fiber of the Si photonics lightwave circuit 103 have the same tilt angle from the direction perpendicular to the connection end face, and connection on the same straight line is possible.
  • the gap between the package modules 102 and 105 can be significantly reduced to 16 mm, which is much smaller than 27 mm in the conventional example shown in FIG. It can be reduced to about half of 30 mm in length.
  • FIG. 2 shows the configuration of an optical module according to Embodiment 2 of the present invention.
  • the optical waveguide and the optical fiber of the 20 mm square Si photonics lightwave circuit 203 in which two 30 mm square package modules 202 and 205 are mounted on the chassis 201 and mounted on the package module 202.
  • the optical fiber array 206 fixed to the block (15 ⁇ 10 mm) 204 is connected.
  • the gap between the packages is further narrowed than the configuration of the first embodiment by shifting the position of the optical waveguide of the Si photonics lightwave circuit from the center of the package module to the inclined side (the upper side in the figure). ing.
  • the center waveguide of the Si photonics lightwave circuit 203 is shifted 5 mm upward from the center of the right side corresponding to the exit end face of the package module 202, and the optical fiber block 204 is similarly shifted 5 mm upward.
  • the distance between the package modules 202 and 205 can be reduced from 16 mm to 11 mm.
  • FIG. 3 shows a configuration in which two configurations shown in FIG. 2 are mounted on the same chassis 301.
  • FIG. 4A shows the connection between the optical waveguide of the Si photonics lightwave circuit and the optical fiber block
  • FIG. 4B shows the module spacing with respect to the oblique inclination angle ⁇ .
  • the results shown in FIG. 4B were calculated by assuming that the oblique inclination angle of the optical waveguide and the optical fiber is ⁇ , the distance from the dotted line of the optical waveguide exit position is X, and the minimum bending radius of the optical fiber is 15 mm.
  • the minimum bending radius of the optical fiber is at least at the bending between the package modules, which is the first two bendings counted from the optical fiber block side along the optical fiber in order to minimize the gap between modules. is there.
  • the module in a chassis such as an actual board or a second-generation CFP2 (one 41.5 mm wide x 106 mm long x 12.4 mm high), which is one of the optical transceiver standards for 100 Gb / s transmission, Even 1 mm may be required to reduce the board size.
  • the optical waveguide is inclined by 50 degrees or more, there is a risk that the optical axis may be shifted due to a change in the thickness of the adhesive layer or the like.
  • the module spacing between the optical modules can be narrowed, which is more advantageous for producing a high density board.
  • FIG. 5A shows the connection between the optical waveguide of the Si photonics lightwave circuit and the optical fiber block
  • FIG. 5B shows the module spacing with respect to the oblique inclination angle ⁇ when the minimum bending radius of the optical fiber is 5 mm.
  • the package modules between the package modules, at least the first two bends counted from the optical fiber block side along the optical fiber in order to minimize the intermodule gap, in which the optical fiber has the minimum bending radius. The same effect as in the case of the minimum bending radius of 15 mm can be obtained.
  • FIG. 6A shows an enlarged view of the optical waveguide array of the Si photonics lightwave circuit.
  • FIG. 6B shows a cross-sectional view of the optical waveguide array of the Si photonics lightwave circuit.
  • An optical waveguide composed of Si core 402 and SiO 2 clad 403 is formed on Si substrate 401, each optical waveguide width is 500 nm, taper length is 100 ⁇ m, and taper tip width is about 160 nm (non-patented) Reference 1).
  • the MFD spreads to 5.0 ⁇ m near the emission end face by this spot size conversion unit.
  • the spot size conversion unit may have glass (here, 6 ⁇ m thick glass) at the tip as shown in FIG. 7A, or may have a shape as shown in FIG. 7B after processing by means such as polishing or dicing. .
  • Non-Patent Document 1 Although a conventional spot size enlargement unit of such a shape has been proposed that is limited to lens coupling in space, such alignment of the optical waveguide array is required because alignment is required for each optical waveguide. It is not easy to apply the structure, and the manufacturing cost is also high (see Non-Patent Document 1).
  • the method using UV bonding and fixing described in the first embodiment has a record of producing a product with up to several tens of silica optical waveguides, and is low cost and highly reliable.
  • FIG. 9 shows the optical waveguide angle dependency of the reflection loss of the Si optical waveguide with an MFD: 1.0 ⁇ m whose spot size is hardly expanded and the optical waveguide of the MFD: 5.0 ⁇ m Si photonics lightwave circuit.
  • the result shown in FIG. 9 is simply calculated by reflection (Gaussian coupling) at the interface between the optical waveguide of the Si photonics lightwave circuit and the adhesive with respect to the incident beam, and adding dB of the Fresnel reflection perpendicular thereto Calculated.
  • the calculation conditions were a wavelength of 1.55 ⁇ m, and an equivalent refractive index of 1.455 at the exit portion of the optical waveguide of the Si photonics lightwave circuit. This is a value determined on the assumption that the reflection loss is 30 dB or more at an oblique inclination angle of 5 degrees in the calculation of the reflection.
  • the refractive index of the UV adhesive was 1.45
  • the MFD of the light emitted from the Si photonics light wave circuit was 5.0 ⁇ m (spot size 2.5 ⁇ m).
  • the reflection loss increases as the MFD is thus expanded.
  • the waveguide angle should be 5 degrees or more, since 30 dB or more is usually desirable.
  • an antireflective film (AR film) is also used to prevent such end face reflection, it is a multilayer film formation in which the refractive index and the film thickness are strictly controlled, which requires cost and time.
  • AR film antireflective film
  • the method of the oblique waveguide of the present invention is excellent in anti-reflection effect at low cost and without wavelength dependency, though lensless and array collective connection is possible.
  • FIG. 10 shows the coupling loss reduction effect by the spot size expansion of the optical waveguide of the Si photonics lightwave circuit.
  • the calculation conditions are: wavelength 1.55 ⁇ m, optical waveguide spot size 2.5 ⁇ m of Si photonics lightwave circuit, optical fiber spot size 4.0 ⁇ m (DSF fiber typical value), distance between Si photonics lightwave circuit-optical fiber is 10 ⁇ m .

Landscapes

  • Physics & Mathematics (AREA)
  • General Physics & Mathematics (AREA)
  • Optics & Photonics (AREA)
  • Engineering & Computer Science (AREA)
  • Microelectronics & Electronic Packaging (AREA)
  • Chemical & Material Sciences (AREA)
  • Crystallography & Structural Chemistry (AREA)
  • Power Engineering (AREA)
  • Optical Couplings Of Light Guides (AREA)
  • Optical Integrated Circuits (AREA)
PCT/JP2017/018054 2016-05-13 2017-05-12 光モジュール Ceased WO2017195892A1 (ja)

Priority Applications (3)

Application Number Priority Date Filing Date Title
DE112017002464.1T DE112017002464B4 (de) 2016-05-13 2017-05-12 Optikmodul
CA3023857A CA3023857C (en) 2016-05-13 2017-05-12 Optical module
US16/099,955 US10649147B2 (en) 2016-05-13 2017-05-12 Optical module

Applications Claiming Priority (2)

Application Number Priority Date Filing Date Title
JP2016-097427 2016-05-13
JP2016097427A JP6649843B2 (ja) 2016-05-13 2016-05-13 光回路

Publications (1)

Publication Number Publication Date
WO2017195892A1 true WO2017195892A1 (ja) 2017-11-16

Family

ID=60266734

Family Applications (1)

Application Number Title Priority Date Filing Date
PCT/JP2017/018054 Ceased WO2017195892A1 (ja) 2016-05-13 2017-05-12 光モジュール

Country Status (6)

Country Link
US (1) US10649147B2 (enExample)
JP (1) JP6649843B2 (enExample)
CN (2) CN107367802B (enExample)
CA (1) CA3023857C (enExample)
DE (1) DE112017002464B4 (enExample)
WO (1) WO2017195892A1 (enExample)

Families Citing this family (5)

* Cited by examiner, † Cited by third party
Publication number Priority date Publication date Assignee Title
JP6649843B2 (ja) * 2016-05-13 2020-02-19 Nttエレクトロニクス株式会社 光回路
US11275211B2 (en) * 2019-06-18 2022-03-15 Cisco Technology, Inc. Fiber array unit with unfinished endface
JP7360695B2 (ja) 2019-10-02 2023-10-13 株式会社中原光電子研究所 光接続装置
JP2021113907A (ja) * 2020-01-20 2021-08-05 住友電気工業株式会社 光トランシーバ
JP2021120704A (ja) * 2020-01-30 2021-08-19 住友電気工業株式会社 光トランシーバ

Citations (7)

* Cited by examiner, † Cited by third party
Publication number Priority date Publication date Assignee Title
JPH04163405A (ja) * 1990-10-26 1992-06-09 Fujikura Ltd 光カプラ及びその製造方法
JPH0491311U (enExample) * 1990-12-27 1992-08-10
JPH07128545A (ja) * 1993-11-05 1995-05-19 Hitachi Cable Ltd 光導波路と光ファイバとの接続方法
JP2002228863A (ja) * 2001-02-06 2002-08-14 Kddi Submarine Cable Systems Inc 光結合構造
JP2005148538A (ja) * 2003-11-18 2005-06-09 Toyoda Mach Works Ltd 光導波路及びレーザ発光装置
US20120156369A1 (en) * 2010-12-16 2012-06-21 Electronics And Telecommunications Research Institute Method of forming optical coupler
US20140177995A1 (en) * 2012-12-20 2014-06-26 Edris M. Mohammed Optical photonic circuit coupling

Family Cites Families (13)

* Cited by examiner, † Cited by third party
Publication number Priority date Publication date Assignee Title
JPH0794803B2 (ja) 1990-08-01 1995-10-11 本田技研工業株式会社 水平シリンダを備えるエンジンの潤滑油路構造及びそのエンジンを搭載してなる船外機
JPH05113517A (ja) * 1991-10-22 1993-05-07 Nippon Telegr & Teleph Corp <Ntt> 光導波路と光フアイバとの接続構造
US5960131A (en) * 1998-02-04 1999-09-28 Hewlett-Packard Company Switching element having an expanding waveguide core
JP2001324647A (ja) * 2000-05-16 2001-11-22 Fujikura Ltd 光ファイバアレイ、光導波路チップ及びこれらを接続した光モジュール
JP4163405B2 (ja) 2001-09-27 2008-10-08 株式会社日本触媒 アルカノールアミンの製造方法
CN1195326C (zh) 2002-04-26 2005-03-30 中国科学院半导体研究所 硅基光子集成的器件及制作方法
CN1271765C (zh) * 2004-04-02 2006-08-23 华中科技大学 一种集成模斑变换器的脊型波导偏振无关半导体光放大器
CN102118525B (zh) * 2009-12-30 2013-07-03 北京大唐高鸿数据网络技术有限公司 一种基于VoIP的矿用扩播电话系统
JP5825315B2 (ja) 2013-09-30 2015-12-02 住友大阪セメント株式会社 光学素子モジュール
WO2015120260A1 (en) * 2014-02-06 2015-08-13 Skorpios Technologies, Inc. Integrated multistage taper coupler for waveguide to fiber coupling
JP6290742B2 (ja) * 2014-07-24 2018-03-07 日本電信電話株式会社 光回路部品、および光回路部品と光ファイバとの接続構造
JP2016053679A (ja) 2014-09-04 2016-04-14 富士通株式会社 光ファイバの接続構造、光ファイバホルダおよび光ファイバの接続方法
JP6649843B2 (ja) 2016-05-13 2020-02-19 Nttエレクトロニクス株式会社 光回路

Patent Citations (7)

* Cited by examiner, † Cited by third party
Publication number Priority date Publication date Assignee Title
JPH04163405A (ja) * 1990-10-26 1992-06-09 Fujikura Ltd 光カプラ及びその製造方法
JPH0491311U (enExample) * 1990-12-27 1992-08-10
JPH07128545A (ja) * 1993-11-05 1995-05-19 Hitachi Cable Ltd 光導波路と光ファイバとの接続方法
JP2002228863A (ja) * 2001-02-06 2002-08-14 Kddi Submarine Cable Systems Inc 光結合構造
JP2005148538A (ja) * 2003-11-18 2005-06-09 Toyoda Mach Works Ltd 光導波路及びレーザ発光装置
US20120156369A1 (en) * 2010-12-16 2012-06-21 Electronics And Telecommunications Research Institute Method of forming optical coupler
US20140177995A1 (en) * 2012-12-20 2014-06-26 Edris M. Mohammed Optical photonic circuit coupling

Non-Patent Citations (2)

* Cited by examiner, † Cited by third party
Title
CARDENAS, J. ET AL.: "High Coupling Efficiency Etched Facet Tapers in Silicon Waveguides", IEEE PHOTONICS TECHNOLOGY LETTERS, vol. 26, no. 23, 1 December 2014 (2014-12-01), pages 2380 - 2382, XP011563526 *
KOJI YAMADA ET AL.: "Chip-jo Hikari Inter Connection e Muketa Silicon Saisen Hikari Doharo Gijutsu", 2006 NEN (HEISEI 18 NEN) SHUKI DAI 67 KAI EXTENDED ABSTRACTS; THE JAPAN SOCIETY OF APPLIED PHYSICS THE JAPAN SOCIETY OF APPLIED PHYSICS, September 2006 (2006-09-01), pages 107 *

Also Published As

Publication number Publication date
US20190353844A1 (en) 2019-11-21
CN107367802A (zh) 2017-11-21
CA3023857A1 (en) 2017-11-16
US10649147B2 (en) 2020-05-12
CN107367802B (zh) 2019-10-11
JP2017203966A (ja) 2017-11-16
CA3023857C (en) 2021-07-13
CN206833034U (zh) 2018-01-02
DE112017002464T5 (de) 2019-01-31
JP6649843B2 (ja) 2020-02-19
DE112017002464B4 (de) 2024-01-04

Similar Documents

Publication Publication Date Title
US8639073B2 (en) Fiber coupling technique on a waveguide
KR101508619B1 (ko) 광 신호를 라우팅하기 위한 시스템 및 방법
US11105981B2 (en) Optical connectors and detachable optical connector assemblies for optical chips
US9086551B2 (en) Double mirror structure for wavelength division multiplexing with polymer waveguides
WO2017195892A1 (ja) 光モジュール
US9575257B2 (en) Optical device, optical processing device, method for fabricating optical device
WO2013117555A1 (en) An optical coupling arrangement
CN106461895A (zh) 自由空间光耦合系统和装置
CN114966962A (zh) 背面光纤附接到硅光子芯片
CN112904499A (zh) 半导体激光器和平面光波导耦合结构、光路系统及制造方法
JP4948185B2 (ja) 平面光波回路
JP7601113B2 (ja) 光接続構造、光モジュールおよび光接続構造の製造方法
JP2023041329A (ja) 光集積素子、光集積回路ウエハ及び光集積素子の製造方法
WO2014199831A1 (ja) 光路変更素子、光路変更素子の接続構造、光源デバイスおよび光実装デバイス
CN110989079B (zh) 一种空气包层su8阵列波导光栅
WO2019176561A1 (ja) ファイバモジュール
JP4549949B2 (ja) 光学素子
JP4277840B2 (ja) 光導波路デバイスの製造方法
JP2016212414A (ja) 導波路用結合回路
JP5772436B2 (ja) 光結合器及び光デバイス
US20230236368A1 (en) Optical module package using bi-angled silica waveguide
JP2009037054A (ja) 光モジュール及びその製造方法
Hendrickx et al. Towards flexible routing schemes for polymer optical interconnections on printed circuit boards
JP2004286779A (ja) 光増幅器
US7961994B2 (en) Optical interface assembly

Legal Events

Date Code Title Description
ENP Entry into the national phase

Ref document number: 3023857

Country of ref document: CA

121 Ep: the epo has been informed by wipo that ep was designated in this application

Ref document number: 17796250

Country of ref document: EP

Kind code of ref document: A1

122 Ep: pct application non-entry in european phase

Ref document number: 17796250

Country of ref document: EP

Kind code of ref document: A1