WO2017170522A1 - フレキシブル偏光膜、その製造方法および画像表示装置 - Google Patents

フレキシブル偏光膜、その製造方法および画像表示装置 Download PDF

Info

Publication number
WO2017170522A1
WO2017170522A1 PCT/JP2017/012594 JP2017012594W WO2017170522A1 WO 2017170522 A1 WO2017170522 A1 WO 2017170522A1 JP 2017012594 W JP2017012594 W JP 2017012594W WO 2017170522 A1 WO2017170522 A1 WO 2017170522A1
Authority
WO
WIPO (PCT)
Prior art keywords
polyvinyl alcohol
polarizing film
meth
resin
film
Prior art date
Legal status (The legal status is an assumption and is not a legal conclusion. Google has not performed a legal analysis and makes no representation as to the accuracy of the status listed.)
Ceased
Application number
PCT/JP2017/012594
Other languages
English (en)
French (fr)
Japanese (ja)
Inventor
康隆 石原
友徳 上野
岸 敦史
Current Assignee (The listed assignees may be inaccurate. Google has not performed a legal analysis and makes no representation or warranty as to the accuracy of the list.)
Nitto Denko Corp
Original Assignee
Nitto Denko Corp
Priority date (The priority date is an assumption and is not a legal conclusion. Google has not performed a legal analysis and makes no representation as to the accuracy of the date listed.)
Filing date
Publication date
Application filed by Nitto Denko Corp filed Critical Nitto Denko Corp
Priority to KR1020187028929A priority Critical patent/KR102262499B1/ko
Priority to JP2018508056A priority patent/JPWO2017170522A1/ja
Priority to CN201780020461.7A priority patent/CN108885296A/zh
Priority to TW106110531A priority patent/TW201736454A/zh
Publication of WO2017170522A1 publication Critical patent/WO2017170522A1/ja
Anticipated expiration legal-status Critical
Ceased legal-status Critical Current

Links

Images

Classifications

    • GPHYSICS
    • G02OPTICS
    • G02BOPTICAL ELEMENTS, SYSTEMS OR APPARATUS
    • G02B5/00Optical elements other than lenses
    • G02B5/30Polarising elements
    • G02B5/3025Polarisers, i.e. arrangements capable of producing a definite output polarisation state from an unpolarised input state
    • G02B5/3033Polarisers, i.e. arrangements capable of producing a definite output polarisation state from an unpolarised input state in the form of a thin sheet or foil, e.g. Polaroid
    • G02B5/3041Polarisers, i.e. arrangements capable of producing a definite output polarisation state from an unpolarised input state in the form of a thin sheet or foil, e.g. Polaroid comprising multiple thin layers, e.g. multilayer stacks
    • G02B5/305Polarisers, i.e. arrangements capable of producing a definite output polarisation state from an unpolarised input state in the form of a thin sheet or foil, e.g. Polaroid comprising multiple thin layers, e.g. multilayer stacks including organic materials, e.g. polymeric layers
    • GPHYSICS
    • G02OPTICS
    • G02BOPTICAL ELEMENTS, SYSTEMS OR APPARATUS
    • G02B5/00Optical elements other than lenses
    • G02B5/30Polarising elements
    • G02B5/3025Polarisers, i.e. arrangements capable of producing a definite output polarisation state from an unpolarised input state
    • G02B5/3033Polarisers, i.e. arrangements capable of producing a definite output polarisation state from an unpolarised input state in the form of a thin sheet or foil, e.g. Polaroid
    • BPERFORMING OPERATIONS; TRANSPORTING
    • B32LAYERED PRODUCTS
    • B32BLAYERED PRODUCTS, i.e. PRODUCTS BUILT-UP OF STRATA OF FLAT OR NON-FLAT, e.g. CELLULAR OR HONEYCOMB, FORM
    • B32B27/00Layered products comprising a layer of synthetic resin
    • B32B27/30Layered products comprising a layer of synthetic resin comprising vinyl (co)polymers; comprising acrylic (co)polymers
    • CCHEMISTRY; METALLURGY
    • C08ORGANIC MACROMOLECULAR COMPOUNDS; THEIR PREPARATION OR CHEMICAL WORKING-UP; COMPOSITIONS BASED THEREON
    • C08JWORKING-UP; GENERAL PROCESSES OF COMPOUNDING; AFTER-TREATMENT NOT COVERED BY SUBCLASSES C08B, C08C, C08F, C08G or C08H
    • C08J5/00Manufacture of articles or shaped materials containing macromolecular substances
    • C08J5/18Manufacture of films or sheets
    • CCHEMISTRY; METALLURGY
    • C08ORGANIC MACROMOLECULAR COMPOUNDS; THEIR PREPARATION OR CHEMICAL WORKING-UP; COMPOSITIONS BASED THEREON
    • C08JWORKING-UP; GENERAL PROCESSES OF COMPOUNDING; AFTER-TREATMENT NOT COVERED BY SUBCLASSES C08B, C08C, C08F, C08G or C08H
    • C08J7/00Chemical treatment or coating of shaped articles made of macromolecular substances
    • C08J7/04Coating
    • CCHEMISTRY; METALLURGY
    • C08ORGANIC MACROMOLECULAR COMPOUNDS; THEIR PREPARATION OR CHEMICAL WORKING-UP; COMPOSITIONS BASED THEREON
    • C08LCOMPOSITIONS OF MACROMOLECULAR COMPOUNDS
    • C08L29/00Compositions of homopolymers or copolymers of compounds having one or more unsaturated aliphatic radicals, each having only one carbon-to-carbon double bond, and at least one being terminated by an alcohol, ether, aldehydo, ketonic, acetal or ketal radical; Compositions of hydrolysed polymers of esters of unsaturated alcohols with saturated carboxylic acids; Compositions of derivatives of such polymers
    • C08L29/02Homopolymers or copolymers of unsaturated alcohols
    • C08L29/04Polyvinyl alcohol; Partially hydrolysed homopolymers or copolymers of esters of unsaturated alcohols with saturated carboxylic acids
    • GPHYSICS
    • G02OPTICS
    • G02BOPTICAL ELEMENTS, SYSTEMS OR APPARATUS
    • G02B1/00Optical elements characterised by the material of which they are made; Optical coatings for optical elements
    • G02B1/04Optical elements characterised by the material of which they are made; Optical coatings for optical elements made of organic materials, e.g. plastics
    • GPHYSICS
    • G02OPTICS
    • G02BOPTICAL ELEMENTS, SYSTEMS OR APPARATUS
    • G02B5/00Optical elements other than lenses
    • G02B5/30Polarising elements
    • GPHYSICS
    • G02OPTICS
    • G02FOPTICAL DEVICES OR ARRANGEMENTS FOR THE CONTROL OF LIGHT BY MODIFICATION OF THE OPTICAL PROPERTIES OF THE MEDIA OF THE ELEMENTS INVOLVED THEREIN; NON-LINEAR OPTICS; FREQUENCY-CHANGING OF LIGHT; OPTICAL LOGIC ELEMENTS; OPTICAL ANALOGUE/DIGITAL CONVERTERS
    • G02F1/00Devices or arrangements for the control of the intensity, colour, phase, polarisation or direction of light arriving from an independent light source, e.g. switching, gating or modulating; Non-linear optics
    • G02F1/01Devices or arrangements for the control of the intensity, colour, phase, polarisation or direction of light arriving from an independent light source, e.g. switching, gating or modulating; Non-linear optics for the control of the intensity, phase, polarisation or colour 
    • G02F1/13Devices or arrangements for the control of the intensity, colour, phase, polarisation or direction of light arriving from an independent light source, e.g. switching, gating or modulating; Non-linear optics for the control of the intensity, phase, polarisation or colour  based on liquid crystals, e.g. single liquid crystal display cells
    • G02F1/133Constructional arrangements; Operation of liquid crystal cells; Circuit arrangements
    • G02F1/1333Constructional arrangements; Manufacturing methods
    • G02F1/1335Structural association of cells with optical devices, e.g. polarisers or reflectors
    • GPHYSICS
    • G02OPTICS
    • G02FOPTICAL DEVICES OR ARRANGEMENTS FOR THE CONTROL OF LIGHT BY MODIFICATION OF THE OPTICAL PROPERTIES OF THE MEDIA OF THE ELEMENTS INVOLVED THEREIN; NON-LINEAR OPTICS; FREQUENCY-CHANGING OF LIGHT; OPTICAL LOGIC ELEMENTS; OPTICAL ANALOGUE/DIGITAL CONVERTERS
    • G02F1/00Devices or arrangements for the control of the intensity, colour, phase, polarisation or direction of light arriving from an independent light source, e.g. switching, gating or modulating; Non-linear optics
    • G02F1/01Devices or arrangements for the control of the intensity, colour, phase, polarisation or direction of light arriving from an independent light source, e.g. switching, gating or modulating; Non-linear optics for the control of the intensity, phase, polarisation or colour 
    • G02F1/13Devices or arrangements for the control of the intensity, colour, phase, polarisation or direction of light arriving from an independent light source, e.g. switching, gating or modulating; Non-linear optics for the control of the intensity, phase, polarisation or colour  based on liquid crystals, e.g. single liquid crystal display cells
    • G02F1/133Constructional arrangements; Operation of liquid crystal cells; Circuit arrangements
    • G02F1/1333Constructional arrangements; Manufacturing methods
    • G02F1/1335Structural association of cells with optical devices, e.g. polarisers or reflectors
    • G02F1/133528Polarisers
    • GPHYSICS
    • G09EDUCATION; CRYPTOGRAPHY; DISPLAY; ADVERTISING; SEALS
    • G09FDISPLAYING; ADVERTISING; SIGNS; LABELS OR NAME-PLATES; SEALS
    • G09F9/00Indicating arrangements for variable information in which the information is built-up on a support by selection or combination of individual elements
    • HELECTRICITY
    • H05ELECTRIC TECHNIQUES NOT OTHERWISE PROVIDED FOR
    • H05BELECTRIC HEATING; ELECTRIC LIGHT SOURCES NOT OTHERWISE PROVIDED FOR; CIRCUIT ARRANGEMENTS FOR ELECTRIC LIGHT SOURCES, IN GENERAL
    • H05B33/00Electroluminescent light sources
    • H05B33/02Details
    • HELECTRICITY
    • H05ELECTRIC TECHNIQUES NOT OTHERWISE PROVIDED FOR
    • H05BELECTRIC HEATING; ELECTRIC LIGHT SOURCES NOT OTHERWISE PROVIDED FOR; CIRCUIT ARRANGEMENTS FOR ELECTRIC LIGHT SOURCES, IN GENERAL
    • H05B33/00Electroluminescent light sources
    • H05B33/12Light sources with substantially two-dimensional radiating surfaces
    • H05B33/14Light sources with substantially two-dimensional radiating surfaces characterised by the chemical or physical composition or the arrangement of the electroluminescent material, or by the simultaneous addition of the electroluminescent material in or onto the light source
    • CCHEMISTRY; METALLURGY
    • C08ORGANIC MACROMOLECULAR COMPOUNDS; THEIR PREPARATION OR CHEMICAL WORKING-UP; COMPOSITIONS BASED THEREON
    • C08JWORKING-UP; GENERAL PROCESSES OF COMPOUNDING; AFTER-TREATMENT NOT COVERED BY SUBCLASSES C08B, C08C, C08F, C08G or C08H
    • C08J2329/00Characterised by the use of homopolymers or copolymers of compounds having one or more unsaturated aliphatic radicals, each having only one carbon-to-carbon double bond, and at least one being terminated by an alcohol, ether, aldehydo, ketonic, acetal, or ketal radical; Hydrolysed polymers of esters of unsaturated alcohols with saturated carboxylic acids; Derivatives of such polymer
    • C08J2329/02Homopolymers or copolymers of unsaturated alcohols
    • C08J2329/04Polyvinyl alcohol; Partially hydrolysed homopolymers or copolymers of esters of unsaturated alcohols with saturated carboxylic acids

Definitions

  • the present invention relates to a flexible polarizing film and a manufacturing method thereof.
  • the flexible polarizing film can form an image display device such as a liquid crystal display device (LCD) or an organic EL display device alone or as an optical film obtained by laminating the flexible polarizing film.
  • LCD liquid crystal display device
  • organic EL display device alone or as an optical film obtained by laminating the flexible polarizing film.
  • a polarizer In a liquid crystal display device, it is indispensable to dispose a polarizer on both sides of a glass substrate that forms the surface of a liquid crystal panel because of its image forming method.
  • the polarizer generally used is a polyvinyl alcohol polarizer in which a polyvinyl alcohol resin is oriented in one direction and iodine or a dichroic dye is adsorbed and oriented on the polyvinyl alcohol resin.
  • polyvinyl alcohol polarizers have the problem that they are brittle and easy to tear.
  • a polyvinyl alcohol-based polarizer is easy to tear parallel to the direction in which the polyvinyl alcohol-based resin is oriented (absorption axis direction). For example, when an external force that contracts in the absorption axis direction is applied, it is easily broken. .
  • the polyvinyl alcohol polarizer is used as a polarizing film in which a transparent protective film is bonded to one or both sides.
  • a general polarizing film using a polyvinyl alcohol-based polarizer has rigidity (rigidity) because a transparent protective film is bonded, and lacks flexibility (flexibility). Therefore, when twisting is applied to the polarizing film, the entire film may be cracked, broken marks (folded marks) may remain, or light leakage may occur in the polarizer. It was constrained.
  • the grid polarizer has flexibility but lacks versatility.
  • An object of the present invention is to provide a flexible polarizing film having a high degree of flexibility despite the use of a polyvinyl alcohol polarizer and a method for producing the same.
  • Another object of the present invention is to provide an image display device having the flexible polarizing film.
  • the present invention comprises a polyvinyl alcohol polarizer having a thickness of 10 ⁇ m or less, wherein the polyvinyl alcohol resin is oriented in one direction and iodine or a dichroic dye is adsorbed and oriented on the polyvinyl alcohol resin, and After conducting a U-shaped expansion / contraction test in which the polyvinyl alcohol-based resin is repeatedly aligned and expanded in a U-shape in a direction perpendicular to the alignment direction, cracks, fold marks and light leakage are observed in either direction.
  • the present invention relates to a flexible polarizing film characterized by the absence of
  • the flexible polarizing film is free from cracks, folds, and light leakage after a twist test in which the polyvinyl alcohol resin is twisted in the direction in which the polyvinyl alcohol resin is oriented.
  • the bent shape is maintained in any direction. In addition, it is preferable that no cracks occur.
  • the bending resistance (mm) is preferably 60 mm or less in the bending test in the alignment direction in which the polyvinyl alcohol-based resin is aligned and in the direction orthogonal to the alignment direction.
  • the tensile strength in the direction orthogonal to the orientation direction in which the polyvinyl alcohol resin is oriented in a tensile test is 5 N / 10 mm or more.
  • the polyvinyl alcohol polarizer has an optical property represented by the following formula: P> ⁇ (10 0.929T-42.4 ⁇ 1) ⁇ 100 However, T ⁇ 42.3) or It is preferable that the lens is configured to satisfy the condition of P ⁇ 99.9 (however, T ⁇ 42.3).
  • a reinforcing film in close contact with the polyvinyl alcohol polarizer is provided on both surfaces of the polyvinyl alcohol polarizer.
  • the thickness of the reinforcing film on at least one side is preferably 15 ⁇ m or less.
  • the flexible polarizing film preferably has a first reinforcing film having a thickness of 15 ⁇ m or less on the first side of the polyvinyl alcohol-based polarizer and a second reinforcing film having a thickness of 15 ⁇ m or less on the other second side. .
  • the thickness difference between the first reinforcing film and the second reinforcing film is preferably 10 ⁇ m or less.
  • the ratio of the thickness of the reinforcing film to the thickness of the polyvinyl alcohol polarizer is preferably 0.4 or more.
  • the reinforcing film preferably has a compressive elastic modulus at 23 ° C. of 1 MPa or more.
  • the reinforcing film that is not substantially oriented can be used.
  • a resin film can be used as the reinforcing film.
  • the resin film is preferably a thermosetting resin or an active energy ray curable resin.
  • the present invention is a method for producing the flexible polarizing film, A step (1) of preparing a polyvinyl alcohol polarizer having a thickness of 10 ⁇ m or less, wherein the polyvinyl alcohol resin is oriented in one direction and iodine or a dichroic dye is adsorbed and oriented on the polyvinyl alcohol resin; By applying a liquid material containing a curable component capable of constituting a resin component or a resin film on both surfaces of the polyvinyl alcohol polarizer, and then solidifying or curing the liquid material, a reinforcing film is formed.
  • the manufacturing method of the flexible polarizing film characterized by including the process (2) to form.
  • the present invention also relates to an image display device having the flexible polarizing film.
  • the flexible polarizing film of the present invention uses a polyvinyl alcohol polarizer and can satisfy general versatility. Moreover, the polyvinyl alcohol-type polarizer is 10 micrometers or less in thickness, and is suitable also at the point currently made thin.
  • the flexible polarizing film of the present invention has a high degree of flexibility despite the fact that it uses a polyvinyl alcohol polarizer that is brittle and easy to tear, and has deformed its shape by twisting. Even in this case, there is no occurrence of cracks in the entire film, no broken marks (fold marks), and no light leakage from the polarizer.
  • the flexible polarizing film of the present invention can have flexibility against various deformations such as expansion and contraction. As described above, the flexible polarizing film of the present invention itself has flexibility, and a normal polyvinyl alcohol-based polarizer alone has a remarkably small tensile breaking stress, so that it is substantially impossible to handle. On the other hand, it is thin and easy to handle.
  • the flexible polarizing film of the present invention has flexibility even when used in combination with other members or by using the flexibility, and can suppress cracks in the polarizer. Yes, it can be used for various purposes. For this reason, the use of the flexible polarizing film is greatly expanded by expanding the application of the flexible polarizing film alone or expanding the tolerance in the process. Therefore, the flexible polarizing film of the present invention can be used as an alternative to a polarizer, for example, a design that could not be applied due to the brittleness and tearing of conventional polarizers, and a polarizing film (transparent protection to the polarizer). As an alternative to the one provided with a film), for example, it is possible to deal with various deformed shapes that could not be applied due to the rigidity of the conventional polarizing film, and the application development can be expanded.
  • the flexible polarizing film of the present invention has a polyvinyl alcohol polarizer.
  • the polyvinyl alcohol-based polarizer is obtained by aligning a polyvinyl alcohol-based resin in one direction (absorption axis direction) and adsorbing or aligning iodine or a dichroic dye on the polyvinyl alcohol-based resin.
  • the polyvinyl alcohol-based resin include polyvinyl alcohol, partially formalized polyvinyl alcohol, ethylene / vinyl acetate copolymer partially saponified products, and the like.
  • a polarizer can be obtained by adsorbing a dichroic dye such as iodine or a dichroic dye to a polyvinyl alcohol film using the polyvinyl alcohol resin and stretching the film uniaxially.
  • a polarizer obtained by dying a polyvinyl alcohol film with iodine or a dichroic dye and uniaxially stretching it is prepared, for example, by immersing polyvinyl alcohol in an aqueous solution of iodine and stretching it 3 to 7 times the original length. can do. If necessary, it may contain boric acid, zinc sulfate, zinc chloride, or the like, or may be immersed in an aqueous solution such as potassium iodide. Further, if necessary, the polyvinyl alcohol film may be immersed in water and washed before dyeing.
  • Stretching may be performed after dyeing with iodine or a dichroic dye, may be performed while dyeing, or may be dyed with iodine or a dichroic dye after stretching.
  • the film can be stretched even in an aqueous solution such as boric acid or potassium iodide or in a water bath.
  • the polyvinyl alcohol polarizer preferably contains boric acid from the viewpoint of stretching stability and optical durability.
  • the boric acid content contained in the polarizer is preferably 25% by weight or less, more preferably 20% by weight or less, based on the total amount of the polarizer, from the viewpoint of suppressing the occurrence of light leakage. Further, it is preferably 18% by weight or less, more preferably 16% by weight or less.
  • the boric acid content with respect to the total amount of the polarizer is preferably 10% by weight or more, and more preferably 12% by weight or more.
  • a polyvinyl alcohol polarizer having a thickness of 10 ⁇ m or less is used.
  • the thickness of the polarizer is preferably 8 ⁇ m or less, more preferably 7 ⁇ m or less, and further preferably 6 ⁇ m or less from the viewpoints of thinning and flexibility.
  • the thickness of the polarizer is preferably 2 ⁇ m or more, and more preferably 3 ⁇ m or more.
  • Such a thin polarizer has less thickness unevenness, excellent visibility, and less dimensional change, and therefore excellent durability against thermal shock.
  • Patent No. 4751486 Japanese Patent No. 4751481, Patent No. 4815544, Patent No. 5048120, International Publication No. 2014/077599 pamphlet, International Publication No. 2014/077636 Pamphlet, And the thin polarizers obtained from the production methods described therein.
  • the polarizer has an optical characteristic expressed by a single transmittance T and a polarization degree P of the following formula P> ⁇ (10 0.929T-42.4 ⁇ 1) ⁇ 100 (where T ⁇ 42.3), Or It is configured to satisfy the condition of P ⁇ 99.9 (however, T ⁇ 42.3).
  • a polarizer configured so as to satisfy the above-described conditions uniquely has performance required as a display for a liquid crystal television using a large display element. Specifically, the contrast ratio is 1000: 1 or more and the maximum luminance is 500 cd / m 2 or more. As other uses, for example, it is bonded to the viewing side of the organic EL display device.
  • a polarizer configured to satisfy the above conditions has a high orientation of a polymer (for example, a polyvinyl alcohol-based molecule), so that the thickness of the polarizer is 10 ⁇ m or less.
  • the tensile rupture stress in the direction orthogonal to the absorption axis direction (transmission axis direction) is significantly reduced.
  • the flexible polarizing film of the present invention has excellent flexibility in spite of the use of such a polyvinyl alcohol-based polarizer that is weak against impact of 10 ⁇ m or less.
  • Patent No. 4751486, Patent in that it can be stretched at a high magnification and the polarization performance can be improved.
  • stretching in a boric-acid aqueous solution as described in the 4751481 specification and the patent 4815544 specification is preferable, and it describes especially in the patent 4751481 specification and the patent 4815544 specification.
  • stretching in the boric-acid aqueous solution which has this is preferable.
  • These thin polarizers can be obtained by a production method including a step of stretching a polyvinyl alcohol-based resin (hereinafter also referred to as PVA-based resin) layer and a stretching resin base material in a laminated state and a step of dyeing.
  • PVA-based resin polyvinyl alcohol-based resin
  • a stretching resin base material in a laminated state
  • dyeing a step of dyeing
  • the flexible polarizing film of the present invention is characterized in that, after the U-shaped expansion / contraction test shown in the examples, it is not cracked, creased and light is not lost.
  • the U-shaped expansion / contraction test is an index indicating the flexibility related to unfolded bending in a U-shape in the alignment direction (absorption axis direction) in which the polyvinyl alcohol-based resin is aligned and in the orthogonal direction (transmission axis direction). .
  • the flexible polarizing film of the present invention has excellent unfolded bendability in both the absorption axis direction and the transmission axis direction by suppressing the generation of cracks, fold marks and light leakage in the U-shaped stretch test. It can be seen that it has the flexibility involved.
  • the flexible polarizing film of the present invention is capable of suppressing the generation of cracks, breakage of light, and light leakage after being subjected to the twisting test shown in the examples.
  • the twist test is an index indicating the flexibility in the twisted state in the orientation direction (absorption axis direction) in which the polyvinyl alcohol-based resin that is likely to generate cracks, fold marks, and light leakage is oriented. It can be seen that the flexible polarizing film of the present invention has excellent flexibility in a twisted state in the twisting test without occurrence of cracks, folds and light leakage.
  • the flexible polarizing film of the present invention preferably retains the bent shape and suppresses cracking after the bending holding test shown in the examples.
  • the flexible polarizing film maintains its original shape even when it is bent and bent in the orientation direction (absorption axis direction) in which the polyvinyl alcohol resin is oriented and in the orthogonal direction (transmission axis direction). It is an index indicating the flexibility related to the retention that can be performed. It can be seen that the flexible polarizing film of the present invention has excellent holding properties in both the absorption axis direction and the transmission axis direction by holding the bent shape and suppressing cracking in the bending holding test.
  • the flexible polarizing film of the present invention preferably satisfies the bending resistance (mm) of 60 mm or less in the bending resistance test specifically shown in the examples.
  • the bending resistance test is an index indicating flexibility related to the bending followability (low resistance to bending) in the orientation direction (absorption axis direction) in which the polyvinyl alcohol-based resin is oriented and in the orthogonal direction (transmission axis direction).
  • the flexible polarizing film of the present invention has a bending flexibility (low resistance to bending) having a bending resistance of 60 mm or less.
  • the index indicating the flexibility of the bending resistance (mm) is preferably 50 mm or less, and more preferably 40 mm or less.
  • the flexible polarizing film of the present invention preferably satisfies a tensile strength of 5 N / 10 mm or more in the tensile test specifically shown in the examples.
  • the tensile test is an index indicating the strength in the direction (transmission axis direction) orthogonal to the orientation direction (absorption axis direction) in which the polyvinyl alcohol-based resin is oriented. It can be seen that the flexible polarizing film of the present invention has strength in the transmission axis direction when the tensile strength satisfies 5 N / 10 mm or more.
  • the tensile strength is preferably 7 N / 10 mm or more, more preferably 10 N / 10 mm or more from the viewpoint of strength.
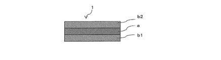
  • the flexible polarizing film 1 in FIG. 1 has a first reinforcing film b1 on the first side of the polyvinyl alcohol-based polarizer 1 and a second reinforcing film b2 on the other second side.
  • the first reinforcing film b1 and the second reinforcing film b2 are directly provided on the polyvinyl alcohol polarizer 1.
  • the flexible polarizing film 1 of the present invention has flexibility in the U-shaped stretch test, and has a transparent protective film or the like on one side or both sides of the polyvinyl alcohol polarizer a, and satisfies the flexibility. This is clearly distinguished from a normal polarizing film that cannot be used.
  • the thickness of the reinforcing membrane is preferably 15 ⁇ m or less from the viewpoint of thinning and flexibility, more preferably 10 ⁇ m or less, and further preferably 7 ⁇ m or less.
  • the thickness of the reinforcing membrane is preferably 1 ⁇ m or more, more preferably 3 ⁇ m or more, and further preferably 5 ⁇ m or more from the viewpoint of flexibility and strength.
  • the ratio (t2 / t1) of the thickness (t2) of the reinforcing film to the thickness (t1) of the polyvinyl alcohol polarizer is preferably 0.4 or more from the viewpoint of flexibility and strength, and more preferably 0. .6 or more is preferable, and further 0.8 or more is preferable.
  • the ratio (t2 / t1) is preferably 2.0 or less, more preferably 1.5 or less, and further preferably 1.2 or less from the viewpoint of thinning. preferable.
  • the U-shaped expansion test and the twist test are more effective than the case where the reinforcing film is provided on only one surface. It is preferable from the viewpoint that the flexibility in the above can be more satisfied and the strength in the tensile test can be satisfied.
  • the thicknesses of the first reinforcing film b1 and the second reinforcing film b2 on both surfaces of the polyvinyl alcohol polarizer 1 may be the same or different, but the first reinforcing film b1 and the second reinforcing film
  • the difference in thickness of b2 is uniform (symmetric) in the stress in the flexible polarizing film in the normal state (the state where the flexible polarizing film is left alone) and in the flexibility test (various tests such as the U-shaped stretch test).
  • the thickness is preferably 10 ⁇ m or less, more preferably 7 ⁇ m or less, further preferably 5 ⁇ m or less, and particularly preferably the same thickness.
  • the reinforcing membrane preferably has a compressive elastic modulus at 23 ° C. of 1 MPa or more from the viewpoint of strength. Furthermore, the compressive elastic modulus of the reinforcing membrane is preferably 10 MPa or more, and more preferably 100 MPa or more. On the other hand, when the compressive elastic modulus of the reinforcing membrane layer increases, the compressive elastic modulus is preferably 10 GPa or less, and more preferably 1 GPa or less, because it tends to be too hard and poor flexibility.
  • the reinforcing film can be formed from various forming materials.
  • the reinforcing film can be formed, for example, by applying a resin material to a polyvinyl alcohol polarizer, or by depositing an inorganic oxide such as SiO 2 on the polyvinyl alcohol polarizer by a sputtering method or the like. You can also
  • the reinforcing film is preferably a resin film formed from a resin material from the viewpoint of simple formation.
  • the reinforcing film may or may not be oriented, and any of them can be used.
  • the reinforcing film When the reinforcing film is oriented, a phase difference occurs and the optical characteristics of the polyvinyl alcohol polarizer change. Therefore, when maintaining the optical characteristics of the polarizer, the reinforcing film that is not substantially oriented.
  • “Substantially not oriented” refers to a state in which the treatment for positively orienting the reinforcing film is not performed although the orientation exists inside the reinforcing film due to the orientation of the polarizer.
  • a reinforcing film that is not practically oriented can be formed by, for example, applying a resin film forming material to a polyvinyl alcohol polarizer.
  • an oriented film can be used as the reinforcing film.
  • the oriented reinforcing film expresses a phase difference and can be used as an optical compensation film or the like.
  • a material for forming the reinforcing film is not particularly limited as long as it is a material that can be adhered to a polyvinyl alcohol polarizer.
  • a polyester resin, a polyether resin, a polycarbonate resin, a polyurethane resin, a silicone resin examples thereof include resins, polyamide resins, polyimide resins, PVA resins, acrylic resins, and epoxy resins. These resin materials can be used singly or in combination of two or more, and among these, one or more selected from the group consisting of polyurethane resins, PVA resins, acrylic resins, and epoxy resins Are preferred, and polyurethane resins and acrylic resins are more preferred.
  • the reinforcing film is formed by applying a liquid material containing a curable component capable of constituting the surface of the polarizer, the resin component or the resin, and then solidifying or curing the liquid material. Can do.
  • the form of the liquid coating liquid is not particularly limited as long as it exhibits a liquid state, and may be any of water-based, water-dispersed, solvent-based, and solvent-free.
  • the forming material may contain an additive as long as the function of the reinforcing film is not impaired.
  • silane coupling agents polyalkylene glycol polyether compounds such as polypropylene glycol
  • powders such as colorants and pigments, dyes, surfactants, plasticizers, tackifiers, antistatic agents, surface lubricants,
  • leveling agents softeners, antioxidants, antioxidants, light stabilizers, UV absorbers, polymerization inhibitors, inorganic or organic fillers, metal powders, particles, foils, etc. It can be added as appropriate.
  • the liquid (coating liquid) has a lower viscosity.
  • the viscosity measured at 25 ° C. is preferably 2000 mPa ⁇ s or less, more preferably 1000 mPa ⁇ s or less, further preferably 500 mPa ⁇ s or less, and further 100 mPa ⁇ s. It is preferable that:
  • the resin component is solidified according to the type.
  • the liquid substance containing the resin component is a solution obtained by dissolving or dispersing the resin component in a solvent, and is used as, for example, an aqueous solution, an aqueous dispersion, or a solvent solution.
  • the solidification means forming a resin layer by removing a solvent from the liquid material.
  • An aqueous resin emulsion can be used as the aqueous dispersion.
  • the aqueous resin emulsion contains emulsion resin particles emulsified in water (dispersion medium).
  • the reinforcing film of the present invention can be formed by directly applying a forming material containing the aqueous resin emulsion to a polarizer and drying it.
  • the resin constituting the emulsion resin is not particularly limited, and examples thereof include acrylic resins, silicone resins, polyurethane resins, and fluorine resins. Among these, in the present invention, polyurethane resins and acrylic resins are preferable because they are excellent in optical transparency and weather resistance and heat resistance.
  • water-based resin emulsion examples include trade name: SE-2915E (acrylic emulsion containing UV absorber) manufactured by Taisei Fine Chemical Co., Ltd., trade names: Aron A-104 and Aron A-106 manufactured by Toagosei Co., Ltd. It is done.
  • SE-2915E acrylic emulsion containing UV absorber
  • the curable component forms a resin according to the type of the curable component.
  • the liquid material containing a curable component that can constitute the resin can be used in a solventless system as long as the curable component exhibits a liquid material.
  • the liquid material may be a solution in which the curable component is dissolved in a solvent.
  • the said curable component exhibits a liquid substance, it can be used as a solution.
  • the solvent can be appropriately selected according to the curable component to be used.
  • the liquid material containing the curable component is irradiated with active energy rays (ultraviolet rays). Curing by irradiation) or the like can be performed.
  • a curable forming material containing a curable component capable of constituting a resin will be described.
  • the curable component can be roughly classified into an active energy ray curable type such as an electron beam curable type, an ultraviolet ray curable type, and a visible light curable type, and a thermosetting type.
  • the ultraviolet curable type and the visible light curable type can be classified into a radical polymerization curable type and a cationic polymerization curable type.
  • an active energy ray having a wavelength range of 10 nm to less than 380 nm is expressed as ultraviolet light
  • an active energy ray having a wavelength range of 380 nm to 800 nm is expressed as visible light.
  • the radical polymerization curable component can be used as a thermosetting curable component.
  • the curable component examples include a radical polymerizable compound.
  • the radical polymerizable compound examples include compounds having a radical polymerizable functional group of a carbon-carbon double bond such as a (meth) acryloyl group and a vinyl group.
  • these curable components either a monofunctional radical polymerizable compound or a bifunctional or higher polyfunctional radical polymerizable compound can be used.
  • these radically polymerizable compounds can be used individually by 1 type or in combination of 2 or more types.
  • compounds having a (meth) acryloyl group are suitable.
  • (meth) acryloyl means an acryloyl group and / or methacryloyl group, and “(meth)” has the same meaning hereinafter.
  • Examples of the monofunctional radical polymerizable compound include (meth) acrylamide derivatives having a (meth) acrylamide group.
  • the (meth) acrylamide derivative is preferable in terms of ensuring adhesion with the polarizer and having a high polymerization rate and excellent productivity.
  • (meth) acrylamide derivatives include, for example, N-methyl (meth) acrylamide, N, N-dimethyl (meth) acrylamide, N, N-diethyl (meth) acrylamide, N-isopropyl (meth) acrylamide, N N-alkyl group-containing (meth) acrylamide derivatives such as butyl (meth) acrylamide and N-hexyl (meth) acrylamide; N-methylol (meth) acrylamide, N-hydroxyethyl (meth) acrylamide, N-methylol-N— N-hydroxyalkyl group-containing (meth) acrylamide derivatives such as propane (meth) acrylamide; N-aminoalkyl group-containing (meth) acrylamide derivatives such as aminomethyl (meth) acrylamide and aminoethyl (meth) acrylamide; N-methoxymethyl N-alkoxy group-containing (meth) acrylamide derivatives such as
  • heterocyclic-containing (meth) acrylamide derivative in which the nitrogen atom of the (meth) acrylamide group forms a heterocyclic ring examples include, for example, N-acryloylmorpholine, N-acryloylpiperidine, N-methacryloylpiperidine, N-acryloylpyrrolidine. Etc.
  • an N-hydroxyalkyl group-containing (meth) acrylamide derivative is preferable from the viewpoint of adhesion to a polarizer, and N-hydroxyethyl (meth) acrylamide is particularly preferable.
  • examples of the monofunctional radical polymerizable compound include various (meth) acrylic acid derivatives having a (meth) acryloyloxy group. Specifically, for example, methyl (meth) acrylate, ethyl (meth) acrylate, n-propyl (meth) acrylate, isopropyl (meth) acrylate, 2-methyl-2-nitropropyl (meth) acrylate, n-butyl ( (Meth) acrylate, isobutyl (meth) acrylate, s-butyl (meth) acrylate, t-butyl (meth) acrylate, n-pentyl (meth) acrylate, t-pentyl (meth) acrylate, 3-pentyl (meth) acrylate, 2,2-dimethylbutyl (meth) acrylate, n-hexyl (meth) acrylate, cetyl (meth) acrylate, n-
  • Examples of the (meth) acrylic acid derivative include cycloalkyl (meth) acrylates such as cyclohexyl (meth) acrylate and cyclopentyl (meth) acrylate; Aralkyl (meth) acrylates such as benzyl (meth) acrylate; 2-isobornyl (meth) acrylate, 2-norbornylmethyl (meth) acrylate, 5-norbornen-2-yl-methyl (meth) acrylate, 3-methyl-2-norbornylmethyl (meth) acrylate, dicyclo Polycyclic (meth) acrylates such as pentenyl (meth) acrylate, dicyclopentenyloxyethyl (meth) acrylate, dicyclopentanyl (meth) acrylate, and the like; 2-methoxyethyl (meth) acrylate, 2-ethoxyethyl (meth) acrylate, 2-methoxymethoxyethyl (
  • Examples of the (meth) acrylic acid derivative include 2-hydroxyethyl (meth) acrylate, 2-hydroxypropyl (meth) acrylate, 3-hydroxypropyl (meth) acrylate, 2-hydroxybutyl (meth) acrylate, 4- Hydroxyalkyl (meth) acrylates such as hydroxybutyl (meth) acrylate, 6-hydroxyhexyl (meth) acrylate, 8-hydroxyoctyl (meth) acrylate, 10-hydroxydecyl (meth) acrylate, 12-hydroxylauryl (meth) acrylate, etc.
  • hydroxyl groups such as [4- (hydroxymethyl) cyclohexyl] methyl acrylate, cyclohexanedimethanol mono (meth) acrylate, 2-hydroxy-3-phenoxypropyl (meth) acrylate, etc.
  • Meth) acrylate Epoxy group-containing (meth) acrylates such as glycidyl (meth) acrylate and 4-hydroxybutyl (meth) acrylate glycidyl ether; 2,2,2-trifluoroethyl (meth) acrylate, 2,2,2-trifluoroethylethyl (meth) acrylate, tetrafluoropropyl (meth) acrylate, hexafluoropropyl (meth) acrylate, octafluoropentyl (meth) ) Halogen-containing (meth) acrylates such as acrylate, heptadecafluorodecyl (meth) acrylate, 3-chloro-2-hydroxypropyl (meth) acrylate; Alkylaminoalkyl (meth) acrylates such as dimethylaminoethyl (meth) acrylate; 3-Oxetanylmethyl (meth) acrylate
  • examples of the monofunctional radically polymerizable compound include carboxyl group-containing monomers such as (meth) acrylic acid, carboxyethyl acrylate, carboxypentyl acrylate, itaconic acid, maleic acid, fumaric acid, crotonic acid, and isocrotonic acid.
  • carboxyl group-containing monomers such as (meth) acrylic acid, carboxyethyl acrylate, carboxypentyl acrylate, itaconic acid, maleic acid, fumaric acid, crotonic acid, and isocrotonic acid.
  • Examples of the monofunctional radical polymerizable compound include lactam vinyl monomers such as N-vinylpyrrolidone, N-vinyl- ⁇ -caprolactam, and methylvinylpyrrolidone; vinylpyridine, vinylpiperidone, vinylpyrimidine, vinylpiperazine, vinylpyrazine, Examples thereof include vinyl monomers having a nitrogen-containing heterocyclic ring such as vinyl pyrrole, vinyl imidazole, vinyl oxazole and vinyl morpholine.
  • lactam vinyl monomers such as N-vinylpyrrolidone, N-vinyl- ⁇ -caprolactam, and methylvinylpyrrolidone
  • vinylpyridine vinylpiperidone
  • vinylpyrimidine vinylpiperazine
  • vinylpyrazine examples thereof include vinyl monomers having a nitrogen-containing heterocyclic ring such as vinyl pyrrole, vinyl imidazole, vinyl oxazole and vinyl morpholine.
  • a radically polymerizable compound having an active methylene group can be used as the monofunctional radically polymerizable compound.
  • the radical polymerizable compound having an active methylene group is a compound having an active methylene group having an active double bond group such as a (meth) acryl group at the terminal or in the molecule.
  • the active methylene group include an acetoacetyl group, an alkoxymalonyl group, and a cyanoacetyl group.
  • the active methylene group is preferably an acetoacetyl group.
  • radical polymerizable compound having an active methylene group examples include 2-acetoacetoxyethyl (meth) acrylate, 2-acetoacetoxypropyl (meth) acrylate, 2-acetoacetoxy-1-methylethyl (meth) acrylate, and the like.
  • Examples include acrylamide, N- (4-acetoacetoxymethylbenzyl) acrylamide, and N- (2-acetoacetylaminoethyl) acrylamide.
  • the radical polymerizable compound having an active methylene group is preferably acetoacetoxyalkyl (meth) acrylate.
  • Examples of the bifunctional or higher polyfunctional radical polymerizable compound include tripropylene glycol di (meth) acrylate, tetraethylene glycol di (meth) acrylate, 1,6-hexanediol di (meth) acrylate, 1,9 -Nonanediol di (meth) acrylate, 1,10-decanediol diacrylate, 2-ethyl-2-butylpropanediol di (meth) acrylate, bisphenol A di (meth) acrylate, bisphenol A ethylene oxide adduct di (meth) ) Acrylate, bisphenol A propylene oxide adduct di (meth) acrylate, bisphenol A diglycidyl ether di (meth) acrylate, neopentyl glycol di (meth) acrylate, tricyclodecane dimethanol di (meth) Acryte, cyclic trimethylol
  • Aronix M-220, M-306 manufactured by Toagosei Co., Ltd.
  • light acrylate 1,9ND-A manufactured by Kyoeisha Chemical Co., Ltd.
  • light acrylate DGE-4A manufactured by Kyoeisha Chemical Co., Ltd.
  • light acrylate DCP- A manufactured by Kyoeisha Chemical Co., Ltd.
  • SR-531 manufactured by Sartomer
  • CD-536 manufactured by Sartomer
  • various epoxy (meth) acrylates, urethane (meth) acrylates, polyester (meth) acrylates, various (meth) acrylate monomers, and the like are included as necessary.
  • the radical polymerizable compound is preferably used in combination with a monofunctional radical polymerizable compound and a polyfunctional radical polymerizable compound from the viewpoint of achieving both adhesion to the polarizer and optical durability.
  • the radical polymerization curable forming material can be used as an active energy ray curable forming material or a thermosetting forming material.
  • the active energy ray curable forming material does not need to contain a photopolymerization initiator, but when using ultraviolet rays or visible light for the active energy ray, It preferably contains a photopolymerization initiator.
  • the curable component when used as a thermosetting component, the forming material preferably contains a thermal polymerization initiator.
  • the photopolymerization initiator in the case of using the radical polymerizable compound is appropriately selected depending on the active energy ray.
  • a photopolymerization initiator for ultraviolet light or visible light cleavage is used.
  • photopolymerization initiator examples include benzophenone compounds such as benzyl, benzophenone, benzoylbenzoic acid, 3,3′-dimethyl-4-methoxybenzophenone; 4- (2-hydroxyethoxy) phenyl (2-hydroxy-2 -Propyl) ketone, aromatic ketone compounds such as ⁇ -hydroxy- ⁇ , ⁇ '-dimethylacetophenone, 2-methyl-2-hydroxypropiophenone, ⁇ -hydroxycyclohexyl phenyl ketone; methoxyacetophenone, 2,2-dimethoxy- Acetophenone compounds such as 2-phenylacetophenone, 2,2-diethoxyacetophenone, 2-methyl-1- [4- (methylthio) -phenyl] -2-morpholinopropane-1; benzoin methyl ether; Benzoin ethyl ether, benzoin Benzoin ether compounds such as isopropyl ether, benzoin butyl ether and ani
  • the blending amount of the photopolymerization initiator is 20 parts by weight or less with respect to 100 parts by weight of the total amount of the curable component (radical polymerizable compound).
  • the blending amount of the photopolymerization initiator is preferably 0.01 to 20 parts by weight, more preferably 0.05 to 10 parts by weight, and further preferably 0.1 to 5 parts by weight.
  • a photopolymerization initiator that is particularly sensitive to light of 380 nm or more.
  • a photopolymerization initiator that is highly sensitive to light of 380 nm or more will be described later.
  • the compound represented by following General formula (1) (Wherein R 1 and R 2 represent —H, —CH 2 CH 3 , —iPr or Cl, and R 1 and R 2 may be the same or different), respectively, or a general formula ( It is preferable to use together the compound represented by 1) and a photopolymerization initiator that is highly sensitive to light of 380 nm or more, which will be described later.
  • the adhesion is excellent as compared with the case where a photopolymerization initiator having high sensitivity to light of 380 nm or more is used alone.
  • diethylthioxanthone in which R 1 and R 2 are —CH 2 CH 3 is particularly preferable.
  • the composition ratio of the compound represented by the general formula (1) in the forming material is preferably 0.1 to 5 parts by weight with respect to 100 parts by weight of the total amount of the curable component, and preferably 0.5 to 4 parts. More preferred are parts by weight, and even more preferred is 0.9 to 3 parts by weight.
  • polymerization initiators include triethylamine, diethylamine, N-methyldiethanolamine, ethanolamine, 4-dimethylaminobenzoic acid, methyl 4-dimethylaminobenzoate, ethyl 4-dimethylaminobenzoate, isoamyl 4-dimethylaminobenzoate, etc. Among them, ethyl 4-dimethylaminobenzoate is particularly preferable.
  • a polymerization initiation assistant When a polymerization initiation assistant is used, its addition amount is usually 0 to 5 parts by weight, preferably 0 to 4 parts by weight, most preferably 0 to 3 parts by weight, based on 100 parts by weight of the total amount of the curable component. is there.
  • a known photopolymerization initiator can be used in combination as necessary.
  • the photopolymerization initiator it is preferable to use a photopolymerization initiator that is highly sensitive to light of 380 nm or more.
  • a photopolymerization initiator in addition to the photopolymerization initiator of the general formula (1), a compound represented by the following general formula (2); Wherein R 3 , R 4 and R 5 represent —H, —CH 3 , —CH 2 CH 3 , —iPr or Cl, and R 3 , R 4 and R 5 may be the same or different. It is preferable to use it.
  • the compound represented by the general formula (2) 2-methyl-1- (4-methylthiophenyl) -2-morpholinopropan-1-one (trade name: IRGACURE907 manufacturer: BASF) which is also a commercial product is suitable. Can be used.
  • 2-benzyl-2-dimethylamino-1- (4-morpholinophenyl) -butanone-1 (trade name: IRGACURE369 manufacturer: BASF)
  • 2- (dimethylamino) -2-[(4-methylphenyl) Methyl] -1- [4- (4-morpholinyl) phenyl] -1-butanone (trade name: IRGACURE379 manufacturer: BASF) is preferred because of its high sensitivity.
  • a radical polymerizable compound having an active methylene group when used as the radical polymerizable compound, it is preferably used in combination with a radical polymerization initiator having a hydrogen abstraction function.
  • radical polymerization initiator having a hydrogen abstracting action examples include thioxanthone radical polymerization initiators and benzophenone radical polymerization initiators.
  • the radical polymerization initiator is preferably a thioxanthone radical polymerization initiator.
  • examples of the thioxanthone radical polymerization initiator include compounds represented by the above general formula (1).
  • Specific examples of the compound represented by the general formula (1) include thioxanthone, dimethylthioxanthone, diethylthioxanthone, isopropylthioxanthone, and chlorothioxanthone.
  • diethylthioxanthone in which R 1 and R 2 are —CH 2 CH 3 is particularly preferable.
  • the radical polymerizable compound having an active methylene group and a radical polymerization initiator having a hydrogen abstraction function when the total amount of the curable component is 100% by weight, It is preferable to contain 1 to 50% by weight of the radical polymerizable compound having an active methylene group and 0.1 to 10 parts by weight of the radical polymerization initiator with respect to 100 parts by weight of the total amount of the curable component.
  • thermal polymerization initiator those in which polymerization does not start by thermal cleavage when the reinforcing film is formed are preferable.
  • thermal polymerization initiator those having a 10-hour half-life temperature of 65 ° C. or higher, more preferably 75 to 90 ° C. are preferable.
  • the half-life is an index representing the decomposition rate of the polymerization initiator and refers to the time until the remaining amount of the polymerization initiator is halved.
  • the decomposition temperature for obtaining a half-life at an arbitrary time and the half-life time at an arbitrary temperature are described in the manufacturer catalog, for example, “Organic peroxide catalog 9th edition by Nippon Oil & Fats Co., Ltd.” (May 2003) ".
  • thermal polymerization initiator examples include lauroyl peroxide (10 hour half-life temperature: 64 ° C.), benzoyl peroxide (10 hour half-life temperature: 73 ° C.), 1,1-bis (t-butylperoxy) -3.
  • thermal polymerization initiator examples include 2,2′-azobisisobutyronitrile (10 hour half-life temperature: 67 ° C.), 2,2′-azobis (2-methylbutyronitrile) (10 hours). And azo compounds such as 1,1-azobis-cyclohexane-1-carbonitrile (10 hour half-life temperature: 87 ° C.).
  • the blending amount of the thermal polymerization initiator is 0.01 to 20 parts by weight with respect to 100 parts by weight of the total amount of the curable component (radical polymerizable compound).
  • the blending amount of the thermal polymerization initiator is preferably 0.05 to 10 parts by weight, more preferably 0.1 to 3 parts by weight.
  • Examples of the curable component of the cationic polymerization curable forming material include compounds having an epoxy group or an oxetanyl group.
  • the compound having an epoxy group is not particularly limited as long as it has at least two epoxy groups in the molecule, and various generally known curable epoxy compounds can be used.
  • a preferable epoxy compound a compound having at least two epoxy groups and at least one aromatic ring in the molecule (aromatic epoxy compound), or at least two epoxy groups in the molecule, at least one of them. Examples thereof include a compound (alicyclic epoxy compound) formed between two adjacent carbon atoms constituting an alicyclic ring.
  • the cationic polymerization curable forming material contains the epoxy compound and the oxetane compound described above as the curable component, and both of these are cured by cationic polymerization, and therefore, a photocationic polymerization initiator is blended therein.
  • This cationic photopolymerization initiator generates a cationic species or a Lewis acid by irradiation with active energy rays such as visible light, ultraviolet rays, X-rays, and electron beams, and starts a polymerization reaction of an epoxy group or an oxetanyl group.
  • the curable forming material according to the present invention preferably contains the following components.
  • the active energy ray-curable forming material according to the present invention can contain an acrylic oligomer obtained by polymerizing a (meth) acrylic monomer, in addition to the curable component related to the radical polymerizable compound.
  • an acrylic oligomer in the active energy ray-curable forming material curing shrinkage when irradiating and curing the active energy ray to the reinforcing film is reduced, and the interfacial stress between the reinforcing film and the polarizer is reduced. can do.
  • the content of the acrylic oligomer is preferably 20 parts by weight or less and more preferably 15 parts by weight or less with respect to 100 parts by weight of the total amount of the curable component.
  • the acrylic oligomer is preferably contained in an amount of 3 parts by weight or more, more preferably 5 parts by weight or more, based on 100 parts by weight of the total amount of the curable component.
  • the active energy ray-curable forming material preferably has a low viscosity in consideration of workability and uniformity during coating, and thus an acrylic oligomer obtained by polymerizing a (meth) acrylic monomer also has a low viscosity. It is preferable.
  • the acrylic oligomer having a low viscosity and capable of preventing curing shrinkage of the reinforcing film preferably has a weight average molecular weight (Mw) of 15000 or less, more preferably 10,000 or less, and particularly preferably 5000 or less. .
  • the weight average molecular weight (Mw) of the acrylic oligomer is preferably 500 or more, more preferably 1000 or more, and preferably 1500 or more. Particularly preferred.
  • the (meth) acrylic monomer constituting the acrylic oligomer include, for example, methyl (meth) acrylate, ethyl (meth) acrylate, n-propyl (meth) acrylate, isopropyl (meth) acrylate, 2-methyl- 2-nitropropyl (meth) acrylate, n-butyl (meth) acrylate, isobutyl (meth) acrylate, S-butyl (meth) acrylate, t-butyl (meth) acrylate, n-pentyl (meth) acrylate, t-pentyl (Meth) acrylate, 3-pentyl (meth) acrylate, 2,2-dimethylbutyl (meth) acrylate, n-hexyl (meth) acrylate, cetyl (meth) acrylate, n-octyl (meth) acrylate, 2-ethylhexyl (
  • acrylic oligomer examples include “ARUFON” manufactured by Toagosei Co., Ltd., “Act Flow” manufactured by Soken Chemical Co., Ltd., “JONCRYL” manufactured by BASF Japan.
  • the active energy ray-curable forming material may contain a photoacid generator.
  • the active energy ray-curable forming material contains a photoacid generator, the water resistance and durability of the reinforcing film can be dramatically improved as compared with a case where no photoacid generator is contained.
  • the photoacid generator can be represented by the following general formula (3).
  • onium salts constituting the photoacid generator include PF 6 ⁇ , SbF 6 ⁇ , AsF 6 ⁇ , SbCl 6 ⁇ , BiCl 5 ⁇ , SnCl 6 ⁇ , ClO 4 ⁇ , dithiocarbamate anion, SCN ⁇ . It is an onium salt comprising an anion selected from more.
  • the content of the photoacid generator is 10 parts by weight or less, preferably 0.01 to 10 parts by weight, and preferably 0.05 to 5 parts by weight with respect to 100 parts by weight of the total amount of the curable component. More preferred is 0.1 to 3 parts by weight.
  • the formation of the reinforcing film by the curable forming material is performed by coating the curable forming material on the surface of the polarizer and then curing.
  • the polarizer may be subjected to a surface modification treatment before coating the curable forming material.
  • Specific examples of the treatment include corona treatment, plasma treatment, and saponification treatment.
  • the coating method of the curable forming material is appropriately selected depending on the viscosity of the curable forming material and the target thickness.
  • coating methods include reverse coaters, gravure coaters (direct, reverse and offset), bar reverse coaters, roll coaters, die coaters, bar coaters, rod coaters and the like.
  • a method such as a dapping method can be appropriately used.
  • the curable forming material is used as an active energy ray curable forming material or a thermosetting forming material.
  • the active energy ray curable forming material can be used in an electron beam curable type, an ultraviolet curable type, or a visible light curable type.
  • active energy ray curing type In the active energy ray curable forming material, after applying the active energy ray curable forming material to the polarizer, the active energy ray (electron beam, ultraviolet ray, visible light, etc.) is irradiated, and the active energy ray curable forming material is applied. Curing to form a reinforcing film.
  • the irradiation direction of active energy rays can be irradiated from any appropriate direction. Preferably, irradiation is performed from the reinforcing film side.
  • the acceleration voltage is preferably 5 kV to 300 kV, and more preferably 10 kV to 250 kV. If the acceleration voltage is less than 5 kV, the electron beam may not reach the deepest part of the reinforcing film and may be insufficiently cured. If the acceleration voltage exceeds 300 kV, the penetrating force through the sample is too strong and damages the polarizer. There is a fear.
  • the irradiation dose is 5 to 100 kGy, more preferably 10 to 75 kGy.
  • the adhesive is insufficiently cured, and when it exceeds 100 kGy, the polarizer is damaged, resulting in a decrease in mechanical strength and yellowing, and the predetermined optical characteristics cannot be obtained.
  • the electron beam irradiation is usually performed in an inert gas, but if necessary, it may be performed in the atmosphere or under a condition where a little oxygen is introduced.
  • an active energy ray containing visible light having a wavelength range of 380 nm to 450 nm particularly an active energy ray having the largest irradiation amount of visible light having a wavelength range of 380 nm to 450 nm.
  • the active energy ray a gallium-filled metal halide lamp and an LED light source that emits light in the wavelength range of 380 to 440 nm are preferable.
  • low pressure mercury lamp medium pressure mercury lamp, high pressure mercury lamp, ultra high pressure mercury lamp, incandescent lamp, xenon lamp, halogen lamp, carbon arc lamp, metal halide lamp, fluorescent lamp, tungsten lamp, gallium lamp, excimer laser or sunlight
  • a light source including visible light can be used, and ultraviolet light having a wavelength shorter than 380 nm can be blocked using a band pass filter.
  • thermosetting type forming material after applying to a polarizer, by heating, polymerization is started by a thermal polymerization initiator to form a cured product layer (reinforcing film).
  • the heating temperature is set according to the thermal polymerization initiator, but is about 60 to 200 ° C., preferably 80 to 150 ° C.
  • a material for forming the reinforcing film for example, a cyanoacrylate-based forming material, an epoxy-based forming material, or an isocyanate-based forming material can be used.
  • Examples of the cyanoacrylate-based forming material include alkyl- ⁇ -cyanoacrylates such as methyl- ⁇ -cyanoacrylate, ethyl- ⁇ -cyanoacrylate, butyl- ⁇ -cyanoacrylate, octyl- ⁇ -cyanoacrylate, and cyclohexyl- ⁇ -. And cyanoacrylate and methoxy- ⁇ -cyanoacrylate.
  • alkyl- ⁇ -cyanoacrylates such as methyl- ⁇ -cyanoacrylate, ethyl- ⁇ -cyanoacrylate, butyl- ⁇ -cyanoacrylate, octyl- ⁇ -cyanoacrylate, and cyclohexyl- ⁇ -.
  • cyanoacrylate and methoxy- ⁇ -cyanoacrylate methoxy- ⁇ -cyanoacrylate.
  • those used as a cyanoacrylate-based adhesive can be used as the cyanoacrylate-based adhesive can be used.
  • the epoxy-based forming material may be used alone as an epoxy resin or may contain an epoxy curing agent. When the epoxy resin is used alone, it is cured by adding a photopolymerization initiator and irradiating active energy rays. When an epoxy curing agent is added as an epoxy-based forming material, for example, those used as an epoxy-based adhesive can be used.
  • the usage form of the epoxy-based forming material can be used as a one-component type containing an epoxy resin and its curing agent, but it is used as a two-component type in which a curing agent is blended with the epoxy resin.
  • Epoxy-based forming materials are usually used as solutions.
  • the solution may be a solvent system or an aqueous system such as an emulsion, a colloidal dispersion, or an aqueous solution.
  • the epoxy resin examples include various compounds containing two or more epoxy groups in the molecule.
  • the epoxy resin examples include various compounds containing two or more epoxy groups in the molecule.
  • bisphenol type epoxy resin aliphatic type epoxy resin, aromatic type epoxy resin, halogenated bisphenol type epoxy resin, biphenyl And epoxy resin.
  • an epoxy resin can be suitably determined according to an epoxy equivalent and the number of functional groups, the epoxy equivalent of 500 or less is used suitably from a durable viewpoint.
  • the curing agent for the epoxy resin is not particularly limited, and various types such as phenol resin type, acid anhydride type, carboxylic acid type, and polyamine type can be used.
  • phenol resin-based curing agent for example, phenol novolak resin, bisphenol novolak resin, xylylene phenol resin, cresol novolak resin, or the like is used.
  • acid anhydride-based curing agents include: maleic anhydride, tetrahydrophthalic anhydride, hexahydrophthalic anhydride, succinic anhydride, and the like.
  • carboxylic acid-based curing agents include carboxylic acids such as pyromellitic acid and trimellitic acid.
  • Examples thereof include block carboxylic acids added with acids and vinyl ether.
  • an epoxy-type two-component formation material what consists of two liquids of an epoxy resin and a polythiol, what consists of two liquids of an epoxy resin and polyamide, etc. can be used, for example.
  • the blending amount of the curing agent varies depending on the equivalent to the epoxy resin, but is preferably 30 to 70 parts by weight, more preferably 40 to 60 parts by weight with respect to 100 parts by weight of the epoxy resin.
  • curing accelerators can be used for the epoxy-based forming material.
  • the curing accelerator include various imidazole compounds and derivatives thereof, dicyandiamide, and the like.
  • Examples of the isocyanate-based forming material include those used as a crosslinking agent in the formation of the pressure-sensitive adhesive layer.
  • As the isocyanate-based crosslinking agent a compound having at least two isocyanate groups can be used.
  • the polyisocyanate compound can be used as an isocyanate-based forming material.
  • Examples include those reacted with polyhydric alcohols and polyhydric amines.
  • isocyanate-based crosslinking agent those having three or more isocyanate groups such as isocyanuric acid tris (6-inocyanate hexyl) are preferable.
  • isocyanate type formation material what is used as an isocyanate type adhesive agent is mention
  • the isocyanate-based forming materials in the present invention, it is preferable to use those having a rigid structure in which a cyclic structure (benzene ring, cyanurate ring, isocyanurate ring, etc.) accounts for a large proportion in the structure.
  • a cyclic structure benzene ring, cyanurate ring, isocyanurate ring, etc.
  • the isocyanate-based forming material for example, trimethylolpropane-tri-tolylene isocyanate, tris (hexamethylene isocyanate) isocyanurate and the like are preferably used.
  • the said isocyanate type crosslinking agent can also use what provided the protective group to the terminal isocyanate group.
  • Protecting groups include oximes and lactams. In the case where the isocyanate group is protected, the protecting group is dissociated from the isocyanate group by heating, and the isocyanate group reacts.
  • a reaction catalyst can be used to increase the reactivity of the isocyanate group.
  • the reaction catalyst is not particularly limited, but a tin-based catalyst or an amine-based catalyst is suitable.
  • the reaction catalyst can use 1 type (s) or 2 or more types.
  • the amount of the reaction catalyst used is usually 5 parts by weight or less with respect to 100 parts by weight of the isocyanate-based crosslinking agent. When the amount of the reaction catalyst is large, the crosslinking reaction rate increases and foaming of the forming material occurs. Even if the forming material after foaming is used, sufficient adhesion cannot be obtained.
  • a reaction catalyst it is preferably 0.01 to 5 parts by weight, more preferably 0.05 to 4 parts by weight.
  • the tin-based catalyst both inorganic and organic catalysts can be used, but an organic catalyst is preferred.
  • the inorganic tin-based catalyst include stannous chloride and stannic chloride.
  • the organic tin-based catalyst is preferably one having at least one organic group such as an aliphatic group or alicyclic group having a skeleton such as a methyl group, an ethyl group, an ether group or an ester group. Examples include tetra-n-butyltin, tri-n-butyltin acetate, n-butyltin trichloride, trimethyltin hydroxide, dimethyltin dichloride, dibutyltin dilaurate, and the like.
  • the amine catalyst is not particularly limited. For example, those having at least one organic group such as an alicyclic group such as quinoclidine, amidine, and diazabicycloundecene are preferable.
  • examples of the amine catalyst include triethylamine.
  • reaction catalysts other than the above include cobalt naphthenate and benzyltrimethylammonium hydroxide.
  • the isocyanate-based forming material is usually used as a solution.
  • the solution may be a solvent system or an aqueous system such as an emulsion, a colloidal dispersion, or an aqueous solution.
  • the organic solvent is not particularly limited as long as the components constituting the forming material are uniformly dissolved. Examples of the organic solvent include toluene, methyl ethyl ketone, ethyl acetate and the like.
  • alcohols such as n-butyl alcohol and isopropyl alcohol and ketones such as acetone can be blended.
  • a dispersant is used, or an isocyanate-based crosslinking agent, a functional group having low reactivity with an isocyanate group such as a carboxylate, a sulfonate, or a quaternary ammonium salt, or an aqueous dispersion such as polyethylene glycol. It can carry out by introduce
  • the formation (curing) of the reinforcing film by the cyanoacrylate-based forming material, the epoxy-based forming material, or the isocyanate-based forming material can be appropriately selected depending on the type of the forming material, but is usually 30 to 100 ° C. It is carried out by drying at a temperature of preferably about 50 to 80 ° C. for about 0.5 to 15 minutes. In the case of a cyanoacrylate-based forming material, since the curing is fast, the reinforcing film can be formed in a time shorter than the above time.
  • polyurethane can be used as a material for forming the reinforcing film.
  • polyurethane it is preferable to use a reaction product of a high-molecular polyol compound and / or a low-molecular polyol and an isocyanate compound and an isocyanate compound.
  • the polyurethane can be further reacted with a low molecular polyamino compound and / or a polyol compound as a chain extender.
  • the polymer polyol compound preferably has a weight average molecular weight of 100 to 4000 and has two or more hydroxyl groups in one molecule, and polyether polyol, polyester polyol, polycarbonate polyol and the like are used.
  • the polymer polyol compound preferably has a weight average molecular weight of 500 to 4000, more preferably 600 to 3500, and even more preferably 1000 to 3000.
  • polyether polyols examples include aliphatic polyether polyols and aromatic polyether polyols. More specifically, for example, low molecular polyols such as dihydric alcohols such as ethylene glycol, diethylene glycol, propylene glycol, butylene glycol and hexamethylene glycol, and trihydric alcohols such as trimethylolpropane, glycerin and pentaerythritol, ethylene oxide , Polyether obtained by addition polymerization of propylene oxide, tetrahydrofuran, or the like is used. These may be used singly or in combination of two or more.
  • low molecular polyols such as dihydric alcohols such as ethylene glycol, diethylene glycol, propylene glycol, butylene glycol and hexamethylene glycol
  • trihydric alcohols such as trimethylolpropane, glycerin and pentaerythritol, ethylene oxide
  • polyester polyols examples include aliphatic polyester polyols and aromatic polyester polyols. More specifically, alcohols such as the above dihydric alcohols, dipropylene glycol, 1,4-butanediol, 1,6-hexanediol and neopentyl glycol, and two bases such as adipic acid, azelaic acid and sebacic acid Polyester composed of a polycondensate with an acid is used. These may be used singly or in combination of two or more.
  • polydiene-based polyols such as polybutadiene, butadiene-acrylonitrile copolymer, polyisoprene having hydroxyl groups at both ends of the molecule, polybutadiene hydrogenated products, polyisoprene hydrogenated products having hydroxyl groups at both ends of the molecules, polyisoprene
  • polyolefin polyols such as isobutylene.
  • examples of the polyamino compound used as the chain extender include aliphatic polyamino compounds and aromatic polyamino compounds. More specifically, for example, ethylenediamine, 3,3′-dichloro-4,4′-diaminodiphenylmethane (MOCA), diethyltoluenediamine (DETDA), 44′-bis- (sec-butyl) diphenylmethane, 2,4 -Tolylenediamine, 2,6-tolylenediamine, xylylenediamine, hexanediamine, isophoronediamine and the like. Of these, ethylenediamine and the like are preferable. These may be used singly or in combination of two or more.
  • MOCA 3,3′-dichloro-4,4′-diaminodiphenylmethane
  • DETDA diethyltoluenediamine
  • 44′-bis- (sec-butyl) diphenylmethane 2,4 -To
  • examples of the low molecular polyol and the polyol compound used as the chain extender include low molecular polyols exemplified in polyether polyol and polyester polyol.
  • the chain extender is preferably used in an amount of 0.1 to 10 parts by weight, more preferably 0.5 to 7 parts by weight, more preferably 1 to 5 parts by weight, based on 100 parts by weight of the polymer polyol compound. More preferably, The use of a chain extender can sufficiently increase the molecular weight and improve the durability.
  • the isocyanate compound is a polyisocyanate (isocyanate compound) having two or more isocyanate groups, and the same as the isocyanate-based forming material can be used.
  • the isocyanate compound can also be used as a urethane prepolymer obtained by reacting the low-molecular polyol exemplified in the polyester polyol and the exemplified isocyanate compound in advance.
  • the formation (curing) of the reinforcing film with polyurethane may be usually performed by applying a liquid material (coating solution) of polyurethane prepared in advance to the polarizer, or contains the polymer polyol compound and the isocyanate compound. After applying the composition to the polarizer, a reinforcing film may be formed of polyurethane as a cured reaction product.
  • the reinforcing membrane can be formed usually by drying at about 30 to 100 ° C., preferably 50 to 80 ° C., for about 0.5 to 15 minutes.
  • an annealing treatment may be performed.
  • Annealing treatment promotes the reaction especially when isocyanate is not sufficiently reacted even after the initial curing in the isocyanate-based forming agent, polyurethane-based forming material, etc. (reactive group remains in the reinforcing film).
  • the annealing treatment can be performed in any atmosphere of a dry condition or a humidified condition.
  • the annealing temperature is about 30 to 100 ° C., preferably 50 to 80 ° C., similarly to the conditions for the initial curing. There is no particular limitation on the annealing time.
  • the weight average molecular weight of polyurethane is preferably 30,000 to 200,000, more preferably 40 to 150,000, and still more preferably 50,000 to 130,000.
  • the weight average molecular weight of the polymer polyol compound and polyurethane was measured under the following conditions of GPC (gel permeation chromatography).
  • Analyzing apparatus HLC-8120GPC manufactured by Tosoh Corporation. Column: manufactured by Tosoh Corporation, G7000HXL + GMHXL + GMHXL. Column size: 7.8 mm ⁇ ⁇ 30 cm each 90 cm in total. Column temperature: 40 ° C. Flow rate: 0.8 ml / min. Injection volume: 100 ⁇ l.
  • Eluent tetrahydrofuran.
  • Detector Suggested refractometer. Standard sample: polystyrene.
  • the reinforcing film has a functional group capable of forming a covalent bond with PVA such as an isocyanate group or an epoxy group, and has a carbon-carbon double bond such as a (meth) acryloyl group or a vinyl group.
  • a compound having a radical polymerizable functional group can be used. Examples of the compound include 2-isocyanatoethyl acrylate (manufactured by Showa Denko, product name Karenz AOI), 1,1- (bisacryloyloxymethyl) ethyl isocyanate (manufactured by Showa Denko, Karenz BEI), and the like. It is done.
  • a reaction product of a polymer containing a diisocyanate compound as a constituent and a hydroxyl group-containing hydroxyl group-containing (meth) acrylate, or the like can be used as the compound.
  • a reaction product of 2-hydroxyethyl acrylate and a polymer containing 1,6-diisocyanatohexane BASF, product name Ralomer LR9000.
  • the compound has a functional group such as an isocyanate group or an epoxy group, a reinforcing film can be formed by thermosetting in the same manner as the isocyanate-based forming agent, and further, an annealing treatment can be performed.
  • the said compound since the said compound has a radically polymerizable functional group, it can be used as an active energy ray hardening type or thermosetting type forming material concerning a radical polymerization hardening type forming material.
  • the compound can be used in combination with other radical polymerizable compounds.
  • the reinforcing film may be formed from a forming material that does not contain a curable component, for example, a forming material that contains the polyvinyl alcohol-based resin as a main component.
  • the polyvinyl alcohol resin forming the reinforcing film may be the same as or different from the polyvinyl alcohol resin contained in the polarizer as long as it is a “polyvinyl alcohol resin”.
  • polyvinyl alcohol resin examples include polyvinyl alcohol.
  • Polyvinyl alcohol is obtained by saponifying polyvinyl acetate.
  • polyvinyl alcohol-based resin examples include a saponified product of a copolymer of vinyl acetate and a monomer having copolymerizability.
  • the copolymerizable monomer is ethylene
  • an ethylene-vinyl alcohol copolymer is obtained.
  • the copolymerizable monomer include unsaturated carboxylic acids such as (anhydrous) maleic acid, fumaric acid, crotonic acid, itaconic acid, (meth) acrylic acid, and esters thereof; ethylene, propylene, etc.
  • ⁇ -olefin (meth) allylsulfonic acid (soda), sulfonic acid soda (monoalkylmalate), disulfonic acid soda alkylmalate, N-methylolacrylamide, acrylamide alkylsulfonic acid alkali salt, N-vinylpyrrolidone, N- Examples include vinyl pyrrolidone derivatives.
  • These polyvinyl alcohol resins can be used alone or in combination of two or more.
  • Polyvinyl alcohol obtained by saponifying polyvinyl acetate is preferable from the viewpoint of satisfying moisture heat resistance and water resistance by controlling the heat of crystal fusion of the reinforcing film to 30 mj / mg or more.
  • the saponification degree of the polyvinyl alcohol-based resin can be, for example, 95% or more, but the heat of crystal fusion of the reinforcing film is controlled to 30 mj / mg or more to satisfy the heat and moisture resistance and water resistance. From the viewpoint, the degree of saponification is preferably 99.0% or more, and more preferably 99.7% or more.
  • the degree of saponification represents the proportion of units that are actually saponified to vinyl alcohol units among the units that can be converted to vinyl alcohol units by saponification, and the residue is a vinyl ester unit.
  • the degree of saponification can be determined according to JIS K 6726-1994.
  • the average degree of polymerization of the polyvinyl alcohol-based resin can be, for example, 500 or more, but the viewpoint of satisfying moisture heat resistance and water resistance by controlling the heat of crystal fusion of the reinforcing film to 30 mj / mg or more. Therefore, the average degree of polymerization is preferably 1000 or more, more preferably 1500 or more, and further preferably 2000 or more.
  • the average degree of polymerization of the polyvinyl alcohol resin is measured according to JIS-K6726.
  • a modified polyvinyl alcohol resin having a hydrophilic functional group in the side chain of the polyvinyl alcohol or a copolymer thereof can be used.
  • the hydrophilic functional group include an acetoacetyl group and a carbonyl group.
  • modified polyvinyl alcohol obtained by acetalization, urethanization, etherification, grafting, phosphoric esterification or the like of a polyvinyl alcohol resin can be used.
  • the forming material containing the polyvinyl alcohol-based resin as a main component can contain a curable component (crosslinking agent) and the like.
  • the proportion of the polyvinyl alcohol resin in the reinforcing film or the forming material (solid content) is preferably 80% by weight or more, more preferably 90% by weight or more, and further preferably 95% by weight or more.
  • the forming material does not contain a curable component (crosslinking agent) from the viewpoint of easily controlling the heat of crystal fusion of the reinforcing film to 30 mj / mg or more.
  • a compound having at least two functional groups having reactivity with the polyvinyl alcohol resin can be used.
  • alkylenediamine having two alkylene groups and two amino groups such as ethylenediamine, triethylenediamine, hexamethylenediamine; tolylene diisocyanate, hydrogenated tolylene diisocyanate, trimethylolpropane tolylene diisocyanate adduct, triphenylmethane triisocyanate, methylene bis (4-Phenylmethane triisocyanate, isophorone diisocyanate and isocyanates such as ketoxime block product or phenol block product thereof; ethylene glycol diglycidyl ether, polyethylene glycol diglycidyl ether, glycerin di or triglycidyl ether, 1,6-hexane Diol diglycidyl ether, trimethylolpropane triglycidyl ether, di Epoxies
  • amino-formaldehyde resins and water-soluble dihydrazine are preferred, and the amino-formaldehyde resin is preferably a compound having a methylol group, particularly methylol melamine, which is a compound having a methylol group.
  • hardenable component crosslinking agent
  • the ratio is 20 weight part or less, 10 weight part or less, 5 weight part with respect to 100 weight part of polyvinyl alcohol-type resin. It is preferable that:
  • the forming material is prepared as a solution in which the polyvinyl alcohol resin is dissolved in a solvent.
  • the solvent include water, dimethyl sulfoxide, dimethylformamide, dimethylacetamide N-methylpyrrolidone, various glycols, polyhydric alcohols such as alcohols, and amines such as ethylenediamine and diethylenetriamine. These may be used alone or in combination of two or more. Among these, it is preferable to use it as an aqueous solution using water as a solvent.
  • the concentration of the polyvinyl alcohol-based resin in the forming material is not particularly limited, but is 0.1 to 15% by weight, preferably 0.5%, in consideration of coating properties and storage stability. ⁇ 10% by weight.
  • a plasticizer examples include polyhydric alcohols such as ethylene glycol and glycerin.
  • the surfactant examples include nonionic surfactants.
  • the reinforcing film can be formed by applying the forming material to a polarizer and drying it.
  • the application operation is not particularly limited, and any appropriate method can be adopted.
  • various means such as a roll coating method, a spin coating method, a wire bar coating method, a dip coating method, a die coating method, a curtain coating method, a spray coating method, a knife coating method (comma coating method, etc.) can be employed.
  • a surface treatment layer can be provided on one side or both sides of the flexible polarizing film of the present invention.
  • the surface treatment layer include a hard coat layer, an antiglare treatment layer, an antireflection layer, and an antisticking layer.
  • the surface treatment layer is preferably a hard coat layer.
  • a material for forming the hard coat layer for example, a thermoplastic resin or a material that is cured by heat or radiation can be used.
  • the material include radiation curable resins such as thermosetting resins, ultraviolet curable resins, and electron beam curable resins.
  • an ultraviolet curable resin that can efficiently form a cured resin layer by a simple processing operation by a curing treatment by ultraviolet irradiation is preferable.
  • these curable resins include polyesters, acrylics, urethanes, amides, silicones, epoxies, melamines, and the like, and these monomers, oligomers, polymers, and the like are included.
  • an antiglare treatment layer or an antireflection layer for the purpose of improving visibility can be provided.
  • An antiglare treatment layer or an antireflection layer can be provided on the hard coat layer.
  • the constituent material of the antiglare layer is not particularly limited, and for example, a radiation curable resin, a thermosetting resin, a thermoplastic resin, or the like can be used.
  • As the antireflection layer titanium oxide, zirconium oxide, silicon oxide, magnesium fluoride, or the like is used.
  • the antireflection layer can be provided with a plurality of layers.
  • examples of the surface treatment layer include a sticking prevention layer.
  • the thickness of the surface treatment layer can be appropriately set depending on the type of the surface treatment layer, but is generally preferably 0.1 to 100 ⁇ m.
  • the thickness of the hard coat layer is preferably 0.5 to 20 ⁇ m.
  • An adhesive layer can be provided on one side or both sides of the flexible polarizing film of the present invention.
  • An appropriate pressure-sensitive adhesive can be used for forming the pressure-sensitive adhesive layer, and the type thereof is not particularly limited.
  • Adhesives include rubber adhesives, acrylic adhesives, silicone adhesives, urethane adhesives, vinyl alkyl ether adhesives, polyvinyl alcohol adhesives, polyvinyl pyrrolidone adhesives, polyacrylamide adhesives, Examples thereof include cellulose-based pressure-sensitive adhesives.
  • pressure-sensitive adhesives those having excellent optical transparency, suitable wettability, cohesiveness, and adhesive pressure characteristics, and excellent weather resistance and heat resistance are preferably used.
  • An acrylic pressure-sensitive adhesive is preferably used as one exhibiting such characteristics.
  • the pressure-sensitive adhesive layer for example, a method in which the pressure-sensitive adhesive is applied to a peeled separator, the polymerization solvent is dried and removed to form a pressure-sensitive adhesive layer, and then transferred to a flexible polarizing film, or flexible
  • the pressure-sensitive adhesive is produced by a method of applying the pressure-sensitive adhesive to the polarizing film, drying and removing the polymerization solvent, and forming a pressure-sensitive adhesive layer on the polarizer.
  • one or more solvents other than the polymerization solvent may be added as appropriate.
  • the thickness of the pressure-sensitive adhesive layer is not particularly limited, and is, for example, about 1 to 100 ⁇ m.
  • the thickness is preferably 2 to 50 ⁇ m, more preferably 2 to 40 ⁇ m, and still more preferably 5 to 35 ⁇ m.
  • the pressure-sensitive adhesive layer When the pressure-sensitive adhesive layer is exposed, the pressure-sensitive adhesive layer may be protected with a peeled sheet (separator) until practical use.
  • the flexible polarizing film of the present invention can be provided with a surface protective film.
  • the surface protective film usually has a base film and an adhesive layer, and protects the flexible polarizing film via the adhesive layer.
  • a film material having isotropic property or close to isotropic property is selected from the viewpoints of inspection property and manageability.
  • film materials include polyester resins such as polyethylene terephthalate film, cellulose resins, acetate resins, polyether sulfone resins, polycarbonate resins, polyamide resins, polyimide resins, polyolefin resins, acrylic resins, and the like. Examples thereof include transparent polymers such as resins. Of these, polyester resins are preferred.
  • the base film can be used as a laminate of one kind or two or more kinds of film materials, and a stretched product of the film can also be used.
  • the thickness of the base film is generally 500 ⁇ m or less, preferably 10 to 200 ⁇ m.
  • the pressure-sensitive adhesive that forms the pressure-sensitive adhesive layer of the surface protective film includes a (meth) acrylic polymer, a silicone-based polymer, a polyester, a polyurethane, a polyamide, a polyether, a fluorine-based or a rubber-based pressure-sensitive adhesive. Can be appropriately selected and used. From the viewpoints of transparency, weather resistance, heat resistance and the like, an acrylic pressure-sensitive adhesive having an acrylic polymer as a base polymer is preferable.
  • the thickness (dry film thickness) of the pressure-sensitive adhesive layer is determined according to the required adhesive force. Usually, it is about 1 to 100 ⁇ m, preferably 5 to 50 ⁇ m.
  • the surface protective film can be provided with a release treatment layer on the surface opposite to the surface on which the pressure-sensitive adhesive layer is provided on the base film, using a low adhesion material such as silicone treatment, long-chain alkyl treatment, or fluorine treatment. .
  • the flexible polarizing film of the present invention is intended to expand various applications that cannot be applied to conventional polarizers and polarizing films as an alternative to polarizers or polarizing films (those provided with a transparent protective film on the polarizer). For example, it can be used as an optical film laminated with another optical layer.
  • the optical layer is not particularly limited.
  • a protective film used for protecting the polarizer.
  • One optical layer or two or more optical layers that may be used for forming an image display device such as a liquid crystal display device or an organic EL display device can be used.
  • the optical layer and the flexible polarizing film can be laminated via an intervening layer such as an adhesive layer, a pressure-sensitive adhesive layer, or an undercoat layer (primer layer). At this time, it is desirable that the both are laminated without an air gap by an intervening layer.
  • an intervening layer such as an adhesive layer, a pressure-sensitive adhesive layer, or an undercoat layer (primer layer).
  • the flexible polarizing film of the present invention or an optical film using the same can be preferably used for forming various image display devices such as liquid crystal display devices and organic EL display devices.
  • the liquid crystal display device can be formed according to the conventional method. That is, a liquid crystal display device is generally formed by appropriately assembling components such as a liquid crystal cell, a flexible polarizing film of the present invention or an optical film using the same, and an illumination system as required, and incorporating a drive circuit.
  • the flexible polarizing film of the present invention is used, and the conventional method can be applied.
  • As the liquid crystal cell an arbitrary type such as an IPS type or a VA type can be used, but is particularly suitable for the IPS type.
  • ⁇ Preparation of polarizer A0> One side of an amorphous isophthalic acid copolymerized polyethylene terephthalate (IPA copolymerized PET) film (thickness: 100 ⁇ m) having a water absorption of 0.75% and Tg of 75 ° C. is subjected to corona treatment.
  • Alcohol polymerization degree 4200, saponification degree 99.2 mol%) and acetoacetyl-modified PVA (polymerization degree 1200, acetoacetyl modification degree 4.6%, saponification degree 99.0 mol% or more, manufactured by Nippon Synthetic Chemical Industry Co., Ltd.
  • aqueous solution containing 9: 1 ratio of the trade name “Gosefimer Z200”) was applied and dried at 25 ° C. to form a PVA-based resin layer having a thickness of 11 ⁇ m, thereby preparing a laminate.
  • the obtained laminate was uniaxially stretched in the longitudinal direction (longitudinal direction) 2.0 times between rolls having different peripheral speeds in an oven at 120 ° C. (air-assisted stretching process).
  • the laminate was immersed in an insolubilization bath (a boric acid aqueous solution obtained by blending 4 parts by weight of boric acid with respect to 100 parts by weight of water) for 30 seconds (insolubilization treatment).
  • boric acid aqueous solution obtained by blending 3 parts by weight of potassium iodide and 3 parts by weight of boric acid with respect to 100 parts by weight of water.
  • Crosslinking treatment Thereafter, the laminate was immersed in a boric acid aqueous solution (an aqueous solution obtained by blending 4 parts by weight of boric acid and 5 parts by weight of potassium iodide with respect to 100 parts by weight of water) at a liquid temperature of 70 ° C.
  • uniaxial stretching was performed between rolls having different peripheral speeds in the longitudinal direction (longitudinal direction) so that the total stretching ratio was 5.5 times (in-water stretching treatment).
  • the laminate was immersed in a cleaning bath (an aqueous solution obtained by blending 4 parts by weight of potassium iodide with respect to 100 parts by weight of water) at a liquid temperature of 30 ° C. (cleaning treatment).
  • a cleaning bath an aqueous solution obtained by blending 4 parts by weight of potassium iodide with respect to 100 parts by weight of water
  • cleaning treatment a liquid temperature of 30 ° C.
  • Polarizers A1 and A2 were produced in the same manner as in the production of the polarizer A0 except that the production conditions for the polarizer A0 were changed as shown in Table 1.
  • Table 1 shows the thickness, optical characteristics (single transmittance, polarization degree), and boric acid concentration of the polarizers A0 to A2.
  • ⁇ Preparation of Polarizer B1 (12 ⁇ m Thick Polarizer)>
  • a polyvinyl alcohol film having an average polymerization degree of 2400 and a saponification degree of 99.9 mol% and a thickness of 30 ⁇ m was immersed in warm water at 30 ° C. for 60 seconds to swell.
  • the thickness of the obtained polarizer B1 was 12 ⁇ m.
  • the optical properties of the obtained polarizer B1 were a transmittance of 42.8% and a polarization degree of 99.99%.
  • Polyurethane material 50 parts of urethane prepolymer consisting of tolylene diisocyanate and trimethylolpropane (manufactured by Tosoh Corporation, Coronate L), 50 parts of polycarbonate polyol (manufactured by Sumika Bayer Urethane Co., Ltd., Desmophen C3100XP), dioctyltin dilaurate system 0.1 parts of a catalyst (manufactured by Tokyo Fine Chemical Co., Ltd., ENBOLiser OL-1) was added, and methyl isobutyl ketone was used as a solvent to obtain a coating solution adjusted to a solid content concentration of 35%.
  • urethane prepolymer consisting of tolylene diisocyanate and trimethylolpropane
  • polycarbonate polyol manufactured by Sumika Bayer Urethane Co., Ltd., Desmophen C3100XP
  • dioctyltin dilaurate system
  • UV curable material Reaction product of 2-hydroxyethyl acrylate and a polymer containing 1,6-diisocyanatohexane as a component in 50 parts of urethane acrylate oligomer (manufactured by Nippon Synthetic Chemical Co., Ltd., purple light UV1700TL) BASF, product name Laromar LR9000 (50 parts) and photoinitiator (BASF, IRGACURE907) (3 parts) were added, and methyl isobutyl ketone was used as a solvent to obtain a coating solution adjusted to a solid content concentration of 35%. .
  • HEAA N-hydroxyethylacrylamide
  • ACMO acryloylmorpholine
  • UVGACURE 819 photoinitiator
  • Example 1 Preparation of flexible polarizing film
  • the polyurethane-based material (1) of the reinforcing film is cured on the polarizer (first surface) of the polarizer A0 (optical film laminate including a polarizer having a thickness of 5 ⁇ m) obtained above.
  • initial curing is performed under conditions of 60 ° C. and 10 minutes, and then a first reinforcing film is formed by performing annealing treatment under conditions of 60 ° C. and 12 hours. did.
  • the amorphous PET substrate of the optical film laminate was peeled off. Thereafter, the polyurethane-based material (1) of the reinforcing film was applied to a polarizer (second surface as a peeling surface) using a wire bar coater so that the thickness after curing was 5 ⁇ m, and then 60 ° C.
  • the second reinforcing film was formed by initial curing under conditions of 10 minutes, and then annealing treatment at 60 ° C. for 12 hours. Then, the flexible polarizing film which has a reinforcement film on both surfaces of a polarizer was obtained by removing the surface protection film bonded on the 1st reinforcement film.
  • Example 1 a flexible polarizing film having a reinforcing film on both sides of the polarizer was prepared in the same manner as in Example 1 except that the type of polarizer and the thickness of the reinforcing film were changed as shown in Table 2. .
  • Example 5 Preparation of flexible polarizing film
  • the UV curable material (2) of the reinforcing film is applied to the polarizer (first surface) of the polarizer A0 (optical film laminate including a polarizer having a thickness of 5 ⁇ m) obtained above.
  • the coating was heated at 60 ° C. for 1 minute.
  • a first reinforcing film was formed by irradiating the heated coating film with ultraviolet light having an integrated light quantity of 300 mJ / cm 2 with a high-pressure mercury lamp.
  • the amorphous PET substrate of the optical film laminate was peeled off.
  • the UV curable material (2) of the reinforcing film was applied to a polarizer (second surface as a peeling surface) using a wire bar coater so that the thickness after curing was 5 ⁇ m, and then 60 Heated at 0 ° C. for 1 minute.
  • a second reinforcing film was formed by irradiating the heated coating film with ultraviolet light having an integrated light quantity of 300 mJ / cm 2 using a high-pressure mercury lamp.
  • the flexible polarizing film which has a reinforcement film on both surfaces of a polarizer was obtained by removing the surface protection film bonded on the 1st reinforcement film.
  • Example 6 Preparation of flexible polarizing film
  • the aqueous resin emulsion material (3) of the reinforcing film is used with a wire bar coater. After coating so that the thickness after curing was 5 ⁇ m, the coating was cured under the conditions of 80 ° C. for 5 minutes to form a first reinforcing film.
  • a surface protective film manufactured by Nitto Denko, RP301
  • the amorphous PET substrate of the optical film laminate was peeled off.
  • Comparative Examples 1 to 3 A polarizing film having a reinforcing film having reinforcing films on both sides of the polarizer in the same manner as in Example 1 except that the type of polarizer and the thickness of the reinforcing film were changed as shown in Table 2 in Example 1. Was made.
  • Comparative Example 4 (Production of a piece protective polarizing film) On the polarizer (first surface) of the polarizer A0 (optical film laminate including a polarizer having a thickness of 5 ⁇ m) obtained above, the thickness of the adhesive layer after curing the ultraviolet curable adhesive becomes 1 ⁇ m. Then, the protective film (acrylic) was applied, and ultraviolet rays were applied as active energy rays to cure the adhesive. Ultraviolet irradiation is performed using a gallium-encapsulated metal halide lamp, an irradiation device: Fusion UV Systems, Inc.
  • Light HAMMER 10, Inc. bulb: V bulb, peak illuminance: 1600 mW / cm 2 , integrated irradiation amount 1000 / mJ / cm 2 (wavelength 380 to 440 nm) ), And the illuminance of ultraviolet rays was measured using a Sola-Check system manufactured by Solatell. Subsequently, the amorphous PET base material of the optical film laminate was peeled off to obtain a piece protective polarizing film.
  • Example 1 a flexible polarizing film having a second reinforcing film only on one side of the polarizer was produced in the same manner as in Example 1 except that the first reinforcing film was not provided.
  • Example 1 a flexible polarizing film having the first reinforcing film only on one surface of the polarizer was produced in the same manner as in Example 1 except that the second reinforcing film was not provided.
  • ⁇ Single transmittance T and polarization degree P of polarizer> The single transmittance T and the polarization degree P of the obtained polarizing film were measured using a spectral transmittance measuring device with an integrating sphere (Dot-3c of Murakami Color Research Laboratory).
  • the degree of polarization P is the transmittance when two identical polarizing films are overlapped so that their transmission axes are parallel (parallel transmittance: Tp), and overlapped so that their transmission axes are orthogonal to each other. It is calculated
  • Polarization degree P (%) ⁇ (Tp ⁇ Tc) / (Tp + Tc) ⁇ 1/2 ⁇ 100
  • Each transmittance is indicated by a Y value obtained by correcting visibility with a two-degree field of view (C light source) of JIS Z8701 with 100% of the completely polarized light obtained through the Granteller prism.
  • TI900 TriboIndenter manufactured by Hystron was used for the measurement of compression modulus.
  • the obtained polarizer with a reinforcing film (polarizing film) was cut into a size of 10 mm ⁇ 10 mm, fixed to a support equipped with a TriboIndenter, and the compression modulus was measured by a nanoindentation method. At that time, the position was adjusted so that the used indenter pushed in the vicinity of the center of the transparent layer.
  • the measurement conditions are shown below.
  • Working indenter Berkovich (triangular pyramid type) Measuring method: Single indentation measurement Measuring temperature: 23 ° C Indentation depth setting: 100 nm
  • the bending by the expansion and contraction was performed in the same manner as described above so that the other one side (second surface) of the rectangular object was inwardly U-shaped (bending on the second surface side in the transmission axis direction). ). Further, the bending by the expansion and contraction is performed so that the first surface and the second surface are inwardly U-shaped with respect to a rectangular object (sample) of 50 mm (transmission axis direction) ⁇ 100 mm (absorption axis direction). The same was done (bending on the first surface side and the second surface side in the absorption axis direction).
  • ⁇ Torsion test> It was performed using a planar body no-load twist tester (product name: main body TCDM111LH and jig: planar body no-load twist test jig) manufactured by Yuasa System Equipment Co., Ltd. After sandwiching and fixing both short sides of the rectangular object 1 (sample) of 100 mm (absorption axis direction) ⁇ 150 mm (transmission axis direction) with the twisting clips 11 and 12 of the tester, one short side is the clip 12. The clip 11 on the other short side was twisted under the following conditions while being fixed at. The state of twisting is shown in FIG.
  • Twist speed 10rpm Twist angle: 45 degrees Twist number: 100 times
  • No cracking or light leakage occurred. And there were no creases left.
  • No cracking or light leakage occurred. But there was a crease left.
  • X Cracks and light leakage occurred. And there were creases left.
  • the crack, fold mark, and light omission standard in the U-shaped stretch test and the twist test are as follows.
  • “Crack” means that cracks or cracks have occurred through the sample (a flexible polarizing film, a polarizing film having a reinforcing film, or all or part of a layer constituting a single protective polarizing film).
  • “Fold marks” are applied to the sample (flexible polarizing film, polarizing film having a reinforcing film, or all or part of a layer constituting a single protective polarizing film) even after the load is removed by bending or local load. It shows that the remaining visible trace has occurred.
  • “Light loss” indicates that the polarizer itself is torn or cracked.
  • Confirmation of light leakage is performed by using a sample after testing (flexible polarizing film, polarizing film having a reinforcing film, or all layers constituting a piece of protective polarizing film) and other normal polarizing films on both sides of the glass in a crossed Nicol state. It was carried out by pasting light such as a backlight.
  • a rectangular object 1 (sample) of 200 mm (absorption axis direction) ⁇ 300 mm (transmission axis direction) was placed on a horizontal base 31.
  • the rectangular object 1 was folded in three in the transmission axis direction (major axis direction), and then a load 32 of 100 g was applied so as to apply a load to the entire uppermost surface, and left for 5 minutes. The state of bending is shown in FIG. Thereafter, the load 32 was removed.
  • the same operation (however, the sample was folded in three in the absorption axis direction (major axis direction)) was performed on a rectangular object (sample) of 200 mm (transmission axis direction) ⁇ 300 mm (absorption axis direction). . After the bending holding test, it is visually confirmed whether the sample is held in a tri-folded state, and when the tri-folded shape is maintained, the sample is returned to the original state (planar) and visually checked as follows. Evaluated by criteria. The evaluation was performed three times for each sample of the long side in the transmission axis direction and the long side in the absorption axis direction.
  • the sample was gently slid and moved to the slope side at an extrusion speed of 10 mm / sec (1).
  • the sample stopped moving at the point where the tip of the sample first contacted the slope (2).
  • the distance L (mm) by which the sample moved while the top was flat was measured.
  • a rectangular object (flexible polarizing film sample) of 50 mm (transmission axis direction) ⁇ 150 mm (absorption axis direction) the same operation as described above (however, the sample was set to have a slope in the absorption axis direction) was performed. .
  • the bending resistance (mm) is the shortest linear distance for each of the two patterns with the first surface on the upper side and the second surface on the upper side for the samples with the transmission axis direction long side and the absorption axis direction long side, respectively.
  • L (mm) was measured (12 samples in total) and used as the arithmetic average value thereof. Further, in any one or more measurements of 12 samples, when there was a sample that could not be measured due to deformation or curl of the sample, it was determined that the sample was not measurable.
  • ⁇ Tensile test> A sample (flexible polarizing film sample) was prepared by cutting into a predetermined shape of 10 mm (absorption axis direction) ⁇ 150 mm (transmission axis direction) with a multipurpose test piece cutter (dumbbell). About the said sample, the tension test was implemented by autograph AG-IS by Shimadzu Corporation at the tension

Landscapes

  • Physics & Mathematics (AREA)
  • Chemical & Material Sciences (AREA)
  • General Physics & Mathematics (AREA)
  • Optics & Photonics (AREA)
  • Nonlinear Science (AREA)
  • Polymers & Plastics (AREA)
  • Engineering & Computer Science (AREA)
  • Organic Chemistry (AREA)
  • Health & Medical Sciences (AREA)
  • Chemical Kinetics & Catalysis (AREA)
  • Medicinal Chemistry (AREA)
  • Manufacturing & Machinery (AREA)
  • Crystallography & Structural Chemistry (AREA)
  • Mathematical Physics (AREA)
  • Theoretical Computer Science (AREA)
  • Materials Engineering (AREA)
  • Polarising Elements (AREA)
  • Liquid Crystal (AREA)
  • Devices For Indicating Variable Information By Combining Individual Elements (AREA)
  • Electroluminescent Light Sources (AREA)
PCT/JP2017/012594 2016-03-29 2017-03-28 フレキシブル偏光膜、その製造方法および画像表示装置 Ceased WO2017170522A1 (ja)

Priority Applications (4)

Application Number Priority Date Filing Date Title
KR1020187028929A KR102262499B1 (ko) 2016-03-29 2017-03-28 플렉서블 편광막, 그 제조 방법 및 화상 표시 장치
JP2018508056A JPWO2017170522A1 (ja) 2016-03-29 2017-03-28 フレキシブル偏光膜、その製造方法および画像表示装置
CN201780020461.7A CN108885296A (zh) 2016-03-29 2017-03-28 挠性偏振膜、其制造方法及图像显示装置
TW106110531A TW201736454A (zh) 2016-03-29 2017-03-29 撓性偏光膜、其製造方法及影像顯示裝置

Applications Claiming Priority (2)

Application Number Priority Date Filing Date Title
JP2016-066342 2016-03-29
JP2016066342 2016-03-29

Publications (1)

Publication Number Publication Date
WO2017170522A1 true WO2017170522A1 (ja) 2017-10-05

Family

ID=59964610

Family Applications (1)

Application Number Title Priority Date Filing Date
PCT/JP2017/012594 Ceased WO2017170522A1 (ja) 2016-03-29 2017-03-28 フレキシブル偏光膜、その製造方法および画像表示装置

Country Status (5)

Country Link
JP (2) JPWO2017170522A1 (enExample)
KR (1) KR102262499B1 (enExample)
CN (1) CN108885296A (enExample)
TW (1) TW201736454A (enExample)
WO (1) WO2017170522A1 (enExample)

Cited By (4)

* Cited by examiner, † Cited by third party
Publication number Priority date Publication date Assignee Title
JPWO2017170516A1 (ja) * 2016-03-29 2018-10-18 日東電工株式会社 フレキシブル偏光膜、その製造方法および画像表示装置
JPWO2017170527A1 (ja) * 2016-03-29 2018-10-18 日東電工株式会社 フレキシブル偏光膜、その製造方法および画像表示装置
JPWO2017170525A1 (ja) * 2016-03-29 2018-10-18 日東電工株式会社 フレキシブル偏光膜、その製造方法および画像表示装置
WO2020004323A1 (ja) * 2018-06-28 2020-01-02 日本ゼオン株式会社 偏光フィルム及びその製造方法

Families Citing this family (3)

* Cited by examiner, † Cited by third party
Publication number Priority date Publication date Assignee Title
CN109960072A (zh) * 2017-12-22 2019-07-02 深超光电(深圳)有限公司 偏光片及使用该偏光片的液晶显示装置
WO2019146677A1 (ja) * 2018-01-25 2019-08-01 株式会社クラレ 偏光フィルム及びその製造方法
CN115916526A (zh) * 2020-06-24 2023-04-04 日东电工株式会社 光学层叠体、带粘合剂层的光学层叠体以及图像显示装置

Citations (4)

* Cited by examiner, † Cited by third party
Publication number Priority date Publication date Assignee Title
JPH11183726A (ja) * 1997-12-18 1999-07-09 Nippon Synthetic Chem Ind Co Ltd:The 偏光フィルムおよびそれを用いた偏光板
JP2006291173A (ja) * 2005-03-16 2006-10-26 Nippon Synthetic Chem Ind Co Ltd:The ポリビニルアルコール系フィルムおよびその製造方法
JP2007009056A (ja) * 2005-06-30 2007-01-18 Nippon Synthetic Chem Ind Co Ltd:The 光学フィルム用ポリビニルアルコール系フィルムおよびその製法ならびにそれを用いて得られる偏光フィルム、偏光板
JP2016033215A (ja) * 2013-06-21 2016-03-10 日東電工株式会社 セパレータ付粘着剤層およびその製造方法、セパレータ付粘着剤層付偏光フィルムおよびその製造方法、ならびに画像表示装置

Family Cites Families (13)

* Cited by examiner, † Cited by third party
Publication number Priority date Publication date Assignee Title
KR100632510B1 (ko) 2004-04-30 2006-10-09 엘지전자 주식회사 와이어 그리드 편광자 및 그 제조 방법
JP2007232792A (ja) 2006-02-27 2007-09-13 Nippon Zeon Co Ltd グリッド偏光フィルムの製造方法
JP2010133987A (ja) * 2007-03-12 2010-06-17 Toagosei Co Ltd 光学フィルム積層体及びそれを用いた表示装置
JP2010107969A (ja) * 2008-10-02 2010-05-13 Dainippon Printing Co Ltd 偏光子保護用光学フィルム、偏光板、及び画像表示装置
JP4691205B1 (ja) * 2010-09-03 2011-06-01 日東電工株式会社 薄型高機能偏光膜を含む光学フィルム積層体の製造方法
JP5983098B2 (ja) * 2012-06-29 2016-08-31 東亞合成株式会社 偏光板
JP2014206725A (ja) * 2013-03-19 2014-10-30 富士フイルム株式会社 偏光板および液晶表示装置
KR20150136097A (ko) * 2013-04-26 2015-12-04 코니카 미놀타 가부시키가이샤 편광판, 그 제조 방법 및 액정 표시 장치
JP6249820B2 (ja) * 2014-02-27 2017-12-20 住友化学株式会社 偏光板の製造方法及び偏光板
JP6378525B2 (ja) * 2014-04-17 2018-08-22 日東電工株式会社 有機エレクトロルミネセンス表示装置
JPWO2017170527A1 (ja) * 2016-03-29 2018-10-18 日東電工株式会社 フレキシブル偏光膜、その製造方法および画像表示装置
JPWO2017170516A1 (ja) * 2016-03-29 2018-10-18 日東電工株式会社 フレキシブル偏光膜、その製造方法および画像表示装置
JPWO2017170525A1 (ja) * 2016-03-29 2018-10-18 日東電工株式会社 フレキシブル偏光膜、その製造方法および画像表示装置

Patent Citations (4)

* Cited by examiner, † Cited by third party
Publication number Priority date Publication date Assignee Title
JPH11183726A (ja) * 1997-12-18 1999-07-09 Nippon Synthetic Chem Ind Co Ltd:The 偏光フィルムおよびそれを用いた偏光板
JP2006291173A (ja) * 2005-03-16 2006-10-26 Nippon Synthetic Chem Ind Co Ltd:The ポリビニルアルコール系フィルムおよびその製造方法
JP2007009056A (ja) * 2005-06-30 2007-01-18 Nippon Synthetic Chem Ind Co Ltd:The 光学フィルム用ポリビニルアルコール系フィルムおよびその製法ならびにそれを用いて得られる偏光フィルム、偏光板
JP2016033215A (ja) * 2013-06-21 2016-03-10 日東電工株式会社 セパレータ付粘着剤層およびその製造方法、セパレータ付粘着剤層付偏光フィルムおよびその製造方法、ならびに画像表示装置

Cited By (8)

* Cited by examiner, † Cited by third party
Publication number Priority date Publication date Assignee Title
JPWO2017170516A1 (ja) * 2016-03-29 2018-10-18 日東電工株式会社 フレキシブル偏光膜、その製造方法および画像表示装置
JPWO2017170527A1 (ja) * 2016-03-29 2018-10-18 日東電工株式会社 フレキシブル偏光膜、その製造方法および画像表示装置
JPWO2017170525A1 (ja) * 2016-03-29 2018-10-18 日東電工株式会社 フレキシブル偏光膜、その製造方法および画像表示装置
WO2020004323A1 (ja) * 2018-06-28 2020-01-02 日本ゼオン株式会社 偏光フィルム及びその製造方法
CN112313549A (zh) * 2018-06-28 2021-02-02 日本瑞翁株式会社 偏振膜及其制造方法
JPWO2020004323A1 (ja) * 2018-06-28 2021-08-05 日本ゼオン株式会社 偏光フィルム及びその製造方法
CN112313549B (zh) * 2018-06-28 2022-09-20 日本瑞翁株式会社 偏振膜及其制造方法
JP7435440B2 (ja) 2018-06-28 2024-02-21 日本ゼオン株式会社 偏光フィルム及びその製造方法

Also Published As

Publication number Publication date
TW201736454A (zh) 2017-10-16
KR20180121975A (ko) 2018-11-09
JPWO2017170522A1 (ja) 2018-10-18
CN108885296A (zh) 2018-11-23
JP2020160461A (ja) 2020-10-01
KR102262499B1 (ko) 2021-06-09

Similar Documents

Publication Publication Date Title
WO2017170527A1 (ja) フレキシブル偏光膜、その製造方法および画像表示装置
JP6077619B2 (ja) 片保護偏光フィルム、粘着剤層付偏光フィルム、画像表示装置およびその連続製造方法
JP6077618B2 (ja) 片保護偏光フィルム、粘着剤層付偏光フィルム、画像表示装置およびその連続製造方法
KR102567394B1 (ko) 편보호 편광 필름, 점착제층 부착 편광 필름, 화상 표시 장치 및 그 연속 제조 방법
WO2017170522A1 (ja) フレキシブル偏光膜、その製造方法および画像表示装置
JP2020160462A (ja) フレキシブル偏光膜、その製造方法および画像表示装置
WO2016052549A1 (ja) 片保護偏光フィルム、粘着剤層付偏光フィルム、画像表示装置およびその連続製造方法
US20140315019A1 (en) Adhesive film having a phase difference, method for manufacturing same, and optical member including same
JP2020160460A (ja) フレキシブル偏光膜、その製造方法および画像表示装置
JP7178776B2 (ja) 偏光フィルムの製造方法
WO2016052531A1 (ja) 片保護偏光フィルム、粘着剤層付偏光フィルム、画像表示装置およびその連続製造方法
TWI683142B (zh) 單面保護偏光薄膜、附黏著劑層之偏光薄膜、影像顯示裝置及其連續製造方法
JP6931518B2 (ja) 片保護偏光フィルム、粘着剤層付偏光フィルム、画像表示装置およびその連続製造方法
JP2019053210A (ja) 偏光フィルムおよび画像表示装置
WO2016052534A1 (ja) 片保護偏光フィルム、粘着剤層付偏光フィルム、画像表示装置およびその連続製造方法

Legal Events

Date Code Title Description
ENP Entry into the national phase

Ref document number: 2018508056

Country of ref document: JP

Kind code of ref document: A

NENP Non-entry into the national phase

Ref country code: DE

ENP Entry into the national phase

Ref document number: 20187028929

Country of ref document: KR

Kind code of ref document: A

121 Ep: the epo has been informed by wipo that ep was designated in this application

Ref document number: 17775059

Country of ref document: EP

Kind code of ref document: A1

122 Ep: pct application non-entry in european phase

Ref document number: 17775059

Country of ref document: EP

Kind code of ref document: A1