WO2017150553A1 - 撮像装置 - Google Patents

撮像装置 Download PDF

Info

Publication number
WO2017150553A1
WO2017150553A1 PCT/JP2017/007894 JP2017007894W WO2017150553A1 WO 2017150553 A1 WO2017150553 A1 WO 2017150553A1 JP 2017007894 W JP2017007894 W JP 2017007894W WO 2017150553 A1 WO2017150553 A1 WO 2017150553A1
Authority
WO
WIPO (PCT)
Prior art keywords
opening
pixel
shielding member
light shielding
imaging
Prior art date
Legal status (The legal status is an assumption and is not a legal conclusion. Google has not performed a legal analysis and makes no representation as to the accuracy of the status listed.)
Ceased
Application number
PCT/JP2017/007894
Other languages
English (en)
French (fr)
Japanese (ja)
Inventor
太朗 加藤
一也 五十嵐
崇史 三木
市川 武史
章成 高木
Current Assignee (The listed assignees may be inaccurate. Google has not performed a legal analysis and makes no representation or warranty as to the accuracy of the list.)
Canon Inc
Original Assignee
Canon Inc
Priority date (The priority date is an assumption and is not a legal conclusion. Google has not performed a legal analysis and makes no representation as to the accuracy of the date listed.)
Filing date
Publication date
Application filed by Canon Inc filed Critical Canon Inc
Publication of WO2017150553A1 publication Critical patent/WO2017150553A1/ja
Priority to US16/116,748 priority Critical patent/US20180376089A1/en
Anticipated expiration legal-status Critical
Ceased legal-status Critical Current

Links

Images

Classifications

    • HELECTRICITY
    • H04ELECTRIC COMMUNICATION TECHNIQUE
    • H04NPICTORIAL COMMUNICATION, e.g. TELEVISION
    • H04N25/00Circuitry of solid-state image sensors [SSIS]; Control thereof
    • H04N25/70SSIS architectures; Circuits associated therewith
    • H04N25/703SSIS architectures incorporating pixels for producing signals other than image signals
    • H04N25/705Pixels for depth measurement, e.g. RGBZ
    • GPHYSICS
    • G01MEASURING; TESTING
    • G01CMEASURING DISTANCES, LEVELS OR BEARINGS; SURVEYING; NAVIGATION; GYROSCOPIC INSTRUMENTS; PHOTOGRAMMETRY OR VIDEOGRAMMETRY
    • G01C3/00Measuring distances in line of sight; Optical rangefinders
    • G01C3/02Details
    • G01C3/06Use of electric means to obtain final indication
    • G01C3/08Use of electric radiation detectors
    • G01C3/085Use of electric radiation detectors with electronic parallax measurement
    • GPHYSICS
    • G02OPTICS
    • G02BOPTICAL ELEMENTS, SYSTEMS OR APPARATUS
    • G02B7/00Mountings, adjusting means, or light-tight connections, for optical elements
    • G02B7/28Systems for automatic generation of focusing signals
    • G02B7/34Systems for automatic generation of focusing signals using different areas in a pupil plane
    • G02B7/346Systems for automatic generation of focusing signals using different areas in a pupil plane using horizontal and vertical areas in the pupil plane, i.e. wide area autofocusing
    • HELECTRICITY
    • H04ELECTRIC COMMUNICATION TECHNIQUE
    • H04NPICTORIAL COMMUNICATION, e.g. TELEVISION
    • H04N23/00Cameras or camera modules comprising electronic image sensors; Control thereof
    • H04N23/60Control of cameras or camera modules
    • H04N23/67Focus control based on electronic image sensor signals
    • H04N23/672Focus control based on electronic image sensor signals based on the phase difference signals
    • HELECTRICITY
    • H04ELECTRIC COMMUNICATION TECHNIQUE
    • H04NPICTORIAL COMMUNICATION, e.g. TELEVISION
    • H04N25/00Circuitry of solid-state image sensors [SSIS]; Control thereof
    • H04N25/70SSIS architectures; Circuits associated therewith
    • HELECTRICITY
    • H04ELECTRIC COMMUNICATION TECHNIQUE
    • H04NPICTORIAL COMMUNICATION, e.g. TELEVISION
    • H04N25/00Circuitry of solid-state image sensors [SSIS]; Control thereof
    • H04N25/70SSIS architectures; Circuits associated therewith
    • H04N25/703SSIS architectures incorporating pixels for producing signals other than image signals
    • H04N25/704Pixels specially adapted for focusing, e.g. phase difference pixel sets
    • HELECTRICITY
    • H10SEMICONDUCTOR DEVICES; ELECTRIC SOLID-STATE DEVICES NOT OTHERWISE PROVIDED FOR
    • H10FINORGANIC SEMICONDUCTOR DEVICES SENSITIVE TO INFRARED RADIATION, LIGHT, ELECTROMAGNETIC RADIATION OF SHORTER WAVELENGTH OR CORPUSCULAR RADIATION
    • H10F39/00Integrated devices, or assemblies of multiple devices, comprising at least one element covered by group H10F30/00, e.g. radiation detectors comprising photodiode arrays
    • H10F39/10Integrated devices
    • H10F39/12Image sensors
    • HELECTRICITY
    • H10SEMICONDUCTOR DEVICES; ELECTRIC SOLID-STATE DEVICES NOT OTHERWISE PROVIDED FOR
    • H10FINORGANIC SEMICONDUCTOR DEVICES SENSITIVE TO INFRARED RADIATION, LIGHT, ELECTROMAGNETIC RADIATION OF SHORTER WAVELENGTH OR CORPUSCULAR RADIATION
    • H10F39/00Integrated devices, or assemblies of multiple devices, comprising at least one element covered by group H10F30/00, e.g. radiation detectors comprising photodiode arrays
    • H10F39/10Integrated devices
    • H10F39/12Image sensors
    • H10F39/18Complementary metal-oxide-semiconductor [CMOS] image sensors; Photodiode array image sensors
    • H10F39/182Colour image sensors
    • HELECTRICITY
    • H10SEMICONDUCTOR DEVICES; ELECTRIC SOLID-STATE DEVICES NOT OTHERWISE PROVIDED FOR
    • H10FINORGANIC SEMICONDUCTOR DEVICES SENSITIVE TO INFRARED RADIATION, LIGHT, ELECTROMAGNETIC RADIATION OF SHORTER WAVELENGTH OR CORPUSCULAR RADIATION
    • H10F39/00Integrated devices, or assemblies of multiple devices, comprising at least one element covered by group H10F30/00, e.g. radiation detectors comprising photodiode arrays
    • H10F39/80Constructional details of image sensors
    • H10F39/805Coatings
    • H10F39/8057Optical shielding
    • HELECTRICITY
    • H10SEMICONDUCTOR DEVICES; ELECTRIC SOLID-STATE DEVICES NOT OTHERWISE PROVIDED FOR
    • H10FINORGANIC SEMICONDUCTOR DEVICES SENSITIVE TO INFRARED RADIATION, LIGHT, ELECTROMAGNETIC RADIATION OF SHORTER WAVELENGTH OR CORPUSCULAR RADIATION
    • H10F39/00Integrated devices, or assemblies of multiple devices, comprising at least one element covered by group H10F30/00, e.g. radiation detectors comprising photodiode arrays
    • H10F39/80Constructional details of image sensors
    • H10F39/806Optical elements or arrangements associated with the image sensors
    • HELECTRICITY
    • H10SEMICONDUCTOR DEVICES; ELECTRIC SOLID-STATE DEVICES NOT OTHERWISE PROVIDED FOR
    • H10FINORGANIC SEMICONDUCTOR DEVICES SENSITIVE TO INFRARED RADIATION, LIGHT, ELECTROMAGNETIC RADIATION OF SHORTER WAVELENGTH OR CORPUSCULAR RADIATION
    • H10F39/00Integrated devices, or assemblies of multiple devices, comprising at least one element covered by group H10F30/00, e.g. radiation detectors comprising photodiode arrays
    • H10F39/80Constructional details of image sensors
    • H10F39/806Optical elements or arrangements associated with the image sensors
    • H10F39/8063Microlenses
    • HELECTRICITY
    • H10SEMICONDUCTOR DEVICES; ELECTRIC SOLID-STATE DEVICES NOT OTHERWISE PROVIDED FOR
    • H10FINORGANIC SEMICONDUCTOR DEVICES SENSITIVE TO INFRARED RADIATION, LIGHT, ELECTROMAGNETIC RADIATION OF SHORTER WAVELENGTH OR CORPUSCULAR RADIATION
    • H10F39/00Integrated devices, or assemblies of multiple devices, comprising at least one element covered by group H10F30/00, e.g. radiation detectors comprising photodiode arrays
    • H10F39/80Constructional details of image sensors
    • H10F39/806Optical elements or arrangements associated with the image sensors
    • H10F39/8067Reflectors
    • GPHYSICS
    • G06COMPUTING OR CALCULATING; COUNTING
    • G06TIMAGE DATA PROCESSING OR GENERATION, IN GENERAL
    • G06T7/00Image analysis
    • G06T7/50Depth or shape recovery
    • G06T7/55Depth or shape recovery from multiple images
    • HELECTRICITY
    • H04ELECTRIC COMMUNICATION TECHNIQUE
    • H04NPICTORIAL COMMUNICATION, e.g. TELEVISION
    • H04N13/00Stereoscopic video systems; Multi-view video systems; Details thereof
    • H04N2013/0074Stereoscopic image analysis
    • H04N2013/0081Depth or disparity estimation from stereoscopic image signals
    • HELECTRICITY
    • H10SEMICONDUCTOR DEVICES; ELECTRIC SOLID-STATE DEVICES NOT OTHERWISE PROVIDED FOR
    • H10FINORGANIC SEMICONDUCTOR DEVICES SENSITIVE TO INFRARED RADIATION, LIGHT, ELECTROMAGNETIC RADIATION OF SHORTER WAVELENGTH OR CORPUSCULAR RADIATION
    • H10F39/00Integrated devices, or assemblies of multiple devices, comprising at least one element covered by group H10F30/00, e.g. radiation detectors comprising photodiode arrays
    • H10F39/80Constructional details of image sensors
    • H10F39/805Coatings
    • H10F39/8053Colour filters
    • HELECTRICITY
    • H10SEMICONDUCTOR DEVICES; ELECTRIC SOLID-STATE DEVICES NOT OTHERWISE PROVIDED FOR
    • H10FINORGANIC SEMICONDUCTOR DEVICES SENSITIVE TO INFRARED RADIATION, LIGHT, ELECTROMAGNETIC RADIATION OF SHORTER WAVELENGTH OR CORPUSCULAR RADIATION
    • H10F39/00Integrated devices, or assemblies of multiple devices, comprising at least one element covered by group H10F30/00, e.g. radiation detectors comprising photodiode arrays
    • H10F39/80Constructional details of image sensors
    • H10F39/811Interconnections

Definitions

  • the present invention relates to an imaging apparatus capable of measuring a distance.
  • Patent Document 1 describes that a pixel is provided with a light-shielding member that is partially opened, and focus detection is performed by a phase difference method.
  • the defocus amount and the distance to the subject are obtained by the principle of triangulation from the phase difference of parallax images by light beams that have passed through different areas (pupil areas) on the pupil of the lens.
  • an object of the present invention is to provide an imaging device that achieves both high ranging accuracy and deep depth of field, as compared with Patent Document 1.
  • An imaging apparatus is an imaging apparatus having a plurality of pixels arranged two-dimensionally on a substrate, and includes a first pixel including a first light shielding member having a first opening.
  • a second pixel having a second light-shielding member having a second opening, arranged in a first direction with respect to the first pixel, and performing phase difference detection together with the first pixel;
  • a third pixel for performing imaging, and the third opening is arranged at the center of the third pixel, and the third pixel is provided with a third light-shielding member having three openings.
  • the second direction which is a direction orthogonal to the first direction
  • the length of the third opening is smaller than the length of the first opening and the length of the second opening.
  • FIG. 1 is a diagram illustrating Embodiment 1.
  • FIG. 1 is a diagram illustrating Embodiment 1.
  • FIG. 1 is a diagram illustrating Embodiment 1.
  • FIG. 1 is a diagram illustrating Embodiment 1.
  • FIG. 5 is a diagram for explaining a second embodiment. It is a figure explaining Embodiment 3 and 4.
  • FIG. It is a figure explaining a comparative example. It is a figure explaining embodiment which concerns on this invention. It is a figure explaining embodiment which concerns on this invention. It is a figure explaining other embodiment. It is a figure explaining other embodiment.
  • reference numeral 700 denotes a distance measuring pixel 700
  • reference numeral 720 denotes an exit pupil of the imaging lens
  • reference numeral 730 denotes a subject.
  • the x direction is the pupil division direction
  • the areas of the divided exit pupils are the pupil areas 721 and 722, respectively.
  • two ranging pixels 700 are shown.
  • the right ranging pixel 700 light that has passed through the pupil region 721 is reflected or absorbed by the light shielding member 701, and is thus detected by the photoelectric conversion unit. It is the light that has passed through the pupil region 722.
  • the light that has passed through the pupil region 722 is reflected by the light shielding member 702, and thus the light that has passed through the region corresponding to the pupil region 721 is detected by the photoelectric conversion unit.
  • two parallax images are acquired, and distance measurement is enabled using the principle of triangulation.
  • a pixel capable of both distance measurement and imaging is configured such that a combined area of pupil areas 721 and 722 through which a light beam incident on the photoelectric conversion unit passes is equal to the entire pupil surface.
  • the distance between the centroids of the pupil regions 721 and 722 is set by setting the lens aperture to an open state, for example, an open F value. ) Is enlarged.
  • the opening of the light shielding member is made small, and this opening is arranged at the end of the pixel.
  • FIG. 8 illustrates this, and is configured such that each of the opening of the light shielding member 801 and the opening of the light shielding member 802 is disposed at the end of the pixel with the lens aperture opened. ing.
  • the distance between the centroids of the pupil region 821 and the pupil region 822 in FIG. 8 is longer than the distance between the centroids of the pupil region 721 and the pupil region 722 in FIG.
  • the size of the opening of the light shielding member is reduced in both the x direction and the y direction in order to reduce the pupil region through which the light flux used for imaging passes only in the vicinity of the optical axis.
  • FIG. 9 shows this, and the area occupied by the opening of the light shielding member 803 of the imaging pixel 900 is small, and the opening of the light shielding member 803 is arranged near the center of the pixel.
  • FIG. 1 is a block diagram of an imaging apparatus 100 having ranging pixels and imaging pixels according to the present invention.
  • a pixel region 121, a vertical scanning circuit 122, two readout circuits 123, two horizontal scanning circuits 124, and two output amplifiers 125 are provided.
  • An area other than the pixel area 121 is a peripheral circuit area. In the pixel area 121, a large number of ranging pixels and imaging pixels are two-dimensionally arranged.
  • a readout circuit 123 for example, a column amplifier, a correlated double sampling (CDS) circuit, an addition circuit, and the like are provided, and read from pixels in a row selected by the vertical scanning circuit 122 via a vertical signal line. Amplification, addition, etc. are performed on the output signal.
  • the horizontal scanning circuit 124 generates a signal for sequentially reading signals based on the pixel signals from the reading circuit 123.
  • the output amplifier 125 amplifies and outputs the signal of the column selected by the horizontal scanning circuit 124.
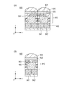
  • FIG. 2 shows a sectional view and a plan view of the ranging pixel 800 and the imaging pixel 900.
  • electrons are used as signal charges.
  • the first conductivity type is n-type and the second conductivity type is p-type, but holes may be used as signal charges.
  • the conductivity type of each semiconductor region may be reversed to that of the case where the signal charges are electrons.
  • FIG. 2A is a cross-sectional view of the ranging pixel 800
  • FIG. 2B is a plan view of the ranging pixel 800.
  • FIG. Some of the components shown in the sectional view are omitted in the plan view, and the sectional view is described more abstractly than the plan view.
  • a photoelectric conversion unit 840 including an n-type semiconductor region is formed by introducing impurities into a p-type semiconductor region provided in a semiconductor substrate.
  • a wiring structure 810 is formed on the semiconductor substrate, and a light shielding member 801 (first light shielding member) and a light shielding member 802 (second light shielding member) are provided inside the wiring structure 810.
  • a color filter 820 and a microlens 830 are provided on the wiring structure 810.
  • the wiring structure 810 has a plurality of insulating films and a plurality of wirings.
  • the layers constituting the insulating film are, for example, silicon oxide, BPSG, PSG, BSG, silicon nitride, and silicon carbide.
  • a conductive material such as copper, aluminum, tungsten, tantalum, titanium, or polysilicon is used.
  • the light shielding members 801 and 802 can use the same material as the wiring portion, and the wiring portion and the light shielding member can be manufactured in the same process.
  • the light shielding member is formed as a part of the lowermost wiring layer among the plurality of wiring layers, but the light shielding member may be formed in any part of the wiring structure 810. .
  • a light shielding member may be formed on the upper portion of the waveguide, and the light shielding member may be configured as a part of the uppermost wiring layer. It is also possible to provide a light shielding member further above the uppermost wiring layer.
  • the color filter 820 is a filter that transmits R, G, B, or C, M, Y light.
  • the color filter 820 may be a white filter or an IR filter that transmits light of RGB or CMY wavelengths.
  • a white filter is used for a distance measurement pixel, sensitivity is improved.
  • a planarizing layer may be provided on the color filter 820.
  • the microlens 830 is formed using a material such as resin. Different microlenses are arranged on the pixel having the light shielding member 801, the pixel having the light shielding member 802, and the pixel having the light shielding member 803, respectively. When the optimum microlens shape is different for distance measurement and imaging, the shape of the microlens provided in the distance measurement pixel and the imaging pixel may be different.
  • FIG. 2B is a plan view of the ranging pixels 800 arranged on the right side in FIG. 2A
  • FIG. 2C is a ranging diagram arranged on the left side in FIG. 2B
  • 2 is a plan view of a pixel 800.
  • FIG. As shown in FIGS. 2B and 2C, the opening of the light shielding member 801 is arranged at one end of the pixel P (first pixel). Further, the opening of the light shielding member 802 is provided at the end of a different pixel P (second pixel). The opening of the light shielding member 801 and the opening of the light shielding member 802 are provided at opposite ends, and the x direction (first direction) is the phase difference detection direction.
  • Distance measurement is performed based on a signal obtained from incident light that has passed through the opening of the light shielding member 801 and a signal obtained from incident light that has passed through the opening of the light shielding member 802. Note that, for example, the region where one microlens is provided can be defined as one pixel.
  • FIG. 2D is a cross-sectional view of the imaging pixel 900
  • FIG. 2E is a plan view of the imaging pixel 900.
  • the light shielding member 803 is the same material as the light shielding members 801 and 802.
  • the opening of the light shielding member 803 (third light shielding member) is provided at the center of the pixel P (third pixel).
  • the length of the opening of the light shielding member 803 is about the y direction (second direction) which is a direction orthogonal to the x direction.
  • the length of the opening of the light shielding member 801 is smaller than the length of the opening of the light shielding member 802.
  • the length of the opening of the light shielding member 803 is 1/3 or less of the length of the opening of the light shielding member 801 and the length of the opening of the light shielding member 802.
  • the width of the opening of the light blocking member 803 is 1/3 or less of the width of the pixel P.
  • the area of the opening of the light shielding member 803 is smaller than the sum of the area of the opening of the light shielding member 801 and the area of the opening of the light shielding member 802.
  • the width of the opening of the light shielding member 801 and the width of the opening of the light shielding member 802 is smaller than the width of the opening of the light shielding member 803. That is, both the opening of the light shielding member 801 and the opening of the light shielding member 802 are configured to be closer to one side of the pixel. Accordingly, the distance between the centers of gravity of the pupil region of the pixel having the light shielding member 801 and the pupil region of the pixel having the light shielding member 802 can be increased.
  • the width of the opening of the light shielding member 801 and the width of the opening of the light shielding member 802 are 1 ⁇ 4 or less of the width of the pixel P.
  • reference numeral 200 indicates the outer edge of the microlens 830. The relationship between the microlens and the opening of each light shielding member will be described with reference to FIG.
  • FIG. 3 schematically shows the microlens arranged in the pixel region 121.
  • a plurality of microlenses are arranged one-dimensionally in the x direction (first direction). This is called a microlens group.
  • a plurality of microlens groups are arranged along the y direction (second direction) orthogonal to the first direction, so that a plurality of microlenses are arranged two-dimensionally. This is called a microlens array.
  • Each of the plurality of microlenses has an outer edge 200.
  • Each of the plurality of microlenses has a center. These microlenses have a first end and a second end disposed in the x direction across the center.
  • each microlens has at least one of an opening of the first light shielding member, an opening of the second light shielding member, and an opening of the third light shielding member corresponding to each position of the microlens.
  • One is arranged.
  • FIG. 4 shows a modification of the present embodiment.
  • FIG. 4A is a plan view of the ranging pixel 800.
  • the opening of the light shielding member 802 may be oval instead of rectangular.
  • 4B and 4C are plan views of the imaging pixel 900.
  • FIG. As described above, the opening of the light shielding member 803 may be rectangular or elliptical. Further, the opening of the light shielding member 803 is not limited to a quadrangle, but may be a polygon such as a pentagon or an octagon.
  • FIG. 5A is a cross-sectional view of the ranging pixel 800
  • FIG. 5B is a cross-sectional view of the imaging pixel 900.
  • the waveguide 400 is provided inside the wiring structure 810.
  • the waveguide 400 is made of a material having a refractive index higher than that of the insulating layer included in the wiring structure 810.
  • the light shielding members 801 and 802 are provided not in the first layer of the wiring layer in the pixel region but in an upper layer than the waveguide 400.
  • the pixel region is a region where a photoelectric conversion unit, a transfer transistor, an amplification transistor, and the like are provided.
  • the peripheral area is an area other than the pixel area arranged around the pixel area.
  • the light shielding members 801 and 802 in the pixel region may be formed in the same step as the step of forming the wiring layer in the peripheral region.
  • a plurality of photoelectric conversion units that is, a photoelectric conversion unit 841 and a photoelectric conversion unit 842 are provided in one pixel.
  • the distance measurement accuracy is higher than reading out signals from both the photoelectric conversion units 841 and 842. It is possible to improve. As shown in FIG.
  • the width of the opening of the light shielding member 801 is smaller than the width of the photoelectric conversion unit 841 and the width of the photoelectric conversion unit 842.
  • the width of the opening of the light shielding member 802 is also smaller than the width of the photoelectric conversion unit 841 and the width of the photoelectric conversion unit 842.
  • the width of the opening of the light shielding member 803 is also smaller than the width of the photoelectric conversion unit 841 and the width of the photoelectric conversion unit 842.
  • FIGS. 2 and 4 are a plan view and a cross-sectional view of the distance measuring pixel 800, respectively.
  • the distance measurement pixels shown in FIGS. 2 and 4 have one opening for the light shielding member per pixel, but in this embodiment, the light shielding member 804 is provided with two openings.
  • photoelectric conversion units 841 and 842 are provided corresponding to the two openings.
  • the widths of the first opening and the second opening of the light blocking member 804 are smaller than the widths of the photoelectric conversion units 841 and 842 in the x direction (first direction).
  • the elements described in FIGS. 2D and 2E may be used, and two photoelectric conversion units are provided as the photoelectric conversion units in FIGS. 2D and 2E. An element may be used.
  • FIGS. 6C and 6D are a plan view and a cross-sectional view of a pixel having both a distance measuring function and an imaging function.
  • One opening used for imaging is provided at the center of the light shielding member 805.
  • two openings are provided at both ends of the light shielding member 805.
  • photoelectric conversion portions 841, 842, and 843 are provided corresponding to a total of three openings.
  • 6D in the x direction (first direction), the widths of the first to third openings of the light shielding member 805 are smaller than the widths of the photoelectric conversion units 841 to 843.
  • the front side illumination type imaging device has been described as an example.
  • the present invention can also be applied to a back side illumination type imaging device.
  • the photoelectric conversion part which consists of semiconductor regions was used, you may use the photoelectric converting layer containing an organic compound as a photoelectric conversion part.
  • the photoelectric conversion layer may be sandwiched between the pixel electrode and the counter electrode, and the light shielding member described above may be formed on the counter electrode made of a transparent electrode.
  • the present embodiment is an embodiment of an imaging system using the imaging device including the ranging pixels and imaging pixels described in the above embodiments.
  • An example of the imaging system is an in-vehicle camera.
  • FIG. 10 shows the configuration of the imaging system 1.
  • An imaging lens that is the imaging optical system 11 is attached to the imaging system 1.
  • the imaging optical system 11 controls the focal position by the lens control unit 12.
  • the diaphragm 13 is connected to the diaphragm shutter controller 14 and adjusts the amount of light by changing the aperture diameter of the diaphragm.
  • an imaging surface of the imaging device 10 is arranged to acquire a subject image formed by the imaging optical system 11.
  • the CPU 15 is a controller and controls various operations of the camera.
  • the CPU 15 includes a calculation unit, a ROM, a RAM, an A / D converter, a D / A converter, a communication interface circuit, and the like.
  • the CPU 15 controls the operation of each part in the camera according to a computer program stored in the ROM, and includes AF, imaging, image processing, recording, etc. including distance measurement with the subject and detection of the focus state of the imaging optical system (focus detection). A series of shooting operations are executed.
  • the CPU 15 corresponds to signal processing means.
  • the imaging device control unit 16 controls the operation of the imaging device 10 and transmits a pixel signal (imaging signal) output from the imaging device 10 to the CPU 15.
  • the image processing unit 17 performs image processing such as ⁇ conversion and color interpolation on the imaging signal to generate an image signal.
  • the image signal is output to a display unit 18 such as a liquid crystal display (LCD).
  • the CPU 15 is operated by the operation switch 19 and the photographed image is recorded on the removable recording medium 20.
  • FIG. 11 shows an example of an imaging system related to a vehicle camera.
  • the imaging system 1000 is an imaging system including a distance measurement pixel and an imaging pixel according to the present invention.
  • the imaging system 1000 includes an image processing unit 1030 that performs image processing on a plurality of image data acquired by the imaging device 1010, and parallax (phase difference of parallax images) from the plurality of image data acquired by the imaging system 1000.
  • a parallax calculation unit 1040 that performs calculation is included.
  • the imaging system 1000 includes a distance measurement unit 1050 that calculates the distance to the object based on the calculated parallax, and a collision determination unit 1060 that determines whether there is a collision possibility based on the calculated distance.
  • the parallax calculation unit 1040 and the distance measurement unit 1050 are an example of a distance information acquisition unit that acquires distance information to an object. That is, the distance information is information related to the parallax, the defocus amount, the distance to the object, and the like.
  • the collision determination unit 1060 may determine the possibility of collision using any of these distance information.
  • the distance information acquisition unit may be realized by hardware designed exclusively, or may be realized by a software module. Further, it may be realized by an FPGA (Field Programmable Gate Array), an ASIC (Application Specific Integrated Circuit), or a combination of these.
  • the imaging system 1000 is connected to a vehicle information acquisition device 1310 and can acquire vehicle information such as a vehicle speed, a yaw rate, and a steering angle.
  • the imaging system 1000 is connected to a control ECU 1410 that is a control device that outputs a control signal for generating a braking force for the vehicle based on a determination result in the collision determination unit 1060.
  • the imaging system 1000 is also connected to an alarm device 1420 that issues an alarm to the driver based on the determination result in the collision determination unit 1060.
  • the control ECU 1410 performs vehicle control for avoiding a collision and reducing damage by applying a brake, returning an accelerator, and suppressing an engine output.
  • the alarm device 1420 warns the user by sounding an alarm such as a sound, displaying alarm information on a screen of a car navigation system, or applying vibration to the seat belt or the steering.
  • the imaging system 1000 images the periphery of the vehicle, for example, the front or rear.
  • FIG. 11B shows an imaging system when imaging the front of the vehicle.
  • control that does not collide with other vehicles has been described.
  • the present invention can also be applied to control for automatically driving following other vehicles, control for automatically driving so as not to protrude from the lane, and the like.
  • the imaging system is not limited to a vehicle such as the own vehicle, but can be applied to a moving body (moving device) such as a ship, an aircraft, or an industrial robot.
  • the present invention can be applied not only to mobile objects but also to devices that widely use object recognition, such as intelligent road traffic systems (ITS).
  • ITS intelligent road traffic systems

Landscapes

  • Physics & Mathematics (AREA)
  • Engineering & Computer Science (AREA)
  • Multimedia (AREA)
  • Signal Processing (AREA)
  • General Physics & Mathematics (AREA)
  • Electromagnetism (AREA)
  • Radar, Positioning & Navigation (AREA)
  • Remote Sensing (AREA)
  • Optics & Photonics (AREA)
  • Solid State Image Pick-Up Elements (AREA)
  • Transforming Light Signals Into Electric Signals (AREA)
  • Automatic Focus Adjustment (AREA)
  • Measurement Of Optical Distance (AREA)
  • Focusing (AREA)
PCT/JP2017/007894 2016-03-04 2017-02-28 撮像装置 Ceased WO2017150553A1 (ja)

Priority Applications (1)

Application Number Priority Date Filing Date Title
US16/116,748 US20180376089A1 (en) 2016-03-04 2018-08-29 Image sensing device

Applications Claiming Priority (2)

Application Number Priority Date Filing Date Title
JP2016042682A JP2017157804A (ja) 2016-03-04 2016-03-04 撮像装置
JP2016-042682 2016-03-04

Related Child Applications (1)

Application Number Title Priority Date Filing Date
US16/116,748 Continuation US20180376089A1 (en) 2016-03-04 2018-08-29 Image sensing device

Publications (1)

Publication Number Publication Date
WO2017150553A1 true WO2017150553A1 (ja) 2017-09-08

Family

ID=59742935

Family Applications (1)

Application Number Title Priority Date Filing Date
PCT/JP2017/007894 Ceased WO2017150553A1 (ja) 2016-03-04 2017-02-28 撮像装置

Country Status (3)

Country Link
US (1) US20180376089A1 (enExample)
JP (1) JP2017157804A (enExample)
WO (1) WO2017150553A1 (enExample)

Cited By (2)

* Cited by examiner, † Cited by third party
Publication number Priority date Publication date Assignee Title
JP2020088291A (ja) * 2018-11-29 2020-06-04 キヤノン株式会社 光電変換装置、光電変換システム、移動体
EP3633728A3 (en) * 2018-10-02 2020-11-11 Foveon, Inc. Imaging arrays having focal plane phase detecting pixel sensors and methods for performing focal plane phase detection in imaging arrays

Families Citing this family (4)

* Cited by examiner, † Cited by third party
Publication number Priority date Publication date Assignee Title
JP7019471B2 (ja) * 2018-03-19 2022-02-15 キヤノン株式会社 固体撮像装置及び撮像システム
JP7084803B2 (ja) * 2018-07-06 2022-06-15 ソニーセミコンダクタソリューションズ株式会社 測距センサ及びタイムオブフライトセンサ
KR102593949B1 (ko) * 2018-07-25 2023-10-27 삼성전자주식회사 이미지 센서
JP7180664B2 (ja) * 2020-12-09 2022-11-30 株式会社ニコン 撮像素子および撮像装置

Citations (3)

* Cited by examiner, † Cited by third party
Publication number Priority date Publication date Assignee Title
JP2013258586A (ja) * 2012-06-13 2013-12-26 Canon Inc 撮像システムおよび撮像システムの駆動方法
JP2014107594A (ja) * 2012-11-22 2014-06-09 Nikon Corp 撮像素子および撮像装置
JP2014178241A (ja) * 2013-03-15 2014-09-25 Ricoh Co Ltd 撮像装置、ステレオカメラ及び移動体

Family Cites Families (9)

* Cited by examiner, † Cited by third party
Publication number Priority date Publication date Assignee Title
JP3592147B2 (ja) * 1998-08-20 2004-11-24 キヤノン株式会社 固体撮像装置
US9532033B2 (en) * 2010-11-29 2016-12-27 Nikon Corporation Image sensor and imaging device
JP5861257B2 (ja) * 2011-02-21 2016-02-16 ソニー株式会社 撮像素子および撮像装置
WO2013145821A1 (ja) * 2012-03-28 2013-10-03 富士フイルム株式会社 撮像素子及び撮像装置
JP2013236160A (ja) * 2012-05-07 2013-11-21 Nikon Corp 撮像素子、撮像装置、画像処理方法およびプログラム
WO2014192300A1 (ja) * 2013-05-31 2014-12-04 株式会社ニコン 撮像素子、撮像装置、および画像処理装置
WO2014208047A1 (ja) * 2013-06-24 2014-12-31 パナソニックIpマネジメント株式会社 固体撮像装置およびその製造方法
JP6233188B2 (ja) * 2013-12-12 2017-11-22 ソニー株式会社 固体撮像素子およびその製造方法、並びに電子機器
JP6363857B2 (ja) * 2014-03-24 2018-07-25 キヤノン株式会社 撮像素子、撮像装置、画像処理方法、並びにプログラム

Patent Citations (3)

* Cited by examiner, † Cited by third party
Publication number Priority date Publication date Assignee Title
JP2013258586A (ja) * 2012-06-13 2013-12-26 Canon Inc 撮像システムおよび撮像システムの駆動方法
JP2014107594A (ja) * 2012-11-22 2014-06-09 Nikon Corp 撮像素子および撮像装置
JP2014178241A (ja) * 2013-03-15 2014-09-25 Ricoh Co Ltd 撮像装置、ステレオカメラ及び移動体

Cited By (2)

* Cited by examiner, † Cited by third party
Publication number Priority date Publication date Assignee Title
EP3633728A3 (en) * 2018-10-02 2020-11-11 Foveon, Inc. Imaging arrays having focal plane phase detecting pixel sensors and methods for performing focal plane phase detection in imaging arrays
JP2020088291A (ja) * 2018-11-29 2020-06-04 キヤノン株式会社 光電変換装置、光電変換システム、移動体

Also Published As

Publication number Publication date
JP2017157804A (ja) 2017-09-07
US20180376089A1 (en) 2018-12-27

Similar Documents

Publication Publication Date Title
JP6755679B2 (ja) 撮像装置
WO2017150553A1 (ja) 撮像装置
JP2018201015A (ja) 固体撮像装置、及び電子機器
CN108885099B (zh) 能够获取图像并进行高精度测距的测距设备和移动物体
JP2018077190A (ja) 撮像装置及び自動制御システム
WO2018221443A1 (ja) 固体撮像装置、及び電子機器
US10652496B2 (en) Photoelectric conversion device, photoelectric conversion system, and movable body
JP7098790B2 (ja) 撮像制御装置及び移動体
JP6789643B2 (ja) 撮像装置
US10708556B2 (en) Imaging device and imaging system
US11417695B2 (en) Photoelectric conversion apparatus, imaging system, and moving body
US11404456B2 (en) Photoelectric conversion device
WO2022269997A1 (ja) 固体撮像装置および電子機器
JP7005331B2 (ja) 撮像装置及び撮像システム
JP6907029B2 (ja) 撮像装置
US20190228534A1 (en) Image pickup device, image pickup system, and moving apparatus
US11424283B2 (en) Photoelectric conversion apparatus, imaging system and mobile body
JP2021197667A (ja) 固体撮像素子および撮像装置
WO2018221382A1 (ja) 撮像素子及び撮像装置
JP2020170784A (ja) 光電変換装置

Legal Events

Date Code Title Description
NENP Non-entry into the national phase

Ref country code: DE

121 Ep: the epo has been informed by wipo that ep was designated in this application

Ref document number: 17760018

Country of ref document: EP

Kind code of ref document: A1

122 Ep: pct application non-entry in european phase

Ref document number: 17760018

Country of ref document: EP

Kind code of ref document: A1