WO2017150364A1 - 燃焼装置及びガスタービン - Google Patents

燃焼装置及びガスタービン Download PDF

Info

Publication number
WO2017150364A1
WO2017150364A1 PCT/JP2017/007026 JP2017007026W WO2017150364A1 WO 2017150364 A1 WO2017150364 A1 WO 2017150364A1 JP 2017007026 W JP2017007026 W JP 2017007026W WO 2017150364 A1 WO2017150364 A1 WO 2017150364A1
Authority
WO
WIPO (PCT)
Prior art keywords
fuel
flow path
injection holes
injection hole
nozzle
Prior art date
Legal status (The legal status is an assumption and is not a legal conclusion. Google has not performed a legal analysis and makes no representation as to the accuracy of the status listed.)
Ceased
Application number
PCT/JP2017/007026
Other languages
English (en)
French (fr)
Japanese (ja)
Inventor
宮本 健司
慶 井上
慎 加藤
朋 川上
Current Assignee (The listed assignees may be inaccurate. Google has not performed a legal analysis and makes no representation or warranty as to the accuracy of the list.)
Mitsubishi Heavy Industries Ltd
Original Assignee
Mitsubishi Heavy Industries Ltd
Priority date (The priority date is an assumption and is not a legal conclusion. Google has not performed a legal analysis and makes no representation as to the accuracy of the date listed.)
Filing date
Publication date
Application filed by Mitsubishi Heavy Industries Ltd filed Critical Mitsubishi Heavy Industries Ltd
Priority to CN201780014987.4A priority Critical patent/CN108700298B/zh
Priority to US16/080,877 priority patent/US20190093570A1/en
Publication of WO2017150364A1 publication Critical patent/WO2017150364A1/ja
Priority to SA518392299A priority patent/SA518392299B1/ar
Anticipated expiration legal-status Critical
Ceased legal-status Critical Current

Links

Images

Classifications

    • FMECHANICAL ENGINEERING; LIGHTING; HEATING; WEAPONS; BLASTING
    • F02COMBUSTION ENGINES; HOT-GAS OR COMBUSTION-PRODUCT ENGINE PLANTS
    • F02CGAS-TURBINE PLANTS; AIR INTAKES FOR JET-PROPULSION PLANTS; CONTROLLING FUEL SUPPLY IN AIR-BREATHING JET-PROPULSION PLANTS
    • F02C9/00Controlling gas-turbine plants; Controlling fuel supply in air- breathing jet-propulsion plants
    • F02C9/26Control of fuel supply
    • F02C9/40Control of fuel supply specially adapted to the use of a special fuel or a plurality of fuels
    • FMECHANICAL ENGINEERING; LIGHTING; HEATING; WEAPONS; BLASTING
    • F02COMBUSTION ENGINES; HOT-GAS OR COMBUSTION-PRODUCT ENGINE PLANTS
    • F02CGAS-TURBINE PLANTS; AIR INTAKES FOR JET-PROPULSION PLANTS; CONTROLLING FUEL SUPPLY IN AIR-BREATHING JET-PROPULSION PLANTS
    • F02C7/00Features, components parts, details or accessories, not provided for in, or of interest apart form groups F02C1/00 - F02C6/00; Air intakes for jet-propulsion plants
    • F02C7/22Fuel supply systems
    • F02C7/224Heating fuel before feeding to the burner
    • FMECHANICAL ENGINEERING; LIGHTING; HEATING; WEAPONS; BLASTING
    • F02COMBUSTION ENGINES; HOT-GAS OR COMBUSTION-PRODUCT ENGINE PLANTS
    • F02CGAS-TURBINE PLANTS; AIR INTAKES FOR JET-PROPULSION PLANTS; CONTROLLING FUEL SUPPLY IN AIR-BREATHING JET-PROPULSION PLANTS
    • F02C7/00Features, components parts, details or accessories, not provided for in, or of interest apart form groups F02C1/00 - F02C6/00; Air intakes for jet-propulsion plants
    • F02C7/22Fuel supply systems
    • F02C7/232Fuel valves; Draining valves or systems
    • FMECHANICAL ENGINEERING; LIGHTING; HEATING; WEAPONS; BLASTING
    • F02COMBUSTION ENGINES; HOT-GAS OR COMBUSTION-PRODUCT ENGINE PLANTS
    • F02CGAS-TURBINE PLANTS; AIR INTAKES FOR JET-PROPULSION PLANTS; CONTROLLING FUEL SUPPLY IN AIR-BREATHING JET-PROPULSION PLANTS
    • F02C9/00Controlling gas-turbine plants; Controlling fuel supply in air- breathing jet-propulsion plants
    • F02C9/26Control of fuel supply
    • F02C9/32Control of fuel supply characterised by throttling of fuel
    • FMECHANICAL ENGINEERING; LIGHTING; HEATING; WEAPONS; BLASTING
    • F23COMBUSTION APPARATUS; COMBUSTION PROCESSES
    • F23RGENERATING COMBUSTION PRODUCTS OF HIGH PRESSURE OR HIGH VELOCITY, e.g. GAS-TURBINE COMBUSTION CHAMBERS
    • F23R3/00Continuous combustion chambers using liquid or gaseous fuel
    • F23R3/02Continuous combustion chambers using liquid or gaseous fuel characterised by the air-flow or gas-flow configuration
    • F23R3/04Air inlet arrangements
    • F23R3/10Air inlet arrangements for primary air
    • F23R3/12Air inlet arrangements for primary air inducing a vortex
    • F23R3/14Air inlet arrangements for primary air inducing a vortex by using swirl vanes
    • FMECHANICAL ENGINEERING; LIGHTING; HEATING; WEAPONS; BLASTING
    • F23COMBUSTION APPARATUS; COMBUSTION PROCESSES
    • F23RGENERATING COMBUSTION PRODUCTS OF HIGH PRESSURE OR HIGH VELOCITY, e.g. GAS-TURBINE COMBUSTION CHAMBERS
    • F23R3/00Continuous combustion chambers using liquid or gaseous fuel
    • F23R3/28Continuous combustion chambers using liquid or gaseous fuel characterised by the fuel supply
    • FMECHANICAL ENGINEERING; LIGHTING; HEATING; WEAPONS; BLASTING
    • F23COMBUSTION APPARATUS; COMBUSTION PROCESSES
    • F23RGENERATING COMBUSTION PRODUCTS OF HIGH PRESSURE OR HIGH VELOCITY, e.g. GAS-TURBINE COMBUSTION CHAMBERS
    • F23R3/00Continuous combustion chambers using liquid or gaseous fuel
    • F23R3/28Continuous combustion chambers using liquid or gaseous fuel characterised by the fuel supply
    • F23R3/286Continuous combustion chambers using liquid or gaseous fuel characterised by the fuel supply having fuel-air premixing devices
    • FMECHANICAL ENGINEERING; LIGHTING; HEATING; WEAPONS; BLASTING
    • F23COMBUSTION APPARATUS; COMBUSTION PROCESSES
    • F23RGENERATING COMBUSTION PRODUCTS OF HIGH PRESSURE OR HIGH VELOCITY, e.g. GAS-TURBINE COMBUSTION CHAMBERS
    • F23R3/00Continuous combustion chambers using liquid or gaseous fuel
    • F23R3/28Continuous combustion chambers using liquid or gaseous fuel characterised by the fuel supply
    • F23R3/30Continuous combustion chambers using liquid or gaseous fuel characterised by the fuel supply comprising fuel prevapourising devices
    • FMECHANICAL ENGINEERING; LIGHTING; HEATING; WEAPONS; BLASTING
    • F23COMBUSTION APPARATUS; COMBUSTION PROCESSES
    • F23RGENERATING COMBUSTION PRODUCTS OF HIGH PRESSURE OR HIGH VELOCITY, e.g. GAS-TURBINE COMBUSTION CHAMBERS
    • F23R3/00Continuous combustion chambers using liquid or gaseous fuel
    • F23R3/28Continuous combustion chambers using liquid or gaseous fuel characterised by the fuel supply
    • F23R3/34Feeding into different combustion zones
    • F23R3/343Pilot flames, i.e. fuel nozzles or injectors using only a very small proportion of the total fuel to insure continuous combustion
    • FMECHANICAL ENGINEERING; LIGHTING; HEATING; WEAPONS; BLASTING
    • F23COMBUSTION APPARATUS; COMBUSTION PROCESSES
    • F23RGENERATING COMBUSTION PRODUCTS OF HIGH PRESSURE OR HIGH VELOCITY, e.g. GAS-TURBINE COMBUSTION CHAMBERS
    • F23R3/00Continuous combustion chambers using liquid or gaseous fuel
    • F23R3/28Continuous combustion chambers using liquid or gaseous fuel characterised by the fuel supply
    • F23R3/36Supply of different fuels
    • FMECHANICAL ENGINEERING; LIGHTING; HEATING; WEAPONS; BLASTING
    • F05INDEXING SCHEMES RELATING TO ENGINES OR PUMPS IN VARIOUS SUBCLASSES OF CLASSES F01-F04
    • F05DINDEXING SCHEME FOR ASPECTS RELATING TO NON-POSITIVE-DISPLACEMENT MACHINES OR ENGINES, GAS-TURBINES OR JET-PROPULSION PLANTS
    • F05D2240/00Components
    • F05D2240/35Combustors or associated equipment
    • FMECHANICAL ENGINEERING; LIGHTING; HEATING; WEAPONS; BLASTING
    • F05INDEXING SCHEMES RELATING TO ENGINES OR PUMPS IN VARIOUS SUBCLASSES OF CLASSES F01-F04
    • F05DINDEXING SCHEME FOR ASPECTS RELATING TO NON-POSITIVE-DISPLACEMENT MACHINES OR ENGINES, GAS-TURBINES OR JET-PROPULSION PLANTS
    • F05D2270/00Control
    • F05D2270/01Purpose of the control system
    • F05D2270/20Purpose of the control system to optimize the performance of a machine

Definitions

  • the present disclosure relates to a combustion apparatus and a gas turbine.
  • Patent Document 1 discloses a main fuel nozzle for injecting fuel into a combustion chamber, a sub fuel nozzle for injecting fuel into air before being introduced into the combustion chamber, a main fuel nozzle, and an auxiliary fuel.
  • a gas turbine combustor including a flow rate adjusting means for adjusting the flow rate of fuel supplied to a nozzle is disclosed.
  • this gas turbine combustor in order to stably burn the fuel, an appropriate amount of fuel corresponding to the properties of the fuel is supplied to the combustion chamber. That is, the flow rate of the fuel supplied to the main fuel nozzle and the sub fuel nozzle is adjusted in accordance with the property (for example, heat generation amount) of the fuel supplied to the main fuel nozzle and the sub fuel nozzle.
  • a fuel having a relatively large inactive component content and a relatively small calorific value (hereinafter referred to as a low calorie fuel) is used is inactive.
  • a fuel having a relatively small component content and a relatively large calorific value (hereinafter referred to as a high calorie fuel) is used.
  • a low calorie fuel it is necessary to make the fuel flow rate relatively large in order to obtain a supply amount (flow rate) necessary for obtaining a predetermined heat of combustion.
  • At least one embodiment of the present invention aims to provide a combustion apparatus that can easily maintain a differential pressure before and after fuel injection even when fuels having different properties are applied.
  • a combustion apparatus includes: A nozzle casing defining an axial flow path; And at least one nozzle provided in the axial flow path,
  • the at least one nozzle comprises: A cylindrical nozzle body extending along the axial flow path; A swirler vane configured to project radially outward from the nozzle body in the radial direction of the nozzle body and to swirl the fluid flowing through the axial flow path; At least one first injection hole opening on a surface of the nozzle body or the swirler vane; At least one second injection hole opening in a surface of the nozzle body or the swirler vane; A first fuel flow path extending inside the nozzle body and communicating with the at least one first injection hole; And a second fuel flow path that extends separately from the first fuel flow path and communicates with the at least one second injection hole.
  • the first fuel flow path and the second fuel flow path respectively communicating with the first injection hole and the second injection hole for injecting fuel are separately provided.
  • the design of one injection hole can be made suitable for the nature of the fuel flowing through the first fuel flow path, and the design of the second fuel flow path and the second injection hole can be made to flow through the second fuel flow path. It is possible to make the fuel suitable for the properties of the fuel.
  • the total area of the first injection holes is larger than the total area of the second injection holes.
  • the total area of the first injection holes (for example, the sum of the opening areas or the sum of the flow path areas) is made larger than the total area of the second injection holes.
  • the flow rate of the fuel injected from the first injection hole becomes relatively large. For this reason, when fuel is injected from the first injection hole, the differential pressure before and after the first injection hole is easily maintained.
  • the total area of the second injection holes is smaller than the total area of the first injection holes, the flow rate of the fuel injected from the second injection holes is relatively small before and after the second injection holes. It is easy to maintain the differential pressure. Therefore, according to the configuration of (2) above, the differential pressure before and after fuel injection is easily maintained in the combustion apparatus.
  • the flow path area of the first fuel flow path is larger than the flow path area of the second fuel flow path.
  • the flow area of the first fuel flow path is made larger than the flow area of the second fuel flow path, so that the amount of fuel injected from the first injection hole is larger than that of the second injection hole.
  • the flow rate is relatively large. For this reason, when fuel is injected from the first injection hole, the differential pressure is easily maintained before and after the first injection hole.
  • the flow area of the second fuel flow path is smaller than the flow area of the first fuel flow path, the flow rate of the fuel injected from the second injection hole is relatively small. It is easy to maintain the differential pressure before and after the injection hole. Therefore, according to the configuration of (3) above, the differential pressure before and after fuel injection is easily maintained in the combustion apparatus.
  • a flow path area ratio that is a ratio of the flow area of the first fuel flow path to the flow area of the second fuel flow path;
  • the ratio of the total area of the injection holes to the total area of the first injection holes and the total area of the second injection holes is 0.8 or more and 1 .2 or less.
  • the first injection hole may be configured such that the second injection is performed in the fluid flow direction in the axial flow path. It is provided upstream from the hole.
  • the fuel injected from the first injection hole and the second injection hole is mixed with air flowing from the upstream side of the axial flow path and then burned.
  • the configuration of (5) above since the first injection hole is provided on the upstream side of the second injection hole, the fuel injected from the first injection hole is compared with the fuel injected from the second injection hole.
  • the mixing distance with the air flowing from the upstream in the axial direction flow path can be increased by the distance between the first injection hole and the second injection hole. For this reason, mixing (premixing) of the fuel and air injected from the first injection holes can be further promoted, and good combustion efficiency can be obtained in the combustion apparatus.
  • the nozzle body or the swirler vane has at least two first injection holes or at least two second injection holes, The at least two first injection holes or the at least two second injection holes are arranged at different positions in the radial direction of the nozzle body.
  • the configuration of (6) above since at least two first injection holes or second injection holes are arranged at different positions in the radial direction of the nozzle body, in the first fuel flow path or the second fuel flow path Smooth fuel flow. For this reason, fuel can be smoothly supplied from the first injection hole or the second fuel flow path.
  • an outer injection hole disposed on the outer side in the radial direction among the at least two first injection holes or the at least two second injection holes. Is arranged on the upstream side in the flow direction of the fluid in the axial flow path from the inner injection hole arranged on the inner side in the radial direction.
  • the flow path area through which air flows is increased on the outer peripheral side. Therefore, according to the configuration of the above (7), since the mixing of the fuel injected with the outer injection holes provided on the outer peripheral side in the axial flow path is further promoted, the combustion efficiency is further improved. Is obtained.
  • the at least two first injection holes or the at least two second injection holes are arranged outside in the radial direction.
  • the diameter of the outer injection hole is larger than the diameter of the inner injection hole arranged on the inner side in the radial direction.
  • the first fuel has a smaller calorific value than the second fuel.
  • the first fuel and the second fuel having different calorific values are supplied through different fuel flow paths and injection holes, respectively. Therefore, the first fuel flow path and the first injection hole can be designed to be suitable for the properties of the first fuel (low calorie fuel) having a relatively small calorific value, and the second fuel flow path and the second injection hole.
  • the relatively large flow rate of the first fuel (low-calorie fuel) injected from the first injection hole is ejected from the second injection hole.
  • the relatively small flow rate of the second fuel (high calorie) mixing with the air flowing from the upstream side of the axial flow path by the distance between the first injection hole and the second injection hole The distance can be increased. For this reason, it is possible to further promote the mixing (premixing) of the first fuel (low-calorie fuel) with a relatively large flow rate injected from the first injection hole and the air, and the combustion apparatus as a whole has a good combustion efficiency. Obtainable.
  • the ratio of the total area of the first injection holes to the total area of the second injection holes is determined by the amount of heat generated by the first fuel and the first amount. It is determined according to the ratio with the calorific value of the two fuels.
  • the total area of the first injection holes and the number of the first fuel injection holes according to the ratio of the heat value of the first fuel (low calorie fuel) and the heat value of the second fuel (high calorie fuel) Since the ratio to the total area of the two injection holes is determined, fluctuations in combustion heat between when the first fuel (low calorie fuel) is used and when the second fuel (high calorie fuel) is used can be reduced. For this reason, even if it is a case where it switches and uses a 1st fuel (low-calorie fuel) and a 2nd fuel (high-calorie fuel), a fuel can be burned stably.
  • the combustion device includes: A mixer capable of producing a mixed fuel by mixing a first fuel and a second fuel having different calorific values; A first supply channel capable of supplying the mixed fuel to the first fuel channel; A second supply channel capable of supplying the mixed fuel to the second fuel channel; A second valve interposed in the second supply channel and capable of adjusting a flow rate of the mixed fuel supplied to the second fuel channel.
  • the mixed fuel can be supplied to the first fuel flow path and the second fuel flow path, and the mixed fuel supplied to the second fuel flow path can be adjusted by the second valve. Therefore, the flow rate of the whole mixed fuel can be adjusted by adjusting the flow rate of the mixed fuel in the second fuel flow path with the second valve.
  • the combustion device in the configuration of (11), includes: A heater capable of heating the mixed fuel generated by the mixer;
  • the first supply channel is configured to supply the mixed fuel heated by the heater to the first fuel channel
  • the second supply channel is configured to supply the mixed fuel heated by the heater to the second fuel channel.
  • the mixed fuel obtained by mixing the first fuel and the second fuel is supplied to the first fuel channel and the second fuel channel, so that the fuel is heated. What is necessary is just to provide a heater so that the fuel after mixing may be heated. For this reason, according to the structure of said (12), cost can be reduced compared with the case where a heater is provided with respect to each of 1st fuel and 2nd fuel.
  • An opening degree of the second valve is adjusted in accordance with a mixing ratio of the first fuel and the second fuel in the mixed fuel.
  • the opening degree of the second valve can be adjusted according to the mixing ratio of the first fuel and the second fuel, the flow rate of the entire mixed fuel is adjusted according to the mixing ratio. Can be adjusted appropriately. For example, when the content of the first fuel in the mixed fuel is large and the calorific value of the mixed fuel is relatively small, in order to obtain a large flow rate, the opening of the second valve is increased and the first fuel flow path and The mixed fuel can be supplied to both of the second fuel flow paths.
  • the opening of the second valve is reduced and the second fuel flow is reduced in order to relatively reduce the flow rate.
  • the flow rate of the passage is reduced, and the mixed fuel is supplied mainly to the first fuel passage.
  • a gas turbine includes: A compressor for generating compressed air; The combustion air is generated by burning the fuel injected from at least one of the at least first fuel injection hole and the at least one second fuel injection hole by the compressed air from the compressor. (1) to the combustion device according to any one of (13), A turbine configured to be driven by the combustion gas from the combustion device; Is provided.
  • the first fuel flow path and the first fuel flow path that communicate with the first injection hole and the second injection hole, respectively, for injecting fuel are provided separately.
  • the design of the injection hole can be made suitable for the properties of the fuel flowing through the first fuel flow path, and the design of the second fuel flow path and the second injection hole can be distributed through the second fuel flow path. It can be made suitable for the properties of the fuel.
  • a combustion apparatus capable of reducing combustion vibration even when fuels having different properties are applied.
  • FIG. 7 is a VII-VII sectional view of the nozzle shown in FIG. 6.
  • FIG. 7 is a VIII-VIII sectional view of the nozzle shown in FIG. 6. It is a fragmentary sectional view in alignment with the axial direction of the nozzle which concerns on one Embodiment.
  • FIG. 10 is an XX cross-sectional view of the nozzle shown in FIG. 9. It is a figure which shows the structure of the fuel supply system of the combustor (combustion apparatus) which concerns on one Embodiment. It is a figure which shows the structure of the fuel supply system of the combustor (combustion apparatus) which concerns on one Embodiment.
  • FIG. 1 is a schematic configuration diagram illustrating a gas turbine 1 according to an embodiment of the present invention.
  • a gas turbine 1 includes a compressor 2 for generating compressed air as an oxidant, and a combustor 4 for generating combustion gas using the compressed air and fuel. (Combustion device 100) and a turbine 6 configured to be rotationally driven by combustion gas.
  • a generator (not shown) is connected to the turbine 6, and power generation is performed by the rotational energy of the turbine 6.
  • the compressor 2 is provided on the compressor casing 10, the inlet side of the compressor casing 10, and penetrates the compressor casing 10 and a turbine casing 22, which will be described later, through the air intake 12 for taking in air.
  • the rotor 8 provided and various blades disposed in the compressor casing 10 are provided.
  • the various blades are an inlet guide blade 14 provided on the air intake 12 side, a plurality of stationary blades 16 fixed on the compressor casing 10 side, and a rotor so as to be alternately arranged with respect to the stationary blades 16. 8 and a plurality of blades 18 implanted in 8.
  • the compressor 2 may include other components such as a bleed chamber (not shown).
  • the air taken in from the air intake 12 passes through the plurality of stationary blades 16 and the plurality of moving blades 18 and is compressed into high-temperature and high-pressure compressed air.
  • the high-temperature and high-pressure compressed air is sent from the compressor 2 to the subsequent combustor 4.
  • the combustor 4 is disposed in the casing 20. As shown in FIG. 1, a plurality of combustors 4 may be arranged in a ring shape around the rotor 8 in the casing 20.
  • the combustor 4 is supplied with fuel and compressed air generated by the compressor 2, and burns the fuel to generate combustion gas that is a working fluid of the turbine 6. Then, the combustion gas is sent from the combustor 4 to the subsequent turbine 6.
  • a detailed configuration example of the combustor 4 will be described later.
  • the turbine 6 includes a turbine casing 22 and various blades disposed in the turbine casing 22.
  • the various blades include a plurality of stationary blades 24 fixed to the turbine casing 22 side, and a plurality of moving blades 26 implanted in the rotor 8 so as to be alternately arranged with respect to the stationary blades 24. .
  • the turbine 6 may include other components such as outlet guide vanes.
  • the combustion gas passes through the plurality of stationary blades 24 and the plurality of moving blades 26, so that the rotor 8 is rotationally driven. Thereby, the generator connected with the rotor 8 is driven.
  • An exhaust chamber 30 is connected to the downstream side of the turbine casing 22 via an exhaust casing 28. The combustion gas after driving the turbine 6 is discharged to the outside through the exhaust casing 28 and the exhaust chamber 30.
  • FIG. 2 is a schematic diagram showing the combustor 4 (combustion device 100) according to an embodiment.
  • FIG. 3 is a cross-sectional view showing a part of the combustor 4 (combustion device 100) according to an embodiment.
  • a plurality of combustors 4 (combustion devices 100) according to an embodiment are arranged in an annular shape around a rotor 8 (see FIG. 1).
  • Each combustor 4 includes a combustor liner 46 provided in a combustor casing 40 defined by the casing 20, a second combustion burner 50 and a plurality of first combustion burners 60 respectively disposed in the combustor liner 46. And including.
  • the combustor 4 may include other components such as a bypass pipe (not shown) for bypassing the combustion gas.
  • the combustor liner 46 includes an inner cylinder 46a disposed around the second combustion burner 50 and the plurality of first combustion burners 60, and a tail cylinder 46b connected to the tip of the inner cylinder 46a. ing.
  • the second combustion burner 50 is disposed along the central axis of the combustor liner 46.
  • a plurality of first combustion burners 60 are arranged so as to be separated from each other so as to surround the second combustion burner 50.
  • the second combustion burner 50 includes a second nozzle (nozzle) 54 connected to the fuel port 52, a cone 56 disposed so as to surround the second nozzle 54, and a swirler 58 provided on the outer periphery of the second nozzle 54. And have.
  • the first combustion burner 60 includes a first nozzle (nozzle) 63 connected to the fuel port 62, a burner cylinder (nozzle casing) 66 disposed so as to surround the first nozzle 63, a burner cylinder 66, and a combustor liner. 46 (for example, the inner cylinder 46a) and an extension pipe 65, and a swirler 70 provided on the outer periphery of the first nozzle 63.
  • the fuel port 62 includes at least two fuel ports 62a and 62b.
  • the fuel ports 62a and 62b are connected to a first supply channel and a second supply channel (not shown) for supplying fuel, respectively, and fuel from the first supply channel passes through the fuel port 62a.
  • the extension pipe 65 extends from the upstream end face connected to the burner cylinder 66 to the downstream end face (extension pipe outlet 65 a).
  • FIG. 3 shows a flow path center line O ′ passing through the center position of the extension pipe outlet 65a.
  • the second combustion burner 50 may be a burner for generating a diffusion combustion flame
  • the second nozzle 54 may be a nozzle for injecting fuel for diffusion combustion.
  • the first combustion burner 60 may be a burner for burning the premixed gas
  • the first nozzle 63 may be a nozzle for injecting premixed fuel. That is, in the combustor 4 having the above-described configuration, the high-temperature and high-pressure compressed air generated by the compressor 2 is supplied from the vehicle compartment inlet 42 into the combustor compartment 40, and from the combustor compartment 40 to the burner cylinder 66. Flow into. The compressed air and the fuel supplied from the fuel port 62 are premixed in the burner cylinder 66.
  • the premixed gas mainly forms a swirling flow by the swirler 70 and flows into the combustor liner 46. Further, the compressed air and the fuel injected from the second combustion burner 50 through the fuel port 52 are mixed in the combustor liner 46, ignited by the unillustrated seed fire and burned, and combustion gas is generated. At this time, a part of the combustion gas diffuses to the surroundings with a flame, so that the premixed gas flowing into the combustor liner 46 from each first combustion burner 60 is ignited and burned. That is, flame holding for stable combustion of the premixed gas (premixed fuel) from the first combustion burner 60 can be performed by the diffusion combustion flame by the diffusion combustion fuel injected from the second combustion burner 50. . In that case, a combustion area
  • the combustion burner according to the present invention is not limited to the first combustion burner 60, and any type of combustion burner provided that a swirler (swirler vane) is provided in the axial flow path around the nozzle.
  • the configuration according to the embodiment of the present invention can be applied to the above.
  • the combustion burner may be a combustion burner of a type that mainly performs diffusion combustion like the second combustion burner 50 provided in the combustor 4 of the gas turbine 1, or other than the gas turbine 1.
  • the combustion burner provided in an apparatus may be sufficient.
  • the nozzle according to the present invention is not limited to the first nozzle 63.
  • the nozzle may be the second nozzle 54 provided so as to be surrounded by the plurality of first nozzles 63.
  • the nozzle according to the present invention may be a nozzle for injecting premixed fuel or a nozzle for injecting fuel for diffusion combustion.
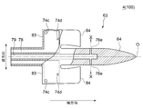
  • FIG. 4 is a cross-sectional view of a main part including the first combustion burner 60 of the combustor 4 (combustion device 100) according to an embodiment
  • FIG. 5 is a diagram of the combustor 4 (combustion device 100) shown in FIG. It is an A direction arrow directional view.
  • the first combustion burner 60 includes a burner cylinder (nozzle casing) 66 and a first nozzle 63.
  • the burner cylinder 66 defines an axial flow path 68 along the axial direction of the first nozzle 63 by its inner peripheral surface, and the first nozzle 63 is provided in the axial flow path 68. .
  • the first nozzle 63 includes a cylindrical nozzle main body 64 extending along the axial flow path 68 and a swirler 70 including at least one swirler vane 72.
  • the cylindrical shape does not necessarily mean a strict cylindrical shape. That is, for example, the nozzle body 64 may have a cylindrical shape at least partially, and may have a shape whose diameter changes in the central axis direction of the cylindrical shape.
  • the nozzle main body 64 may have a cylindrical shape with one end portion in the central axis direction tapered.
  • the burner cylinder 66 is disposed concentrically with the nozzle body 64 and surrounds the first nozzle 63 including the nozzle body 64 and the swirler vane 72. That is, the axis of the burner cylinder 66 substantially coincides with the axis O of the nozzle body 64, and the diameter of the burner cylinder 66 is larger than the diameter of the first nozzle 63.
  • the axial flow path 68 defined by the inner peripheral surface of the burner cylinder 66 has a gas (fluid) G such as compressed air from the upstream side (left side in FIG. 4) to the downstream side (right side in FIG. 4). Circulate.
  • the first nozzle 63 is connected to the fuel port 62 (62a, 62b) (see FIGS. 2 and 3), and fuel is supplied from the fuel port 62 (62a, 62b).
  • the fuel may be a gas or a liquid, and the type thereof is not particularly limited.
  • the fuel supplied to the second nozzle 54 may be different from the fuel supplied to the first nozzle 63.
  • oil fuel is supplied to the second nozzle 54, and natural gas or the like is supplied to the first nozzle 63.
  • the gas fuel may be supplied.
  • the swirler 70 is configured to swirl the gas flowing through the axial flow path 68 and includes at least one swirler vane 72.
  • the swirler 70 shown in FIGS. 4 and 5 is an example in which six swirler vanes 72 are provided radially around the nozzle body 64. However, in FIG. 4, for convenience, only two swirler vanes 72 arranged at positions of an angle of 0 degrees and an angle of 180 degrees along the circumferential direction are shown (in the state of FIG. 4, actually, a total of four swirler vanes are shown. 72 can be seen).
  • the swirler vanes 72 are radially outward from the nozzle body 64 in the radial direction of the nozzle body 64 in an axial flow path 68 that extends along the axial direction (axis O direction) of the nozzle body 64 around the nozzle body 64.
  • the gas flowing through the axial flow path 68 is swirled.
  • the swirler vane 72 includes an abdominal surface 81 that is a pressure surface, a back surface 82 that is a negative pressure surface, a leading edge 83 that is an upstream end in the gas flow direction (the axial direction of the nozzle body 64), and a gas flow direction ( And a trailing edge 84 which is an end portion on the downstream side in the axial direction of the first nozzle 63.
  • the swirler vane 72 and / or the nozzle body 64 are formed with a plurality of injection holes for injecting fuel.
  • the plurality of injection holes include at least one first injection hole 74 that opens on the surface of the swirler vane 72 and at least one second injection hole 76 that opens on the surface of the swirler vane 72 or the nozzle body 64.
  • the first injection holes 74 a and 74 b are formed in the abdominal surface 81 of the swirler vane 72 and the first injection holes 74 c and 74 d are formed in the back surface 82 of the swirler vane 72 as the first injection holes 74.
  • second injection holes 76 As the second injection holes 76, second injection holes 76 a and 76 b are formed on the abdominal surface 81 of the swirler vane 72, and second injection holes 76 c and 76 d are formed on the back surface 82 of the swirler vane 72.
  • the first injection hole 74 and the second injection hole 76 are a first fuel channel 78 and a second fuel channel 79 (see FIGS. 6 and 9) provided in the nozzle body 64, which will be described later. ).
  • the fuel injected from the first injection hole 74 and the second injection hole 76 is mixed with gas (for example, compressed air as an oxidant) to become a premixed gas (fuel gas), and is sent to the combustor liner 46. Will burn.
  • gas for example, compressed air as an oxidant
  • FIGS. 6 and FIG. 9 are partial cross-sectional views along the axial direction of the nozzle according to one embodiment
  • FIG. 7 is a VII-VII cross-sectional view of the nozzle shown in FIG. 6
  • FIG. FIG. 10 is a sectional view taken along line VIII-VIII of the nozzle shown in FIG. 10
  • FIG. 10 is a sectional view taken along line XX of the nozzle shown in FIG.
  • the first injection holes 74a and 74b are provided on the abdominal surface 81 of the swirler vane 72, and the back surface 82 of the swirler vane 72 is provided.
  • the first injection holes 74 c and 74 d are formed in the second injection hole 76, the second injection holes 76 a and 76 b are formed on the abdominal surface 81 of the swirler vane 72, and the second injection holes 76 c and 76 d are formed on the back surface 82 of the swirler vane 72. Is formed. Further, in the embodiment shown in FIGS. 9 to 10, as the first injection holes 74, two first injection holes 74a and 74b are provided on the abdominal surface 81 of the swirler vane 72, and two first injection holes 74c are provided on the back surface 82 of the swirler vane 72. 74d are formed, and as the second injection holes 76, three second injection holes 76e are formed in the nozzle body.
  • the three second injection holes 76 e are provided at substantially equal intervals along the circumferential direction of the nozzle body 64.
  • it is provided around the axis center O at intervals of about 120 degrees.
  • the first injection holes 74a to 74d are represented as the first injection holes 74
  • the second injection holes 76a to 76e are represented as the first injection holes 74.
  • a first fuel channel 78 and a second fuel channel 79 extending along the axial direction of the nozzle body 64 are separately provided inside the nozzle body 64.
  • the first fuel channel 78 and the second fuel channel 79 may partially extend inside the swirler vane 72 in the radial direction of the nozzle body 64.
  • the first fuel flow path 78 communicates with each first injection hole 74
  • the second fuel flow path 79 communicates with each second injection hole 76.
  • the first fuel channel 78 and the second fuel channel 79 may be supplied with the same fuel or may be supplied with different types of fuel. Further, the fuel may be supplied to the first fuel channel 78 and the second fuel channel 79 as a gas or as a liquid.
  • Gaseous fuel may be supplied to both the first fuel channel 78 and the second fuel channel 79, or liquid fuel may be supplied to both the first fuel channel 78 and the second fuel channel 79, Alternatively, the gaseous fuel may be supplied to one of the first fuel channel 78 and the second fuel channel 79, and the liquid fuel may be supplied to the other.
  • the first fuel flow path 78 and the second fuel flow path 79 communicating with the first injection hole 74 and the second injection hole 76 for injecting fuel are provided separately, the first fuel flow path 78 is provided.
  • the design of the first injection hole 74 can be made suitable for the properties of the fuel flowing through the first fuel flow path 78, and the design of the second fuel flow path 79 and the second injection hole 76 can be The fuel flow through the two fuel flow paths 79 can be suitable for the properties of the fuel.
  • the total area of the first injection holes 74 is greater than the total area of the second injection holes 76.
  • the total area of the first injection holes 74 is the sum of the opening areas or flow path areas of all the first injection holes 74
  • the total area of the second injection holes 76 is all the second injection holes. It is the sum total of 76 opening areas or channel areas.
  • the total opening area of the four first injection holes 74 a to 74 d provided in the swirler vane 72 is the opening area of the four second injection holes 76 a to 76 d provided in the swirler vane 72.
  • the total opening area of the four first injection holes 74 a to 74 d provided in the swirler vane 72 is the opening area of the three second injection holes 76 e provided in the nozzle body 64. Greater than total.
  • the flow rate of the fuel injected from the first injection holes 74 is relatively larger than the second injection holes 76. .
  • the differential pressure before and after the first injection hole is easily maintained.
  • the total area of the second injection holes 76 is made smaller than the total area of the first injection holes 74, the second injection is performed even though the flow rate of fuel injected from the second injection holes 76 is relatively small. It is easy to maintain the differential pressure before and after the hole 76. Therefore, the differential pressure before and after fuel injection is easily maintained in the combustion apparatus 100.
  • the flow area of the first fuel flow path 78 is larger than the flow area of the second fuel flow path 79.
  • a cross section orthogonal to the axis of the nozzle body 64 ( The flow area of the first fuel flow path 78 in FIG. 7) is larger than the flow area of the second fuel flow path 79.
  • the flow area of the first fuel flow path 78 is larger than the flow area of the second fuel flow path 79.
  • the flow area of the first fuel flow path 78 in the cross section (see FIG. 8) along the axial direction of the nozzle body 64 is the flow of the second fuel flow path 79. It is larger than the road area.
  • the flow area of the first fuel flow path 78 is larger than the flow area of the second fuel flow path 79, the flow rate of fuel injected from the first injection holes 74 rather than the second injection holes 76 Is relatively large. For this reason, when fuel is injected from the first injection hole 74, the differential pressure is easily maintained before and after the first injection hole.
  • the flow area of the second fuel flow path 79 is smaller than the flow area of the first fuel flow path 78, the flow rate of fuel injected from the second injection holes 76 is relatively small. It is easy to maintain the differential pressure before and after the second injection hole 76. Therefore, the differential pressure before and after fuel injection is easily maintained in the combustion apparatus 100.
  • the flow area ratio that is the ratio of the flow area of the first fuel flow path 78 and the flow area of the second fuel flow path 79, the total area of the first injection holes 74, and the second The ratio (flow channel area ratio / injection hole total area ratio) to the injection hole total area ratio, which is a ratio to the total area of the injection holes 76, is 0.8 to 1.2.
  • the total area ratio of the injection holes (the first area) which is the ratio of the total area of the first injection holes 74 (74a to 74d) and the total area of the second injection holes 76 (76a to 76d).
  • the flow path is a ratio of the flow area of the first fuel flow path 78 and the flow area of the second fuel flow path 79.
  • the first injection hole 74 and the second injection hole 76 so that the area ratio (the flow area of the first fuel flow path 78 / the flow area of the second fuel flow path 79) is 1.6 to 2.4.
  • the diameters of the first fuel passage 78 and the second fuel passage 79 are set.
  • the ratio of the flow path area ratio and the injection hole total area ratio is close to 1, the pressure loss in the first fuel flow path 78 and the second fuel flow path 79 can be reduced, and therefore combustion In the apparatus 100, the differential pressure before and after fuel injection is easily maintained.
  • the first injection hole 74 is more than the second injection hole 76 in the direction of fluid flow in the axial flow path 68. It is provided upstream.
  • the fuel injected from the first injection hole 74 is compared with the fuel injected from the second injection hole 76.
  • the mixing distance with the air flowing through the axial flow path 68 from the upstream side can be increased by the distance between the first injection hole 74 and the second injection hole 76. For this reason, mixing (premixing) of the fuel and air injected from the first injection holes 74 can be further promoted, and good combustion efficiency can be obtained in the combustion apparatus 100.
  • the plurality of first injection holes 74 and / or the plurality of second injection holes 76 include:
  • the nozzle body 64 may be disposed at different positions in the axial direction and the radial direction.
  • the axial direction of the nozzle body 64 and the radial direction of the nozzle body 64 may be simply referred to as the axial direction and the radial direction, respectively.
  • At least one of the plurality of first injection holes 74 and at least one of the plurality of second injection holes 76 may have substantially the same radial position.
  • the first injection holes 74 a and 74 c positioned on the relatively outer diameter side and the plurality of second injection holes 76 are compared.
  • the second injection holes 76a and 76c located on the target outer diameter side have substantially the same radial position (that is, the distance from the central axis of the nozzle body 64 is substantially the same).
  • the two injection holes 76b and 76d have substantially the same radial position (that is, the distance from the central axis of the nozzle body 64 is substantially the same).
  • the swirler vane 72 includes the first injection holes 74 a and 74 b formed in the abdominal surface 81 and the first injection holes 74 c and 74 d formed in the back surface 82.
  • Four first injection holes 74 are provided.
  • the first injection hole 74a is disposed outside in the radial direction
  • the first injection hole 74b is disposed inside in the radial direction.
  • the first injection hole 74c is disposed on the outer side in the radial direction, and the first injection hole 74d is disposed on the inner side in the radial direction.
  • the first injection hole 74a and the first injection hole 74c may be disposed at the same position in the radial direction.
  • the first injection hole 74b and the first injection hole 74d may be disposed at the same position in the radial direction.
  • the plurality of second injection holes 76a, 76b and 76c, 76d formed in the swirler vane 72 have the same diameter as the first injection holes 74a, 74b and 74c, 74d, respectively.
  • the plurality of first injection holes 74 or the plurality of second injection holes 76 are arranged at different positions in the direction. As described above, by arranging the plurality of first injection holes 74 or the plurality of second injection holes 76 at positions different from each other in the radial direction of the nozzle body 64, the flow of fuel in the first fuel flow path 78 is smooth. Become. For this reason, fuel can be smoothly supplied from the first injection holes 74.
  • the nozzle body 64 or the swirler vane 72 has a plurality of first injection holes 74 or a plurality of second injection holes 76
  • the plurality of first injection holes 74 and / or the plurality of second injection holes 76 are upstream in the flow direction of the gas G in the axial flow path 68 (see FIG. 4) than the inner injection hole arranged inside in the radial direction. It may be arranged on the side (that is, the left hand side in FIGS. 4, 6 and 9).
  • the first injection hole 74 a that is the outer injection hole is the first injection that is the inner injection hole. It arrange
  • the first injection hole 74c, which is the outer injection hole is more axially flow path 68 than the first injection hole 74d, which is the inner injection hole. It arrange
  • the plurality of second injection holes 76a, 76b and 76c, 76d formed in the swirler vane 72 are respectively shafts in the same manner as the first injection holes 74a, 74b and 74c, 74d. They are arranged at different positions in the direction.
  • the outer injection hole is arranged upstream of the inner injection hole in the flow direction of the gas G in the axial flow path 68.
  • the nozzle body 64 or the swirler vane 72 has a plurality of first injection holes 74 or a plurality of second injection holes 76
  • the plurality of first injection holes 74 and / or the plurality of second injection holes 76 may be larger than the hole diameter of the inner injection hole arranged inside in the radial direction.
  • the diameter d1 of the first injection hole 74a that is the outer injection hole among the first injection holes 74a and 74b formed in the abdominal surface 81 of the swirler vane 72 is the inner injection hole. It is larger than the hole diameter d2 of the first injection hole 74b.
  • the hole diameter d3 of the first injection hole 74c that is the outer injection hole is larger than the hole diameter d4 of the first injection hole 74d that is the inner injection hole. Is also big. In the embodiment shown in FIG.
  • the second injection holes 76a, 76b and 76c, 76d formed in the swirler vane also have a hole diameter d5 and a second injection hole 76c of the second injection hole 76a which is an outer injection hole.
  • the hole diameter d7 is larger than the hole diameter d6 of the second injection hole 76b, which is the inner injection hole, and the hole diameter d8 of the second injection hole 76d.
  • FIGS. 11 and 12 are diagrams each showing a configuration of a fuel supply system of the combustor 4 (combustion apparatus 100) according to an embodiment.
  • the fuel supplied to the first nozzle 63 is shown.
  • the supply system is shown.
  • the combustion apparatus 100 including the combustor 4 includes a first supply passage 86 connected to the first fuel passage 78 of the first nozzle 63, and And a second supply flow path 88 connected to the second fuel flow path 79 of the first nozzle 63.
  • first supply channel 86 and the second supply channel 88 the first fuel and / or the second fuel from the first fuel tank 96 and / or the second fuel tank 98 can flow.
  • the first supply flow path 86 is provided with a flow rate adjustment valve 92 that can adjust the flow rate of the fuel flowing through the first supply flow path 86, and an arbitrary flow rate of fuel is supplied via the flow rate adjustment valve 92.
  • One fuel flow path 78 can be supplied.
  • the second supply flow path 88 is provided with a flow rate adjustment valve 94 that can adjust the flow rate of the fuel flowing through the second supply flow path 88, and the flow rate adjustment valve 94 allows any flow rate to be adjusted.
  • the fuel can be supplied to the second fuel flow path 79.
  • the first supply channel 86 and the second supply channel 88 are provided with flow meters 93 and 95.
  • a fuel heater 101 is provided in the first supply flow path 86, and the first fuel is heated to a predetermined temperature by the fuel heater (FGH) 101 and then the first supply flow path 86. 86, and is supplied to the first fuel flow path 78 of the first nozzle 63 through, for example, the fuel port 62a (see FIGS. 2 and 3).
  • the second supply flow path 88 is provided with a fuel heater (FGH) 102. The second fuel is heated to a predetermined temperature by the fuel heater 102 and then flows through the second supply flow path 88, for example, The fuel is supplied to the second fuel flow path 79 of the first nozzle 63 via the fuel port 62b (see FIGS. 2 and 3).
  • the fuel supplied from the first supply channel 86 and the second supply channel 88 to the first fuel channel 78 and the second fuel channel 79 of the first nozzle 63 via the fuel ports 62a and 62b is shown in FIG. 2 corresponds to “premixed fuel”.
  • the first fuel supplied to the first fuel flow path 78 has a smaller calorific value than the second fuel supplied to the second fuel flow path 79.
  • the first fuel flow path 78 and the first injection hole 74 of the first nozzle 63 can be designed to be suitable for the properties of the first fuel (low calorie fuel) with a relatively small calorific value
  • the two fuel flow paths 79 and the second injection holes 76 can be designed to be suitable for the properties of the second fuel (high calorie fuel) having a relatively large calorific value.
  • the total area of the first injection holes 74 may be larger than the total area of the second injection holes 76.
  • the flow rate of the first fuel (low calorie fuel) injected from the first injection holes 74 is relatively large, and the total area of the second injection holes 76 is relatively small.
  • the differential pressure before and after the second injection hole 76 through which fuel (high calorie fuel) is injected is easily maintained. For this reason, the differential pressure before and after fuel injection is easily maintained in the combustion apparatus 100.
  • the total area ratio which is the ratio of the total area of the first injection holes 74 to the total area of the second injection holes 76, is the heat generation ratio that is the ratio of the heat generation amount of the first fuel and the heat generation amount of the second fuel.
  • the total area of the first injection holes 74 and the total area of the second injection holes 76 may be determined so that the total area ratio is a reciprocal of the heat generation amount ratio.
  • variation of the combustion heat between the time of using the 1st fuel (low calorie fuel) and the 2nd fuel (high calorie fuel) can be reduced, and the 1st fuel (low calorie fuel) and the 2nd fuel (high fuel)
  • the fuel can be stably burned even when the calorie fuel is used by switching.
  • the first injection hole 74 may be provided on the upstream side of the second injection hole 76.
  • the relatively large flow rate of the first fuel (low calorie fuel) injected from the first injection hole 74 is compared to the relatively small flow rate of the second fuel (high calorie) injected from the second injection hole 76.
  • the mixing distance with the air flowing from the upstream side of the axial flow path 68 can be increased by the distance between the first injection hole 74 and the second injection hole 76.
  • the mixing (premixing) of the first fuel (low-calorie fuel) having a relatively large flow rate injected from the first injection hole 74 and the air can be further promoted, and the combustion apparatus 100 as a whole has good combustion. Efficiency can be obtained.
  • each of the first supply flow path 86 and the second supply flow path 88 is connected to a mixer (MIXER) 91 via a mixed fuel line 116.
  • the first fuel and the second fuel flow into the mixer 91.
  • the mixer 91 the first fuel and the second fuel are mixed to generate a mixed fuel.
  • a fuel heater 104 is provided in the mixed fuel line 116, and the mixed fuel generated by the mixer 91 is heated to a predetermined temperature by the fuel heater 104 in the mixed fuel line 116 and then passed through the first supply flow path 86.
  • the fuel is supplied to the first fuel flow path 78 of the first nozzle 63 via the fuel port 62a (see FIGS. 2 and 3) and flows through the second supply flow path 88, for example, the fuel port 62b ( 2 and FIG. 3), the fuel is supplied to the second fuel flow path 79 of the first nozzle 63.
  • a calorimeter 115 for measuring the calorific value of the mixed fuel flowing from the mixer 91 to the fuel heater 104 is provided between the mixer 91 and the fuel heater 104 in the mixed fuel line 116.
  • the flow rate adjusting valve 92 and the flow rate adjusting valve (second valve) 94 provided in the first supply channel 86 and the second supply channel 88 are connected to the first fuel channel 78 and the second fuel channel 79, respectively. It is a valve that can adjust the flow rate of the supplied mixed fuel.
  • the mixed fuel obtained by mixing the first fuel and the second fuel can be supplied to the first fuel flow path 78 and the second fuel flow path 79, and is supplied to the second fuel flow path 79.
  • the flow rate of the mixed fuel can be adjusted by a flow rate adjusting valve (second valve) 94. Therefore, by adjusting the flow rate of the mixed fuel in the second fuel flow path 79 with the flow rate adjusting valve (second valve) 94, the flow rate of the entire mixed fuel can be adjusted.
  • the first fuel and the second fuel may have different calorific values.
  • the opening degree of the flow rate adjusting valve (second valve) 94 may be adjusted according to the mixing ratio of the first fuel and the second fuel in the mixed fuel.
  • the flow rate of the entire mixed fuel can be adjusted appropriately according to the mixing ratio of the first fuel and the second fuel.
  • the mixing ratio of the mixed fuel may be adjusted by adjusting the flow rates of the first fuel and the second fuel flowing into the mixer 91 by a flow rate adjusting valve or the like. Or you may make it grasp
  • the opening of the flow control valve (second valve) 94 is increased in order to obtain a large flow rate.
  • the mixed fuel can be supplied to both the first fuel channel 78 and the second fuel channel 79.
  • the opening degree of the flow rate adjusting valve (second valve) 94 is made small in order to make the flow rate relatively small.
  • the flow rate of the second fuel flow path 79 is decreased, and the mixed fuel is mainly supplied to the first fuel flow path 78.
  • the flow rate is independent of the mixing ratio of the mixed fuel.
  • the mixed fuel may be always supplied to the first fuel flow path 78 while maintaining the opening degree of the adjustment valve 92.
  • the mixed fuel that is always injected regardless of the mixing ratio of the mixed fuel that is, the mixed fuel injected from the first injection hole 74
  • the mixed fuel injected from the first injection hole 74 is mixed with the air flowing from the upstream side in the axial flow path 68. Therefore, mixing of fuel and air (premixing) can be further promoted.
  • the mixed fuel obtained by mixing the first fuel and the second fuel is supplied to the first fuel channel 78 and the second fuel channel 79, the fuel is supplied. What is necessary is just to provide the heater for heating so that the fuel after mixing may be heated. That is, only the fuel heater 104 provided in the mixed fuel line 116 is sufficient as a heater for heating the mixed fuel. For this reason, cost can be reduced compared with the case where a heater is provided separately for each of the first fuel and the second fuel.
  • the first fuel and the second fuel may be supplied to the first nozzle 63 and supplied to nozzles other than the first nozzle 63.
  • the first fuel and the second fuel are supplied to the first nozzle 63 and also to the second nozzle 54 (see FIGS. 2 and 3).
  • the first fuel and the second fuel are supplied to the first nozzle 63, and a third nozzle (for example, a top hat nozzle (not shown) that is a nozzle different from the first nozzle and the second nozzle is used. ) Etc.) may also be supplied.
  • the first fuel and the second fuel are supplied as diffusion combustion fuel to the second nozzle 54 (see FIGS. 2 and 3). .
  • the mixer 90 is provided in the branch lines 118 and 119 branched from the first supply channel 86 and the second supply channel 88, and the mixer 90 and the second nozzle 54 are diffused.
  • the combustion fuel supply channel 120 is connected.
  • valves 106 and 107 for adjusting the flow rates of the first fuel and the second fuel flowing to the mixer 90 are provided.
  • the diffusion combustion fuel supply channel 120 is provided with a valve 108 and a flow meter 109 for adjusting the flow rate of the diffusion combustion fuel supplied from the mixer 90 to the second nozzle 54.
  • the first fuel and the second fuel from the first fuel tank 96 and the second fuel tank 98 are heated by the fuel heaters 101 and 102, and then flow into the mixer 90 through the branch lines 118 and 119.
  • the fuel is mixed at 90 to become a mixed fuel.
  • the mixed fuel obtained in this way is supplied from the diffusion combustion fuel supply flow path 120 to the second nozzle 54 via, for example, the fuel port 52.
  • the mixed fuel line 116 and the second nozzle 54 are connected via a diffusion combustion fuel supply flow path 120.
  • a mixed fuel (a mixture of the first fuel and the second fuel) flowing through the mixed fuel line 116 is supplied to the second nozzle 54 via the diffusion combustion fuel supply flow path 120.
  • the diffusion combustion fuel supply flow path 120 is provided with a valve 108 and a flow meter 109 for adjusting the flow rate of diffusion combustion fuel supplied from the mixed fuel line 116 to the second nozzle 54.
  • either the first fuel or the second fuel is used alone for the second nozzle 54 or the third nozzle (nozzles other than the first nozzle 63 and the second nozzle 54 such as a top hat nozzle).
  • the fuel may be able to be supplied at the same time, or another fuel different from the first fuel and the second fuel may be supplied.
  • an expression representing a relative or absolute arrangement such as “in a certain direction”, “along a certain direction”, “parallel”, “orthogonal”, “center”, “concentric” or “coaxial”. Represents not only such an arrangement strictly but also a state of relative displacement with tolerance or an angle or a distance to obtain the same function.
  • an expression indicating that things such as “identical”, “equal”, and “homogeneous” are in an equal state not only represents an exactly equal state, but also has a tolerance or a difference that can provide the same function. It also represents the existing state.
  • expressions representing shapes such as quadrangular shapes and cylindrical shapes not only represent shapes such as quadrangular shapes and cylindrical shapes in a strict geometric sense, but also within a range where the same effects can be obtained.
  • a shape including an uneven portion or a chamfered portion is also expressed.
  • the expression “comprising”, “including”, or “having” one constituent element is not an exclusive expression for excluding the existence of another constituent element.

Landscapes

  • Engineering & Computer Science (AREA)
  • Chemical & Material Sciences (AREA)
  • Combustion & Propulsion (AREA)
  • Mechanical Engineering (AREA)
  • General Engineering & Computer Science (AREA)
  • Nozzles For Spraying Of Liquid Fuel (AREA)
PCT/JP2017/007026 2016-03-03 2017-02-24 燃焼装置及びガスタービン Ceased WO2017150364A1 (ja)

Priority Applications (3)

Application Number Priority Date Filing Date Title
CN201780014987.4A CN108700298B (zh) 2016-03-03 2017-02-24 燃烧装置及燃气轮机
US16/080,877 US20190093570A1 (en) 2016-03-03 2017-02-24 Combustion device and gas turbine
SA518392299A SA518392299B1 (ar) 2016-03-03 2018-08-29 جهاز احتراق وتربين غازي

Applications Claiming Priority (2)

Application Number Priority Date Filing Date Title
JP2016-040951 2016-03-03
JP2016040951A JP6626743B2 (ja) 2016-03-03 2016-03-03 燃焼装置及びガスタービン

Publications (1)

Publication Number Publication Date
WO2017150364A1 true WO2017150364A1 (ja) 2017-09-08

Family

ID=59742955

Family Applications (1)

Application Number Title Priority Date Filing Date
PCT/JP2017/007026 Ceased WO2017150364A1 (ja) 2016-03-03 2017-02-24 燃焼装置及びガスタービン

Country Status (5)

Country Link
US (1) US20190093570A1 (enExample)
JP (1) JP6626743B2 (enExample)
CN (1) CN108700298B (enExample)
SA (1) SA518392299B1 (enExample)
WO (1) WO2017150364A1 (enExample)

Families Citing this family (12)

* Cited by examiner, † Cited by third party
Publication number Priority date Publication date Assignee Title
US20180135532A1 (en) * 2016-11-15 2018-05-17 General Electric Company Auto-thermal fuel nozzle flow modulation
KR102164619B1 (ko) * 2019-04-08 2020-10-12 두산중공업 주식회사 연소기 및 이를 포함하는 가스터빈
JP7200077B2 (ja) * 2019-10-01 2023-01-06 三菱重工業株式会社 ガスタービン燃焼器及びその運転方法
CN110878941B (zh) * 2019-12-02 2025-02-11 上海迎韦热能设备有限公司 一种超低氮燃气燃烧器
CN111121012B (zh) * 2020-01-14 2025-01-07 上海迎韦热能设备有限公司 一种低氮燃油燃烧器
JP7349403B2 (ja) 2020-04-22 2023-09-22 三菱重工業株式会社 バーナー集合体、ガスタービン燃焼器及びガスタービン
CN113251439B (zh) * 2021-06-24 2021-11-16 成都中科翼能科技有限公司 一种用于双燃料燃气轮机的双级同旋式头部装置
CN113701194B (zh) * 2021-08-16 2022-11-22 中国航发沈阳发动机研究所 一种燃气轮机燃烧室预混装置
KR102522143B1 (ko) * 2021-09-16 2023-04-13 두산에너빌리티 주식회사 연소기용 연료공급 시스템
KR102522144B1 (ko) * 2021-09-16 2023-04-13 두산에너빌리티 주식회사 연소기용 연료공급 시스템
CN114738796A (zh) * 2022-03-09 2022-07-12 西北工业大学 内含旋转油管的空气雾化喷嘴
DE102022207492A1 (de) * 2022-07-21 2024-02-01 Rolls-Royce Deutschland Ltd & Co Kg Düsenvorrichtung zur Zugabe zumindest eines gasförmigen Kraftstoffes und eines flüssigen Kraftstoffes, Set, Zuleitungssystem und Gasturbinenanordnung

Citations (5)

* Cited by examiner, † Cited by third party
Publication number Priority date Publication date Assignee Title
JPH11264542A (ja) * 1998-03-16 1999-09-28 Central Res Inst Of Electric Power Ind ガスタービン燃焼器
JP2008116200A (ja) * 2006-10-31 2008-05-22 Korea Electric Power Corp 燃焼器およびマルチ燃焼器、燃焼方法
US20100077760A1 (en) * 2008-09-26 2010-04-01 Siemens Energy, Inc. Flex-Fuel Injector for Gas Turbines
JP2011099654A (ja) * 2009-11-09 2011-05-19 Mitsubishi Heavy Ind Ltd ガスタービン用燃焼バーナ
JP2014020769A (ja) * 2012-07-24 2014-02-03 Hitachi Ltd ガスタービン燃焼器

Family Cites Families (8)

* Cited by examiner, † Cited by third party
Publication number Priority date Publication date Assignee Title
US5680766A (en) * 1996-01-02 1997-10-28 General Electric Company Dual fuel mixer for gas turbine combustor
CA2453532C (en) * 2001-07-10 2009-05-26 Mitsubishi Heavy Industries, Ltd. Premixing nozzle, combustor,and gas turbine
JP4719059B2 (ja) * 2006-04-14 2011-07-06 三菱重工業株式会社 ガスタービンの予混合燃焼バーナー
KR100872841B1 (ko) * 2007-09-28 2008-12-09 한국전력공사 디엠이 연료용 가스터빈 연소기의 연료노즐과 이의 설계방법
US20110005189A1 (en) * 2009-07-08 2011-01-13 General Electric Company Active Control of Flame Holding and Flashback in Turbine Combustor Fuel Nozzle
CA2896463A1 (en) * 2012-12-28 2014-07-03 General Electric Company Turbine engine assembly comprising a cryogenic fuel system
JP6285807B2 (ja) * 2014-06-04 2018-02-28 三菱日立パワーシステムズ株式会社 ガスタービン燃焼器
CN204358774U (zh) * 2014-09-03 2015-05-27 西门子公司 具有至少一个燃烧器的燃气轮机、燃烧器和燃料喷嘴

Patent Citations (5)

* Cited by examiner, † Cited by third party
Publication number Priority date Publication date Assignee Title
JPH11264542A (ja) * 1998-03-16 1999-09-28 Central Res Inst Of Electric Power Ind ガスタービン燃焼器
JP2008116200A (ja) * 2006-10-31 2008-05-22 Korea Electric Power Corp 燃焼器およびマルチ燃焼器、燃焼方法
US20100077760A1 (en) * 2008-09-26 2010-04-01 Siemens Energy, Inc. Flex-Fuel Injector for Gas Turbines
JP2011099654A (ja) * 2009-11-09 2011-05-19 Mitsubishi Heavy Ind Ltd ガスタービン用燃焼バーナ
JP2014020769A (ja) * 2012-07-24 2014-02-03 Hitachi Ltd ガスタービン燃焼器

Also Published As

Publication number Publication date
JP6626743B2 (ja) 2019-12-25
SA518392299B1 (ar) 2022-03-23
CN108700298B (zh) 2021-03-19
US20190093570A1 (en) 2019-03-28
JP2017156033A (ja) 2017-09-07
CN108700298A (zh) 2018-10-23

Similar Documents

Publication Publication Date Title
JP6626743B2 (ja) 燃焼装置及びガスタービン
KR101792453B1 (ko) 가스 터빈 연소기, 가스 터빈, 제어 장치 및 제어 방법
EP3320268B1 (en) Burner for a gas turbine and method for operating the burner
JP5629321B2 (ja) 燃焼装置用の入口予混合器
JP2019056547A (ja) 燃焼器用のトーチ点火器
CN107923620B (zh) 具有整体式液体喷射器/蒸发器的多燃料预混合喷嘴的系统和方法
CN101644435A (zh) 稀薄直喷式扩散头和相关方法
JP2006112776A (ja) 低コスト二元燃料燃焼器及び関連する方法
JP2017172953A (ja) 軸方向多段型燃料噴射器アセンブリ
JP7184477B2 (ja) 液体燃料先端を有するデュアルフュエル燃料ノズル
KR20220151688A (ko) 버너 집합체, 가스 터빈 연소기 및 가스 터빈
JP2016538454A (ja) 燃料ノズル用の液体燃料カートリッジ
US12072103B2 (en) Turbine engine fuel premixer
US20170009994A1 (en) Combustor
JP6723768B2 (ja) バーナアセンブリ、燃焼器、及びガスタービン
CN115989383A (zh) 用于燃气涡轮机的燃烧器
JP6417620B2 (ja) 燃焼器、ガスタービン
JP6452298B2 (ja) 噴射ノズル、ガスタービン燃焼器及びガスタービン
JP7285623B2 (ja) ガスタービン燃焼器及びそれを備えるガスタービン、並びに、ガスタービン燃焼器の燃焼振動抑制方法
JP7202084B2 (ja) 気体燃料および液体燃料の機能を有する二重燃料燃料ノズル
CN116293797A (zh) 具有燃料喷射器的燃烧器
JP7696453B2 (ja) 燃焼器及びガスタービン
US12331932B2 (en) Turbine engine fuel mixer
WO2024116966A1 (ja) ガスタービンの運転方法

Legal Events

Date Code Title Description
NENP Non-entry into the national phase

Ref country code: DE

121 Ep: the epo has been informed by wipo that ep was designated in this application

Ref document number: 17759830

Country of ref document: EP

Kind code of ref document: A1

122 Ep: pct application non-entry in european phase

Ref document number: 17759830

Country of ref document: EP

Kind code of ref document: A1