WO2017068829A1 - 香り提供装置 - Google Patents

香り提供装置 Download PDF

Info

Publication number
WO2017068829A1
WO2017068829A1 PCT/JP2016/071755 JP2016071755W WO2017068829A1 WO 2017068829 A1 WO2017068829 A1 WO 2017068829A1 JP 2016071755 W JP2016071755 W JP 2016071755W WO 2017068829 A1 WO2017068829 A1 WO 2017068829A1
Authority
WO
WIPO (PCT)
Prior art keywords
fragrance
holding member
holding
rotation
introduction port
Prior art date
Legal status (The legal status is an assumption and is not a legal conclusion. Google has not performed a legal analysis and makes no representation as to the accuracy of the status listed.)
Ceased
Application number
PCT/JP2016/071755
Other languages
English (en)
French (fr)
Japanese (ja)
Inventor
航也 野本
修二 藤田
夕香里 角田
恒俊 寒川
Current Assignee (The listed assignees may be inaccurate. Google has not performed a legal analysis and makes no representation or warranty as to the accuracy of the list.)
Sony Corp
Original Assignee
Sony Corp
Priority date (The priority date is an assumption and is not a legal conclusion. Google has not performed a legal analysis and makes no representation as to the accuracy of the date listed.)
Filing date
Publication date
Application filed by Sony Corp filed Critical Sony Corp
Priority to CN201680060530.2A priority Critical patent/CN108348630B/zh
Priority to US15/768,703 priority patent/US10994043B2/en
Priority to EP16857147.9A priority patent/EP3366316A4/en
Publication of WO2017068829A1 publication Critical patent/WO2017068829A1/ja
Anticipated expiration legal-status Critical
Ceased legal-status Critical Current

Links

Images

Classifications

    • AHUMAN NECESSITIES
    • A61MEDICAL OR VETERINARY SCIENCE; HYGIENE
    • A61LMETHODS OR APPARATUS FOR STERILISING MATERIALS OR OBJECTS IN GENERAL; DISINFECTION, STERILISATION OR DEODORISATION OF AIR; CHEMICAL ASPECTS OF BANDAGES, DRESSINGS, ABSORBENT PADS OR SURGICAL ARTICLES; MATERIALS FOR BANDAGES, DRESSINGS, ABSORBENT PADS OR SURGICAL ARTICLES
    • A61L9/00Disinfection, sterilisation or deodorisation of air
    • A61L9/015Disinfection, sterilisation or deodorisation of air using gaseous or vaporous substances, e.g. ozone
    • A61L9/04Disinfection, sterilisation or deodorisation of air using gaseous or vaporous substances, e.g. ozone using substances evaporated in the air without heating
    • A61L9/12Apparatus, e.g. holders, therefor
    • A61L9/125Apparatus, e.g. holders, therefor emanating multiple odours
    • AHUMAN NECESSITIES
    • A61MEDICAL OR VETERINARY SCIENCE; HYGIENE
    • A61LMETHODS OR APPARATUS FOR STERILISING MATERIALS OR OBJECTS IN GENERAL; DISINFECTION, STERILISATION OR DEODORISATION OF AIR; CHEMICAL ASPECTS OF BANDAGES, DRESSINGS, ABSORBENT PADS OR SURGICAL ARTICLES; MATERIALS FOR BANDAGES, DRESSINGS, ABSORBENT PADS OR SURGICAL ARTICLES
    • A61L9/00Disinfection, sterilisation or deodorisation of air
    • A61L9/015Disinfection, sterilisation or deodorisation of air using gaseous or vaporous substances, e.g. ozone
    • A61L9/04Disinfection, sterilisation or deodorisation of air using gaseous or vaporous substances, e.g. ozone using substances evaporated in the air without heating
    • A61L9/12Apparatus, e.g. holders, therefor
    • AHUMAN NECESSITIES
    • A61MEDICAL OR VETERINARY SCIENCE; HYGIENE
    • A61LMETHODS OR APPARATUS FOR STERILISING MATERIALS OR OBJECTS IN GENERAL; DISINFECTION, STERILISATION OR DEODORISATION OF AIR; CHEMICAL ASPECTS OF BANDAGES, DRESSINGS, ABSORBENT PADS OR SURGICAL ARTICLES; MATERIALS FOR BANDAGES, DRESSINGS, ABSORBENT PADS OR SURGICAL ARTICLES
    • A61L2209/00Aspects relating to disinfection, sterilisation or deodorisation of air
    • A61L2209/10Apparatus features
    • A61L2209/13Dispensing or storing means for active compounds
    • A61L2209/134Distributing means, e.g. baffles, valves, manifolds, nozzles

Definitions

  • the present disclosure relates to a scent providing device.
  • a technique related to a scent providing device having a plurality of spaces for holding a flavor respectively has been proposed.
  • a scent providing device for example, a plurality of spaces can be provided with a plurality of scents by holding different kinds of perfumes.
  • Patent Document 1 discloses an olfactory display that presents a scent in a temporally and spatially limited range in order to miniaturize the device itself, and a case having an injection port, an internal space of the case Are provided in each of a plurality of aroma chambers formed by dividing the wall with a partition wall, a solid aroma source housed in at least one of the aroma chambers, and the aroma chamber, and using a diaphragm having a piezoelectric element in the aroma chamber
  • a plurality of wind power sources for feeding air, and a plurality of aroma passages extending from each of the aroma chambers toward the jet outlet, and the plurality of aroma passages are merged at a position near the jet outlet to form one shared passage
  • An olfactory display is disclosed having a Venturi tube structure at the junction.
  • the present disclosure proposes a new and improved scent providing device that can miniaturize the device.
  • the fragrance holding member provided with the plurality of holding passages for holding the fragrances penetrating therethrough, and the holding passage of a part of the plurality of holding passages communicate with the part of the holding passages
  • Rotation mechanism capable of relatively rotating so that the part holding passage communicating with the introduction port switches between a member provided with an introduction port for introducing air supplied from a wind power source and the fragrance holding member
  • a scent providing device comprising the above.
  • the device can be miniaturized.
  • FIG. 1 It is a perspective view showing an example of a fragrance providing device concerning an embodiment of this indication. It is a cross-sectional perspective view which shows an example of the fragrance provision apparatus which concerns on the embodiment. It is a disassembled perspective view which shows an example of the fragrance provision apparatus which concerns on the embodiment. It is a system block diagram which shows an example of the fragrance provision apparatus which concerns on the embodiment. It is a system block diagram which shows an example of the fragrance provision apparatus which concerns on other embodiment. It is explanatory drawing which shows an example of a structure of the fragrance
  • FIG. 7 is a cross-sectional view showing an example of a cross section B1-B1 shown in FIG. 6; It is explanatory drawing which shows an example of a structure of the fragrance
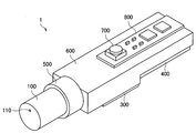
  • FIG. 1 is a perspective view showing an example of a scent providing device 1 according to the present embodiment.
  • FIG. 2 is a cross-sectional perspective view showing an example of the aroma providing device 1 according to the present embodiment.
  • FIG. 3 is an exploded perspective view showing an example of the scent providing device 1 according to the present embodiment.
  • the tip side the side on which the discharge port 110 of the lid 100 is disposed in the scent providing device 1 will be referred to as the tip side.
  • the aroma providing device 1 includes a lid 100, a fragrance holding member 200, an air pump 300, a battery 400, a rotation mechanism 500, a chassis 600, and a switch. And 700 and a substrate 800.
  • the lid 100 is a member for separating the fragrance holding member 200 from the outside.
  • the lid 100 has, for example, a cylindrical shape that is open at the rear end side, as shown in FIGS. 1 to 3.
  • a discharge port 110 is provided on the front end side of the lid 100 for discharging the air containing the vaporized fragrance sent from the fragrance holding member 200.
  • the discharge port 110 is provided so as to communicate with the tip of the holding passage 210 to which air is supplied among the plurality of holding passages 210 provided in the fragrance holding member 200.
  • the inner diameter of the discharge port 110 may be larger than the inner diameter of the holding passage 210.
  • the fragrance holding member 200 is a member holding a fragrance.
  • the fragrance holding member 200 has, for example, a hollow cylindrical shape as shown in FIGS. 2 and 3.
  • the fragrance holding member 200 is provided with a plurality of holding passages 210 for holding the fragrance, respectively.
  • the fragrance is held, for example, in a state of being attached to the inner surface of the holding passage 210.
  • the flavor may be, for example, an essential oil or an essential oil diluted with ethanol.
  • the plurality of holding passages 210 are provided at equal intervals on the circumference around the central axis of the fragrance holding member 200, and are provided linearly from the rear end side to the front end side. Air supplied from the air pump 300 is sent to some of the holding passages 210 among the plurality of holding passages 210. Thereby, the flow of air from the rear end side to the front end side of the holding passage 210 is generated. Then, the vaporized component of the fragrance held in the holding passage 210 is discharged from the discharge port 110 of the lid 100. In FIG.
  • the flow passage 610 of the chassis 600 is shown as a flow passage of air between the air pump 300 and the holding passage 210, but another flow is provided between the flow passage 610 of the chassis 600 and the holding passage 210. There may be a way. The details of the air flow path between the air pump 300 and the holding passage 210 will be described later.
  • the holding passage 210 for example, resin such as acrylic resin, urethane resin, ABS resin, PEEK (polyether ether ketone), POM (polyacetal), silicon resin, fluorine resin, olefin polymer resin or polyimide resin, stainless steel Etc., or glass.
  • resin such as acrylic resin, urethane resin, ABS resin, PEEK (polyether ether ketone), POM (polyacetal), silicon resin, fluorine resin, olefin polymer resin or polyimide resin, stainless steel Etc., or glass.
  • the material constituting the holding passage 210 can be selected in consideration of chemical resistance, weather resistance, strength and the like.
  • the inner diameter of the holding passage 210 may be set to a value smaller than 1 mm, as an example.
  • the holding passage 210 which is a microchannel having such a minute inner diameter, can be manufactured by the additive manufacturing method using, for example, a 3D printer.
  • the inner diameter of the holding passage 210 is smaller, the generation of turbulent fluid flow in the holding passage 210 is more easily suppressed, and the fluid flow is likely to be laminar.
  • the flow velocity of air in the holding passage 210 is faster as the inner diameter of the holding passage 210 is smaller. Therefore, in the fragrance providing apparatus 1 according to the present embodiment, the straightness of air containing the vaporized component of the perfume discharged from the discharge port 110 is improved. Therefore, by discharging the air containing the vaporized component of the fragrance to the user of the scent providing device 1, the user can receive provision of the scent without affecting the surroundings of the user.
  • the smaller the inner diameter of the holding passage 210 the larger the ratio of the region where the fragrance is held to the region through which the air passes in the cross section in the holding passage 210. Therefore, the ratio of the fragrance contained in the air which passes through the inside of the holding passage 210 and is discharged from the discharge port 110 is increased. Thereby, it is possible to more reliably provide the user with a scent.
  • the inner diameter of the holding passage 210 the overall size of the device can be reduced, so the weight of the entire device can be reduced. Therefore, carrying of the aroma providing device 1 can be facilitated.
  • the air pump 300 is an example of a wind power source according to the present disclosure.
  • the air pump 300 supplies air to a part of the holding passages 210 among the plurality of holding passages 210 via, for example, the flow passage 610 and the other flow passages not shown.
  • the air pump 300 is electrically connected to the battery 400 via the substrate 800, for example, and is driven by the power supplied from the battery 400.
  • the air pump 300 includes a diaphragm to which a piezoelectric element is attached, and performs air flow by deforming the diaphragm by applying an alternating current to the piezoelectric element.
  • the form of ventilation of the air pump 300 is not limited to the example which concerns, For example, a fin type or a cylinder type etc. may be sufficient.
  • the air pump 300 may be a manual type, in which case the battery 400, the switch 700 and the substrate 800 may be omitted from the configuration of the scent providing device 1.
  • Battery 400 stores power for operating air pump 300.
  • Battery 400 may be a primary battery capable of only discharging, or may be a secondary battery capable of charging.
  • the rotation mechanism 500 is in communication with a part of the holding passages 210 among the plurality of holding passages 210, and is provided with an inlet for introducing the air supplied from the air pump 300 to the part holding passages 210 and a fragrance holding member And 200 are relatively rotatable such that a part of the holding passage 210 communicating with the introduction port is switched. Since the rotation mechanism 500 shown in FIGS. 1 to 3 is a conceptual view, details of the rotation mechanism 500 will be described later.
  • chassis 600 an air pump 300, a battery 400, a rotation mechanism 500, and a substrate 800 are provided.
  • the chassis 600 may be provided with a wire for electrically connecting the components, as needed.
  • the switch 700 is provided on the substrate 800 to switch the driving state of the air pump 300.
  • the substrate 800 is electrically connected to the battery 400. For example, when the switch 700 is pressed by the user, a drive circuit for driving the air pump 300 mounted on the substrate 800 is energized. Thereby, the driving state of the air pump 300 is switched according to the pressing state of the switch 700 by the user.
  • FIG. 4 is a system block diagram showing an example of the aroma providing device 1 according to the present embodiment.
  • the battery 400 and the substrate 800 are electrically connected.
  • the drive circuit for driving the air pump 300 mounted on the substrate 800 is energized, and the air pump 300 is driven.
  • the air pump 300 starts blowing air, and the air supplied from the air pump 300 is sent to the holding passage 210 of the fragrance holding member 200.
  • the vaporized component of the fragrance held in the holding passage 210 of the fragrance holding member 200 is discharged from the discharge port 110 of the lid 100 to the outside.
  • the switching by the rotation mechanism 500 of the holding passage 210 into which air is introduced among the plurality of holding passages 210 of the fragrance holding member 200 is performed manually.
  • the fragrance providing device 1 in which switching by the rotation mechanism 500 of the holding passage 210 into which air is introduced is performed manually is mainly described.
  • the rotation mechanism 500 may be driven by a motor.
  • the motor 310 for driving the rotation mechanism 500, and the switch 710 for switching the energization to the drive circuit for driving the motor 310 mounted on the substrate 800 Is provided.
  • the scent providing device 1a for example, as shown in FIG. 5, when the switch 710 is pressed, the drive circuit for driving the motor 310 mounted on the substrate 800 is energized, and the motor 310 is operated. Is driven.
  • the rotation mechanism 500 is driven by the motor 310, and switching of the holding passage 210 into which air is introduced among the plurality of holding passages 210 of the fragrance holding member 200 is switched by the rotation mechanism 500.
  • FIG. 6 shows a cross-sectional view in a cross section through the holding passage 210a through which the air supplied from the air pump 300 is sent
  • FIG. 7 shows a cross-sectional view in a cross section through the holding passage 210b through which the air supplied from the air pump 300 is not sent.
  • FIG. 8 is a cross-sectional view showing an example of the cross section B1-B1 shown in FIG.
  • the rotation mechanism 501 according to the first example includes a rotation transmission unit 510 and an air introduction unit 520.
  • the rotation of the rotation transmission unit 510 is configured to be transmitted to the fragrance holding member 200.
  • the fragrance holding member 200 and the rotation transmission unit 510 are rotatable with respect to the air introduction unit 520.
  • the details of the rotation mechanism 501 will be described.
  • Air introducing portion 520 includes a large diameter portion 522 located on the rear end side, and a small diameter portion 524 provided at the center on the tip side of large diameter portion 522 and projecting in the tip direction.
  • the large diameter portion 522 and the small diameter portion 524 each have, for example, a substantially cylindrical shape.
  • the large diameter portion 522 is provided with a flow passage 522 a for guiding the air supplied from the air pump 300 to the holding passage 210 a.
  • the rear end of the flow channel 522a communicates with the tip of the flow channel 610 of the chassis 600 shown in FIG. Thereby, the air supplied from the air pump 300 is sent to the flow path 522 a via the flow path 610.
  • an introduction port 522b which communicates with the holding passage 210a and introduces the air supplied from the air pump 300 to the holding passage 210a is provided.
  • the inlet 522b may communicate with the holding passage 210a through another flow passage, for example, as shown in FIG. 6, it communicates with the holding passage 210a through the flow passage 514b provided in the rotation transmitting unit 510. You may
  • Rotation transmitting portion 510 is provided on a cylindrical portion 512 for holding the outer peripheral portion on the rear end side of fragrance holding member 200 and on the inner peripheral side of the rear end of cylindrical portion 512 to hold the rear end portion of fragrance holding member 200 And a bottom portion 514.
  • the fragrance holding member 200 is fitted to the inner circumferential portion of the cylindrical portion 512.
  • the shape of the cylindrical portion 512 is not particularly limited as long as it can be fitted to the fragrance holding member 200.
  • the axial movement of the fragrance holding member 200 with respect to the rotation transmitting portion 510 is restrained by, for example, light press-fitting into the cylindrical portion 512 of the fragrance holding member 200.
  • a mechanism may be applied to urge the outer peripheral portion of the cylindrical portion 512 to the inner peripheral portion side in order to more reliably restrain the movement of the fragrance holding member 200 in the axial direction with respect to the rotation transmitting portion 510.
  • the front end of the bottom portion 514 faces the rear end of the fragrance holding member 200, and the rear end of the bottom portion 514 faces the step between the large diameter portion 522 and the small diameter portion 524 of the air introduction portion 520.
  • An opening 514a may be provided at the center of the bottom 514 so as to communicate with the inner circumference of the fragrance holding member 200.
  • the opening 514a of the bottom 514 and the inner circumference of the fragrance holding member 200 may be The small diameter portion 524 may be inserted.
  • the small diameter portion 524 is used, for example, as a guide for facilitating the assembly of the fragrance holding member 200 and the rotation mechanism 501. Therefore, the small diameter portion 524 may be omitted from the configuration of the rotation mechanism 501.
  • the small diameter portion 524 When the small diameter portion 524 functions as a guide, the small diameter portion 524 has a shape such as a polygonal column or an elliptic cylinder, as long as it can be rotated relative to the fragrance holding member 200 and the rotation transmitting portion 510. May be
  • the bottom portion 514 is provided with a flow path 514b penetrating therethrough, which respectively communicates with the holding passages 210 of the fragrance holding member 200.
  • the inner peripheral portion of the cylindrical portion 512 is provided with a locking projection 512 a that protrudes inward.
  • the locking convex portion 512 a is extended, for example, along the axial direction of the cylindrical portion 512. As shown in FIG. 6 and FIG. 8, the locking convex portion 512 a is fitted in the locking groove 230 extended along the axial direction of the fragrance holding member 200 at the outer peripheral portion of the fragrance holding member 200.
  • the rotation of the rotation transmission unit 510 is transmitted to the fragrance holding member 200. Therefore, by rotating the rotation transmission unit 510, the fragrance holding member 200 can be rotated relative to the introduction port 522b.
  • a locking groove may be provided on the cylindrical portion 512 side, and a locking protrusion may be provided on the fragrance holding member 200 side.
  • the locking convex portion 512 a of the cylindrical portion 512 and the locking groove 230 of the fragrance holding member 200 are an example of a mechanism having a function of transmitting the rotation of the rotation transmitting portion 510 to the fragrance holding member 200.
  • the mechanism of is not limited to such an example.
  • the function may be realized by lightly pressing the fragrance holding member 200 into the cylindrical portion 512, in which case the locking convex portion 512a and the lock are obtained from the configuration of the rotation mechanism 501 and the fragrance holding member 200.
  • the groove 230 may be omitted.
  • the function corresponds to the cross-sectional shape of the fragrance holding member 200 being a shape other than a circle such as a polygon or an ellipse
  • the shape of the portion of the cylindrical portion 512 to be fitted with the fragrance holding member 200 corresponds to the fragrance holding member 200 It may be realized by preventing relative rotation between the fragrance holding member 200 and the cylindrical portion 512 by setting the shape as follows.
  • annular convex portion 518 is provided to protrude so as to cover the outer peripheral portion on the tip end side of the large diameter portion 522 of the air introducing portion 520.
  • the outer peripheral portion on the tip end side of the large diameter portion 522 is fitted to the inner peripheral portion of the annular convex portion 518.
  • the annular convex portion 518 functions as a guide for the rotation of the rotation transmitting portion 510 with respect to the air introducing portion 520.
  • a protrusion 518a protruding inward is provided on a part of the inner peripheral portion of the annular protrusion 518, and the protrusion 518a is engaged with an annular groove 522f formed along the outer periphery of the large diameter portion 522 .
  • the rotation axes of rotation of the fragrance holding member 200 and the rotation transmission unit 510 substantially coincide with the central axes of the fragrance holding member 200, the rotation transmission unit 510, and the air introduction unit 520.
  • the fragrance holding member 200, the cylindrical portion 512 of the rotation transmitting portion 510, and the large diameter portion 522 of the air introducing portion 520 have a cylindrical shape or a cylindrical shape of a central axis substantially coinciding with one another, the members can move The range can be reduced.
  • the shapes of the fragrance holding member 200, the cylindrical portion 512 of the rotation transmitting portion 510, and the large diameter portion 522 of the air introducing portion 520 are not particularly limited.
  • the function as a guide for the rotation of the rotation transmitting portion 510 with respect to the air introducing portion 520 is realized by the opening portion 514a of the bottom portion 514 and the small diameter portion 524 of the air introducing portion 520 inserted inside the inner peripheral portion of the fragrance holding member 200. May be In that case, the small diameter portion 524 may be fitted to the opening 514a of the bottom portion 514 and the inner peripheral portion of the fragrance holding member 200, and the annular convex portion 518 may be omitted from the configuration of the rotation mechanism 501.
  • the rotation mechanism 501 enables rotation of the rotation transmitting unit 510 with respect to the air introduction unit 520, and the introduction port 522b of the fragrance holding member 200 is switched so that the holding passage 210 communicating with the introduction port 522b is switched. It is rotatable with respect to the air introduction part 520 which is a member provided.
  • the plurality of holding passages 210 of the fragrance holding member 200 are provided, for example, on the circumference around the rotation axis of relative rotation between the air introducing unit 520 and the fragrance holding member 200 by the rotation mechanism 501.
  • the plurality of holding passages 210 of the fragrance holding member 200 are provided on the circumference around the central axis of the fragrance holding member 200.
  • the fragrance holding member 200 rotates around the central axis of the fragrance holding member 200. Therefore, by rotating the fragrance holding member 200 with respect to the air introduction portion 520, the holding passage 210 communicating with the introduction port 522b can be switched.
  • the scent provided by the aroma providing device 1 may be switched by switching the holding passages 210 communicating with the inlet 522b. it can.
  • the holding passages 210 may hold the same kind of perfume. For example, by keeping more frequent use perfumes in more holding passages 210, the duration time of each perfume can be set appropriately according to the use frequency of each perfume.
  • the supply of air to each of the plurality of spaces holding the perfume can be realized by one wind power source.
  • the device In the case of increasing the number, it is possible to suppress the increase in size of the device accompanying the increase in the number of wind power sources. Therefore, the device can be miniaturized.
  • the lid 100 When the lid 100 is fixed to the fragrance holding member 200, the lid 100 rotates with the rotation of the fragrance holding member 200.
  • the lid 100 is provided with the same number of discharge ports 110 as the holding passages 210, and each discharge port 110 is provided to communicate with the tip of each holding passage 210.
  • the lid 100 when the lid 100 is fixed to the rotation transmission unit 510, the fragrance holding member 200 rotates with respect to the lid 100.
  • the lid 100 is provided with one discharge port 110, and the one discharge port 110 is provided in communication with the holding passage 210a in communication with the tip of the introduction port 522b.
  • the fragrance holding member 200 has a cylindrical shape in which the central axis and the rotation axis of the relative rotation between the air introducing portion 520 and the fragrance holding member 200 substantially coincide with each other. As a result, the movable range of the member at the time of switching of the holding passage 210 communicating with the introduction port 522b can be reduced, so that the device can be further miniaturized.
  • the rotation mechanism 500 includes a positioning mechanism that defines a rotational angle of relative rotation between the air introduction portion 520 and the fragrance holding member 200 such that the introduction port 522 b communicates with the holding passage 210.
  • the positioning mechanism includes a locking member for locking the air introducing portion 520 or the fragrance holding member 200 and a biasing member for biasing the locking member.
  • the steel ball 522c illustrated in FIG. 7 is an example of a locking member that locks the fragrance holding member 200 via the rotation transmission unit 510, and the spring 522d is an example of a biasing member.
  • a recess 516 is provided in a portion of the rear end surface of the rotation transmitting portion 510 that faces the step between the large diameter portion 522 and the small diameter portion 524 of the air introduction portion 520.
  • a steel ball 522c and a spring 522d are provided at the step between the large diameter portion 522 and the small diameter portion 524 of the air introduction portion 520.
  • the spring 522d is accommodated in a hole 522e bored in the axial direction of the air introducing portion 520 formed in the step between the large diameter portion 522 and the small diameter portion 524, and a steel ball 522c is provided on the tip end side of the spring 522d.
  • the number of depressions 516 is equal to the number of pairs of springs 522 d and steel balls 522 c for each holding passage 210.
  • the arrangement of the depressions 516 is set in accordance with the circumferential position of the fragrance holding member 200 of each holding passage 210.
  • the arrangement of the recess 516 in the rear end surface of the rotation transmission portion 510 is set such that any recess 516 is positioned on the tip side of the steel ball 522c in a state where the introduction port 522b communicates with the holding passage 210a. Be done. Therefore, when the introduction port 522b communicates with any of the plurality of holding passages 210, the steel ball 522c is pressed against the recess 516 by the biasing force of the spring 522d, whereby the rotation transmitting portion 510 is against the air introducing portion 520. It is positioned. Thus, switching of the holding passage 210 communicating with the introduction port 522b can be performed more easily.
  • the introduction port 522b does not communicate with any one of the plurality of holding passages 210
  • the direction in which the locking member is biased may be a direction intersecting the rotational axis of relative rotation between the air introducing portion 520 and the fragrance holding member 200.
  • the function of the positioning mechanism can be realized by providing the locking member and the biasing member on the outer peripheral side of the rotation transmitting unit 510 and biasing the locking member in the radial direction of the rotation transmitting unit 510. In that case, for example, a recess may be provided on the outer peripheral portion of the rotation transmission unit 510.
  • FIG.9 and FIG.10 is explanatory drawing which shows an example of a structure of the fragrance
  • FIG. 9 is an explanatory view in which the description of the lid 100 a is omitted
  • FIG. 10 is an explanatory view including the description of the lid 100 a.
  • the rotation mechanism 502 according to the second example includes an air introduction portion 560, a positioning portion 570, and a housing 580.
  • the air introduction unit 560 is rotatable with respect to the fragrance holding member 200.
  • the details of such a rotation mechanism 502 will be described.
  • Air introducing portion 560 includes a large diameter portion 562 located on the rear end side, and a small diameter portion 564 which is a projecting portion provided at the center on the tip side of large diameter portion 562 and projecting in the tip direction.
  • the large diameter portion 562 and the small diameter portion 564 each have, for example, a substantially cylindrical shape.
  • the large diameter portion 522 is provided with a flow passage 562 a for guiding the air supplied from the air pump 300 to the holding passage 210 a.
  • the rear end portion of the flow path 562 a communicates with the flow path 572 provided in the positioning portion 570. Further, the rear end portion of the flow path 572 provided in the positioning portion 570 communicates with the front end portion of the flow path 610 of the chassis 600.
  • the air supplied from the air pump 300 is sent to the flow path 562 a via the flow path 610 and the flow path 572.
  • An inlet port 562 b communicating with the holding passage 210 a and introducing the air supplied from the air pump 300 to the holding passage 210 a is provided at the tip of the flow path 562 a.
  • the inlet 562b may communicate with the holding passage 210a via another flow path.
  • the chassis 600 is formed with a recess having a shape corresponding to the flange portion 562c, and the flange portion 562c is supported by the recess of the chassis 600, whereby movement of the air introduction portion 560 in the translational direction is restrained.
  • the recess may function as a guide for the rotation of the air introduction unit 560 with respect to the chassis 600.
  • the air introduction unit 560 can rotate with respect to the chassis 600.
  • the small diameter portion 564 is inserted inside the inner peripheral portion of the fragrance holding member 200 and extends in the axial direction of the fragrance holding member 200.
  • a protrusion 120 which protrudes in the rear end direction from the rear end surface of the lid 100a separating the fragrance holding member 200 from the outside is inserted.
  • a recessed portion 564a is provided.
  • the function of guiding the rotation of the air introduction portion 560 with respect to the chassis 600 may be realized by the small diameter portion 564 of the air introduction portion 560 inserted inside the inner peripheral portion of the fragrance holding member 200. In that case, the small diameter portion 564 is fitted to the inner circumferential portion of the fragrance holding member 200.
  • the housing 580 is a member that accommodates a member other than a part of the fragrance holding member 200 among the other members constituting the fragrance providing device, and the chassis 600 is fixed to the inside of the housing 580.
  • the rear end of the lid 100 a is connected to the front end of the housing 580.
  • the lid 100 a and the housing 580 accommodate other members constituting the aroma providing device.
  • the lid 100 a is configured to be rotatable with respect to the housing 580.
  • a locking convex portion 582 which protrudes inward is provided on the inner peripheral portion of the tip end portion of the housing 580.
  • the locking convex portion 582 is extended, for example, along the axial direction of the fragrance holding member 200.
  • the locking convex portion 582 is fitted in a locking groove 230 extending along the axial direction of the flavor holding member 200 on the outer peripheral portion of the flavor holding member 200. Accordingly, when the air introduction unit 560 is rotated, the fragrance holding member 200 can be prevented from rotating, and the air introduction unit 560 can be rotated relative to the fragrance holding member 200. Therefore, the inlet 562b of the air inlet 560 can be rotated relative to the fragrance holding member 200.
  • a locking groove may be provided on the housing 580 side, and a locking projection may be provided on the fragrance holding member 200 side.
  • the locking convex portion 582 of the housing 580 and the locking groove 230 of the fragrance holding member 200 are an example of a mechanism having a function of preventing the rotation of the fragrance holding member 200 when the air introduction portion 560 is rotated.
  • the mechanism for realizing the function is not limited to the example.
  • the function may be realized by lightly pressing the fragrance holding member 200 into the housing 580, and in this case, from the configuration of the rotation mechanism 502 and the fragrance holding member 200, the locking convex portion 582 and the locking The groove 230 may be omitted.
  • the function corresponds to the cross-sectional shape of the fragrance holding member 200 being a shape other than a circle such as a polygon or an ellipse, and the shape of the portion of the housing 580 fitted with the fragrance holding member 200 corresponds to the fragrance holding member 200. It may be realized by preventing relative rotation between the fragrance holding member 200 and the housing 580 by forming the shape as follows.
  • the rotation axis of rotation of the air introduction unit 560 substantially coincides with the central axes of the fragrance holding member 200 and the air introduction unit 560.
  • the movable range of the member in rotation by the rotation mechanism 502 is reduced by having the cylindrical shape or the cylindrical shape of the central axis where the fragrance holding member 200, the small diameter portion 564 and the large diameter portion 562 of the air introduction portion 560 substantially coincide with each other.
  • the shapes of the fragrance holding member 200, the small diameter portion 564 and the large diameter portion 562 of the air introduction portion 560 are not particularly limited.
  • the rotation mechanism 502 is a member provided with an introduction port 562 b so that the air introduction unit 560 can rotate with respect to the fragrance holding member 200 and the holding passage 210 communicating with the introduction port 562 b is switched.
  • the air introduction unit 560 can be rotated relative to the fragrance holding member 200.
  • the plurality of holding passages 210 of the fragrance holding member 200 are provided, for example, on the circumference around the rotation axis of relative rotation between the air introducing portion 560 and the fragrance holding member 200 by the rotation mechanism 502.
  • the plurality of holding passages 210 of the fragrance holding member 200 are provided on the circumference around the central axis of the fragrance holding member 200.
  • the air introduction unit 560 rotates around the central axis of the fragrance holding member 200.
  • the holding passage 210 communicating with the introduction port 562b can be switched.
  • the holding passages 210 may hold the same kind of perfume.
  • the positioning portion 570 has a function as a positioning mechanism that defines a rotational angle of relative rotation between the air introduction portion 560 and the fragrance holding member 200 so that the introduction port 562 b communicates with the holding passage 210.
  • the function as the positioning mechanism is realized by the locking member that locks the air introduction portion 560 or the fragrance holding member 200 and the biasing member that biases the locking member.
  • the steel ball 576 shown in FIGS. 9 and 10 is an example of a locking member for locking the air introducing portion 560, and the spring 574 is an example of a biasing member.
  • a recess 562d is provided on the rear end surface of the air introduction portion 560.
  • a steel ball 576 and a spring 574 are provided on the front end surface of the positioning portion 570.
  • the spring 574 is accommodated in an axially bored hole 578 of the air introduction portion 560, and a steel ball 576 is provided on the distal end side of the spring 574.
  • One pair of spring 574 and steel ball 576 is provided, for example, as shown in FIGS. 9 and 10.
  • the number of pairs may be two or more other numbers.
  • the number of recesses 562 d is equal to the number of pairs of springs 574 and steel balls 576 for each holding passage 210.
  • the arrangement of the depressions 562 d is set according to the circumferential position of the fragrance holding member 200 of each holding passage 210.
  • the arrangement of the recess 562d in the rear end face of the air introduction portion 560 is set such that any recess 562d is positioned on the tip end side of the steel ball 576 in a state where the introduction port 562b communicates with the holding passage 210a. Be done. Therefore, when the introduction port 562b communicates with any of the plurality of holding passages 210, the steel ball 576 is pressed against the recess 562d by the biasing force of the spring 574, whereby the air introduction portion 560 is positioned relative to the positioning portion 570. Be done.
  • the positioning unit 570 is fixed to the chassis 600.
  • the fragrance holding member 200 is fixed to the chassis 600 via the housing 580. Therefore, the air introduction unit 560 is positioned relative to the fragrance holding member 200 by the function of the positioning unit 570 as a positioning mechanism. Thus, switching of the holding passage 210 in communication with the introduction port 562b can be performed more easily.
  • the direction in which the locking member is biased may be a direction intersecting the rotational axis of relative rotation between the air introduction portion 560 and the fragrance holding member 200.
  • the locking member and the biasing member are provided on the outer peripheral side of the air introducing portion 560, and the locking member is biased in the radial direction of the air introducing portion 560, whereby the function of the positioning mechanism can be realized.
  • a recess may be provided on the outer peripheral portion of the air introduction portion 560.
  • the positioning portion 570 is provided with a flow path 572 whose rear end communicates with the front end of the flow path 610 of the chassis 600 and whose front end communicates with the flow path 562 a of the air introduction portion 560.
  • Air supplied from the air pump 300 is sent from the flow passage 610 of the chassis 600 to the flow passage 562 a of the air introduction unit 560 via the positioning unit 570 flow passage 572.
  • FIG. 11 is an explanatory view showing an example of the configuration of a label 260 according to the first modification.
  • the type of the fragrance held in each of the plurality of holding passages 210 is displayed.
  • a label 260 for indicating the type of the fragrance held in each holding passage 210 is provided on the outer peripheral surface of the fragrance holding member 200.
  • the label 260 describes the type of perfume held by each holding passage 210 at a position substantially corresponding to the circumferential position where the holding passage 210 is provided in the fragrance holding member 200.
  • FIG.12 and FIG.13 is explanatory drawing which shows an example of a structure of the fragrance
  • FIG. 12 shows a state before the fragrance holding member 200 is covered by the lid 100b
  • FIG. 13 shows a state after the fragrance holding member 200 is covered by the lid 100b.
  • An opening 130 is provided on the outer periphery of the lid 100 b according to the first modification.
  • the lid 100 b is an example of a cover member according to the present disclosure. As shown in FIG.
  • the lid 100 b in the state after the fragrance holding member 200 is covered by the lid 100 b, the lid is provided so that the type of the fragrance described in the label 260 can be visually recognized from the outside through the opening 130.
  • the position and size of the opening 130 at 100b are set.
  • the shape of the outer shape of the lid 100b may be a rectangular parallelepiped as shown in FIGS. 12 and 13, but it is not particularly limited.
  • the rotation mechanism 501 can relatively rotate the lid 100 b and the fragrance holding member 200. Specifically, in the first modification, the rotation mechanism 501 can rotate the fragrance holding member 200 with respect to the lid 100 b. On the outer peripheral surface of the fragrance holding member 200, the type of the fragrance held in the holding passage 210 communicating with the introduction port 522b is displayed at a position facing the opening 130. As a result, since it is possible to visually recognize the type of perfume held in the holding passage 210 communicating with the introduction port 522b through the opening 130, any of the plurality of perfumes is provided by the scent providing device. It becomes possible to easily recognize whether it is selected as a flavor corresponding to the scent. In the first modification, the rotation mechanism 502 according to the second example described above can also be applied as the rotation mechanism.
  • FIG. 14 is an explanatory view showing an example of the configuration of a fragrance providing apparatus 1b according to a second modification.
  • the opening 130 is provided in the outer peripheral portion of the lid 100c in the scent providing device 1b according to the second modification.
  • the rotation mechanism 502 can rotate the lid 100 c relative to the fragrance holding member 200.
  • the fragrance retained in the retention passage 210 communicating with the inlet port 562b at a position facing the opening 130. The type of is displayed.
  • the second modification also provides the same effect as that of the first modification.
  • a button 584 for pressing the switch 700 may be provided on the outer peripheral portion of the housing 580. When the button 584 is pressed, the switch 700 is pressed.
  • the rotation mechanism 500 communicates with a part of the holding passages 210 among the plurality of holding passages 210 and is supplied to the part of the holding passages 210 from the air pump 300.
  • the fragrance holding member 200 and the member provided with the introduction port for introducing the air can be relatively rotated so that a part of the holding passages 210 communicating with the introduction port is switched.
  • the supply of air to each of the plurality of spaces holding the perfume can be realized by one wind power source. Therefore, the enlargement of the apparatus accompanying the increase in the number of wind power sources in the case of increasing the number of the space can be suppressed. Therefore, the device can be miniaturized.
  • the inlet may be in communication with two or more holding passages 210 simultaneously.
  • the rear end portion of the holding passage 210 communicating with the introduction port is provided on the rear end surface of the fragrance holding member 200
  • the technical scope of the present disclosure is not limited to such an example.
  • the rear end portion of the holding passage 210 may be formed on the outer peripheral surface of the fragrance holding member 200.
  • the flow path of air between the air pump 300 and the holding passage 210 is set to correspond to the arrangement of the rear end portion of the holding passage 210.
  • the tip of the holding passage 210 communicating with the discharge port 110 of the lid 100 is provided on the tip surface of the fragrance holding member 200
  • the technical scope of the present disclosure is not limited to such an example.
  • the tip of the holding passage 210 may be formed on the outer peripheral surface of the fragrance holding member 200.
  • the arrangement of the discharge ports 110 of the lid 100 is set to correspond to the arrangement of the tip end of the holding passage 210.
  • a fragrance holding member provided with a plurality of holding passages penetrating respectively for holding the fragrance;
  • a member in communication with the holding passage of a part of the plurality of holding passages and provided with an introduction port for introducing air supplied from a wind power source to the part holding passage;
  • a rotation mechanism that is relatively rotatable so that the part of the holding passages in communication with the introduction port is switched;
  • Scent providing device comprising: (2) The fragrance providing device according to (1), wherein the plurality of holding passages are provided on a circumference around a rotation axis of relative rotation between a member provided with the introduction port and the fragrance holding member.
  • Aroma providing device. (4) The fragrance providing device according to any one of (1) to (3), wherein the rotation mechanism is capable of rotating the fragrance holding member with respect to a member provided with the introduction port. (5) The rotation mechanism includes a rotation transmission unit that holds the fragrance holding member and a mechanism that transmits the rotation of the rotation transmission unit to the fragrance holding member, and the fragrance holding member and the rotation transmission unit are provided with the introduction port.
  • the fragrance providing device according to any one of (1) to (3), wherein the rotation mechanism is capable of rotating a member provided with the introduction port with respect to the fragrance holding member.
  • the member provided with the introduction port includes a protrusion penetrating the fragrance holding member, The tip of the protrusion is provided with a recess into which a protrusion provided on a lid for separating the fragrance holding member from the outside is inserted.
  • the aroma providing device according to (6).
  • the rotation mechanism includes a positioning mechanism that defines a rotational angle of relative rotation between a member provided with the introduction port and the fragrance holding member such that the introduction port communicates with the partial holding passage.
  • the fragrance providing device (9) The fragrance providing device according to (8), wherein the positioning mechanism includes a member provided with the introduction port or a locking member for locking the fragrance holding member and a biasing member for biasing the locking member. (10) A cover member covering the fragrance holding member and having an opening at an outer peripheral portion thereof; The rotation mechanism is capable of relatively rotating the cover member and the fragrance holding member, On the outer peripheral surface of the fragrance holding member, the kind of the fragrance held in the partial holding passage communicating with the inlet is displayed at a position facing the opening.
  • the fragrance providing device according to any one of the above (1) to (9).

Landscapes

  • Health & Medical Sciences (AREA)
  • Epidemiology (AREA)
  • Life Sciences & Earth Sciences (AREA)
  • Animal Behavior & Ethology (AREA)
  • General Health & Medical Sciences (AREA)
  • Public Health (AREA)
  • Veterinary Medicine (AREA)
  • Disinfection, Sterilisation Or Deodorisation Of Air (AREA)
PCT/JP2016/071755 2015-10-23 2016-07-25 香り提供装置 Ceased WO2017068829A1 (ja)

Priority Applications (3)

Application Number Priority Date Filing Date Title
CN201680060530.2A CN108348630B (zh) 2015-10-23 2016-07-25 香味提供装置
US15/768,703 US10994043B2 (en) 2015-10-23 2016-07-25 Fragrance providing device
EP16857147.9A EP3366316A4 (en) 2015-10-23 2016-07-25 Odor presentation device

Applications Claiming Priority (2)

Application Number Priority Date Filing Date Title
JP2015-208660 2015-10-23
JP2015208660A JP6728629B2 (ja) 2015-10-23 2015-10-23 香り提供装置

Publications (1)

Publication Number Publication Date
WO2017068829A1 true WO2017068829A1 (ja) 2017-04-27

Family

ID=58556919

Family Applications (1)

Application Number Title Priority Date Filing Date
PCT/JP2016/071755 Ceased WO2017068829A1 (ja) 2015-10-23 2016-07-25 香り提供装置

Country Status (5)

Country Link
US (1) US10994043B2 (enExample)
EP (1) EP3366316A4 (enExample)
JP (1) JP6728629B2 (enExample)
CN (1) CN108348630B (enExample)
WO (1) WO2017068829A1 (enExample)

Cited By (2)

* Cited by examiner, † Cited by third party
Publication number Priority date Publication date Assignee Title
WO2019053989A1 (ja) * 2017-09-15 2019-03-21 ソニー株式会社 香料保持構造体、香料保持構造体の製造方法、及び香り提供装置
US11642431B2 (en) 2017-12-08 2023-05-09 Sony Corporation Information processing apparatus, control method of the same, and recording medium

Families Citing this family (6)

* Cited by examiner, † Cited by third party
Publication number Priority date Publication date Assignee Title
JP7446731B2 (ja) * 2018-08-24 2024-03-11 キヤノン株式会社 流路を有する構造体、およびその製造方法
WO2020039860A1 (ja) * 2018-08-24 2020-02-27 キヤノン株式会社 流路を有する構造体、およびその製造方法
CN109731203B (zh) * 2018-12-12 2022-10-04 浦易(上海)生物技术股份有限公司 手持式气味释放装置
US12226553B2 (en) * 2019-03-06 2025-02-18 Sony Group Corporation Aroma providing device
CN117180485B (zh) * 2020-07-02 2025-11-11 三菱电机楼宇解决方案株式会社 除臭装置
DE102020210313A1 (de) * 2020-08-13 2022-02-17 Mahle International Gmbh Duftstoffbehälter einer Beduftungseinrichtung

Citations (8)

* Cited by examiner, † Cited by third party
Publication number Priority date Publication date Assignee Title
JPS481988U (enExample) * 1971-05-25 1973-01-11
JPH03234262A (ja) * 1990-02-09 1991-10-18 Daikin Ind Ltd 芳香制御装置
JPH04208161A (ja) * 1990-11-30 1992-07-29 Aichi Kasei Kogyo:Yugen 芳香発生装置
JPH04128750U (ja) * 1991-05-20 1992-11-25 美喜雄 椛木 香り発生装置
JPH059552U (ja) * 1991-07-19 1993-02-09 高砂香料工業株式会社 ロータリー式芳香装置
JPH0556017U (ja) * 1991-12-26 1993-07-27 ウェン‐チュン、パイ 定時に香りを選択できる芳香器
JP2002065832A (ja) * 2000-09-01 2002-03-05 Akira Takagi 芳香器
JP2013094436A (ja) * 2011-11-01 2013-05-20 Toppan Printing Co Ltd 香り提供装置

Family Cites Families (8)

* Cited by examiner, † Cited by third party
Publication number Priority date Publication date Assignee Title
JPS63100048U (enExample) * 1986-12-17 1988-06-29
JPH0582442U (ja) * 1992-04-07 1993-11-09 株式会社日立製作所 香りカートリッジ
US5565148A (en) * 1995-03-16 1996-10-15 Minnesota Mining And Manufacturing Company Device for selectively providing a multiplicity of aromas
US8850057B2 (en) 2007-09-20 2014-09-30 Intel Corporation Healthcare semantic interoperability platform
US8899493B2 (en) * 2008-10-14 2014-12-02 Halla Climate Control Corp. Air freshener generator for vehicle air conditioning apparatus
JP5093543B1 (ja) 2012-02-15 2012-12-12 独立行政法人情報通信研究機構 嗅覚ディスプレイ
CN203089984U (zh) 2012-12-20 2013-07-31 上海工商信息学校 一种室内空气清新剂分离盒
DE102014223622A1 (de) 2013-11-20 2015-05-21 MAHLE Behr GmbH & Co. KG Beduftungssystem für ein Kraftfahrzeug

Patent Citations (8)

* Cited by examiner, † Cited by third party
Publication number Priority date Publication date Assignee Title
JPS481988U (enExample) * 1971-05-25 1973-01-11
JPH03234262A (ja) * 1990-02-09 1991-10-18 Daikin Ind Ltd 芳香制御装置
JPH04208161A (ja) * 1990-11-30 1992-07-29 Aichi Kasei Kogyo:Yugen 芳香発生装置
JPH04128750U (ja) * 1991-05-20 1992-11-25 美喜雄 椛木 香り発生装置
JPH059552U (ja) * 1991-07-19 1993-02-09 高砂香料工業株式会社 ロータリー式芳香装置
JPH0556017U (ja) * 1991-12-26 1993-07-27 ウェン‐チュン、パイ 定時に香りを選択できる芳香器
JP2002065832A (ja) * 2000-09-01 2002-03-05 Akira Takagi 芳香器
JP2013094436A (ja) * 2011-11-01 2013-05-20 Toppan Printing Co Ltd 香り提供装置

Non-Patent Citations (1)

* Cited by examiner, † Cited by third party
Title
See also references of EP3366316A4 *

Cited By (8)

* Cited by examiner, † Cited by third party
Publication number Priority date Publication date Assignee Title
WO2019053989A1 (ja) * 2017-09-15 2019-03-21 ソニー株式会社 香料保持構造体、香料保持構造体の製造方法、及び香り提供装置
JPWO2019053989A1 (ja) * 2017-09-15 2021-01-07 ソニー株式会社 香料保持構造体、香料保持構造体の製造方法、及び香り提供装置
JP7207312B2 (ja) 2017-09-15 2023-01-18 ソニーグループ株式会社 香料保持構造体、香料保持構造体の製造方法、及び香り提供装置
US11559599B2 (en) 2017-09-15 2023-01-24 Sony Corporation Scent retaining structure, method of manufacturing the scent retaining structure, and scent providing device
JP2023026621A (ja) * 2017-09-15 2023-02-24 ソニーグループ株式会社 香料保持構造体、香料保持構造体の製造方法、及び香り提供装置
JP7632496B2 (ja) 2017-09-15 2025-02-19 ソニーグループ株式会社 香料保持構造体、香料保持構造体の製造方法、及び香り提供装置
US12251501B2 (en) 2017-09-15 2025-03-18 Sony Corporation Scent retaining structure, method of manufacturing the scent retaining structure, and scent providing device
US11642431B2 (en) 2017-12-08 2023-05-09 Sony Corporation Information processing apparatus, control method of the same, and recording medium

Also Published As

Publication number Publication date
EP3366316A1 (en) 2018-08-29
CN108348630B (zh) 2021-10-08
US20180303964A1 (en) 2018-10-25
US10994043B2 (en) 2021-05-04
JP2017079839A (ja) 2017-05-18
JP6728629B2 (ja) 2020-07-22
CN108348630A (zh) 2018-07-31
EP3366316A4 (en) 2018-11-14

Similar Documents

Publication Publication Date Title
WO2017068829A1 (ja) 香り提供装置
EP4173505B1 (en) Removable atomizer and electronic smoking device with lateral opening
US11832645B2 (en) Electronic atomization device and atomizer
WO2014069269A1 (ja) 嗅覚ディスプレイおよびそれに用いる香源カートリッジ
US6631888B1 (en) Battery operated fragrance dispenser
US10729800B2 (en) Cartridge for perfuming device and perfuming device
CN113507863B (zh) 香味提供装置
US20170196266A1 (en) Inhaler, atomizing assembly and atomizing core
JP4415021B2 (ja) 静電噴霧装置
US11612672B2 (en) Wireless electromechanical device for demonstrating multiple fragrances or aromas
US20210138101A1 (en) Aroma display
US12042583B2 (en) Aroma diffusing device and method of controlling aroma diffusing device
WO2019053989A1 (ja) 香料保持構造体、香料保持構造体の製造方法、及び香り提供装置
JP7708156B2 (ja) 香り提供装置
US7607589B2 (en) Droplet generation apparatus
CN221045240U (zh) 一种香薰装置
JP2021058427A (ja) 香りディスプレイ
ZA200608280B (en) Liquid dispensing device
EP3935995B1 (en) Aroma provision device
KR20250069235A (ko) 휴대형 발향 장치 및 이를 이용한 방법
JP2012066220A (ja) 静電霧化装置
JP2016086988A (ja) 成分放出装置およびアミューズメント機器
CN115944119A (zh) 雾化器及雾化装置

Legal Events

Date Code Title Description
121 Ep: the epo has been informed by wipo that ep was designated in this application

Ref document number: 16857147

Country of ref document: EP

Kind code of ref document: A1

WWE Wipo information: entry into national phase

Ref document number: 15768703

Country of ref document: US

NENP Non-entry into the national phase

Ref country code: DE

WWE Wipo information: entry into national phase

Ref document number: 2016857147

Country of ref document: EP