WO2017006971A1 - 燃焼器及びガスタービン - Google Patents

燃焼器及びガスタービン Download PDF

Info

Publication number
WO2017006971A1
WO2017006971A1 PCT/JP2016/070051 JP2016070051W WO2017006971A1 WO 2017006971 A1 WO2017006971 A1 WO 2017006971A1 JP 2016070051 W JP2016070051 W JP 2016070051W WO 2017006971 A1 WO2017006971 A1 WO 2017006971A1
Authority
WO
WIPO (PCT)
Prior art keywords
combustion cylinder
space
acoustic device
wall
combustor
Prior art date
Legal status (The legal status is an assumption and is not a legal conclusion. Google has not performed a legal analysis and makes no representation as to the accuracy of the status listed.)
Ceased
Application number
PCT/JP2016/070051
Other languages
English (en)
French (fr)
Japanese (ja)
Inventor
航 釘宮
泰希 木下
小山 敦史
Current Assignee (The listed assignees may be inaccurate. Google has not performed a legal analysis and makes no representation or warranty as to the accuracy of the list.)
Mitsubishi Power Ltd
Original Assignee
Mitsubishi Hitachi Power Systems Ltd
Priority date (The priority date is an assumption and is not a legal conclusion. Google has not performed a legal analysis and makes no representation as to the accuracy of the date listed.)
Filing date
Publication date
Application filed by Mitsubishi Hitachi Power Systems Ltd filed Critical Mitsubishi Hitachi Power Systems Ltd
Priority to KR1020177036177A priority Critical patent/KR102055493B1/ko
Priority to CN201680015810.1A priority patent/CN107407484B/zh
Priority to DE112016002108.9T priority patent/DE112016002108B4/de
Priority to US15/736,064 priority patent/US10712004B2/en
Publication of WO2017006971A1 publication Critical patent/WO2017006971A1/ja
Anticipated expiration legal-status Critical
Ceased legal-status Critical Current

Links

Images

Classifications

    • FMECHANICAL ENGINEERING; LIGHTING; HEATING; WEAPONS; BLASTING
    • F23COMBUSTION APPARATUS; COMBUSTION PROCESSES
    • F23RGENERATING COMBUSTION PRODUCTS OF HIGH PRESSURE OR HIGH VELOCITY, e.g. GAS-TURBINE COMBUSTION CHAMBERS
    • F23R3/00Continuous combustion chambers using liquid or gaseous fuel
    • F23R3/42Continuous combustion chambers using liquid or gaseous fuel characterised by the arrangement or form of the flame tubes or combustion chambers
    • F23R3/46Combustion chambers comprising an annular arrangement of several essentially tubular flame tubes within a common annular casing or within individual casings
    • FMECHANICAL ENGINEERING; LIGHTING; HEATING; WEAPONS; BLASTING
    • F23COMBUSTION APPARATUS; COMBUSTION PROCESSES
    • F23RGENERATING COMBUSTION PRODUCTS OF HIGH PRESSURE OR HIGH VELOCITY, e.g. GAS-TURBINE COMBUSTION CHAMBERS
    • F23R3/00Continuous combustion chambers using liquid or gaseous fuel
    • F23R3/42Continuous combustion chambers using liquid or gaseous fuel characterised by the arrangement or form of the flame tubes or combustion chambers
    • FMECHANICAL ENGINEERING; LIGHTING; HEATING; WEAPONS; BLASTING
    • F23COMBUSTION APPARATUS; COMBUSTION PROCESSES
    • F23RGENERATING COMBUSTION PRODUCTS OF HIGH PRESSURE OR HIGH VELOCITY, e.g. GAS-TURBINE COMBUSTION CHAMBERS
    • F23R3/00Continuous combustion chambers using liquid or gaseous fuel
    • F23R3/002Wall structures
    • FMECHANICAL ENGINEERING; LIGHTING; HEATING; WEAPONS; BLASTING
    • F02COMBUSTION ENGINES; HOT-GAS OR COMBUSTION-PRODUCT ENGINE PLANTS
    • F02CGAS-TURBINE PLANTS; AIR INTAKES FOR JET-PROPULSION PLANTS; CONTROLLING FUEL SUPPLY IN AIR-BREATHING JET-PROPULSION PLANTS
    • F02C3/00Gas-turbine plants characterised by the use of combustion products as the working fluid
    • F02C3/04Gas-turbine plants characterised by the use of combustion products as the working fluid having a turbine driving a compressor
    • FMECHANICAL ENGINEERING; LIGHTING; HEATING; WEAPONS; BLASTING
    • F23COMBUSTION APPARATUS; COMBUSTION PROCESSES
    • F23RGENERATING COMBUSTION PRODUCTS OF HIGH PRESSURE OR HIGH VELOCITY, e.g. GAS-TURBINE COMBUSTION CHAMBERS
    • F23R3/00Continuous combustion chambers using liquid or gaseous fuel
    • F23R3/02Continuous combustion chambers using liquid or gaseous fuel characterised by the air-flow or gas-flow configuration
    • F23R3/16Continuous combustion chambers using liquid or gaseous fuel characterised by the air-flow or gas-flow configuration with devices inside the flame tube or the combustion chamber to influence the air or gas flow
    • F23R3/18Flame stabilising means, e.g. flame holders for after-burners of jet-propulsion plants
    • FMECHANICAL ENGINEERING; LIGHTING; HEATING; WEAPONS; BLASTING
    • F23COMBUSTION APPARATUS; COMBUSTION PROCESSES
    • F23RGENERATING COMBUSTION PRODUCTS OF HIGH PRESSURE OR HIGH VELOCITY, e.g. GAS-TURBINE COMBUSTION CHAMBERS
    • F23R3/00Continuous combustion chambers using liquid or gaseous fuel
    • F23R3/28Continuous combustion chambers using liquid or gaseous fuel characterised by the fuel supply
    • GPHYSICS
    • G10MUSICAL INSTRUMENTS; ACOUSTICS
    • G10KSOUND-PRODUCING DEVICES; METHODS OR DEVICES FOR PROTECTING AGAINST, OR FOR DAMPING, NOISE OR OTHER ACOUSTIC WAVES IN GENERAL; ACOUSTICS NOT OTHERWISE PROVIDED FOR
    • G10K11/00Methods or devices for transmitting, conducting or directing sound in general; Methods or devices for protecting against, or for damping, noise or other acoustic waves in general
    • G10K11/16Methods or devices for protecting against, or for damping, noise or other acoustic waves in general
    • G10K11/162Selection of materials
    • FMECHANICAL ENGINEERING; LIGHTING; HEATING; WEAPONS; BLASTING
    • F05INDEXING SCHEMES RELATING TO ENGINES OR PUMPS IN VARIOUS SUBCLASSES OF CLASSES F01-F04
    • F05DINDEXING SCHEME FOR ASPECTS RELATING TO NON-POSITIVE-DISPLACEMENT MACHINES OR ENGINES, GAS-TURBINES OR JET-PROPULSION PLANTS
    • F05D2240/00Components
    • F05D2240/35Combustors or associated equipment
    • FMECHANICAL ENGINEERING; LIGHTING; HEATING; WEAPONS; BLASTING
    • F23COMBUSTION APPARATUS; COMBUSTION PROCESSES
    • F23RGENERATING COMBUSTION PRODUCTS OF HIGH PRESSURE OR HIGH VELOCITY, e.g. GAS-TURBINE COMBUSTION CHAMBERS
    • F23R2900/00Special features of, or arrangements for continuous combustion chambers; Combustion processes therefor
    • F23R2900/00013Reducing thermo-acoustic vibrations by active means
    • FMECHANICAL ENGINEERING; LIGHTING; HEATING; WEAPONS; BLASTING
    • F23COMBUSTION APPARATUS; COMBUSTION PROCESSES
    • F23RGENERATING COMBUSTION PRODUCTS OF HIGH PRESSURE OR HIGH VELOCITY, e.g. GAS-TURBINE COMBUSTION CHAMBERS
    • F23R2900/00Special features of, or arrangements for continuous combustion chambers; Combustion processes therefor
    • F23R2900/00014Reducing thermo-acoustic vibrations by passive means, e.g. by Helmholtz resonators

Definitions

  • This disclosure relates to combustors and gas turbines.
  • the gas turbine has a combustor and a turbine, and the turbine generates a rotational force by using combustion gas generated by burning the fuel by the combustor.
  • An acoustic device combustion vibration reducing device
  • the acoustic liner can dampen combustion vibration of a predetermined frequency caused by coupling of an acoustic mode and a combustion system.
  • the acoustic liner disclosed in Patent Document 1 defines a gas space that communicates with the inside of the transition piece of the combustor via a vent hole, and can dampen combustion vibration at a predetermined frequency.
  • acoustic liners are designed to have a single tuning frequency and can dampen combustion vibrations at and near the tuning frequency.
  • combustion vibration a plurality of modes (combustion vibration modes) having significantly different frequencies may occur due to various factors such as a combustion state.
  • combustion vibration modes In the operation of the gas turbine, it is preferable that more combustion vibration modes can be damped.
  • a combustion vibration mode whose frequency is greatly different from that of the tuning frequency, it cannot be damped by one acoustic liner.
  • an object of at least one embodiment of the present invention is to provide a combustor and a gas turbine including an acoustic device capable of damping a plurality of combustion vibration modes.
  • a combustor includes: A combustion cylinder having a first region in which at least one first opening is formed; A nozzle configured to inject fuel into the combustion cylinder; A first acoustic device attached to the combustion cylinder; With The first acoustic device includes: The first region and the at least one first wall have at least one first wall disposed opposite to the first region and having at least one second opening formed outside the combustion cylinder.
  • a first casing portion defining at least one first space communicating with the interior of the combustion cylinder through the at least one first opening It has at least 1 2nd wall arrange
  • the first acoustic device has a plurality of tuning frequencies because the second space communicating with the first space through the first opening exists outside the first space. For this reason, a plurality of combustion vibration modes having different frequencies can be attenuated by the first acoustic device.
  • the at least one first opening and the at least one second opening are at the same or different positions in the axial direction of the combustion cylinder.
  • the at least one second space includes a plurality of second spaces separated from each other by partition walls and having different heights in the radial direction of the combustion cylinder.
  • the plurality of second spaces separated by the partition walls have different heights, so that the first acoustic device can have more tuning frequencies. For this reason, more combustion vibration modes can be attenuated by the first acoustic device.
  • the plurality of second spaces are arranged along the circumferential direction of the combustion cylinder.
  • a plurality of second spaces having different heights can be provided with a simple configuration. .
  • the plurality of second spaces are arranged along the axial direction of the combustion cylinder.
  • the plurality of second spaces having different heights can be provided with a simple configuration. .
  • the heights of the plurality of second spaces are gradually reduced as they approach the nozzle in the axial direction of the combustion cylinder.
  • a combustion vibration mode having a high frequency is generated as compared with a region far from the flame.
  • the height of the second space gradually decreases as it approaches the nozzle in the axial direction of the combustion cylinder, and the high frequency near the flame is high.
  • the combustion vibration mode can be damped.
  • the first acoustic device is disposed within a range corresponding to the inner diameter of the combustion cylinder from the tip of the nozzle in the axial direction of the combustion cylinder.
  • the first acoustic device is installed in a range corresponding to the inner diameter of the combustion cylinder in the axial direction of the combustion cylinder, so that a large number of combustion vibration modes are provided. It can be effectively attenuated.
  • a second acoustic device attached to the combustor The combustion cylinder further includes a second region in which at least one third opening is formed, The second acoustic device has a third wall disposed on the outer side of the combustion cylinder so as to face the second region, and the at least one third wall is provided between the second region and the third wall. At least one third space communicating with the inside of the combustion cylinder through the opening is defined.
  • the first acoustic device has a tuning frequency corresponding to the height of the first space, and a tuning frequency corresponding to the sum of the height of the first space and the height of the second space.
  • the second acoustic device has a tuning frequency corresponding to the height of the third space, and the tuning frequency of the second acoustic device is located between the two frequencies of the first acoustic device. For this reason, the combustion vibration mode can be damped continuously over a wide frequency range.
  • the first acoustic device is arranged closer to the nozzle than the second acoustic device in the axial direction of the combustion cylinder.
  • the closer to the nozzle the more the combustion vibration modes tend to occur.
  • the first acoustic device is disposed closer to the nozzle than the second acoustic device in the axial direction of the combustion cylinder, so that a large number of combustion vibrations are provided. The mode can be effectively attenuated.
  • a gas turbine includes: A combustor according to any one of the configurations (1) to (10); A turbine configured to generate a rotational force from a combustion gas generated by burning the fuel by the combustor; Is provided.
  • the first acoustic device has a plurality of tuning frequencies because the second space communicating with the first space through the first opening exists outside the first space. For this reason, a plurality of combustion vibration modes having different frequencies can be attenuated by the first acoustic device.
  • a combustor and a gas turbine including an acoustic device capable of damping a plurality of combustion vibration modes are provided.
  • FIG. 5 is a schematic cross-sectional view taken along line VV in FIG. 3.
  • FIG. 6 is a schematic graph showing sound absorption characteristics of the first acoustic device shown in FIGS. 3 to 5.
  • FIG. FIG. 6 is a cross-sectional view corresponding to FIG.
  • FIG. 5 is a longitudinal sectional view corresponding to FIG. 4, schematically showing a first acoustic device according to another embodiment of the present invention.
  • FIG. 5 is a longitudinal sectional view corresponding to FIG. 4, schematically showing a first acoustic device according to another embodiment of the present invention.
  • FIG. 10 is a schematic graph showing sound absorption characteristics of the first acoustic device shown in FIGS. 7 to 9.
  • FIG. 5 is a longitudinal sectional view corresponding to FIG. 4 schematically showing a second acoustic device according to another embodiment of the present invention together with the first acoustic device.
  • FIG. 12 is a schematic graph showing sound absorption characteristics of the first acoustic device and the second acoustic device shown in FIG. 11.
  • FIG. 6 is a cross-sectional view corresponding to FIG. 5, schematically showing a first acoustic device according to another embodiment of the present invention.
  • FIG. 6 is a cross-sectional view corresponding to FIG. 5, schematically showing a first acoustic device according to another embodiment of the present invention. It is a figure for demonstrating the example of the shape and arrangement
  • an expression indicating that things such as “identical”, “equal”, and “homogeneous” are in an equal state not only represents an exactly equal state, but also has a tolerance or a difference that can provide the same function. It also represents the existing state.
  • expressions representing shapes such as quadrangular shapes and cylindrical shapes represent not only geometrically strict shapes such as quadrangular shapes and cylindrical shapes, but also irregularities and chamfers as long as the same effects can be obtained. A shape including a part or the like is also expressed.
  • the expressions “comprising”, “comprising”, “comprising”, “including”, or “having” one constituent element are not exclusive expressions for excluding the existence of the other constituent elements.
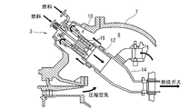
  • FIG. 1 is a diagram schematically showing a configuration of a gas turbine 1 according to an embodiment of the present invention.
  • a gas turbine 1 according to this embodiment includes a compressor (compression unit) 2, a combustor (combustion unit) 3, and a turbine (turbine unit) 4, for example, a generator 6. Etc. to drive external devices.
  • the compressor 2 sucks and compresses atmospheric air, which is external air, and supplies the compressed air to one or more combustors 3.
  • the combustor 3 generates high-temperature gas (combustion gas) by burning the fuel supplied from the outside using the air compressed by the compressor 2.
  • the turbine 4 receives the supply of the high-temperature gas generated by the combustor 3 to generate a rotational driving force, and outputs the generated rotational driving force to the compressor 2 and an external device.
  • FIG. 2 is a view for explaining the configuration around the combustor 3 of the gas turbine 1.
  • a combustor installation space 8 is provided in the housing 7 of the gas turbine 1, and the combustor installation space 8 is located between the outlet of the compressor 2 and the inlet of the turbine 4. ing.
  • the combustor 3 is disposed in the combustor installation space 8, and compressed air flows into the combustor 3 from one end side of the combustor 3.
  • fuel is supplied to the combustor 3 from the outside.
  • the combustor 3 has a nozzle portion 10, a combustion cylinder 12, and a tail cylinder 14.
  • the nozzle unit 10 includes one or more nozzles 16 that inject fuel supplied from the outside into the combustion cylinder 12.
  • the nozzle 16 includes, for example, one pilot nozzle 16a and a plurality of main nozzles 16b arranged concentrically around the pilot nozzle 16a.
  • the combustion cylinder 12 has a cylindrical shape, for example, a cylindrical shape.
  • the nozzle portion 10 is coupled to one end side (upstream end side) of the combustion cylinder 12, and an internal space (combustion space) 18 in which the fuel injected from the nozzle 16 burns is defined inside the combustion cylinder 12. Note that compressed air is supplied to the internal space 18 through the gaps between the nozzles 16, the fuel reacts with the compressed air and burns, and combustion gas is generated.
  • the tail cylinder 14 has a cylindrical shape and is coupled to the other end side (downstream end side) of the combustion cylinder 12.
  • the cross-sectional shape of the tail cylinder 14 gradually changes in the axial direction of the combustor 3, in other words, in the flow direction of the combustion gas, and the tail cylinder 14 connects the combustion cylinder 12 and the inlet of the turbine 4.
  • the combustion cylinder 12 and the tail cylinder 14 are each configured by a plate having a plurality of cooling channels therein.
  • the gas turbine 1 includes a first acoustic device (first acoustic liner) 20 attached to the combustor 3.
  • FIG. 3 is a longitudinal sectional view schematically showing the first acoustic device 20a according to one embodiment of the present invention together with the periphery of the combustion cylinder 12 of the combustor 3.
  • FIG. 4 is a partial cross-sectional view showing a region IV in FIG. 3 in an enlarged manner.
  • FIG. 5 is a schematic cross-sectional view taken along line VV in FIG.
  • FIG. 6 is a schematic graph showing the sound absorption characteristics of the first acoustic device 20a.
  • FIG. 7 is a cross-sectional view corresponding to FIG. 5 schematically showing a first acoustic device 20b according to another embodiment of the present invention.
  • 8 and 9 are longitudinal sectional views corresponding to FIG. 4 and schematically showing first acoustic devices 20c and 20d according to another embodiment of the present invention.
  • FIG. 10 is a schematic graph showing the sound absorption characteristics of the first acoustic devices 20b, 20c, and 20d.
  • FIG. 11 is a longitudinal sectional view corresponding to FIG. 4 schematically showing a second acoustic device 50 according to another embodiment of the present invention together with the first acoustic device 20a.
  • FIG. 12 is a schematic graph showing the sound absorption characteristics of the first acoustic device 20 a and the second acoustic device 50.
  • 13 and 14 are cross-sectional views corresponding to FIG. 5, schematically showing first acoustic devices 20e and 20f according to another embodiment of the present invention.
  • the first acoustic device 20 (20 a to 20 f) has a first casing portion 22 and a second casing portion 24.
  • the combustion cylinder 12 has a first region 26 covered with the first casing portion 22, and at least one first opening 28 is formed in the first region 26.
  • a plurality of first openings 28 are formed in the first region 26, and each first opening 28 has a circular cross-sectional shape.
  • the opening area of the first opening 28 is 5% or less of the area of the first region 26.
  • the first casing portion 22 has at least one first wall 30 disposed on the outer side of the combustion cylinder 12 so as to face the first region 26. At least one first space 32 is defined between the first region 26 and the first wall 30 that are spaced apart from each other in the radial direction of the combustion cylinder 12 and face each other, and the first space 32 has a first opening 28. It communicates with the internal space 18 through. At least one second opening 34 is formed in the first wall 30.
  • the first casing portion 22 has a U-shaped cross-sectional shape in a cross section orthogonal to the circumferential direction of the combustion cylinder 12, and is connected to both sides of the first wall 30 in the axial direction of the combustion cylinder 12. There are two first side walls 35. The first casing portion 22 is fixed to the combustion cylinder 12 by welding, for example.
  • the second casing portion 24 has at least one second wall 36 (36a, 36b, 36c) disposed opposite to the first wall 30 outside the first casing portion 22. At least one second space 38 (38a, 38b, 38c) is provided between the first wall 30 and the second wall 36 (36a, 36b, 36c) that are spaced apart from each other in the radial direction of the combustion cylinder 12 and face each other.
  • the second space 38 (38a, 38b, 38c) communicates with the first space 32 through the second opening 34.
  • At least one second space 38 (38a, 38b, 38c) communicating with the first space 32 through the first opening 28 exists outside the first space 32.
  • the first acoustic device 20 (20a to 20f) has a plurality of tuning frequencies ⁇ 1, ⁇ 2 ( ⁇ 2a, ⁇ 2b, ⁇ 2c). For this reason, the first acoustic device 20 can attenuate a plurality of combustion vibration modes having different frequencies.
  • the first acoustic devices 20a, 20e, and 20f have one second space 38a.
  • the second casing portion 24 has a U-shaped cross-sectional shape in a cross section orthogonal to the circumferential direction of the combustion cylinder 12, and is connected to two second walls 36 on both sides of the second wall 36 in the axial direction of the combustion cylinder 12. Two side walls 40 are provided.
  • the second casing part 24 is fixed to the first casing part 22 by welding.
  • the first acoustic device 20a has a sound absorption characteristic as shown in FIG. 6, and the first acoustic device 20a has two tuning frequencies ⁇ 1 and ⁇ 2 that increase the sound absorption coefficient, respectively. For this reason, the first acoustic device 20 can attenuate a plurality of combustion vibration modes having different frequencies.
  • the low tuning frequency ⁇ 2 of the two tuning frequencies ⁇ 1 and ⁇ 2 in FIG. 6 is the sum of the height H1 of the first space 32 and the height H2 of the second space 38.
  • the high-frequency tuning frequency ⁇ 1 is determined by (H1 + H2), and is determined by the height H1 of the first space 32.
  • At least one second space 38 includes a plurality of second spaces 38 (38a, 38b, 38c).
  • the plurality of second spaces 38 (38a, 38b, 38c) are separated from each other by the partition wall 42, and the heights H2a, H2b, H2c in the radial direction of the combustion cylinder 12 are different.
  • the plurality of second spaces 38 (38a, 38b, 38c) separated by the partition walls 42 have different heights H2a, H2b, H2c, so that the first acoustic devices 20b, 20c, 20d are provided.
  • the second space 38 has three heights H2a to H2c.
  • the set value of the height H2 may be two, or four or more.
  • the partition wall 42 may be formed integrally with the second wall 36 (36a, 36b, 36c), or may be joined to the second wall 36 (36a, 36b, 36c) by welding or the like. It may be.
  • the second casing portion 24 may be integrally formed or may be composed of a plurality of members. Further, even when the second space 38 has a constant height H2 as shown in FIGS. 3 to 5, FIG. 13 and FIG.
  • the second space 38 may be partitioned.
  • the plurality of second spaces 38 (38 a, 38 b, 8 c) are arranged along the circumferential direction of the combustion cylinder 12.
  • the partition wall 42 extends along the axial direction of the combustion cylinder 12.
  • the plurality of second spaces 38 (38a, 38b, 38c) are arranged along the circumferential direction of the combustion cylinder 12, so that the height H2 (H2a, H2b) can be obtained with a simple configuration.
  • H2c) can be provided with a plurality of second spaces 38 (38a, 38b, 38c).
  • the plurality of second spaces 38 are arranged along the axial direction of the combustion cylinder 12.
  • the partition wall 42 extends along the circumferential direction of the combustion cylinder 12.
  • the height H2 H2a, H2b
  • H2c can be provided with a plurality of second spaces 38 (38a, 38b, 38c).
  • the height H2 (H2a, H2b, H2c) of the plurality of second spaces 38 (38a, 38b, 38c) is the nozzle in the axial direction of the combustion cylinder 12. As it gets closer to 16, it becomes lower in steps. In the vicinity of the flame, that is, in the vicinity of the nozzle 16, a combustion vibration mode having a higher frequency tends to occur than in a region far from the flame. Corresponding to this tendency, in the gas turbine 1 configured as described above, the height H2 (H2a, H2b, H2c) of the second space 38 gradually decreases as it approaches the nozzle 16 in the axial direction of the combustion cylinder 12. The high frequency combustion vibration mode near the flame can be damped.
  • the first acoustic device 20 (20a to 20f) has a range corresponding to the inner diameter of the combustion cylinder 12 from the tip of the nozzle 16 in the axial direction of the combustion cylinder 12. Is placed inside. Within the range corresponding to the inner diameter of the combustion cylinder 12 from the tip of the nozzle 16, a larger number of combustion vibration modes tend to occur than outside the range. Corresponding to this tendency, in the gas turbine 1 configured as described above, the first acoustic device 20 (20a to 20f) is installed within the range corresponding to the inner diameter of the combustion cylinder 12 in the axial direction of the combustion cylinder 12, A number of combustion vibration modes can be effectively damped.
  • the gas turbine 1 further includes a second acoustic device 50 attached to the combustor 3 in addition to the first acoustic device 20 (20a to 20f), as shown in FIG.
  • the combustion cylinder 12 further includes a second region 54 in which at least one third opening 52 is formed.
  • the second acoustic device 50 has a third wall 56 disposed opposite to the second region 54 on the outside of the combustion cylinder 12, and at least one third wall is provided between the second region 54 and the third wall 56.
  • At least one third space 58 communicating with the inside of the combustion cylinder 12 through the opening 52 is defined.
  • the second acoustic device 50 has a tuning frequency ⁇ 3 corresponding to the height H3 of the third space 58, as shown in FIG. For this reason, in the gas turbine 1 configured as described above, by providing the second acoustic device 50 in addition to the first acoustic device 20 (20a to 20f), it is possible to attenuate more combustion vibration modes.
  • the sum (H1 + H2) of the height H1 of the first space 32 and the height H2 of the second space 38 in the radial direction of the combustion cylinder 12 is the third space. It is higher than the height H3 of 58, and the height H1 of the first space 32 is lower than the height H3 of the third space.
  • the tuning frequency ⁇ 3 of the second acoustic device 50 is located between the two frequencies ⁇ 1 and ⁇ 2 of the first acoustic device 20a. For this reason, the combustion vibration mode can be damped continuously over a wide frequency range.
  • the sum (H1 + H2) of the height H1 of the first space 32 and the height H2 of the second space 38 of the first acoustic device 20 in the radial direction of the combustion cylinder 12 is the second acoustic device 50. Is equal to the height H3 of the third space 58.
  • the tuning frequencies ⁇ 2 and ⁇ 3 are equal, and the sound absorption coefficient near the tuning frequencies ⁇ 2 and ⁇ 3 can be increased.
  • the sum (H1 + H2) of the height H1 of the first space 32 and the height H2 of the second space 38 of the first acoustic device 20 in the radial direction of the combustion cylinder 12 is the second acoustic device 50.
  • the height H3 of the third space 58 is lower.
  • the tuning frequency ⁇ 3 is lower than the tuning frequency ⁇ 2, and the second acoustic device 50 suppresses the combustion vibration mode of a relatively low frequency, while the first acoustic device 20 suppresses the relatively high frequency.
  • the combustion vibration mode can be suppressed.
  • the first acoustic device 20 (20 a to 20 f) is disposed closer to the nozzle 16 than the second acoustic device 50 in the axial direction of the combustion cylinder 12. ing. The closer to the nozzle 16 there is a tendency for more combustion vibration modes to occur. In response to this tendency, in the gas turbine 1 configured as described above, the first acoustic device 20 is disposed closer to the nozzle 16 than the second acoustic device 50 in the axial direction of the combustion cylinder 12. The combustion vibration mode can be effectively damped.
  • the first wall 30 and the second wall 36 do not extend over the entire circumference in the circumferential direction of the combustion cylinder 12, and the combustion cylinder 12 is partially Covered.
  • the first wall 30 extends over the entire circumference in the circumferential direction of the combustion cylinder 12, and the second wall partially covers the first wall 30. .
  • the central angle ⁇ ⁇ b> 1 representing the existence range of the first wall 30 around the axis of the combustion cylinder 12 is the existence range of the second wall 36.
  • the central angle ⁇ 1 representing the existence range of the first wall 30 around the axis of the combustion cylinder 12 is greater than the central angle ⁇ 2 representing the existence range of the second wall 36. ( ⁇ 1> ⁇ 2).
  • the second opening 34 formed in the first wall 30 has a circular shape as shown in FIGS. 15 and 16, or alternatively, as shown in FIGS. It has a slit shape or a long hole shape.
  • the shape of the 2nd opening 34 formed in the 1st wall 30 is not limited to these, An elliptical shape etc. may be sufficient and you may combine a some shape.
  • the ratio of the total area of the second openings 34 to the area of the first wall 30 is set to 5% or less.
  • the diameter or width of the second opening 34 is set to be smaller than the height H ⁇ b> 2 of the second space 38.
  • FIGS. 15 to 19 are diagrams for explaining examples of the shape and arrangement of the second openings 34 applicable to the first acoustic device 20 (20a to 20f). 15 to 19 schematically show a part of the first wall 30 developed on a plane.
  • the second openings 34 are arranged in a zigzag pattern (zigzag), or in a grid pattern (lattice pattern) as shown in FIG.
  • the second opening 34 extends in the circumferential direction of the combustion cylinder 12 and extends in the circumferential direction of the combustion cylinder 12 as shown in FIG.
  • the combustion cylinder 12 extends obliquely with respect to the circumferential direction and the axial direction.
  • the arrangement of the second openings 34 formed in the first wall 30 is not limited to the examples shown in FIGS.
  • the first casing portion 22 or the second casing portion 24 is formed with a purge hole that opens to the outer surface of the first acoustic device 20 in order to cool the first space 32 or the second space 38. May be.
  • the purge space communicates the first space 32 or the second space 38 with the outside of the first acoustic device 20, and the compressed air flowing around the first acoustic device 20 is the first during the operation of the gas turbine 1. It flows into the space 32 or the second space 38.
  • the pressure around the first acoustic device 20 is higher than the pressure in the combustion cylinder 12, so that the combustion gas does not flow out from the internal space 18 through the first opening 28.
  • the height H1 of the first space 32 is constant in the axial direction and the circumferential direction of the combustion cylinder 12, and the height H2 (H2a, H2b, H2c) of each second space 38 is the combustion cylinder.
  • the first wall 30 and the second wall 36 extend along the axial direction and the circumferential direction of the combustion cylinder 12 so as to be constant in the 12 axial directions and the circumferential direction.
  • the second space 38 has a quadrangular shape in a cross section orthogonal to the circumferential direction of the combustion cylinder 12, and has a ring shape or a sector shape in a cross section orthogonal to the axial direction of the combustion cylinder 12. .
  • the first opening 28 and the second opening 34 are at the same or different positions in the axial direction of the combustion cylinder 12.
  • the present invention is not limited to the above-described embodiments, and includes forms obtained by changing the above-described embodiments and forms obtained by combining these forms.

Landscapes

  • Engineering & Computer Science (AREA)
  • Chemical & Material Sciences (AREA)
  • Combustion & Propulsion (AREA)
  • Mechanical Engineering (AREA)
  • General Engineering & Computer Science (AREA)
  • Physics & Mathematics (AREA)
  • Acoustics & Sound (AREA)
  • Multimedia (AREA)
  • Soundproofing, Sound Blocking, And Sound Damping (AREA)
PCT/JP2016/070051 2015-07-08 2016-07-06 燃焼器及びガスタービン Ceased WO2017006971A1 (ja)

Priority Applications (4)

Application Number Priority Date Filing Date Title
KR1020177036177A KR102055493B1 (ko) 2015-07-08 2016-07-06 연소기 및 가스 터빈
CN201680015810.1A CN107407484B (zh) 2015-07-08 2016-07-06 燃烧器以及燃气涡轮
DE112016002108.9T DE112016002108B4 (de) 2015-07-08 2016-07-06 Brennkammer und Gasturbine
US15/736,064 US10712004B2 (en) 2015-07-08 2016-07-06 Combustor including an acoustic device mounted on a combustion liner for damping combustion oscillation of a predetermined frequency and gas turbine

Applications Claiming Priority (2)

Application Number Priority Date Filing Date Title
JP2015-137077 2015-07-08
JP2015137077A JP6579834B2 (ja) 2015-07-08 2015-07-08 燃焼器及びガスタービン

Publications (1)

Publication Number Publication Date
WO2017006971A1 true WO2017006971A1 (ja) 2017-01-12

Family

ID=57685119

Family Applications (1)

Application Number Title Priority Date Filing Date
PCT/JP2016/070051 Ceased WO2017006971A1 (ja) 2015-07-08 2016-07-06 燃焼器及びガスタービン

Country Status (6)

Country Link
US (1) US10712004B2 (enExample)
JP (1) JP6579834B2 (enExample)
KR (1) KR102055493B1 (enExample)
CN (1) CN107407484B (enExample)
DE (1) DE112016002108B4 (enExample)
WO (1) WO2017006971A1 (enExample)

Cited By (2)

* Cited by examiner, † Cited by third party
Publication number Priority date Publication date Assignee Title
JP2020515798A (ja) * 2017-03-30 2020-05-28 シーメンス アクティエンゲゼルシャフト ガスタービンエンジンの燃焼器セクションにおける冷却流体の二重利用のための導管配置を備えたシステム
WO2021132128A1 (ja) * 2019-12-24 2021-07-01 三菱パワー株式会社 燃焼器部品、この燃焼器部品を備える燃焼器、及びこの燃焼器を備えるガスタービン

Families Citing this family (11)

* Cited by examiner, † Cited by third party
Publication number Priority date Publication date Assignee Title
US10670271B2 (en) * 2016-09-30 2020-06-02 DOOSAN Heavy Industries Construction Co., LTD Acoustic dampening liner cap and gas turbine combustor including the same
EP3655946B1 (en) * 2017-07-20 2022-12-28 President and Fellows of Harvard College Acoustic damper for gas turbine combustors
JP7289752B2 (ja) * 2019-08-01 2023-06-12 三菱重工業株式会社 音響減衰器、筒アッセンブリ、燃焼器、ガスタービン及び筒アッセンブリの製造方法
JP7262364B2 (ja) 2019-10-17 2023-04-21 三菱重工業株式会社 ガスタービン燃焼器
JP7393262B2 (ja) * 2020-03-23 2023-12-06 三菱重工業株式会社 燃焼器、及びこれを備えるガスタービン
JP6980144B1 (ja) * 2021-03-24 2021-12-15 三菱パワー株式会社 ガスタービン用燃焼器、ガスタービン及びガスタービンの組立方法
JP2023158415A (ja) * 2022-04-18 2023-10-30 三菱重工業株式会社 燃焼器、及びこれを備えるガスタービン
US20240003543A1 (en) * 2022-06-29 2024-01-04 General Electric Company Acoustic liner for a gas turbine engine
CN120418590A (zh) * 2023-02-22 2025-08-01 三菱重工业株式会社 燃烧器用筒体、燃烧器及燃气轮机
GB2632877A (en) * 2023-08-14 2025-02-26 Siemens Energy Global Gmbh & Co Kg Combustor with resonator for gas turbine engine
CN119042669A (zh) * 2024-07-29 2024-11-29 北京航空航天大学 燃烧室及燃烧室中吸声结构的参数确定方法、装置和设备

Citations (4)

* Cited by examiner, † Cited by third party
Publication number Priority date Publication date Assignee Title
US20050034918A1 (en) * 2003-08-15 2005-02-17 Siemens Westinghouse Power Corporation High frequency dynamics resonator assembly
JP2013117231A (ja) * 2009-02-27 2013-06-13 Mitsubishi Heavy Ind Ltd 燃焼器およびこれを備えたガスタービン
US20150020498A1 (en) * 2013-07-19 2015-01-22 Reinhard Schilp Cooling cover for gas turbine damping resonator
JP2015518534A (ja) * 2012-03-21 2015-07-02 アルストム テクノロジー リミテッドALSTOM Technology Ltd 燃焼室内の複数の位置での同時かつ広帯域の減衰

Family Cites Families (8)

* Cited by examiner, † Cited by third party
Publication number Priority date Publication date Assignee Title
DE10243884A1 (de) * 2002-09-21 2004-04-01 Mann + Hummel Gmbh Resonatorschalldämpfer
JP2008121961A (ja) 2006-11-10 2008-05-29 Mitsubishi Heavy Ind Ltd ガスタービン燃焼器用の音響ライナー
JP4981615B2 (ja) 2007-10-19 2012-07-25 三菱重工業株式会社 ガスタービン
US8789372B2 (en) * 2009-07-08 2014-07-29 General Electric Company Injector with integrated resonator
US8413443B2 (en) * 2009-12-15 2013-04-09 Siemens Energy, Inc. Flow control through a resonator system of gas turbine combustor
EP2385303A1 (en) * 2010-05-03 2011-11-09 Alstom Technology Ltd Combustion Device for a Gas Turbine
EP2690365B1 (en) * 2011-03-22 2015-12-30 Mitsubishi Heavy Industries, Ltd. Acoustic damper, combustor, and gas turbine
US9163837B2 (en) * 2013-02-27 2015-10-20 Siemens Aktiengesellschaft Flow conditioner in a combustor of a gas turbine engine

Patent Citations (4)

* Cited by examiner, † Cited by third party
Publication number Priority date Publication date Assignee Title
US20050034918A1 (en) * 2003-08-15 2005-02-17 Siemens Westinghouse Power Corporation High frequency dynamics resonator assembly
JP2013117231A (ja) * 2009-02-27 2013-06-13 Mitsubishi Heavy Ind Ltd 燃焼器およびこれを備えたガスタービン
JP2015518534A (ja) * 2012-03-21 2015-07-02 アルストム テクノロジー リミテッドALSTOM Technology Ltd 燃焼室内の複数の位置での同時かつ広帯域の減衰
US20150020498A1 (en) * 2013-07-19 2015-01-22 Reinhard Schilp Cooling cover for gas turbine damping resonator

Cited By (5)

* Cited by examiner, † Cited by third party
Publication number Priority date Publication date Assignee Title
JP2020515798A (ja) * 2017-03-30 2020-05-28 シーメンス アクティエンゲゼルシャフト ガスタービンエンジンの燃焼器セクションにおける冷却流体の二重利用のための導管配置を備えたシステム
JP7008722B2 (ja) 2017-03-30 2022-01-25 シーメンス アクティエンゲゼルシャフト ガスタービンエンジンの燃焼器セクションにおける冷却流体の二重利用のための導管配置を備えたシステム
WO2021132128A1 (ja) * 2019-12-24 2021-07-01 三菱パワー株式会社 燃焼器部品、この燃焼器部品を備える燃焼器、及びこの燃焼器を備えるガスタービン
JPWO2021132128A1 (enExample) * 2019-12-24 2021-07-01
JP7284293B2 (ja) 2019-12-24 2023-05-30 三菱重工業株式会社 燃焼器部品、この燃焼器部品を備える燃焼器、及びこの燃焼器を備えるガスタービン

Also Published As

Publication number Publication date
US10712004B2 (en) 2020-07-14
KR102055493B1 (ko) 2019-12-12
KR20180008687A (ko) 2018-01-24
DE112016002108B4 (de) 2021-02-04
JP6579834B2 (ja) 2019-09-25
JP2017020682A (ja) 2017-01-26
DE112016002108T5 (de) 2018-03-08
US20180180288A1 (en) 2018-06-28
CN107407484A (zh) 2017-11-28
CN107407484B (zh) 2019-12-03

Similar Documents

Publication Publication Date Title
JP6579834B2 (ja) 燃焼器及びガスタービン
JP5995932B2 (ja) 燃焼器およびガスタービン
JP6059902B2 (ja) ガスタービンエンジンに用いられる音響減衰装置
JP5291790B2 (ja) 燃焼器およびこれを備えたガスタービン
JP5112926B2 (ja) 燃焼器ダイナミクスを低減するためのシステム
EP3034945B1 (en) Gas turbine fuel pipe comprising a damper
US11536455B2 (en) Combustor component, combustor, gas turbine, and manufacturing method for combustor component
US20150096829A1 (en) Acoustic damping device
US10197275B2 (en) High frequency acoustic damper for combustor liners
JP2013140248A (ja) 音響装置及びガスタービン燃焼器
JP6125651B2 (ja) ガスタービンエンジンの燃焼器のための音響減衰システム
JP2006266671A (ja) 減衰装置、燃焼器及びガスタービン
JP6797728B2 (ja) ガスタービン燃焼器の共鳴吸音装置並びにこれを備えたガスタービン燃焼器及びガスタービン
JP5054988B2 (ja) 燃焼器
US20150101332A1 (en) Combustion chamber of a gas turbine with improved acoustic damping
JP6444383B2 (ja) ガスタービンエンジンの燃焼器用の音響減衰システム
JP2013217645A (ja) 燃料ノズル、これを備えた燃焼器及びガスタービン
KR20250034514A (ko) 가스 터빈용 냉각 유체 가이드 및 가스 터빈
JP5717821B2 (ja) ガスタービン燃焼器用の音響ライナー、ガスタービン燃焼器、およびガスタービン
JP2008304125A (ja) 音響ダンパの振動低減構造
JP2010286141A (ja) 燃料ノズル、これを備えた燃焼器及びガスタービン

Legal Events

Date Code Title Description
121 Ep: the epo has been informed by wipo that ep was designated in this application

Ref document number: 16821440

Country of ref document: EP

Kind code of ref document: A1

WWE Wipo information: entry into national phase

Ref document number: 112016002108

Country of ref document: DE

WWE Wipo information: entry into national phase

Ref document number: 15736064

Country of ref document: US

ENP Entry into the national phase

Ref document number: 20177036177

Country of ref document: KR

Kind code of ref document: A

122 Ep: pct application non-entry in european phase

Ref document number: 16821440

Country of ref document: EP

Kind code of ref document: A1