WO2016189819A1 - Medical apparatus, medical apparatus vibration detection method, and surgical system - Google Patents

Medical apparatus, medical apparatus vibration detection method, and surgical system Download PDF

Info

Publication number
WO2016189819A1
WO2016189819A1 PCT/JP2016/002368 JP2016002368W WO2016189819A1 WO 2016189819 A1 WO2016189819 A1 WO 2016189819A1 JP 2016002368 W JP2016002368 W JP 2016002368W WO 2016189819 A1 WO2016189819 A1 WO 2016189819A1
Authority
WO
WIPO (PCT)
Prior art keywords
vibration
medical instrument
medical
sensor
vibration detection
Prior art date
Legal status (The legal status is an assumption and is not a legal conclusion. Google has not performed a legal analysis and makes no representation as to the accuracy of the status listed.)
Ceased
Application number
PCT/JP2016/002368
Other languages
English (en)
French (fr)
Inventor
Hiroyuki Suzuki
Kenichiro Nagasaka
Masaya Kinoshita
Tomoki Tamada
Current Assignee (The listed assignees may be inaccurate. Google has not performed a legal analysis and makes no representation or warranty as to the accuracy of the list.)
Sony Corp
Original Assignee
Sony Corp
Priority date (The priority date is an assumption and is not a legal conclusion. Google has not performed a legal analysis and makes no representation as to the accuracy of the date listed.)
Filing date
Publication date
Application filed by Sony Corp filed Critical Sony Corp
Priority to US15/554,013 priority Critical patent/US10420625B2/en
Priority to EP16729387.7A priority patent/EP3267917A1/en
Priority to CN201680028770.4A priority patent/CN107635502B/zh
Publication of WO2016189819A1 publication Critical patent/WO2016189819A1/en
Anticipated expiration legal-status Critical
Ceased legal-status Critical Current

Links

Images

Classifications

    • AHUMAN NECESSITIES
    • A61MEDICAL OR VETERINARY SCIENCE; HYGIENE
    • A61BDIAGNOSIS; SURGERY; IDENTIFICATION
    • A61B90/00Instruments, implements or accessories specially adapted for surgery or diagnosis and not covered by any of the groups A61B1/00 - A61B50/00, e.g. for luxation treatment or for protecting wound edges
    • A61B90/06Measuring instruments not otherwise provided for
    • AHUMAN NECESSITIES
    • A61MEDICAL OR VETERINARY SCIENCE; HYGIENE
    • A61BDIAGNOSIS; SURGERY; IDENTIFICATION
    • A61B17/00Surgical instruments, devices or methods
    • A61B17/28Surgical forceps
    • A61B17/29Forceps for use in minimally invasive surgery
    • AHUMAN NECESSITIES
    • A61MEDICAL OR VETERINARY SCIENCE; HYGIENE
    • A61BDIAGNOSIS; SURGERY; IDENTIFICATION
    • A61B34/00Computer-aided surgery; Manipulators or robots specially adapted for use in surgery
    • A61B34/20Surgical navigation systems; Devices for tracking or guiding surgical instruments, e.g. for frameless stereotaxis
    • AHUMAN NECESSITIES
    • A61MEDICAL OR VETERINARY SCIENCE; HYGIENE
    • A61BDIAGNOSIS; SURGERY; IDENTIFICATION
    • A61B34/00Computer-aided surgery; Manipulators or robots specially adapted for use in surgery
    • A61B34/25User interfaces for surgical systems
    • AHUMAN NECESSITIES
    • A61MEDICAL OR VETERINARY SCIENCE; HYGIENE
    • A61BDIAGNOSIS; SURGERY; IDENTIFICATION
    • A61B34/00Computer-aided surgery; Manipulators or robots specially adapted for use in surgery
    • A61B34/30Surgical robots
    • A61B34/37Leader-follower robots
    • AHUMAN NECESSITIES
    • A61MEDICAL OR VETERINARY SCIENCE; HYGIENE
    • A61BDIAGNOSIS; SURGERY; IDENTIFICATION
    • A61B34/00Computer-aided surgery; Manipulators or robots specially adapted for use in surgery
    • A61B34/70Manipulators specially adapted for use in surgery
    • A61B34/76Manipulators having means for providing feel, e.g. force or tactile feedback
    • AHUMAN NECESSITIES
    • A61MEDICAL OR VETERINARY SCIENCE; HYGIENE
    • A61BDIAGNOSIS; SURGERY; IDENTIFICATION
    • A61B90/00Instruments, implements or accessories specially adapted for surgery or diagnosis and not covered by any of the groups A61B1/00 - A61B50/00, e.g. for luxation treatment or for protecting wound edges
    • A61B90/50Supports for surgical instruments, e.g. articulated arms
    • AHUMAN NECESSITIES
    • A61MEDICAL OR VETERINARY SCIENCE; HYGIENE
    • A61BDIAGNOSIS; SURGERY; IDENTIFICATION
    • A61B17/00Surgical instruments, devices or methods
    • A61B2017/00017Electrical control of surgical instruments
    • A61B2017/00022Sensing or detecting at the treatment site
    • A61B2017/00075Motion
    • AHUMAN NECESSITIES
    • A61MEDICAL OR VETERINARY SCIENCE; HYGIENE
    • A61BDIAGNOSIS; SURGERY; IDENTIFICATION
    • A61B17/00Surgical instruments, devices or methods
    • A61B2017/00017Electrical control of surgical instruments
    • A61B2017/00115Electrical control of surgical instruments with audible or visual output
    • AHUMAN NECESSITIES
    • A61MEDICAL OR VETERINARY SCIENCE; HYGIENE
    • A61BDIAGNOSIS; SURGERY; IDENTIFICATION
    • A61B18/00Surgical instruments, devices or methods for transferring non-mechanical forms of energy to or from the body
    • A61B2018/00053Mechanical features of the instrument of device
    • A61B2018/00297Means for providing haptic feedback
    • A61B2018/00303Means for providing haptic feedback active, e.g. with a motor creating vibrations
    • AHUMAN NECESSITIES
    • A61MEDICAL OR VETERINARY SCIENCE; HYGIENE
    • A61BDIAGNOSIS; SURGERY; IDENTIFICATION
    • A61B18/00Surgical instruments, devices or methods for transferring non-mechanical forms of energy to or from the body
    • A61B2018/00636Sensing and controlling the application of energy
    • A61B2018/00773Sensed parameters
    • A61B2018/0088Vibration
    • AHUMAN NECESSITIES
    • A61MEDICAL OR VETERINARY SCIENCE; HYGIENE
    • A61BDIAGNOSIS; SURGERY; IDENTIFICATION
    • A61B34/00Computer-aided surgery; Manipulators or robots specially adapted for use in surgery
    • A61B34/20Surgical navigation systems; Devices for tracking or guiding surgical instruments, e.g. for frameless stereotaxis
    • A61B2034/2046Tracking techniques
    • A61B2034/2048Tracking techniques using an accelerometer or inertia sensor
    • AHUMAN NECESSITIES
    • A61MEDICAL OR VETERINARY SCIENCE; HYGIENE
    • A61BDIAGNOSIS; SURGERY; IDENTIFICATION
    • A61B34/00Computer-aided surgery; Manipulators or robots specially adapted for use in surgery
    • A61B34/20Surgical navigation systems; Devices for tracking or guiding surgical instruments, e.g. for frameless stereotaxis
    • A61B2034/2046Tracking techniques
    • A61B2034/2063Acoustic tracking systems, e.g. using ultrasound
    • AHUMAN NECESSITIES
    • A61MEDICAL OR VETERINARY SCIENCE; HYGIENE
    • A61BDIAGNOSIS; SURGERY; IDENTIFICATION
    • A61B90/00Instruments, implements or accessories specially adapted for surgery or diagnosis and not covered by any of the groups A61B1/00 - A61B50/00, e.g. for luxation treatment or for protecting wound edges
    • A61B90/06Measuring instruments not otherwise provided for
    • A61B2090/064Measuring instruments not otherwise provided for for measuring force, pressure or mechanical tension
    • AHUMAN NECESSITIES
    • A61MEDICAL OR VETERINARY SCIENCE; HYGIENE
    • A61BDIAGNOSIS; SURGERY; IDENTIFICATION
    • A61B90/00Instruments, implements or accessories specially adapted for surgery or diagnosis and not covered by any of the groups A61B1/00 - A61B50/00, e.g. for luxation treatment or for protecting wound edges
    • A61B90/06Measuring instruments not otherwise provided for
    • A61B2090/064Measuring instruments not otherwise provided for for measuring force, pressure or mechanical tension
    • A61B2090/065Measuring instruments not otherwise provided for for measuring force, pressure or mechanical tension for measuring contact or contact pressure

Definitions

  • the present disclosure relates to a medical apparatus, a medical apparatus vibration detection method and a surgical system.
  • Patent Literatures 1 and 2 disclose technologies in which a sensor (a tactile sensor or a force sensor) configured to detect a contact state of the medical instrument with body tissues of the patient is provided at a distal end of the medical instrument inserted into the body cavity of the patient, and the contact state detected by the sensor is transmitted to the surgeon who manipulates the medical instrument as vibration.
  • a sensor a tactile sensor or a force sensor
  • a sensor configured to detect a contact state is provided at a distal end of the medical instrument inserted into the body cavity of the patient.
  • the medical instrument since the medical instrument should remain aseptic, it is necessary to provide a special structure for maintaining a degree of asepsis while a sensor is held when the sensor is attached to a distal end thereof. Therefore, there is concern about a structure of the medical instrument becoming complicated and cost increasing.
  • a configuration of the distal end of the medical instrument becomes large according to the provision of the sensor, there is concern about a load on the patient when the medical instrument is inserted into the body cavity increasing and accidental contact of the distal end of the medical instrument with body tissues in the body cavity increasing.
  • the present disclosure proposes a medical apparatus, a medical apparatus vibration detection method and a surgical system which are novel and improved and through which it is possible to detect a contact state of a medical instrument with body tissues with a simpler configuration.
  • a medical apparatus including: medical vibration detection circuity that is detachable from a medical instrument at an attachment position of the medical instrument in a longitudinal direction and that is configured to detect vibration generated in a distinct portion of the medical instrument, the distinct portion including at least a portion disposed toward a distal end of the medical instrument from the attachment position.
  • a medical apparatus vibration detection method including: attaching vibration detection circuitry that is detachable from a medical instrument at an attachment position of the medical instrument in a longitudinal direction, and detecting, by the vibration detection circuitry, vibration generated in a distinct portion of the medical instrument, the distinct portion including at least a portion of the medical instrument disposed toward a distal end of the medical instrument from the attachment position.
  • a surgical system including: a medical instrument, a support arm device that supports the medical instrument, and medical vibration detection circuity that is detachable from a medical instrument at an attachment position of the medical instrument in a longitudinal direction and that is configured to detect vibration generated in a distinct portion of the medical instrument, the distinct portion including at least a portion of the medical instrument disposed toward a distal end of the medical instrument from the attachment position.
  • the vibration detection circuitry may be removed, and sterilization treatment may be separately performed on the medical instrument and the vibration detection circuitry. Accordingly, it is unnecessary to provide a special configuration in the medical instrument in consideration of sterilization treatment.
  • no vibration detection circuitry is attached to the distal end of the medical instrument that may actually approach or come into contact with body tissues of the patient, it is unnecessary to provide a special configuration for maintaining asepsis at the distal end of the medical instrument. Therefore, it is possible to further simplify a configuration of the medical instrument.
  • FIG. 1 is a diagram illustrating a state in which a vibration detection module according to the present embodiment is attached to a forceps.
  • FIG. 2 is a perspective view illustrating an exterior of the vibration detection module according to the present embodiment.
  • FIG. 3 is an exploded perspective view illustrating the vibration detection module according to the present embodiment.
  • FIG. 4 is a perspective view illustrating a state of a cross section when the vibration detection module according to the present embodiment is cut in an insertion direction of a forceps.
  • FIG. 5 is a block diagram illustrating one configuration example of a surgical system to which the vibration detection module according to the present embodiment may be applied.
  • FIG. 6 is a diagram illustrating one configuration example of a support arm device that may configure a slave of a surgical system according to the present embodiment.
  • FIG. 1 is a diagram illustrating a state in which the vibration detection module according to the present embodiment is attached to a forceps.
  • FIG. 2 is a perspective view illustrating an exterior of the vibration detection module according to the present embodiment.
  • FIG. 3 is an exploded perspective view illustrating the vibration detection module according to the present embodiment.
  • FIG. 4 is a perspective view illustrating a state of a cross section when the vibration detection module according to the present embodiment is cut in an insertion direction of a forceps. Note that, in FIG. 4, in order to show a positional relation between the vibration detection module according to the present embodiment and a forceps, the forceps is also shown.
  • a state in which a vibration detection module 10 according to the present embodiment is attached to a forceps 301, which is an exemplary medical instrument used for a patient when surgery is performed, is illustrated.
  • the vibration detection module 10 according to the present embodiment is attached to a medical instrument when used and detects vibration generated in the medical instrument.
  • the forceps 301 is supported by an arm portion 303 of a support arm device capable of supporting various medical instruments, and a position and an orientation of the forceps 301 are controlled by the arm portion 303.
  • the arm portion 303 is operated by a so-called master and slave method. That is, the arm portion 303 may be controlled remotely by a surgeon through an input device such as a controller that is installed separately from the arm portion 303 and the forceps 301.
  • the forceps 301 is a long tubular instrument having a distal end at which an end effector is provided. When surgery is performed, an area having a predetermined length including the distal end is inserted into a body cavity of the patient.
  • the end effector includes a pair of openable blades. It is possible to grip or cut body tissues of the patient or grip a needle when body tissues are sutured by the blades.
  • the forceps 301 is a so-called robot forceps that is operated by the master and slave method.
  • the forceps 301 may be controlled remotely together with the arm portion 303 by the surgeon through the above-described input device configured to control the arm portion 303 remotely.
  • one or a plurality of joint portions for changing a position and an orientation of the end effector may be provided in the forceps 301. The surgeon can perform manipulation through the input device, operate each of the joint portions to adjust the position and the orientation of the end effector, and perform an opening and closing operation of the end effector.
  • the vibration detection module 10 is applied to the surgical system of a so-called master and slave method.
  • various medical instruments or an observation unit for example, a microscope or an endoscope
  • the plurality of arm portions and medical instruments are controlled by the surgeon remotely through the input device such as a controller installed separately from the plurality of arm portions, and thus surgery is performed.
  • the vibration detection module 10 according to the present embodiment may be attached to one or a plurality of various medical instruments. Note that the surgical system of the master and slave method will be described again in the following (2. Configuration of surgical system).
  • surgery to be assumed in the present embodiment may be both open surgery and endoscopic surgery.
  • an operative portion is imaged by a so-called video microscope capable of electronically imaging the operative portion.
  • an endoscope is inserted into the body cavity of the patient together with the forceps 301, and the operative portion is imaged by the endoscope.
  • An image of the operative portion imaged by the observation unit such as a video microscope or an endoscope is displayed on a display device that is arranged at a position that the surgeon can confirm by sight.
  • the surgeon performs surgery while observing a state of the operative portion according to the image projected on the display device.
  • the display device may be installed in an operating room or mounted on a device that is worn by the surgeon when used such as a wearable device of a head mounted display (HMD) or eyeglass type.
  • HMD head mounted display
  • FIG. 1 in the configuration of the surgical system of the master and slave method in this manner, only the arm portion 303 and the forceps 301 supported by the one arm portion 303 are illustrated as an example.
  • the vibration detection module 10 according to the present embodiment is attached to the forceps 301 will be exemplified, and a configuration and a function of the vibration detection module 10 will be described.
  • the vibration detection module 10 is attached to a proximal end side (that is, a side connected to the arm portion 303) of the forceps 301 and detects vibration generated in the forceps 301 at a distal end side relative to the attachment position of the vibration detection module 10, that is, at a portion that approaches or comes into contact with body tissues of the patient.
  • the vibration detection module 10 can detect vibration generated in the forceps 301 when the forceps 301 inserted into the body cavity of the patient comes into contact with body tissues in the body cavity.
  • a contact state of the forceps 301 in the body cavity and body tissues may be detected by the vibration detection module 10 installed outside the body cavity.
  • a portion serving as a vibration detection target of the vibration detection module 10 is referred to as a "distal end side.”
  • the vibration detection module 10 since the vibration detection module 10 detects vibration generated in the forceps 301 at a distal end side relative to the attachment position of the vibration detection module 10, the vibration detection module 10 may detect not only vibration generated in a portion near a distal end of the forceps 301 but also vibration generated in a middle portion (a portion between the attachment position of the vibration detection module 10 and the distal end of the forceps 301) of the forceps 301. Therefore, the term “distal end side” does not necessarily indicate only a portion near the distal end of the forceps 301 but indicates the entire portion that includes the distal end and the middle portion and serves as the vibration detection target of the vibration detection module 10.
  • an instrument serving as a vibration detection target may be a long medical instrument and a type thereof is not limited.
  • the vibration detection module 10 may be attached to various long medical instruments.
  • the vibration detection module 10 is attached to a portion of the long medical instrument in a longitudinal direction, and may detect vibration generated in another portion of the medical instrument separated from the attachment position in the longitudinal direction.
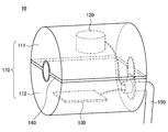
  • the vibration detection module 10 mainly includes a housing 110 and a first vibration sensor 120 and a second vibration sensor 130 disposed in the housing 110.
  • the housing 110 has substantially a hollow cylindrical shape and apertures are provided at substantially a center of a top and a bottom of the cylindrical shape.
  • the housing 110 includes two members 111 and 112 (the first member 111 and the second member 112) that are divided in a plane that passes through the two apertures. Therefore, when the first member 111 and the second member 112 are assembled with the forceps 301 interposed therebetween, the housing 110 (that is, the vibration detection module 10) is attached to the forceps 301 (refer to FIG. 4).
  • the vibration detection module 10 is detachable from the forceps 301.
  • the vibration detection module 10 may be attachable to the existing forceps 301. Accordingly, it is unnecessary to provide a special configuration for attaching the vibration detection module 10 to the forceps 301, and the existing forceps 301 can be used without change.
  • the vibration detection module 10 be attachable to the forceps 301 using a simple method without using a tool, for example, a method in which engaging members provided in the first member 111 and the second member 112 are engaged to each other to be connected together. Accordingly, it is possible to increase workability when the vibration detection module 10 is attached to the forceps 301.
  • a material of the housing 110 is not particularly limited.
  • the housing 110 is preferably made of an antibacterial material and/or a material that can withstand sterilization treatment.
  • the housing 110 is preferably made of a material having a relatively high specific gravity.
  • a sealing member 140 configured to seal the housing 110 when the housing 110 is attached to the forceps 301 is provided in a contact portion (that is, an edge in a divided surface of the housing 110) between the first member 111 and the second member 112 and a contact portion (that is, an edge of the aperture) with the forceps 301 in the aperture of the housing 110.
  • Such conversation or music may serve as noise to vibration that is normally intended to be detected by the first vibration sensor 120 and the second vibration sensor 130 and generated in the forceps 301.
  • sealability in the housing 110 is maintained by the sealing member 140, it is possible to reduce noise caused by the external environment that may be detected in the first vibration sensor 120 and the second vibration sensor 130.
  • the sealing member 140 is made of a soft material such as rubber.
  • the present embodiment is not limited thereto, and various known members that may be generally used to seal a hollow member can be used as the sealing member 140.
  • a portion in which the sealing member 140 is disposed is not limited to the above-described portion. For example, when there is a gap that spatially connects an inside and an outside of the housing 110 in a portion other than the contact portion between the first member 111 and the second member 112 or the aperture for inserting the forceps 301, the sealing member 140 may be appropriately disposed to close such a gap.
  • any of the first member 111 and the second member 112 of the housing 110 and the sealing member 140 may be formed as an integral member. Accordingly, the housing 110 is more reliably sealed, and an effect of blocking the first vibration sensor 120 and the second vibration sensor 130 from the external environment can be further obtained.
  • the first vibration sensor 120 is an auditory sensor configured to detect vibration (hereinafter referred to as "auditory vibration" for convenience of description) of a frequency band corresponding to an auditory sense of a human.
  • the first vibration sensor 120 detects vibration of a frequency band corresponding to an audible range (for example, about 20 Hz to about 20 kHz) of a human.
  • the first vibration sensor 120 is, for example, a microphone, and is arranged in the housing 110 such that a sound collection unit of the first vibration sensor 120 comes into contact with the forceps 301 when the housing 110 is attached to the forceps 301.
  • the first vibration sensor 120 can detect sound (for example, sound when the end effector of the forceps 301 grips body tissues of the patient) that has been generated in a distal end side of the forceps 301 and then transmitted into the forceps 301.
  • the first vibration sensor 120 is arranged in the first member 111.
  • a support member for supporting the first vibration sensor 120 is appropriately provided in the first member 111.
  • the first vibration sensor 120 is fixedly supported in the first member 111 by the support member.
  • the second vibration sensor 130 is a tactile sensor configured to detect vibration (hereinafter referred to as "tactile vibration" for convenience of description) of a frequency band corresponding to a tactile sense of a human.
  • the second vibration sensor 130 detects vibration of a frequency corresponding to a frequency band (for example, several Hz to about 1 kHz) detectable by human skin.
  • the second vibration sensor 130 is a multi-axis acceleration sensor having, for example, 3 or more axes.
  • the second vibration sensor 130 is fixedly disposed with respect to the housing 110.
  • Tactile vibration for example, tactile vibration generated when the end effector of the forceps 301 grips body tissues of the patient
  • Tactile vibration that has been generated in the distal end side of the forceps 301 and then transmitted through the forceps 301 may be detected by the second vibration sensor 130 through the housing 110.
  • the second vibration sensor 130 is arranged in the second member 112.
  • a support member for supporting the second vibration sensor 130 is appropriately provided in the second member 112.
  • the second vibration sensor 130 is fixedly supported in the second member 112 by the support member.
  • a signal indicating auditory vibration detected by the first vibration sensor 120 and a signal indicating tactile vibration detected by the second vibration sensor 130 are transmitted to a circuit board configured to perform various types of signal processing such as amplification and filtering on such signals using a cable 150.
  • the signal that underwent various types of signal processing in the circuit board is transmitted to a vibration presentation unit (not illustrated) in a hand of the surgeon who manipulates the forceps 301 and the arm portion 303. Auditory vibration detected by the first vibration sensor 120 and tactile vibration detected by the second vibration sensor 130 are transmitted to the surgeon by the vibration presentation unit.
  • the cable 150 may extend to the outside of the housing 110 through the aperture provided in the housing 110.
  • the aperture into which the cable 150 is inserted may also be sealed by the sealing member 140.
  • the signal indicating auditory vibration detected by the first vibration sensor 120 and the signal indicating tactile vibration detected by the second vibration sensor 130 may not necessarily be transmitted by the cable 150, but may be wirelessly transmitted to the circuit board according to various known communication methods.
  • the vibration presentation unit includes, for example, a speaker or a vibration element. Auditory vibration (that is, sound) detected by the first vibration sensor 120 is transmitted to the surgeon by the speaker of the vibration presentation unit. In addition, tactile vibration detected by the second vibration sensor 130 is transmitted to the surgeon by the vibration element of the vibration presentation unit. In this manner, when auditory vibration and tactile vibration generated in the distal end side of the forceps 301 are transmitted to the surgeon, the surgeon can more intuitively feel a contact state of the forceps 301 with body tissues of the patient while manipulating the forceps 301. Also, a method of transmitting auditory vibration and tactile vibration to the surgeon through the vibration presentation unit in this manner will be described again in the following (2. Configuration of surgical system).
  • tactile vibration that may be detected by the second vibration sensor 130 when the forceps 301 comes into contact with body tissues of the patient may include body tissue surface texture information, and/or body tissue rigidity information.
  • the surgeon can intuitively recognize a state (such as smooth or rough) of a surface of body tissues with which the forceps 301 is currently in contact or elasticity (such as soft or hard) of body tissues with which the forceps 301 is currently in contact.
  • body tissue surface texture information and/or rigidity information may help in confirmation of the lesioned part.
  • a use method in which the forceps 301 is moved to trace a surface of body tissues, tactile vibration along the way is detected and transmitted to the surgeon, and surface texture information and/or rigidity information may be actively obtained may be assumed.
  • auditory vibration that may be detected by the first vibration sensor 120 may be information that is beneficial for determining whether the body tissues are in a normal state.
  • an examination method in which sound waves are used to confirm whether blood flows normally in the sutured blood vessel is used.
  • auditory vibration detected by the first vibration sensor 120 may be used.
  • the force sensor may be provided in a portion connecting the arm portion 303 and the forceps 301.
  • a force sensor (a torque sensor) configured to detect a force applied to each of the joint portions may be provided in the joint portions of the arm portion 303.
  • a force applied to the forceps 301 may be detected by such a force sensor, and transmitted to the surgeon who manipulates the forceps 301.
  • the force applied to the forceps 301 detected by the force sensor, and auditory vibration and tactile vibration generated in the distal end side of the forceps 301 are detected by the vibration detection module 10 and transmitted together to the surgeon.
  • the force sensor provided in the portion connecting the arm portion 303 and the forceps 301 may be a force sensor that is provided separately in order to detect the force applied to the forceps 301 or a torque sensor provided in the joint portion when the joint portion is arranged in the portion connecting the arm portion 303 and the forceps 301.
  • the surgeon may also recognize the contact state of the forceps 301 with body tissues according to feedback of a force by the force sensor.
  • the force sensor includes, for example, a strain gauge or a pressure sensitive element, and when a magnitude or a direction of a force is changed at a relatively high frequency (for example, several Hz or more), it is difficult to accurately detect a vibrating force thereof in many cases. Therefore, it can be considered hard to say that feedback to the surgeon from the force applied to the forceps 301 detected by the force sensor is enough to transmit sufficient information indicating the contact state of the forceps 301 with body tissues to the surgeon.
  • the first vibration sensor 120 and the second vibration sensor 130 in the present embodiment are used to detect vibration of a frequency band that is difficult to detect by such a force sensor. That is, according to the present embodiment, when vibration detected by the first vibration sensor 120 and the second vibration sensor 130 is fed back to the surgeon, it is possible to transmit vibration of a wider frequency band that is not possible to obtain when only feedback of a force by the force sensor is provided to the surgeon. Therefore, since it is possible to transmit a greater amount of information indicating the contact state of the forceps 301 with body tissues to the surgeon, the surgeon can feel the contact state more intuitively and more realistically.
  • vibration detected by the first vibration sensor 120 and tactile vibration detected by the second vibration sensor 130 will be simply referred to in general as “vibration detected by the first vibration sensor 120 and the second vibration sensor 130" below.
  • vibration detected by the first vibration sensor 120 and the second vibration sensor 130 refers to vibration of a frequency band that is generally difficult to detect by the force sensor, unless otherwise described.
  • a sensor configured to detect a contact state of a medical instrument such as the forceps with body tissues of the patient is provided integrally with the medical instrument at a distal end of the medical instrument. Therefore, there are concerns of a configuration of the distal end of the medical instrument becoming large, a load on the patient when the medical instrument is inserted into the body cavity increasing, and accidental contact of the distal end of the medical instrument with body tissues in the body cavity increasing.
  • an autoclave is generally used for the sterilization treatment. Since the medical instrument is exposed to a high temperature and high pressure liquid in the autoclave, when a sensor and a medical instrument are integrally configured as in the configurations described in Patent Literatures 1 and 2, it is necessary for the sensor to have a configuration that withstands an environment of the autoclave. Therefore, in the configurations described in Patent Literatures 1 and 2, it is necessary to set a configuration of a portion in which the sensor is arranged as a special configuration that protects the sensor from the high temperature and high pressure liquid and set the sensor itself as a special sensor that withstands an environment of the autoclave, which causes concerns about cost increasing.
  • the senor is provided at the distal end of the medical instrument, and a circuit board configured to perform various types of signal processing on a signal indicating a detection value of the sensor is installed outside the body cavity. Therefore, it is necessary to provide a wire for transmitting the signal indicating a detection value of the sensor to the circuit board along the medical instrument. Accordingly, for example, a catheter having a dedicated structure for the wire is prepared separately, which may cause an increase in additional costs.
  • the signal indicating a detection value of the sensor is transmitted a relatively long distance to the circuit board outside the body cavity through the wire, there is concern of noise being superimposed along the way and an S/N ratio of a signal deteriorating.
  • the pressure sensitive element is used as the sensor.
  • the pressure sensitive element has a limited resolution and has difficulty detecting a vibrating force at a high frequency or a relatively low force. Therefore, it is hard to say that the pressure sensitive element is appropriate to detect the contact state of the medical instrument with body tissues.
  • the vibration detection module 10 is detachable from the proximal end side of the forceps 301, and detects vibration generated in the distal end side of the forceps 301 while attached to the proximal end side. Therefore, it is possible to implement the distal end of the forceps 301 with a simpler and smaller configuration, and reduce a load on the patient or a risk of unintended contact with body tissues described above.
  • the vibration detection module 10 may be attachable to the existing forceps 301, it is unnecessary to provide a special configuration for attaching the vibration detection module 10 to the forceps 301. Therefore, an existing forceps can be used without change as the forceps 301, which does not lead to a significant increase in costs.
  • the vibration detection module 10 is detachable from the forceps 301, the vibration detection module 10 is attached to the forceps 301 only as necessary, and the vibration detection module 10 can be removed from the forceps 301 in a preparation or cleanup step. Therefore, since processes of the related art can be applied without change as processes performed on the forceps 301 when preparation or cleanup is performed, a preparation or cleanup task does not become complicated, and it is possible to further increase convenience for the medical staff related to the task.
  • the vibration detection module 10 is removed from the forceps 301, and the sterilization treatment can be separately performed on the vibration detection module 10 and the forceps 301. Therefore, the sterilization treatment can be performed on the forceps 301 using a known method, for example, the autoclave, and a task of the medical staff does not become complicated.
  • a sterilization treatment method that is less likely to influence operations of the first vibration sensor 120 and the second vibration sensor 130 can be used, for example, sterilization treatment using plasma. In this manner, in the present embodiment, since the vibration detection module 10 is detachable from the forceps 301, sterilization treatment can be performed on the vibration detection module 10 and the forceps 301 using an appropriate method.
  • the vibration detection module 10 may not be assumed to be repeatedly used, but may be assumed to be disposable. In this case, sterilization treatment is necessary in advance before surgery, but it is unnecessary to perform sterilization treatment on the vibration detection module 10 after surgery in medical facilities such as hospitals. Therefore, it is possible to decrease a load of the sterilization treatment task of the vibration detection module 10 in medical facilities.
  • the vibration detection module 10 may be covered with a drape when surgery is performed. In this case, since it is unnecessary to perform special sterilization treatment on the vibration detection module 10 itself, it is possible to further decrease a load of the sterilization treatment task.
  • the circuit board configured to perform various types of signal processing on a signal indicating a detection value of the vibration detection module 10 can be installed relatively close to the vibration detection module 10. Therefore, a wire connecting the vibration detection module 10 and the circuit board can be shorter and it is possible to suppress noise to the signal in the wire from being superimposed.
  • the vibration detection module 10 includes the first vibration sensor 120 configured to detect auditory vibration and the second vibration sensor 130 configured to detect tactile vibration. Therefore, according to the vibration detection module 10, it is possible to detect vibration of a frequency band that is difficult to detect using a general force sensor, and it is possible to detect a more detailed contact state of the medical instrument with body tissues. In addition, when the detected auditory vibration and tactile vibration are transmitted to the surgeon, the surgeon can obtain a more detailed contact state of the forceps 301 with body tissues of the patient, which was not possible to obtain with feedback by the general force sensor.
  • the vibration detection module 10 may not necessarily be configured to detect both auditory vibration and tactile vibration, but may be configured to detect at least one of auditory vibration and tactile vibration (that is, to include at least one of the first vibration sensor 120 and the second vibration sensor 130).
  • at least one of auditory vibration and tactile vibration is detectable, it is possible to detect vibration of a frequency band that is difficult to detect using the general force sensor, and it is possible to transmit a more detailed contact state to the surgeon.
  • the surgeon can more realistically feel, for example, a sense of gripping body tissues using the forceps 301 or a sense of sticking a needle into body tissues when a suture procedure is performed on body tissues while the needle is held using the forceps 301. Therefore, workability for the surgeon increases.
  • the surgeon can recognize the contact more intuitively and can take an appropriate action immediately, for example, moving the forceps 301. Therefore, it is possible to increase safety when surgery is performed.
  • FIG. 5 is a block diagram illustrating one configuration example of a surgical system to which the vibration detection module 10 according to the present embodiment may be applied.
  • FIG. 5 illustrates a configuration of a surgical system of a so-called master and slave method as the surgical system according to the present embodiment.
  • the surgical system of the master and slave method according to an instruction input by the surgeon on a master side through the input device such as a controller, an arm portion on a slave side and a medical instrument attached to the arm portion are driven, and various types of treatment are performed on an operative portion of the patient by the medical instrument.
  • a surgical system 1 includes a support arm device 210 having an arm portion that includes a distal end to which a medical instrument such as a forceps is attached, an input device 220 configured to manipulate the support arm device 210, a control system 230 configured to drive the support arm device 210 according to an instruction input through the input device 220, and a vibration transmission unit 240 configured to transmit vibration detected by the vibration detection module 10 attached to the support arm device 210 to the input device 220.
  • the support arm device 210 corresponds to a slave and the input device 220 corresponds to a master.
  • the surgical system 1 may include various components of a general surgical system of a master and slave method other than the illustrated components. Since various known components are applied as components (not illustrated), details thereof will be omitted.
  • an information transmission system may be broadly classified as a drive control system of the support arm device 210 and a system of transmitting vibration detected by the vibration detection module 10 to the surgeon.
  • a drive control system of the support arm device 210 will be described.
  • control system 230 In drive control of the support arm device 210, information indicating an instruction for driving an arm portion of the support arm device 210 input by the surgeon through an input unit 221 of the input device 220 is transmitted to the control system 230.
  • information indicating an instruction for driving the medical instrument may also be input to the control system 230 from the input unit 221 of the input device 220.
  • the input unit 221 may include an input mechanism, for example, a lever, a grip and/or a button.
  • a specific configuration of the input unit 221 is not limited thereto.
  • Various known components that may be provided in the input device of the general surgical system of the master and slave method may be applied as the input unit 221.
  • the control system 230 performs various types of calculation related to drive control of the support arm device 210. For example, in the control system 230, based on an instruction input through the input unit 221, a control amount for driving the arm portion of the support arm device 210 is computed.
  • the arm portion may be configured by rotatably connecting a plurality of links to each other by the joint portion. For example, when drive control of the support arm device 210 is performed by force control, as a control amount thereof, a torque that has to be generated in joint portions in order for the arm portion to implement a desired operation instructed by the surgeon may be computed.
  • a rotation angle that has to be generated in joint portions in order for the arm portion to implement a desired operation instructed by the surgeon may be computed.
  • a control amount for driving the medical instrument may be calculated by the control system 230.
  • control system 230 As a method of drive control of the support arm device 210 (the arm portion and/or the medical instrument), various known control methods may be used.
  • control system 230 a system compatible with an employed control method may be appropriately constructed. Since a specific configuration of the control system 230 may be similar to an existing configuration according to various control methods, details thereof will be omitted.
  • the drive unit 211 corresponds to, for example, a motor that is provided in joint portions of the arm portion and configured to rotatably drive the joint portions.
  • the drive unit 211 may correspond to a motor configured to operate the drive portion.
  • the support arm device 210 includes a state detection unit 212 configured to detect a state of the arm portion.
  • the state detection unit 212 corresponds to, for example, a force sensor (a torque sensor) or an encoder provided in joint portions of the arm portion. A force (torque) applied to each of the joint portions may be detected by the force sensor. In addition, a rotation angle of each of the joint portions may be detected by the encoder.
  • Information indicating a state of the arm portion detected by the state detection unit 212 is transmitted to the control system 230.
  • the control system 230 sequentially recognizes a current state of the arm portion based on the information, and computes the above-described control amount based on the recognized current state of the arm portion.
  • the force applied to the joint portions detected by the force sensor may reflect the force applied to the medical instrument attached to the distal end of the arm portion.
  • a force component applied to the medical instrument is extracted from the force applied to the joint portions detected by the force sensor and transmitted to a power presentation unit 222 of the input device 220.
  • the power presentation unit 222 includes, for example, a servomotor.
  • the vibration detection module 10 is attached to the proximal end side of the medical instrument. As described above in (1. Configuration of vibration detection module), the first vibration sensor 120 and the second vibration sensor 130 are mounted on the vibration detection module 10. Auditory vibration and tactile vibration generated in the medical instrument are detected by these vibration sensors.
  • the first vibration sensor 120 is, for example, a condenser microphone, and detects auditory vibration (that is, sound) generated in the forceps.
  • the second vibration sensor 130 is, for example, an acceleration sensor, and detects tactile vibration generated in the forceps. A signal indicating vibration detected by the first vibration sensor 120 and the second vibration sensor 130 is transmitted to a vibration presentation unit 223 of the input device 220 through the vibration transmission unit 240.
  • the vibration transmission unit 240 performs various types of signal processing such as an amplification process and a filtering process on the signal indicating vibration detected by the vibration detection module 10, and transmits the processed signal to the vibration presentation unit 223.
  • the vibration transmission unit 240 includes an amplifier configured to appropriately amplify a signal or a filter configured to extract only a component of a significant frequency band from the detected vibration.
  • the vibration presentation unit 223 of the input device 220 includes various devices configured to present vibration detected by the vibration detection module 10 to the surgeon.
  • the vibration presentation unit 223 includes an auditory vibration presentation unit 224 including an audio output device, for example, a speaker or an earphone, and a tactile vibration presentation unit 225 including a vibration element, for example, a voice coil.
  • the vibration transmission unit 240 includes pre-AMPs 241 and 244, low pass filters 242 and 245 (LPFs 242 and 245), and main AMPs 243 and 246.
  • the signal indicating auditory vibration detected by the first vibration sensor 120 is amplified by the pre-AMP 241, only a frequency component of a low frequency band is extracted by the LPF 242, and a frequency component of the low frequency band is amplified by the main AMP 243 and is transmitted to the auditory vibration presentation unit 224 of the input device 220.
  • the LPF 242 and the main AMP 243 is output from the speaker of the auditory vibration presentation unit 224, auditory vibration generated in the medical instrument is transmitted to the surgeon.
  • the signal indicating tactile vibration detected by the second vibration sensor 130 is amplified by the pre-AMP 244, only a frequency component of a low frequency band is extracted by the LPF 245, and the frequency component of the low frequency band is amplified by the main AMP 246 and transmitted to the tactile vibration presentation unit 225 of the input device 220.
  • the voice coil of the tactile vibration presentation unit 225 vibrates according to a signal indicating tactile vibration that has been processed by the pre-AMP 244, the LPF 245 and the main AMP 246, tactile vibration generated in the medical instrument is transmitted to the surgeon.
  • the pre-AMPs 241 and 244 may not be provided as a member separated from the vibration detection module 10 as one function of the vibration transmission unit 240 but may be provided in the vibration detection module 10. Accordingly, it is possible to further reduce noise that may be superimposed in the signal while the signal indicating vibration detected by the vibration detection module 10 is transmitted to the vibration transmission unit 240.
  • the configuration of the vibration transmission unit 240 is not limited to the illustrated example.
  • the vibration transmission unit 240 may be appropriately configured such that a desired frequency component may be further emphasized from the vibration detected by the vibration sensor according to a characteristic of the vibration sensor provided in the vibration detection module 10.
  • a frequency band that should be further emphasized and transmitted to the surgeon such as a frequency band indicating abnormality of body tissues with which the medical instrument approaches or comes into contact
  • the vibration transmission unit 240 may be configured such that a component of the frequency band may be further emphasized.
  • various types of processing that are generally performed as signal processing on a signal indicating vibration may be performed.
  • various known configurations may be applied to implement such functions.
  • the configuration of the vibration presentation unit 223 is not limited to the above-described configuration.
  • the vibration presentation unit 223 may be appropriately configured such that auditory vibration and tactile vibration may be appropriately transmitted to the surgeon.
  • FIG. 6 is a diagram illustrating one configuration example of a support arm device that may constitute a slave of the surgical system 1 according to the present embodiment.
  • a support arm device 400 includes a base portion 410, an arm portion 420 and a control device 440.
  • the support arm device 400 corresponds to the above-described support arm device 210 illustrated in FIG. 5 and is a medical support arm device configured to support a medical instrument such as a forceps when surgery is performed.
  • the base portion 410 is a base table of the support arm device 400, and the base portion 410 extends from the arm portion 420. Casters are provided at the base portion 410.
  • the support arm device 400 comes into contact with a floor through the casters, and is movable on the floor by the casters.
  • the configuration of the support arm device 400 according to the present embodiment is not limited thereto.
  • the support arm device 400 may be configured such that the arm portion 420 is directly attached to a ceiling or a wall surface of the operating room without the base portion 410.
  • the support arm device 400 is configured such that the arm portion 420 is suspended from the ceiling.
  • the control device 440 configured to perform various types of information processing in the surgical system 1 illustrated in FIG. 5 is provided in the base portion 410.
  • the control device 440 may be a processor, for example, a central processing unit (CPU) or a digital signal processor (DSP).
  • the control device 440 may be a control board or a microcomputer on which such a processor and a storage element such as a memory are mounted.
  • the processor of the control device 440 performs various types of signal processing according to a predetermined program, various operations in the surgical system 1 are performed.
  • control device 440 performs various types of processing performed by the control system 230 illustrated in FIG. 5 and integrally controls operations of the support arm device 400.
  • control device 440 performs various types of processing performed by the vibration transmission unit 240 illustrated in FIG. 5, performs various types of processing such as amplification and filtering on the signal indicating vibration detected by the vibration detection module 10, and transmits the signal to an input device (not illustrated) in a hand of the surgeon.
  • the arm portion 420 includes a plurality of joint portions 421a, 421b, 421c, 421d, 421e, and 421f, a plurality of links 422a, 422b, 422c, and 422d that are rotatably connected to each other by the joint portions 421a to 421e, and a holding unit 429 that is rotatably provided at a distal end of the arm portion 420 through the joint portion 421f.
  • the holding unit 429 holds various medical instruments.
  • a forceps 423 is attached to the holding unit 429.
  • the links 422a to 422d are bar-shaped members. One end of the link 422a is connected to the base portion 410 through the joint portion 421a. The other end of the link 422a is connected to one end of the link 422b through the joint portion 421b. Further, the other end of the link 422b is connected to one end of the link 422c through the joint portions 421c and 421d. Further, the other end of the link 422c is connected to one end of the substantially L-shaped link 422d through the joint portion 421e, and the other end of the link 422d and the holding unit 429 configured to hold the forceps 423 are connected through the joint portion 421f. In this manner, when ends of the plurality of links 422a to 422d are connected to each other by the joint portions 421a to 421f using the base portion 410 as a fulcrum, an arm shape extending from the base portion 410 is configured.
  • the forceps 423 corresponds to the above-described forceps 301 illustrated in FIG. 1.
  • a specific shape of the forceps 423 is not illustrated, and a bar-shaped member is simply illustrated.
  • the end effector configured to grip or cut body tissues of the patient is provided at the distal end of the forceps 423.
  • Positions and orientations of the arm portion 420 and the forceps 423 are controlled by the support arm device 400 such that the forceps 423 has a desired position and orientation with respect to body tissues of the patient when surgery is performed.
  • the actuator is provided in the joint portions 421a to 421f, and the joint portions 421a to 421f are rotatable with respect to a predetermined rotation axis by the actuator.
  • the actuator may include a motor, an encoder and a torque sensor.
  • the motor may correspond to the drive unit 211 illustrated in FIG. 5.
  • the encoder and the torque sensor may correspond to the state detection unit 212 illustrated in FIG. 5.
  • the control device 440 may compute a control amount of the motor of each of the actuators based on a state (that is, a state of the arm portion 420) of each of the joint portions 421a to 421f detected by the encoder and the torque sensor of the actuator.
  • the support arm device 400 includes the six joint portions 421a to 421f, and implements 6 degrees of freedom for driving the arm portion 420.
  • the arm portion 420 is configured to have 6 degrees of freedom, it is possible to freely move the forceps 423 within a movable range of the arm portion 420. Accordingly, the forceps 423 can be inserted into the patient at various angles, and degrees of freedom increase when the forceps 423 is manipulated.
  • the configuration of the arm portion 420 is not limited to the exemplified drawing.
  • the number and an arrangement of the joint portions 421a to 421f and the links 422a to 422d, and a direction of a drive shaft of the joint portions 421a to 421f may be appropriately set such that the arm portion 420 has a desired degree of freedom.
  • the arm portion 420 may be appropriately configured to have 6 or more degrees of freedom.
  • the surgeon inputs an instruction to the support arm device 400 through an input device (corresponds to the input device 220 illustrated in FIG. 5).
  • a signal indicating the instruction input through the input device is transmitted to the control device 440.
  • the control device 440 computes a control amount of the motor of the actuator of each of the joint portions 421a to 421f according to the instruction based on a state of each of the joint portions 421a to 421f detected by an encoder and a torque sensor of the actuator of each of the joint portions 421a to 421f.
  • the motor of each actuator is driven according to the computed control amount, the arm portion 420 is operated according to the instruction of the surgeon.
  • a control amount of the motor configured to operate the drive portion is computed by the control device 440 based on the instruction input through the input device, the motor is driven according to the computed control amount, and thus the forceps 423 is operated according to the instruction of the surgeon.
  • communication between the input device and the control device 440 may be performed by various known wired or wireless methods.
  • the vibration detection module 10 is attached to the proximal end side of the forceps 423. Vibration generated in a distal end side of the forceps 423 is detected by vibration sensors (the first vibration sensor 120 and the second vibration sensor 130 illustrated in FIG. 5) of the vibration detection module 10. A signal indicating the vibration is transmitted to the control device 440.
  • the control device 440 performs various types of processing (various types of processing corresponding to the vibration transmission unit 240 illustrated in FIG. 5) such as amplification and filtering on the signal, and transmits the signal to the input device in a hand of the surgeon.
  • a vibration presentation unit (corresponds to the vibration presentation unit 223 illustrated in FIG. 5) provided in the input device is driven according to the signal, vibration generated in the distal end side of the forceps 423 may be transmitted to the surgeon.
  • vibration detection module 10 may be performed by various known wired and wireless methods.
  • a circuit board configured to perform a function of the vibration transmission unit 240 may be separated from the control device 440, and arranged near the vibration detection module 10.
  • the vibration detection module 10 and the circuit board may be connected by a shorter wire. Accordingly, superimposition of noise before amplification by the amplifier in the signal indicating vibration detected by the vibration detection module 10 may be further suppressed.
  • a position and an orientation of the forceps 423 are controlled by driving the arm portion 420.
  • damping control may be performed.
  • damping control it is possible to determine a position of the forceps 423 with high precision, and increase operability for the surgeon.
  • a vibration sensor for damping control is provided in the arm portion 420 and/or the forceps 423, and damping control is performed based on a detection value of the vibration sensor.
  • the support arm device 400 may be configured such that damping control is performed based on a detection value of the vibration detection module 10. That is, the vibration detection module 10 may also perform a role of the vibration sensor for damping control. Accordingly, since damping control of the arm portion 420 can be performed without newly providing the vibration sensor for damping control, it is possible to perform damping control with lower costs and a simpler configuration.
  • the vibration detection module 10 is applied to the surgical system 1 of a so-called master and slave method.
  • the present embodiment is not limited thereto, but the vibration detection module 10 may be applied to other devices or systems.
  • the vibration detection module 10 may be applied to the medical instrument that the surgeon directly holds and manipulates by hand.
  • a manipulation unit such as a gripper for the surgeon to manipulate the medical instrument is provided in a proximal end side of the medical instrument.
  • the surgeon controls movement of the medical instrument. For example, in the case of the forceps, when the surgeon manipulates the manipulation unit provided in the proximal end side, an operation of the end effector at a distal end may be controlled.
  • the vibration detection module 10 is attached to the proximal end side (for example, a portion that is slightly at a distal end side relative to the manipulation unit) of the medical instrument that is directly manipulated by the surgeon in this manner, and may detect vibration generated in the distal end side of the medical instrument.
  • the tactile vibration presentation unit 225 of the vibration presentation unit 223 illustrated in FIG. 5 may be provided in the manipulation unit that is directly held by the surgeon such that vibration can be transmitted to a hand of the surgeon who manipulates the medical instrument.
  • the vibration detection module 10 may be applied to a medical instrument provided in a device for surgery training.
  • a history of vibration detected by the vibration detection module 10 in the device for training may be recorded in connection with the surgeon.
  • the recorded vibration history is analyzed, for example, it is possible to quantitatively acquire a difference between a characteristic of vibration generated in the medical instrument when a skilled person performs surgery and a characteristic of vibration generated in the medical instrument when a beginner performs surgery.
  • an amount of damage that may occur in body tissues due to the medical instrument is quantitatively shown according to the characteristic of vibration.
  • the surgeon can become familiar with a surgery method of the skilled person more easily.
  • vibration detection module 10 (4-3. Use of detection values of other vibration sensors)
  • a vibration sensor other than the first vibration sensor 120 and the second vibration sensor 130 of the vibration detection module 10 is attached to the forceps 423 and/or the arm portion 420 and a detection value of the other vibration sensor is used, it is possible to detect vibration using the vibration detection module 10 with higher precision.
  • the other vibration sensor may be provided in the housing 110 of the vibration detection module 10 as one component of the vibration detection module 10, or may be attached to the forceps 423 and/or the arm portion 420 as a separate member from the vibration detection module 10.
  • the other vibration sensor may be arranged to be separated only a known interval from a proximal end side relative to the first vibration sensor 120 and the second vibration sensor 130 in a longitudinal direction of the forceps 423.
  • the first vibration sensor 120, the second vibration sensor 130 and the other vibration sensor are arranged in this manner, it is possible to separately detect vibration delivered from the distal end side and the forceps 423 and vibration delivered from a root side of the forceps 423 based on detection values of such vibration sensors.
  • the vibration delivered from the root side of the forceps 423 is vibration caused by, for example, driving of the arm portion 420, and is vibration that is different from vibration that is normally intended to be detected and may become noise.
  • the configuration it is possible to remove a component of vibration that may become noise and is delivered from the root side of the forceps 423 from vibration detected by the first vibration sensor 120 and the second vibration sensor 130. Therefore, it is possible to extract only a vibration component which is a vibration component that is normally intended to be obtained and is delivered from the distal end side of the forceps 423 and detect vibration generated in the distal end side of the forceps 423 with higher precision.
  • the other vibration sensor may be arranged near a configuration that may be a noise source, for example, the motor of the actuator of the arm portion 420.
  • Noise canceling is performed on vibration detected by the first vibration sensor 120 and the second vibration sensor 130 of the vibration detection module 10 using information about vibration detected by the other vibration sensor. Therefore, it is possible to more appropriately reduce a noise component and detect vibration generated in the distal end side of the forceps 423 with higher precision.
  • a noise reduction process on vibration detected by the first vibration sensor 120 and the second vibration sensor 130 described above may be performed by, for example, the vibration transmission unit 240 illustrated in FIG. 5.
  • a noise reduction unit configured to perform various types of signal processing related to the noise reduction process may be provided.
  • the noise reduction unit is configured by a processor such as a CPU or a DSP, and the processor operates according to a predetermined program, predetermined signal processing related to the noise reduction process may be performed. Note that, since various known methods may be applied as a specific method of the noise reduction process, details thereof will be omitted herein.
  • the force sensor may be provided as the other vibration sensor.
  • the vibration detection module 10 may further include the force sensor in addition to the first vibration sensor 120 (that is, an auditory sensor) and/or the second vibration sensor 130 (that is, a tactile sensor) as the vibration sensor.
  • the first vibration sensor 120 and the second vibration sensor 130 are used to detect vibration of a frequency band that is difficult to detect by the force sensor.
  • vibration detection module 10 in addition to vibration of a frequency band corresponding to an auditory sense detected by the first vibration sensor 120 and/or vibration of a frequency band corresponding to a tactile sense detected by the second vibration sensor 130, vibration of a frequency band corresponding to a force detected by the force sensor can also be detected.
  • the vibration detection module 10 is configured to further include the force sensor, it is possible to detect vibration of a wider frequency band by the vibration detection module 10 and increase detection sensitivity of vibration.
  • a directional vibration sensor capable of extracting and detecting vibration delivered from a specific direction may be used. Accordingly, it is possible to appropriately detect only a vibration component delivered from the distal end side of the forceps 423 and detect vibration generated in the distal end side of the forceps 423 with higher precision.
  • the vibration detection module 10 includes the plurality of vibration sensors (the first vibration sensor 120 configured to detect auditory vibration and the second vibration sensor 130 configured to detect tactile vibration).
  • the present embodiment is not limited thereto.
  • one vibration sensor may be mounted on the vibration detection module 10.
  • the vibration detection module 10 may be configured to include only one multi-axis acceleration sensor that can detect not only vibration of a frequency band corresponding to a tactile sense but also vibration of a frequency band corresponding to an auditory sense and has a wider range of detection as the vibration sensor.
  • the one multi-axis acceleration sensor can also serve as the auditory sensor and the tactile sensor.
  • the motor of the actuator provided in the arm portion 420 may serve as a noise source when vibration is detected by the vibration detection module 10.
  • vibration detected by the vibration detection module 10 is corrected using information about actuator control, it is possible to remove a noise component caused by driving of the motor of the actuator, and detect vibration generated in the distal end side of the forceps 423 with higher precision.
  • a relation between the number of revolutions of the motor of the actuator provided in the arm portion 420 and a characteristic (for example, a frequency) of vibration generated at that time is acquired in advance. Therefore, based on information about the number of revolutions of the motor when vibration is detected by the vibration detection module 10, information about a characteristic of vibration generated due to driving of the motor at that time is acquired. Noise canceling is performed on vibration detected by the vibration detection module 10 using information about the vibration characteristic. Accordingly, it is possible to remove a noise component caused by driving of the motor of the actuator from vibration detected by the vibration detection module 10.
  • the information about the number of revolutions of the motor of the actuator can be obtained from a control system configured to control driving of the actuator.
  • the information about the number of revolutions of the motor of the actuator may be provided from the control system 230 to the vibration transmission unit 240.
  • the vibration transmission unit 240 can perform the noise canceling process described above and then transmit a signal indicating vibration to the input device 220.
  • a noise reduction unit configured to perform signal processing related to the noise reduction process may be provided in the vibration transmission unit 240. Based on the information about the number of revolutions of the motor, the noise canceling process may be performed by the noise reduction unit.
  • the vibration presentation unit includes an audio output device such as a speaker configured to transmit auditory vibration detected by the first vibration sensor 120 to the surgeon and a vibration element such as a voice coil configured to transmit tactile vibration detected by the second vibration sensor 130 to the surgeon.
  • an audio output device such as a speaker configured to transmit auditory vibration detected by the first vibration sensor 120 to the surgeon
  • a vibration element such as a voice coil configured to transmit tactile vibration detected by the second vibration sensor 130 to the surgeon.
  • a method of presenting auditory vibration and tactile vibration to the surgeon is not limited thereto. Auditory vibration and tactile vibration may be presented to the surgeon by various methods that may be generally assumed as a method of transmitting vibration.
  • the vibration presentation unit may include a display device configured to visually notify of information (for example, information indicating a characteristic such as a frequency) about detected auditory vibration and tactile vibration of the surgeon by text, a graph (waveform) and/or a color.
  • the display device may be installed in the operating room, or mounted on a device that is worn by the surgeon when used such as a wearable device of an HMD or eyeglass type.
  • a display device may be used to display, for example, an image of the operative portion imaged by the observation unit when surgery is performed while a state of the operative portion is observed by the observation unit such as an endoscope or a video microscope. That is, the image and information about auditory vibration and tactile vibration may also be displayed on the display device configured to display the image of the operative portion imaged by the observation unit such as the endoscope.
  • tactile vibration may include surface texture information or rigidity information of body tissues in contact with the forceps 423.
  • the vibration element is used as the vibration presentation unit, the surgeon can intuitively tactilely recognize such information by the vibration element, but it may be useful for such information to be notified of more explicitly through visual and/or auditory methods.
  • the surgeon may be notified of information to that effect through visual and/or auditory methods such as text and/or audio.
  • a medical apparatus including: medical vibration detection circuity that is detachable from a medical instrument at an attachment position of the medical instrument in a longitudinal direction and that is configured to detect vibration generated in a distinct portion of the medical instrument, the distinct portion including at least a portion disposed toward a distal end of the medical instrument from the attachment position.
  • the distinct portion includes at least a portion of the medical instrument between a distal end and the attachment position.
  • the vibration detection circuitry is attached to a proximal side of the medical instrument which is a side at which the medical instrument is supported, and is configured to detect vibration generated in the medical instrument in a distal side that approaches or comes into contact with a body tissue of a patient.
  • the medical vibration detection circuitry includes: a housing, and one or a plurality of vibration sensors disposed in the housing, wherein the one or plurality of vibration sensors detect at least one of vibration in a frequency band corresponding to an auditory sense and vibration in a frequency band corresponding to a tactile sense.
  • a seal that seals the housing is provided in a gap between an inside and an outside of the housing.
  • the one or plurality of vibration sensors include at least one of an auditory sensor that detects vibration in a frequency band corresponding to an auditory sense and a tactile sensor that detects vibration in a frequency band corresponding to a tactile sense.
  • the vibration sensor further includes a force sensor that detects vibration in a frequency band corresponding to a force sense.
  • the auditory sensor is a microphone and the tactile sensor is an acceleration sensor.
  • the vibration detection circuitry is further configured to output a signal representing the vibration detected by the vibration detection circuitry to provide feedback of the vibration to a surgeon who manipulates the medical instrument through a vibration sensitive human-machine interface.
  • the vibration sensitive human-machine interface includes an audio output device that outputs detected vibration at a frequency band corresponding to an auditory sense as audio and a vibrator that performs vibration according to detected vibration at a frequency band corresponding to a tactile sense.
  • the vibration sensitive human-machine interface presents information about the detected vibration to a surgeon.
  • the vibration sensitive human-machine interface presents, to the surgeon, at least one of surface texture information of a body tissue of a patient in contact with the medical instrument and rigidity information of the body tissue, the surface texture information and the rigidity information being obtained based on the detected vibration.
  • the medical vibration detection circuitry includes: a housing, and a plurality of vibration sensors arranged in the housing in parallel at predetermined intervals in a longitudinal direction of the medical instrument, wherein vibration delivered from a distal side of the medical instrument and vibration delivered from a proximal side of the medical instrument are separately detected by the plurality of vibration sensors.
  • the medical vibration detection circuitry includes: a housing, and one or a plurality of vibration sensors disposed in the housing, wherein the one or a plurality of vibration sensors is a directional vibration sensor that detects vibration delivered from a predetermined direction, and wherein the one or a plurality of vibration sensors is disposed to detect vibration delivered from a distal side of the medical instrument.
  • the vibration detection circuitry is attached to the medical instrument provided in a surgery training device and detects vibration generated in the medical instrument when training is performed.
  • a medical apparatus vibration detection method including: attaching vibration detection circuitry that is detachable from a medical instrument at an attachment position of the medical instrument in a longitudinal direction; and detecting, by the vibration detection circuitry, vibration generated in a distinct portion of the medical instrument, the distinct portion including at least a portion of the medical instrument disposed toward a distal end of the medical instrument from the attachment position.
  • a surgical system including: a medical instrument; a support arm device that supports the medical instrument; and medical vibration detection circuity that is detachable from a medical instrument at an attachment position of the medical instrument in a longitudinal direction and that is configured to detect vibration generated in a distinct portion of the medical instrument, the distinct portion including at least a portion of the medical instrument disposed toward a distal end of the medical instrument from the attachment position.
  • a vibration detection module that is detachable from a portion of a long medical instrument in a longitudinal direction and detects vibration generated in another portion of the medical instrument in the longitudinal direction separated from an attachment position.
  • a sealing member configured to seal the housing is provided in a gap that spatially connects an inside and an outside of the housing.
  • the vibration presentation unit includes a display device configured to visually notify the surgeon of information about the detected vibration.
  • the display device notifies the surgeon of at least one of surface texture information of a body tissue of a patient in contact with the medical instrument and rigidity information of the body tissue, the surface texture information and the rigidity information being obtained based on the detected vibration.
  • the vibration detection module according to any one of (22) to (37), including: a housing; and a plurality of vibration sensors arranged in the housing in parallel at predetermined intervals in a longitudinal direction of the medical instrument, wherein vibration delivered from a distal end side of the medical instrument and vibration delivered from a proximal end side of the medical instrument are separately detected by the plurality of vibration sensors.
  • the vibration detection module according to any one of (22) to (38), including: a housing; and one or a plurality of vibration sensors disposed in the housing, wherein the vibration sensor is a directional vibration sensor capable of extracting and detecting vibration delivered from a predetermined direction, and wherein the vibration sensor is disposed to extract and detect vibration delivered from a distal end side of the medical instrument.
  • a vibration detection method including: attaching a vibration detection module detachable from a long medical instrument to a portion of the medical instrument in a longitudinal direction and detecting, by the vibration detection module, vibration generated in another portion of the medical instrument in the longitudinal direction separated from an attachment position.
  • a surgical system including: a long medical instrument used for a patient; a support arm device configured to support the medical instrument; and a vibration detection module that is detachable from a portion of the medical instrument in a longitudinal direction, and detects vibration generated in another portion of the medical instrument in the longitudinal direction separated from an attachment position.
  • vibration detection module 110 housing 120 first vibration sensor 130 second vibration sensor 140 sealing member 150 cable 210, 400 support arm device 211 drive unit 212 state detection unit 220 input device 221 input unit 222 power presentation unit 223 vibration presentation unit 224 auditory vibration presentation unit 225 tactile vibration presentation unit 230 control system 240 vibration transmission unit 301, 423 forceps 303, 420 arm portion 410 base portion 421a to 421f joint portion 422a to 422d link 429 holding unit 440 control device

Landscapes

  • Health & Medical Sciences (AREA)
  • Surgery (AREA)
  • Life Sciences & Earth Sciences (AREA)
  • Engineering & Computer Science (AREA)
  • Medical Informatics (AREA)
  • Veterinary Medicine (AREA)
  • Biomedical Technology (AREA)
  • Heart & Thoracic Surgery (AREA)
  • Nuclear Medicine, Radiotherapy & Molecular Imaging (AREA)
  • Molecular Biology (AREA)
  • Animal Behavior & Ethology (AREA)
  • General Health & Medical Sciences (AREA)
  • Public Health (AREA)
  • Robotics (AREA)
  • Oral & Maxillofacial Surgery (AREA)
  • Pathology (AREA)
  • Human Computer Interaction (AREA)
  • Ophthalmology & Optometry (AREA)
  • Surgical Instruments (AREA)
PCT/JP2016/002368 2015-05-25 2016-05-13 Medical apparatus, medical apparatus vibration detection method, and surgical system Ceased WO2016189819A1 (en)

Priority Applications (3)

Application Number Priority Date Filing Date Title
US15/554,013 US10420625B2 (en) 2015-05-25 2016-05-13 Vibration detection module, vibration detection method, and surgical system
EP16729387.7A EP3267917A1 (en) 2015-05-25 2016-05-13 Medical apparatus, medical apparatus vibration detection method, and surgical system
CN201680028770.4A CN107635502B (zh) 2015-05-25 2016-05-13 医疗设备、医疗设备振动检测方法以及手术系统

Applications Claiming Priority (2)

Application Number Priority Date Filing Date Title
JP2015105241A JP6582549B2 (ja) 2015-05-25 2015-05-25 振動検出モジュール、振動検出装置、振動検出方法及び手術システム
JP2015-105241 2015-05-25

Publications (1)

Publication Number Publication Date
WO2016189819A1 true WO2016189819A1 (en) 2016-12-01

Family

ID=56131588

Family Applications (1)

Application Number Title Priority Date Filing Date
PCT/JP2016/002368 Ceased WO2016189819A1 (en) 2015-05-25 2016-05-13 Medical apparatus, medical apparatus vibration detection method, and surgical system

Country Status (5)

Country Link
US (1) US10420625B2 (enExample)
EP (1) EP3267917A1 (enExample)
JP (1) JP6582549B2 (enExample)
CN (1) CN107635502B (enExample)
WO (1) WO2016189819A1 (enExample)

Families Citing this family (30)

* Cited by examiner, † Cited by third party
Publication number Priority date Publication date Assignee Title
AU2016317908B2 (en) 2015-09-03 2021-05-27 Stryker Corporation Powered surgical drill with integral depth gauge that includes a probe that slides over the drill bit
JP7244985B2 (ja) 2017-05-19 2023-03-23 川崎重工業株式会社 操作装置及び操作システム
JP7223493B2 (ja) 2017-05-19 2023-02-16 川崎重工業株式会社 ロボットシステム
CN111263620A (zh) 2017-10-30 2020-06-09 索尼公司 主从系统及其控制方法
JP2019130602A (ja) * 2018-01-30 2019-08-08 ソニー株式会社 情報処理装置、情報処理方法、及びプログラム
JP2021182949A (ja) * 2018-08-13 2021-12-02 ソニーグループ株式会社 医療用装置、医療用装置部品、及びマスタースレーブシステム
CN109040884A (zh) * 2018-08-31 2018-12-18 上海联影医疗科技有限公司 基于医疗设备的语音系统
US12092185B2 (en) 2019-01-18 2024-09-17 Siemens Medical Solutions Usa, Inc. Single axis harmonic absorber for cantilever structure
US11517326B1 (en) 2019-02-07 2022-12-06 Stryker Corporation Methods and systems of determining drill breakthrough during surgical drilling
KR102238991B1 (ko) * 2019-05-23 2021-04-12 울산대학교 산학협력단 가이드와이어 접촉상태 추정 장치 및 방법
CN110169826B (zh) * 2019-06-17 2023-06-02 辽宁科技大学 一种柔性减振手术机器人导丝递送装置及方法
KR20220131311A (ko) * 2020-01-23 2022-09-27 프로맥소 인크. 생검용 mri 안내형 로봇 시스템 및 방법
DE102020108796A1 (de) 2020-03-30 2021-09-30 Carl Zeiss Meditec Ag Medizinisch-optisches Beobachtungsgerät mit opto-akustischer Sensorfusion
US11819302B2 (en) 2021-03-31 2023-11-21 Moon Surgical Sas Co-manipulation surgical system having user guided stage control
CA3212211A1 (en) 2021-03-31 2022-10-06 David Paul Noonan Co-manipulation surgical system for use with surgical instruments for performing laparoscopic surgery
US11844583B2 (en) 2021-03-31 2023-12-19 Moon Surgical Sas Co-manipulation surgical system having an instrument centering mode for automatic scope movements
US11832909B2 (en) 2021-03-31 2023-12-05 Moon Surgical Sas Co-manipulation surgical system having actuatable setup joints
US11812938B2 (en) 2021-03-31 2023-11-14 Moon Surgical Sas Co-manipulation surgical system having a coupling mechanism removeably attachable to surgical instruments
US12167900B2 (en) 2021-03-31 2024-12-17 Moon Surgical Sas Co-manipulation surgical system having automated preset robot arm configurations
US12178418B2 (en) 2021-03-31 2024-12-31 Moon Surgical Sas Co-manipulation surgical system having a coupling mechanism removeably attachable to surgical instruments
US12042241B2 (en) 2021-03-31 2024-07-23 Moon Surgical Sas Co-manipulation surgical system having automated preset robot arm configurations
EP4319672A1 (en) * 2021-04-08 2024-02-14 Covidien LP Surgical instruments, systems and attachments therefor utilizing vibration feedback
DE102021114038A1 (de) 2021-05-31 2022-12-01 Carl Zeiss Microscopy Gmbh Mikroskopiesystem und Verfahren zum Überwachen von Mikroskopvorgängen
WO2023126788A1 (en) * 2021-12-28 2023-07-06 Auris Health, Inc. Instrument tip vibration attenuation for a master-slave laparoscopic robotic surgery system
EP4505966A4 (en) * 2022-04-28 2025-06-11 RIVERFIELD Inc. REMOTE CONTROL SYSTEM
KR102531750B1 (ko) * 2022-11-29 2023-05-11 주식회사 에어스메디컬 진동 특성을 이용한 침습 장치 및 방법
US12370001B2 (en) 2023-01-09 2025-07-29 Moon Surgical Sas Co-manipulation surgical system having automated user override detection
US11839442B1 (en) 2023-01-09 2023-12-12 Moon Surgical Sas Co-manipulation surgical system for use with surgical instruments for performing laparoscopic surgery while estimating hold force
US11986165B1 (en) 2023-01-09 2024-05-21 Moon Surgical Sas Co-manipulation surgical system for use with surgical instruments for performing laparoscopic surgery while estimating hold force
CN117452148B (zh) * 2023-12-22 2024-03-26 星玛智能电气有限公司 一种环网柜的智能监控方法

Citations (6)

* Cited by examiner, † Cited by third party
Publication number Priority date Publication date Assignee Title
EP0125895A1 (en) * 1983-05-10 1984-11-21 Deep Ocean Engineering, Incorporated Method and apparatus providing audible feedback to operators of remotely controlled manipulators
JPH08117228A (ja) 1994-10-25 1996-05-14 Olympus Optical Co Ltd 生体情報提示装置
JPH1094512A (ja) 1996-09-25 1998-04-14 Olympus Optical Co Ltd 触覚検出装置
US20010039419A1 (en) * 2000-04-27 2001-11-08 Medtronic, Inc. Vibration sensitive ablation device and method
US20020120188A1 (en) * 2000-12-21 2002-08-29 Brock David L. Medical mapping system
US20120310257A1 (en) * 2010-02-09 2012-12-06 The Trustees Of The University Of Pennsylvania Systems and methods for providing vibration feedback in robotic systems

Family Cites Families (10)

* Cited by examiner, † Cited by third party
Publication number Priority date Publication date Assignee Title
US8808319B2 (en) * 2007-07-27 2014-08-19 Ethicon Endo-Surgery, Inc. Surgical instruments
WO2011088357A1 (en) * 2010-01-15 2011-07-21 Immersion Corporation Systems and methods for minimally invasive surgical tools with haptic feedback
US8801710B2 (en) * 2010-12-07 2014-08-12 Immersion Corporation Electrosurgical sealing tool having haptic feedback
US9554812B2 (en) * 2011-02-18 2017-01-31 DePuy Synthes Products, Inc. Tool with integrated navigation and guidance system and related apparatus and methods
JP2013169619A (ja) * 2012-02-21 2013-09-02 Seiko Epson Corp ロボットアーム、およびロボット
US9199098B2 (en) * 2012-09-05 2015-12-01 Olympus Corporation Ultrasonic treatment device
WO2014145866A2 (en) * 2013-03-15 2014-09-18 St. Jude Medical, Cardiology Division, Inc. Electrode contact feedback system
US9913642B2 (en) * 2014-03-26 2018-03-13 Ethicon Llc Surgical instrument comprising a sensor system
US10058395B2 (en) * 2014-08-01 2018-08-28 Intuitive Surgical Operations, Inc. Active and semi-active damping in a telesurgical system
US9949798B2 (en) * 2016-01-06 2018-04-24 Ethicon Endo-Surgery, Llc Methods, systems, and devices for controlling movement of a robotic surgical system

Patent Citations (6)

* Cited by examiner, † Cited by third party
Publication number Priority date Publication date Assignee Title
EP0125895A1 (en) * 1983-05-10 1984-11-21 Deep Ocean Engineering, Incorporated Method and apparatus providing audible feedback to operators of remotely controlled manipulators
JPH08117228A (ja) 1994-10-25 1996-05-14 Olympus Optical Co Ltd 生体情報提示装置
JPH1094512A (ja) 1996-09-25 1998-04-14 Olympus Optical Co Ltd 触覚検出装置
US20010039419A1 (en) * 2000-04-27 2001-11-08 Medtronic, Inc. Vibration sensitive ablation device and method
US20020120188A1 (en) * 2000-12-21 2002-08-29 Brock David L. Medical mapping system
US20120310257A1 (en) * 2010-02-09 2012-12-06 The Trustees Of The University Of Pennsylvania Systems and methods for providing vibration feedback in robotic systems

Also Published As

Publication number Publication date
CN107635502A (zh) 2018-01-26
CN107635502B (zh) 2021-02-19
US20180071047A1 (en) 2018-03-15
EP3267917A1 (en) 2018-01-17
JP6582549B2 (ja) 2019-10-02
US10420625B2 (en) 2019-09-24
JP2016214715A (ja) 2016-12-22

Similar Documents

Publication Publication Date Title
US10420625B2 (en) Vibration detection module, vibration detection method, and surgical system
JP7542040B2 (ja) 自動内視鏡ビデオ拡張
KR101785751B1 (ko) 로봇 시스템에서 진동 피드백을 제공하는 시스템 및 방법
US20190094084A1 (en) Fluid pressure based end effector force transducer
JP6620109B2 (ja) 手術器具と遠隔操作アクチュエータとの間の無菌障壁のための信号コネクタ
EP3634296B1 (en) Systems and methods for state-based speech recognition in a teleoperational system
KR20200045967A (ko) 수술 지원 장치, 그 제어 방법 및 기록 매체
US20190022857A1 (en) Control apparatus and control method
US12164684B2 (en) Gaze-initiated communications
CN105407817B (zh) 医疗系统和医疗用器具控制方法
JP2021118883A (ja) 医療用アーム装置、医療用アーム装置の作動方法、及び情報処理装置
US10991357B2 (en) Surgical tool having integrated microphones
CN112770688A (zh) 用于向手术机器人系统的用户提供辅助的方法和系统
JP2016214715A5 (enExample)
JP6546361B1 (ja) 手術支援装置
WO2023011440A1 (zh) 一种软内窥镜系统、软内窥镜辅助装置和操作方法
JP2020065910A (ja) 手術支援装置
JP6875690B1 (ja) 手術ロボット、及び手術ロボットの制御ユニット
WO2020028216A1 (en) Systems and methods for controlling a robotic manipulator or associated tool
KR20110107510A (ko) 자연개구부 내시경수술을 위한 장치 및 방법

Legal Events

Date Code Title Description
121 Ep: the epo has been informed by wipo that ep was designated in this application

Ref document number: 16729387

Country of ref document: EP

Kind code of ref document: A1

WWE Wipo information: entry into national phase

Ref document number: 15554013

Country of ref document: US

REEP Request for entry into the european phase

Ref document number: 2016729387

Country of ref document: EP

NENP Non-entry into the national phase

Ref country code: DE