WO2016158239A1 - 遊星歯車装置 - Google Patents

遊星歯車装置 Download PDF

Info

Publication number
WO2016158239A1
WO2016158239A1 PCT/JP2016/057138 JP2016057138W WO2016158239A1 WO 2016158239 A1 WO2016158239 A1 WO 2016158239A1 JP 2016057138 W JP2016057138 W JP 2016057138W WO 2016158239 A1 WO2016158239 A1 WO 2016158239A1
Authority
WO
WIPO (PCT)
Prior art keywords
inward flange
planetary gear
flange
valley
ring gear
Prior art date
Legal status (The legal status is an assumption and is not a legal conclusion. Google has not performed a legal analysis and makes no representation as to the accuracy of the status listed.)
Ceased
Application number
PCT/JP2016/057138
Other languages
English (en)
French (fr)
Japanese (ja)
Inventor
松岡 哲也
弘泰 西川
孝彦 坂野
茉左利 浅原
桂匡 佐藤
Current Assignee (The listed assignees may be inaccurate. Google has not performed a legal analysis and makes no representation or warranty as to the accuracy of the list.)
Kawasaki Heavy Industries Ltd
Kawasaki Motors Ltd
Original Assignee
Kawasaki Heavy Industries Ltd
Kawasaki Jukogyo KK
Priority date (The priority date is an assumption and is not a legal conclusion. Google has not performed a legal analysis and makes no representation as to the accuracy of the date listed.)
Filing date
Publication date
Application filed by Kawasaki Heavy Industries Ltd, Kawasaki Jukogyo KK filed Critical Kawasaki Heavy Industries Ltd
Priority to EP16772123.2A priority Critical patent/EP3279507B1/en
Publication of WO2016158239A1 publication Critical patent/WO2016158239A1/ja
Priority to US15/716,782 priority patent/US10274047B2/en
Anticipated expiration legal-status Critical
Ceased legal-status Critical Current

Links

Images

Classifications

    • FMECHANICAL ENGINEERING; LIGHTING; HEATING; WEAPONS; BLASTING
    • F16ENGINEERING ELEMENTS AND UNITS; GENERAL MEASURES FOR PRODUCING AND MAINTAINING EFFECTIVE FUNCTIONING OF MACHINES OR INSTALLATIONS; THERMAL INSULATION IN GENERAL
    • F16HGEARING
    • F16H1/00Toothed gearings for conveying rotary motion
    • F16H1/28Toothed gearings for conveying rotary motion with gears having orbital motion
    • FMECHANICAL ENGINEERING; LIGHTING; HEATING; WEAPONS; BLASTING
    • F16ENGINEERING ELEMENTS AND UNITS; GENERAL MEASURES FOR PRODUCING AND MAINTAINING EFFECTIVE FUNCTIONING OF MACHINES OR INSTALLATIONS; THERMAL INSULATION IN GENERAL
    • F16HGEARING
    • F16H1/00Toothed gearings for conveying rotary motion
    • F16H1/28Toothed gearings for conveying rotary motion with gears having orbital motion
    • F16H1/2809Toothed gearings for conveying rotary motion with gears having orbital motion with means for equalising the distribution of load on the planet gears
    • F16H1/2818Toothed gearings for conveying rotary motion with gears having orbital motion with means for equalising the distribution of load on the planet gears by allowing limited movement of the ring gear relative to the casing or shaft
    • FMECHANICAL ENGINEERING; LIGHTING; HEATING; WEAPONS; BLASTING
    • F16ENGINEERING ELEMENTS AND UNITS; GENERAL MEASURES FOR PRODUCING AND MAINTAINING EFFECTIVE FUNCTIONING OF MACHINES OR INSTALLATIONS; THERMAL INSULATION IN GENERAL
    • F16HGEARING
    • F16H57/00General details of gearing
    • F16H57/02Gearboxes; Mounting gearing therein
    • F16H57/023Mounting or installation of gears or shafts in the gearboxes, e.g. methods or means for assembly
    • FMECHANICAL ENGINEERING; LIGHTING; HEATING; WEAPONS; BLASTING
    • F16ENGINEERING ELEMENTS AND UNITS; GENERAL MEASURES FOR PRODUCING AND MAINTAINING EFFECTIVE FUNCTIONING OF MACHINES OR INSTALLATIONS; THERMAL INSULATION IN GENERAL
    • F16HGEARING
    • F16H57/00General details of gearing
    • F16H57/08General details of gearing of gearings with members having orbital motion
    • FMECHANICAL ENGINEERING; LIGHTING; HEATING; WEAPONS; BLASTING
    • F02COMBUSTION ENGINES; HOT-GAS OR COMBUSTION-PRODUCT ENGINE PLANTS
    • F02CGAS-TURBINE PLANTS; AIR INTAKES FOR JET-PROPULSION PLANTS; CONTROLLING FUEL SUPPLY IN AIR-BREATHING JET-PROPULSION PLANTS
    • F02C7/00Features, components parts, details or accessories, not provided for in, or of interest apart form groups F02C1/00 - F02C6/00; Air intakes for jet-propulsion plants
    • F02C7/36Power transmission arrangements between the different shafts of the gas turbine plant, or between the gas-turbine plant and the power user
    • FMECHANICAL ENGINEERING; LIGHTING; HEATING; WEAPONS; BLASTING
    • F05INDEXING SCHEMES RELATING TO ENGINES OR PUMPS IN VARIOUS SUBCLASSES OF CLASSES F01-F04
    • F05DINDEXING SCHEME FOR ASPECTS RELATING TO NON-POSITIVE-DISPLACEMENT MACHINES OR ENGINES, GAS-TURBINES OR JET-PROPULSION PLANTS
    • F05D2260/00Function
    • F05D2260/40Transmission of power
    • F05D2260/403Transmission of power through the shape of the drive components
    • F05D2260/4031Transmission of power through the shape of the drive components as in toothed gearing
    • F05D2260/40311Transmission of power through the shape of the drive components as in toothed gearing of the epicyclical, planetary or differential type
    • FMECHANICAL ENGINEERING; LIGHTING; HEATING; WEAPONS; BLASTING
    • F16ENGINEERING ELEMENTS AND UNITS; GENERAL MEASURES FOR PRODUCING AND MAINTAINING EFFECTIVE FUNCTIONING OF MACHINES OR INSTALLATIONS; THERMAL INSULATION IN GENERAL
    • F16HGEARING
    • F16H55/00Elements with teeth or friction surfaces for conveying motion; Worms, pulleys or sheaves for gearing mechanisms
    • F16H55/02Toothed members; Worms
    • F16H55/17Toothed wheels
    • F16H2055/176Ring gears with inner teeth

Definitions

  • the present invention relates to a planetary gear device used in a power transmission mechanism such as an aircraft.
  • this type of planetary gear device has a sun gear having external teeth, a plurality of planet gears having external teeth and meshing with the sun gear, and a rotating shaft of each planet gear supporting a plurality of planet gears.
  • a common planet carrier for positioning and a ring gear having internal teeth and meshing with a plurality of planet gears are provided (for example, see Patent Document 1).
  • Power generated by a power source such as a gas turbine engine is first input to the sun gear and then transmitted to the planet gear, for example.
  • the power transmitted to the planet gear can be extracted as two different outputs, that is, the rotational power of the ring gear due to the rotation of the planet gear and the rotational power of the planet carrier due to the revolution of the planet gear relative to the sun gear.
  • a bending moment acts on the engine during operation of the aircraft, and the engine structure Bending deformation occurs. Due to the influence of the bending deformation of the engine structure, the planetary gear device as a whole may also be bent, and due to this bending deformation, the parallelism between the planet gear and the sun gear and the ring gear meshing with the planet gear is shifted, that is, Misalignment occurs. When misalignment occurs, contact between gears and bearing pieces occurs.
  • a radial load is periodically applied to the connecting portion between the ring gear and the cylindrical support member located on the outer peripheral portion of the planetary gear device, that is, the flange for bolt insertion, due to the revolution of the planet gear.
  • the radial load causes a difference in radial displacement between the flange of the ring gear and the flange of the cylindrical support member. Fretting may occur between the two.
  • An object of the present invention is to solve the above-mentioned problems, and can prevent fretting between the ring gear and the cylindrical support member without causing an increase in the weight of the entire apparatus, and can provide a planet with excellent life performance.
  • the object is to provide a gear device.
  • a planetary gear device includes a sun gear having outer teeth fixed concentrically to a power input shaft, and a plurality of gears having outer teeth and meshing with the sun gear.
  • An outward flange projecting outward in the direction is provided over the entire circumference, and a corrugated inward flange having a plurality of projecting pieces projecting inward in the radial direction is provided over the entire circumference on the cylindrical support member.
  • the ring gear and the cylindrical support member are connected by fastening the outward flange and the inward flange with bolts and nuts, and the inward In the lunge, a shallow first trough and a second trough deeper than the first trough are formed as the trough so that the depth of the trough between the plurality of protrusions is periodically increased.
  • the depth of the valley means the radial position of the bottom (the outermost diameter side portion) of the valley that is recessed radially outward, and the depth of the valley is “deep”. “Means that the bottom of the valley is located on the outer diameter side, and“ the depth of the valley is “shallow” ”means that the bottom of the valley is located on the inner diameter side.
  • the weight of the planetary gear device can be reduced while securing the rigidity of the ring gear by providing the corrugated flange on the outer peripheral portion of the ring gear.
  • the rigidity of the projecting pieces required for the driving torque is ensured for the inward flange of the cylindrical support member. Meanwhile, the radial rigidity of the entire inward flange can be reduced, and the cylindrical support member can easily follow the deformation of the ring gear.
  • the inward flange is formed with a plurality of bolt insertion holes through which the bolts are inserted, and the depth of the second valley portion circumscribes the plurality of bolt insertion holes. It may be set deeper than the circumference of the virtual circle, and the depth of the first valley may be set shallower than the circumference of the virtual circle. According to this configuration, the portion of the inner diameter side than the outermost diameter side portion of the bolt insertion hole is present in the shallow valley portion, so that the rigidity of the projecting piece necessary for suppressing the deformation caused by the drive torque is increased. It can be secured.
  • a plurality of anti-rotation plates that prevent the nut from loosening are attached to the inward flange at predetermined intervals in the circumferential direction,
  • the second valley is located in a circumferential portion where the detent plate is not present, and the first valley is located in a circumferential portion where the detent plate is present. Therefore, the inward flange may be formed such that the depth of the valley portion is periodically increased. According to this configuration, the rigidity of the inward flange of the cylindrical support member and the rigidity of the non-rotating plate can be reduced while improving the efficiency of the assembly work by providing the non-rotating plate and fixing the nut. Therefore, occurrence of fretting between the flange surfaces can be prevented.
  • one of the detent plates is provided for two to five of the nuts arranged in succession, and arranged in succession at the inward flange.
  • One second trough may be formed for every two to five troughs.
  • an inner diameter side edge portion of the detent plate is formed in a corrugated shape having a ridge portion protruding in the radial direction of the support member and a valley portion recessed in the radial direction, and the detent plate Is arranged so that the circumferential position of the valley portion corresponds to the circumferential position of the valley portion of the inward flange, and the depth of the valley portion of the detent plate is inward of the support member. It may be shallower than the depth of the valley of the flange. According to this configuration, the strength of the detent plate made of a plate-like member having no cylindrical portion is sufficiently ensured.
  • the detent plate is attached to the inward flange via a plurality of fixing pins provided on the inward flange, and each of the plurality of fixing pins includes the first fixing pin.
  • FIG. 1 is a partially broken perspective view showing a planetary gear device according to an embodiment of the present invention. It is a longitudinal cross-sectional view of the planetary gear device of FIG. It is a longitudinal cross-sectional view which expands and shows the countersink periphery of the inward flange of the flex support of FIG.
  • FIG. 1 It is a disassembled perspective view which shows the connection structure of the ring gear and flex support of the planetary gear apparatus of FIG. It is a front view which shows the inward flange of the flex support of FIG. It is a front view which shows the state which attached the detent
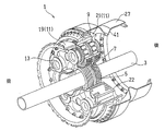
  • FIG. 1 is a perspective view showing a planetary gear device 1 according to an embodiment of the present invention.
  • the planetary gear device 1 is installed in, for example, a propeller-propelled aircraft engine and is connected to a gas turbine engine (not shown) via an input shaft 3.
  • the power of the gas turbine engine is transmitted to two rotors (not shown). Are transmitted as outputs independent of each other.
  • the planetary gear device 1 may be used to transmit power output to only one rotor.
  • the axial side on which the gas turbine engine is disposed (left side in FIG. 1) is referred to as the front side, and the opposite side is referred to as the rear side.
  • the “radial direction” refers to a radial direction centered on the same axis C1 as the input shaft 3 described later.
  • FIG. 2 is a longitudinal sectional view showing the planetary gear device 1 of FIG.
  • the planetary gear device 1 is configured as a double-row gear mechanism, and includes a sun gear 5, a plurality of planet gears 7, a ring gear 9, a planet carrier 11, and a planet shaft 13.
  • the sun gear 5 is a gear having external teeth composed of double-row helical gears inclined in opposite directions, and is fitted to the outer periphery of the input shaft 3 serving as a rotating shaft.
  • the planet gear 7 is a gear having a double row of external teeth made of a helical gear corresponding to the sun gear 5, and is rotatable on the outer periphery of a hollow planet shaft 13 serving as a rotation shaft via a double row bearing 15.
  • the ring gear 9 is a gear having internal teeth composed of double rows of helical gears, and meshes with the planet gear 7.
  • Each gear is not limited to a helical gear, and may be a spur gear, for example.
  • Each planet shaft 13 of the plurality of planet gears 7 is supported at its front end by an annular front plate 17 having the same axis C1 as the input shaft 3.
  • the front plate 17 is connected to an inner peripheral portion of a stub shaft 19 which is a cylindrical shaft arranged concentrically by a plurality of bolts.
  • a back plate 21 is connected to the back side of the front plate 17.
  • a plurality of support columns 22 (FIG. 1) are integrally formed on the back plate 21 at equal intervals in the circumferential direction, and the back plate 21 is bolted to the front plate 17 via these support columns 22.
  • the back plate 21 supports the rear end of the planet shaft 13.
  • the stub shaft 19 and the front plate 17 and the back plate 21 connected to each other via the stub shaft 19 constitute the planet carrier 11 that supports the planet shaft 13 and the planet gear 7.
  • the planet carrier 11 determines the relative position between the planet shafts 13, that is, the relative position between the planet gears 7.
  • the front end portion of the stub shaft 19 is connected to the front output shaft 23 concentric with the input shaft 3, and the power generated by the revolution of the plurality of planet gears 7 around the axis C 1 causes the stub shaft 19 and the front output shaft 23 to move. For example, it is output to the front propeller 26 as a driving force.
  • the ring gear 9 is coupled to a flex support 27 that is a cylindrical support member disposed concentrically with the input shaft 3.
  • the rear end portion of the flex support 27 is connected to a rear output shaft 29 concentric with the input shaft 3.
  • the connection structure between the ring gear 9 and the flex support 27 will be described in detail later.
  • the power generated by the rotation of the planet gear 7 around the rotation axis C2 is output to the rear propeller 32 as a driving force via the ring gear 9, the flex support 27 and the rear output shaft 29, for example.
  • the entire planetary gear device 1 is supported from the front by the input shaft 3 and the stub shaft 19 and from the rear by the flex support 27 that supports the ring gear 9.
  • the input shaft 3 and the stub shaft 19 (planet carrier 11) are formed as highly rigid members.
  • the flex support 27 is formed as a low-rigidity member having a flexible structure portion 41 having a V-shaped longitudinal section that is recessed on the inner diameter side.
  • the flex support 27 has a large-diameter cylindrical portion 43 formed on the ring gear 9 side and a small-diameter cylindrical portion 45 formed on the rear output side.
  • a flexible structure 41 is formed between the two.
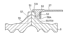
  • an outward flange 51 projecting radially outward is provided on the outer peripheral portion of the ring gear 9.
  • an inward flange 53 that protrudes radially inward is provided on the inner peripheral portion of the front end portion of the flex support 27.
  • the outward flange 51 of the ring gear 9 is provided on the outer periphery of the ring gear 9 over the entire circumference.
  • An inward flange 53 of the flex support 27 is provided on the inner peripheral portion of the flex support 27 over the entire circumference.
  • the outward flange 51 and the inward flange 53 are each formed in a chevron shape in which a plurality of wave shapes are connected in the circumferential direction.
  • the outward flange 51 of the ring gear 9 includes a flange main body 51 a that protrudes in a plate shape in the radial direction, and an annular connecting wall 55.
  • the annular connecting wall 55 extends while being inclined in the axial direction from the surface of the flange body 51a facing the flex support 27 side.
  • a plurality of valley portions 55a recessed toward the inner diameter side are formed at equal intervals over the entire circumference in the circumferential direction, and a portion between these valley portions 55a forms a peak portion 55b. . That is, in the outward flange 51, the trough portions 55a and the crest portions 55b of the annular connecting wall 55 are provided continuously at equal intervals over the entire circumference in the circumferential direction.
  • the ring gear 9 By providing the ring gear 9 with the annular connecting wall 55, the axial end of the ring gear 9 is prevented from jumping up.
  • bolt insertion holes 57 penetrating in the axial direction are provided at respective circumferential positions corresponding to the valley portions 55a of the connecting wall 55.
  • the inward flange 53 of the flex support 27 is formed in a corrugated shape having a plurality of projecting pieces 53a projecting radially inward. These projecting pieces 53 a are provided at equal intervals over the entire circumference of the inward flange 53. As shown in FIG. 5, each projecting piece 53a of the inward flange 53 corresponds to a corrugated peak, and a corrugated trough (hereinafter referred to as “inward flange trough” between adjacent projecting pieces 53a, 53a. 58) is formed. Further, as shown in FIG. 3, each projecting piece 53a is provided with a bolt insertion hole 59 penetrating in the axial direction.
  • a detent plate 63 that prevents the connection nut 61 from loosening is provided on the inward flange 53 side of the flex support 27.
  • Each of the connecting nuts 61 is fixed to the anti-rotation plate 63 in a state of being anti-rotated by, for example, a rivet.
  • the connection nut 61 may be fixed to the rotation stop plate 63 by other methods, for example, welding.
  • the outward flange 51 and the inward flange 53 are arranged so that the peak portion of the inward flange 53 of the flex support 27, that is, the axial end surface of the projecting piece 53a overlaps the valley 55a of the outward flange 51 of the ring gear 9 shown in FIG. 3, the connecting bolt 65 is inserted into the bolt insertion holes 57 and 59 from the ring gear 9 side and screwed into the connecting nut 61 fixed to the rotation stop plate 63 as shown in FIG.
  • the ring gear 9 and the flex support 27 are connected so as not to rotate relative to each other.
  • the peak portion 55 b of the connection wall 55 enters the position of the inward flange valley portion 58. Thereby, interference with the inward flange 53 and the peak part 55b of the connection wall 55 is avoided.
  • a plurality of detent plates 63 are provided at predetermined intervals in the circumferential direction.
  • a plurality (three in the illustrated example) of connecting nuts 61 are attached to each of the detent plates 63.
  • Each detent plate 63 is attached to the inward flange 53 of the flex support 27 by a fixing pin 67 shown in FIG.
  • a plurality (two in the illustrated example) of fixing pins 67 are provided at positions spaced apart in the circumferential direction of the outer peripheral portion of one rotation stopper plate 63.
  • the number and arrangement of the fixing pins 67 are arbitrary. However, by arranging the fixing pins 67 as shown in the figure, the connection nut 61 fixed to the detent plate 63 when the connection bolt 65 is fastened is connected to the connection bolt 65. It can be prevented from being carried around.
  • the flex support 27 inward flange 53 is formed such that the depth of the plurality of inward flange valleys 58 is increased periodically (that is, at regular intervals in the circumferential direction). . That is, the inward flange 53 is formed with a shallow first inward flange valley 58A and a second inward flange valley 58B deeper than the first inward flange valley 58A as the inward flange valley 58. These two kinds of valleys 58A and 58B are periodically arranged.
  • first inward flange valley 58A may be referred to as “shallow inward flange valley 58A” and the second inward flange valley 58B may be referred to as “deep inward flange valley 58B”. is there. Further, the first inward flange valley portion 58A and the second inward flange valley portion 58B may be collectively referred to as “inward flange valley portion 58” as necessary.
  • the depth of the deep inward flange valley portion 58B is set deeper than the circumference A of the virtual circle circumscribing the plurality of bolt insertion holes 59 provided in the inward flange 53, and the shallow inner flange
  • the depth of the facing flange valley portion 58A is set to be shallower than the circumference A of the virtual circle.
  • the depth of the inward flange valley portion 58 located in the circumferential direction portion where the detent plate 63 does not exist is the inward flange valley portion 58 located in the circumferential portion where the detent plate 63 exists.
  • the depth of the inward flange valley portion 58 of the flex support 27 is formed so as to be periodically increased.
  • the bottom of the inward flange valley 58 located in the circumferential portion where the detent plate 63 does not exist is the circumferential portion where the detent plate 63 exists. It is located in the outer diameter side rather than the bottom part of the inward flange valley part 58 located in.
  • the inward flange 53 of the flex support 27 has a circumferential direction.
  • One is formed.
  • the depth of all the inward flange valleys 58 is not uniformly increased, but the depth of the inward flange valleys 58 is periodically increased, that is, the shallow inward flange valleys.
  • the reason why the portions 58A and the deep inward flange valley portions 58B are periodically arranged is as follows. As shown in FIG. 9, the projecting piece 53a is deformed in the circumferential direction in the direction Rv opposite to the rotational direction due to the driving torque. Further, the projecting piece 53a receives a shearing force F on the surface of the ring gear 9 on the side in contact with the outward flange 51 (FIG. 3).
  • the projecting piece 53a Since this shearing force F does not act on the opposite surface of the projecting piece 53a, the projecting piece 53a receives a moment M and undergoes torsional deformation. In order to ensure the rigidity necessary to suppress these deformations, the number of deep valley portions 85B among the inward flange valley portions 58 between the plurality of projecting pieces 53a is equal to the radial rigidity of the inward flange 53. Should be the minimum necessary to reduce
  • the rotation prevention plate 63 when the rotation prevention plate 63 is attached to the inward flange 53 in contact with the axial direction, it is effective to deepen only the inward flange valley 58. It is difficult to reduce the circumferential rigidity of the orientation flange 53, and it is necessary to form a deep valley in the rotation stop plate 63 as well.
  • the anti-rotation plate 63 which is a plate-like member, does not have a cylindrical portion like the flex support 27. Therefore, when the anti-rotation plate 63 is formed with a deep valley as well, the anti-rotation plate 63 The radial dimension of the plate 63 is insufficient to ensure the strength.
  • the interval (pitch) at which the deep inward flange valleys 58B are provided is not limited to the illustrated example, but the deep inward flange valleys 58B are formed at a ratio of one to the plurality of inward flange valleys 58 for the following reason. It is preferable to provide it. Specifically, the interval at which the deep inward flange valley 58B is provided is preferably in the range of 2 to 5 pitches, and more preferably 3 pitches.
  • the low-rigidity portions are evenly arranged on the entire circumference of the inward flange 53.
  • the fixing pin 67 is provided on the outer peripheral portion of one rotation prevention plate 63 as described above.
  • each of the plurality of fixing pins 67 is arranged on the outer diameter side of the shallow inward flange valley portion 58 ⁇ / b> A and spaced apart from each other in the circumferential direction.
  • the fixing pin 67 may be omitted.
  • the ratio of the circumferential portion between the deep inward flange valley portions 58B to the entire circumference is arbitrary. However, it is preferably in the range of 1/20 to 1/12, more preferably in the range of 1/17 to 1/15. That is, the number of anti-rotation plates 63 provided over the entire circumference is preferably in the range of 12 to 20, and preferably in the range of 15 to 17.
  • the interval for providing the deep inward flange valley 58B is preferably in the range of 2 to 5 pitches, and more preferably 3 pitches.
  • the depth of the inward flange valley 58 located in the circumferential portion where the anti-rotation plate 63 does not exist is set to the inward flange. 53 is set deeper than the circumference of a virtual circle A circumscribing a plurality of bolt insertion holes 59 provided in 53.
  • the depth of the inward flange valley portion 58 located at the circumferential portion where the detent plate 63 exists is set to be shallower than the circumference A of the virtual circle.
  • the depth of the deep inward flange valley portion 58 ⁇ / b> B may be deep until it reaches the inner peripheral surface of the large diameter cylindrical portion 43 of the flex support 27.
  • the depth of the shallow inward flange valley 58A is arbitrarily set within a range not interfering with the connecting wall 55 of the outward flange 51 of the ring gear 9, as shown in FIG. Good.
  • the depth of the shallow inward flange valley portion 58A is set to be shallower than the circumference A of the virtual circle, the bottom of the valley portion 58A is more than the virtual circle circumference A.
  • the presence of the portion on the inner diameter side can reduce the moment arm for the load received from the connecting bolt 65, so that the bending stress in the circumferential direction can be effectively suppressed.
  • the rotation preventing plate 63 has a crest 63 a protruding in the radial direction of the flex support 27 and a trough 63 b recessed in the radial direction (hereinafter referred to as “rotating plate trough”). And the circumferential position of the detent plate trough 63b is arranged so as to correspond to the circumferential position of the inward flange trough 58 of the flex support 27.
  • the depth of the rotation stop plate valley portion 63 b is set to be shallower than the depth of the inward flange valley portion 58 of the flex support 27.
  • the weight of the planetary gear device 1 can be reduced while securing the rigidity of the ring gear 9 by providing the corrugated outward flange 51 on the outer peripheral portion of the ring gear 9. it can.
  • the protrusions required for the driving torque of the inward flanges 53 of the flex support 27 While securing the rigidity of the piece, the radial rigidity of the entire inward flange 53 can be reduced, and the flex support 27 can easily follow the deformation of the ring gear 9.

Landscapes

  • Engineering & Computer Science (AREA)
  • General Engineering & Computer Science (AREA)
  • Mechanical Engineering (AREA)
  • Retarders (AREA)
PCT/JP2016/057138 2015-03-30 2016-03-08 遊星歯車装置 Ceased WO2016158239A1 (ja)

Priority Applications (2)

Application Number Priority Date Filing Date Title
EP16772123.2A EP3279507B1 (en) 2015-03-30 2016-03-08 Planetary gear device
US15/716,782 US10274047B2 (en) 2015-03-30 2017-09-27 Planetary gear device with inward flange having recesses

Applications Claiming Priority (2)

Application Number Priority Date Filing Date Title
JP2015069325A JP6424128B2 (ja) 2015-03-30 2015-03-30 遊星歯車装置
JP2015-069325 2015-03-30

Related Child Applications (1)

Application Number Title Priority Date Filing Date
US15/716,782 Continuation US10274047B2 (en) 2015-03-30 2017-09-27 Planetary gear device with inward flange having recesses

Publications (1)

Publication Number Publication Date
WO2016158239A1 true WO2016158239A1 (ja) 2016-10-06

Family

ID=57004505

Family Applications (1)

Application Number Title Priority Date Filing Date
PCT/JP2016/057138 Ceased WO2016158239A1 (ja) 2015-03-30 2016-03-08 遊星歯車装置

Country Status (4)

Country Link
US (1) US10274047B2 (enExample)
EP (1) EP3279507B1 (enExample)
JP (1) JP6424128B2 (enExample)
WO (1) WO2016158239A1 (enExample)

Families Citing this family (10)

* Cited by examiner, † Cited by third party
Publication number Priority date Publication date Assignee Title
FR3042568B1 (fr) * 2015-10-16 2017-11-10 Hispano-Suiza Couronne dentee pour reducteur epicycloidal
DE102018115617A1 (de) * 2018-06-28 2020-01-02 Rolls-Royce Deutschland Ltd & Co Kg Planetengetriebe und Flugzeuggasturbine mit einem Planetengetriebe
CN111963630A (zh) * 2020-08-25 2020-11-20 飞而康快速制造科技有限责任公司 一种一体成型的齿轮结构
CN113027996A (zh) * 2021-03-30 2021-06-25 武汉理工大学 一种采用人字齿轮行星减速机构的rv减速器
FR3145588B1 (fr) * 2023-02-06 2025-11-07 Safran Trans Systems Turbomachine comprenant un reducteur de vitesse ayant des brides de fixation accouplees par un accouplement a dentures.
FR3151640B1 (fr) * 2023-07-27 2025-07-25 Safran Trans Systems Reducteur mecanique pour une turbomachine
FR3151639B1 (fr) 2023-07-27 2025-07-25 Safran Trans Systems Reducteur mecanique pour une turbomachine
NO348979B1 (no) * 2023-08-08 2025-08-18 Ra Wind As Giranordning for vindturbin
GB2632831A (en) * 2023-08-22 2025-02-26 Univ Nottingham Trent Improvements relating to robotic apparatus
FR3155562B1 (fr) 2023-11-21 2025-11-07 Safran Trans Systems Turbomachine comprenant un reducteur de vitesse ayant des brides de fixation reliees a un stator de la turbomachine

Citations (2)

* Cited by examiner, † Cited by third party
Publication number Priority date Publication date Assignee Title
JP2000002306A (ja) * 1998-06-16 2000-01-07 Harmonic Drive Syst Ind Co Ltd 波動歯車装置
WO2012070199A1 (ja) * 2010-11-25 2012-05-31 川崎重工業株式会社 遊星歯車減速装置

Family Cites Families (4)

* Cited by examiner, † Cited by third party
Publication number Priority date Publication date Assignee Title
GB1085088A (en) * 1965-08-10 1967-09-27 Ass Elect Ind Improvements in or relating to epicyclic helical gearboxes
US5433674A (en) 1994-04-12 1995-07-18 United Technologies Corporation Coupling system for a planetary gear train
JP4975081B2 (ja) * 2009-10-30 2012-07-11 川崎重工業株式会社 遊星歯車減速装置
JP4785976B1 (ja) * 2010-04-13 2011-10-05 川崎重工業株式会社 遊星歯車装置

Patent Citations (2)

* Cited by examiner, † Cited by third party
Publication number Priority date Publication date Assignee Title
JP2000002306A (ja) * 1998-06-16 2000-01-07 Harmonic Drive Syst Ind Co Ltd 波動歯車装置
WO2012070199A1 (ja) * 2010-11-25 2012-05-31 川崎重工業株式会社 遊星歯車減速装置

Also Published As

Publication number Publication date
US20180038448A1 (en) 2018-02-08
EP3279507A4 (en) 2019-03-06
EP3279507A1 (en) 2018-02-07
JP6424128B2 (ja) 2018-11-14
JP2016188681A (ja) 2016-11-04
US10274047B2 (en) 2019-04-30
EP3279507B1 (en) 2020-10-21

Similar Documents

Publication Publication Date Title
JP6424128B2 (ja) 遊星歯車装置
JP5411111B2 (ja) 遊星歯車減速装置
JP4975081B2 (ja) 遊星歯車減速装置
JP5545844B2 (ja) 遊星歯車減速装置
JP5088970B2 (ja) 偏心型減速機
KR20110135921A (ko) 테이퍼된 플렉스 핀을 구비한 기어 조립체
KR101992998B1 (ko) 하모닉 드라이브
JP7186171B2 (ja) 撓み噛合い式歯車装置
US20170059024A1 (en) Wave generator for strain wave gearing and method for producing wave generator
JP6076815B2 (ja) 減速機
EP2241780B1 (en) Planetary reduction gear apparatus
KR20110034660A (ko) 유성 증속기
KR102225250B1 (ko) 유성 기어용 유성 바퀴 캐리어
US20110219894A1 (en) Torque Transmission Assembly, Particularly For The Drivetrain Of A Vehicle
JP5879786B2 (ja) カップリング装置
KR20230063530A (ko) 유압모터용 감속기
US12234902B2 (en) Strain wave gearing
JP7356806B2 (ja) 軸装置、歯車機構及びオイルシール
CN219242616U (zh) 一种偏航齿轮箱行星架
WO2025258018A1 (ja) シルクハット型波動歯車装置
JP2010014239A (ja) 偏心型減速機
WO2024232047A1 (ja) 部品の締結構造および波動歯車装置
KR20240109507A (ko) 스냅링 및 이를 포함하는 동력 전달 장치
JP2014151813A (ja) 車輪支持装置
JP2020109299A (ja) スプロケット

Legal Events

Date Code Title Description
121 Ep: the epo has been informed by wipo that ep was designated in this application

Ref document number: 16772123

Country of ref document: EP

Kind code of ref document: A1

REEP Request for entry into the european phase

Ref document number: 2016772123

Country of ref document: EP

NENP Non-entry into the national phase

Ref country code: DE