WO2016151939A1 - レーザレーダ装置及び走行体 - Google Patents

レーザレーダ装置及び走行体 Download PDF

Info

Publication number
WO2016151939A1
WO2016151939A1 PCT/JP2015/082563 JP2015082563W WO2016151939A1 WO 2016151939 A1 WO2016151939 A1 WO 2016151939A1 JP 2015082563 W JP2015082563 W JP 2015082563W WO 2016151939 A1 WO2016151939 A1 WO 2016151939A1
Authority
WO
WIPO (PCT)
Prior art keywords
light
light receiving
line sensor
target area
laser
Prior art date
Legal status (The legal status is an assumption and is not a legal conclusion. Google has not performed a legal analysis and makes no representation as to the accuracy of the status listed.)
Ceased
Application number
PCT/JP2015/082563
Other languages
English (en)
French (fr)
Japanese (ja)
Inventor
川添 浩平
窪田 隆博
Current Assignee (The listed assignees may be inaccurate. Google has not performed a legal analysis and makes no representation or warranty as to the accuracy of the list.)
Mitsubishi Heavy Industries Ltd
Original Assignee
Mitsubishi Heavy Industries Ltd
Priority date (The priority date is an assumption and is not a legal conclusion. Google has not performed a legal analysis and makes no representation as to the accuracy of the date listed.)
Filing date
Publication date
Application filed by Mitsubishi Heavy Industries Ltd filed Critical Mitsubishi Heavy Industries Ltd
Priority to SG11201707741UA priority Critical patent/SG11201707741UA/en
Priority to US15/557,995 priority patent/US11009606B2/en
Publication of WO2016151939A1 publication Critical patent/WO2016151939A1/ja
Anticipated expiration legal-status Critical
Ceased legal-status Critical Current

Links

Images

Classifications

    • GPHYSICS
    • G01MEASURING; TESTING
    • G01SRADIO DIRECTION-FINDING; RADIO NAVIGATION; DETERMINING DISTANCE OR VELOCITY BY USE OF RADIO WAVES; LOCATING OR PRESENCE-DETECTING BY USE OF THE REFLECTION OR RERADIATION OF RADIO WAVES; ANALOGOUS ARRANGEMENTS USING OTHER WAVES
    • G01S17/00Systems using the reflection or reradiation of electromagnetic waves other than radio waves, e.g. lidar systems
    • G01S17/02Systems using the reflection of electromagnetic waves other than radio waves
    • G01S17/06Systems determining position data of a target
    • G01S17/42Simultaneous measurement of distance and other co-ordinates
    • BPERFORMING OPERATIONS; TRANSPORTING
    • B61RAILWAYS
    • B61LGUIDING RAILWAY TRAFFIC; ENSURING THE SAFETY OF RAILWAY TRAFFIC
    • B61L23/00Control, warning or like safety means along the route or between vehicles or trains
    • B61L23/04Control, warning or like safety means along the route or between vehicles or trains for monitoring the mechanical state of the route
    • B61L23/041Obstacle detection
    • BPERFORMING OPERATIONS; TRANSPORTING
    • B61RAILWAYS
    • B61LGUIDING RAILWAY TRAFFIC; ENSURING THE SAFETY OF RAILWAY TRAFFIC
    • B61L29/00Safety means for rail/road crossing traffic
    • GPHYSICS
    • G01MEASURING; TESTING
    • G01BMEASURING LENGTH, THICKNESS OR SIMILAR LINEAR DIMENSIONS; MEASURING ANGLES; MEASURING AREAS; MEASURING IRREGULARITIES OF SURFACES OR CONTOURS
    • G01B11/00Measuring arrangements characterised by the use of optical techniques
    • G01B11/24Measuring arrangements characterised by the use of optical techniques for measuring contours or curvatures
    • GPHYSICS
    • G01MEASURING; TESTING
    • G01CMEASURING DISTANCES, LEVELS OR BEARINGS; SURVEYING; NAVIGATION; GYROSCOPIC INSTRUMENTS; PHOTOGRAMMETRY OR VIDEOGRAMMETRY
    • G01C3/00Measuring distances in line of sight; Optical rangefinders
    • G01C3/02Details
    • G01C3/06Use of electric means to obtain final indication
    • GPHYSICS
    • G01MEASURING; TESTING
    • G01SRADIO DIRECTION-FINDING; RADIO NAVIGATION; DETERMINING DISTANCE OR VELOCITY BY USE OF RADIO WAVES; LOCATING OR PRESENCE-DETECTING BY USE OF THE REFLECTION OR RERADIATION OF RADIO WAVES; ANALOGOUS ARRANGEMENTS USING OTHER WAVES
    • G01S17/00Systems using the reflection or reradiation of electromagnetic waves other than radio waves, e.g. lidar systems
    • G01S17/88Lidar systems specially adapted for specific applications
    • G01S17/89Lidar systems specially adapted for specific applications for mapping or imaging
    • GPHYSICS
    • G01MEASURING; TESTING
    • G01SRADIO DIRECTION-FINDING; RADIO NAVIGATION; DETERMINING DISTANCE OR VELOCITY BY USE OF RADIO WAVES; LOCATING OR PRESENCE-DETECTING BY USE OF THE REFLECTION OR RERADIATION OF RADIO WAVES; ANALOGOUS ARRANGEMENTS USING OTHER WAVES
    • G01S17/00Systems using the reflection or reradiation of electromagnetic waves other than radio waves, e.g. lidar systems
    • G01S17/88Lidar systems specially adapted for specific applications
    • G01S17/93Lidar systems specially adapted for specific applications for anti-collision purposes
    • G01S17/931Lidar systems specially adapted for specific applications for anti-collision purposes of land vehicles
    • GPHYSICS
    • G01MEASURING; TESTING
    • G01SRADIO DIRECTION-FINDING; RADIO NAVIGATION; DETERMINING DISTANCE OR VELOCITY BY USE OF RADIO WAVES; LOCATING OR PRESENCE-DETECTING BY USE OF THE REFLECTION OR RERADIATION OF RADIO WAVES; ANALOGOUS ARRANGEMENTS USING OTHER WAVES
    • G01S7/00Details of systems according to groups G01S13/00, G01S15/00, G01S17/00
    • G01S7/48Details of systems according to groups G01S13/00, G01S15/00, G01S17/00 of systems according to group G01S17/00
    • G01S7/481Constructional features, e.g. arrangements of optical elements
    • G01S7/4816Constructional features, e.g. arrangements of optical elements of receivers alone
    • GPHYSICS
    • G01MEASURING; TESTING
    • G01SRADIO DIRECTION-FINDING; RADIO NAVIGATION; DETERMINING DISTANCE OR VELOCITY BY USE OF RADIO WAVES; LOCATING OR PRESENCE-DETECTING BY USE OF THE REFLECTION OR RERADIATION OF RADIO WAVES; ANALOGOUS ARRANGEMENTS USING OTHER WAVES
    • G01S7/00Details of systems according to groups G01S13/00, G01S15/00, G01S17/00
    • G01S7/48Details of systems according to groups G01S13/00, G01S15/00, G01S17/00 of systems according to group G01S17/00
    • G01S7/481Constructional features, e.g. arrangements of optical elements
    • G01S7/4817Constructional features, e.g. arrangements of optical elements relating to scanning
    • GPHYSICS
    • G01MEASURING; TESTING
    • G01SRADIO DIRECTION-FINDING; RADIO NAVIGATION; DETERMINING DISTANCE OR VELOCITY BY USE OF RADIO WAVES; LOCATING OR PRESENCE-DETECTING BY USE OF THE REFLECTION OR RERADIATION OF RADIO WAVES; ANALOGOUS ARRANGEMENTS USING OTHER WAVES
    • G01S7/00Details of systems according to groups G01S13/00, G01S15/00, G01S17/00
    • G01S7/48Details of systems according to groups G01S13/00, G01S15/00, G01S17/00 of systems according to group G01S17/00
    • G01S7/483Details of pulse systems
    • G01S7/486Receivers
    • G01S7/4865Time delay measurement, e.g. time-of-flight measurement, time of arrival measurement or determining the exact position of a peak
    • BPERFORMING OPERATIONS; TRANSPORTING
    • B61RAILWAYS
    • B61LGUIDING RAILWAY TRAFFIC; ENSURING THE SAFETY OF RAILWAY TRAFFIC
    • B61L29/00Safety means for rail/road crossing traffic
    • B61L29/24Means for warning road traffic that a gate is closed or closing, or that rail traffic is approaching, e.g. for visible or audible warning
    • B61L29/28Means for warning road traffic that a gate is closed or closing, or that rail traffic is approaching, e.g. for visible or audible warning electrically operated
    • B61L29/30Supervision, e.g. monitoring arrangements
    • GPHYSICS
    • G08SIGNALLING
    • G08GTRAFFIC CONTROL SYSTEMS
    • G08G1/00Traffic control systems for road vehicles
    • G08G1/16Anti-collision systems
    • G08G1/165Anti-collision systems for passive traffic, e.g. including static obstacles, trees
    • GPHYSICS
    • G08SIGNALLING
    • G08GTRAFFIC CONTROL SYSTEMS
    • G08G1/00Traffic control systems for road vehicles
    • G08G1/16Anti-collision systems
    • G08G1/166Anti-collision systems for active traffic, e.g. moving vehicles, pedestrians, bikes

Definitions

  • the present invention relates to a laser radar device that generates three-dimensional information of a measurement target area by scanning a laser beam, and a traveling body.
  • three-dimensional information of the measurement target area is obtained from the distribution of light reception signals obtained by irradiating laser light while scanning the measurement target area and receiving reflected light from an object or the like present in the measurement target area by the light receiving element.
  • Laser radar devices are known to generate.
  • a scanner is provided on each of the transmitting side of the laser beam and the receiving side of the reflected light, and is adjusted to the mirror angle (transmission angle of the laser beam) of the scanner on the transmitting side during scanning. Reflected light is made to enter the light receiving element by adjusting the mirror angle (light receiving angle of the reflected light) of the scanner on the light receiving side as needed.
  • the scanners are provided on both the light transmission side and the light reception side, there is a problem that the size of the entire laser radar apparatus is increased.
  • the laser radar device includes a long light receiving element array in which long light receiving elements are arranged in an array in a direction orthogonal to the long direction of the light receiving element, a transimpedance amplifier array for amplifying a received signal, and a transimpedance amplifier array.
  • Patent No. 5602225 gazette
  • the long light receiving element array in which the long light receiving elements are arrayed in the direction perpendicular to the longitudinal direction of the light receiving element is provided, and each long light receiving element arranged in the array receives
  • the addition circuit for adding the reception signal is required, and the device configuration and the signal processing become complicated.
  • the present invention is made in view of the above, and an object of the present invention is to provide a laser radar device and a traveling body which can realize scanless on the light receiving side with a simple configuration.
  • the present invention provides a laser light source, a light transmission side lens for forming laser light emitted from the laser light source into a line extending in a predetermined first direction, and a line A scanner for irradiating a laser beam shaped into the shape in a second direction orthogonal to the first direction in a measurement target area, a light receiving side lens for receiving reflected light reflected from the measurement target area, and a light receiving side A light receiving line sensor disposed on the downstream side of the lens and having a plurality of light receiving cells arranged along the first direction, and a light receiving side lens disposed between the light receiving side lens and the light receiving line sensor and reflected by the light receiving side lens
  • the light is collected toward the light receiving line sensor, and the light receiving side optical system in which the magnification to be collected in the second direction is set larger than the magnification to be collected in the first direction Based on the received signal, characterized in that it comprises an information generation unit for generating three-dimensional information of the measurement
  • the reflected light received by the light receiving side lens is disposed between the light receiving line sensor having the plurality of light receiving cells arranged along the first direction and the light receiving side lens and the light receiving line sensor Since the light receiving side optical system is configured to collect light toward the light receiving line sensor and the magnification to be collected in the second direction is set larger than the magnification to be collected in the first direction, the entire measurement target area It can be included in the sensor field of view of the light receiving line sensor, and scanless on the light receiving side can be realized with a simple configuration.
  • the light receiving side optical system is disposed near or at the back of the image forming position of the light receiving side lens, and is a relay lens and a condenser lens for condensing the substantially parallel light flux transmitted from the relay lens toward the light receiving line sensor And may be provided.
  • the imaging information of the light receiving side lens can be condensed on the light receiving line sensor with a simple configuration in which two types of lenses are combined.
  • the information generation unit uses positional information in the first direction acquired based on pixel information of the light receiving cell that received the reflected light, and light round trip time from irradiation of the laser light to light reception by the light reception line sensor. Even if three-dimensional information of the measurement target area is generated from the acquired distance information to the measurement target area and the position information of the second direction acquired based on the light transmission control angle of the scanner when irradiating the laser light. good. According to this configuration, it is not necessary to acquire spatial position coordinates of the received signal due to the field-of-view scan on the light receiving side, so the load of signal processing for generating three-dimensional information can be reduced.
  • the above-described laser radar device may be mounted on a traveling body. According to this configuration, three-dimensional information of the traveling route of the traveling body can be constantly acquired, and driving support of the traveling body can be performed.
  • the reflected light received by the light receiving side lens is disposed between the light receiving line sensor having the plurality of light receiving cells arranged along the first direction and the light receiving side lens and the light receiving line sensor. Since the light receiving side optical system is configured to collect light toward the light receiving line sensor and the magnification to be collected in the second direction is set larger than the magnification to be collected in the first direction, the entire measurement target area It can be included in the sensor field of view of the light receiving line sensor, and scanless on the light receiving side can be realized with a simple configuration.
  • FIG. 1 is a schematic configuration diagram of a laser radar device according to the present embodiment.
  • FIG. 2 is a schematic view showing a peripheral configuration including the light receiving side optical system.
  • FIG. 3 is a perspective view showing the configuration of a condensing lens.
  • FIG. 4 is a view showing a modification of the light receiving line sensor.
  • FIG. 5-1 is a perspective view showing a configuration in which a laser radar device is mounted on a train traveling on a track.
  • FIG. 5-2 is a side view showing a configuration in which a laser radar device is mounted on a train traveling on a track.
  • FIG. 6 is a perspective view showing a configuration in which a laser radar device is mounted on a vehicle.
  • FIG. 1 is a schematic configuration diagram of a laser radar device according to the present embodiment.
  • the laser radar device 1 has, for example, a line-shaped laser beam L extending in a horizontal direction (first direction) X with respect to a predetermined measurement target area A set in advance. While scanning in a vertical direction (second direction) Y perpendicular to the light source, the reflected light R of the laser light L is received to generate three-dimensional information of the measurement target area A.
  • the laser radar device 1 is mounted, for example, forward in the traveling direction of a vehicle (traveling body) such as a train traveling on a track, and generates three-dimensional information of a measurement target area set in the traveling direction of the vehicle. Thus, it is possible to determine whether an obstacle is present in the traveling direction of the vehicle by using the generated three-dimensional information.
  • the laser radar device 1 includes a laser light source 11, a light transmitting side lens 12, a scanner 13, a light receiving side lens 16, a light receiving side optical system 17, a light receiving line sensor 18, and an amplifier circuit. 19 includes a distance calculation unit 20, an information generation unit 21, a light source control unit 30, and a scanner control unit 31.
  • the light source control unit 30 controls the operation of the laser light source 11.
  • the scanner control unit 31 controls the operation of the scanner 13.
  • the light source control unit 30 has a master clock of the laser radar device 1 and transmits a pulse-like light emission synchronization signal to the distance calculation unit 20 simultaneously with the light emission of the laser light L.
  • the laser radar device 1 irradiates while scanning a linear laser light L extending in the horizontal direction X in the vertical direction Y of the measurement target area A.
  • the measurement target area A is an area set at a position away from the laser radar device 1 by a predetermined distance.
  • the measurement target area A is updated as needed according to the travel of the vehicle.
  • the laser light source 11 emits a laser beam L.
  • the laser beam L for example, a laser beam having a wavelength of 200 to 2000 nm is used.
  • the laser light source 11 includes, for example, a laser diode, and emits the laser light L in a pulse shape based on a light emission command of the light source control unit 30.
  • the light transmission side lens 12 is formed of a cylindrical convex lens, and linearly shapes the laser light L emitted from the laser light source 11.
  • the laser light L is formed into a line extending in the horizontal direction X by aligning the axial direction of the light transmission side lens 12 with the horizontal direction X.
  • the scanner 13 scans the line-shaped laser beam L in the vertical direction Y of the area A to be measured.
  • the scanner 13 has a function of scanning the area A to be measured, and a reflection mirror 14 for reflecting the linear laser light L, and a vertical for scanning the linear laser light L reflected by the reflective mirror 14 in the vertical direction Y And a scanning unit 15.
  • the reflection mirror 14 reflects, to the vertical scanning unit 15, the laser light L formed into a line by the light transmission side lens 12.
  • the vertical scanning unit 15 is formed of, for example, a galvano scanner, and includes a galvano mirror 15a that is a flat mirror, and a drive motor 15b that swings the mirror surface of the galvano mirror 15a. Under the control of the scanner control unit 31, the vertical scanning unit 15 drives the drive motor 15b to swing the galvano mirror 15a.
  • the angle in the vertical direction of the laser beam L reflected by the reflection mirror 14 is changed, and scanning is performed in the vertical direction Y of the measurement target area A.
  • a configuration using a galvano scanner has been described as an example of the vertical scanning unit 15.
  • the present invention is not limited to this configuration.
  • a polygon scanner having a polygon mirror may be used.
  • the reflection mirror 14 may not be provided.
  • the scanner control unit 31 controls the operation of the drive motor 15b based on a predetermined scanning pattern.
  • the linear laser light L is irradiated to the measurement target area A in accordance with the scanning pattern, and the irradiated point (area) becomes the measurement point S.
  • the scanner control unit 31 acquires the mirror angle (light transmission control angle) of the galvano mirror 15 a corresponding to each measurement point S, and transmits the mirror angle to the information generation unit 21.
  • the scanner 13 irradiates the measurement target area A while scanning the linear laser light L in a direction perpendicular to the direction in which the lines extend. For this reason, the three-dimensional measurement rate with respect to measurement object area A improves, and measurement of measurement object area A can be performed in a short time.
  • the light receiving side lens 16 receives the reflected light R reflected from each measurement point S of the measurement target area A.
  • the light receiving side optical system 17 condenses the reflected light R received by the light receiving side lens 16 in the vertical direction Y.
  • FIG. 2 is a schematic view showing the peripheral configuration including the light receiving side optical system
  • FIG. 3 is a perspective view showing the configuration of the condensing lens.
  • the reflected light R reflected at each measurement point S in the measurement target area A is received by the light receiving side lens 16.
  • the light receiving side lens 16 forms an image of each measurement point S at a predetermined position (image forming position) on the downstream side of the light receiving side lens 16.
  • the light receiving side optical system 17 includes a relay lens 35 disposed at an image forming position of the light receiving side lens 16 and a condensing lens 36 disposed downstream of the relay lens 35.
  • the relay lens 35 and the condensing lens 36 are provided one by one, but it goes without saying that a lens unit in which a plurality of lenses are combined may be used.
  • the relay lens 35 is formed of a convex lens, and holds the image forming information of the light receiving side lens 16 at the image forming position, and substantially collimates the light flux thereafter. Have a function to transmit to In the present embodiment, the relay lens 35 is disposed at the imaging position of the light receiving side lens 16. However, the present invention is not limited to this. It may be arranged behind.
  • the condensing lens 36 is formed of a cylindrical convex lens having a curved surface 36a on the incident side of the reflected light R and a flat surface 36b on the outgoing side.
  • the condenser lens 36 is formed so that the magnification of condensing in the vertical direction Y is larger than the magnification of condensing in the horizontal direction X. That is, the condensing lens 36 condenses all the parallel light flux of the reflected light R transmitted from the relay lens 35, that is, all the imaging information in the vertical direction Y toward the light receiving line sensor 18. Therefore, the light receiving side optical system 17 can condense the image forming information of the light receiving side lens 16 on the light receiving line sensor 18 with a simple configuration in which two types of lenses are combined, and realizes scanless on the light receiving side. it can.
  • the light receiving line sensor 18 is configured to include a plurality of (five in the present embodiment) light receiving cells 18 a arranged along the horizontal direction X.
  • Each light receiving cell 18a is formed by a photoelectric conversion element (for example, a photodiode) that receives the reflected light R and converts it into a current, and is formed by a single element having a single pixel. Therefore, it is possible to respond to the short pulse laser beam L.
  • the measurement target area A is divided into five divided areas Aa according to the number (five) of the light receiving cells 18a. Then, the reflected light R from the measurement target area A is spatially resolved into five corresponding to the divided area Aa, and is received by the light receiving cell 18a corresponding to the divided area Aa. In this case, the reflected light R from the divided area Aa is condensed in the vertical direction Y by the condensing lens 36, and is received by the corresponding light receiving cell 18a. Therefore, the parallel light flux of the reflected light R from the measurement target area A, that is, all the imaging information is collected on the light receiving line sensor 18.
  • the light receiving line sensor 18 receives the reflected light R collected by the light receiving side optical system 17 and outputs a reception signal based on the laser light L contained in the received reflected light R.
  • the amplifier circuit 19 amplifies the reception signal output from the light reception line sensor 18 as a voltage signal. Since the reception signal output from the light reception line sensor 18 is a weak current signal, the amplifier circuit 19 converts the current signal into a voltage signal and outputs the voltage signal to the distance calculation unit 20.
  • the light receiving line sensor 18 and the amplifier circuit 19 are provided to constitute a light receiving unit.
  • the distance calculation unit 20 calculates distance information of the measurement point S of the measurement target area A based on the reception signal amplified by the amplifier circuit 19.
  • the distance calculation unit 20 receives the pulse-like light emission synchronization signal transmitted from the light source control unit 30 and the reception signal transmitted from the amplifier circuit 19, and the measurement point S of the measurement target area A where the laser light L is irradiated. The distance to the point is calculated, and the distance information is transmitted to the information generation unit 21.
  • the distance calculation unit 20 measures the time from the emission of the laser light L to the reception of the reflected light R based on the light emission synchronization signal and the reception signal, and the laser based on the measurement time. The distance to the measurement point S which reflected the light L is calculated.
  • the distance calculation unit 20 may transmit the light reception intensity included in the reception signal to the information generation unit 21 in association with the distance information as well as the distance information.
  • the distance calculation unit 20 calculates position information of the measurement point S in the measurement target area A in the horizontal direction X based on the reception signal amplified by the amplifier circuit 19. Specifically, the distance calculation unit 20 acquires pixel information (number) of the light receiving cell 18a that has received the reflected light R, calculates the position information of the measurement point S in the horizontal direction X from this pixel information, and this position The information is transmitted to the information generation unit 21.
  • the information generation unit 21 acquires the mirror angle (transmission control angle) of the galvano mirror 15a related to the measurement point S transmitted from the scanner control unit 31, and the position in the vertical direction Y of the measurement point S based on this mirror angle. Calculate information.
  • the information generation unit 21 acquires coordinate information at the measurement point S based on the distance information on the measurement point S received from the distance calculation unit 20 and the position information on the horizontal direction X and the position information on the measurement point S in the vertical direction Y
  • Three-dimensional information of the measurement target area A is generated from the coordinate information distribution of the plurality of measurement points S present in the measurement target area A.
  • the three-dimensional information of the measurement target area A generated by the information generation unit 21 is transmitted to an external device 25 (for example, a computer of a vehicle or the like) in a wired or wireless manner, and is used by the external device 25.
  • an external device 25 for example, a computer of a vehicle or the like
  • the condensing lens 36 collects all the image forming information of the light receiving side lens 16 transmitted from the relay lens 35 in the light receiving line sensor 18 in which the respective light receiving cells 18 a are arranged side by side. Light up. For this reason, the reflected light R from any measurement point S of the measurement target area A is condensed on the light reception line sensor 18 so that the light reception line sensor 18 always divides the divided area Aa in the measurement target area A. The whole can be contained in each light receiving cell field of the sensor.
  • a long light receiving element array in which long light receiving elements described in Japanese Patent No. 5602225 are arranged in an array in a direction orthogonal to the long direction of the light receiving element and the reception signal of each long light receiving element are added
  • an adding circuit By providing an adding circuit, a scanless on the light receiving side is realized while securing a wide two-dimensional field of view.
  • the elongated light receiving elements in an array in the direction orthogonal to the longitudinal direction of the light receiving elements, the elongated light receiving element array is enlarged, which goes against the purpose of downsizing the laser radar device. There is a fear.
  • the laser radar device 1 is provided with the light receiving side optical system 17 so that the reflected light R of the measurement target area A is collected in the vertical direction Y on the light receiving line sensor 18. Therefore, the reflected light R from any measurement point S in the measurement target area A is condensed on the light receiving line sensor 18. Therefore, the light receiving line sensor 18 can always keep the entire area A to be measured within the sensor field of view, and can therefore handle the reflected light from the area A to be measured as a single piece of information, achieving downsizing it can.
  • the light receiving line sensor 18 having the light receiving cell 18 a composed of a single pixel is disposed at the image forming position of the light receiving side lens 16.
  • the area of the light receiving cell 18 a of the light receiving line sensor 18 is extremely small compared to the area of the image forming information at the image forming position of the light receiving side lens 16. Can only fit in the sensor field of view.
  • the size (height) in the vertical direction Y of each light receiving cell 18a is used as the image forming information at the image forming position of the light receiving side lens 16. It should be at least as big as However, when the sensor pixel size of the light receiving cell 18a is increased, there is a problem that the responsiveness as the light receiving cell (photodiode) is reduced.
  • the light receiving side optical system 17 includes a relay lens 35 disposed at an image forming position of the light receiving side lens 16 and a condenser lens 36 disposed downstream of the relay lens 35.
  • the condensing lens 36 condenses all the image forming information of the light receiving side lens 16 transmitted from the relay lens 35 on the light receiving line sensor 18 in which the light receiving cells 18 a are arranged. For this reason, it is possible to cover the information of the entire field of view of the light receiving side lens 16 regardless of the pixel shape of the light receiving cell 18a without reducing the responsiveness. Therefore, the light receiving cell 18a can be configured by a line sensor in which rectangular, square, or circular pixels are arranged, and the selection range of the sensor can be widened.
  • FIG. 4 is a view showing a modification of the light receiving line sensor.
  • one light receiving line sensor 18 in which the light receiving cells 18 a are arranged horizontally in the horizontal direction X is provided.
  • a plurality of (for example, three) light receiving line sensors 18 are provided.
  • the line sensor array 180 may be arrayed in the vertical direction Y in an array.
  • the remaining two light receiving line sensors 18 aligned in the vertical direction Y are preliminarily disposed, and the light receiving side lens 16-relay lens 35-condensing lens during operation of the laser radar device 1
  • the light receiving line sensor 18 of the line sensor array 180 where the reflected light is collected is used. be able to. According to this, the reflected light can be reliably received by the light receiving element, and the measurement quality can be secured.
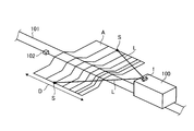
  • Fig. 5-1 is a perspective view showing a configuration in which a laser radar device is mounted on a train traveling on a track
  • Fig. 5-2 is a side showing a configuration in which a laser radar device is mounted on a train traveling on a track FIG.
  • the laser radar device 1 is mounted on a train (running body) 100.
  • the train 100 travels on the track 101, and may be configured to be driven by a driver's operation or to be automatically driven by a computer.
  • the laser radar device 1 is provided on the upper front side of the train 100, and monitors a measurement target area A set forward in the traveling direction of the train 100. As described above, the laser radar device 1 does not have the scanner on the reception side, and therefore, the laser radar device 1 can be miniaturized. Therefore, in the train 100 on which the laser radar device 1 is mounted, the influence of the reduction of free space in the train 100 or the protrusion to the outside of the train 100 due to the layout of the laser radar device 1 is minimized. Can.
  • the measurement target area A is set as a traveling road surface ahead in the traveling direction including the track 101 over a predetermined distance D (for example, 300 to 500 m) from the train 100, and the measurement target area A is It is updated at any time as the train 100 travels.
  • the laser radar device 1 scans and irradiates the laser light L toward the measurement target area A, and generates three-dimensional information of the measurement target area A based on distance information and position information of each measurement point S.
  • the train 100 is not shown, but a computer for acquiring three-dimensional information of the measurement area A output from the laser radar device 1 as the external device 25 (FIG. 1), and this computer based on the three-dimensional information And a display for displaying the shape of the drawn measurement target area A.
  • These computers and displays are disposed in the cab of the train 100.
  • the three-dimensional information generated by the laser radar device 1 is output to the computer of the train 100 at any time and displayed on the display via the computer. Therefore, for example, even when there is an obstacle 102 on the line 101, the display of the area to be measured A including the obstacle 102 is displayed on the display, thus providing driving assistance to the driver. can do.
  • the shape change in the direction of movement in the measurement target area A exceeds a predetermined threshold, a warning alert is issued on the assumption that the obstacle 102 is likely to be present. It may be configured to inform.
  • FIG. 6 is a perspective view showing a configuration in which a laser radar device is mounted on a vehicle.
  • the laser radar device 1 is mounted on a vehicle (running body) 150.
  • the vehicle 150 travels freely on the road surface, and may be configured to be driven by the driver's steering or to be automatically driven by a computer.
  • the laser radar device 1 is provided on the front upper portion of the vehicle 150, and monitors the measurement target area A set on the terrain 200 in front of the traveling direction of the vehicle 150. As described above, the laser radar device 1 does not have the scanner on the reception side, and therefore, the laser radar device 1 can be miniaturized. For this reason, the vehicle 150 mounted with the laser radar device 1 minimizes the reduction of free space in the vehicle 150 or the influence of the protruding portion to the outside of the vehicle 150 due to the layout of the laser radar device 1. Can.
  • the measurement target area A is set on the surface of the topography 200 ahead in the traveling direction over a predetermined distance D (for example, 100 m) from the vehicle 150. Updated accordingly.
  • the laser radar device 1 scans and irradiates the laser light L toward the measurement target area A, and based on the distance information and position information of each measurement point S, three-dimensional information of the measurement target area A (terrain 200) Generate In FIG. 6, the topography 200 is described as including a large raised portion 200A and a small flat portion 200B.
  • the vehicle 150 is provided with the navigation apparatus which performs the route guidance of this vehicle 150 as the external apparatus 25 (FIG. 1).
  • the navigation device includes a control unit that controls the entire navigation device, and a display that displays a route (map information), and three-dimensional information of the measurement target area A is output to the control unit.
  • the navigation apparatus sets a path 201 passing through the flat portion 200B having a small relief, based on the three-dimensional information of the measurement target area A, avoiding the crest portion 200A having a large relief. According to this configuration, even when traveling on a landform 200 with severe undulations, it is possible to travel on the route 201 including the flat portion 200B as much as possible, and driving assistance to the driver can be realized.
  • safe automatic driving can be realized by traveling on the route 201 including the flat portion 200B as much as possible based on the three-dimensional information generated by the laser radar device 1.
  • the composition which carries laser radar device 1 in the run object of train 100 or vehicles 150 if it is the run object which carries out self-propelled, it will not restrict to these.
  • the laser radar device 1 is mounted on the traveling body, but, for example, the measurement target area A is installed on a pillar standing by the side of intersections or crossings where the measurement target area A is set.
  • the laser radar device 1 includes the laser light source 11 and the light transmission side lens 12 for forming the laser light L emitted from the laser light source 11 into a line extending in the horizontal direction X
  • the scanner 13 irradiates the laser light L shaped in a line while scanning in the vertical direction Y orthogonal to the horizontal direction X in the measurement target area A, and receives the reflected light R reflected from the measurement target area A
  • a light receiving line sensor 18 having a light receiving side lens 16 and a plurality of light receiving cells 18 a disposed downstream of the light receiving side lens 16 and arranged along the horizontal direction X, and the light receiving side lens 16 and the light receiving line sensor 18
  • the reflection light R received by the light reception side lens 16 is disposed toward the light reception line sensor 18, and the magnification of light collected in the vertical direction Y is the horizontal direction X.
  • the information generation unit 21 that generates three-dimensional information of the measurement target area A based on the reception signal output from the light reception line sensor 18
  • the entire area to be measured A can be included in the sensor field of view of the light receiving line sensor 18, and scanless on the light receiving side can be realized with a simple configuration.
  • the light receiving side optical system 17 is disposed at the image forming position of the light receiving side lens 16, and relay lens 35 for transmitting while holding the image forming information at the image forming position, and the relay lens Since the parallel light flux transmitted from 35 is provided with a condensing lens 36 for condensing toward the light receiving line sensor 18, the imaging information of the light receiving side lens 16 is received by a simple configuration combining two types of lenses. The light can be collected by the sensor 18.
  • the information generation unit 21 detects the position information of the measurement point S in the measurement target area A in the horizontal direction X acquired based on the pixel information of the light receiving cell 18a that has received the reflected light R Acquired based on the distance information to the measurement point S acquired from the light reciprocation time from light irradiation to light reception by the light receiving line sensor 18 and the mirror angle of the scanner 13 at the time of laser light L irradiation Since three-dimensional information of the measurement target area A is generated from position information of the measurement point S in the vertical direction Y, acquisition of spatial position coordinates of the received signal becomes unnecessary by visual field scanning on the light receiving side, and three-dimensional information is generated Can reduce the load of signal processing.
  • the above-described laser radar device 1 is mounted on the train 100 or the vehicle 150, three-dimensional information of the traveling route of the train 100 or the vehicle 150 can always be acquired. It can be carried out.

Landscapes

  • Engineering & Computer Science (AREA)
  • Physics & Mathematics (AREA)
  • General Physics & Mathematics (AREA)
  • Radar, Positioning & Navigation (AREA)
  • Remote Sensing (AREA)
  • Computer Networks & Wireless Communication (AREA)
  • Electromagnetism (AREA)
  • Mechanical Engineering (AREA)
  • Optical Radar Systems And Details Thereof (AREA)
  • Traffic Control Systems (AREA)
  • Length Measuring Devices By Optical Means (AREA)
PCT/JP2015/082563 2015-03-23 2015-11-19 レーザレーダ装置及び走行体 Ceased WO2016151939A1 (ja)

Priority Applications (2)

Application Number Priority Date Filing Date Title
SG11201707741UA SG11201707741UA (en) 2015-03-23 2015-11-19 Laser radar device and traveling body
US15/557,995 US11009606B2 (en) 2015-03-23 2015-11-19 Laser radar device and traveling body

Applications Claiming Priority (2)

Application Number Priority Date Filing Date Title
JP2015060071A JP6522384B2 (ja) 2015-03-23 2015-03-23 レーザレーダ装置及び走行体
JP2015-060071 2015-03-23

Publications (1)

Publication Number Publication Date
WO2016151939A1 true WO2016151939A1 (ja) 2016-09-29

Family

ID=56977132

Family Applications (1)

Application Number Title Priority Date Filing Date
PCT/JP2015/082563 Ceased WO2016151939A1 (ja) 2015-03-23 2015-11-19 レーザレーダ装置及び走行体

Country Status (4)

Country Link
US (1) US11009606B2 (enExample)
JP (1) JP6522384B2 (enExample)
SG (1) SG11201707741UA (enExample)
WO (1) WO2016151939A1 (enExample)

Families Citing this family (19)

* Cited by examiner, † Cited by third party
Publication number Priority date Publication date Assignee Title
EP3491419A4 (en) * 2016-08-26 2019-11-27 SZ DJI Technology Co., Ltd. OPTICAL STRUCTURE FOR EXTENDING THE UAV LASER RADAR SCANNING RANGE AND OTHER OBJECTS, AND ASSOCIATED SYSTEMS AND METHODS
JP6862751B2 (ja) * 2016-10-14 2021-04-21 富士通株式会社 距離測定装置、距離測定方法及びプログラム
DE102016122645A1 (de) * 2016-11-24 2018-05-24 Valeo Schalter Und Sensoren Gmbh Empfangseinrichtung für eine optische Detektionsvorrichtung, Detektionsvorrichtung und Fahrerassistenzsystem
JP6754706B2 (ja) * 2017-02-14 2020-09-16 京セラ株式会社 電磁波検出装置、プログラム、および情報取得システム
JP6968568B2 (ja) * 2017-04-20 2021-11-17 株式会社日立製作所 形状計測システム、及び、形状計測方法
JP6743761B2 (ja) * 2017-05-29 2020-08-19 株式会社デンソー 測距センサ
DE112018007245T5 (de) 2018-03-08 2020-11-26 Panasonic Intellectual Property Management Co., Ltd. Laser-radar
JPWO2019171727A1 (ja) 2018-03-08 2021-03-25 パナソニックIpマネジメント株式会社 レーザレーダ
WO2020026512A1 (ja) * 2018-07-30 2020-02-06 コニカミノルタ株式会社 レーザーレーダー装置及びフレームデータの補正システム
CN111090277B (zh) 2018-10-22 2021-11-26 科沃斯机器人股份有限公司 行进控制的方法、设备及存储介质
JPWO2020116078A1 (ja) * 2018-12-03 2021-10-21 パナソニックIpマネジメント株式会社 レーザレーダ
IL263848A (en) * 2018-12-19 2020-06-30 Elta Systems Ltd System for obstacle detection
JP2020187079A (ja) 2019-05-17 2020-11-19 三菱重工業株式会社 レーザレーダ装置及び走行体
CN113193471B (zh) * 2019-07-31 2022-12-20 上海禾赛科技有限公司 激光器、激光器发射板组件、激光雷达和激光器封装方法
WO2021192601A1 (ja) * 2020-03-26 2021-09-30 パナソニックIpマネジメント株式会社 ラインビーム走査光学系およびレーザレーダ
JP7037609B2 (ja) * 2020-08-24 2022-03-16 京セラ株式会社 電磁波検出装置およびプログラム
EP3984818A1 (de) * 2020-10-19 2022-04-20 ZKW Group GmbH Beleuchtungsvorrichtung für einen kraftfahrzeugscheinwerfer
CN112945137B (zh) * 2021-02-01 2022-06-10 中国矿业大学(北京) 一种基于单线激光雷达与测距仪装备的仓储矿堆扫描方法
CN115113181A (zh) * 2021-03-22 2022-09-27 华为技术有限公司 一种激光雷达及回波光信号接收方法

Citations (5)

* Cited by examiner, † Cited by third party
Publication number Priority date Publication date Assignee Title
JPH04198804A (ja) * 1990-11-29 1992-07-20 Nitsupo Denki Kk 長さ測定装置
JPH06258040A (ja) * 1993-03-02 1994-09-16 S K S Kk レーザー変位計
JPH09113234A (ja) * 1995-10-19 1997-05-02 Matsushita Electric Ind Co Ltd 2次元形状計測センサー
JP2005055196A (ja) * 2003-08-05 2005-03-03 Olympus Corp 基板検査方法及びその装置
JP2008026243A (ja) * 2006-07-25 2008-02-07 Konica Minolta Sensing Inc 三次元形状測定システム、三次元形状測定方法

Family Cites Families (18)

* Cited by examiner, † Cited by third party
Publication number Priority date Publication date Assignee Title
JPS562225B2 (enExample) 1973-07-25 1981-01-19
JPH01121782A (ja) * 1987-11-05 1989-05-15 Mitsubishi Electric Corp 受光装置
GB9113556D0 (en) * 1991-06-21 1991-08-14 Memco Med Ltd Laser light transmitter and proximity detector
JPH05107043A (ja) * 1991-10-15 1993-04-27 Nec Corp 外観検査装置
JP2910452B2 (ja) * 1992-10-26 1999-06-23 三菱電機株式会社 レーザ測距装置
JP2002243543A (ja) * 2001-02-19 2002-08-28 Keyence Corp 光電センサ
JP2003060213A (ja) * 2001-08-16 2003-02-28 Matsusada Precision Kk 大口径広角高速受光装置
US7453569B2 (en) * 2002-07-31 2008-11-18 Jan Arwood Northby Method and apparatus for measuring particle motion using scattered radiation
US7891821B2 (en) * 2007-12-17 2011-02-22 Coherent, Inc. Laser beam transformer and projector having stacked plates
US7710545B2 (en) * 2008-02-13 2010-05-04 The Boeing Company Scanned laser detection and ranging apparatus
JP2009267314A (ja) * 2008-04-30 2009-11-12 Toyota Central R&D Labs Inc 受光装置
US8184276B2 (en) * 2008-12-08 2012-05-22 Carl Embry Continuous index of refraction compensation method for measurements in a medium
CN102473663B (zh) * 2009-07-22 2016-11-09 克拉-坦科股份有限公司 用环形照射的暗场检查系统
CN102884444B (zh) 2010-05-07 2014-08-13 三菱电机株式会社 激光雷达装置
EP2738567B1 (en) * 2011-11-15 2017-10-18 Mitsubishi Electric Corporation Laser radar device, safe landing sensor for planetfall, docking sensor for space apparatus, space debris collection sensor, and vehicle-mounted collision avoidance sensor
US9157790B2 (en) * 2012-02-15 2015-10-13 Apple Inc. Integrated optoelectronic modules with transmitter, receiver and beam-combining optics for aligning a beam axis with a collection axis
JP2014006110A (ja) * 2012-06-22 2014-01-16 Konica Minolta Inc レーザレーダ
US9529087B2 (en) * 2014-07-24 2016-12-27 GM Global Technology Operations LLC Curb detection using lidar with sparse measurements

Patent Citations (5)

* Cited by examiner, † Cited by third party
Publication number Priority date Publication date Assignee Title
JPH04198804A (ja) * 1990-11-29 1992-07-20 Nitsupo Denki Kk 長さ測定装置
JPH06258040A (ja) * 1993-03-02 1994-09-16 S K S Kk レーザー変位計
JPH09113234A (ja) * 1995-10-19 1997-05-02 Matsushita Electric Ind Co Ltd 2次元形状計測センサー
JP2005055196A (ja) * 2003-08-05 2005-03-03 Olympus Corp 基板検査方法及びその装置
JP2008026243A (ja) * 2006-07-25 2008-02-07 Konica Minolta Sensing Inc 三次元形状測定システム、三次元形状測定方法

Also Published As

Publication number Publication date
US20180038958A1 (en) 2018-02-08
US11009606B2 (en) 2021-05-18
SG11201707741UA (en) 2017-10-30
JP6522384B2 (ja) 2019-05-29
JP2016180624A (ja) 2016-10-13

Similar Documents

Publication Publication Date Title
JP6522384B2 (ja) レーザレーダ装置及び走行体
JP6522383B2 (ja) レーザレーダ装置及び走行体
JP6250080B2 (ja) レーザレーダ装置及び走行体
JP6387407B2 (ja) 周辺検知システム
KR102089036B1 (ko) 정보 디스플레이 장치, 정보 제공 시스템, 이동체 디바이스, 정보 디스플레이 방법 및 기록 매체
US11789128B2 (en) Fiber-based transmitter and receiver channels of light detection and ranging systems
US20220413102A1 (en) Lidar systems and methods for vehicle corner mount
JP4960599B2 (ja) 衝突防止装置及び衝突防止装置搭載車両
KR102202195B1 (ko) 광학 검출 기구를 위한 수신 장치, 검출 기구 및 운전자 지원 시스템
US20240118389A1 (en) Curved window for expansion of fov in lidar application
US20240103138A1 (en) Stray light filter structures for lidar detector array
US11768294B2 (en) Compact lidar systems for vehicle contour fitting
US11871130B2 (en) Compact perception device
US11624806B2 (en) Systems and apparatuses for mitigating LiDAR noise, vibration, and harshness
US20230136272A1 (en) Compact lidar systems for detecting objects in blind-spot areas
WO2023220316A1 (en) Dual emitting co-axial lidar system with zero blind zone
US20230366984A1 (en) Dual emitting co-axial lidar system with zero blind zone
WO2025144775A1 (en) Elongation compensation in lidar system
WO2023283205A1 (en) Compact lidar systems for vehicle contour fitting
CN117813525A (zh) 用于车辆轮廓拟合的紧凑型LiDAR系统
CN120390889A (zh) 用于激光雷达生产的探测器对准方法
CN118235061A (zh) 用于检测盲点区域中的物体的紧凑型LiDAR系统
CN118901027A (zh) 紧凑型感知装置
CN117178199A (zh) 具有高分辨率和超宽视场的紧凑型光检测和测距设计
CN120077295A (zh) 基于二维发射器阵列的激光雷达

Legal Events

Date Code Title Description
121 Ep: the epo has been informed by wipo that ep was designated in this application

Ref document number: 15886491

Country of ref document: EP

Kind code of ref document: A1

WWE Wipo information: entry into national phase

Ref document number: 15557995

Country of ref document: US

WWE Wipo information: entry into national phase

Ref document number: 11201707741U

Country of ref document: SG

NENP Non-entry into the national phase

Ref country code: DE

122 Ep: pct application non-entry in european phase

Ref document number: 15886491

Country of ref document: EP

Kind code of ref document: A1