WO2016148023A1 - 車両用通信システム及び車載通信装置 - Google Patents

車両用通信システム及び車載通信装置 Download PDF

Info

Publication number
WO2016148023A1
WO2016148023A1 PCT/JP2016/057610 JP2016057610W WO2016148023A1 WO 2016148023 A1 WO2016148023 A1 WO 2016148023A1 JP 2016057610 W JP2016057610 W JP 2016057610W WO 2016148023 A1 WO2016148023 A1 WO 2016148023A1
Authority
WO
WIPO (PCT)
Prior art keywords
vehicle
signal
wireless device
unit
transmission
Prior art date
Legal status (The legal status is an assumption and is not a legal conclusion. Google has not performed a legal analysis and makes no representation as to the accuracy of the status listed.)
Ceased
Application number
PCT/JP2016/057610
Other languages
English (en)
French (fr)
Japanese (ja)
Inventor
宇佐美 彰規
Current Assignee (The listed assignees may be inaccurate. Google has not performed a legal analysis and makes no representation or warranty as to the accuracy of the list.)
Sumitomo Wiring Systems Ltd
AutoNetworks Technologies Ltd
Sumitomo Electric Industries Ltd
Original Assignee
Sumitomo Wiring Systems Ltd
AutoNetworks Technologies Ltd
Sumitomo Electric Industries Ltd
Priority date (The priority date is an assumption and is not a legal conclusion. Google has not performed a legal analysis and makes no representation as to the accuracy of the date listed.)
Filing date
Publication date
Application filed by Sumitomo Wiring Systems Ltd, AutoNetworks Technologies Ltd, Sumitomo Electric Industries Ltd filed Critical Sumitomo Wiring Systems Ltd
Priority to CN201680011984.0A priority Critical patent/CN107251443B/zh
Priority to US15/556,869 priority patent/US10279634B2/en
Publication of WO2016148023A1 publication Critical patent/WO2016148023A1/ja
Anticipated expiration legal-status Critical
Ceased legal-status Critical Current

Links

Images

Classifications

    • BPERFORMING OPERATIONS; TRANSPORTING
    • B60VEHICLES IN GENERAL
    • B60CVEHICLE TYRES; TYRE INFLATION; TYRE CHANGING; CONNECTING VALVES TO INFLATABLE ELASTIC BODIES IN GENERAL; DEVICES OR ARRANGEMENTS RELATED TO TYRES
    • B60C23/00Devices for measuring, signalling, controlling, or distributing tyre pressure or temperature, specially adapted for mounting on vehicles; Arrangement of tyre inflating devices on vehicles, e.g. of pumps or of tanks; Tyre cooling arrangements
    • B60C23/02Signalling devices actuated by tyre pressure
    • B60C23/04Signalling devices actuated by tyre pressure mounted on the wheel or tyre
    • B60C23/0408Signalling devices actuated by tyre pressure mounted on the wheel or tyre transmitting the signals by non-mechanical means from the wheel or tyre to a vehicle body mounted receiver
    • B60C23/0483Wireless routers between wheel mounted transmitters and chassis mounted receivers
    • HELECTRICITY
    • H04ELECTRIC COMMUNICATION TECHNIQUE
    • H04BTRANSMISSION
    • H04B1/00Details of transmission systems, not covered by a single one of groups H04B3/00 - H04B13/00; Details of transmission systems not characterised by the medium used for transmission
    • H04B1/38Transceivers, i.e. devices in which transmitter and receiver form a structural unit and in which at least one part is used for functions of transmitting and receiving
    • H04B1/3822Transceivers, i.e. devices in which transmitter and receiver form a structural unit and in which at least one part is used for functions of transmitting and receiving specially adapted for use in vehicles
    • BPERFORMING OPERATIONS; TRANSPORTING
    • B60VEHICLES IN GENERAL
    • B60CVEHICLE TYRES; TYRE INFLATION; TYRE CHANGING; CONNECTING VALVES TO INFLATABLE ELASTIC BODIES IN GENERAL; DEVICES OR ARRANGEMENTS RELATED TO TYRES
    • B60C23/00Devices for measuring, signalling, controlling, or distributing tyre pressure or temperature, specially adapted for mounting on vehicles; Arrangement of tyre inflating devices on vehicles, e.g. of pumps or of tanks; Tyre cooling arrangements
    • B60C23/02Signalling devices actuated by tyre pressure
    • B60C23/04Signalling devices actuated by tyre pressure mounted on the wheel or tyre
    • B60C23/0408Signalling devices actuated by tyre pressure mounted on the wheel or tyre transmitting the signals by non-mechanical means from the wheel or tyre to a vehicle body mounted receiver
    • B60C23/0422Signalling devices actuated by tyre pressure mounted on the wheel or tyre transmitting the signals by non-mechanical means from the wheel or tyre to a vehicle body mounted receiver characterised by the type of signal transmission means
    • B60C23/0433Radio signals
    • B60C23/0435Vehicle body mounted circuits, e.g. transceiver or antenna fixed to central console, door, roof, mirror or fender
    • B60C23/0438Vehicle body mounted circuits, e.g. transceiver or antenna fixed to central console, door, roof, mirror or fender comprising signal transmission means, e.g. for a bidirectional communication with a corresponding wheel mounted receiver
    • B60C23/0442Vehicle body mounted circuits, e.g. transceiver or antenna fixed to central console, door, roof, mirror or fender comprising signal transmission means, e.g. for a bidirectional communication with a corresponding wheel mounted receiver the transmitted signal comprises further information, e.g. instruction codes, sensor characteristics or identification data
    • BPERFORMING OPERATIONS; TRANSPORTING
    • B60VEHICLES IN GENERAL
    • B60CVEHICLE TYRES; TYRE INFLATION; TYRE CHANGING; CONNECTING VALVES TO INFLATABLE ELASTIC BODIES IN GENERAL; DEVICES OR ARRANGEMENTS RELATED TO TYRES
    • B60C23/00Devices for measuring, signalling, controlling, or distributing tyre pressure or temperature, specially adapted for mounting on vehicles; Arrangement of tyre inflating devices on vehicles, e.g. of pumps or of tanks; Tyre cooling arrangements
    • B60C23/02Signalling devices actuated by tyre pressure
    • B60C23/04Signalling devices actuated by tyre pressure mounted on the wheel or tyre
    • B60C23/0408Signalling devices actuated by tyre pressure mounted on the wheel or tyre transmitting the signals by non-mechanical means from the wheel or tyre to a vehicle body mounted receiver
    • B60C23/0422Signalling devices actuated by tyre pressure mounted on the wheel or tyre transmitting the signals by non-mechanical means from the wheel or tyre to a vehicle body mounted receiver characterised by the type of signal transmission means
    • B60C23/0433Radio signals
    • B60C23/0447Wheel or tyre mounted circuits
    • B60C23/0455Transmission control of wireless signals
    • B60C23/0461Transmission control of wireless signals externally triggered, e.g. by wireless request signal, magnet or manual switch
    • BPERFORMING OPERATIONS; TRANSPORTING
    • B60VEHICLES IN GENERAL
    • B60CVEHICLE TYRES; TYRE INFLATION; TYRE CHANGING; CONNECTING VALVES TO INFLATABLE ELASTIC BODIES IN GENERAL; DEVICES OR ARRANGEMENTS RELATED TO TYRES
    • B60C23/00Devices for measuring, signalling, controlling, or distributing tyre pressure or temperature, specially adapted for mounting on vehicles; Arrangement of tyre inflating devices on vehicles, e.g. of pumps or of tanks; Tyre cooling arrangements
    • B60C23/02Signalling devices actuated by tyre pressure
    • B60C23/04Signalling devices actuated by tyre pressure mounted on the wheel or tyre
    • B60C23/0408Signalling devices actuated by tyre pressure mounted on the wheel or tyre transmitting the signals by non-mechanical means from the wheel or tyre to a vehicle body mounted receiver
    • B60C23/0422Signalling devices actuated by tyre pressure mounted on the wheel or tyre transmitting the signals by non-mechanical means from the wheel or tyre to a vehicle body mounted receiver characterised by the type of signal transmission means
    • B60C23/0433Radio signals
    • B60C23/0447Wheel or tyre mounted circuits
    • B60C23/0455Transmission control of wireless signals
    • B60C23/0464Transmission control of wireless signals to avoid signal interference
    • BPERFORMING OPERATIONS; TRANSPORTING
    • B60VEHICLES IN GENERAL
    • B60RVEHICLES, VEHICLE FITTINGS, OR VEHICLE PARTS, NOT OTHERWISE PROVIDED FOR
    • B60R16/00Electric or fluid circuits specially adapted for vehicles and not otherwise provided for; Arrangement of elements of electric or fluid circuits specially adapted for vehicles and not otherwise provided for
    • B60R16/02Electric or fluid circuits specially adapted for vehicles and not otherwise provided for; Arrangement of elements of electric or fluid circuits specially adapted for vehicles and not otherwise provided for electric constitutive elements
    • B60R16/023Electric or fluid circuits specially adapted for vehicles and not otherwise provided for; Arrangement of elements of electric or fluid circuits specially adapted for vehicles and not otherwise provided for electric constitutive elements for transmission of signals between vehicle parts or subsystems
    • HELECTRICITY
    • H04ELECTRIC COMMUNICATION TECHNIQUE
    • H04BTRANSMISSION
    • H04B15/00Suppression or limitation of noise or interference
    • HELECTRICITY
    • H04ELECTRIC COMMUNICATION TECHNIQUE
    • H04BTRANSMISSION
    • H04B15/00Suppression or limitation of noise or interference
    • H04B15/02Reducing interference from electric apparatus by means located at or near the interfering apparatus
    • H04B15/04Reducing interference from electric apparatus by means located at or near the interfering apparatus the interference being caused by substantially sinusoidal oscillations, e.g. in a receiver or in a tape-recorder

Definitions

  • the present invention provides a vehicle communication system including a portable device and a vehicle-mounted wireless device that wirelessly transmit a signal using radio waves in the same frequency band, and a vehicle-mounted communication device that receives the signal, and the vehicle communication system
  • the present invention relates to an in-vehicle communication device.
  • TPMS Transire Pressure Monitoring System
  • TPMS detects tire air pressure and wirelessly transmits a signal indicating the detected air pressure using radio waves in the UHF band, and is provided in the vehicle body, and receives a signal wirelessly transmitted from the in-vehicle wireless device
  • An in-vehicle communication device that performs the notification, and a notification device that notifies the air pressure indicated by the received signal.
  • the frequency band of the signal transmitted by the in-vehicle wireless device of TPMS is the same as the frequency band of the signal transmitted by the portable device constituting the passive entry system, the keyless entry system, the smart start system, etc., that is, the electronic key. May occur. Interference causes a malfunction of a passive entry system or the like. In addition, it may cause malfunction of the tire pressure monitoring system.
  • An object of the present invention is to prevent interference between signals transmitted from an in-vehicle wireless device constituting one wireless communication system such as TPMS and a portable device constituting another wireless communication system.
  • the object is to provide a vehicle communication system and an in-vehicle communication device.
  • a vehicle communication system includes a portable device that wirelessly transmits a signal related to operation of a vehicle in a predetermined frequency band, an in-vehicle wireless device that wirelessly transmits a signal related to the vehicle in the predetermined frequency band, A vehicle communication system that is provided at a location different from the in-vehicle wireless device, and includes a vehicle-mounted communication device that performs wireless communication with the portable device and the in-vehicle wireless device, wherein the in-vehicle communication device includes: In-vehicle receiver that receives signals transmitted from the portable device and the in-vehicle wireless device, a determination unit that determines the presence or absence of interference based on the signal received by the in-vehicle receiver, and interference occurs in the determination unit An in-vehicle transmission unit that transmits a stop signal instructing stoppage of signal transmission to the portable device or the in-vehicle wireless device, the portable device or the in-vehicle wireless device outputs the stop signal. If received
  • the present application can be realized not only as a vehicle communication system and an in-vehicle communication device including such a characteristic processing unit, but also as a vehicle communication method using such characteristic processing as a step.
  • the program can be realized as a program for causing a computer to execute such steps. Moreover, it can implement
  • FIG. 10 is a flowchart illustrating a processing procedure of the in-vehicle wireless device according to the fifth embodiment.
  • 14 is a flowchart illustrating a processing procedure of the in-vehicle communication device according to the sixth embodiment.
  • 14 is a flowchart illustrating a processing procedure of the in-vehicle communication device according to the sixth embodiment.
  • FIG. 10 is a block diagram illustrating a configuration example of an in-vehicle wireless device according to a seventh embodiment.
  • 15 is a flowchart illustrating a processing procedure of the in-vehicle wireless device according to the seventh embodiment. It is a block diagram which shows the example of 1 structure of the vehicle-mounted communication apparatus which concerns on Embodiment 8.
  • FIG. 10 is a flowchart illustrating a processing procedure of the in-vehicle wireless device according to the fifth embodiment.
  • 14 is a flowchart illustrating a processing procedure of the in-vehicle communication device according to the sixth embodiment.
  • 14 is
  • a vehicle communication system includes a portable device that wirelessly transmits a signal related to an operation of a vehicle in a predetermined frequency band, and an in-vehicle wireless that wirelessly transmits a signal related to the vehicle in the predetermined frequency band.
  • the vehicle-mounted communication device that is provided at a location different from the vehicle-mounted wireless device and performs wireless communication between the portable device and the vehicle-mounted communication device, the vehicle-mounted communication device A vehicle-mounted receiving unit that receives signals transmitted from the portable device and the vehicle-mounted communication device, a determination unit that determines the presence or absence of interference based on the signal received by the vehicle-mounted receiving unit, and the determination unit
  • the mobile device or the in-vehicle wireless device includes an in-vehicle transmission unit that transmits a stop signal that instructs the portable device or the in-vehicle wireless device to stop transmitting signals. Received stop signal If, it stops the transmission of the signal.
  • the in-vehicle wireless device stops transmission of the signal for a predetermined time, and resumes transmission of the signal after the predetermined time has elapsed. Therefore, the in-vehicle communication device can receive a signal from the portable device during a predetermined time, and can receive a signal from the in-vehicle wireless device after the predetermined time has elapsed.
  • the portable device may be configured to stop signal transmission for a predetermined time and resume signal transmission after a predetermined time has elapsed. Therefore, the in-vehicle communication device can receive a signal from the in-vehicle wireless device during a predetermined time, and can receive a signal from the portable device after the predetermined time has elapsed.
  • the in-vehicle communication device when interference occurs, deletes the information of the signal received by the in-vehicle receiving unit at that time. Accordingly, it is possible to prevent erroneous information from being received due to interference.
  • the in-vehicle transmission unit receives a signal transmitted from the portable device after transmitting a request signal for requesting signal transmission to the in-vehicle wireless device
  • the in-vehicle transmission unit receives the signal transmitted from the portable device. It is preferable that the stop signal is transmitted to the in-vehicle wireless device before the signal is transmitted.
  • requires transmission of a signal is transmitted to a vehicle-mounted radio
  • the in-vehicle communication unit receives a signal transmitted from the portable device after transmitting the request signal, the in-vehicle communication device sends a stop signal to the in-vehicle wireless device before the signal is transmitted from the in-vehicle wireless device according to the request signal. Send.
  • the in-vehicle communication device requests transmission of a signal to the in-vehicle wireless device, but when there is a possibility of interference due to the signal from the portable device, the in-vehicle wireless device immediately transmits a stop signal to the in-vehicle wireless device. Stop sending the signal. And the vehicle-mounted communication apparatus can receive the signal from a portable machine in the state which interference does not arise.
  • an air pressure detection unit that detects an air pressure of a tire of the vehicle is provided, and the in-vehicle wireless device transmits a signal related to the air pressure detected by the air pressure detection unit.
  • the in-vehicle wireless device transmits a signal related to the tire air pressure to the in-vehicle communication device.
  • the in-vehicle communication device can prevent interference and obtain information related to tire air pressure.
  • a vehicle speed detection unit that detects the speed of the vehicle is provided, and the vehicle-mounted transmission unit intermittently transmits a request signal that requests transmission of a signal to the vehicle-mounted radio, and the vehicle speed detection unit
  • a configuration is preferable in which, when the detected speed is equal to or higher than a predetermined speed and the determination unit determines that interference has occurred, the transmission frequency of the request signal is increased.
  • the in-vehicle transmission unit of the in-vehicle communication device intermittently transmits a request signal to the in-vehicle wireless device, and each time the in-vehicle wireless device receives the request signal, the signal related to the tire pressure is in-vehicle communication. Send to device.
  • the in-vehicle transmission unit of the in-vehicle communication device increases the transmission frequency of the request signal when the speed of the vehicle is equal to or higher than a predetermined speed and interference occurs.
  • the signal related to the tire air pressure is more important than the signal transmitted from the portable device. Therefore, when the vehicle speed is equal to or higher than the predetermined speed and interference occurs, the in-vehicle communication device increases the probability of successful reception of the important signal by causing the signal related to the tire air pressure to be transmitted more frequently. Can do.
  • a vehicle speed detection unit that detects the speed of the vehicle is provided, and the in-vehicle transmission unit has a speed detected by the vehicle speed detection unit equal to or higher than a predetermined speed, and interference occurs in the determination unit.
  • a predetermined instruction signal is transmitted to the in-vehicle wireless device, the in-vehicle wireless device intermittently transmits a signal related to the vehicle, and the in-vehicle receiving unit receives the instruction signal
  • a configuration for increasing the transmission frequency of signals related to the vehicle is preferable.
  • the in-vehicle wireless device intermittently transmits a signal related to the tire air pressure to the in-vehicle communication device.
  • the in-vehicle transmission unit of the in-vehicle communication device transmits a predetermined instruction signal to the in-vehicle wireless device when the speed of the vehicle is equal to or higher than the predetermined speed and interference occurs.
  • the in-vehicle wireless device increases the transmission frequency of a signal related to tire air pressure. Therefore, when the vehicle speed is equal to or higher than the predetermined speed and interference occurs, the in-vehicle communication device increases the probability of successful reception of the important signal by causing the signal related to the tire air pressure to be transmitted more frequently. Can do.
  • the in-vehicle wireless device includes a monitoring unit that monitors the presence / absence of a signal in the predetermined frequency band transmitted from the outside, and transmits a signal related to the vehicle when there is no signal in the predetermined frequency band. It is preferable that the transmission of the signal related to the vehicle is stopped when there is a signal in the predetermined frequency band.
  • the in-vehicle wireless device monitors a signal in a predetermined frequency band, and controls transmission and stop of the signal related to the vehicle according to the presence or absence of the signal in the frequency band. Therefore, the in-vehicle communication device can receive a signal transmitted from the in-vehicle wireless device in a situation where there is a low possibility of interference.
  • An in-vehicle communication device includes a portable device that wirelessly transmits a signal related to an operation of a vehicle in a predetermined frequency band, and an in-vehicle wireless device that wirelessly transmits a signal related to the vehicle in the predetermined frequency band.
  • a vehicle-mounted communication device that communicates with the vehicle-mounted receiving unit that receives the signal in the predetermined frequency band, and a determination unit that determines the presence or absence of interference based on the signal received by the vehicle-mounted receiving unit; And an in-vehicle transmission unit that transmits a stop signal that instructs the portable device or the in-vehicle wireless device to stop transmitting signals when it is determined by the determination unit that interference has occurred.
  • the in-vehicle communication device can receive a signal transmitted from the portable device or the in-vehicle wireless device.
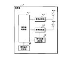
  • FIG. 1 is a schematic diagram showing a configuration example of a vehicle communication system according to Embodiment 1 of the present invention.
  • the vehicular communication system according to the first embodiment shares hardware related to radio communication and constitutes a radio communication system of a TPMS and a passive entry system.
  • the vehicle communication system includes an in-vehicle communication device 1 provided at an appropriate location of a vehicle body, an in-vehicle wireless device 2 provided on each wheel of a tire 3 attached to the vehicle C, and a portable device 4 according to a passive entry system. And a notification device 5 according to TPMS.
  • TPMS is composed of an in-vehicle communication device 1, an in-vehicle wireless device 2, and a notification device 5.
  • the in-vehicle wireless device 2 periodically detects the air pressure of the tire 3 attached to each wheel, and transmits the detected air pressure to the in-vehicle communication device 1 by using a radio wave in a UHF (Ultra High Frequency) band.
  • the in-vehicle communication device 1 acquires information on the air pressure of each tire 3 by performing wireless communication with each in-vehicle wireless device 2.
  • a notification device 5 is connected to the in-vehicle communication device 1 via a communication line, and the in-vehicle communication device 1 transmits the acquired air pressure information to the notification device 5.
  • the notification device 5 receives the air pressure information transmitted from the in-vehicle communication device 1 and notifies the air pressure.
  • the notification device 5 issues a warning when the air pressure of the tire 3 is less than a predetermined threshold value.
  • the passive entry system which comprises the communication system for vehicles is an example, and can apply this invention to the system which performs wireless communication between the portable device 4 and the vehicle-mounted communication apparatus 1, and performs various vehicle control.
  • the communication system for a vehicle may constitute a smart start system that enables starting of a prime mover mounted on a vehicle without using a keyless entry system or a mechanical key together with TPMS.
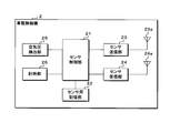
  • FIG. 2 is a block diagram showing a configuration example of the in-vehicle communication device 1.
  • the in-vehicle communication device 1 includes a control unit 11 that controls the operation of each component of the in-vehicle communication device 1.
  • the control unit 11 is connected to a storage unit 12, an in-vehicle receiving unit 13, an in-vehicle transmitting unit 14, a time measuring unit 15, and an in-vehicle communication unit 16.
  • the control unit 11 is a microcomputer having, for example, one or a plurality of CPUs (Central Processing Units), a multi-core CPU, a ROM (Read Only Memory), a RAM (Random Access Memory), an input / output interface, and the like.
  • the CPU of the control unit 11 is connected to the storage unit 12, the in-vehicle receiving unit 13, the in-vehicle transmitting unit 14, the time measuring unit 15, and the in-vehicle communication unit 16 through an input / output interface.
  • the control unit 11 executes the control program stored in the storage unit 12 to control the operation of each component unit, and the tire pressure monitoring process, the door locking and unlocking process, and the interference prevention process according to the present embodiment. Execute.
  • the storage unit 12 is a nonvolatile memory such as an EEPROM (ElectricallyrErasable Programmable ROM) or a flash memory.
  • the storage unit 12 executes the tire air pressure monitoring process, the door locking / unlocking process, and the interference prevention process according to the present embodiment by controlling the operation of each component of the in-vehicle communication device 1 by the control unit 11.
  • the control program is stored.
  • the in-vehicle receiving unit 13 is connected to an RF antenna 13a.
  • the in-vehicle receiving unit 13 receives a signal transmitted from the in-vehicle wireless device 2 or the portable device 4 using radio waves in the RF band by the RF antenna 13a.
  • the in-vehicle receiving unit 13 is a circuit that demodulates the received signal and outputs the demodulated signal to the control unit 11.
  • a carrier wave a UHF (Ultra High Frequency) band of 300 MHz to 3 GHz is used, but the carrier wave is not limited to this frequency band.
  • the in-vehicle transmission unit 14 is a circuit that modulates the signal output from the control unit 11 into an LF band signal and transmits the modulated signal from the LF antenna 14 a to the in-vehicle wireless device 2 or the portable device 4.
  • the carrier wave uses an LF (Low Frequency) band of 30 kHz to 300 kHz, but is not limited to this frequency band.
  • the timer unit 15 is constituted by, for example, a timer, a real-time clock, etc., starts timing according to the control of the control unit 11, and gives the timing result to the control unit 11.
  • the in-vehicle communication unit 16 is a communication circuit that performs communication in accordance with a communication protocol such as CAN (Controller Area Network) or LIN (Local Interconnect Network), and transmits information related to the air pressure of the tire 3 to the notification device 5.
  • a communication protocol such as CAN (Controller Area Network) or LIN (Local Interconnect Network)
  • the notification device 5 is, for example, a display unit provided with a display unit or a speaker for notifying information related to the air pressure of the tire 3 transmitted from the in-vehicle communication unit 16 by an image or sound, or a display provided on an instrument panel instrument. Etc.
  • the display unit is a liquid crystal display, an organic EL display, a head-up display, or the like.
  • the notification device 5 displays the air pressure of each tire 3 provided in the vehicle C.
  • the sensor control unit 21 is a microcomputer having, for example, one or a plurality of CPUs, a multi-core CPU, a ROM, a RAM, an input / output interface, and the like.
  • the CPU of the sensor control unit 21 is connected to the sensor storage unit 22, the sensor transmission unit 23, the sensor reception unit 24, the air pressure detection unit 25, and the time measurement unit 26 via an input / output interface.
  • the sensor control unit 21 reads a control program stored in the sensor storage unit 22 and controls each unit.
  • the in-vehicle wireless device 2 includes a battery (not shown) and operates with electric power from the battery.
  • the sensor storage unit 22 is a nonvolatile memory.
  • the sensor storage unit 22 stores a control program for the CPU of the sensor control unit 21 to perform processing related to detection and transmission of the air pressure of the tire 3.
  • the air pressure detection unit 25 includes, for example, a diaphragm, and detects the air pressure of the tire 3 based on the deformation amount of the diaphragm that changes depending on the magnitude of the pressure.
  • the air pressure is an absolute pressure. Absolute pressure is the magnitude of pressure relative to absolute vacuum. In the present embodiment, it has been described that the air pressure detected by the air pressure detection unit 25 is an absolute pressure. However, a gauge pressure or a differential pressure indicating the magnitude of pressure with respect to a predetermined reference pressure may be detected. .
  • the predetermined reference pressure is, for example, a median value, a lower limit value, an upper limit value, or the like of the range of air pressure when the tire 3 does not require inspection.
  • the air pressure detection unit 25 outputs a signal indicating the detected air pressure of the tire 3 to the sensor control unit 21.
  • the sensor control unit 21 generates a signal including information such as the air pressure of the tire 3 and the device ID unique to the in-vehicle wireless device 2 by executing the control program, and outputs the signal to the sensor transmission unit 23.
  • the sensor transmission unit 23 is connected to an RF antenna 23a.
  • the sensor transmission unit 23 modulates the signal generated by the sensor control unit 21 into a UHF band signal, and transmits the modulated signal using the RF antenna 23a.
  • the sensor receiving unit 24 is connected to an LF antenna 24a.
  • the sensor receiving unit 24 receives a signal transmitted from the in-vehicle communication device 1 using radio waves in the LF band by the LF antenna 24 a and outputs the received signal to the sensor control unit 21.
  • FIG. 4 is a block diagram showing a configuration example of the portable device 4.
  • the portable device 4 includes a portable device control unit 41 that controls the operation of each component of the portable device 4.
  • a portable device storage unit 42, a portable transmission unit 43, a portable reception unit 44, and a signal strength measurement unit 45 are connected to the portable device control unit 41.
  • the portable device control unit 41 is a microcomputer having, for example, one or a plurality of CPUs, a multi-core CPU, a ROM, a RAM, an input / output interface, and the like.
  • the CPU of the portable device control unit 41 is connected to the portable device storage unit 42, the portable transmission unit 43, the portable reception unit 44, and the signal strength measurement unit 45 via an input / output interface.
  • the portable device control unit 41 reads a control program stored in the portable device storage unit 42 and controls each unit.
  • the portable device storage unit 42 is a nonvolatile memory.
  • the portable device storage unit 42 controls the operation of each component of the portable device 4 by the portable device control unit 41 to transmit a signal including information for detecting the position of the portable device 4 to the in-vehicle communication device 1.
  • a control program for executing processing to be transmitted is stored.
  • the mobile receiver 44 is connected to the LF antenna 44a, receives various signals transmitted from the in-vehicle communication device 1 using radio waves in the LF band, and outputs the received signals to the mobile device controller 41.
  • FIG. 8 is a flowchart showing a processing procedure of the in-vehicle communication device 1 according to the third embodiment.
  • the control unit 11 of the in-vehicle communication device 1 according to the second embodiment executes the same processes as steps S11 to S14 of the first embodiment in steps S311 to S314.
  • step S313: YES the control unit 11 according to the third embodiment transmits a stop signal instructing stop of signal transmission to the in-vehicle wireless device 2 by the in-vehicle transmission unit 14.
  • Step S314 the information obtained by performing the reception process when interference occurs is discarded (Step S315), and the process returns to Step S313.
  • the control unit 11 performs the same processing as steps S15 to S18 of the first embodiment in steps S316 to S319.
  • the in-vehicle wireless device 2 transmits a signal related to the air pressure of the tire 3 in response to a request from the in-vehicle communication device 1, and the in-vehicle communication device 1. Receives the signal.
  • the in-vehicle communication device 1 requests transmission of a signal to the in-vehicle wireless device 2, but there is a possibility that interference occurs due to the signal from the portable device 4, the in-vehicle wireless device 1 immediately transmits a stop signal to the in-vehicle wireless device 2. The transmission of the signal from the machine 2 is stopped.
  • the vehicle-mounted communication apparatus 1 can receive the signal from the portable device 4 in a state where interference does not occur. Therefore, it is possible to prevent interference between signals transmitted from the in-vehicle wireless device 2 constituting the TPMS and the portable device 4 constituting the passive entry system.
  • Embodiment 4 was demonstrated as a modification of Embodiment 1, you may comprise the communication system for vehicles combining this Embodiment 3 and 4.
  • FIG. 1 is a diagrammatic representation of Embodiment 1
  • FIG. 11 is a block diagram illustrating a configuration example of the in-vehicle communication device 501 according to the fifth embodiment. Similar to the first embodiment, the in-vehicle communication device 501 according to the fifth embodiment includes a control unit 11, a storage unit 12, an in-vehicle transmission unit 14, an in-vehicle reception unit 13, a timekeeping unit 15, and an in-vehicle communication unit 16. In addition to the notification device 5, a vehicle speed detection unit 6 is connected to the in-vehicle communication unit 16.
  • the vehicle speed detection unit 6 includes, for example, a magnetic pickup that transmits a signal proportional to the rotation speed of an axle provided in the vehicle C, a non-contact sensor that includes a Hall element, and a counting circuit that measures the number of pulses from the non-contact sensor. And detecting the speed of the vehicle C by measuring the number of pulses.
  • the vehicle speed detection unit 6 outputs vehicle speed information indicating the speed of the vehicle C to the in-vehicle communication unit 16, and the control unit 11 acquires vehicle speed information at the vehicle speed detection unit 6.
  • the non-contact sensor is an example of a speed detection unit and is not limited to such a structure. For example, you may comprise the vehicle speed detection part 6 so that the speed of the vehicle C may be detected based on the positional information on the vehicle C detected by GPS.
  • step S511 determines whether or not a signal is received by the in-vehicle receiving unit 13 (step S511). If it is determined that no signal is received (step S511: NO), the control unit 11 returns the process to step S511, and monitors the reception state of the signal.
  • step S511 When it determines with having received the signal (step S511: YES), the control part 11 starts a reception process (step S512), and determines whether interference has arisen (step S513). When it is determined that interference has occurred (step S513: YES), the control unit 11 detects the vehicle speed at the vehicle speed detection unit 6 (step S514), and determines whether or not the detected vehicle speed is equal to or higher than a predetermined speed. (Step S515).
  • step S515 When it is determined that the vehicle speed is equal to or higher than the predetermined speed (step S515: YES), the control unit 11 transmits an increase instruction signal for increasing the transmission frequency of the signal indicating the air pressure of the tire 3 to the in-vehicle radio unit. 2 (step S516), and the process returns to step S513.
  • step S515: NO When it determines with a vehicle speed being less than predetermined speed (step S515: NO), the control part 11 transmits a stop signal to the vehicle-mounted radio
  • step S513 If it is determined that interference has not occurred (step S513: NO), the control unit 11 performs a reception process of a signal transmitted from the portable device 4 or the in-vehicle wireless device 2 (step S518). Next, the control unit 11 determines whether or not the signal reception process has been completed (step S519). When it is determined that the reception of the signal from the portable device 4 or the in-vehicle wireless device 2 has not been completed (step S519: NO), the control unit 11 returns the process to step S513 and continues the reception process.
  • step S519 If it is determined that the reception process has been completed (step S519: YES), the control unit 11 determines whether or not a process for stopping transmission of signals from the in-vehicle wireless device 2 is being executed (step S520). When it determines with the process which stops transmission of the signal from the vehicle-mounted radio 2 being performed (step S520: YES), the control part 11 sends the stop signal which instruct
  • step S521 When it is determined that the process of step S521 is completed or the process of stopping the transmission of the signal from the in-vehicle wireless device 2 is not executed (step S520: NO), the control unit 11 indicates the air pressure of the tire 3. It is determined whether or not a process for transmitting a signal with high frequency is being executed (step S522). When it determines with not performing the process which transmits the signal which shows the air pressure of the tire 3 with high frequency (step S522: NO), the control part 11 returns a process to step S511.
  • the in-vehicle communication device 501 transmits a stop signal to the in-vehicle wireless device 2 to transmit a signal from the in-vehicle wireless device 2 as in the first embodiment. Can be received and a signal transmitted from the portable device 4 can be received in a state where no interference occurs. Since the speed of the vehicle C is less than the predetermined speed and the air pressure of the tire 3 is less important, the in-vehicle communication device 501 receives the signal from the portable device 4 preferentially and then receives the signal from the in-vehicle wireless device 2. be able to.
  • the fifth embodiment has been described as a modification of the first embodiment, the second and fifth embodiments may be combined to form a vehicle communication system, or the third and fifth embodiments may be combined to form a vehicle communication.
  • a system may be configured.
  • step S617 When it is determined that the vehicle speed is equal to or higher than the predetermined speed (step S617: YES), the control unit 11 increases the transmission frequency of the request signal according to the vehicle speed (step S618), and returns the process to step S615.
  • the in-vehicle communication device 1 transmits the request signal to the in-vehicle wireless device 2 at a predetermined transmission frequency, but the frequency of the request signal increases by the processing in step S618. For this reason, the probability of successful reception of a signal indicating the air pressure of the tire 3 increases.
  • step S617 When it determines with a vehicle speed being less than predetermined speed (step S617: NO), the control part 11 transmits a stop signal to the vehicle-mounted radio
  • Step S615 when it is determined that interference does not occur (Step S615: NO), the control unit 11 performs reception processing of the signal transmitted from the portable device 4 or the in-vehicle wireless device 2 (Step S620). Next, the control unit 11 determines whether or not the signal reception process has been completed (step S621). When it is determined that reception of a signal from the portable device 4 or the in-vehicle wireless device 2 has not been completed (step S621: NO), the control unit 11 returns the process to step S615.
  • step S621 When it is determined that the reception process has been completed (step S621: YES), the control unit 11 determines whether or not a process for transmitting a request signal with high frequency is being executed (step S622). When it determines with not performing the process which transmits a request signal with high frequency (step S622: NO), the control part 11 returns a process to step S611. When it determines with performing the process which transmits a request signal with high frequency (step S622: YES), the control part 11 detects a vehicle speed in the vehicle speed detection part 6 (step S623), and a vehicle speed is less than predetermined speed. It is determined whether or not (step S624).
  • the in-vehicle communication device 1 When a signal transmission is requested to the in-vehicle wireless device 2, but the speed of the vehicle C is less than a predetermined speed and interference occurs, the in-vehicle communication device 1 immediately sends a stop signal to the in-vehicle wireless device 2 as in the fourth embodiment. By transmitting, the transmission of the signal from the in-vehicle wireless device 2 is stopped. And the vehicle-mounted communication apparatus 1 can receive the signal from the portable device 4 in a state where interference does not occur. Thus, while preventing the signal transmitted from the vehicle-mounted radio
  • FIG. 17 is a block diagram illustrating a configuration example of the in-vehicle wireless device 2 according to the seventh embodiment. Similar to the first embodiment, the in-vehicle wireless device 2 according to the seventh embodiment includes a sensor control unit 21, a sensor storage unit 22, a sensor transmission unit 23, a sensor reception unit 24, an air pressure detection unit 25, and a timer unit 26. Further, the in-vehicle wireless device 2 includes a switching unit 27 that switches the antenna that receives a signal to the RF antenna 23a or the LF antenna 24a. Switching of the receiving antenna by the switching unit 27 is controlled by the sensor control unit 21.
  • FIG. 18 is a flowchart showing a processing procedure of the in-vehicle wireless device 2 according to the seventh embodiment.
  • the sensor control unit 21 of the in-vehicle wireless device 2 refers to the time measurement result of the time measurement unit 26 and determines whether it is the transmission timing of the signal indicating the air pressure of the tire 3 (step S731). If it is determined that it is not the transmission timing (step S731: NO), the sensor control unit 21 returns the process to step S731, and waits until the transmission timing arrives.
  • step S731 If it is determined that it is the transmission timing (step S731: YES), the sensor control unit 21 switches the antenna used for signal reception to the RF antenna 23a (step S732), and receives the signal using the RF antenna 23a (step S732). Step S733).
  • the reception antenna By switching the reception antenna to the RF antenna 23a, the presence of a UHF band signal, for example, a signal transmitted from the portable device 4 can be confirmed. Then, the antenna used for signal reception is switched to the original LF antenna 24a (step S734).
  • the sensor control unit 21 determines whether or not there is a possibility of interference between the signal transmitted from the in-vehicle wireless device 2 and the signal transmitted from the portable device 4 based on the reception result of step S733. (Step S735).
  • the sensor control unit 21 may determine that there is a possibility of interference when any signal is received in the process of step S733. If it is determined that there is a possibility of interference (step S735: YES), the sensor control unit 21 returns the process to step S731.
  • the in-vehicle wireless device 2 monitors the UHF band signal, and when there is no UHF band signal, the signal related to the tire 3 air pressure. When the UHF band signal is present, the signal transmission is stopped. Therefore, the in-vehicle communication device 701 can receive a signal transmitted from the in-vehicle wireless device 2 in a situation where there is a low possibility of interference. Therefore, it prevents the signal transmitted from the in-vehicle wireless device 2 constituting the TPMS and the portable device 4 constituting the passive entry system from interfering more effectively, and is transmitted from the in-vehicle wireless device 2 and the portable device 4. Can receive signals.
  • Embodiment 7 has been described as a modification of Embodiment 1, a vehicle communication system may be configured by combining Embodiments 1 to 6 with the configuration of the in-vehicle wireless device 2 according to Embodiment 7.
  • the configuration of the vehicular communication system according to the eighth embodiment is the same as that of the fourth embodiment, and differs from the fourth embodiment in that the second in-vehicle wireless device 7 connected by wire is provided. Will be explained. Since other configurations and operational effects are the same as those of the fourth embodiment, the corresponding portions are denoted by the same reference numerals and detailed description thereof is omitted.
  • FIG. 19 is a block diagram illustrating a configuration example of the in-vehicle communication device 801 according to the eighth embodiment.
  • the in-vehicle communication device 801 according to the eighth embodiment has the same configuration as that of the first embodiment, and further includes a drive unit 17.
  • a second in-vehicle wireless device 7 is connected to the drive unit 17.
  • the control unit 11 transmits the request signal to the second in-vehicle wireless device 7 by wire in the driving unit 17.
  • the second in-vehicle wireless device 7 wirelessly transmits a signal corresponding to the request signal to the in-vehicle receiving unit 13 in the UHF band.
  • Embodiment 8 was demonstrated as a modification of Embodiment 4, you may comprise the communication system for vehicles by combining the structure of the vehicle-mounted communication apparatus 801 which concerns on this Embodiment 8 with this other Embodiment.
  • the configuration in which the in-vehicle communication device 801 stops signal transmission by the in-vehicle wireless device 2 when interference occurs has been described.
  • the signal transmission by the portable device 4 is stopped. It may be configured.
  • the portable device 4 may be configured to execute the signal transmission stop process and the cancel process performed by the in-vehicle wireless device 2 according to the first to eighth embodiments.

Landscapes

  • Engineering & Computer Science (AREA)
  • Computer Networks & Wireless Communication (AREA)
  • Mechanical Engineering (AREA)
  • Signal Processing (AREA)
  • Measuring Fluid Pressure (AREA)
  • Transceivers (AREA)
  • Noise Elimination (AREA)
  • Arrangements For Transmission Of Measured Signals (AREA)
  • Mobile Radio Communication Systems (AREA)
PCT/JP2016/057610 2015-03-13 2016-03-10 車両用通信システム及び車載通信装置 Ceased WO2016148023A1 (ja)

Priority Applications (2)

Application Number Priority Date Filing Date Title
CN201680011984.0A CN107251443B (zh) 2015-03-13 2016-03-10 车辆用通信系统及车载通信装置
US15/556,869 US10279634B2 (en) 2015-03-13 2016-03-10 Vehicular communication system and in-vehicle communication apparatus

Applications Claiming Priority (2)

Application Number Priority Date Filing Date Title
JP2015051087A JP6369362B2 (ja) 2015-03-13 2015-03-13 車両用通信システム及び車載通信装置
JP2015-051087 2015-03-13

Publications (1)

Publication Number Publication Date
WO2016148023A1 true WO2016148023A1 (ja) 2016-09-22

Family

ID=56919671

Family Applications (1)

Application Number Title Priority Date Filing Date
PCT/JP2016/057610 Ceased WO2016148023A1 (ja) 2015-03-13 2016-03-10 車両用通信システム及び車載通信装置

Country Status (4)

Country Link
US (1) US10279634B2 (enExample)
JP (1) JP6369362B2 (enExample)
CN (1) CN107251443B (enExample)
WO (1) WO2016148023A1 (enExample)

Cited By (2)

* Cited by examiner, † Cited by third party
Publication number Priority date Publication date Assignee Title
JP2018074378A (ja) * 2016-10-28 2018-05-10 マツダ株式会社 無線送信装置及び車両
CN110154652A (zh) * 2018-02-14 2019-08-23 英飞凌科技股份有限公司 用于轮胎压力传感器的配置数据存储

Families Citing this family (10)

* Cited by examiner, † Cited by third party
Publication number Priority date Publication date Assignee Title
US10857844B2 (en) * 2016-01-15 2020-12-08 Infineon Technologies Ag Tire parameter monitoring system
JP6443428B2 (ja) * 2016-11-09 2018-12-26 マツダ株式会社 無線式送受信装置及び車両
JP2018107606A (ja) * 2016-12-26 2018-07-05 株式会社オートネットワーク技術研究所 制御システム及び車載機
JP6747415B2 (ja) * 2017-10-30 2020-08-26 株式会社デンソー タイヤ空気圧検出装置
GB2569383A (en) 2017-12-18 2019-06-19 Airbus Operations Ltd Tyre monitoring device and method
JP6900901B2 (ja) * 2017-12-28 2021-07-07 トヨタ自動車株式会社 車両用警報システム
FR3093954B1 (fr) * 2019-03-20 2021-02-26 Continental Automotive Procédé d’ajustement d’une périodicité de communication entre une unité roue et un dispositif habilité
GB2584853A (en) * 2019-06-17 2020-12-23 Airbus Operations Ltd Initialisation of tyre monitoring devices
US20230375340A1 (en) * 2021-02-09 2023-11-23 Hitachi Astemo, Ltd. Strain amount detecting device
US12311705B2 (en) * 2022-09-30 2025-05-27 Cypress Semiconductor Corporation Distributed storage and processing of vehicle sensor data, including tire pressure data

Citations (5)

* Cited by examiner, † Cited by third party
Publication number Priority date Publication date Assignee Title
JP2004189072A (ja) * 2002-12-10 2004-07-08 Alps Electric Co Ltd 双方向通信でタイヤ空気圧監視を行うパッシブキーレスエントリ装置
JP2005157511A (ja) * 2003-11-21 2005-06-16 Toyota Motor Corp 車両における情報処理装置および車輪情報処理装置
JP2011079461A (ja) * 2009-10-08 2011-04-21 Tokai Rika Co Ltd タイヤ空気圧監視システム及びタイヤ空気圧監視方法
JP2013026732A (ja) * 2011-07-19 2013-02-04 Toyota Motor Corp 車両用受信機システム
JP2013236300A (ja) * 2012-05-10 2013-11-21 Olympus Corp 無線通信装置、無線通信システム、無線通信方法、及びプログラム

Family Cites Families (26)

* Cited by examiner, † Cited by third party
Publication number Priority date Publication date Assignee Title
US6389337B1 (en) * 2000-04-24 2002-05-14 H. Brock Kolls Transacting e-commerce and conducting e-business related to identifying and procuring automotive service and vehicle replacement parts
CN2599558Y (zh) * 2002-11-11 2004-01-14 欧比特(珠海)软件工程有限公司 轮胎压力检测装置
US20090102636A1 (en) * 2003-11-12 2009-04-23 Audiovox Corporation Vehicle tire pressure monitor
US7898386B2 (en) * 2005-03-15 2011-03-01 DEI Headquaters Inc. Control device for vehicles
US20060270465A1 (en) * 2005-05-31 2006-11-30 Matthew Lee Wireless microphone for public safety use
CN100466758C (zh) * 2005-07-15 2009-03-04 上海大众汽车有限公司 轮胎气压/温度监测系统及装有该系统的车辆
GB2438009A (en) * 2006-02-24 2007-11-14 Location Company Ltd Vehicle security system
JP4400599B2 (ja) * 2006-08-03 2010-01-20 トヨタ自動車株式会社 車両制御システム
JP2008099085A (ja) 2006-10-13 2008-04-24 Mitsubishi Electric Corp 無線通信用車載器
US8319605B2 (en) * 2007-06-19 2012-11-27 Magna Electronics, Inc. Remote vehicle control system utilizing multiple antennas
CN101734115B (zh) * 2008-11-25 2011-07-20 联创汽车电子有限公司 汽车轮胎气压监视系统的报警管理方法
JP5387055B2 (ja) * 2009-03-04 2014-01-15 日本電気株式会社 移動体通信機、通信システム、送信電力制御方法およびプログラム
CN102019821A (zh) * 2009-09-23 2011-04-20 台达电子工业股份有限公司 整合胎压监测与免钥匙进入的方法
CN101985267A (zh) * 2010-03-29 2011-03-16 苏州市梯欧梯汽车电子有限公司 一种包括智能无匙门控和轮胎压力监测的汽车安全系统及控制方法
US20110254660A1 (en) * 2010-04-20 2011-10-20 Sun chun-yi Integrated system and method for tire pressure monitoring and remote keyless entry
CN101840625B (zh) * 2010-05-05 2011-12-07 启明信息技术股份有限公司 汽车智能遥控钥匙进入方法及装置
CN103378866A (zh) * 2012-04-18 2013-10-30 泉州欧讯电子有限公司 一种两个操作系统的双频段车载对讲机
US20150141043A1 (en) * 2013-08-23 2015-05-21 Cellepathy Ltd. Corrective navigation instructions
US20150168174A1 (en) * 2012-06-21 2015-06-18 Cellepathy Ltd. Navigation instructions
CN103057360B (zh) * 2012-12-18 2015-07-01 辉创电子科技(苏州)有限公司 汽车轮胎检测装置
US9348555B2 (en) * 2013-03-15 2016-05-24 Volkswagen Ag In-vehicle access of mobile device functions
US9234764B2 (en) * 2014-05-20 2016-01-12 Honda Motor Co., Ltd. Navigation system initiating conversation with driver
US9363318B2 (en) * 2014-05-23 2016-06-07 Ford Global Technologies, Llc Method and system for launching an application
US9357368B2 (en) * 2014-05-23 2016-05-31 Ford Global Technologies, Llc Method and system for launching an application
US9326092B2 (en) * 2014-05-23 2016-04-26 Ford Global Technologies, Llc Method and system for launching an application
US9379828B2 (en) * 2014-11-07 2016-06-28 Ford Global Technologies, Llc Multiple transceiver and antenna verification system

Patent Citations (5)

* Cited by examiner, † Cited by third party
Publication number Priority date Publication date Assignee Title
JP2004189072A (ja) * 2002-12-10 2004-07-08 Alps Electric Co Ltd 双方向通信でタイヤ空気圧監視を行うパッシブキーレスエントリ装置
JP2005157511A (ja) * 2003-11-21 2005-06-16 Toyota Motor Corp 車両における情報処理装置および車輪情報処理装置
JP2011079461A (ja) * 2009-10-08 2011-04-21 Tokai Rika Co Ltd タイヤ空気圧監視システム及びタイヤ空気圧監視方法
JP2013026732A (ja) * 2011-07-19 2013-02-04 Toyota Motor Corp 車両用受信機システム
JP2013236300A (ja) * 2012-05-10 2013-11-21 Olympus Corp 無線通信装置、無線通信システム、無線通信方法、及びプログラム

Cited By (2)

* Cited by examiner, † Cited by third party
Publication number Priority date Publication date Assignee Title
JP2018074378A (ja) * 2016-10-28 2018-05-10 マツダ株式会社 無線送信装置及び車両
CN110154652A (zh) * 2018-02-14 2019-08-23 英飞凌科技股份有限公司 用于轮胎压力传感器的配置数据存储

Also Published As

Publication number Publication date
JP6369362B2 (ja) 2018-08-08
US20180050571A1 (en) 2018-02-22
JP2016171517A (ja) 2016-09-23
US10279634B2 (en) 2019-05-07
CN107251443B (zh) 2019-06-18
CN107251443A (zh) 2017-10-13

Similar Documents

Publication Publication Date Title
JP6369362B2 (ja) 車両用通信システム及び車載通信装置
US10220659B2 (en) Tire pressure monitoring system, detection device and monitoring device
JP6524881B2 (ja) 車載記憶装置及び車載記憶システム
WO2015107609A1 (ja) 制御システム
US11298990B2 (en) Tire pressure monitoring system
US20180222444A1 (en) Vehicle control system
WO2017069103A1 (ja) 監視装置及びタイヤ空気圧監視システム
JP2015160604A (ja) 携帯機
JP2012218672A (ja) タイヤid自動登録システム
JP6380061B2 (ja) 車載報知装置及び報知システム
WO2018216462A1 (ja) タイヤ空気圧検出システム
WO2017188027A1 (ja) タイヤ空気圧監視システム及び監視装置
WO2016148059A1 (ja) タイヤ空気圧監視システム及び車載無線機
JP2016078488A (ja) タイヤ状態監視装置
JP2018192839A (ja) 検出装置及びタイヤ空気圧監視システム
JP2007302188A (ja) タイヤ空気圧検出装置
JP6569125B2 (ja) タイヤ空気圧監視システム、監視装置及び検出装置
WO2018056115A1 (ja) タイヤ空気圧監視システム及び監視装置
JP5666966B2 (ja) 統合チューナ
EP3267317B1 (en) Portable device with vibration sensor
JP2017065573A (ja) タイヤ空気圧監視システム及び監視装置
JP2017222300A (ja) タイヤ空気圧監視システム及び検出装置
WO2017188025A1 (ja) タイヤ空気圧監視システム及び監視装置
JP2019014303A (ja) 車輪登録装置およびそれを備えたタイヤ空気圧検出装置
WO2017064999A1 (ja) 車載機及び車載システム

Legal Events

Date Code Title Description
121 Ep: the epo has been informed by wipo that ep was designated in this application

Ref document number: 16764853

Country of ref document: EP

Kind code of ref document: A1

DPE2 Request for preliminary examination filed before expiration of 19th month from priority date (pct application filed from 20040101)
WWE Wipo information: entry into national phase

Ref document number: 15556869

Country of ref document: US

NENP Non-entry into the national phase

Ref country code: DE

122 Ep: pct application non-entry in european phase

Ref document number: 16764853

Country of ref document: EP

Kind code of ref document: A1