WO2016092947A1 - 紙葉類鑑別装置 - Google Patents

紙葉類鑑別装置 Download PDF

Info

Publication number
WO2016092947A1
WO2016092947A1 PCT/JP2015/078543 JP2015078543W WO2016092947A1 WO 2016092947 A1 WO2016092947 A1 WO 2016092947A1 JP 2015078543 W JP2015078543 W JP 2015078543W WO 2016092947 A1 WO2016092947 A1 WO 2016092947A1
Authority
WO
WIPO (PCT)
Prior art keywords
ultraviolet
paper sheet
ultraviolet sensor
sensor
light
Prior art date
Legal status (The legal status is an assumption and is not a legal conclusion. Google has not performed a legal analysis and makes no representation as to the accuracy of the status listed.)
Ceased
Application number
PCT/JP2015/078543
Other languages
English (en)
French (fr)
Japanese (ja)
Inventor
信晴 西濃
潤一 大田
Current Assignee (The listed assignees may be inaccurate. Google has not performed a legal analysis and makes no representation or warranty as to the accuracy of the list.)
Oki Electric Industry Co Ltd
Original Assignee
Oki Electric Industry Co Ltd
Priority date (The priority date is an assumption and is not a legal conclusion. Google has not performed a legal analysis and makes no representation as to the accuracy of the date listed.)
Filing date
Publication date
Application filed by Oki Electric Industry Co Ltd filed Critical Oki Electric Industry Co Ltd
Publication of WO2016092947A1 publication Critical patent/WO2016092947A1/ja
Anticipated expiration legal-status Critical
Ceased legal-status Critical Current

Links

Images

Classifications

    • GPHYSICS
    • G07CHECKING-DEVICES
    • G07DHANDLING OF COINS OR VALUABLE PAPERS, e.g. TESTING, SORTING BY DENOMINATIONS, COUNTING, DISPENSING, CHANGING OR DEPOSITING
    • G07D7/00Testing specially adapted to determine the identity or genuineness of valuable papers or for segregating those which are unacceptable, e.g. banknotes that are alien to a currency
    • G07D7/06Testing specially adapted to determine the identity or genuineness of valuable papers or for segregating those which are unacceptable, e.g. banknotes that are alien to a currency using wave or particle radiation
    • G07D7/12Visible light, infrared or ultraviolet radiation

Definitions

  • the present disclosure relates to a paper sheet discrimination device that discriminates paper sheets.
  • a cash handling device such as an automatic teller machine (ATM) or a cash dispenser (CD) is equipped with a paper sheet discrimination device for differentiating the denomination and authenticity of paper sheets (banknotes) used. Has been.
  • ATM automatic teller machine
  • CD cash dispenser
  • the paper sheet discrimination device includes a magnetic sensor that acquires magnetic information of a paper sheet, an optical image sensor that acquires image information of a paper sheet, a thickness detection sensor that acquires thickness information of the paper sheet, and the like. ing.
  • the paper sheet discriminating apparatus discriminates the number of paper sheets, the running state, the denomination, the authenticity, the degree of damage (loss), and the like based on various information acquired by these sensors.
  • denomination banknotes that are provided with a phosphor that emits excitation light when irradiated with ultraviolet light.
  • a region that is excited by being irradiated with ultraviolet light and emits excitation light is referred to as an “ultraviolet phosphor region”.
  • the phenomenon in which the phosphor is irradiated with ultraviolet light and emits excitation light is referred to as “ultraviolet light fluorescence reaction”.
  • UV sensor ultraviolet sensor
  • An ultraviolet sensor is a sensor that detects an ultraviolet light fluorescence reaction of a paper sheet when the paper sheet (banknote) is irradiated with ultraviolet light.
  • a paper sheet discrimination device described in Japanese Patent Application Laid-Open No. 2013-206440 uses an ultraviolet sensor (UV sensor) to irradiate a paper sheet (banknote) with ultraviolet light and reflect or reflect light. , And the result is acquired as ultraviolet sensor information, and the reflected image information is acquired by irradiating the paper with visible light and reading the reflected light with an optical image sensor (line image sensor).
  • UV sensor ultraviolet sensor
  • line image sensor optical image sensor
  • a paper sheet discrimination device described in Japanese Patent Application Laid-Open No. 2009-157504 irradiates a paper sheet with ultraviolet light emitted by a light emitting unit (ultraviolet light emitting lamp) of an ultraviolet sensor (fluorescence emission detecting unit), and The excitation light emitted from the phosphor when the phosphor contained in the leaf is excited by ultraviolet light is received by the light receiving unit (photodiode), and the bleaching emission characteristic and the fluorescence emission characteristic from the paper are obtained. .
  • the paper sheet discrimination apparatus comprehensively uses the fluorescence reaction information of paper sheets acquired by the ultraviolet sensor and the characteristic information of various paper sheets acquired by other sensors, thereby The discrimination accuracy such as the number of sheets, running state, denomination, authenticity, degree of damage (loss) is improved.
  • an authentic paper sheet (genuine bill) has an ultraviolet phosphor region only on a part of the paper surface.
  • various fake paper sheets there are paper sheets that have an ultraviolet phosphor region over the entire surface of the paper.
  • Such a fake note is presumed to be manufactured by using paper sheets such as copy paper (quality paper) without performing special processing that limits the ultraviolet phosphor region, for example. .
  • Such a counterfeit note (hereinafter referred to as a “counterfeit note”) has an ultraviolet phosphor region in all parts of the paper surface, so that the ultraviolet light fluorescence reaction is detected from all parts of the paper surface.
  • a characteristic is a characteristic that a genuine note cannot originally have.
  • the paper sheet discrimination apparatus described in Japanese Patent Application Laid-Open No. 2013-206440 or Japanese Patent Application Laid-Open No. 2009-157504 has only a single ultraviolet sensor. Therefore, these paper sheet discrimination devices discriminate between genuine bills and counterfeit bills only by discriminating whether or not an ultraviolet light fluorescence reaction is detected from the paper surface of the paper sheets in discrimination using ultraviolet light. I can't.
  • the paper sheet discrimination device in the discrimination using ultraviolet light, the paper sheet to be identified is a fake note, and the ultraviolet light fluorescence reaction is detected from the entire part of the paper surface of the paper sheet. Even so, the paper sheet could not be properly identified as a fake ticket.
  • the inventor of the present disclosure uses a plurality of (for example, two) ultraviolet sensors so that the plurality of ultraviolet sensors do not interfere with each other, and the ultraviolet light fluorescence reaction starts from only a specific part of the paper surface. It was thought that such a problem could be solved by determining whether or not it was detected.
  • This disclosure mainly aims to provide a paper sheet discrimination apparatus that improves the authenticity discrimination performance of paper sheets in discrimination using ultraviolet light in order to solve the above problems.
  • the present disclosure is a paper sheet discrimination device that discriminates paper sheets, a transport member that transports paper sheets, and a transport member that is disposed to face the transport member, A sandwiching member that sandwiches the paper sheet therebetween, a first guide that supports the transport member, a second guide that is disposed opposite to the first guide and supports the sandwiching member, and the first A first ultraviolet sensor that is disposed on the guide side, irradiates the exterior with ultraviolet light, is excited by a phosphor contained in the paper sheet, and detects excitation light emitted from the phosphor; and the second guide side And a second ultraviolet sensor that irradiates ultraviolet light to the outside and that is excited by a phosphor contained in the paper sheet and detects excitation light emitted from the phosphor, the first ultraviolet light
  • the sensor and the second ultraviolet sensor are Configuration to which is arranged at a position not opposed to.
  • this paper sheet discrimination device the first ultraviolet sensor and the second ultraviolet sensor are arranged at positions that do not face each other. Therefore, this paper sheet discrimination device can prevent the first ultraviolet sensor and the second ultraviolet sensor from interfering with each other. In this state, the paper sheet discrimination device can discriminate paper sheets based on the ultraviolet light fluorescence reaction information of the paper sheets acquired by the first ultraviolet sensor and the second ultraviolet sensor.
  • This paper sheet discrimination apparatus is a case where, in discrimination using ultraviolet light, the paper sheet to be identified is the counterfeit note, and the ultraviolet light fluorescence reaction occurs in all parts of the paper surface of the paper sheet. In addition, by determining whether or not the ultraviolet fluorescent reaction is detected from only a specific part of the paper surface, the paper sheet can be appropriately determined as a fake ticket.
  • FIG. 1 It is a figure which shows the whole structure of the paper sheet discrimination
  • FIG. It is a figure which shows the arrangement position of the ultraviolet sensor of the lower side of the paper sheet discrimination
  • FIG. It is a figure which shows the arrangement position of the ultraviolet sensor of the lower side of the paper sheet discrimination
  • FIG. It is a figure which shows the arrangement position of the ultraviolet sensor of the lower side of the paper sheet discrimination
  • FIG. It is a figure which shows the arrangement position of the ultraviolet sensor of the upper side of the paper sheet discrimination
  • FIG. 1 It is a figure which shows the arrangement position of the ultraviolet sensor of the upper side of the paper sheet discrimination
  • FIG. 2 It is a figure which shows the arrangement position of the ultraviolet sensor of the upper side of the paper sheet discrimination
  • FIG. It is a figure which shows the arrangement position of both the lower ultraviolet sensor and upper ultraviolet sensor of the paper sheet discrimination
  • FIG. It is a figure which shows the arrangement position of both the lower ultraviolet sensor and upper ultraviolet sensor of the paper sheet discrimination
  • FIG. It is a figure which shows the arrangement position of both the lower ultraviolet sensor and upper ultraviolet sensor of the paper sheet discrimination
  • FIG. It is a figure which shows the arrangement position of both the lower ultraviolet sensor and upper ultraviolet sensor of the paper sheet discrimination
  • FIG. 1 It is a figure which shows the structure of the ultraviolet sensor used in Embodiment 1.
  • FIG. 2 It is a figure which shows the structure of the ultraviolet sensor used in Embodiment 1.
  • FIG. 2 It is a figure which shows the structure of the ultraviolet sensor used in Embodiment 1.
  • FIG. 2 It is a figure which shows the mounting structure of the ultraviolet sensor used in Embodiment 1.
  • FIG. It is explanatory drawing (1) of the timing of extraction of the ultraviolet-light fluorescence reaction information of the paper sheet discrimination
  • FIG. 1 It is a figure (1) which shows the structure of the ultraviolet sensor used with the paper sheet discrimination
  • FIG. 1 shows the structure of the ultraviolet sensor of the paper sheet discrimination
  • FIG. It is a figure which shows the structure of the ultraviolet sensor of the paper sheet discrimination
  • FIG. It is a figure (1) which shows the manufacturing method of the ultraviolet sensor attachment part used in Embodiment 2. It is a figure (1) which shows the manufacturing method of the ultraviolet sensor attachment part used in Embodiment 2. It is a figure (1) which shows the manufacturing method of the ultraviolet sensor attachment part used in Embodiment 2. It is a figure (2) which shows the manufacturing method of the ultraviolet sensor attachment part used in Embodiment 2. It is a figure (2) which shows the manufacturing method of the ultraviolet sensor attachment part used in Embodiment 2. It is a figure (2) which shows the manufacturing method of the ultraviolet sensor attachment part used in Embodiment 2. It is a figure which shows the block configuration of the paper sheet discrimination
  • the paper sheet discrimination apparatus 1 is an apparatus that discriminates paper sheets.
  • the paper sheet discrimination apparatus 1 is mounted on an automatic teller machine (ATM) and the paper sheet is a banknote.
  • ATM automatic teller machine
  • paper sheets will be referred to as “banknotes”.
  • the ultraviolet sensor fluorescence detection unit
  • the paper sheet discrimination device disclosed in Japanese Patent Application Laid-Open No. 2009-157504 is in a state where paper sheets (banknotes) are fluttered when performing discrimination of paper sheets (banknotes) using ultraviolet light (that is, The ultraviolet light fluorescence reaction is detected by the ultraviolet sensor in a state where the position of the paper sheet (banknote) becomes unstable and the position of the paper sheet (banknote) is likely to fluctuate.
  • the paper sheet discrimination device disclosed in the Japanese Patent Gazette has a problem that the output of the ultraviolet sensor is likely to fluctuate, and the paper sheet (banknote) using ultraviolet light cannot be accurately identified.
  • the paper sheet discrimination apparatus 1 according to the first embodiment also solves such a problem.
  • FIG. 1 is a diagram illustrating an overall configuration of a paper sheet discrimination apparatus according to the first embodiment.
  • FIG. 1 for convenience of explanation, the left side plates of the lower frame 2 and the upper frame 3 are omitted, and the internal components are schematically shown.
  • the paper sheet discrimination apparatus 1 has a lower frame 2 and an upper frame 3.
  • the lower frame 2 and the upper frame 3 are frame members that support each component. Both the lower frame 2 and the upper frame 3 are formed in a rectangular parallelepiped shape.
  • a conveyance path 10 for conveying the banknote BL is provided between the lower frame 2 and the upper frame 3.
  • the conveyance path 10 is provided so as to extend in a substantially horizontal direction.
  • the paper sheet discrimination device 1 Based on the control of the control unit 120, the paper sheet discrimination device 1 performs the discrimination process of the banknotes BL while running the banknotes BL forward or backward along the transport path 10.
  • the paper sheet discriminating apparatus 1 is a rotation fulcrum so that the removal of the bill BL when the bill BL is stopped on the transport path 10 and the maintenance of each component around the transport path 10 can be easily performed.
  • the upper frame 3 is pivoted about 3ax and the conveyance path 10 can be exposed.
  • the lower frame 2 includes a connecting portion 4 connected to the upper frame 3.
  • the connecting portion 4 is formed so as to extend upward from a position near the end portion (the front end portion in the illustrated example) of the lower frame 2.
  • the connecting portion 4 includes a pivot point 3ax of the upper frame 3 at the upper end.
  • the rotation fulcrum 3ax is disposed so as to extend in the left-right direction.
  • the connecting portion 4 supports the upper frame 3 so as to be rotatable about the rotation fulcrum 3ax.
  • the paper sheet discrimination device 1 has a configuration in which the lower frame 2 and the upper frame 3 are fixed by a lock lever 6.
  • the lock lever 6 is supported rotatably about a rotation fulcrum 6ax provided in the vicinity of the end portion (rear end portion in the illustrated example) of the upper frame 3.
  • a hook portion 6 b that engages with an engagement portion 7 provided on the lower frame 2 is formed.
  • the upper frame 3 is fixed to the lower frame 2 by the hook portion 6b and the engaging portion 7 engaging with each other.
  • the paper sheet discrimination device 1 is arranged around the conveyance path 10 with conveyance guides 11 and 16, drive rollers 21a, 21b, and 21c, driven rollers 26a, 26b, and 26c, a magnetic information acquisition unit 30, an optical information acquisition unit 40, and an ultraviolet light.
  • a photofluorescence reaction information acquisition unit 50 and a thickness information acquisition unit 60 are provided.
  • the conveyance guide 11 is a guide member provided on the lower frame 2.
  • the conveyance guide 16 is a guide member provided on the upper frame 3.
  • the conveyance guide 11 is referred to as a “lower conveyance guide 11”
  • the conveyance guide 16 is referred to as an “upper conveyance guide 16”.
  • the lower conveyance guide 11 is an example of a “first guide”.
  • the upper transport guide 16 is an example of a “second guide”.
  • the magnetic information acquisition unit 30 acquires magnetic information from the banknote BL.
  • the optical information acquisition unit 40 acquires linear image information of the banknote BL.
  • the ultraviolet light fluorescence reaction information acquisition unit 50 has information on banknotes BL (hereinafter referred to as “ultraviolet light fluorescence reaction”) indicating the presence / absence of an ultraviolet light phosphor region (a region excited by being irradiated with ultraviolet light and emitting excitation light). Information)).
  • the thickness information acquisition unit 60 acquires thickness information of the banknote BL.
  • a driving roller 21a, 21b, 21c and a reference roller 61 which will be described later, are rotatably attached to the lower conveyance guide 11.
  • the rotating shaft bodies of the driving rollers 21a, 21b, 21c and the reference roller 61 are rotatably arranged so as to extend in the left-right direction (that is, the direction perpendicular to the conveyance direction of the bills BL). .
  • the distance between the driving roller 21a and the driving roller 21b (distance in the front-rear direction), the distance between the driving roller 21b and the driving roller 21c, and the distance between the driving roller 21c and the reference roller 61 are bill BL
  • the distance is set shorter than the length in the short direction.
  • the driving rollers 21 a, 21 b, 21 c and the reference roller 61 have a configuration in which a part of each outer peripheral surface is projected into the conveyance path 10 from an opening formed in the lower conveyance guide 11.
  • driven rollers 26a, 26b, and 26c are rotatably attached to the upper conveyance guide 16 so as to face the driving rollers 21a, 21b, and 21c.
  • the rotating shafts of the driven rollers 26a, 26b, and 26c are disposed so as to be rotatable and vertically movable so as to extend in the left-right direction.
  • the driven rollers 26a, 26b, and 26c are pressed against the driving rollers 21a, 21b, and 21c by urging members (compression springs), respectively.
  • a support member 68 (described later) of the thickness information acquisition unit 60 is attached to the upper conveyance guide 16.
  • the upper transport guide 16 includes a rotation fulcrum 68ax of the support member 68.
  • the rotation fulcrum 68ax is arranged extending in the left-right direction.
  • the upper transport guide 16 supports the support member 68 so as to be rotatable about the rotation fulcrum 68ax.
  • the upper surface 12 of the lower conveyance guide 11 is formed into a flat surface so as to function as the lower conveyance surface of the conveyance path 10.
  • the lower surface 17 of the upper conveyance guide 16 is formed in a flat surface shape so as to function as an upper conveyance surface of the conveyance path 10.
  • the lower conveyance guide 11 is formed with an opening for projecting a part of the outer peripheral surface of each of the driving rollers 21 a, 21 b, 21 c and a reference roller 61 (described later) of the thickness information acquisition unit 60 into the conveyance path 10. Has been.
  • the upper conveyance guide 16 has openings for causing the driven rollers 26 a, 26 b, 26 c and a part of the outer peripheral surface of the detection roller 66 (described later) of the thickness information acquisition unit 60 to protrude into the conveyance path 10. Is formed.
  • the driven rollers 26a, 26b, 26c and the detection roller 66 are pressed against the rollers corresponding to the drive rollers 21a, 21b, 21c and the reference roller 61 by an urging member (compression spring).
  • the driving rollers 21a, 21b, 21c and the reference roller 61 are rotated by the driving force transmitted from the actuator.
  • the driven rollers 26a, 26b, 26c and the detection roller 66 are driven by the rotation of the corresponding rollers while pressing the bill BL against the rollers corresponding to the driving rollers 21a, 21b, 21c and the reference roller 61, respectively. Rotate.
  • the paper sheet discrimination apparatus 1 conveys the banknote BL in the front-back direction along the conveyance path 10.
  • the driving rollers 21a, 21b, and 21c are rollers that are driven to rotate by an actuator and convey the bills BL.
  • the drive rollers 21a, 21b, and 21c are each made of a rubber-based elastic material, and are configured to have a high frictional force against the bill BL.
  • the drive roller 21c corresponds to a “conveying member” recited in the claims.
  • the driven rollers 26a, 26b, and 26c are rollers that are disposed so as to face the driving rollers 21a, 21b, and 21c, respectively, and sandwich and convey the banknote BL between the driving rollers 21a, 21b, and 21c.
  • the driven rollers 26a, 26b, and 26c rotate following the rotation of the driving rollers 21a, 21b, and 21c, respectively.
  • the driven rollers 26a, 26b, and 26c are each configured by a metal material, a resin material, a rubber-based elastic material, or a combination of these materials.
  • the driven roller 26c is an example of a “clamping member”.
  • a magnetic gap roller 31 (to be described later) of the magnetic information acquisition unit 30 is disposed at a position between the drive roller 21a and the drive roller 21b, and (b) an optical information acquisition unit.
  • a lower optical image sensor 41 (described later) is disposed between the drive roller 21b and the drive roller 21c, and (c) a lower ultraviolet sensor 51 (described later) of the ultraviolet light fluorescence reaction information acquisition unit 50 is driven.
  • the reference roller 61 of the thickness information acquisition unit 60 is disposed at a position downstream (rear side) from the drive roller 21c. .
  • the upper frame 3 has (a) a magnetic sensor 36 (to be described later) of the magnetic information acquisition unit 30 disposed at a position between the driven roller 26a and the driven roller 26b, and (b) an optical information acquisition unit. 40, an upper optical image sensor 46, which will be described later, is disposed between the driven roller 26b and the driven roller 26c, and (c) an upper ultraviolet sensor 56, which will be described later, of the ultraviolet light fluorescence reaction information acquisition unit 50 is driven roller 26c. It is assumed that (d) the detection roller 66 of the thickness information acquisition unit 60 is arranged at a position downstream (rear side) from the driven roller 26c. However, the arrangement positions of these members can be changed according to the operation.
  • the magnetic information acquisition unit 30 includes a magnetic sensor 36 and a magnetic gap roller 31.
  • the magnetic sensor 36 is a sensor that reads magnetic information from the bill BL.
  • the magnetic gap roller 31 is a roller that brings the bill BL close to the vicinity of the magnetic sensor reading surface 37 of the magnetic sensor 36.
  • the magnetic sensor 36 is attached to the upper frame 3.
  • the magnetic gap roller 31 is attached to the lower frame 2 so as to face the magnetic sensor reading surface 37 of the magnetic sensor 36.
  • the magnetic sensor 36 has a configuration in which the magnetic sensor reading surface 37 is protruded into the conveyance path 10 from an opening formed in the upper conveyance guide 16.
  • the magnetic gap roller 31 has a configuration in which the magnetic gap roller 31 protrudes into the transport path 10 from an opening formed in the lower transport guide 11.
  • the magnetic gap roller 31 includes a rotating shaft formed of a nonmagnetic material such as austenitic stainless steel and a cylindrical roller portion formed of a plurality of rubber-based elastic materials.
  • the rotating shaft of the magnetic gap roller 31 is arranged so as to be rotatable and vertically movable so as to extend in the left-right direction.
  • the magnetic gap roller 31 is rotationally driven by an actuator.
  • the magnetic gap roller 31 is pressed upward by a compression spring so as to abut against a limiter provided on the lower frame 2 or the magnetic sensor 36.
  • the distance between the outer peripheral surface of the magnetic gap roller 31 and the magnetic sensor reading surface 37 of the magnetic sensor 36 is set to be a value within a predetermined range.
  • the optical information acquisition unit 40 includes an optical image sensor 41 disposed on the lower side of the transport path 10 and an optical image sensor 46 disposed on the upper side of the transport path 10.
  • the optical image sensors 41 and 46 are constituted by, for example, reflection / transmission type line image sensors.
  • the optical image sensor 41 is referred to as a “lower optical image sensor 41”
  • the optical image sensor 46 is referred to as an “upper optical image sensor 46”.
  • the lower optical image sensor 41 linearly irradiates predetermined irradiation light in the upward direction, and linearly receives diffuse reflection light in which a part of the irradiation light is diffused on the lower surface of the banknote BL.
  • the diffusely reflected light received linearly represents a linear image (reflected image) of light diffused on the lower surface of the banknote BL.
  • the lower optical image sensor 41 linearly receives transmitted light in which part of the irradiation light irradiated linearly from the upper optical image sensor 46 has passed through the bill BL.
  • the transmitted light received linearly represents a linear image (transmitted image) of light transmitted from the upper surface to the lower surface of the bill BL.
  • the upper optical image sensor 46 linearly irradiates predetermined irradiation light downward, and linearly receives diffuse reflection light in which a part of the irradiation light is diffused on the upper surface of the banknote BL.
  • the diffusely reflected light received linearly represents a linear image (reflected image) of light reflected on the upper surface of the banknote BL.
  • the upper optical image sensor 46 linearly receives the transmitted light in which part of the irradiation light irradiated linearly from the lower optical image sensor 41 passes through the banknote BL.
  • the transmitted light received linearly represents a linear image (transmitted image) of light transmitted from the lower surface of the banknote BL to the upper surface.
  • the optical information acquisition unit 40 receives the diffusely reflected light and the transmitted light by the optical image sensors 41 and 46, thereby representing information indicating the reflected image of the banknote BL (hereinafter referred to as “reflected image information”) and Information representing a transmission image (hereinafter referred to as “transmission image information”) is acquired.
  • the control unit 120 (see FIG. 1) of the paper sheet discrimination device 1 continuously acquires the reflected image information and the transmitted image information from the optical information acquisition unit 40, and synthesizes the linear images represented by these image information. By this, the image information of the whole banknote BL is acquired.
  • the ultraviolet light fluorescence reaction information acquisition unit 50 includes a plurality of ultraviolet sensors. Here, it is assumed that the ultraviolet light fluorescence reaction information acquisition unit 50 includes two ultraviolet sensors 51 and 56. However, the ultraviolet light fluorescence reaction information acquisition unit 50 may have three or more ultraviolet sensors.
  • the ultraviolet sensor 51 is a sensor disposed below the conveyance path 10.
  • the ultraviolet sensor 56 is a sensor arranged on the upper side of the conveyance path 10.
  • the ultraviolet sensor 51 is referred to as a “lower ultraviolet sensor 51” and the ultraviolet sensor 56 is referred to as an “upper ultraviolet sensor 56”.
  • the lower ultraviolet sensor 51 is an example of a “first ultraviolet sensor”.
  • the upper ultraviolet sensor 56 is an example of a “second ultraviolet sensor”.
  • the ultraviolet sensors 51 and 56 irradiate the bill BL with ultraviolet light emitted by the light emitting unit 71 (see FIG. 5A), and a specific part of the surface of the bill BL (ultraviolet phosphor region described later). Excitation light emitted from the phosphor when the phosphor contained in a paper sheet such as copy paper (quality paper) is excited by ultraviolet light and excited by re (see FIG. 7)) ) Is received by the light receiving unit 72 (see FIG. 5A). Thereby, the ultraviolet light fluorescence reaction characteristic of the banknote BL is detected.
  • the arrangement position and configuration of the ultraviolet sensors 51 and 56 will be described later.
  • the thickness information acquisition unit 60 includes a reference roller 61, a detection roller 66, a support member 68, and a displacement detection sensor 69.
  • the reference roller 61 is a roller disposed at a predetermined position in order to detect the thickness of the bill BL.
  • the detection roller 66 is a roller that sandwiches the bill BL with the reference roller 61.
  • the support member 68 is a member that supports the detection roller 66 so as to be movable in the vertical direction.
  • the displacement detection sensor 69 is a sensor that detects the thickness of the bill BL by detecting the displacement amount (movement amount) of the detection roller 66.
  • the reference roller 61 is arranged in a direction orthogonal to the conveyance direction of the bills BL.
  • the reference roller 61 is made of a predetermined metal material so as not to be easily deformed.
  • the reference roller 61 is rotationally driven by an actuator.
  • the detection roller 66 is disposed to face the reference roller 61.
  • the detection roller 66 is made of a metal material in order to generate an eddy current by a high-frequency magnetic field generated by the displacement detection sensor 69.
  • the detection roller 66 rotates following the rotation of the reference roller 61.
  • the detection roller 66 is pressed against the reference roller 61 by an urging member (compression spring).
  • the detection roller 66 is pushed by the bill BL and is displaced (moved) upward by the thickness of the bill BL.
  • the support member 68 is attached to the upper transport guide 16 so as to be rotatable about a rotation fulcrum 68ax.
  • the rotation fulcrum 68ax is arranged extending in the left-right direction.
  • the support member 68 rotatably supports the detection roller 66 about the rotation shaft 66ax.
  • the support member 68 moves about the axis of the rotation fulcrum 68ax to move the detection roller 66 in the vertical direction with respect to the conveyance path 10.
  • the displacement detection sensor 69 is an eddy current sensor disposed above the detection roller 66.
  • the displacement detection sensor 69 uses the position of the detection roller 66 when the detection roller 66 is in contact with the reference roller 61 as a reference position, and detects the relative displacement (movement amount) of the detection roller 66 from the reference position. .
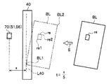
  • FIGS. 2A to 4C are diagrams showing the arrangement position of the lower ultraviolet sensor 51.
  • FIG. 2A to 2C show the arrangement positions of the lower ultraviolet sensor 51 viewed from the upper side, the left side, and the front side, respectively.
  • 3A to 3C are diagrams showing the arrangement positions of the upper ultraviolet sensor 56.
  • FIG. 3A to 3C schematically show the arrangement positions of the upper ultraviolet sensor 56 viewed from the upper side, the left side, and the front side, respectively.
  • 4A to 4C are diagrams showing the arrangement positions of both the lower ultraviolet sensor 51 and the upper ultraviolet sensor 56.
  • FIG. 4A to 4C schematically show the arrangement positions of both the lower ultraviolet sensor 51 and the upper ultraviolet sensor 56 viewed from the upper side, the left side, and the front side, respectively.
  • the number of drive rollers 21c is not limited to four and can be increased or decreased.
  • the length of the rotating shaft 21cax is substantially the same as the lateral width (the width in the left-right direction) of the lower conveyance guide 11.
  • the rotation shaft 21cax is disposed so as to extend over substantially the entire lateral width of the lower conveyance guide 11.
  • the bill BL is conveyed in the direction of arrow A1 by the drive roller 21c.
  • the lower ultraviolet sensor 51 is disposed in the vicinity of the rotation shaft 21cax of the drive roller 21c and at a position shifted downstream (rear side) from the position of the rotation shaft 21cax.
  • the lower ultraviolet sensor 51 can be arranged at a position shifted from the arrangement position of the rotation shaft 21cax to the upstream side (front side).
  • the number of driven rollers 26c is not limited to four and can be increased or decreased.
  • the total length of the two rotating shafts 26cax of the driven roller 26c is shorter than the length of one rotating shaft 21cax of the drive roller 21c.
  • the two rotation shafts 26cax are arranged separately in the left-right direction so as to extend only in a partial region with respect to the lateral width of the upper conveyance guide 16.
  • the upper ultraviolet sensor 56 is disposed between the two rotation shafts 26cax.
  • the upper ultraviolet sensor 56 is disposed in the vicinity of the rotation shaft 26cax of the driven roller 26c and at a position shifted in the axial direction from the position of the rotation shaft 26cax. In the first embodiment, the upper ultraviolet sensor 56 is disposed at a position directly beside the rotation shaft 26cax.
  • the lower ultraviolet sensor 51 and the upper ultraviolet sensor 56 are arranged so as to be shifted from each other in the front-rear direction (the conveyance direction of the bills BL). Further, the lower ultraviolet sensor 51 and the upper ultraviolet sensor 56 are arranged so as to be shifted from each other in the left-right direction (the direction orthogonal to the bill BL conveyance direction). Therefore, the lower ultraviolet sensor 51 and the upper ultraviolet sensor 56 are disposed at positions that do not face each other.
  • At least one of the lower ultraviolet sensor 51 and the upper ultraviolet sensor 56 is disposed at a position where the ultraviolet phosphor region re provided on the banknote BL can be irradiated with ultraviolet light.
  • FIGS. 5 and 6 are diagrams showing the configuration of the ultraviolet sensor 70 (51, 56) used in the first embodiment.
  • 5A to 5C schematically show the configuration of the ultraviolet sensor 70 viewed from the front side, the left side, and the lower side, respectively.
  • FIG. 6 is a diagram showing a mounting configuration of the ultraviolet sensor 70.
  • the ultraviolet sensor 70 includes a light emitting unit 71, a light receiving unit 72, an ultraviolet light shielding body 79, a case 73, a rod lens 74, and an element mounting substrate 77.
  • the light emitting unit 71 emits ultraviolet light.
  • the light receiving unit 72 receives light.
  • the ultraviolet light shield 79 transmits visible light and shields ultraviolet light.
  • the case 73 houses the light emitting unit 71, the light receiving unit 72, the ultraviolet light shield 79, the rod lens 74, and the element mounting substrate 77.
  • the rod lens 74 irradiates ultraviolet light in one direction, and is excited by the ultraviolet light reflected by the banknote BL or the phosphor contained in the banknote BL, and collects the excitation light emitted from the phosphor.
  • the paper sheet discrimination apparatus 1 conveys the banknote BL so that the banknote BL passes through the irradiation direction of the rod lens 74.
  • the element mounting substrate 77 is a substrate on which the light emitting unit 71 and the light receiving unit 72 are mounted.
  • the case 73 includes an optical path 75 and a storage portion 78.
  • the light path 75 is a transparent part that allows light to pass through.
  • the housing part 78 is a part for housing the light part 71, the light receiving part 72, the ultraviolet light shield 79, the rod lens 74, and the element mounting board 77.
  • the ultraviolet sensor 70 uses the rod lens 74 to spread the ultraviolet light ray emitted from the light emitting unit 71 in the left-right direction and linearly irradiate the surface of the banknote BL.
  • the ultraviolet sensor 70 is excited by the diffusely reflected light by the irradiated ultraviolet ray and the phosphor included in the banknote BL, and condenses the excitation light emitted from the phosphor in one direction to the ultraviolet light shield 79. By blocking the reflected light, only the excitation light is received and detected by the light receiving unit 72.
  • the light path 75 is formed in a cylindrical shape (see FIG. 5C).
  • the accommodating part 78 is formed in the rectangular parallelepiped shape (refer FIG. 5B).
  • the ultraviolet sensor 70 is mounted on the ultraviolet sensor mounting substrate 115.
  • An amplifying unit 111 that amplifies a signal output from the ultraviolet sensor 70 is mounted on the ultraviolet sensor mounting substrate 115.
  • the ultraviolet sensor 70 is a surface opposite to the lower surface (upper conveying surface) 17 of the upper conveying guide 16 and the upper surface (lower conveying surface) 12 of the lower conveying guide 11 (the surface not facing the conveying path 10). ) In the space partitioned by the partition portion 18 provided.
  • a dust-proof member 116 such as a sponge is disposed between the ultraviolet sensor mounting substrate 115 on which the ultraviolet sensor 70 is mounted and the partition portion 18 of the conveyance guide 16 formed on the surface opposite to the conveyance surface 17.
  • a light transmissive cover member 76 is disposed between the light path 75 of the ultraviolet sensor 70 and the transport path 10. Thereby, the ultraviolet sensor 70 prevents dust from entering the inside or adhering to the surface of the light path 75.
  • FIG. 7 and FIG. 8 are explanatory diagrams of the timing of cutting out the ultraviolet light fluorescence reaction information of the paper sheet discrimination apparatus 1 according to the first embodiment.
  • the paper sheet discrimination device 1 When discriminating a bill BL, the paper sheet discrimination device 1 acquires the magnetic information of the bill BL with the magnetic information acquisition unit 30 (see FIG. 1) while conveying the bill BL, and the image information acquisition unit 40 acquires the bill.
  • the image information of the lower surface and the upper surface of the BL is acquired
  • the ultraviolet light fluorescence reaction information acquisition unit 50 acquires the ultraviolet light fluorescence reaction information of the lower surface and the upper surface of the bill BL
  • the thickness information acquisition unit 60 ( 1), the thickness information of the bill BL is acquired.
  • the paper sheet discrimination apparatus 1 will be described on the assumption that the bill BL is being transported at the transport speed “S”. Further, description will be made assuming that the distance from the reading line L40 of the optical image sensor 41 (or 46) of the image information acquisition unit 40 to the ultraviolet sensor 70 of the ultraviolet light fluorescence reaction information acquisition unit 50 is “x”.
  • the paper sheet discrimination device 1 stores various information of the acquired banknote BL in the storage unit. At this time, the paper sheet discrimination apparatus 1 continuously acquires the ultraviolet light fluorescence reaction information on the lower surface and the upper surface of the banknote BL at regular intervals by the ultraviolet sensor 70, and the obtained ultraviolet light fluorescence reaction information. Is stored in the storage unit. Here, description will be made assuming that the paper sheet discrimination device 1 acquires the information shown in FIG. 8 as the ultraviolet light fluorescence reaction information of the banknote BL and stores the acquired information in the storage unit.
  • the vertical axis represents the output value of the ultraviolet sensor 70
  • the horizontal axis represents time.
  • the output value of the ultraviolet sensor 70 represents the intensity of the ultraviolet light fluorescence reaction in the ultraviolet light phosphor region re of the banknote BL (that is, the ultraviolet light fluorescence reaction characteristic of the banknote BL).
  • the area Ore shown in FIG. 8 is an area where the ultraviolet light fluorescence reaction characteristic is detected from the banknote BL.
  • Time t1 is the time when the leading edge BL1 (see FIG. 7) of the banknote BL reaches the ultraviolet sensor 70.
  • Time t2 is the time when the tip end re1 (see FIG. 7) of the ultraviolet phosphor region re of the banknote BL reaches the ultraviolet sensor 70.
  • Time t3 is the time when the rear end portion re2 (see FIG. 7) of the ultraviolet light phosphor region re of the bill BL has passed through the ultraviolet sensor 70.
  • Time t4 is the time when the rear end BL2 (see FIG. 7) of the bill BL passes the ultraviolet sensor 70.
  • the time c1 is a time that is an arbitrary time before the time t2.
  • the time c2 is a time that is an arbitrary time before the time t3.
  • the time t1 is a time that is a time “t” after the time when the leading edge BL1 (see FIG. 7) of the bill BL passes the reading line L40 of the image information acquisition unit 40.
  • the time t2 is a time that is a time “t” after the time when the tip portion re1 (see FIG. 7) of the ultraviolet phosphor region re of the bill BL passes the reading line L40 of the image information acquisition unit 40.
  • the time t3 is a time that is a time “t” after the time when the rear end portion re2 (see FIG. 7) of the ultraviolet phosphor region re of the banknote BL passes the reading line L40 of the image information acquisition unit 40.
  • the time t4 is a time that is a time “t” after the time when the rear end portion BL2 (see FIG. 7) of the bill BL passes the reading line L40 of the image information acquisition unit 40.
  • the value of the time “t” is a value calculated by dividing the value “x” of the distance from the reading line L40 of the image information acquisition unit 40 to the ultraviolet sensor 70 by the value “S” of the conveyance speed of the bill BL. .
  • the control unit 120 (see FIG. 1) of the paper sheet discrimination device 1 is based on the image information of the bill BL acquired by the image information acquisition unit 40, and the tip of the bill BL and the tip of the ultraviolet phosphor region re.
  • the time at which the part re1, the rear end part re2 of the ultraviolet phosphor region re, and the rear end part BL2 of the bill BL have reached the reading line L40 of the image information acquisition unit 40 (or the reading line L40) Can be recognized).
  • control unit 120 cuts out information at times c1 to c2 from the ultraviolet light fluorescence reaction information as ultraviolet light fluorescence reaction information (hereinafter referred to as “discrimination area information”) of the area used for discrimination. .
  • the control unit 120 specifies the ultraviolet light fluorescence reaction information on the lower surface and the upper surface of the banknote BL based on the information of the discrimination area.
  • the ultraviolet light fluorescence reaction information on the lower surface of the banknote BL will be described as “VA (n)”
  • the ultraviolet light fluorescence reaction information on the upper surface of the banknote BL will be described as “VB (n)”.
  • the ultraviolet light fluorescence reaction information VA (n) is the ultraviolet light fluorescence reaction information of the bill BL detected by the lower ultraviolet sensor 51 (the relationship between the intensity ratio of the ultraviolet light fluorescence reaction on the lower surface of the bill BL and the transport distance). Information).
  • the ultraviolet light fluorescence reaction information VB (n) is the ultraviolet light fluorescence reaction information of the bill BL detected by the upper ultraviolet sensor 56 (the relationship between the intensity ratio of the ultraviolet light fluorescence reaction on the upper surface of the bill BL and the transport distance). Information).
  • control unit 120 determines the money of the bill BL. Identify the species.
  • control unit 120 reads registered ultraviolet light fluorescence reaction information corresponding to the specified denomination from the storage unit, and the ultraviolet light fluorescence reaction information VA (n), VB (n) is read from the storage unit. It is determined whether or not the registered ultraviolet light fluorescence reaction information is applicable.
  • control unit 120 can accurately determine the authenticity of the bill BL using the ultraviolet light by detecting the ultraviolet light fluorescence reaction characteristics of the lower surface and the upper surface of the bill BL.
  • control part 120 uses the various information acquired by the magnetic sensor 36, the optical image sensors 41 and 46, the ultraviolet sensors 51 and 56, and the displacement detection sensor 69 comprehensively, the number of the banknotes BL, a driving
  • the lower ultraviolet sensor 51 and the upper ultraviolet sensor 56 are arranged at positions shifted from each other. Therefore, the lower ultraviolet sensor 51 can suppress receiving the excitation light that is excited by the transmitted light that has passed through the banknote BL, with a part of the ultraviolet light emitted from the upper ultraviolet sensor 56.
  • the lower ultraviolet sensor 51 can receive only the excitation light excited by the ultraviolet light emitted from the lower ultraviolet sensor 51 itself.
  • the upper ultraviolet sensor 56 can receive only excitation light excited by the ultraviolet light emitted from the upper ultraviolet sensor 56 itself.
  • Such a paper sheet discrimination device 1 can suppress the ultraviolet sensors 51 and 56 from interfering with each other. Moreover, the paper sheet discrimination apparatus 1 is a counterfeit in which the bill BL to be identified has the ultraviolet light phosphor region re in the entire portion of the paper surface in the discrimination using the ultraviolet light, and the ultraviolet light fluorescence reaction is performed on the bill BL. Even if it is detected from all the parts of the paper, it is possible to appropriately discriminate the banknote BL as a fake note by determining whether or not the ultraviolet light fluorescence reaction has been detected from only a specific part of the paper. it can.
  • the paper sheet discrimination apparatus 1 arranges the ultraviolet sensor 51 at a position as close as possible to the rotation shaft 21cax of the driving roller 21a, and also places the ultraviolet sensor 56 in the rotation shaft of the driven roller 26a. It is arranged right next to 26cax. Therefore, the ultraviolet sensors 51 and 56 are disposed in the vicinity of the position where the bill BL is clamped, and the ultraviolet light fluorescence reaction characteristic of the bill BL can be detected at the position. Thereby, the paper sheet discrimination apparatus 1 can detect the ultraviolet light fluorescence reaction characteristic of the banknote BL in a state in which the influence of the output fluctuation due to the fluttering of the banknote BL is suppressed to almost zero. UV light fluorescence reaction characteristics can be detected. Therefore, the paper sheet discrimination apparatus 1 can perform authentication with high accuracy.
  • the ultraviolet light fluorescence reaction characteristics of the lower surface and the upper surface of the banknote BL are measured by the ultraviolet sensors 51 and 56 arranged so as not to face each other. By detecting, it is possible to distinguish between the partial ultraviolet light fluorescence reaction characteristic of the banknote BL and the ultraviolet light fluorescence reaction characteristic of the entire surface of the copy paper or the like. Therefore, the paper sheet discrimination apparatus 1 can improve the authenticity discrimination performance (determination performance between genuine bills and counterfeits) of the bills BL in discrimination using ultraviolet light.
  • the paper sheet discrimination apparatus 1 since the ultraviolet sensors 51 and 56 are arranged in the vicinity of the rotation shaft 21cax of the driving roller 21, the influence of output fluctuation due to the flickering of the conveyance of the banknote BL is almost zero. It is possible to detect the ultraviolet light fluorescence reaction characteristic of the banknote BL in a state in which it is suppressed. Therefore, the paper sheet discrimination apparatus 1 can perform authentication with high accuracy.
  • the paper sheet discrimination apparatus 1 In the paper sheet discrimination apparatus 1 (see FIG. 6) according to the first embodiment, the case 73 of the ultraviolet sensor 70 (51, 56) is exposed to the outside. Therefore, in order to obtain a dustproof effect, the paper sheet discrimination apparatus 1 is provided with a dustproof member 116 between the ultraviolet sensor mounting substrate 115 and the partition portion 18 of the transport guide 16 formed on the surface opposite to the transport surface 17. Is installed. However, in this case, in the paper sheet discrimination apparatus 1, the cost and labor for installing the dust-proof member 116 are required, so that the manufacturing cost may increase.
  • a paper sheet discrimination apparatus 1B that can obtain a dustproof effect with an inexpensive configuration is provided.
  • the paper sheet discrimination apparatus 1B is configured as a capsule-type ultraviolet sensor 80 covered with an outer case 81, and is conveyed.
  • the capsule-type ultraviolet sensor 80 and the driven roller 26c are mounted on the conveyance guide 16 (the conveyance guide 11 is the same) via the ultraviolet sensor mounting portion 91 provided on the guide 17.
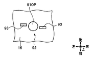
  • FIGS. 9A to 10 are diagrams showing configurations of the capsule-type ultraviolet sensor 80 and the ultraviolet sensor mounting portion 91 used in the paper sheet discrimination apparatus 1B according to the second embodiment.
  • FIG. 9A shows the configuration of the capsule-type ultraviolet sensor 80 and the ultraviolet sensor mounting portion 91 as viewed obliquely from above.
  • FIG. 9B shows the configuration of the ultraviolet sensor mounting portion 91 as viewed from above.
  • FIG. 10 shows a cross-sectional configuration of the capsule-type ultraviolet sensor 80 and the ultraviolet sensor mounting portion 91 as viewed from the front.
  • FIG. 11 is a diagram showing a configuration of the capsule ultraviolet sensor 80 used in the second embodiment.
  • 11A to 11D show the configuration of the capsule-type ultraviolet sensor 80 as viewed obliquely from above, from above, from below, and from the left.
  • 12A to 13C are diagrams showing a method for manufacturing the ultraviolet sensor mounting portion 91 used in the second embodiment.
  • the paper sheet discrimination apparatus 1B has a configuration in which an ultraviolet sensor mounting portion 91 is provided in the transport guide 16.
  • the ultraviolet sensor mounting portion 91 is a part where the capsule ultraviolet sensor 80 and the driven roller 26c are mounted.
  • the transport guide 11 (see FIG. 1) also has the same configuration as the transport guide 16.
  • the ultraviolet sensor mounting portion 91 is arranged at a position shifted in the axial direction from the arrangement position of the driven roller 26c.
  • the ultraviolet sensor mounting portion 91 is provided with an ultraviolet sensor storage portion 92, and a capsule type ultraviolet sensor 80 is stored in the ultraviolet sensor storage portion 92.
  • a circular hole-shaped opening 91OP is formed through the bottom of the ultraviolet sensor housing 92.
  • the opening 91OP functions as an insertion hole into which a lens window 83 (see FIG. 11A), which will be described later, is inserted.
  • two engagement portions 93 are formed in the ultraviolet sensor storage portion 92.
  • the engaging portion 93 is a portion that engages with a protrusion 84 (see FIGS. 10 to 11C), which will be described later, of the capsule ultraviolet sensor 80.
  • the engaging portion 93 is formed to be bent in a bowl shape.
  • the engaging portion 93 constitutes a fixing mechanism of the capsule type ultraviolet sensor 80 together with a later-described protrusion 84 (see FIGS. 10 to 11C) of the capsule type ultraviolet sensor 80.
  • the two engaging portions 93 are formed to face each other through the opening 91OP.
  • the capsule-type ultraviolet sensor 80 used in the second embodiment has a capsule-type configuration in which the ultraviolet sensor 70 is covered with an outer case 81 and a dustproof packing 89. Thereby, the capsule-type ultraviolet sensor 80 prevents dust (paper powder, dust, etc.) from adhering to the case 73 (particularly, the light path 75) of the ultraviolet sensor 70.
  • the case 73 is referred to as an “inner case 73” when distinguished from the outer case 81.
  • the outer case 81 includes a storage portion 82 (see FIGS. 11A to 11D), a lens window portion 83 (see FIGS. 11A and 11B), and two protrusions 84 (see FIGS. 11A to 11D). Yes.
  • the storage part 82 is a part for storing the ultraviolet sensor 70.
  • the storage portion 82 is formed in a rectangular parallelepiped shape.
  • the lens window 83 is a part that transmits light (transmission part).
  • the lens window 83 is formed in a columnar shape (or a cylindrical shape).
  • the protrusion 84 is a part that engages with the engaging part 93 formed in the ultraviolet sensor mounting part 91.
  • the protrusion 84 is formed so as to protrude from the storage portion 82 in the outer peripheral direction (radial direction) of the lens window portion 83.
  • the capsule-type ultraviolet sensor 80 has a portion 86 (hereinafter, referred to as “first positioning portion”) that defines an arrangement position of the ultraviolet sensor 70 inside the capsule-type ultraviolet sensor 80.
  • the first positioning portion 86 is formed in a flat surface shape.
  • the first positioning portion 86 is in contact with the orthogonal surface 73a formed on the inner case 73 of the ultraviolet sensor 70, so that the distance from the element mounting substrate 77 to the lens 74 becomes a predetermined distance “H1”. 70 positions are defined.
  • the orthogonal surface 73 a is a flat surface that is orthogonal to the irradiation direction of the ultraviolet light of the inner case 73 around the light path 75.
  • the capsule ultraviolet sensor 80 has a portion 87 (hereinafter referred to as “second positioning portion”) that defines an arrangement position of the capsule ultraviolet sensor 80 with respect to the ultraviolet sensor mounting portion 91 formed outside.
  • the second positioning portion 87 is formed in a flat surface shape.
  • the second positioning portion 87 is in contact with the flat surface 95 of the ultraviolet sensor mounting portion 91 formed on the opposite side to the conveyance surface 96, so that the distance from the lens 74 to the surface of the bill BL is a predetermined distance “H2”.
  • the arrangement position of the capsule ultraviolet sensor 80 is defined.
  • the lens window 83 is formed in a columnar shape (or cylindrical shape), and an opening 91OP formed in the ultraviolet sensor mounting portion 91 (see FIGS. 9B and 10). It is inserted in.
  • the lens window 83 is formed to have substantially the same size as the opening 91OP. Therefore, the lens window 83 functions as a sealing cover that seals the opening 91OP and prevents dust from entering the ultraviolet sensor housing 92.
  • the capsule ultraviolet sensor 80 is rotated along the inner wall surface of the opening 91OP formed in a circular hole shape with the lens window 83 fitted in the opening 91OP. At this time, the protruding portion 84 and the engaging portion 93 are engaged. Thereby, the capsule-type ultraviolet sensor 80 is fixed to the ultraviolet sensor mounting portion 91.
  • the paper sheet discrimination device 1B sends ultraviolet light from the light-emitting unit 71 (see FIG. 10) of the capsule-type ultraviolet sensor 80 while conveying the banknote BL forward or backward when discriminating the banknote BL.
  • Capsule-type ultraviolet rays are reflected toward the BL, and the reflected light reflected by the surface of the bill BL is reflected by the ultraviolet light irradiated on the bill BL and the excitation light emitted from the ultraviolet phosphor region when the ultraviolet light is irradiated.
  • the light is condensed in one direction by the lens 74 of the sensor 80, the reflected light is shielded by the ultraviolet light shield 79, and only the excitation light is received by the light receiving unit 72 (see FIG. 10), and the output value of the fluorescence reaction is read.
  • the bills BL pass through the arrangement position of the capsule type ultraviolet sensor 80 while fluttering along the conveyance path 10 (see FIG. 1). Therefore, a state in which dust (paper powder, dust, etc.) flies in the conveyance path 10 occurs.
  • the capsule-type ultraviolet sensor 80 prevents the dust from entering the capsule-type ultraviolet sensor 80 by the outer case 81 and the dustproof packing 89. Thereby, the capsule-type ultraviolet sensor 80 prevents dust from adhering to the inner case 73 (particularly, the light path 75) of the ultraviolet sensor 70.
  • the edge portion of the banknote BL does not enter the opening 91OP of the ultraviolet sensor mounting portion 91, thereby preventing the banknote BL from being jammed (conveyance failure).
  • the opening 91OP is closed by a lens window 83 formed in a columnar shape (or a cylindrical shape).
  • the paper sheet discrimination device 1B may not need to be equipped with the capsule-type ultraviolet sensor 80 depending on the specifications. Therefore, it is preferable that the paper sheet discrimination apparatus 1B can be selectively changed between a configuration in which the capsule ultraviolet sensor 80 is mounted and a configuration in which the capsule ultraviolet sensor 80 is not mounted.
  • the conveyance guide 16 provided with the ultraviolet sensor mounting portion 91a (see FIGS. 12B and 12C) in which the opening 91OP is formed, and the ultraviolet sensor mounting portion 91b (see FIG. 12) in which the opening 91OP is not formed. 13B and FIG. 13C) can be realized by selectively using the conveyance guide 16 provided.
  • the ultraviolet sensor mounting portions 91a and 91b are formed as molds with a piece structure by using molds 98a and 98b in which a part can be exchanged and a part of the mold is exchanged. By making the hole 97OP closed or opened, it can be selectively manufactured.
  • FIG. 12A shows that the ultraviolet sensor mounting portion 91a is manufactured by placing the mold 98a on the mold 97 and pouring the molten resin between the mold 98a and the mold 97. ing.
  • the mold 98a is a replaceable mold.
  • the mold 98a is configured to close the hole 97OP.
  • the mold 98a is configured to inhibit the molten resin flow Ar1 so that the resin does not flow into the hole 97OP.
  • FIG. 12B and 12C show the configuration of the ultraviolet sensor mounting portion 91a manufactured by the manufacturing method shown in FIG. 12A.
  • An opening 91OP is formed in the ultraviolet sensor mounting portion 91a.
  • the mold 98b is placed on the mold 97, and the melted resin is poured between the mold 98b and the mold 97 to manufacture the ultraviolet sensor mounting portion 91b. Is shown.
  • the mold 98b is a replaceable mold.
  • the mold 98b is configured to open the hole 97OP.
  • the mold 98b has a configuration that does not inhibit the molten resin flow Ar2 so that the resin flows into the holes 97OP.
  • FIG. 13B and 13C show the configuration of the ultraviolet sensor mounting portion 91b manufactured by the manufacturing method shown in FIG. 13A.
  • the ultraviolet sensor mounting portion 91b is formed with a lid portion 91CP. Therefore, the ultraviolet sensor mounting portion 91 has a configuration in which the opening portion 91OP is blocked by the lid portion 91CP and the opening portion 91OP is not exposed to the transport path 10 (see FIG. 1).
  • the lid portion 91CP is formed in a circular shape with an inclined surface at the edge portion so that the edge portion of the bill BL does not enter the opening portion 91OP of the ultraviolet sensor mounting portion 91. .
  • the paper sheet discrimination apparatus 1B is manufactured by replacing a part of the mold with the mold 98a or the mold 98b in the manufacturing process of the ultraviolet sensor mounting portion 91, thereby forming the opening 91OP.
  • the ultraviolet sensor attachment part 91a and the ultraviolet sensor attachment part 91b in which the opening 91OP is not formed can be selectively manufactured.
  • the paper sheet discrimination apparatus 1B mounts the capsule ultraviolet sensor 80 by selectively using the conveyance guide 16 provided with the ultraviolet sensor attachment portion 91a and the conveyance guide 16 provided with the ultraviolet sensor attachment portion 91b.
  • the configuration and the configuration in which the capsule ultraviolet sensor 80 is not mounted can be selectively changed.
  • Such a paper sheet discrimination apparatus 1B prevents the opening 91OP from being exposed to the transport path 10 (see FIG. 1) when the capsule ultraviolet sensor 80 does not need to be mounted. Can do. Thereby, since the paper sheet discrimination apparatus 1B can suppress generation
  • the authenticity discrimination performance (genuine bill) of the banknote BL in the discrimination using ultraviolet light. Can be improved. Further, according to the paper sheet discrimination apparatus 1B, as with the paper sheet discrimination apparatus 1, it is possible to perform authentication with high accuracy.
  • the ultraviolet sensor 70 is configured as a capsule-type ultraviolet sensor 80 covered with an outer case 81.
  • a dustproof effect can be obtained with an inexpensive configuration.
  • the conveyance performance of the bills BL can be improved by providing the cylindrical lens window 83 in the outer case 81.
  • the ultraviolet sensor 70 (51, 56) when manufacturing the ultraviolet sensor mounting portion 91, a part of the mold is configured as a replaceable mold 98a or 98b of the frame structure.
  • the opening 91OP can be arbitrarily closed. Therefore, according to the paper sheet discrimination apparatus 1B, the ultraviolet sensor 70 (51, 56) is selectively mounted or not mounted, or there are a plurality of positions where the ultraviolet sensor 70 (51, 56) is mounted.
  • the conveyance guide 16 provided with the ultraviolet sensor mounting portion 91 can be formed in various shapes at low cost in accordance with the mounting state of the ultraviolet sensor 70 (51, 56).
  • the driving timing (acquisition timing of the ultraviolet light fluorescence reaction characteristic) of the ultraviolet sensor 70 (51, 56) of the ultraviolet light fluorescence reaction information acquisition unit 50 is set to the optical image sensor 41, 46 of the optical information acquisition unit 40.
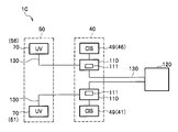
  • a paper sheet discrimination device 1C that is synchronized with the drive timing of the light emitting unit (image information acquisition timing).
  • FIG. 14 is a diagram illustrating a block configuration of a paper sheet discrimination apparatus 1C according to the third embodiment.
  • the above-described control unit 120 will be described as a “main control unit 120”.
  • the paper sheet discrimination apparatus 1C has a configuration that satisfies the following items (1) to (4).
  • the paper sheet discrimination apparatus 1C includes two drive control units 110 for driving the optical image sensor.
  • the drive control unit 110 includes an amplification unit 111 that amplifies a signal output from the ultraviolet sensor 70.
  • a contact image sensor (CIS) 49 constituting the lower optical image sensor 41 and one drive control unit 110 are connected by a connection cord 130, and an upper optical image sensor 46 and the other drive control unit 110 are connected by a connection cord 130.
  • the ultraviolet sensor 70 constituting the lower ultraviolet sensor 51 and one drive control unit 110 are connected by the connection cord 130, and the ultraviolet sensor constituting the upper ultraviolet sensor 56 70 and the other drive control unit 110 are connected by a connection cord 130.
  • the paper sheet discrimination apparatus 1C has a configuration in which two drive control units 110 and a main control unit 120 are connected by a connection cord 130.
  • the paper sheet discrimination apparatus 1C operates as follows when discriminating the bills BL.
  • the paper sheet discrimination device 1C acquires the magnetic information of the bill BL with the magnetic information acquisition unit 30 (see FIG. 1) while conveying the bill BL, and acquires the optical information of the image information acquisition unit.
  • the image information of the lower surface and upper surface of the bill BL is acquired by the unit 40
  • the ultraviolet light fluorescence reaction information of the lower surface and upper surface of the bill BL is acquired by the ultraviolet light fluorescence reaction information acquisition unit 50
  • the thickness information The thickness information of the banknote BL is acquired by the acquisition unit 60 (see FIG. 1).
  • the ultraviolet sensor 70 of the paper sheet discrimination device 1C irradiates the bill BL with ultraviolet light from the light emitting unit 71, and receives the excitation light from the surface of the bill BL with the light receiving unit 72, and the received excitation light.
  • An analog signal having a value corresponding to the intensity of the signal is output to the drive controller 110.
  • the amplifying unit 111 of the drive control unit 110 When an analog signal is input from the ultraviolet sensor 70, the amplifying unit 111 of the drive control unit 110 amplifies the input signal and converts it to an analog signal or AD-converts it into digital data, and sends it to the main control unit 120. Output.
  • the main control unit 120 comprehensively uses various types of information acquired by the magnetic sensor 36, the optical image sensors 41 and 46, the ultraviolet sensors 70 (51 and 56), and the displacement detection sensor 69, thereby enabling the number of bills BL and , Distinguish the running state, denomination, authenticity, degree of damage (loss).
  • Such a paper sheet discrimination apparatus 1C is temporarily compared with the paper sheet discrimination apparatus 1001 according to the comparative example when compared with the paper sheet discrimination apparatus 1001 according to the comparative example configured as follows. The following effects can be obtained.
  • the paper sheet discrimination apparatus 1001 has a configuration that satisfies the following items (1) to (4).
  • the paper sheet discrimination apparatus 1001 includes two drive control units 110 for driving an optical image sensor and two drive control units 1110 for driving an ultraviolet sensor.
  • the drive control unit 1110 for driving the ultraviolet sensor includes an amplification unit 111 that amplifies the signal output from the ultraviolet sensor 70.
  • the drive control unit 110 for driving the optical image sensor may have a configuration in which the amplification unit 111 is deleted.
  • the paper sheet discrimination apparatus 1001 includes the CIS 49 constituting the lower optical image sensor 41 and one drive control unit 110 as a connection cord 130.
  • the CIS 49 constituting the upper optical image sensor 46 and the other drive control unit 110 are connected by a connection cord 130.
  • the ultraviolet sensor 70 constituting the lower ultraviolet sensor 51 and the drive controller 1110 for driving one ultraviolet sensor are connected by the connection cord 130, and the upper ultraviolet sensor 56 Is connected to the other ultraviolet sensor driving control unit 1110 by a connection cord 130.
  • the paper sheet discrimination device 1001 includes a drive control unit 110 for driving two optical image sensors and a main control unit 120 connected by a connection cord 130, and a drive control unit 1110 for driving an ultraviolet sensor.
  • the main control unit 120 is connected by a connection cord 130.
  • the drive timings of the two drive control units 110 for driving the optical image sensor and the two drive control units 1110 for driving the ultraviolet sensor are not synchronized.
  • the main control unit 120 of the paper sheet discrimination apparatus 1001 has an optical information acquisition unit 40 during the detection process of the ultraviolet light fluorescence reaction characteristic of the banknote BL. Since there is a possibility of interference with the discrimination process of the banknote BL based on the image information acquired by, there is a possibility that the detection accuracy of the ultraviolet light fluorescence reaction characteristic is lowered.
  • the paper sheet discrimination apparatus 1001 connects the two ultraviolet sensors 70 and the two drive control units 1110 for driving the ultraviolet sensors as compared with the paper sheet discrimination apparatus 1C according to the third embodiment.
  • a total of four connection cords 130 including two connection cords 130 for connecting the two drive cords 110 for connecting the two drive control units 1110 and the main control unit 120 are further required.
  • the drive control unit 110 since the CIS 49 and the ultraviolet sensor 70 are connected to the drive control unit 110, the drive control unit 110 is synchronized with the drive timing of the CIS 49. Since the light emission control of the sensor 70 can be performed and the amplification unit 111 is integrated with the drive control unit 110, the drive control unit 110 amplifies the output from the ultraviolet sensor 70 and outputs the amplified output to the main control unit 120. be able to.
  • the paper sheet discrimination device 1C comprehensively uses various types of information acquired by the magnetic sensor 36, the optical image sensors 41 and 46, the ultraviolet sensor 70 (51 and 56), and the displacement detection sensor 69. Differentiate the number of sheets, running condition, denomination, authenticity, degree of damage (loss).
  • the authenticity determination of the bill BL is performed in the discrimination using ultraviolet light. Performance (discriminating performance between genuine and counterfeit bills) can be improved.
  • the paper sheet discrimination apparatus 1C it is possible to perform authentication with high accuracy as in the paper sheet discrimination apparatuses 1 and 1B according to the first and second embodiments.
  • the drive timing of the ultraviolet sensor 70 (51, 56) of the ultraviolet light fluorescence reaction information acquisition unit 50 ( The acquisition timing of the ultraviolet light fluorescence reaction characteristic) can be synchronized with the drive timing (image information acquisition timing) of the optical image sensors 41 and 46 of the optical information acquisition unit 40. Therefore, according to the paper sheet discrimination apparatus 1C, the main control unit 120 is not interfered with the discrimination process of the banknote BL based on the image information acquired by the optical information acquisition unit 40, and the ultraviolet light fluorescence reaction characteristic of the banknote BL. Therefore, it is possible to detect the ultraviolet light fluorescence reaction characteristics of the banknote BL with high accuracy.
  • the number of connection cords 130 connected to the main control unit 120 can be reduced by the number of the ultraviolet sensors 70 (51, 56). Furthermore, according to the paper sheet discrimination apparatus 1C, the number of circuits and substrates is reduced by integrating the amplification unit 111 of the ultraviolet sensor 70 (51, 56) with the drive control unit 110 of the optical information acquisition unit 40. be able to. Therefore, according to the paper sheet discrimination apparatus 1C, the manufacturing cost can be reduced.
  • the present disclosure is not necessarily limited to the one having all the configurations described. Further, according to the present disclosure, a part of the configuration of one embodiment can be added to or replaced with the configuration of another embodiment. Further, in the present disclosure, a part of the configuration can be deleted from the configuration of an embodiment.
  • the loading device of the paper sheet discrimination device 1 is an ATM
  • the paper sheet discrimination apparatus 1 can be mounted on various apparatuses having a function of discriminating paper sheets other than ATM.
  • the conveying member and the clamping member are configured by rollers.
  • the paper sheet discrimination apparatus 1 may have a configuration including a plurality of infrared sensors arranged at positions that do not face each other (that is, positions that do not interfere with each other), similarly to the ultraviolet sensors 51 and 56.
  • the infrared sensor is a sensor that acquires characteristic information of a paper sheet when the paper sheet is irradiated with infrared light.

Landscapes

  • Health & Medical Sciences (AREA)
  • General Health & Medical Sciences (AREA)
  • Toxicology (AREA)
  • Physics & Mathematics (AREA)
  • General Physics & Mathematics (AREA)
  • Inspection Of Paper Currency And Valuable Securities (AREA)
PCT/JP2015/078543 2014-12-10 2015-10-07 紙葉類鑑別装置 Ceased WO2016092947A1 (ja)

Applications Claiming Priority (2)

Application Number Priority Date Filing Date Title
JP2014249568A JP6350253B2 (ja) 2014-12-10 2014-12-10 紙葉類鑑別装置
JP2014-249568 2014-12-10

Publications (1)

Publication Number Publication Date
WO2016092947A1 true WO2016092947A1 (ja) 2016-06-16

Family

ID=56107142

Family Applications (1)

Application Number Title Priority Date Filing Date
PCT/JP2015/078543 Ceased WO2016092947A1 (ja) 2014-12-10 2015-10-07 紙葉類鑑別装置

Country Status (2)

Country Link
JP (1) JP6350253B2 (enExample)
WO (1) WO2016092947A1 (enExample)

Cited By (2)

* Cited by examiner, † Cited by third party
Publication number Priority date Publication date Assignee Title
JP2020021319A (ja) * 2018-08-01 2020-02-06 株式会社ヴィーネックス 光ラインセンサユニット
TWI825785B (zh) * 2021-08-04 2023-12-11 日商日本金錢機械股份有限公司 紙張搬運裝置及紙張處理裝置

Citations (2)

* Cited by examiner, † Cited by third party
Publication number Priority date Publication date Assignee Title
JPH1097663A (ja) * 1996-09-24 1998-04-14 Toyo Commun Equip Co Ltd 紙葉類識別装置
JP2002230618A (ja) * 2001-01-30 2002-08-16 Oki Electric Ind Co Ltd 媒体判別装置

Patent Citations (2)

* Cited by examiner, † Cited by third party
Publication number Priority date Publication date Assignee Title
JPH1097663A (ja) * 1996-09-24 1998-04-14 Toyo Commun Equip Co Ltd 紙葉類識別装置
JP2002230618A (ja) * 2001-01-30 2002-08-16 Oki Electric Ind Co Ltd 媒体判別装置

Cited By (4)

* Cited by examiner, † Cited by third party
Publication number Priority date Publication date Assignee Title
JP2020021319A (ja) * 2018-08-01 2020-02-06 株式会社ヴィーネックス 光ラインセンサユニット
JP7141274B2 (ja) 2018-08-01 2022-09-22 株式会社ヴィーネックス 光ラインセンサユニット
TWI825785B (zh) * 2021-08-04 2023-12-11 日商日本金錢機械股份有限公司 紙張搬運裝置及紙張處理裝置
US12417667B2 (en) 2021-08-04 2025-09-16 Japan Cash Machine Co., Ltd. Paper sheet transport device and paper sheet handling device

Also Published As

Publication number Publication date
JP6350253B2 (ja) 2018-07-04
JP2016110532A (ja) 2016-06-20

Similar Documents

Publication Publication Date Title
EP1892678B1 (en) Bill handling apparatus
EP1892679A2 (en) Bill handling apparatus
EP1906365A2 (en) Card identifying apparatus
AU2007209785B2 (en) Bill handling apparatus
US8245830B2 (en) Paper currency handling device
WO2015133163A1 (ja) 紙葉類投入装置、紙葉類処理機および紙葉類投入方法
JP6350253B2 (ja) 紙葉類鑑別装置
JP2014182752A (ja) 検出装置及び媒体処理装置
WO2018042889A1 (ja) 紙葉類検知装置
JP5510240B2 (ja) 硬貨処理装置
WO2016194541A1 (ja) 媒体鑑別装置、及び、媒体取扱装置
WO2015174281A1 (ja) 鑑別装置及び媒体取引装置
JP2010146162A (ja) 紙幣識別装置
KR101667103B1 (ko) 두께 검지 장치 및 금융 기기
JP2010198337A (ja) 紙幣識別装置
JP5608902B2 (ja) センサ調整用基準シート及びこれを用いたセンサ調整方法
JP2009120305A (ja) 摩耗検知装置
JP5513322B2 (ja) 硬貨処理装置
JP2011048428A (ja) 紙幣識別装置
JP2017194849A (ja) 媒体鑑別装置、及び、当該媒体鑑別装置を搭載する媒体取扱装置
JP6112557B2 (ja) 紙葉類識別装置
JP6265812B2 (ja) 包装硬貨処理装置および包装硬貨の精査方法
KR20090084286A (ko) 매체검지장치
JP5540771B2 (ja) 紙葉類識別装置、紙幣処理装置、及び紙幣取扱装置
JP6486764B2 (ja) 包装硬貨処理装置

Legal Events

Date Code Title Description
121 Ep: the epo has been informed by wipo that ep was designated in this application

Ref document number: 15867953

Country of ref document: EP

Kind code of ref document: A1

NENP Non-entry into the national phase

Ref country code: DE

122 Ep: pct application non-entry in european phase

Ref document number: 15867953

Country of ref document: EP

Kind code of ref document: A1