WO2016013380A1 - デュアルタイプの波動歯車装置 - Google Patents

デュアルタイプの波動歯車装置 Download PDF

Info

Publication number
WO2016013380A1
WO2016013380A1 PCT/JP2015/069244 JP2015069244W WO2016013380A1 WO 2016013380 A1 WO2016013380 A1 WO 2016013380A1 JP 2015069244 W JP2015069244 W JP 2015069244W WO 2016013380 A1 WO2016013380 A1 WO 2016013380A1
Authority
WO
WIPO (PCT)
Prior art keywords
teeth
external
tooth
internal
wave
Prior art date
Legal status (The legal status is an assumption and is not a legal conclusion. Google has not performed a legal analysis and makes no representation as to the accuracy of the status listed.)
Ceased
Application number
PCT/JP2015/069244
Other languages
English (en)
French (fr)
Japanese (ja)
Inventor
芳秀 清澤
純 半田
登 滝沢
新月 張
Current Assignee (The listed assignees may be inaccurate. Google has not performed a legal analysis and makes no representation or warranty as to the accuracy of the list.)
Harmonic Drive Systems Inc
Original Assignee
Harmonic Drive Systems Inc
Priority date (The priority date is an assumption and is not a legal conclusion. Google has not performed a legal analysis and makes no representation as to the accuracy of the date listed.)
Filing date
Publication date
Application filed by Harmonic Drive Systems Inc filed Critical Harmonic Drive Systems Inc
Priority to MX2017001006A priority Critical patent/MX2017001006A/es
Priority to EP15824221.4A priority patent/EP3173659B1/en
Priority to RU2016148940A priority patent/RU2658846C1/ru
Priority to US15/327,866 priority patent/US10309513B2/en
Priority to KR1020167035464A priority patent/KR101918011B1/ko
Priority to BR112017000370-8A priority patent/BR112017000370B1/pt
Priority to CN201580038728.6A priority patent/CN106536976B/zh
Publication of WO2016013380A1 publication Critical patent/WO2016013380A1/ja
Anticipated expiration legal-status Critical
Ceased legal-status Critical Current

Links

Images

Classifications

    • FMECHANICAL ENGINEERING; LIGHTING; HEATING; WEAPONS; BLASTING
    • F16ENGINEERING ELEMENTS AND UNITS; GENERAL MEASURES FOR PRODUCING AND MAINTAINING EFFECTIVE FUNCTIONING OF MACHINES OR INSTALLATIONS; THERMAL INSULATION IN GENERAL
    • F16HGEARING
    • F16H1/00Toothed gearings for conveying rotary motion
    • F16H1/28Toothed gearings for conveying rotary motion with gears having orbital motion
    • F16H1/32Toothed gearings for conveying rotary motion with gears having orbital motion in which the central axis of the gearing lies inside the periphery of an orbital gear
    • FMECHANICAL ENGINEERING; LIGHTING; HEATING; WEAPONS; BLASTING
    • F16ENGINEERING ELEMENTS AND UNITS; GENERAL MEASURES FOR PRODUCING AND MAINTAINING EFFECTIVE FUNCTIONING OF MACHINES OR INSTALLATIONS; THERMAL INSULATION IN GENERAL
    • F16HGEARING
    • F16H49/00Other gearings
    • F16H49/001Wave gearings, e.g. harmonic drive transmissions
    • FMECHANICAL ENGINEERING; LIGHTING; HEATING; WEAPONS; BLASTING
    • F16ENGINEERING ELEMENTS AND UNITS; GENERAL MEASURES FOR PRODUCING AND MAINTAINING EFFECTIVE FUNCTIONING OF MACHINES OR INSTALLATIONS; THERMAL INSULATION IN GENERAL
    • F16HGEARING
    • F16H49/00Other gearings
    • F16H49/001Wave gearings, e.g. harmonic drive transmissions
    • F16H2049/003Features of the flexsplines therefor

Definitions

  • the present invention relates to a wave gear device including a pair of internal gears, a cylindrical external gear that can be bent in the radial direction, and a wave generator.
  • a wave gear device having a cylindrical external gear generally includes a stationary-side internal gear that is fixed so as not to rotate, a wave generator that is a rotation input element, and a drive-side internal tooth that is a reduction rotation output element.
  • a gear and a cylindrical external gear that can mesh with the stationary-side internal gear and the driving-side internal gear and bend in the radial direction are provided.
  • the external gear is bent in an elliptical shape and meshes with the stationary-side and driving-side internal gears at positions on both ends of the elliptical long axis.
  • Patent Document 1 describes a general wave gear device in which the stationary-side internal gear has two more teeth than the external gear and the drive-side internal gear has the same number of teeth as the external gear.
  • the external teeth of the external gear are bisected at the central portion in the direction of the tooth trace, and one external tooth portion can mesh with the stationary internal gear, and the other external gear portion can mesh with the drive side internal gear. It is.
  • the wave generator rotates
  • the external gear rotates at a reduced speed with a speed ratio corresponding to the difference in the number of teeth from the stationary internal gear. Reduced rotation of the external gear is output from the drive-side internal gear that rotates integrally with the external gear.
  • Patent Document 2 describes a wave gear device in which the stationary internal gear has two teeth more than the external gear and the drive side internal gear has two teeth less than the external gear.
  • the external gear rotates at a reduced speed with a speed ratio corresponding to the difference in the number of teeth from the stationary-side internal gear.
  • the rotation of the external gear is increased at a speed ratio corresponding to the difference in the number of teeth between the external gear and the drive-side internal gear, and is output from the drive-side internal gear.
  • the rotation output from the drive-side internal gear is a decelerated rotation that is decelerated at a speed ratio smaller than the speed ratio 50 with respect to the input rotation to the wave generator.
  • Patent Documents 3 and 4 describe a wave gear device having a wave generator having two rows of ball bearings.
  • This type of wave generator includes a rigid plug having an outer peripheral surface with an elliptical contour, and two rows of ball bearings mounted on the outer peripheral surface.
  • the flexible external gear is pushed outward in the radial direction by the portions of both ends of the long axis of the outer peripheral surface of the outer ring of each ball bearing bent in an elliptical shape, and the first and second rigid internal gears Engagement with is maintained.
  • JP 2011-112214 A Japanese Patent Laid-Open No. 02-275147 Japanese Unexamined Patent Publication No. 01-91151 Japanese Patent Laid-Open No. 02-275147
  • a wave gear device having a speed ratio of less than 50 can be realized as in the wave gear device described in Patent Document 2.
  • a wave gear device having a speed ratio of less than 50 can be designed with a higher degree of freedom.
  • a wave gear device including an external gear having first and second external teeth having different numbers of teeth formed on the outer peripheral surface of a bendable cylindrical body is referred to as “dual type wave gear device”. ".
  • the first external teeth and the second external teeth of the external gear are formed on the outer peripheral surface of a common cylindrical body, and the root rim portions thereof are connected to each other.
  • the first and second external teeth having different numbers of teeth mesh with different internal gears.
  • each external tooth greatly affects the meshing state, wear resistance, and root fatigue strength of those external teeth.
  • the bending state of each external tooth greatly affects the ball load distribution of each wave bearing of the wave generator that supports the first and second external teeth, and also affects the life of these wave bearings.
  • each gear can be bent elliptically by a separate wave generator so as to have a bending amount suitable for each gear.
  • a 1st, 2nd external tooth can be meshed
  • the first and second external teeth are formed on the outer peripheral surface of the common cylindrical body, and therefore the first and second external teeth are set according to the number of teeth. It cannot be bent independently with different bending amounts. Further, if the cylindrical body is bent with a bending amount suitable for one external tooth, the meshing state of the other external tooth may not be maintained in an appropriate state. Further, since the bending state of each of the first and second external teeth affects the other bending state, the bending of each external tooth so as to be in an appropriate meshing state without considering the interaction of both of the bending states. I can't stop.
  • the problem of the present invention is a dual type capable of forming a good meshing state with each internal gear by appropriately bending the first and second external teeth having different numbers of teeth.
  • the object is to provide a wave gear device.
  • Another object of the present invention is to provide a dual bearing ball load distribution of a wave bearing of a wave generator that supports the first and second external teeth having different numbers of teeth by appropriately bending them.
  • the object is to provide a wave gear device of the type.
  • the dual-type wave gear device of the present invention includes: A rigid first internal gear on which first internal teeth are formed; A rigid second internal gear arranged coaxially in parallel with the first internal gear and forming a second internal tooth; The first and second internal teeth are coaxially arranged inside the first and second internal gears, and can be engaged with the first internal teeth on the outer peripheral surface of the cylindrical body that can be bent in the radial direction.
  • the module of the first external tooth is m 1
  • the module of the second external tooth is m 2
  • n 1 and n 2 are positive integers
  • the difference in the number of teeth between the first external teeth and the first internal teeth is represented by 2n 1
  • the difference in the number of teeth between the second external teeth and the second internal teeth is represented by 2n 2.
  • both the radial deflection amounts d 1 and d 2 of the first and second external teeth are set to be larger than their theoretical values d 1 and d 2 .
  • the contour shape of the wave generator is set so that the first and second external teeth are bent with such a bending amount.
  • the value of the coefficient ⁇ is preferably within the following range. 1.25 ⁇ ⁇ ⁇ 3
  • a circle passing through the center of the thickness of the cylindrical body (the root rim) is defined as a rim neutral circle.
  • the rim neutral circle is deformed into an ellipse by bending the external gear into an ellipse. This is called an elliptical rim neutral curve.
  • the amount of bending in the radial direction of the external gear is the difference between the radius of the major axis and the radius of the rim neutral circle in the elliptical rim neutral curve, and the external gear module is m, 2n (n: positive integer).
  • the difference in the number of teeth from the toothed gear, ⁇ is expressed as ⁇ mn, with the deflection coefficient as the deflection coefficient.
  • both pitch circle diameters are substantially the same. Therefore, the theoretical value mn of the amount of bending in the radial direction becomes smaller as the number of teeth is larger.
  • the amount of bending in the radial direction of the first and second external teeth having different numbers of teeth is set to a value larger than the theoretical value ( ⁇ > 1) as described above.
  • ⁇ > 1 the theoretical value
  • both the external teeth can be engaged with each of the internal teeth in a good meshing state. 2
  • the value of ⁇ as described above, a good meshing state of the first and second external teeth can be formed, and their wear resistance and root fatigue strength can be increased.
  • the bearing ball load distribution of each wave bearing can be made uniform. Thereby, the lifetime of a wave bearing can be improved.
  • the number of teeth of the first internal teeth is Zc1
  • the number of teeth of the second internal teeth is Zc2
  • the number of teeth of the first external teeth is Zf1
  • the speed ratio R1 between the first internal gear and the external gear provided with the first external teeth, and between the second internal gear and the external gear provided with the second external teeth are respectively expressed as follows.
  • R1 1 / ⁇ (Zf1-Zc1) / Zf1 ⁇
  • R2 1 / ⁇ (Zf2-Zc2)
  • Zf2 ⁇ R (R1 ⁇ R2-R1) / (-R1 + R2)
  • first external teeth and second external teeth having different number of teeth and modules are formed as external teeth of the external gear. Therefore, the degree of freedom in design for setting the speed ratio is high, and a wave gear device with a low speed ratio can be easily realized as compared with the conventional one.
  • the number of teeth Zf1 of the first external teeth is different from the number of teeth Zc1 of the first internal teeth
  • the number of teeth Zf2 of the second external teeth is the number of teeth of the second internal teeth. Different from Zc2.
  • the number of teeth Zf1 of the first external teeth can be made smaller than the number of teeth Zc1 of the first internal teeth, and the number of teeth Zc1 of the first internal teeth and the number of teeth Zc2 of the second internal teeth can be made the same.
  • the wave generator is a rotation input element, one of the first internal gear and the second internal gear is a stationary internal gear fixed so as not to rotate, and the other is a reduced rotation output element.
  • a certain drive-side internal gear is used.
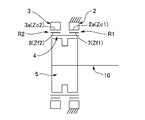
  • FIG. 1A is an end view showing a dual-type wave gear device (hereinafter simply referred to as “wave gear device”) according to an embodiment of the present invention, and FIG. It is a longitudinal cross-sectional view which shows the part cut
  • FIG. 2 is a schematic diagram of the wave gear device of FIG.
  • the wave gear device 1 is used, for example, as a speed reducer, and includes an annular rigid first internal gear 2, an annular rigid second internal gear 3, and a thin elastic body that can be bent in the radial direction.
  • a cylindrical external gear 4 and an elliptical wave generator 5 are provided.
  • the first and second internal gears 2 and 3 are coaxially arranged in parallel with a predetermined gap in the direction of the central axis 1a.
  • the first internal gear 2 is a stationary-side internal gear fixed so as not to rotate, and the number of teeth of the first internal gear 2a is Zc1.
  • the second internal gear 3 is a drive-side internal gear supported in a rotatable state, and the number of teeth of the second internal gear 3a is Zc2.
  • the second internal gear 3 is a reduced rotation output element of the wave gear device 1.
  • the cylindrical external gear 4 is disposed coaxially inside the first and second internal gears 2 and 3.
  • the external gear 4 includes a cylindrical body 6 that is a thin-walled elastic body that can be bent in the radial direction, first external teeth 7 and second external teeth 8 that are formed on a circular outer peripheral surface of the cylindrical body 6, and a gap therebetween. It has a gap 9 (see FIG. 3) that functions as the formed cutter relief.
  • the first external teeth 7 are formed on one side in the direction of the central axis 1a on the circular outer peripheral surface of the cylindrical body 6, and the second external teeth 8 are formed on the other second internal teeth 3a side. These first and second external teeth 7 and 8 are formed such that the direction of the central axis 1a is the tooth trace direction.
  • the first external teeth 7 are formed on the side facing the first internal teeth 2a, the number of teeth is Zf1, and can be engaged with the first internal teeth 2a.
  • the second external teeth 8 are formed on the side facing the second internal teeth 3a, the number of teeth is Zf2, and can mesh with the second internal teeth 3a.
  • the number of teeth Zf1 and Zf2 are different.
  • the wave generator 5 includes a rigid plug 11 having an elliptical contour, and a first wave bearing 12 and a second wave bearing 13 mounted on the elliptical outer peripheral surface of the rigid plug 11.
  • the first and second wave bearings 12 and 13 are formed of ball bearings.
  • the wave generator 5 is fitted into the inner peripheral surface of the cylindrical body 6 of the external gear 4 to bend the cylindrical body 6 in an elliptical shape. Therefore, the first and second external teeth 7 and 8 are also bent in an elliptical shape.
  • the external gear 4 bent in an elliptical shape meshes with the first and second internal gears 2 and 3 at both end positions of the elliptical long axis Lmax. That is, the first external teeth 7 are engaged with the first internal teeth 2a at both end positions of the elliptical long axis, and the second external teeth 8 are engaged with the second internal teeth 3a at both end positions of the long axis.
  • the wave generator 5 is an input rotation element of the wave gear device 1.
  • the rigid plug 11 of the wave generator 5 is provided with a shaft hole 11c, to which the input rotary shaft 10 (see FIG. 2) is connected and fixed coaxially.
  • the motor output shaft is connected and fixed.
  • the number of teeth of the second external teeth Zf2 is larger in this example.
  • the number of teeth Zc1 of the first internal teeth 2a is different from the number of teeth Zf1 of the first external teeth 7, and in this example, the number of teeth Zc1 of the first internal teeth 2a is larger.
  • the number of teeth Zc2 of the second internal teeth 3a is smaller in this example.
  • Zc2 62
  • the speed ratio R of the wave gear device 1 is expressed by the following equation using the speed ratios R1 and R2. Therefore, according to the present invention, a wave gear device having a significantly small speed ratio (reduction speed ratio) can be realized.
  • the minus sign of the speed ratio indicates that the output rotation direction is opposite to the input rotation direction.
  • FIG. 3 is a partial enlarged cross-sectional view of the wave gear device 1 and shows the external gear 4 and the first and second wave bearings 12 and 13 of the wave generator 5.
  • a gap 9 formed between the first and second external teeth 7 and 8 functions as a cutter escape portion of a gear cutting cutter used for cutting the first and second external teeth 7 and 8.
  • first and second external teeth 7 and 8 will be described.
  • the tooth widths of the first and second internal teeth 2a and 3a in this example are substantially the same. Accordingly, the first external teeth 7 and the second external teeth 8 having the same tooth width are formed in a symmetric state around the central position 6a in the tooth trace direction in the cylindrical body 6.
  • the first external teeth 7 and the second external teeth 8 have different tooth widths correspondingly.
  • the gap 9 has a predetermined width in the tooth trace direction, and has a deepest portion that is deepest in the tooth height direction at the center portion in the tooth trace direction.
  • the central portion in the tooth trace direction is the deepest portion 9a defined by a straight line extending parallel to the tooth trace direction.
  • a concave arc curve defining the inner end face 7a of the first external tooth 7 in the tooth trace direction and a concave arc defining the inner end face 8a of the second external tooth 8 in the tooth trace direction. The curves are connected smoothly.
  • the deepest portion 9a can be defined by a concave curved surface, and the inner end surfaces 7a and 8a on both sides can be defined by inclined straight lines. Moreover, the deepest part 9a can be prescribed
  • the width in the tooth trace direction of the gap 9 in this example gradually increases from the deepest portion 9a toward the tooth height direction.
  • the maximum width L1 in the tooth trace direction is the tooth trace from the inner end 7b in the tooth trace direction of the tip circle of the first external tooth 7 to the inner end 8b in the tooth trace direction of the tip circle of the second external tooth 8. The distance in the direction.
  • the depth of the deepest portion 9a of the gap 9 is set as follows.
  • the height of the first external teeth 7 is h1
  • the height of the second external teeth 8 is h2
  • the depth in the tooth height direction from the tip surface 7d of the first external teeth 7 to the deepest part 9a is t1
  • the second external When the depth in the tooth height direction from the tip surface 8d of the tooth 8 to the deepest portion 9a is t2, 0.9h1 ⁇ t1 ⁇ 1.3h1 0.9h2 ⁇ t2 ⁇ 1.3h2 Is set to
  • the gear cutters used for gear cutting of the first and second external teeth 7 and 8 are also different. Therefore, a gap 9 that functions as a cutter escape portion is formed between the central portion of the external gear 4 in the tooth trace direction, that is, between the first external teeth 7 and the second external teeth 8.
  • the contact of the first external teeth 7 with respect to the first internal teeth 2a in the tooth trace direction and the tooth surface load distribution are greatly affected by how the gap 9 is formed.
  • the contact of the second external teeth 8 with respect to the second internal teeth 3a in the tooth trace direction and the tooth surface load distribution are greatly affected.
  • the maximum width L1 of the gap 9 is set within the range of 0.1 to 0.3 times the width L of the external gear 4, and the maximum depth t1, t2 is set in a range from 0.9 times to 1.3 times the tooth heights h1 and h2 of the first and second external teeth 7 and 8.
  • a wave gear device with a speed ratio of 30 or less can be easily realized, and a wave gear device with high tooth root fatigue strength and a large load capacity can be realized.
  • the rigid plug 11 of the wave generator 5 has a first outer peripheral surface 11a having an elliptical contour having a constant width formed on one side in the direction of the central axis, and a first plug having an elliptical contour having a constant width formed on the other side.
  • Two outer peripheral surfaces 11b are formed.
  • the first outer peripheral surface 11a and the second outer peripheral surface 11b are elliptical outer peripheral surfaces having the same shape and the same phase.
  • a first wave bearing 12 is mounted on the first outer peripheral surface 11a while being bent in an elliptical shape
  • a second wave bearing 13 is mounted on the second outer peripheral surface 11b while being bent in an elliptical shape. Is installed.
  • the first and second wave bearings 12 and 13 are bearings of the same size.
  • the bearing ball centers 12a and 13a of the first wave bearing 12 and the second wave bearing 13 are located equidistant from the center position 6a in the tooth width direction of the external gear 4 in the tooth width direction. Further, the distance between the bearing ball centers is set so as to increase as the maximum width L1 of the gap 9 increases. Further, assuming that the distance between the center of the bearing balls is Lo, the distance between the center of the balls Lo is set to a value within the range represented by the following equation. 0.35L ⁇ Lo ⁇ 0.7L
  • a wave generator having two rows of ball bearings is used to increase the support area of the external gear. No consideration is given to the distance between the centers of the balls, and the two rows of ball bearings are arranged close to the central portion of the external gear in the tooth width direction.
  • the support rigidity of the first and second external teeth 7 and 8 having different numbers of teeth can be increased, and the contact of the external teeth 7 and 8 with respect to the internal teeth 2a and 3a at each position in the tooth trace direction can be improved.
  • the distance Lo between the ball centers of the two rows of wave bearings 12 and 13 is increased. That is, as described above, as the maximum width L1 in the tooth trace direction of the gap 9 that functions as the cutter clearance formed between the first and second external teeth 7 and 8 increases, the ball center distance Lo. Is widened (increased). Further, the range of increase / decrease of the ball center distance Lo is set to a range from 0.35 times to 0.7 times the width L of the external gear 4.
  • the tooth contact at each position in the tooth width direction of the first and second external teeth 7 and 8 can be improved, and the root fatigue strength can be increased. Further, since the bearing ball load distribution in each of the wave bearings 12 and 13 of the wave generator 5 can be averaged and the maximum load can be reduced, the life of the wave generator 5 can be improved.
  • the first and second external teeth 7 and 8 of the external gear 4 of this example are bent into an elliptical shape with different bending amounts by the wave generator 5 including the two rows of wave bearings 12 and 13 having the above-described configuration.
  • the module of the first external tooth 7 is m 1
  • the module of the second external tooth 8 is m 2 .
  • difference in the number of teeth between the first external teeth 7 first internal teeth 2a is 2n 1
  • difference in the number of teeth between the second external teeth 8 second internal 3a is 2n 2.
  • the radial direction deflection d 1a of the first external teeth 7 bent by the wave generator 5 is set to a value larger than the theoretical value d 1 .
  • the radial direction deflection amount d 2 of the second external tooth 8 is also set to a value larger than the theoretical value d 2 .
  • FIG. 4 is an explanatory diagram exaggeratingly illustrating the bending state of the external gear 4.
  • a circle passing through the center of the thickness of the cylindrical body (bottom rim) 6 is a rim neutral circle C.
  • the rim neutral circle C is deformed into an ellipse by bending the external gear 4 into an ellipse. This is called an elliptical rim neutral curve.
  • the amount of radial deflection of the external gear 4 is the difference between the radius of the major axis Lmax and the radius of the rim neutral circle C in the elliptical rim neutral curve.
  • the amount of radial deflection on the first external tooth 7 side is larger than the amount of radial deflection on the second external tooth 8 side. Therefore, as exaggeratedly shown in FIG. 4, in the cross section including the long axis Lmax, the external gear 4 extends from the outer end 8 c of the second external tooth 8 to the first external tooth 7 along the tooth trace direction. Toward the outer end 7c, the amount of deflection increases substantially in proportion to the distance from the outer end 8c.
  • the above-described radial deflection amounts d1a and d2a are average deflection amounts of the first and second external teeth 7 and 8, respectively. The amount of deflection at the center position in the direction of the tooth trace (difference between the elliptical rim neutral curves C1 and C2 and the rim neutral circle C) is approximately equal.
  • both the external teeth 7 and 8 are in good meshing state, and each internal tooth It was confirmed that the first and second external teeth 7 and 8 were improved in wear resistance and root fatigue strength. Further, it was confirmed that the bearing ball load distribution of the two rows of wave bearings 12 and 13 supporting the first and second external teeth 7 and 8 can be made uniform, and the life of the wave bearings 12 and 13 can be improved. It was.
  • the first internal gear 2 is a stationary internal gear and the second internal gear 3 is a drive side internal gear.
  • the first internal gear 2 can be a drive-side internal gear
  • the second internal gear 3 can be a stationary-side internal gear.

Landscapes

  • Engineering & Computer Science (AREA)
  • General Engineering & Computer Science (AREA)
  • Mechanical Engineering (AREA)
  • Retarders (AREA)
PCT/JP2015/069244 2014-07-23 2015-07-03 デュアルタイプの波動歯車装置 Ceased WO2016013380A1 (ja)

Priority Applications (7)

Application Number Priority Date Filing Date Title
MX2017001006A MX2017001006A (es) 2014-07-23 2015-07-03 Dispositivo de engranaje de ondas tipo dual.
EP15824221.4A EP3173659B1 (en) 2014-07-23 2015-07-03 Dual-type wave gear device
RU2016148940A RU2658846C1 (ru) 2014-07-23 2015-07-03 Сдвоенная волновая зубчатая передача
US15/327,866 US10309513B2 (en) 2014-07-23 2015-07-03 Dual-type strain wave gearing
KR1020167035464A KR101918011B1 (ko) 2014-07-23 2015-07-03 듀얼타입의 파동기어장치
BR112017000370-8A BR112017000370B1 (pt) 2014-07-23 2015-07-03 Engrenagem com onda de tensão do tipo duplo
CN201580038728.6A CN106536976B (zh) 2014-07-23 2015-07-03 双联型波动齿轮装置

Applications Claiming Priority (2)

Application Number Priority Date Filing Date Title
JP2014-149372 2014-07-23
JP2014149372A JP6370624B2 (ja) 2014-07-23 2014-07-23 デュアルタイプの波動歯車装置

Publications (1)

Publication Number Publication Date
WO2016013380A1 true WO2016013380A1 (ja) 2016-01-28

Family

ID=55162912

Family Applications (1)

Application Number Title Priority Date Filing Date
PCT/JP2015/069244 Ceased WO2016013380A1 (ja) 2014-07-23 2015-07-03 デュアルタイプの波動歯車装置

Country Status (10)

Country Link
US (1) US10309513B2 (enExample)
EP (1) EP3173659B1 (enExample)
JP (1) JP6370624B2 (enExample)
KR (1) KR101918011B1 (enExample)
CN (1) CN106536976B (enExample)
BR (1) BR112017000370B1 (enExample)
MX (1) MX2017001006A (enExample)
RU (1) RU2658846C1 (enExample)
TW (1) TWI608185B (enExample)
WO (1) WO2016013380A1 (enExample)

Cited By (1)

* Cited by examiner, † Cited by third party
Publication number Priority date Publication date Assignee Title
CN109915570A (zh) * 2017-12-13 2019-06-21 本田技研工业株式会社 动力分配装置

Families Citing this family (6)

* Cited by examiner, † Cited by third party
Publication number Priority date Publication date Assignee Title
CN107387725A (zh) * 2017-08-10 2017-11-24 金明必 柔性齿轮及其组件、采用该组件的减速器及减速比算法
JP6912989B2 (ja) * 2017-09-27 2021-08-04 住友重機械工業株式会社 撓み噛合い式歯車装置
JP6552571B2 (ja) * 2017-09-29 2019-07-31 株式会社ハーモニック・ドライブ・システムズ デュアルタイプの波動歯車装置
KR102513723B1 (ko) * 2020-01-08 2023-03-23 가부시키가이샤 하모닉 드라이브 시스템즈 파동기어장치
CN115398110B (zh) * 2020-04-27 2025-07-01 谐波传动系统有限公司 轴承装置以及波动齿轮装置
CN112145650B (zh) * 2020-09-28 2022-03-25 珠海格力电器股份有限公司 刚度补偿装置、谐波减速器及机器人

Citations (6)

* Cited by examiner, † Cited by third party
Publication number Priority date Publication date Assignee Title
JP2718540B2 (ja) * 1989-04-17 1998-02-25 株式会社ハーモニック・ドライブ・システムズ 波動歯車装置
JP2009156462A (ja) * 2007-12-04 2009-07-16 Harmonic Drive Syst Ind Co Ltd フラット型波動歯車装置の同歯数側歯車の歯形設定方法
US20110088496A1 (en) * 2008-06-24 2011-04-21 Korea Institute Of Science And Technology Harmonic drive using profile shifted gear
WO2013038463A1 (ja) * 2011-09-16 2013-03-21 株式会社ハーモニック・ドライブ・システムズ 振動発電を行う波動歯車装置
JP2013119919A (ja) * 2011-12-08 2013-06-17 Sumitomo Heavy Ind Ltd 撓み噛合い式歯車装置
JP2013194836A (ja) * 2012-03-21 2013-09-30 Honda Motor Co Ltd 波動歯車装置および歩行補助装置

Family Cites Families (14)

* Cited by examiner, † Cited by third party
Publication number Priority date Publication date Assignee Title
SU912980A1 (ru) * 1980-06-30 1982-03-15 Московское Ордена Ленина И Ордена Трудового Красного Знамени Высшее Техническое Училище Им. Н.Э.Баумана Сдвоенна волнова зубчата передача
JPS6491151A (en) 1987-10-02 1989-04-10 Ricoh Kk Device for operating copying machine
JPH0451235Y2 (enExample) 1987-12-10 1992-12-02
UA78075C2 (en) * 2005-02-07 2007-02-15 Robert Vachahan Ambartsumiants Method for determination of teeth module of involute cylindrical toothed wheels
JP2007303592A (ja) * 2006-05-12 2007-11-22 Honda Motor Co Ltd 波動歯車装置
US8028603B2 (en) 2007-12-04 2011-10-04 Harmonic Drive Systems Inc. Method for setting gear tooth profile in flat wave gear device on side where gears have same number of teeth
JP5064300B2 (ja) * 2008-05-28 2012-10-31 株式会社ハーモニック・ドライブ・システムズ 波動歯車式直動機構
JP4948479B2 (ja) * 2008-06-26 2012-06-06 株式会社ハーモニック・ドライブ・システムズ 複合型波動歯車減速機
JP5275150B2 (ja) * 2009-06-23 2013-08-28 株式会社ハーモニック・ドライブ・システムズ 波動歯車装置
JP5337008B2 (ja) * 2009-11-30 2013-11-06 住友重機械工業株式会社 撓み噛合い式歯車装置、及びその外歯歯車の製造方法
JP5256249B2 (ja) * 2010-06-18 2013-08-07 住友重機械工業株式会社 撓み噛合い式歯車装置
TWI412674B (zh) * 2010-11-17 2013-10-21 Ind Tech Res Inst 減速機構及其諧波齒輪減速機
US9360098B2 (en) * 2013-10-29 2016-06-07 Roopnarine Strain wave drive with improved performance
JP6218692B2 (ja) * 2014-07-23 2017-10-25 株式会社ハーモニック・ドライブ・システムズ デュアルタイプの波動歯車装置

Patent Citations (6)

* Cited by examiner, † Cited by third party
Publication number Priority date Publication date Assignee Title
JP2718540B2 (ja) * 1989-04-17 1998-02-25 株式会社ハーモニック・ドライブ・システムズ 波動歯車装置
JP2009156462A (ja) * 2007-12-04 2009-07-16 Harmonic Drive Syst Ind Co Ltd フラット型波動歯車装置の同歯数側歯車の歯形設定方法
US20110088496A1 (en) * 2008-06-24 2011-04-21 Korea Institute Of Science And Technology Harmonic drive using profile shifted gear
WO2013038463A1 (ja) * 2011-09-16 2013-03-21 株式会社ハーモニック・ドライブ・システムズ 振動発電を行う波動歯車装置
JP2013119919A (ja) * 2011-12-08 2013-06-17 Sumitomo Heavy Ind Ltd 撓み噛合い式歯車装置
JP2013194836A (ja) * 2012-03-21 2013-09-30 Honda Motor Co Ltd 波動歯車装置および歩行補助装置

Non-Patent Citations (1)

* Cited by examiner, † Cited by third party
Title
See also references of EP3173659A4 *

Cited By (2)

* Cited by examiner, † Cited by third party
Publication number Priority date Publication date Assignee Title
CN109915570A (zh) * 2017-12-13 2019-06-21 本田技研工业株式会社 动力分配装置
CN109915570B (zh) * 2017-12-13 2021-01-22 本田技研工业株式会社 动力分配装置

Also Published As

Publication number Publication date
TWI608185B (zh) 2017-12-11
EP3173659A1 (en) 2017-05-31
JP2016023744A (ja) 2016-02-08
BR112017000370A2 (pt) 2018-03-13
RU2658846C1 (ru) 2018-06-25
KR20170010320A (ko) 2017-01-26
TW201610324A (zh) 2016-03-16
CN106536976A (zh) 2017-03-22
KR101918011B1 (ko) 2018-11-13
JP6370624B2 (ja) 2018-08-08
EP3173659A4 (en) 2018-07-11
US20170211679A1 (en) 2017-07-27
BR112017000370B1 (pt) 2023-02-14
CN106536976B (zh) 2019-05-17
US10309513B2 (en) 2019-06-04
EP3173659B1 (en) 2021-01-27
MX2017001006A (es) 2017-09-01

Similar Documents

Publication Publication Date Title
JP6218691B2 (ja) デュアルタイプの波動歯車装置
JP6370624B2 (ja) デュアルタイプの波動歯車装置
JP6218692B2 (ja) デュアルタイプの波動歯車装置
JP6218693B2 (ja) デュアルタイプの波動歯車装置
JP6218690B2 (ja) デュアルタイプの波動歯車装置
JP6351724B2 (ja) フラット型波動歯車装置
KR102209016B1 (ko) 듀얼타입의 파동기어장치
JP6324832B2 (ja) デュアルタイプの波動歯車装置

Legal Events

Date Code Title Description
121 Ep: the epo has been informed by wipo that ep was designated in this application

Ref document number: 15824221

Country of ref document: EP

Kind code of ref document: A1

REEP Request for entry into the european phase

Ref document number: 2015824221

Country of ref document: EP

WWE Wipo information: entry into national phase

Ref document number: 2015824221

Country of ref document: EP

ENP Entry into the national phase

Ref document number: 20167035464

Country of ref document: KR

Kind code of ref document: A

REG Reference to national code

Ref country code: BR

Ref legal event code: B01A

Ref document number: 112017000370

Country of ref document: BR

WWE Wipo information: entry into national phase

Ref document number: MX/A/2017/001006

Country of ref document: MX

Ref document number: 15327866

Country of ref document: US

NENP Non-entry into the national phase

Ref country code: DE

ENP Entry into the national phase

Ref document number: 2016148940

Country of ref document: RU

Kind code of ref document: A

REG Reference to national code

Ref country code: BR

Ref legal event code: B01E

Ref document number: 112017000370

Country of ref document: BR

Free format text: APRESENTE A TRADUCAO SIMPLES DA FOLHA DE ROSTO DA CERTIDAO DE DEPOSITO DA PRIORIDADE JP 2014-149372 REIVINDICADA; OU DECLARACAO DE QUE OS DADOS DO PEDIDO INTERNACIONAL ESTAO FIELMENTE CONTIDOS NA PRIORIDADE REIVINDICADA, CONTENDO TODOS OS DADOS IDENTIFICADORES (NUMERO DA PRIORIDADE, DATA, DEPOSITANTE E INVENTORES), CONFORME O PARAGRAFO UNICO DO ART. 25 DA RESOLUCAO 77/2013. CABE SALIENTAR NAO FOI POSSIVEL INDIVIDUALIZAR OS TITULARES DA CITADA PRIORIDADE, INFORMACAO NECESSARIA PARA O EXAME DA CESSAO DO DOCUMENTO DE PRIORIDADE, SE FOR O CASO. SOLICITA-SE, AINDA, A REGULARIZACAO DA PROCURACAO, UMA VEZ QUE BASEADO NO ARTIGO 216 1O DA LPI, O DOCUMENTO DE PROCURACAO DEVE SER APRESENTADO NO ORIGI

Ref country code: BR

Ref legal event code: B01E

Ref document number: 112017000370

Country of ref document: BR

ENP Entry into the national phase

Ref document number: 112017000370

Country of ref document: BR

Kind code of ref document: A2

Effective date: 20170106