WO2015199153A1 - 軸流タービンのラビリンスシール装置およびこれを備えた排ガスタービン過給機 - Google Patents

軸流タービンのラビリンスシール装置およびこれを備えた排ガスタービン過給機 Download PDF

Info

Publication number
WO2015199153A1
WO2015199153A1 PCT/JP2015/068256 JP2015068256W WO2015199153A1 WO 2015199153 A1 WO2015199153 A1 WO 2015199153A1 JP 2015068256 W JP2015068256 W JP 2015068256W WO 2015199153 A1 WO2015199153 A1 WO 2015199153A1
Authority
WO
WIPO (PCT)
Prior art keywords
exhaust gas
turbine
seal
labyrinth
passage
Prior art date
Legal status (The legal status is an assumption and is not a legal conclusion. Google has not performed a legal analysis and makes no representation as to the accuracy of the status listed.)
Ceased
Application number
PCT/JP2015/068256
Other languages
English (en)
French (fr)
Japanese (ja)
Inventor
白石 啓一
Current Assignee (The listed assignees may be inaccurate. Google has not performed a legal analysis and makes no representation or warranty as to the accuracy of the list.)
Mitsubishi Heavy Industries Ltd
Original Assignee
Mitsubishi Heavy Industries Ltd
Priority date (The priority date is an assumption and is not a legal conclusion. Google has not performed a legal analysis and makes no representation as to the accuracy of the date listed.)
Filing date
Publication date
Application filed by Mitsubishi Heavy Industries Ltd filed Critical Mitsubishi Heavy Industries Ltd
Priority to CN201580006111.6A priority Critical patent/CN105980685B/zh
Priority to KR1020167019500A priority patent/KR101704986B1/ko
Publication of WO2015199153A1 publication Critical patent/WO2015199153A1/ja
Anticipated expiration legal-status Critical
Ceased legal-status Critical Current

Links

Images

Classifications

    • FMECHANICAL ENGINEERING; LIGHTING; HEATING; WEAPONS; BLASTING
    • F01MACHINES OR ENGINES IN GENERAL; ENGINE PLANTS IN GENERAL; STEAM ENGINES
    • F01DNON-POSITIVE DISPLACEMENT MACHINES OR ENGINES, e.g. STEAM TURBINES
    • F01D11/00Preventing or minimising internal leakage of working-fluid, e.g. between stages
    • F01D11/02Preventing or minimising internal leakage of working-fluid, e.g. between stages by non-contact sealings, e.g. of labyrinth type
    • F01D11/04Preventing or minimising internal leakage of working-fluid, e.g. between stages by non-contact sealings, e.g. of labyrinth type using sealing fluid, e.g. steam
    • FMECHANICAL ENGINEERING; LIGHTING; HEATING; WEAPONS; BLASTING
    • F01MACHINES OR ENGINES IN GENERAL; ENGINE PLANTS IN GENERAL; STEAM ENGINES
    • F01DNON-POSITIVE DISPLACEMENT MACHINES OR ENGINES, e.g. STEAM TURBINES
    • F01D25/00Component parts, details, or accessories, not provided for in, or of interest apart from, other groups
    • FMECHANICAL ENGINEERING; LIGHTING; HEATING; WEAPONS; BLASTING
    • F02COMBUSTION ENGINES; HOT-GAS OR COMBUSTION-PRODUCT ENGINE PLANTS
    • F02BINTERNAL-COMBUSTION PISTON ENGINES; COMBUSTION ENGINES IN GENERAL
    • F02B39/00Component parts, details, or accessories relating to, driven charging or scavenging pumps, not provided for in groups F02B33/00 - F02B37/00
    • FMECHANICAL ENGINEERING; LIGHTING; HEATING; WEAPONS; BLASTING
    • F02COMBUSTION ENGINES; HOT-GAS OR COMBUSTION-PRODUCT ENGINE PLANTS
    • F02CGAS-TURBINE PLANTS; AIR INTAKES FOR JET-PROPULSION PLANTS; CONTROLLING FUEL SUPPLY IN AIR-BREATHING JET-PROPULSION PLANTS
    • F02C7/00Features, components parts, details or accessories, not provided for in, or of interest apart form groups F02C1/00 - F02C6/00; Air intakes for jet-propulsion plants
    • F02C7/28Arrangement of seals
    • FMECHANICAL ENGINEERING; LIGHTING; HEATING; WEAPONS; BLASTING
    • F16ENGINEERING ELEMENTS AND UNITS; GENERAL MEASURES FOR PRODUCING AND MAINTAINING EFFECTIVE FUNCTIONING OF MACHINES OR INSTALLATIONS; THERMAL INSULATION IN GENERAL
    • F16JPISTONS; CYLINDERS; SEALINGS
    • F16J15/00Sealings
    • F16J15/44Free-space packings
    • F16J15/447Labyrinth packings

Definitions

  • the present invention relates to a labyrinth seal device for an axial flow turbine and an exhaust gas turbine supercharger including the same.
  • an axial-flow type exhaust gas turbine supercharger 101 driven by exhaust gas from an internal combustion engine has a turbine mounted on a turbine shaft 4 supported by a bearing stand 2.
  • a turbine rotor 8 is provided in which a disk 6 and an exhaust gas turbine blade 7 are rotatably integrated.
  • An exhaust gas passage 13 is formed in the exhaust gas outlet casing 12 provided around the bearing stand 2 along the axial direction of the turbine shaft 4, and the exhaust gas turbine blades 7 are formed by the exhaust gas of the internal combustion engine flowing through the exhaust gas passage 13.
  • the turbine rotor 8 and the turbine shaft 4 rotate to generate power.
  • a compressor (intake turbine blade) (not shown) provided on the other end side of the turbine shaft 4 is rotationally driven, whereby the air taken in by the internal combustion engine is compressed and supercharged.
  • a known air labyrinth seal AL (multi-stage labyrinth fin) is formed between the turbine disk 6 and an annular labyrinth member 22 which is fixed to the bearing stand 2 side and adjacent to the exhaust gas downstream side of the turbine disk 6. .
  • the air compressed by the above-described compressor is partially extracted by the extraction passage 24 into the narrow labyrinth gap (usually about 1 to 2 mm) between the air labyrinth seals AL and supplied as seal air.
  • the supply of the sealing air generates a thrust force that presses the turbine rotor 8 and the turbine shaft 4 to the upstream side of the exhaust gas against the pressure of the exhaust gas.
  • a thrust bearing (not shown) is reduced, and at the same time, the driving force required to rotate the turbine shaft 4 is reduced.
  • the exhaust gas flowing through the exhaust gas passage 13 is prevented from entering the bearing base 2 from between the turbine disk 6 and the labyrinth member 22 (labyrinth gap).
  • the seal air thus supplied to the air labyrinth seal AL is discharged from the labyrinth gap into the exhaust gas passage 13 substantially perpendicularly to the exhaust gas flow direction as indicated by an arrow.
  • the pressure of the exhaust gas flowing through the exhaust gas passage 13 is generally reduced to 0.05 bar or less on the downstream side of the exhaust gas turbine blade 7.
  • the pressure of the seal air discharged from the labyrinth gap into the exhaust gas passage 13 is about 4 bar at the maximum, which is higher than the pressure of the exhaust gas passing through this position.
  • the seal air is jetted vertically from the labyrinth gap at a high flow rate to the downstream side of the exhaust gas turbine blade 7, which causes a disturbance in the flow of the exhaust gas immediately downstream of the exhaust gas turbine blade 7. That is, it has been found that the flow of exhaust gas is separated from the inner surface of the exhaust gas passage 13 due to the ejection of high-pressure sealing air, which causes a reduction in turbine efficiency.
  • the exhaust gas outlet casing 12 constituting the exhaust gas passage 13 is thermally expanded by receiving the heat of the exhaust gas, and its end 12a tends to be close to the turbine disk 6 side.
  • the gap G between the end 12a of the exhaust gas outlet casing 12 and the turbine disk 6 needs to be larger than the labyrinth gap in consideration of the above-described thermal elongation, and is generally about 5 to 6 mm.
  • An object of the present invention is to provide a labyrinth seal device for an axial-flow turbine that can be prevented from being disturbed by (or seal air) and increase turbine efficiency, and an exhaust gas turbine supercharger including the same.
  • a labyrinth seal device for an axial-flow turbine includes a turbine shaft that is pivotally supported by a bearing stand, a turbine disk provided on the turbine shaft, and the turbine disk.
  • An exhaust gas turbine blade provided on the outer periphery of the gas turbine, a casing for supplying exhaust gas to the exhaust gas turbine blade, and forming an exhaust gas passage for discharging the exhaust gas that has passed through the exhaust gas turbine blade to the outside of the system, and the bearing stand side And an annular labyrinth member that forms a gas labyrinth seal adjacent to the exhaust gas downstream side of the turbine disk and seal gas flowing through the gas labyrinth seal in the exhaust gas passage on the exhaust gas downstream side of the exhaust gas turbine blade.
  • a labyrinth seal device for an axial flow turbine comprising: Seal gas discharge passage is formed between the exhaust gas passage forming portion of said casing and said labyrinth members.
  • the seal gas is not provided between the turbine disk and the labyrinth member as in the prior art, but the seal gas discharge passage is provided at a position downstream of the labyrinth member. To the exhaust gas passage.
  • the seal gas discharge position (seal gas discharge passage) is located downstream of the adjacent portion of the turbine disk and the labyrinth member, and therefore, at least in a region of the exhaust gas flow immediately after passing through the exhaust gas turbine blade. Can suppress the occurrence of turbulence in the flow due to the release of the high-pressure seal gas, thereby improving the turbine efficiency.
  • a labyrinth member is disposed between the casing (exhaust gas passage) that receives heat from the exhaust gas and thermally expands and the turbine disk, and a gap-like seal gas discharge passage is formed between the labyrinth member and the casing. Therefore, the thermal expansion of the casing is absorbed by the seal gas discharge passage.
  • the gap between the labyrinth member and the turbine disk can be set to a minimum.
  • the outer peripheral surface of the labyrinth member forms the exhaust gas passage together with the casing.
  • the outer peripheral surface of the labyrinth member forms an exhaust gas passage together with the casing, the flow of the exhaust gas immediately after passing through the exhaust gas turbine blades does not pass over a large gap, and the disturbance of the exhaust gas flow is suppressed. Turbine efficiency can be improved.
  • the joining portion of the seal gas discharge passage and the exhaust gas passage is formed so that the flow direction of the seal gas has an axial component facing the downstream side of the exhaust gas passage. Is preferred.
  • the seal gas discharged from the seal gas discharge passage into the exhaust gas passage can be merged at a shallow angle with respect to the flow of the exhaust gas.
  • the seal gas discharge passage includes a bent portion that changes a flow direction of the seal gas.
  • the flow resistance (pressure loss) of the seal gas flowing inside the seal gas discharge passage increases, and the flow velocity decreases. For this reason, the disturbance of the exhaust gas flow when the seal gas is released into the exhaust gas passage can be suppressed, and the turbine efficiency can be further improved.
  • the exhaust gas downstream end portion of the labyrinth member is overlapped with the outer peripheral side of the exhaust gas upstream end portion of the exhaust gas passage forming portion of the casing, and this overlapped portion Protruding members may be interspersed in the circumferential direction.
  • the casing is prevented from being thermally expanded and deformed, the flow of exhaust gas is prevented from being disturbed, the turbine efficiency is prevented from being lowered, and the opening area of the seal gas discharge passage is reduced. This can be prevented.
  • An exhaust gas turbine supercharger includes any one of the labyrinth devices for an axial turbine described above, and a compressor is provided coaxially on the turbine shaft, and the compression is performed by the energy of the exhaust gas.
  • the machine is rotated to supercharge the intake gas of the internal combustion engine.
  • the seal gas is not released from between the turbine disk and the labyrinth member as in the prior art, but is discharged into the exhaust gas passage at a position downstream of the labyrinth member. For this reason, it is possible to suppress the occurrence of turbulence due to the discharge of the high-pressure seal gas in the exhaust gas flow immediately after passing through the exhaust gas turbine blades, thereby improving the turbine efficiency.
  • the thermal expansion of the casing is absorbed by the labyrinth member disposed between the casing and the turbine disk and the seal gas discharge passage provided between the casing. For this reason, the gap between the labyrinth member and the turbine disk can be set to a minimum, and the disturbance of the exhaust gas flow immediately after passing through the exhaust gas turbine blades can be suppressed to improve the turbine efficiency.
  • the rotation information of the crankshaft can be accurately detected with a simple and inexpensive configuration.
  • FIG. 1 is a longitudinal sectional view in the vicinity of an exhaust gas turbine in an exhaust gas turbocharger to which a labyrinth seal device according to the present invention is applied. It is an enlarged view of the labyrinth seal device vicinity which shows 1st Embodiment of this invention. It is an enlarged view of the labyrinth seal device vicinity which shows 2nd Embodiment of this invention. It is an enlarged view of the labyrinth seal device vicinity which shows 3rd Embodiment of this invention.
  • FIG. 5 is a longitudinal sectional view taken along line VV in FIG. 4. It is a longitudinal cross-sectional view of an exhaust gas turbine vicinity in an exhaust gas turbine supercharger to which a labyrinth seal device is applied, showing a conventional technique.
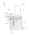
  • FIG. 1 is a longitudinal sectional view showing the vicinity of an exhaust gas turbine in an axial flow type exhaust gas turbine supercharger to which the labyrinth seal device according to the present invention is applied
  • FIG. 2 is a labyrinth seal showing a first embodiment of the present invention. It is an enlarged view near the device.
  • the exhaust gas turbine supercharger 1 is equipped with, for example, a large marine diesel engine (not shown) to supercharge intake gas.
  • the exhaust gas turbine supercharger 1 is provided with a shaft 2 via a bearing base 2 and a pair of radial bearings 3.
  • a supported turbine shaft 4 an exhaust gas turbine 5 (axial turbine) provided at one end of the turbine shaft 4 and driven at high speed by exhaust gas discharged from a large marine diesel engine, and coaxial with the other end of the turbine shaft 4
  • a compressor (not shown) that compresses the intake gas and supercharges the large marine diesel engine by rotating the turbine shaft 4 by the energy of the exhaust gas.
  • the exhaust gas turbine 5 includes a turbine rotor 8 including a disc-shaped turbine disk 6 provided integrally with one end of the turbine shaft 4 and a large number of exhaust gas turbine blades 7 provided at equal intervals on the outer periphery of the turbine disk 6. It has. Further, the exhaust gas turbine 5 includes an exhaust gas inlet casing 11, an exhaust gas outlet casing 12 (casing), an exhaust gas passage 13, and a labyrinth seal device 15 to be described later.
  • the exhaust gas inlet casing 11 and the exhaust gas outlet casing 12 are combined to form an exhaust gas passage 13 having a shape along the axial direction of the turbine shaft 4 and surrounding the turbine shaft 4.
  • An exhaust gas turbine blade 7 projects into the exhaust gas passage 13 in the vicinity of the inlet of the exhaust gas outlet casing 12.
  • Reference numeral 17 denotes a turbine nozzle installed on the inlet side of the exhaust gas turbine blade 7.
  • the exhaust gas turbine blade 7 protruding inside the exhaust gas passage 13 is driven by the exhaust gas flow that flows through the exhaust gas passage 13 and is expanded in the turbine nozzle 17.
  • the turbine rotor 8 and the turbine shaft 4 are rotated to generate power, and the above-described compressor (intake turbine) is driven by this power, and the gas sucked from the outside is compressed to be sucked into a large marine diesel engine. It is supplied (supercharged) as gas.
  • the pressure of the exhaust gas after passing through the exhaust gas turbine blade 7 decreases to 0.05 bar or less.
  • the labyrinth seal device 15 includes two annular labyrinth members 21 and 22.
  • One labyrinth member 21 is fixed to the bearing stand 2 so as to be positioned between the radial bearing 3 and the turbine disk 6 in the axial direction of the turbine shaft 4 to constitute an oil labyrinth seal OL.
  • the other labyrinth member 22 is fixed to the bearing stand 2 side so as to be adjacent to the exhaust gas downstream side (bearing stand 2 side) with respect to the turbine disk 6 to constitute a gas labyrinth seal GL.
  • Each of these labyrinth seals OL and GL has a known configuration in which multi-stage labyrinth fins are engaged.
  • An extraction passage 24 is formed inside the bearing stand 2.
  • the extraction passage 24 is a gas passage that extracts a part of the suction gas compressed by the above-described compressor and supplies it to the oil labyrinth seal OL and the gas labyrinth seal GL.
  • the EGR gas may be supplied to the oil labyrinth seal OL and the gas labyrinth seal GL as a seal gas.
  • the labyrinth member 22 constituting the gas labyrinth seal GL is arranged in the exhaust gas passage 13 so that the outer peripheral surface 22 a does not generate a step with respect to the inner surface 13 a of the exhaust gas passage 13 (exhaust gas outlet casing 12).
  • the exhaust gas passage 13 is formed together with the exhaust gas outlet casing 12.
  • the labyrinth member 22 is fixed to the bearing stand 2 so as to be adjacent to the exhaust gas outlet casing 12 via the gap-shaped seal gas discharge passage 26 described above.
  • a step portion 22b (see FIG. 2) whose outer diameter is smaller than the outer peripheral surface 22a is formed on the side of the labyrinth member 22 opposite to the turbine disk 6 and an annular gas seal ring 28 is fitted into the step portion 22b.
  • the outer peripheral surface of the gas seal ring 28 is slidably covered in the axial direction with the inner peripheral surface of the exhaust gas upstream end 12a of the exhaust gas outlet casing 12, and the exhaust gas upstream end 12a and the labyrinth member 22
  • a seal gas discharge passage 26 is formed therebetween.
  • the end portion of the seal gas discharge passage 26, that is, the joining portion communicating with the exhaust gas passage 13, as indicated by an arrow in FIG. 1, the flow direction of the seal gas discharged from the seal gas discharge passage 26 into the exhaust gas passage 13. Is formed so as to have an axial component along the flow direction of the exhaust gas flowing through the exhaust gas passage 13 and toward the downstream side of the exhaust gas passage 13. That is, the end portion of the seal gas discharge passage 26 has a cross-sectional shape that merges obliquely with respect to the exhaust gas passage 13.
  • an air collection chamber 30 having a large clearance from the turbine disk 6 is formed in a portion of the labyrinth member 22 on the outer peripheral side of the gas labyrinth seal GL.
  • the gap G1 between the portion on the outer peripheral side further than 30 and the turbine disk 6 is set to a minimum dimension, for example, about 1 mm.
  • a deaeration passage 31 communicating with the seal gas discharge passage 26 from the air collection chamber 30 is also formed.
  • a plurality of the deaeration passages 31 are provided in the circumferential direction of the labyrinth member 22.
  • the labyrinth seal device 15 configured as described above, a part of the suction gas compressed by the compressor is supplied to each of the oil labyrinth seal OL and the gas labyrinth seal GL as a seal gas through the extraction passage 24. .
  • the seal gas is first supplied from the extraction passage 24 to the oil labyrinth seal OL, and the seal gas discharged from the oil labyrinth seal OL is then supplied to the gas labyrinth seal GL. Thereafter, the gas is discharged into the exhaust gas passage 13 as indicated by an arrow in FIG. 1 from the gap-like seal gas discharge passage 26 located downstream of the exhaust gas turbine blade 7.
  • the lubricating oil supplied to the radial bearing 3 is prevented from leaking to the turbine disk 6 side due to the pressure of the seal gas.
  • the turbine disk 6 is pressed against the labyrinth member 22 on the exhaust gas upstream side (rightward in FIG. 1) by the pressure of the seal gas. For this reason, a thrust force is generated that presses the turbine rotor 8 and the turbine shaft 4 to the exhaust gas upstream side against the pressure of the exhaust gas.
  • the burden on a thrust bearing (not shown) is reduced, and at the same time, the driving force required to rotate the turbine shaft 4 is reduced.
  • the seal gas after passing through the air labyrinth seal GL flows into the air collection chamber 30 (see FIG. 2), further flows into the seal gas discharge passage 26 via the deaeration passage 31, and is discharged into the exhaust gas passage 13.
  • the position where the seal gas is discharged into the exhaust gas passage 13 is a position downstream of the adjacent portion (gap G1) between the turbine disk 6 and the labyrinth member 22 in the axial direction of the turbine shaft 4.
  • the position (seal gas discharge passage 26) where the seal gas having a pressure higher than that of the exhaust gas is discharged into the exhaust gas passage 13 is the position of the conventional gap G shown in FIG. 6 (between the turbine disk 6 and the labyrinth member 22). It is on the downstream side of the adjacent portion (gap G). For this reason, turbulence occurs due to the high-pressure seal gas being released into the exhaust gas flow in the vicinity of the position immediately after passing through the exhaust gas turbine blade 7 (the position of the gap G1 that was the conventional seal gas outlet). This can be suppressed, thereby improving turbine efficiency.
  • a labyrinth member 22 is disposed between the exhaust gas outlet casing 12 that receives heat from the exhaust gas and thermally expands, and the turbine disk 6, and a gap-like seal gas is released between the labyrinth member 22 and the exhaust gas outlet casing 12. Since the passage 26 is formed, the thermal expansion of the exhaust gas outlet casing 12 is absorbed by the seal gas discharge passage 26.
  • the labyrinth member 22 since the labyrinth member 22 is connected to the bearing stand 2 that is not easily subjected to thermal stress, the labyrinth member 22 does not thermally expand and approach the turbine disk 6.
  • the gap G1 can be set to a minimum. Therefore, the step width in the exhaust gas passage 13 immediately downstream of the exhaust gas turbine blade 7 is reduced, and the disturbance of the exhaust gas flow due to separation of the boundary layer of the exhaust gas flow immediately after passing through the exhaust gas turbine blade 7 is reduced. In this respect as well, the turbine efficiency can be improved.
  • the seal gas discharged from the seal gas discharge passage 26 into the exhaust gas passage 13 is transferred to the exhaust gas flow. Can be merged at a shallow angle. Thereby, the disturbance (exfoliation of the boundary layer, etc.) of the exhaust gas flow immediately after passing through the exhaust gas turbine blade 7 can be reduced, and the turbine efficiency can be further improved.
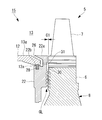
  • FIG. 3 is an enlarged view of the vicinity of the labyrinth seal device showing the second embodiment of the present invention.
  • the labyrinth seal device 35 is different from the labyrinth seal device 15 of the first embodiment in that a bent portion is provided in the middle portion of the seal gas discharge passage 26, and other configurations are the same. Only the point will be described.
  • the seal gas discharge passage 26 has two upstream end portions (portions where the deaeration passage 31 communicates) and a distal end portion that communicates obliquely with the exhaust gas passage 13. Bending portions 26a and 26b are provided. By providing these two bent portions 26a and 26b, the cross-sectional shape of the seal gas discharge passage 26 is bent in a crank shape.
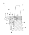
  • FIG. 4 is an enlarged view of the vicinity of the labyrinth seal device showing the third embodiment of the present invention.
  • the labyrinth seal device 40 has the same cross-sectional shape as the labyrinth seal device 35 of the second embodiment. That is, two bent portions 26a and 26b are provided in the middle portion of the seal gas discharge passage 26, and the exhaust gas downstream end of the labyrinth member 22 is the end 12a (exhaust gas upstream end) of the exhaust gas outlet casing 12. It overlaps the outer periphery.
  • transformation suppression member 43 is provided in the circumferential direction at the outer peripheral surface of the exhaust gas outlet casing 12.
  • the deformation suppressing member 43 is formed in, for example, a rectangular column shape that is long in the axial direction, and is provided integrally or as a separate part on the outer peripheral surface of the exhaust gas outlet casing 12.
  • the deformation suppressing member 43 may be formed on the labyrinth member 22 side, it is preferable that the deformation suppressing member 43 is provided on the outer peripheral surface of the exhaust gas outlet casing 12 in consideration of manufacturability. It is also conceivable that the deformation suppressing member 43 has a cylindrical shape, a wing-shaped cross section, or the like.
  • the end portion 12a on the exhaust gas upstream side of the exhaust gas outlet casing 12 is thermally expanded, and for example, a deformation that causes a step on the inner surface of the exhaust gas passage 13 is caused. This deformation is suppressed by the annular labyrinth member 22 via the protrusion-shaped deformation suppressing member 43.
  • the exhaust gas flow immediately after passing through the exhaust gas turbine blades 7 changes from the shape of the exhaust gas passage 13 and the gas labyrinth seal GL to the exhaust gas passage. It is possible to prevent the turbine 13 from being disturbed by the high-pressure seal gas discharged into the turbine 13 and increase the turbine efficiency.
  • the seal gas is not from between the turbine disk 6 and the labyrinth member 22 (gap G ⁇ b> 1) as in the prior art. Since it is discharged into the exhaust gas passage 13 at a position downstream of the labyrinth member 22, the exhaust gas flow immediately after passing through the exhaust gas turbine blades 7 is prevented from being disturbed by the release of the seal gas, thereby improving the turbine efficiency. Can be improved.
  • thermal expansion of the exhaust gas outlet casing 12 is absorbed by a labyrinth member 22 disposed between the exhaust gas outlet casing 12 and the turbine disk 6 and a seal gas discharge passage 26 provided between the exhaust gas outlet casing 12. .
  • the gap G1 between the labyrinth member 22 and the turbine disk 6 can be set to a minimum, the disturbance of the exhaust gas flow immediately after passing through the exhaust gas turbine blades 7 can be eliminated, and the turbine efficiency can be improved.
  • the present invention is not limited to the above embodiment, and can be modified as appropriate.
  • the example in which the labyrinth seal device according to the present invention is applied to an exhaust gas turbocharger installed in a large marine diesel engine has been described. It can be widely applied to other types and applications of axial flow turbines such as jet engines.

Landscapes

  • Engineering & Computer Science (AREA)
  • General Engineering & Computer Science (AREA)
  • Mechanical Engineering (AREA)
  • Chemical & Material Sciences (AREA)
  • Combustion & Propulsion (AREA)
  • Turbine Rotor Nozzle Sealing (AREA)
  • Supercharger (AREA)
  • Sealing Using Fluids, Sealing Without Contact, And Removal Of Oil (AREA)
PCT/JP2015/068256 2014-06-25 2015-06-24 軸流タービンのラビリンスシール装置およびこれを備えた排ガスタービン過給機 Ceased WO2015199153A1 (ja)

Priority Applications (2)

Application Number Priority Date Filing Date Title
CN201580006111.6A CN105980685B (zh) 2014-06-25 2015-06-24 轴流式涡轮机的迷宫式密封装置及具备该装置的排气涡轮增压器
KR1020167019500A KR101704986B1 (ko) 2014-06-25 2015-06-24 축류 터빈의 래버린스 시일 장치 및 이를 구비한 배기가스 터빈 과급기

Applications Claiming Priority (2)

Application Number Priority Date Filing Date Title
JP2014130127A JP6195308B2 (ja) 2014-06-25 2014-06-25 軸流タービンのラビリンスシール装置およびこれを備えた排ガスタービン過給機
JP2014-130127 2014-06-25

Publications (1)

Publication Number Publication Date
WO2015199153A1 true WO2015199153A1 (ja) 2015-12-30

Family

ID=54938231

Family Applications (1)

Application Number Title Priority Date Filing Date
PCT/JP2015/068256 Ceased WO2015199153A1 (ja) 2014-06-25 2015-06-24 軸流タービンのラビリンスシール装置およびこれを備えた排ガスタービン過給機

Country Status (4)

Country Link
JP (1) JP6195308B2 (enExample)
KR (1) KR101704986B1 (enExample)
CN (1) CN105980685B (enExample)
WO (1) WO2015199153A1 (enExample)

Families Citing this family (7)

* Cited by examiner, † Cited by third party
Publication number Priority date Publication date Assignee Title
DE102017208117A1 (de) * 2017-05-15 2018-11-15 Man Diesel & Turbo Se Turbolader
JP7305304B2 (ja) * 2018-03-22 2023-07-10 三菱重工業株式会社 排気タービン装置及び排気タービン装置を備えた過給機
CN109098780B (zh) * 2018-05-24 2024-05-14 中车大连机车研究所有限公司 一种涡轮增压器燃气废气进排气壳体
US10968762B2 (en) * 2018-11-19 2021-04-06 General Electric Company Seal assembly for a turbo machine
CN109488389A (zh) * 2018-12-28 2019-03-19 中国船舶重工集团公司第七0三研究所 一种氦气轮机涡轮转子
CN111927567A (zh) * 2020-08-31 2020-11-13 重庆冲能动力机械有限公司 一种蒸汽透平机械密封结构
KR102772472B1 (ko) 2021-12-03 2025-02-24 중앙대학교 산학협력단 래버린스실 누설유량 저감 장치

Citations (4)

* Cited by examiner, † Cited by third party
Publication number Priority date Publication date Assignee Title
JPS57103314U (enExample) * 1980-12-16 1982-06-25
JPS61130726U (enExample) * 1985-02-04 1986-08-15
JPS6221405U (enExample) * 1985-07-24 1987-02-09
JPS62137303U (enExample) * 1986-02-24 1987-08-29

Family Cites Families (6)

* Cited by examiner, † Cited by third party
Publication number Priority date Publication date Assignee Title
JP3167705B2 (ja) 1990-05-21 2001-05-21 広栄化学工業株式会社 3―(n―ベンジル―n―アルコキシカルボニルアルキルアミノ)プロピオン酸エステルの製法
CN1030342C (zh) * 1992-08-03 1995-11-22 亚瑞亚·勃朗勃威力有限公司 废气涡轮增压器
KR101344179B1 (ko) * 2006-08-24 2013-12-20 에이비비 터보 시스템즈 아게 샤프트 시일
JP5065158B2 (ja) 2008-06-02 2012-10-31 サンデン株式会社 揺動板式可変容量圧縮機
EP2192272B1 (de) * 2008-11-28 2011-01-12 ABB Turbo Systems AG Vorrichtung zum Abdichten eines Lagergehäuses eines Abgasturboladers
DE102009005386A1 (de) * 2009-01-21 2010-07-22 Bosch Mahle Turbo Systems Gmbh & Co. Kg Ladeeinrichtung für eine Brennkraftmaschine

Patent Citations (4)

* Cited by examiner, † Cited by third party
Publication number Priority date Publication date Assignee Title
JPS57103314U (enExample) * 1980-12-16 1982-06-25
JPS61130726U (enExample) * 1985-02-04 1986-08-15
JPS6221405U (enExample) * 1985-07-24 1987-02-09
JPS62137303U (enExample) * 1986-02-24 1987-08-29

Also Published As

Publication number Publication date
KR101704986B1 (ko) 2017-02-08
JP2016008561A (ja) 2016-01-18
KR20160089542A (ko) 2016-07-27
JP6195308B2 (ja) 2017-09-13
CN105980685A (zh) 2016-09-28
CN105980685B (zh) 2017-10-17

Similar Documents

Publication Publication Date Title
JP6195308B2 (ja) 軸流タービンのラビリンスシール装置およびこれを備えた排ガスタービン過給機
EP2617961B1 (en) Radial turbine
US20100166558A1 (en) Methods and apparatus relating to improved turbine blade platform contours
US9695701B2 (en) Air bleed system for an axial turbomachine
JP5859494B2 (ja) 排気ガスタービンのディフューザ
JP2015517630A (ja) 延在タブを備えたノズル
US20160177833A1 (en) Engine and method for operating said engine
JP2016528436A (ja) 流れ渦スポイラ
WO2014087966A1 (ja) 遠心圧縮機およびこれを備えた過給機ならびに遠心圧縮機の運転方法
JP2016008561A5 (enExample)
JP5440390B2 (ja) シール構造及び可変容量型過給機
JP5464470B2 (ja) ターボチャージャのオイルシール構造
CN104822918B (zh) 涡轮机壳体
JP2015081604A (ja) 圧縮機の前方への漏れを制御するための方法およびシステム
JP5230590B2 (ja) 排気タービン過給機の排気入口ケーシング
JP5797724B2 (ja) 排気ガスターボチャージャ
JP2019094899A (ja) タービンおよびターボチャージャ
JP5591142B2 (ja) 回転機械の抽気構造
CN110344927A (zh) 内燃机
JP6638594B2 (ja) 過給機
US10760427B2 (en) Secondary flow control
EP3757353B1 (en) Insert for a collector of an active clearance control system of an engine of an aircraft
JP2015059525A (ja) 排気タービン過給機
US20170089210A1 (en) Seal arrangement for compressor or turbine section of gas turbine engine
JP2009257258A (ja) 排気タービン過給機の軸受台

Legal Events

Date Code Title Description
121 Ep: the epo has been informed by wipo that ep was designated in this application

Ref document number: 15811768

Country of ref document: EP

Kind code of ref document: A1

ENP Entry into the national phase

Ref document number: 20167019500

Country of ref document: KR

Kind code of ref document: A

NENP Non-entry into the national phase

Ref country code: DE

122 Ep: pct application non-entry in european phase

Ref document number: 15811768

Country of ref document: EP

Kind code of ref document: A1