WO2015145828A1 - 音響波処理装置、音響波処理装置の信号処理方法およびプログラム - Google Patents

音響波処理装置、音響波処理装置の信号処理方法およびプログラム Download PDF

Info

Publication number
WO2015145828A1
WO2015145828A1 PCT/JP2014/076283 JP2014076283W WO2015145828A1 WO 2015145828 A1 WO2015145828 A1 WO 2015145828A1 JP 2014076283 W JP2014076283 W JP 2014076283W WO 2015145828 A1 WO2015145828 A1 WO 2015145828A1
Authority
WO
WIPO (PCT)
Prior art keywords
data
processing
element data
blood flow
unit
Prior art date
Legal status (The legal status is an assumption and is not a legal conclusion. Google has not performed a legal analysis and makes no representation as to the accuracy of the status listed.)
Ceased
Application number
PCT/JP2014/076283
Other languages
English (en)
French (fr)
Japanese (ja)
Inventor
睦朗 今井
Current Assignee (The listed assignees may be inaccurate. Google has not performed a legal analysis and makes no representation or warranty as to the accuracy of the list.)
Fujifilm Corp
Original Assignee
Fujifilm Corp
Priority date (The priority date is an assumption and is not a legal conclusion. Google has not performed a legal analysis and makes no representation as to the accuracy of the date listed.)
Filing date
Publication date
Application filed by Fujifilm Corp filed Critical Fujifilm Corp
Priority to CN201480075630.3A priority Critical patent/CN106028951B/zh
Publication of WO2015145828A1 publication Critical patent/WO2015145828A1/ja
Priority to US15/227,085 priority patent/US11439368B2/en
Anticipated expiration legal-status Critical
Ceased legal-status Critical Current

Links

Images

Classifications

    • AHUMAN NECESSITIES
    • A61MEDICAL OR VETERINARY SCIENCE; HYGIENE
    • A61BDIAGNOSIS; SURGERY; IDENTIFICATION
    • A61B8/00Diagnosis using ultrasonic, sonic or infrasonic waves
    • A61B8/52Devices using data or image processing specially adapted for diagnosis using ultrasonic, sonic or infrasonic waves
    • A61B8/5207Devices using data or image processing specially adapted for diagnosis using ultrasonic, sonic or infrasonic waves involving processing of raw data to produce diagnostic data, e.g. for generating an image
    • AHUMAN NECESSITIES
    • A61MEDICAL OR VETERINARY SCIENCE; HYGIENE
    • A61BDIAGNOSIS; SURGERY; IDENTIFICATION
    • A61B8/00Diagnosis using ultrasonic, sonic or infrasonic waves
    • A61B8/06Measuring blood flow
    • AHUMAN NECESSITIES
    • A61MEDICAL OR VETERINARY SCIENCE; HYGIENE
    • A61BDIAGNOSIS; SURGERY; IDENTIFICATION
    • A61B8/00Diagnosis using ultrasonic, sonic or infrasonic waves
    • A61B8/13Tomography
    • A61B8/14Echo-tomography
    • AHUMAN NECESSITIES
    • A61MEDICAL OR VETERINARY SCIENCE; HYGIENE
    • A61BDIAGNOSIS; SURGERY; IDENTIFICATION
    • A61B8/00Diagnosis using ultrasonic, sonic or infrasonic waves
    • A61B8/46Ultrasonic, sonic or infrasonic diagnostic devices with special arrangements for interfacing with the operator or the patient
    • A61B8/467Ultrasonic, sonic or infrasonic diagnostic devices with special arrangements for interfacing with the operator or the patient characterised by special input means
    • A61B8/469Ultrasonic, sonic or infrasonic diagnostic devices with special arrangements for interfacing with the operator or the patient characterised by special input means for selection of a region of interest
    • AHUMAN NECESSITIES
    • A61MEDICAL OR VETERINARY SCIENCE; HYGIENE
    • A61BDIAGNOSIS; SURGERY; IDENTIFICATION
    • A61B8/00Diagnosis using ultrasonic, sonic or infrasonic waves
    • A61B8/48Diagnostic techniques
    • A61B8/488Diagnostic techniques involving Doppler signals
    • GPHYSICS
    • G01MEASURING; TESTING
    • G01SRADIO DIRECTION-FINDING; RADIO NAVIGATION; DETERMINING DISTANCE OR VELOCITY BY USE OF RADIO WAVES; LOCATING OR PRESENCE-DETECTING BY USE OF THE REFLECTION OR RERADIATION OF RADIO WAVES; ANALOGOUS ARRANGEMENTS USING OTHER WAVES
    • G01S15/00Systems using the reflection or reradiation of acoustic waves, e.g. sonar systems
    • G01S15/88Sonar systems specially adapted for specific applications
    • G01S15/89Sonar systems specially adapted for specific applications for mapping or imaging
    • G01S15/8906Short-range imaging systems; Acoustic microscope systems using pulse-echo techniques
    • G01S15/8909Short-range imaging systems; Acoustic microscope systems using pulse-echo techniques using a static transducer configuration
    • G01S15/8915Short-range imaging systems; Acoustic microscope systems using pulse-echo techniques using a static transducer configuration using a transducer array
    • GPHYSICS
    • G01MEASURING; TESTING
    • G01SRADIO DIRECTION-FINDING; RADIO NAVIGATION; DETERMINING DISTANCE OR VELOCITY BY USE OF RADIO WAVES; LOCATING OR PRESENCE-DETECTING BY USE OF THE REFLECTION OR RERADIATION OF RADIO WAVES; ANALOGOUS ARRANGEMENTS USING OTHER WAVES
    • G01S15/00Systems using the reflection or reradiation of acoustic waves, e.g. sonar systems
    • G01S15/88Sonar systems specially adapted for specific applications
    • G01S15/89Sonar systems specially adapted for specific applications for mapping or imaging
    • G01S15/8906Short-range imaging systems; Acoustic microscope systems using pulse-echo techniques
    • G01S15/8979Combined Doppler and pulse-echo imaging systems
    • G01S15/8988Colour Doppler imaging
    • GPHYSICS
    • G01MEASURING; TESTING
    • G01SRADIO DIRECTION-FINDING; RADIO NAVIGATION; DETERMINING DISTANCE OR VELOCITY BY USE OF RADIO WAVES; LOCATING OR PRESENCE-DETECTING BY USE OF THE REFLECTION OR RERADIATION OF RADIO WAVES; ANALOGOUS ARRANGEMENTS USING OTHER WAVES
    • G01S7/00Details of systems according to groups G01S13/00, G01S15/00, G01S17/00
    • G01S7/52Details of systems according to groups G01S13/00, G01S15/00, G01S17/00 of systems according to group G01S15/00
    • G01S7/52017Details of systems according to groups G01S13/00, G01S15/00, G01S17/00 of systems according to group G01S15/00 particularly adapted to short-range imaging
    • G01S7/52046Techniques for image enhancement involving transmitter or receiver
    • GPHYSICS
    • G01MEASURING; TESTING
    • G01SRADIO DIRECTION-FINDING; RADIO NAVIGATION; DETERMINING DISTANCE OR VELOCITY BY USE OF RADIO WAVES; LOCATING OR PRESENCE-DETECTING BY USE OF THE REFLECTION OR RERADIATION OF RADIO WAVES; ANALOGOUS ARRANGEMENTS USING OTHER WAVES
    • G01S7/00Details of systems according to groups G01S13/00, G01S15/00, G01S17/00
    • G01S7/52Details of systems according to groups G01S13/00, G01S15/00, G01S17/00 of systems according to group G01S15/00
    • G01S7/52017Details of systems according to groups G01S13/00, G01S15/00, G01S17/00 of systems according to group G01S15/00 particularly adapted to short-range imaging
    • G01S7/52053Display arrangements
    • G01S7/52057Cathode ray tube displays
    • G01S7/5206Two-dimensional coordinated display of distance and direction; B-scan display
    • G01S7/52063Sector scan display
    • GPHYSICS
    • G10MUSICAL INSTRUMENTS; ACOUSTICS
    • G10KSOUND-PRODUCING DEVICES; METHODS OR DEVICES FOR PROTECTING AGAINST, OR FOR DAMPING, NOISE OR OTHER ACOUSTIC WAVES IN GENERAL; ACOUSTICS NOT OTHERWISE PROVIDED FOR
    • G10K11/00Methods or devices for transmitting, conducting or directing sound in general; Methods or devices for protecting against, or for damping, noise or other acoustic waves in general
    • G10K11/18Methods or devices for transmitting, conducting or directing sound
    • G10K11/26Sound-focusing or directing, e.g. scanning
    • G10K11/34Sound-focusing or directing, e.g. scanning using electrical steering of transducer arrays, e.g. beam steering
    • G10K11/341Circuits therefor
    • G10K11/346Circuits therefor using phase variation

Definitions

  • the present invention relates to an acoustic wave processing apparatus for imaging an inspection object such as an organ in a living body by transmitting and receiving an acoustic wave beam to generate an acoustic wave image and the like used for inspection and diagnosis of the inspection object.
  • the present invention relates to a signal processing method and a program.
  • an acoustic wave diagnostic apparatus such as an ultrasonic diagnostic imaging apparatus that generates an ultrasonic image used for inspection or diagnosis of an inspection object using an acoustic wave such as an ultrasonic wave has been put into practical use.
  • this type of ultrasonic diagnostic apparatus includes an ultrasonic probe (ultrasonic probe, hereinafter also referred to as a probe) including a plurality of elements (ultrasonic transducers) and an apparatus main body connected to the probe. is doing.
  • an ultrasonic beam is transmitted toward a subject (inspection target) so as to form a predetermined focal point (transmission focal point) from a plurality of elements of the probe, and an ultrasonic echo from the subject is probed.
  • an ultrasonic image is generated by electrically processing a received signal of the received ultrasonic echo by the apparatus main body.
  • the ultrasound image acquired by the ultrasound diagnostic apparatus is included in the B-mode image, which is image information related to the tissue of the subject based on the intensity of the ultrasound reflected by the subject, and the reflected ultrasound.
  • Examples thereof include a two-dimensional Doppler image that is information related to movement of a living tissue (for example, blood) in a subject based on frequency shift information due to the Doppler effect.
  • a color Doppler image in which color is given to blood according to the moving direction or moving speed of blood and a B-mode image are combined, and a display mode called a color mode for displaying the combined image displays a tomographic image of the subject. Confirmation of the movement of blood flow is performed.
  • the ultrasonic beam is transmitted so as to drive a plurality of elements based on a predetermined transmission delay pattern to form a set focal point.
  • Such an ultrasonic beam has a shape having a width in the lateral direction. For this reason, there is a problem that information on the reflection point at a position shifted in the lateral direction is picked up and reproduced on the ultrasonic image as a so-called ghost signal.
  • the ultrasonic diagnostic apparatus superimposes a plurality of data (element data or reception data) obtained by each transmission in accordance with the reception time and the element position in the generation of one ultrasonic image.
  • so-called multiline processing for correcting data is performed (Patent Documents 1 and 2).
  • the ghost signals are overlapped due to a shifted state and cancel each other, so that the ghost signal can be removed. .
  • the multiline processing has a problem that the calculation load is high and the processing time is long, which causes a decrease in the frame rate. This is a problem particularly in the case of a small diagnostic device that cannot be equipped with a high-performance arithmetic device.
  • transmission is usually performed a plurality of times in the same direction in order to ensure the sensitivity when detecting the Doppler effect. That is, in order to secure the sensitivity and improve the image quality, it is necessary to increase the number of transmissions in the same direction. Therefore, the frame rate is usually lower than in the B mode.
  • An object of the present invention is to solve such problems of the prior art.
  • a color mode in which a B-mode image and a color Doppler image are combined and displayed, a reduction in frame rate is suppressed and real-time performance is improved.
  • An object of the present invention is to provide an acoustic wave processing device, a signal processing method, and a program capable of improving the image quality while ensuring.
  • the inventor has obtained a plurality of first element data, or a plurality of first reception data generated by performing phasing addition processing on the first element data, A B-mode image based on at least one of a data processing unit that selects two or more data and performs overlay processing to generate processed data, and first element data and processed data generated by the data processing unit
  • a B-mode image generation unit that generates a blood flow
  • a blood flow image generation unit that generates a blood flow image based on blood flow information included in the first element data
  • blood that the blood flow image generation unit generates a blood flow image
  • a region setting unit for setting a flow image region, a processing region setting unit for setting a processing region to be processed by the data processing unit based on information on a blood flow image region set by the region setting unit, and a region setting unit Blood flow image area Based on the information and found that the above problems can be solved by having a display image generating unit that generates a composite image of the B mode image and the blood flow image
  • a probe in which a plurality of elements are arranged which transmits an acoustic wave beam and receives an acoustic wave echo reflected by an inspection object and outputs an analog element signal corresponding to the received acoustic wave echo.
  • an acoustic wave echo is received using two or more of the plurality of elements as a receiving element, an analog element signal output from the receiving element is received, and a predetermined process is performed.
  • Receiving unit An A / D converter that performs A / D conversion on the analog element signal processed by the receiving unit to obtain first element data that is a digital element signal; Select two or more data from a plurality of first element data output by the A / D converter or a plurality of first reception data generated by performing phasing addition processing on the first element data
  • a data processing unit that performs overlay processing and generates processed data
  • a B-mode image generation unit that generates a B-mode image based on at least one of the first element data and the processed data generated by the data processing unit
  • a blood flow image generation unit that generates a blood flow image based on blood flow information included in the first element data
  • a region setting unit for setting a blood flow image region in which the blood flow image generation unit generates a blood flow image
  • a processing region setting unit for setting a processing region in which the data processing unit performs processing based on information on the blood flow image region set by the region setting unit
  • An acoustic wave processing apparatus comprising: a display image generation
  • the acoustic wave processing device calculates blood flow information based on a Doppler effect.
  • the information on the blood flow image region is at least one of a size, a position, and a shape of the region.
  • the processing region setting unit sets a region including a line passing through the blood flow image region as a processing region.
  • the region setting unit sets the blood flow image region based on the input from the operation unit, The acoustic wave processing device according to any one of (1) to (4), wherein the processing region setting unit sets no processing region while the blood flow image region is set by the operation unit.
  • the data processing unit selects two or more first element data from the plurality of first element data, and the element receives the ultrasonic echo after the selected two or more first element data
  • the second element data is generated by superimposing according to the reception time and the position of the element
  • the acoustic wave processing device according to any one of (1) to (5), wherein the B-mode image generation unit generates a B-mode image based on the second element data.
  • the data processing unit selects two or more first reception data from the plurality of first reception data, and selects the selected two or more first reception data according to the reception time when the element receives the ultrasonic echo.
  • the acoustic wave processing device according to any one of (1) to (5), wherein the B-mode image generation unit generates a B-mode image based on the second received data.
  • the data processing unit described in (7), wherein two or more first reception data generated from different first element data and generated by phasing addition processing in the same line are superimposed Acoustic wave processing device.
  • the transmission unit performs at least one of changing the central element and changing the transmission direction of the ultrasonic beam, and causes the probe to transmit the ultrasonic beam a plurality of times (1) to The acoustic wave processing apparatus according to any one of (8).
  • a signal processing method for an acoustic wave processing apparatus for inspecting an inspection object using a touch element A transmission step of performing multiple times using two or more elements of the plurality of elements of the probe as transmission elements and transmitting the acoustic wave beam so as to form a predetermined transmission focal point; Corresponding to each transmission of individual acoustic wave beams, a reception step of receiving an acoustic wave echo using two or more elements of a plurality of elements as a receiving element and outputting an analog element signal; An A / D conversion step of A / D converting the analog element signal processed in the reception step to generate first element data which is a digital element signal; Two or more pieces of data are selected from a plurality of first element data output by the A / D conversion step or a plurality of first reception data generated by performing phasing addition processing on the first element data.
  • a data processing step for generating processed data by performing superposition processing A B-mode image generating step for generating a B-mode image based on at least one of the first element data and the processed data generated by the data processing step; A blood flow image generating step for generating a blood flow image based on blood flow information included in the first element data; An area setting step for setting a blood flow image area in which the blood flow image generation step generates a blood flow image; Based on the information on the blood flow image region set by the region setting step, a processing region setting step for setting a processing region in which the data processing step performs processing, A display image generation step of generating a composite image of a B-mode image and a blood flow image based on information on a blood flow image region set by the region setting step.
  • a probe in which a plurality of elements are arranged which transmits an acoustic wave beam, receives an acoustic wave echo reflected by an inspection object, and outputs an analog element signal corresponding to the received acoustic wave echo.
  • a data processing step for generating processed data by performing superposition processing A B-mode image generating step for generating a B-mode image based on at least one of the first element data and the processed data generated by the data processing step; A blood flow image generating step for generating a blood flow image based on blood flow information included in the first element data; An area setting step for setting a blood flow image area in which the blood flow image generation step generates a blood flow image; Based on the information on the blood flow image region set by the region setting step, a processing region setting step for setting a processing region in which the data processing step performs processing, A signal processing program for an acoustic wave processing device that causes a computer to execute a display image generation step for generating a composite image of a B-mode image and a blood flow image based on information on a blood flow image region set by the region setting step.
  • an acoustic wave processing device and a signal processing that can improve image quality while suppressing a decrease in frame rate and ensuring real-time performance Methods and programs can be provided.
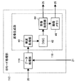
  • FIG. 1 is a block diagram conceptually showing an example of the configuration of an ultrasonic diagnostic apparatus of the present invention. It is a block diagram which shows notionally an example of a structure of the B mode process part of the ultrasonic diagnosing device shown in FIG. It is a conceptual diagram for demonstrating an example of the reception focus process in the ultrasonic diagnosing device shown in FIG. It is a block diagram which shows notionally an example of a structure of the element data process part of the ultrasonic diagnosing device shown in FIG.
  • FIG. 5A and FIG. 5C are conceptual diagrams for explaining transmission / reception of an ultrasonic wave by an ideal ultrasonic beam, respectively.
  • FIG. 5B and FIG. It is a conceptual diagram which shows the element data obtained by transmission / reception of an ultrasonic wave.
  • FIGS. 6 (a) and 6 (c) are conceptual diagrams for explaining transmission / reception of ultrasonic waves by actual ultrasonic beams, respectively.
  • FIGS. 6 (b) and 6 (d) are diagrams illustrating the respective ultrasonic waves. It is a conceptual diagram which shows the element data obtained by transmission / reception of a sound wave.
  • FIG. 7A and FIG. 7B are conceptual diagrams for explaining a sound wave path when ultrasonic waves are transmitted and received by different central elements with respect to the same reflection point.
  • FIG. 7C is a conceptual diagram for explaining the element data obtained by a plurality of elements
  • FIG. 7D is a conceptual diagram for explaining the delay time of the element data shown in FIG. 7C. 8 (a), 8 (b) and 8 (c) are true signals, FIG.
  • FIG. 8G is a conceptual diagram for explaining a delay time and a superposition state of element data.
  • FIG. 8G shows a superposition state of element data corresponding to a plurality of elements, and
  • FIG. It is a conceptual diagram for demonstrating each the result of superimposition of the element data in g).
  • FIGS. 13 (a), 13 (d) and 13 (g) are conceptual diagrams for explaining the respective receiving elements.
  • FIG. 13 is a conceptual diagram showing element data obtained by transmission / reception of each ultrasonic wave.
  • FIGS. 13 (c), 13 (f), and 13 (i) are obtained by performing phasing addition processing on each element data.
  • FIGS. 14 (a) and 14 (e) are conceptual diagrams showing unprocessed received data to be superimposed, and FIGS.
  • FIG. 14 (b) and 14 (f) are for explaining their delay times.
  • 14 (c) and 14 (g) are conceptual diagrams for explaining a superposition state of unprocessed received data
  • FIG. 14 (d) and FIG. 14 (h) FIG. 6 is a conceptual diagram for explaining the result of superimposing unprocessed received data.
  • an acoustic wave processing device a signal processing method, and a program according to the present invention will be described in detail based on a preferred first embodiment shown in the accompanying drawings.
  • an ultrasonic wave is used as an acoustic wave.
  • the ultrasonic wave is not limited to an ultrasonic wave, and an audible frequency may be used as long as an appropriate frequency is selected according to an inspection object, a measurement condition, and the like.
  • the acoustic wave may be used.
  • FIG. 1 conceptually shows an example of an ultrasonic diagnostic apparatus (acoustic wave processing apparatus) of the present invention using a block diagram.
  • the ultrasonic diagnostic apparatus 10 includes an ultrasonic probe 12, a transmission unit 14 and a reception unit 16 connected to the ultrasonic probe 12, an A / D conversion unit 18, and an element data storage unit 20. , Area setting unit 21, Doppler processing unit 22, B-mode processing unit 24, display image generation unit 25, display control unit 26, display unit 28, control unit 30, operation unit 32, storage Part 34.
  • the display control unit 26, the display unit 28, the control unit 30, the operation unit 32, and the storage unit 34 constitute an apparatus main body of the ultrasonic diagnostic apparatus 10.
  • the ultrasound diagnostic apparatus 10 uses a B-mode image that is image information related to the tissue of the subject based on the intensity of the ultrasound reflected by the subject, and a Doppler effect included in the reflected ultrasound.
  • a two-dimensional Doppler image which is information related to the movement of a living tissue (for example, blood) in the subject, based on the frequency shift information is synthesized with a color Doppler image that is colored according to the moving direction or moving speed of the blood.
  • a color mode for displaying the synthesized ultrasonic image is provided.
  • the ultrasonic diagnostic apparatus 10 may include a display mode other than a color mode such as a B mode or an M mode for displaying a B mode image alone. Further, in this specification, the ultrasonic image is a B-mode image, a color Doppler image, and an image (composite image) obtained by combining these.
  • the ultrasonic probe (ultrasonic probe) 12 is a known ultrasonic probe used in a normal ultrasonic diagnostic apparatus.
  • the ultrasonic probe 12 (hereinafter referred to as the probe 12) has a transducer array 36 in which ultrasonic transducers are arranged one-dimensionally or two-dimensionally.
  • the ultrasonic transducer transmits an ultrasonic beam to the subject according to the drive signal supplied from the transmission unit 14 when imaging an ultrasonic image of an object to be examined (hereinafter referred to as a subject), and the subject
  • the ultrasonic echo reflected by is received, and a reception signal corresponding to the intensity of the received ultrasonic wave is output.
  • Each ultrasonic transducer is, for example, a piezoelectric ceramic represented by PZT (lead zirconate titanate), a polymer piezoelectric element represented by PVDF (polyvinylidene fluoride), or PMN-PT (magnesium niobate / lead titanate). It is composed of a vibrator in which electrodes are formed on both ends of a piezoelectric body made of a piezoelectric single crystal typified by a solid solution.
  • PZT lead zirconate titanate
  • PVDF polyvinylidene fluoride
  • PMN-PT magnesium niobate / lead titanate
  • the piezoelectric body When a pulsed or continuous wave voltage is applied to the electrodes of such a vibrator, the piezoelectric body expands and contracts according to the applied voltage, and a pulsed or continuous wave ultrasonic wave is generated from each vibrator. Further, the ultrasonic waves generated from the respective transducers are converged and synthesized (that is, transmitted and focused) at a set focal point according to the driving delay of the respective transducers, thereby forming an ultrasonic beam.
  • the vibrator expands and contracts when an ultrasonic echo reflected from the inside of the subject enters, and generates an electrical signal corresponding to the magnitude of the expansion and contraction. This electrical signal is output to the receiving unit 16 as a received signal (analog element signal).
  • the transmission unit 14 includes, for example, a plurality of pulsers, and supplies a drive signal (applies a drive voltage) to each ultrasonic transducer (vibrator) of the probe 12.
  • the transmission unit 14 is driven based on the transmission delay pattern selected by the control unit 30 so that the ultrasonic waves transmitted from the predetermined number (multiple) of ultrasonic transducers form an ultrasonic beam that converges to the set focal point.
  • Transmission focus for adjusting the signal delay amount (application timing of the drive voltage) is performed, and the drive signal is supplied to the ultrasonic transducer.
  • a target ultrasonic beam is transmitted from the probe 12 (the transducer array 36) to the subject.
  • the reception unit 16 receives reception signals output from a predetermined number (multiple) of ultrasonic transducers corresponding to one transmission of the ultrasonic beam, and performs predetermined processing such as amplification. Are supplied to the A / D converter 18.
  • the method of transmitting and receiving ultrasonic waves is basically the same as that of a known ultrasonic diagnostic apparatus. Accordingly, the number of ultrasonic transducers (the number of transmission apertures) that generate ultrasonic waves in one ultrasonic transmission / reception (transmission of one ultrasonic beam and reception of ultrasonic echoes corresponding to this transmission).
  • the number of ultrasonic transducers (the number of reception apertures) that receive ultrasonic waves (the reception unit 16 receives reception signals) is not limited as long as both are plural. In one transmission / reception, the numerical aperture may be the same or different between transmission and reception.
  • the number of times of transmission / reception of ultrasonic waves for forming one ultrasonic image there is no limitation on (number of sound rays) and the interval between ultrasonic transducers (center elements) that is the center of transmission and reception (that is, scanning line / sound ray density).
  • ultrasonic transmission / reception may be performed by using all ultrasonic transducers corresponding to a region to be scanned using ultrasonic waves as a central element, and ultrasonic transducers having a predetermined interval such as every two or every four ultrasonic transducers may be used as a central element.
  • ultrasonic transmission / reception may be performed.
  • the A / D conversion unit 18 performs analog / digital conversion on the analog reception signal supplied from the reception unit 16 to obtain element data (first element data) that is a digital reception signal.
  • the A / D converter 18 supplies the A / D converted element data to the element data storage unit 20.
  • the element data storage unit 20 sequentially stores the element data supplied from the A / D conversion unit 18.
  • the element data storage unit 20 associates information about the frame rate input from the control unit 30 (for example, parameters indicating the depth of the reflection position of the ultrasonic wave, the density of the scanning line, and the visual field width) with each element data.
  • the element data storage unit 20 stores all element data corresponding to at least one ultrasonic image (one frame of ultrasonic image) and displays at least until the display of the ultrasonic image is finished. The element data of the ultrasonic image before and during display is not erased.
  • the area setting unit 21 is an area for generating a color Doppler image, that is, a blood flow image area when the color mode is selected as the display mode.
  • the blood flow image region is also referred to as a color region ROI.
  • the method for setting the color area ROI by the area setting unit 21 is not particularly limited, and various known color area ROI setting methods can be used. For example, when the operator selects the color mode, a frame indicating the color region ROI is displayed so as to be superimposed on the ultrasonic image (B mode image) displayed on the display unit 28. The operator operates the operation unit 32 while observing the ultrasonic image displayed on the display unit 28, and moves, reduces, enlarges, and deforms a frame indicating the ROI displayed superimposed on the ultrasonic image. The position, size, and shape of the color area ROI are designated.
  • the area setting unit 21 sets a color area ROI based on an input operation from the operation unit 32.
  • the color area ROI when an instruction indicating the determination of the color area ROI is input, it may be considered that the color area ROI has been set, or the frame indicating the ROI has a predetermined time (between a predetermined number of frames). If the operation stops, the color area ROI may be regarded as being set. Alternatively, the time point when the operation for setting the color area ROI is started may be regarded as the color area ROI being set.
  • a frame indicating the color area ROI is displayed and the operation is performed as described above.
  • An operator can set the color region ROI by operating the operation unit 32 to move, reduce, enlarge, and deform the frame indicating the ROI.
  • the region setting unit 21 supplies the set color region ROI information to the Doppler processing unit 22 and the B mode processing unit 24.
  • the Doppler processing unit 22 determines the color of the color region ROI from the element data stored in the element data storage unit based on the information on the color region ROI set by the region setting unit 21. This is a part for generating a Doppler image.
  • the Doppler processing unit 22 performs frequency analysis of the element data, and generates Doppler data representing the relative moving speed between the subject and the ultrasonic probe 12.
  • the velocity of sound is C
  • the relative moving speed of the ultrasonic probe 12 and the living tissue in the direction in which the ultrasonic wave travels is V
  • the frequency of the ultrasonic wave to be transmitted is fs
  • the frequency of the received ultrasonic wave is fr.
  • the relationship is established.
  • the Doppler processing unit 22 performs a frequency analysis of the element data, calculates a Doppler shift frequency ⁇ f, and acquires information on the relative moving speed V of the living tissue with respect to the ultrasonic probe 12 as Doppler data.
  • the Doppler data is generated at a plurality of sample points in the color area ROI set by the area setting unit 21.
  • the Doppler processing unit 22 converts each Doppler data for each sample point into color information using a speed conversion scale designated in advance, and performs predetermined processing to generate color Doppler image data.
  • the Doppler processing unit 22 supplies the generated color Doppler image data to the display image generation unit 25.
  • the Doppler processing unit 22 is configured to generate a blood flow image based on the Doppler effect.
  • blood is obtained by various known methods such as a power Doppler method. It may be configured to generate a stream image.
  • the B-mode processing unit 24 is a part that reads element data stored in the element data storage unit 20 based on control by the control unit 30 and generates a B-mode image. As shown in FIG. 2, the B-mode processing unit 24 includes an element data processing unit 35 and an image generation unit 37.
  • the element data processing unit 35 is a part that superimposes element data and generates processed element data (second element data) corresponding to each element data. Specifically, the element data processing unit 35 is based on the control by the control unit 30 and the information on the processing region from the region setting unit 21, and the element data processing unit 35 is a super
  • Each ultrasonic transducer uses element data obtained by transmitting a predetermined number (plurality) of ultrasonic beams in which the ultrasonic transducers (elements (central elements) at the center) are different and the transmission areas of the ultrasonic beams overlap.
  • Processed element data corresponding to element data is generated by superimposing the ultrasonic echoes according to the received time (delay time) and the position of the ultrasonic transducer.
  • the processing in the element data processing unit 35 will be described in detail later.
  • the element data processing unit 35 sends the generated processed element data to the image generation unit 37.
  • the image generation unit 37 generates reception data (sound ray signal) from the unprocessed element data or the processed element data supplied from the element data processing unit 35 based on the control by the control unit 30, and the reception data A B-mode image is generated from the image. Note that the processing performed in the image generation unit 37 is the same for both unprocessed element data and processed element data.
  • the image generation unit 37 includes a phasing addition unit 38, a detection processing unit 40, a DSC 42, an image processing unit 44, and an image memory 46.
  • the phasing addition unit 38 performs reception focus processing by matching and adding unprocessed element data or processed element data generated by the element data processing unit 35, and generates reception data.
  • the transducer array 36 of the probe 12 is formed by arranging a plurality of elements (ultrasonic transducers) one-dimensionally or two-dimensionally. Therefore, the distance between one reflection point in the subject is different for each ultrasonic transducer. Therefore, even when the ultrasonic echoes are reflected at the same reflection point, the time for the ultrasonic echoes to reach each ultrasonic transducer is different.
  • the phasing addition unit 38 corresponds to the difference (delay time) in the arrival time of ultrasonic echoes for each ultrasonic transducer in accordance with the reception delay pattern selected by the control unit 30.
  • the received element processing is digitally performed by matching and adding the processed element data to which the delay time is given, and reception data is generated.
  • the phasing addition unit 38 supplies the generated reception data to the detection processing unit 40.
  • FIG. 3 shows an example of the reception focus process.
  • FIG. 3 shows a case of a linear probe in which a plurality of ultrasonic transducers of the probe 12 are arranged in a line in the left-right direction in FIG.
  • the idea may be the same except that the probe shape is different.
  • the width of each ultrasonic transducer in the azimuth direction is L
  • the distance from the ultrasonic transducer at the center in the azimuth direction to the nth ultrasonic transducer toward the end is nL.
  • the ultrasonic reflection point is at a position (depth) d perpendicular to the arrangement direction from the central ultrasonic transducer, the nth ultrasonic transducer, the reflection point, and the distance (length) d n between, is calculated by the equation (3).
  • t n ((nL) 2 + d 2 ) 1/2 (3) Therefore, the time t n for the ultrasonic echo to reach (receive) the nth ultrasonic transducer from the reflection point using the ultrasonic sound velocity (environmental sound velocity) Va in the subject is calculated by the equation (4).
  • the distance between the ultrasonic transducer and the reflection point is different for each ultrasonic transducer. Therefore, in the case of this example, as shown in the upper graph, the arrival time t n of the ultrasonic echo becomes longer as the ultrasonic transducer on the end side in the arrangement direction becomes longer.
  • this delay time ⁇ t is a reception delay pattern.
  • the phasing adder 38 performs phasing addition on the signals corresponding to the respective ultrasonic transducers using the delay time represented by the time ⁇ t, performs reception focus processing, and generates reception data.
  • the detection processing unit 40 corrects attenuation according to the distance according to the depth of the reflection position of the ultrasonic wave on the reception data generated by the phasing addition unit 38, and then performs envelope detection processing to thereby detect the subject.
  • B-mode image data that is image information (luminance image information) of a tomogram in the inside is generated.
  • a DSC (digital scan converter) 42 converts (raster conversion) the B-mode image data generated by the detection processing unit 40 into image data corresponding to a normal television signal scanning method.
  • the image processing unit 44 performs various necessary image processing such as gradation processing on the B-mode image data input from the DSC 42 to obtain B-mode image data for display.
  • the image processor 44 outputs the image-processed B-mode image data to the display image generator 25 or the display controller 26 and / or stores it in the image memory 46.
  • the image memory 46 is a known storage unit (storage medium) that stores the B-mode image data processed by the image processing unit 44.
  • the B-mode image data stored in the image memory 46 is read to the display control unit 26 for display on the display unit 28 as necessary. Alternatively, it is read out to the display image generation unit 25 for generating a composite image.
  • the display image generation unit 25 synthesizes the color Doppler image data generated by the Doppler processing unit 22 and the B mode image data generated by the B mode processing unit 24 in the color mode, and displays a composite image for display. This is the part that generates data.
  • the method of combining the B-mode image data and the color Doppler image data and various combining methods performed by a known ultrasonic diagnostic apparatus can be used.
  • the composite image data may be generated so that the B-mode image is represented by luminance and the Doppler image is represented by chromaticity.
  • the display image generation unit 25 outputs the generated composite image data to the display control unit 26.
  • the display control unit 26 causes the display unit 28 to display the synthesized ultrasound image using the synthesized image data generated by the display image generation unit 25 in the color mode. Further, when a mode other than the color mode is selected as the display mode, an image corresponding to the selected display mode is displayed on the display unit 28. For example, when the B mode is selected as the display mode, the B mode image generated by the B mode processing unit 24 is displayed.
  • the display unit 28 includes a display device such as an LCD, for example, and displays an ultrasonic image under the control of the display control unit 26.
  • the control unit 30 is a part that controls each unit of the ultrasonic diagnostic apparatus 10 based on a command input from the operation unit 32 by the operator.
  • the control unit 30 supplies various types of information input by the operator using the operation unit 32 to necessary parts.
  • the operation unit 32 includes information necessary for setting the color region ROI used in the region setting unit 21, information necessary for generating a color Doppler image used in the Doppler processing unit 22, an element data processing unit 35, and an image generation unit. When information necessary for delay time calculation used in the phasing adder 38 of 37 and information necessary for element data processing in the element data processor 35 are input, these information are necessary.
  • the data is supplied to each of the transmission unit 14, the reception unit 16, the element data storage unit 20, the region setting unit 21, the Doppler processing unit 22, the element data processing unit 35, the image generation unit 37, the display control unit 26, and the like. Further, when an input for selecting a display mode is input from the operation unit 32 by the operator, the control unit 30 controls each unit of the ultrasonic diagnostic apparatus 10 according to the display mode.
  • the operation unit 32 is for an operator to perform an input operation, and can be formed from a keyboard, a mouse, a trackball, a touch panel, and the like.
  • the operation unit 32 also has an input function for the operator to input various types of information as necessary.
  • the operation unit 32 includes information on generation of processed element data such as information on the probe 12 (ultrasonic transducer), transmission aperture and reception aperture in the probe 12 (transducer array 36), the number of element data to be superimposed and the method,
  • An input function is provided for inputting the focal position of the ultrasonic beam.
  • the operation unit 32 also has an input function for inputting information for setting the color region ROI.
  • the operation unit 32 has an input function for selecting a display mode. These are input, for example, by selecting an imaging region (examination region), selecting an image quality, selecting a depth of an ultrasonic image to be captured, and the like.
  • the storage unit 34 includes an operation program for the control unit 30 to control each unit of the ultrasound diagnostic apparatus 10, transmission delay patterns and reception delay patterns, information on generation of processed element data, and further from the operation unit 32.
  • the control unit 30 stores information necessary for the operation and control of the ultrasonic diagnostic apparatus, such as the input probe 12 information, transmission aperture and reception aperture, and focal position information.
  • the storage unit 34 may be a known recording medium such as a hard disk, flexible disk, MO, MT, RAM, CD-ROM, DVD-ROM or the like.
  • these parts may be configured using a digital circuit.
  • the element data processing unit 35 differs from the element data (unprocessed element data) stored in the element data storage unit 20 in that the central ultrasonic transducer (center element) is different, and the ultrasonic beam
  • the element data obtained by transmitting a predetermined number (multiple) of ultrasonic beams that overlap the transmission areas of each other are superposed according to the time received by each ultrasonic transducer and the position of the ultrasonic transducer, and processed element data It is a site
  • the ultrasonic transducer is also simply referred to as “element”.
  • FIG. 4 conceptually shows the configuration of the element data processing unit 35 using a block diagram.
  • the element data processing unit 35 includes a processing region setting unit 47, a delay time calculation unit 48, and an overlay processing unit 49.
  • the processing region setting unit 47 is a part for setting a processing region for performing the superimposition processing in the superimposition processing unit 49 based on the information on the color region ROI set by the region setting unit 21. Specifically, the processing region setting unit 47 sets a region including a line passing through the color region ROI as a processing region based on the position, size, and shape information of the color region ROI. The processing region setting method in the processing region setting unit 47 will be described in detail later.
  • the processing area setting unit 47 supplies the set processing area information to the overlay processing unit 49.
  • the delay time calculation unit 48 receives the probe 12 (ultrasonic transducer (element)) input from the operation unit 32 or input from the operation unit 32 and stored in the storage unit 34, the focal position of the ultrasonic beam, Information regarding the position of the sampling point (element data output position), the transmission aperture and the reception aperture of the probe 12, and the like are acquired in advance.
  • the delay time calculation unit 48 also includes a geometrical arrangement of a transmission aperture element that oscillates an ultrasonic wave to transmit (generate) an ultrasonic beam and a reception aperture element that receives an ultrasonic echo from the subject. Based on the correct position, the delay time of the ultrasonic echo received by the element of the reception aperture, that is, the element data is calculated.
  • the delay time calculation unit 48 supplies the calculated delay time information to the overlay processing unit 49.
  • the superimposing processing unit 49 is a superimposing element that is input from the operation unit 32 or is input from the operation unit 32 and stored in the storage unit 34. Based on element data processing information such as the number of data and the overlay processing method, the element data to be superimposed (the central element is different and the transmission area is different from the element data stored in the element data storage unit 20). Element data (two or more element data generated for two or more target areas) obtained by overlapping ultrasonic beams is read out. Further, the overlay processing unit 49 calculates two or more element data on the reception time, that is, by matching the time based on the delay time corresponding to each element data calculated by the delay time calculation unit 48. And the absolute position of the received element of the probe is matched and superposed to generate processed element data.
  • the overlay processing unit 49 performs element data overlay processing in the processing region set by the processing region setting unit 47, and In other areas, the overlay process is not performed.
  • an ultrasonic beam is transmitted to a subject from a transmission aperture, that is, an element that transmits ultrasonic waves to transmit an ultrasonic beam (hereinafter simply referred to as a transmission element), and
  • a transmission element that is, an element that transmits ultrasonic waves to transmit an ultrasonic beam
  • a receiving aperture that is, an element that receives the ultrasonic echo (hereinafter simply referred to as a receiving element) to obtain element data
  • the ultrasonic wave from the transmitting element
  • the relationship between the beam and element data obtained by the receiving element will be described.
  • an ultrasonic beam is transmitted using three elements 52c to 52e as transmitting elements, and an ultrasonic echo is received using seven elements 52a to 52g as receiving elements.
  • the element is moved in the azimuth direction (hereinafter also referred to as a shift) by one element, and an ultrasonic beam is transmitted using the three elements 52d to 52f as transmitting elements.
  • the ultrasonic echoes are received by using the two elements 52b to 52h as receiving elements, and element data is acquired respectively. That is, in the example shown in FIG. 5A, the central element (the central element) is the element 52d, and in the example shown in FIG. 5C, the central element is the element 52e.
  • the ultrasonic beam 56 transmitted to the inspection target area including the reflection point 54 converges at the focal point 58 and is narrowed to the element interval or less.
  • the ultrasonic beam 56 is transmitted from the elements 52c to 52e serving as transmitting elements, with the element 52d located directly above the reflecting point 54 (on the straight line connecting the reflecting point and the focal point) as the central element.
  • the focal point 58 of the ultrasonic beam 56 is on a straight line connecting the element 52d as the central element and the reflection point 54.
  • the ultrasonic beam 56 is transmitted to the reflection point 54, an ultrasonic echo reflected from the reflection point 54 is generated.
  • the ultrasonic echoes from the reflection point 54 are received by the elements 52a to 52g as the receiving elements through the receiving path 60 spreading at a predetermined angle, and the element data 62 as shown in FIG. 5B is received by the elements 52a to 52g. Is obtained.
  • the vertical axis represents time
  • the horizontal axis represents the position in the azimuth direction (element position) coinciding with FIG. 5A (the same applies to FIG. 5D).
  • the ultrasonic beam 56 is transmitted from the elements 52d to 52f which are transmitting elements, and ultrasonic echoes are received by the elements 52b to 52h which are receiving elements.
  • the reflection point 54 does not exist on the transmission direction of the ultrasonic beam 56, that is, on the straight line connecting the center element 52 e and the focal point 58. Therefore, the ultrasonic beam 56 is not transmitted to the reflection point 54.
  • the element data does not include the reflection signal from the reflection point (the signal intensity of the element data becomes “0”).
  • the actual ultrasonic beam diffuses after converging at the focal point 58, like the ultrasonic beam 64 shown in FIGS. 6A and 6C, the actual ultrasonic beam is wider than the element spacing.
  • the ultrasonic beam 64 is transmitted using the element 52d immediately above the reflection point 54 as the central element and the elements 52c to 52e as the transmitting elements.
  • the focal point 58 is on a straight line connecting the element 52 d and the reflection point 54. Accordingly, the ultrasonic beam 64 is reflected by the reflection point 54, and an ultrasonic echo is generated.
  • FIG. 5 (a) as shown in FIG. 6 (a)
  • the ultrasonic beam 64 is transmitted using the element 52d immediately above the reflection point 54 as the central element and the elements 52c to 52e as the transmitting elements.
  • the focal point 58 is on a straight line connecting the element 52 d and the reflection point 54. Accordingly, the ultrasonic beam 64 is reflected by the reflection point 54, and an ultrasonic echo is generated.
  • the ultrasonic echo from the reflection point 54 is received by the elements 52a to 52g as the receiving elements through the receiving path 60 that spreads to a predetermined angle.
  • Element data 66 including a true signal as shown in FIG. 6B (hereinafter also referred to as “true element data” for convenience) is obtained.
  • the central element is shifted by one element, the adjacent element 52e is used as the central element, and the elements 52d to 52f are used as the transmitting elements.
  • the beam 56 is transmitted, and ultrasonic echoes are received using the elements 52b to 52h as receiving elements.
  • the ultrasonic beam 64 is wide, even if the reflection point 54 does not exist on the transmission direction of the ultrasonic wave, that is, on the straight line connecting the element 52e which is the central element and the focal point 58, the ultrasonic beam 64
  • the sound beam 64 is transmitted (arrives) to the reflection point 54.
  • an ultrasonic echo that does not originally exist that is, a so-called ghost reflection echo is generated from the reflection point 54 in the transmission direction of the ultrasonic beam.
  • the ghost reflection echo from the reflection point 54 is received by the elements 52b to 52h, which are reception elements, through the reception path 60 that spreads to a predetermined angle.
  • element data 68 including a ghost signal as shown in FIG. 6D (hereinafter also referred to as “ghost element data” for convenience) is obtained by the elements 52b to 52h.
  • Such ghost element data 68 causes a decrease in the accuracy of the ultrasonic image generated from the element data.
  • the element data processing unit 35 calculates a delay time corresponding to the element data by the delay time calculating unit 48, and the overlay processing unit 49 determines that the two or more element data are in accordance with the delay time and the absolute position of the element.
  • processed element data that is highly accurate element data in which a true signal is emphasized and a ghost signal is attenuated is generated.
  • the delay time calculation unit 48 calculates the delay time of the element data received by each element of the reception element (reception aperture). That is, the propagation distance of the ultrasonic beam 64 shown in FIG. 6C is determined by the transmission path from the element 52e, which is the central element of the ultrasonic beam 64, to the reflection point 54 via the focal point 58, and the reflection echo of the ghost. This is the sum of the reception path from the reflection point 54 to each of the elements 52b to 52h, which are reception elements.
  • the propagation distance of the ultrasonic beam 64 shown in FIG. 6C is the propagation distance of the ultrasonic beam 64 shown in FIG. 6A, that is, the ultrasonic beam 64 is reflected from the central element 52d via the focal point 58.
  • the transmission path to the point 54 and the true ultrasonic echo are longer than the sum of the reception path from the reflection point 54 to the receiving elements 52a to 52g. Therefore, the ghost element data 68 as shown in FIG. 6D is delayed with respect to the true element data 66 as shown in FIG. 6B.
  • the delay time calculation unit 48 of the element data processing unit 35 the time difference between the ghost element data and the true element data, that is, the delay time is the sound speed, the transmission element, the focal point of the ultrasonic beam, the reflection point of the subject, and the reception element. It is calculated from the geometric arrangement of Therefore, the calculation of the delay time requires information such as the shape of the probe 12 (element spacing, linear, convex, etc.), sound speed, focal position, transmission aperture, and reception aperture.
  • the delay time calculation unit 48 acquires the information input by the operation unit 32 or stored in the storage unit 34, and calculates the delay time.
  • the sound speed may be a fixed value (for example, 1540 m / sec), or when the sound speed calculation unit is provided, the sound speed (environmental sound speed) calculated by the sound speed calculation unit may be used, or The operator may be able to input.
  • the delay time calculating unit 48 calculates the delay time using the sound speed value set by the processing condition changing unit 23. .
  • the delay time is calculated from, for example, the geometrical arrangement of the transmission element, the focal point of the ultrasonic beam, the reflection point of the subject, and the reception element, and the transmission path of the ultrasonic beam from the transmission element to the reflection point through the focal point. And the total length (propagation distance) of the reception path of the true reflected ultrasonic echo or ghost reflected signal from the reflection point to the receiving element, and the difference between the propagation times calculated by the sound speed.
  • FIGS. 7A and 7B the lengths of the transmission path and the reception path of the ultrasonic beam in the case of a true ultrasonic echo and a ghost reflection echo are obtained.
  • the x direction is the azimuth direction
  • the y direction is the depth direction.
  • FIG. 7A shows transmission / reception of ultrasonic waves similar to FIG. 6A
  • FIG. 7B shows transmission / reception of ultrasonic waves similar to FIG. 6C.
  • the element 52d which is the central element, the focal point 58, and the reflection point 54 are positioned on a straight line. (The azimuth position is the same.) That is, the focal point 58 and the reflection point 54 are located directly below the central element 52d. Therefore, if the position of the element 52d as the central element is the coordinates (x0, 0) on the xy two-dimensional coordinates, the x coordinates of the focal point 58 and the reflection point 54 are also “x0”.
  • the position of the focal point 58 in this transmission is set to coordinates (x0, df)
  • the position of the reflection point 54 is set to coordinates (x0, z)
  • the element interval is set to Le.
  • the transmitting element and the receiving element are shifted by one element in the x direction (azimuth direction) (shifted to the right in the figure), and transmission / reception is performed using the central element as the element 52e. .
  • the reflection echo of the ghost is reflected by the reflection point 54.
  • the reflection point 54 is located directly below the element 52d (the same position in the azimuth direction). Therefore, as shown in FIG. 7B, in this transmission / reception, the position in the x direction between the element 52e as the central element and the reflection point 54 is shifted in the x direction by one element, that is, Le.
  • the coordinate of the element 52d whose position in the x direction coincides with the reflection point 54 is (x0, 0)
  • the coordinate of the element 52e as the central element is (x0 + Le, 0)
  • the coordinate of the focal point 58 in this transmission is (x0 + Le). , Df).
  • the coordinates of the reflection point 54 are (x0, z).
  • the delay time is obtained when the x coordinate between the reflection point 54 and the central element is shifted by one element interval from the propagation time of the true ultrasonic echo when the x coordinate between the reflection point 54 and the central element coincides. It is obtained from the difference in propagation time of ghost reflection echoes. 7A and 7B, the transmission path 61 is a model passing through the focal point 58.
  • the present invention is not limited to this, and for example, via the focal point 58. Instead, a route that directly reaches the reflection point 54 may be used.
  • FIG. 7A and FIG. 7B is a case of a linear probe, not only this but other probes can perform the same geometric calculation from the shape of a probe. .
  • a geometric model can be set from the probe radius and the element spacing angle, and the calculation can be performed in the same manner.
  • the delay time is not limited to the method of calculating the delay time using the geometric model, and the delay time is obtained for each measurement condition from the measurement result obtained by measuring the high-intensity reflection point according to the measurement condition of the apparatus in advance. By storing in the apparatus, the delay time of the same measurement condition may be read out.
  • FIG. 7C shows true element data 66 and ghost element data 68.
  • the center of the azimuth direction is the true element data 66, that is, element data obtained by transmission / reception in which the center element and the reflection point 54 have the same position in the x direction (in the illustrated example, Element data with the element 52d as the central element).
  • ghost element data on both sides of the center that is, element data obtained by transmission / reception in which the positions of the central element and the reflection point 54 do not coincide with each other in the x direction (in the illustrated example, element data 52c, element 52e, Element data as a central element).
  • FIG. 7C shows true element data 66 and ghost element data 68.
  • the center of the azimuth direction is the true element data 66, that is, element data obtained by transmission / reception in which the center element and the reflection point 54 have the same position in the x direction (in the illustrated example, Element data with the element 52d as the central element).
  • ghost element data on both sides of the center that is,
  • FIG. 7D shows an example of the delay time of the ghost element data 68 with respect to the true element data 66 obtained from the above-described geometric calculation. It is shown that the element data 68 of the ghost signal is symmetrically delayed in the x direction, that is, the azimuth direction, with the true element data 66 as the center. In this way, the delay time calculated by the delay time calculation unit 48 of the element data processing unit 35 can also be used for delay correction in the phasing addition unit 38.
  • the element data obtained by transmitting an ultrasonic beam having a certain element of interest as the central element differs from the central element, and the ultrasonic beam
  • the processed element data of the element of interest (second element) Data) (reconstruct the element data of the element of interest).
  • the reflection point 54 is the position of a certain sampling point (element data output position) located directly below the target element (same position in the azimuth direction / on the straight line connecting the target element and the focal point). Show.
  • the transmission / reception path to the sampling point in the transmission / reception of the element of interest is regarded as the transmission / reception path of the true element data, and the transmission / reception path to the same sampling point in the transmission / reception of ultrasonic waves with different central elements (transmission / reception from peripheral elements)
  • a delay time is calculated from the difference between the two transmission paths, and the element data time is combined using this delay time to perform superposition.
  • the delay time is calculated and the element data is overlapped. Align.
  • the delay time is calculated according to the same concept, and the element data is superimposed to generate processed element data for each element.
  • the element data is superimposed to generate processed element data for each element.
  • the delay time is calculated according to the same concept, and the element data is superimposed to generate processed element data for each element.
  • the position of the sampling point (reflection point) is shifted in the azimuth direction (x direction)
  • the length of the reception path (reception path distance Lrb) does not change. Therefore, for each element of interest, a delay time with element data by transmission / reception with different central elements may be calculated for each sampling point in the depth direction (y direction). Further, in this superposition process, it is not necessary to know which element data is the true element data. That is, as will be described in detail later with reference to FIGS.
  • the overlay processing of element data is performed using the delay time thus calculated by the delay time calculating section 48.
  • the overlay processing in the overlay processing unit 49 requires information on the number of superimposing element data and the overlay processing method at the time of overlaying, but these may be input in advance by the operation unit 32. It may be stored in the storage unit 34.
  • FIG. 8A to FIG. 8H show an example of the overlay process performed in the overlay processor 49.
  • the examples shown in FIGS. 8A to 8H are cases where the number of element data is five and the number of overlapping element data is three.
  • FIG. 8A shows five element data obtained by transmitting and receiving five ultrasonic waves side by side.
  • FIG. 8A shows a state in which an ultrasonic beam is transmitted and an ultrasonic echo is received for each element data.
  • the horizontal axis of each element data represents a receiving element, and the respective element data are displayed centering on the central element in transmission / reception of the ultrasonic beam.
  • the vertical axis represents the reception time.
  • the ultrasonic wave is transmitted and received five times by shifting the central element, such as the elements 52b to 52f, one element at a time.
  • FIG. 8A shows a state in which one reflection point exists only directly below the central element in the central element data. That is, among the five element data, in the middle element data, a true ultrasonic echo from the reflection point is received in transmission / reception of ultrasonic waves. That is, the middle element data is true element data.
  • the reflected echo element data that is, the ghost element data
  • the propagation time of the ultrasonic wave to the reflection point becomes longer, so that the reception time becomes slower than the true element data.
  • the position of the receiving element where the ultrasonic echo from the reflection point is first received is the element immediately above the reflection point (the element whose position in the azimuth direction coincides with the reflection point).
  • each element data in FIG. 8A is centered on the central element at the time of transmission of the ultrasonic beam. Therefore, in the example shown in FIG. 8A, since the central element is shifted by one element for each element data, the absolute position of the element in the azimuth direction is shifted by one element in each element data. ing. In other words, in the middle element data, the receiving element from which the reflected signal from the reflection point is first received is the central element, but in the element data on both sides, the element data is shifted by one element from the middle element data. The element data is shifted one element to the left, and the left element data is shifted one element to the right.
  • the element data at both ends are shifted by two elements from the middle element data, the leftmost element data is shifted by two elements to the left, and the leftmost element data is shifted by two elements to the right.
  • the ghost signal is not only delayed in reception time with respect to the true signal, but also deviated from the direction of the receiving element.
  • FIG. 8B shows an example of the delay time of the reception time for the middle element data among the five element data shown in FIG.
  • the delay time is corrected by three element data, and the element data on both sides is corrected in accordance with the element position difference from the target element (the difference in position between the central elements) in the illustrated example.
  • the unprocessed element data corresponding to the three element data are superposed by matching the phase, and obtained as one superposed processed element data of the element of interest.
  • the element data obtained by transmission / reception of the ultrasonic wave with the target element as the central element (hereinafter also referred to as element data of the target element) is the ultrasonic wave with the element adjacent to the target element as the central element.
  • the element data obtained by the transmission / reception (hereinafter also referred to as element data of the adjacent element) is superimposed to generate processed element data of the element data of the element of interest.
  • FIG. 8 (c) shows the element-processed element data of the element of interest obtained in this way.
  • the element data of the target element shown in FIG. 8A is true element data in which a reflection point exists immediately below the central element (that is, the target element).
  • element data obtained by transmission / reception using an element adjacent to the element of interest as a central element is also data of reflected ultrasonic echoes incident on the reflection point. Therefore, when the element data of the adjacent element on both sides of the element data of the element of interest is subjected to delay time correction and azimuth shift to perform phase alignment, as shown in FIG. And the element data of the element of interest overlap at a high luminance position because the phases match. Therefore, when these element data are added, for example, the element data value shows a large value (high luminance value), and for example, even if an average value is obtained by averaging, an emphasized value (high luminance value) is shown.
  • FIG. 8D shows an example in which the element data is the same as that in FIG. 8A, but the central element of the element data on the left side of the middle element data is the target element. That is, this example shows an example of the case where the central element is the element of interest in the transmission / reception of ultrasonic waves with the element having no reflection point directly below as the central element. Therefore, element data having this element as the central element is ghost element data.
  • FIG. 8E is the same as FIG. 8B, and shows an example of the delay time of the reception time for the element data of the target element of the five element data shown in FIG. 8A. That is, since FIG. 8A and FIG.
  • the delay time shown in FIG. 8E (that is, the same as FIG. 8B) is used for the number of overlay element data, centering on the element data of the element of interest.
  • the element data on both sides is corrected for one element according to the difference in element position with respect to the element of interest (the difference in position between the central elements).
  • the unprocessed element data corresponding to the three element data is overlapped by shifting in the azimuth direction to obtain one overlapped processed element data of the element of interest.
  • FIG. 8F shows element data obtained by superimposing the target element obtained in this way.
  • the element data of the target element shown in FIG. 8D is ghost element data. Therefore, even if the phase adjustment is performed by performing the delay time correction and the azimuth direction shift on the unprocessed element data of the adjacent elements on both sides of the element data of the element of interest, as shown in FIG.
  • the element data and the element data of the target element do not overlap because the phases do not match each other. For this reason, even if these three element data are added, for example, since the phases are not matched, signals that are inverted in phase cancel each other out, so the added value does not increase. When the average value is obtained, a small value is shown.
  • FIG. 8H shows the result of, for example, addition processing or averaging processing as overlay processing.
  • the true signal element data has a high luminance value. It is obtained as combined element data.
  • element data whose phases are not matched with each other are added to the ghost element data or averaged.
  • the element data will cancel each other, so that the ghost superposition processed element data is compared with the superposition processed element data having a high luminance value whose value is the element data of the true signal.
  • the influence of the ghost element data on the true element data can be reduced, or the influence can be reduced to the extent that the influence can be ignored.
  • a certain element is used as an element of interest, and the element data (element data of the element of interest) obtained by transmission of an ultrasonic beam using the element of interest as a central element is different from the central element, and transmission of an ultrasonic beam is performed.
  • the element data obtained by transmitting and receiving ultrasonic waves with overlapping regions by performing time and azimuth alignment, and generating processed element data corresponding to the element data of the element of interest ( In other words, by reconstructing (correcting) the element data of the element of interest using element data by transmission and reception with at least a part of the ultrasonic beam overlapping and different central elements), the true element data is increased. Brightness and ghost element data can be reduced.
  • phasing addition and detection processing are performed on the processed element data, reception data is generated, and a B-mode image is generated, thereby eliminating the influence of ghosts, that is, focusing on all points on the sound ray. Since the B-mode image can be generated with the same element data, a high-quality B-mode image with high brightness and excellent sharpness can be generated.
  • the processed element data is one of the processed data in the present invention.
  • the central element is an element at the center in the azimuth direction when the numerical aperture for transmission (the number of elements for transmitting ultrasonic waves) is an odd number.
  • the numerical aperture is an even number
  • one of the central elements in the azimuth direction is used as the central element, or the central element is assumed to be present in the middle of the azimuth direction. That is, when the numerical aperture is an even number, the calculation may be performed assuming that the focal point is on the middle line of the aperture.
  • the superimposition processing method in the superimposition processing unit 49 is not simply the addition, but may be an average value or a median value, or may be performed after multiplication by coefficients. Note that taking an average value or median value is considered to be equivalent to applying an averaging filter or median filter at the element data level, but is performed by normal image processing instead of the averaging filter or median filter. An inverse filter or the like may also be applied. Alternatively, each element data to be overlapped is compared, and if they are similar, the maximum value is taken, if not, the average value is taken, and if there is a distribution bias, the intermediate value is taken. The overlay process may be changed based on the feature amount of each element data to be superimposed.
  • the number of element data to be superimposed on the element data of the element of interest is not limited to two in the illustrated example, and may be one or three or more. That is, the number of element data to be superimposed on the element data of the element of interest may be appropriately set according to the required processing speed (frame rate or the like), image quality, and the like. Basically, the image quality improves as the number of element data to be superimposed increases.
  • the number of element data to be superimposed may be changed according to the transmission numerical aperture.
  • the number of overlapping element data may be changed based on the feature value such as the luminance value of the image, or the optimum number of overlapping element data is selected from images created by changing the number of overlapping element data in multiple patterns. May be.
  • the processed element data of the element data of the element of interest is generated, the present invention is not limited to this.
  • the processed element data may be generated by superimposing element data obtained by transmitting a plurality of ultrasonic beams having different transmission directions (angles) with the same central element.
  • which element data obtained by transmission of which ultrasonic beam is to be processed is determined based on the diagnosis site or the probe.
  • the element data processing unit 35 sends the generated processed element data to the image generation unit 37 (phasing addition unit 38).
  • the phasing addition unit 38 performs phasing addition of the processed element data and performs reception focus processing to generate reception data
  • a detection processing unit 40 generates B-mode image data by performing attenuation correction and envelope detection processing on the received data.
  • the DSC 42 raster-converts the B-mode image data into image data corresponding to a normal television signal scanning method, and performs predetermined processing such as gradation processing by the image processing unit 44.
  • the image processing unit 44 stores the generated B-mode image data in the image memory 46 and / or sends it to the display image generation unit 25.
  • the processing region setting unit 47 sets the processing region based on the information on the color region ROI set by the region setting unit 21 and performs the overlay process.
  • the unit 49 performs multiline processing in the set processing region.
  • the processing area setting unit 47 sets an area including at least a line passing through the color area ROI as a processing area.
  • FIG. 9A is a conceptual diagram for explaining the relationship between the color region ROI set in the imaging region and the processing region.
  • the horizontal direction corresponds to the element arrangement direction
  • the vertical direction is the vertical direction.
  • the processing region setting unit 47 includes a range including a line passing through the color region ROI (in the drawing, A range indicated by a broken line) is set as a processing region.
  • the overlay processing unit 49 performs multi-line processing on the element data corresponding to the line in the processing region, and processed element data corresponding to each line in the processing region. Multi-line processing is not performed on element data corresponding to lines in other regions. That is, the B-mode image of the processing area is generated from processed element data generated by multiline processing, and the B-mode image of the area other than the processing area is generated from unprocessed element data.
  • the image quality can be improved by removing the influence of the ghost signal by performing multi-line processing.
  • multiline processing is performed on the lines of the entire imaging region, the calculation load increases and processing time is required.
  • the processing area setting unit 47 performs the multiline processing based on the information of the color area ROI that is the area for generating the color Doppler image.
  • the overlay processing unit 49 performs multiline processing on the element data corresponding to the line in the set processing area to generate processed element data, and outputs the processed element data outside the processing area. Multi-line processing is not performed on element data corresponding to a line.
  • the image generation unit 37 generates a B-mode image corresponding to the processing area from the processed element data, and generates a B-mode image other than the processing area from the unprocessed element data.
  • the image quality of the B-mode image in the region corresponding to the color region ROI that is considered to be focused by the operator is improved, and the calculation load due to the multiline processing is reduced. It is possible to prevent the frame rate from being lowered and to ensure the real-time display in the color mode.
  • the shape of the color region ROI is rectangular, and the ultrasonic transmission / reception direction for generating the B-mode image matches the ultrasonic transmission / reception direction for generating the color Doppler image.
  • the present invention is not limited to this. That is, the ultrasonic transmission / reception direction for generating the B-mode image may be different from the ultrasonic transmission / reception direction for generating the color Doppler image.
  • FIG. 9B is a conceptual diagram for explaining the relationship between the color region ROI set in the imaging region and the processing region.
  • the horizontal direction corresponds to the arrangement direction of the elements
  • the vertical direction is Corresponds to the depth direction.
  • the color region ROI is set as a region inclined with respect to the element arrangement direction in the depth direction. That is, the color Doppler image of the color region is generated by transmitting and receiving ultrasonic waves steered in a direction inclined in the depth direction.
  • the transmission / reception direction of ultrasonic waves for generating a B-mode image to be superimposed on the color Doppler image is a direction orthogonal to the element arrangement direction. That is, the ultrasonic transmission / reception direction for generating the B-mode image does not match the ultrasonic transmission / reception direction for generating the color Doppler image.
  • the processing region setting unit 47 includes a line that passes through the color region ROI as indicated by a broken line in the drawing, among the lines that transmit and receive ultrasonic waves for generating a B-mode image. Set the region as the processing region. Even when the processing area is set in this way, the image quality of the B-mode image in the area corresponding to the color area ROI is improved, the calculation load due to multiline processing is reduced, and the frame rate is prevented from being lowered. Thus, real-time display in the color mode can be ensured.
  • the processing region setting unit 47 is configured to set a region including a line passing through the color region ROI as the processing region.
  • the processing region setting unit 47 is not limited to this and includes a sampling point in the color region ROI.
  • An area may be set as a processing area.
  • the processing region setting unit 47 may set the processing region to be absent. That is, while the operator is performing an operation for setting the color area ROI, it can be considered that the image is not observed in detail for diagnosis, and therefore the setting operation for the color area ROI is performed. During this period, the frame rate can be kept high by setting the processing area to be none and not performing multiline processing.
  • the program of the present invention is a program that causes a computer included in the ultrasonic diagnostic apparatus 10 to execute the following signal processing method.
  • the transmission unit 14 responds to an instruction from the control unit 30 and the transmitter 12 responds to the corresponding super Driving the acoustic transducer (element) (with a predetermined numerical aperture and aperture position), transmitting an ultrasonic beam to the subject, and receiving the ultrasonic echo reflected by the subject by the ultrasonic transducer (element), An analog reception signal is output to the receiving unit 16.
  • the reception unit 16 performs predetermined processing such as amplification on the analog reception signal and supplies the analog reception signal to the A / D conversion unit 18.
  • the A / D conversion unit 18 performs A / D conversion on the analog reception signal supplied from the reception unit 16 to obtain element data that is a digital reception signal.
  • the element data is stored in the element data storage unit 20.
  • the Doppler processing unit 22 sequentially reads out the element data stored in the element data storage unit 20, performs frequency analysis of the element data, and performs Doppler data representing the relative movement speed of the subject and the ultrasound probe 12.
  • the Doppler data is converted into color information using a speed conversion scale designated in advance, and predetermined processing is performed to generate color Doppler image data.
  • the Doppler processing unit 22 supplies the generated color Doppler image data to the display image generation unit 25.
  • the processing region setting unit 47 sets a processing region based on the color region ROI. Further, in response to an instruction from the control unit 30, the transmission unit 14 drives the corresponding element of the probe 12 to transmit an ultrasonic beam to the subject, and the ultrasonic echo reflected by the subject is ultrasonic.
  • the analog reception signal is received by the transducer and output to the receiving unit 16.
  • the reception unit 16 performs predetermined processing such as amplification on the analog reception signal and supplies the analog reception signal to the A / D conversion unit 18.
  • the A / D conversion unit 18 receives the analog reception signal supplied from the reception unit 16. Are converted into element data which is a digital received signal.
  • the element data is stored in the element data storage unit 20.
  • the element data processing unit 35 reads the element data stored in the element data storage unit 20 for the element data corresponding to the line in the processing region set by the processing region setting unit 47, performs multi-line processing, and performs processing. Generated element data is generated. Specifically, as shown in FIG. 8A to FIG. 8H described above, the element data processing unit 35 performs, for example, the element data of the element of interest on the element of interest and the adjacent elements on both sides. The delay time of the element data of both adjacent elements is calculated, the delay time correction of the element data of the adjacent element and the shift in the azimuth direction are performed, and the element data of the adjacent elements on both sides are superimposed on the element data of the target element. In addition, processed element data of the element of interest is generated.
  • the element data processing unit 35 superimposes the element data on each element data corresponding to the line in the processing region, and generates a plurality of processed element data.
  • the element data processing unit 35 supplies the generated processed element data to the image generation unit 37.
  • the image generation unit 37 generates B-mode image data using this processed element data and unprocessed element data corresponding to lines other than the processing area.
  • the generated B-mode image data is supplied to the display image generation unit 25.
  • the display image generation unit 25 synthesizes the supplied color Doppler image data and B-mode image data to generate composite image data, and supplies it to the display control unit 26.
  • the display control unit 26 displays the supplied composite image (ultrasonic image) on the display unit.
  • the multi-line processing is performed only on the element data corresponding to the line in the processing region set based on the color region ROI. While improving the image quality of the B-mode image in the area corresponding to, the calculation load by multiline processing can be reduced, the frame rate can be prevented from being lowered, and the real-time display of the color mode can be secured. .
  • the color mode is not selected, for example, when the B mode is selected, as shown in FIG. 10, first, under the control of the control unit 30, ultrasonic waves are transmitted and received to obtain element data. get. Next, the B mode processing unit 24 generates a B mode image. At that time, the element data processing unit 35 performs multiline processing on element data corresponding to all lines in the imaging region to generate processed element data. The element data processing unit 35 supplies the generated processed element data to the image generation unit 37, and the image generation unit 37 generates B-mode image data using the processed element data. The generated B-mode image data is supplied to the display control unit 26 for display.
  • the multi-line processing is performed only for the element data corresponding to the line in the processing region.
  • the present invention is not limited to this and corresponds to the line other than the processing region.
  • the multi-line processing may be performed with a smaller number of superpositions than the multi-line processing for element data corresponding to lines in the processing region.
  • the multiline processing in the element data processing unit 35 is performed using element data.
  • the present invention is not limited to this, and the first element data is arranged.
  • the first received data that has undergone phase addition may be configured to perform multiline processing.
  • FIG. 11 conceptually shows an example of the B-mode processing unit of the ultrasonic diagnostic apparatus according to the second embodiment of the present invention using a block diagram.
  • the ultrasonic diagnostic apparatus according to the second embodiment has the same configuration as the ultrasonic diagnostic apparatus 10 shown in FIG. 1 except that the B-mode processing unit 112 is provided instead of the B-mode processing unit 24.
  • the B-mode processing unit 112 shown in FIG. 11 has a data processing unit 114 instead of the element data processing unit 35 and has an image generation unit 116 instead of the image generation unit 37 as shown in FIG. Since it has the same configuration as that of the B-mode processing unit 24, the same components are denoted by the same reference numerals, and detailed description thereof is omitted.
  • the B-mode processing unit 112 is a part that generates a B-mode image from element data stored in the element data storage unit 20, and includes a data processing unit 114 and an image generation unit 116.
  • FIG. 12 conceptually shows the configuration of the data processing unit 114 using a block diagram.
  • the data processing unit 114 includes a phasing addition unit 118, a processing region setting unit 47, a delay time calculation unit 48, and an overlay processing unit 120.
  • the phasing addition unit 118 performs phasing addition on the element data read from the element data storage unit 20 to perform reception focus processing, and generates first reception data (unprocessed reception data).
  • the phasing / adding unit 118 performs the reception focus process a plurality of times while changing the reference line for one element data, and generates two or more unprocessed reception data for each element data.
  • the superimposition processing unit 120 acquires the unprocessed received data generated in the phasing addition unit 118 based on information related to data processing such as the number of data to be superimposed and the superposition processing method. In addition, the superimposition processing unit 120 sets two or more unprocessed reception data on the reception time, that is, the time based on the delay time corresponding to each unprocessed reception data calculated by the delay time calculation unit 48. Are combined to generate processed (second) received data.
  • the superimposition processing unit 120 uses the unprocessed reception data supplied from the phasing addition unit 118 to the unprocessed reception data subjected to the phasing addition processing on the same line by each ultrasonic transducer.
  • the processed reception data corresponding to one unprocessed reception data is generated by superimposing the ultrasonic echoes according to the reception time.
  • This processed received data is one of the processed data in the present invention.
  • the phasing / adding unit 118 and the overlay processing unit 120 will be described in more detail with reference to FIGS. 13 (a) to 13 (i) and FIGS. 14 (a) to 14 (h).
  • FIGS. 13 (a), 13 (d) and 13 (g) are conceptual diagrams for explaining the respective receiving elements.
  • FIG. 13 is a conceptual diagram showing element data obtained by transmission / reception of each ultrasonic wave.
  • FIG. 13 (c), FIG. 13 (f) and FIG. 13 (i) are obtained by performing phasing addition processing on each element data. It is a conceptual diagram which shows the unprocessed reception data obtained.
  • FIGS. 13 (a) to 13 (i) show a state in which a reflection point exists on a line corresponding to the nth element.
  • FIG. 13A is a diagram conceptually showing a transducer array 36 in which a plurality of elements are arranged.
  • the position of the element is represented by n, and the receiving element is indicated by hatching. That is, FIG. 13A shows that the n-4th to n + 4th elements are the receiving elements, with the nth element as the central element.
  • FIG.13 (b) is a figure which shows notionally the element data acquired by the receiving element shown to Fig.13 (a). Moreover, the position of FIG.13 (b) is displayed corresponding to the position of the receiving element shown to Fig.13 (a).
  • element data obtained using the nth element as a central element is referred to as nth element data.
  • the phasing addition unit 118 reads out the nth element data from the element data storage unit 20, and performs a phasing addition process using a line corresponding to the nth element (hereinafter also referred to as the nth line) as a reference line. Then, the n (n) th unprocessed received data shown in the center of FIG. 13C is generated. Further, the phasing addition unit 118 performs phasing addition processing on the nth element data using the (n ⁇ 2) th line as a reference line, and n (n ⁇ n) shown on the left in FIG. 13C. 2) Generate the first raw received data.
  • the phasing addition processing is performed on the nth element data, and the n (n ⁇ 1) th unprocessed received data, n ( The (n + 1) th unprocessed received data and the n (n + 2) th unprocessed received data are generated.
  • reception data generated by performing phasing addition on the x-th element data with reference to the y-th line is represented as x (y) -th reception data.
  • one element data corresponds to each of the two elements on the left and right of the center element including a line corresponding to the center element of the receiving element corresponding to the element data.
  • the phasing addition process is performed using each of the five lines in total, and five unprocessed received data are generated as shown in FIG.
  • FIGS. 13D to 13F for the (n-1) th element data, the (n-3) th to (n + 1) th lines centering on the (n-1) th line are used.
  • the phasing addition processing is then performed to generate the five unprocessed received data shown in FIG.
  • FIGS. 13 (g) to 13 (i) for the (n + 1) th element data, phasing is performed using the (n ⁇ 1) th to n + 3th lines centering on the (n + 1) th line, respectively.
  • Addition processing is performed to generate five unprocessed received data shown in FIG.
  • the phasing addition unit 118 performs phasing addition processing a plurality of times on necessary element data, and generates a plurality of unprocessed received data.
  • the phasing addition unit 118 supplies the unprocessed received data to the overlay processing unit 120.
  • the number of unprocessed received data generated from one element data in the phasing adder 118 is not particularly limited, and is appropriately determined according to the performance of the apparatus, required processing speed (frame rate, etc.), image quality, and the like. You can decide. Further, it is preferable that the phasing addition unit 118 generates unprocessed reception data for a line corresponding to the width according to the width of the ultrasonic beam. Thereby, the effect of superposition can be fully exhibited, and the amount of data to be stored can be reduced. Note that the width of the ultrasonic beam is the width of the ultrasonic beam at the depth of the sampling point. Specifically, the phasing adder 118 preferably generates unprocessed received data for 3 to 10 lines for one element data.
  • the line for performing the phasing addition processing is not particularly limited, but for each element data, the line of the central element of the receiving element corresponding to the element data, and two or more elements adjacent to the left and right of the central element. It is preferable to perform the phasing addition processing with reference to the line.
  • FIGS. 14 (a) and 14 (e) are conceptual diagrams showing unprocessed received data to be superimposed, and FIGS. 14 (b) and 14 (f) are for explaining their delay times.
  • 14 (c) and 14 (g) are conceptual diagrams for explaining a superposition state of unprocessed received data
  • FIG. 14 (d) and FIG. 14 (h) FIG. 6 is a conceptual diagram for explaining the result of superimposing unprocessed received data.
  • FIGS. 14A to 14H are examples in which the number of overlaps in the overlap processing unit 120 is five.
  • the unprocessed received data shown in FIGS. 14A and 14E is a conceptual diagram of the unprocessed received data in a state where a reflection point exists on the nth line.
  • the superimposition processing unit 120 when generating processed received data corresponding to the n (n) th unprocessed received data, the superimposition processing unit 120 performs nth processing for each different element data. 5 unprocessed received data (n ⁇ 2 (n), n ⁇ 1 (n), n (n), n + 1 (n , N + 2 (n) th unprocessed received data). Based on the delay time (FIG. 14B) calculated by the delay time calculation unit 48, the superimposition processing unit 120 performs delay time correction on each of the five unprocessed received data and superimposes them (FIG. 14). 14 (c)), the processed received data corresponding to the n (n) th unprocessed received data is generated by addition or averaging (FIG. 14 (d)). This processed received data is processed received data corresponding to the nth element (line).
  • the overlay processing unit 120 performs overlay processing on the unprocessed received data corresponding to the processing region set according to the color region ROI to generate processed received data, Overlay processing is not performed on unprocessed received data corresponding to an area other than the processing area.
  • the image quality of the B-mode image in the area corresponding to the color area ROI is improved, the calculation load due to multiline processing is reduced, the frame rate is prevented from being lowered, and the real-time display in the color mode is achieved. Can be secured.
  • the superimposition processing unit 120 when generating the processed received data corresponding to the (n ⁇ 1) th line, the superimposition processing unit 120 performs the phasing addition process on the basis of the (n ⁇ 1) th line, Unprocessed received data (FIG. 14 (e)) is acquired. Based on the delay time (FIG. 14 (f)), the overlay processing unit 120 performs delay time correction on each of the five unprocessed received data and superimposes them (FIG. 14 (g)), and adds or By averaging, the (n-1) th processed reception data is generated (FIG. 14 (h)).
  • a delay time is applied to the unprocessed element data that has been subjected to the phasing addition processing with reference to the line where the reflection point exists (the nth line).
  • the phase of the signal from the reflection point matches, so that the signal (true signal) from this reflection point is emphasized by the superposition process (high luminance value). . (FIG. 14 (d)).
  • the unprocessed element data subjected to the phasing addition processing with reference to the line having no reflection point (n ⁇ 1th line) is delayed. Even if time correction is performed, the phase of the signal from the reflection point (ghost signal) does not match, so that the signals cancel each other out by performing superposition (FIG. 14 (h)).
  • each element is regarded as an element of interest, and two or more unprocessed received data subjected to phasing addition processing with reference to the line of the element of interest are read out, and superposition processing is performed based on the delay time.
  • superposition processing is performed based on the delay time.
  • the data processing unit 114 supplies the generated processed reception data to the image generation unit 116.
  • the image generation unit 116 includes a detection processing unit 40, a DSC 42, an image processing unit 44, and an image memory 46.
  • the detection processing unit 40 In the image generation unit 116, the detection processing unit 40 generates B-mode image data by performing attenuation correction and envelope detection processing on the received data. Further, the DSC 42 raster-converts the B-mode image data into image data corresponding to a normal television signal scanning method, and performs predetermined processing such as gradation processing in the image processing unit 44. The image processing unit 44 stores the generated B-mode image data in the image memory 46 and / or sends it to the display image generation unit 25.

Landscapes

  • Engineering & Computer Science (AREA)
  • Health & Medical Sciences (AREA)
  • Life Sciences & Earth Sciences (AREA)
  • Physics & Mathematics (AREA)
  • Radar, Positioning & Navigation (AREA)
  • Remote Sensing (AREA)
  • Animal Behavior & Ethology (AREA)
  • Medical Informatics (AREA)
  • Veterinary Medicine (AREA)
  • Biophysics (AREA)
  • Nuclear Medicine, Radiotherapy & Molecular Imaging (AREA)
  • Pathology (AREA)
  • Radiology & Medical Imaging (AREA)
  • Biomedical Technology (AREA)
  • Heart & Thoracic Surgery (AREA)
  • Public Health (AREA)
  • Molecular Biology (AREA)
  • Surgery (AREA)
  • General Health & Medical Sciences (AREA)
  • Acoustics & Sound (AREA)
  • General Physics & Mathematics (AREA)
  • Computer Networks & Wireless Communication (AREA)
  • Hematology (AREA)
  • Computer Vision & Pattern Recognition (AREA)
  • Multimedia (AREA)
  • Ultra Sonic Daignosis Equipment (AREA)
PCT/JP2014/076283 2014-03-24 2014-10-01 音響波処理装置、音響波処理装置の信号処理方法およびプログラム Ceased WO2015145828A1 (ja)

Priority Applications (2)

Application Number Priority Date Filing Date Title
CN201480075630.3A CN106028951B (zh) 2014-03-24 2014-10-01 声波处理装置、声波处理装置的信号处理方法及程序
US15/227,085 US11439368B2 (en) 2014-03-24 2016-08-03 Acoustic wave processing device, signal processing method for acoustic wave processing device, and program

Applications Claiming Priority (2)

Application Number Priority Date Filing Date Title
JP2014060158A JP6006249B2 (ja) 2014-03-24 2014-03-24 音響波処理装置、音響波処理装置の信号処理方法およびプログラム
JP2014-060158 2014-03-24

Related Child Applications (1)

Application Number Title Priority Date Filing Date
US15/227,085 Continuation US11439368B2 (en) 2014-03-24 2016-08-03 Acoustic wave processing device, signal processing method for acoustic wave processing device, and program

Publications (1)

Publication Number Publication Date
WO2015145828A1 true WO2015145828A1 (ja) 2015-10-01

Family

ID=54194405

Family Applications (1)

Application Number Title Priority Date Filing Date
PCT/JP2014/076283 Ceased WO2015145828A1 (ja) 2014-03-24 2014-10-01 音響波処理装置、音響波処理装置の信号処理方法およびプログラム

Country Status (4)

Country Link
US (1) US11439368B2 (enExample)
JP (1) JP6006249B2 (enExample)
CN (1) CN106028951B (enExample)
WO (1) WO2015145828A1 (enExample)

Cited By (1)

* Cited by examiner, † Cited by third party
Publication number Priority date Publication date Assignee Title
JP2017169635A (ja) * 2016-03-18 2017-09-28 コニカミノルタ株式会社 超音波信号処理装置、超音波信号処理方法、及び、超音波診断装置

Families Citing this family (12)

* Cited by examiner, † Cited by third party
Publication number Priority date Publication date Assignee Title
US10154826B2 (en) 2013-07-17 2018-12-18 Tissue Differentiation Intelligence, Llc Device and method for identifying anatomical structures
US10716536B2 (en) 2013-07-17 2020-07-21 Tissue Differentiation Intelligence, Llc Identifying anatomical structures
JP6406019B2 (ja) * 2015-01-09 2018-10-17 コニカミノルタ株式会社 超音波信号処理装置、及び超音波診断装置
US11986341B1 (en) 2016-05-26 2024-05-21 Tissue Differentiation Intelligence, Llc Methods for accessing spinal column using B-mode imaging to determine a trajectory without penetrating the the patient's anatomy
US11701086B1 (en) 2016-06-21 2023-07-18 Tissue Differentiation Intelligence, Llc Methods and systems for improved nerve detection
JP6990819B2 (ja) * 2018-03-07 2022-01-12 富士フイルムヘルスケア株式会社 超音波撮像装置及び方法
CN108852415A (zh) * 2018-05-07 2018-11-23 深圳市德力凯医疗设备股份有限公司 一种经颅三维脑血管复合成像方法及系统
CN108852414A (zh) * 2018-05-07 2018-11-23 深圳市德力凯医疗设备股份有限公司 一种经颅三维脑血管成像方法及系统
JP7227049B2 (ja) * 2019-03-26 2023-02-21 株式会社アドバンテスト 光音響波測定装置
CN110133627B (zh) * 2019-05-21 2022-06-14 哈尔滨工程大学 水声定位导航系统阵元位置校准测量点间距优化方法
JP7426086B2 (ja) * 2020-06-09 2024-02-01 本多電子株式会社 超音波血流領域表示装置、方法及びプログラム、超音波画像診断装置
JP7777470B2 (ja) * 2022-02-25 2025-11-28 キヤノンメディカルシステムズ株式会社 超音波診断装置及びその制御方法

Citations (3)

* Cited by examiner, † Cited by third party
Publication number Priority date Publication date Assignee Title
JP2004344257A (ja) * 2003-05-20 2004-12-09 Olympus Corp 超音波診断装置
JP2005204761A (ja) * 2004-01-20 2005-08-04 Shimadzu Corp 超音波診断装置
JP2014030715A (ja) * 2012-07-13 2014-02-20 Fujifilm Corp 超音波検査装置

Family Cites Families (25)

* Cited by examiner, † Cited by third party
Publication number Priority date Publication date Assignee Title
JPS5844372A (ja) 1982-08-23 1983-03-15 Hitachi Medical Corp 超音波撮像方式
JPH0653117B2 (ja) * 1985-07-24 1994-07-20 株式会社東芝 超音波血流量自動測定装置
US4972838A (en) * 1988-07-13 1990-11-27 Kabushiki Kaisha Toshiba Ultrasonic diagnostic apparatus
US20030013959A1 (en) * 1999-08-20 2003-01-16 Sorin Grunwald User interface for handheld imaging devices
CN101453955B (zh) 2006-05-12 2012-07-04 皇家飞利浦电子股份有限公司 非相干式回顾性动态发射聚焦
JP4309936B2 (ja) * 2007-01-05 2009-08-05 オリンパスメディカルシステムズ株式会社 超音波診断装置
JP5247330B2 (ja) * 2008-09-25 2013-07-24 富士フイルム株式会社 超音波信号処理装置及び超音波信号処理方法
JP5596940B2 (ja) * 2009-06-30 2014-09-24 株式会社東芝 超音波診断装置
JP2011072586A (ja) * 2009-09-30 2011-04-14 Fujifilm Corp 超音波診断装置、及び超音波診断装置の制御方法
JP5683868B2 (ja) * 2009-10-08 2015-03-11 株式会社東芝 超音波診断装置、超音波画像処理装置、超音波画像処理方法、及び超音波画像処理プログラム
JP5508829B2 (ja) * 2009-12-11 2014-06-04 株式会社東芝 医用画像表示装置
CN102573654B (zh) * 2010-08-06 2014-12-10 奥林巴斯医疗株式会社 超声波诊断装置
JP5742391B2 (ja) * 2011-03-31 2015-07-01 Jsr株式会社 液浸用上層膜形成用組成物
US9384530B2 (en) * 2011-05-02 2016-07-05 Verasonics, Inc. Enhanced ultrasound image formation using qualified regions of overlapping transmit beams
JP5788229B2 (ja) * 2011-06-06 2015-09-30 株式会社東芝 超音波診断装置
JP6218400B2 (ja) * 2012-03-15 2017-10-25 東芝メディカルシステムズ株式会社 超音波診断装置及び超音波診断装置の制御プログラム
JP5976399B2 (ja) * 2012-05-25 2016-08-23 富士フイルム株式会社 超音波診断装置およびデータ処理方法
JP6139067B2 (ja) * 2012-06-20 2017-05-31 東芝メディカルシステムズ株式会社 超音波診断装置
WO2014045573A1 (ja) * 2012-09-19 2014-03-27 コニカミノルタ株式会社 超音波診断装置、超音波診断装置の制御方法および超音波診断装置の制御器
JP6000196B2 (ja) * 2012-09-27 2016-09-28 富士フイルム株式会社 超音波診断装置、音速決定方法およびプログラム
JP5946427B2 (ja) * 2012-09-28 2016-07-06 富士フイルム株式会社 超音波検査装置、超音波検査方法、プログラム及び記録媒体
JP2014121594A (ja) * 2012-11-22 2014-07-03 Toshiba Corp 超音波診断装置、画像処理装置および画像処理方法
US9247927B2 (en) * 2013-03-15 2016-02-02 B-K Medical Aps Doppler ultrasound imaging
JP5964774B2 (ja) * 2013-03-22 2016-08-03 富士フイルム株式会社 超音波診断装置、超音波診断装置の信号処理方法およびプログラム
JP2015204761A (ja) * 2014-04-18 2015-11-19 太陽化学株式会社 においうつり抑制剤

Patent Citations (3)

* Cited by examiner, † Cited by third party
Publication number Priority date Publication date Assignee Title
JP2004344257A (ja) * 2003-05-20 2004-12-09 Olympus Corp 超音波診断装置
JP2005204761A (ja) * 2004-01-20 2005-08-04 Shimadzu Corp 超音波診断装置
JP2014030715A (ja) * 2012-07-13 2014-02-20 Fujifilm Corp 超音波検査装置

Cited By (1)

* Cited by examiner, † Cited by third party
Publication number Priority date Publication date Assignee Title
JP2017169635A (ja) * 2016-03-18 2017-09-28 コニカミノルタ株式会社 超音波信号処理装置、超音波信号処理方法、及び、超音波診断装置

Also Published As

Publication number Publication date
CN106028951B (zh) 2019-03-01
US11439368B2 (en) 2022-09-13
US20160338673A1 (en) 2016-11-24
JP6006249B2 (ja) 2016-10-12
JP2015181659A (ja) 2015-10-22
CN106028951A (zh) 2016-10-12

Similar Documents

Publication Publication Date Title
JP6006249B2 (ja) 音響波処理装置、音響波処理装置の信号処理方法およびプログラム
JP5905856B2 (ja) 超音波検査装置
JP5946427B2 (ja) 超音波検査装置、超音波検査方法、プログラム及び記録媒体
JP6000197B2 (ja) 超音波診断装置、超音波画像生成方法およびプログラム
JP5905808B2 (ja) 超音波検査装置、超音波画像データ生成方法およびプログラム
JP6000196B2 (ja) 超音波診断装置、音速決定方法およびプログラム
JP6074299B2 (ja) 超音波診断装置、超音波診断装置の信号処理方法およびプログラム
JP6165089B2 (ja) 音響波処理装置、音響波処理装置の信号処理方法およびプログラム
US10980515B2 (en) Acoustic wave processing apparatus, signal processing method, and program for acoustic wave processing apparatus
JP5964774B2 (ja) 超音波診断装置、超音波診断装置の信号処理方法およびプログラム
JP5873412B2 (ja) 超音波診断装置、音速決定方法およびプログラム
US10383601B2 (en) Acoustic wave processing apparatus, signal processing method, and program for acoustic wave processing apparatus
JP6047041B2 (ja) 超音波診断装置、超音波診断装置の信号処理方法およびプログラム
WO2014050847A1 (ja) 超音波診断装置、超音波画像データ生成方法およびプログラム
JP2014068756A (ja) 超音波検査装置、超音波画像データ生成方法およびプログラム
JP2014068807A (ja) 超音波検査装置、超音波画像データ生成方法およびプログラム

Legal Events

Date Code Title Description
121 Ep: the epo has been informed by wipo that ep was designated in this application

Ref document number: 14887514

Country of ref document: EP

Kind code of ref document: A1

NENP Non-entry into the national phase

Ref country code: DE

122 Ep: pct application non-entry in european phase

Ref document number: 14887514

Country of ref document: EP

Kind code of ref document: A1