WO2015122134A1 - 送風装置 - Google Patents

送風装置 Download PDF

Info

Publication number
WO2015122134A1
WO2015122134A1 PCT/JP2015/000383 JP2015000383W WO2015122134A1 WO 2015122134 A1 WO2015122134 A1 WO 2015122134A1 JP 2015000383 W JP2015000383 W JP 2015000383W WO 2015122134 A1 WO2015122134 A1 WO 2015122134A1
Authority
WO
WIPO (PCT)
Prior art keywords
shroud
blower fan
air
blower
air flow
Prior art date
Legal status (The legal status is an assumption and is not a legal conclusion. Google has not performed a legal analysis and makes no representation as to the accuracy of the status listed.)
Ceased
Application number
PCT/JP2015/000383
Other languages
English (en)
French (fr)
Japanese (ja)
Inventor
吉田 憲司
英樹 大矢
神谷 洋平
小村 正人
Current Assignee (The listed assignees may be inaccurate. Google has not performed a legal analysis and makes no representation or warranty as to the accuracy of the list.)
Denso Corp
Soken Inc
Original Assignee
Denso Corp
Nippon Soken Inc
Priority date (The priority date is an assumption and is not a legal conclusion. Google has not performed a legal analysis and makes no representation as to the accuracy of the date listed.)
Filing date
Publication date
Application filed by Denso Corp, Nippon Soken Inc filed Critical Denso Corp
Priority to DE112015000812.8T priority Critical patent/DE112015000812T5/de
Publication of WO2015122134A1 publication Critical patent/WO2015122134A1/ja
Anticipated expiration legal-status Critical
Ceased legal-status Critical Current

Links

Images

Classifications

    • FMECHANICAL ENGINEERING; LIGHTING; HEATING; WEAPONS; BLASTING
    • F04POSITIVE - DISPLACEMENT MACHINES FOR LIQUIDS; PUMPS FOR LIQUIDS OR ELASTIC FLUIDS
    • F04DNON-POSITIVE-DISPLACEMENT PUMPS
    • F04D29/00Details, component parts, or accessories
    • F04D29/40Casings; Connections of working fluid
    • F04D29/52Casings; Connections of working fluid for axial pumps
    • F04D29/522Casings; Connections of working fluid for axial pumps especially adapted for elastic fluid pumps
    • F04D29/526Details of the casing section radially opposing blade tips
    • FMECHANICAL ENGINEERING; LIGHTING; HEATING; WEAPONS; BLASTING
    • F04POSITIVE - DISPLACEMENT MACHINES FOR LIQUIDS; PUMPS FOR LIQUIDS OR ELASTIC FLUIDS
    • F04DNON-POSITIVE-DISPLACEMENT PUMPS
    • F04D19/00Axial-flow pumps
    • F04D19/002Axial flow fans
    • FMECHANICAL ENGINEERING; LIGHTING; HEATING; WEAPONS; BLASTING
    • F04POSITIVE - DISPLACEMENT MACHINES FOR LIQUIDS; PUMPS FOR LIQUIDS OR ELASTIC FLUIDS
    • F04DNON-POSITIVE-DISPLACEMENT PUMPS
    • F04D29/00Details, component parts, or accessories
    • F04D29/08Sealings
    • F04D29/16Sealings between pressure and suction sides
    • F04D29/161Sealings between pressure and suction sides especially adapted for elastic fluid pumps
    • F04D29/164Sealings between pressure and suction sides especially adapted for elastic fluid pumps of an axial flow wheel
    • FMECHANICAL ENGINEERING; LIGHTING; HEATING; WEAPONS; BLASTING
    • F04POSITIVE - DISPLACEMENT MACHINES FOR LIQUIDS; PUMPS FOR LIQUIDS OR ELASTIC FLUIDS
    • F04DNON-POSITIVE-DISPLACEMENT PUMPS
    • F04D29/00Details, component parts, or accessories
    • F04D29/26Rotors specially for elastic fluids
    • F04D29/32Rotors specially for elastic fluids for axial flow pumps
    • F04D29/325Rotors specially for elastic fluids for axial flow pumps for axial flow fans
    • F04D29/326Rotors specially for elastic fluids for axial flow pumps for axial flow fans comprising a rotating shroud
    • FMECHANICAL ENGINEERING; LIGHTING; HEATING; WEAPONS; BLASTING
    • F04POSITIVE - DISPLACEMENT MACHINES FOR LIQUIDS; PUMPS FOR LIQUIDS OR ELASTIC FLUIDS
    • F04DNON-POSITIVE-DISPLACEMENT PUMPS
    • F04D29/00Details, component parts, or accessories
    • F04D29/66Combating cavitation, whirls, noise, vibration or the like; Balancing
    • F04D29/661Combating cavitation, whirls, noise, vibration or the like; Balancing especially adapted for elastic fluid pumps
    • F04D29/663Sound attenuation

Definitions

  • the present disclosure relates to a blower that blows air to a heat exchanger such as a radiator.
  • an air blower including an axial fan that supplies air to a radiator and a shroud that holds the axial fan and forms an air passage from the radiator to the axial fan is known.
  • the shroud is also formed in a rectangular shape in plan view in accordance with the rectangular radiator. For this reason, a portion having a long length (hereinafter referred to as a wind guide portion length) between the radially outer end portion of the axial fan and the peripheral edge of the shroud is generated.
  • a wind guide portion length is long
  • the angle of attack becomes small because the flow rate of air flowing into the axial fan increases.
  • the angle of attack increases because the flow rate of air flowing into the axial fan decreases.
  • the negative pressure generated on the blade surface of the blade of the axial fan is different between the long and short portions of the wind guide portion and fluctuates alternately.
  • This pressure fluctuation shakes the air and propagates as a sound wave.
  • the sound wave has periodicity, the order component sound synchronized with the rotation of the axial fan increases, and the noise may increase.
  • a ring fan having a ring portion that connects peripheral ends of a plurality of blades in a circumferential shape is used as an axial fan of a blower.
  • Patent Document 1 when the technique described in Patent Document 1 is applied to a blower device including such a ring fan, an air flow flowing from an opening provided in the shroud is axially flowed. Interferes with the fan ring. As a result, the air flow becomes complicated and noise may increase.
  • an object of the present disclosure is to reduce noise in a blower device including an axial fan having a ring portion that circumferentially connects outer peripheral ends of a plurality of blades.
  • the blower of the present disclosure includes a blower fan and a shroud.
  • the blower fan is an axial flow type that is rotationally driven to generate an air flow.
  • the shroud has a suction port portion that takes in air and a blowout port portion that blows out air that is taken in from the suction port portion and blown as an air flow from a blower fan.
  • the blower fan has a plurality of blades extending radially from a boss portion provided at the rotation center portion and spaced apart from each other in the rotation direction, and a ring portion for connecting the outer peripheral end portions of the plurality of blades circumferentially. ing.
  • the radial distance between the radially outer end of the blower fan and the outer peripheral edge of the shroud when viewed from the rotational axis direction of the blower fan is the radial distance
  • the radial distance is It changes in the circumferential direction of the blower fan.
  • a slit-like through-hole having a longer circumferential length than an axial length is provided in a portion having a shorter radial distance than the other portions.
  • the through hole is located in at least one of the upstream side and the downstream side in the air flow direction with respect to the upstream edge portion in the air flow direction of the blade in the shroud.
  • air can be caused to flow from the through hole into the air passage in the shroud by providing the through hole in a portion of the shroud whose radial distance is shorter than other portions. For this reason, the flow of the suction air sucked into the blower fan is made uniform in the circumferential direction, and an increase in noise due to the drift of the suction air can be suppressed.
  • the flow rate of air flowing from the through hole into the air passage in the shroud can be increased by making the through hole into a slit shape having a circumferential length longer than the axial length. For this reason, the flow velocity of the air flowing into the blower fan from a portion of the shroud whose radial distance is shorter than other portions can be increased. Therefore, an increase in noise due to the drift of the intake air can be more reliably suppressed.
  • the through hole is located at least one of the upstream side and the downstream side in the air flow direction of the blade in the shroud. Therefore, the air flowing from the through hole collides with the ring part. , The flow can be prevented from being disturbed. Therefore, the noise suppression effect can be obtained also in the blower fan having the ring portion.
  • FIG. 3 is a sectional view taken along line III-III in FIG. 2. It is typical sectional drawing which shows the flow analysis result of the conventional air blower. It is typical sectional drawing which shows the flow analysis result of the air blower which provided the upstream through-hole. It is a characteristic view which shows the relationship between a frequency and a sound pressure. It is a fragmentary sectional view showing the air blower concerning a 2nd embodiment. It is a fragmentary sectional view which shows the air blower which concerns on other embodiment (1). It is a fragmentary sectional view which shows the air blower which concerns on other embodiment (2).
  • the air blower shown by this embodiment is comprised as an air blower used for the cooling of the refrigerant
  • the blower device includes a refrigerant radiator 10, a radiator 20, a shroud 30, a blower fan 40, and a motor 50.
  • the refrigerant radiator 10 is a heat exchanger that cools the refrigerant by exchanging heat between the refrigerant circulating in the refrigeration cycle (not shown) and the outside air.
  • the radiator 20 is a heat exchanger that cools the engine coolant by exchanging heat between the engine coolant and the outside air.
  • the external shapes of the refrigerant radiator 10 and the radiator 20 are rectangular (planarly rectangular in this embodiment) when viewed from the top, that is, from the air flow direction.
  • the refrigerant radiator 10 is located in front of the radiator 20 in the front-rear direction, that is, upstream in the air flow direction.
  • the refrigerant radiator 10 and the radiator 20 are connected and integrated.
  • the shroud 30 is made of resin (for example, glass fiber-containing polypropylene).
  • the shroud 30 is a part that holds the motor 50 and guides the air flow so that the air flow induced by the blower fan 40 flows to the refrigerant radiator 10 and the radiator 20.
  • the shroud 30 is located behind the radiator 20 in the front-rear direction of the vehicle, that is, downstream in the air flow direction.
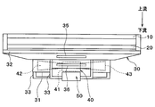
  • the shroud 30 is formed in an annular shape (cylindrical shape) and has a cylindrical portion 31 and a flat portion 32.
  • the cylindrical portion 31 covers the outer periphery of the blower fan 40.
  • the flat surface portion 32 connects the space downstream of the radiator 20 in the air flow direction to the cylindrical portion 31 through a smooth flow path.
  • the plane part 32 comprises the suction inlet part which takes in air, and the cylindrical part 31 is taken in from the suction inlet part, and the blower outlet which blows off the air ventilated as an air flow from the ventilation fan 40 Part.
  • the flat surface portion 32 covers the rear surface of the radiator 20, that is, the rear surface of the radiator 20 in the front-rear direction of the vehicle.
  • the flat surface portion 32 has a cylindrical shape that communicates with the cylindrical portion 31 and also communicates with the outside.
  • the cylindrical portion 31 has a circular shape in plan view.
  • the shroud 30 has a rectangular shape in plan view. That is, the outer peripheral edge 300 of the shroud 30 has a rectangular shape in plan view. Further, the opening area of the plane portion 32 is larger than the opening area of the cylindrical portion 31.
  • the blower fan 40 is an axial-flow type blower fan that blows air, and rotates around a rotation shaft.
  • the blower fan 40 has a plurality of blades 42 and a ring portion 43.
  • the plurality of blades 42 extend radially from a boss portion 41 provided at the center of rotation and are spaced apart from each other in the rotation direction.
  • the ring portion 43 connects the outer peripheral ends of the plurality of blades 42 circumferentially.
  • the blower fan 40 is located in the hollow portion of the cylindrical portion 31 of the shroud 30.
  • a clearance 61 is formed between the ring portion 43 and the inner peripheral surface of the cylindrical portion 31. Thereby, the blower fan 40 is rotatable in the cylindrical portion 31 without contacting the cylindrical portion 31.
  • the motor 50 is an electric motor that gives rotational power to the blower fan 40, and has a motor shaft (not shown).
  • the motor 50 is supported by a plurality of motor stays 33 provided on the cylindrical portion 31 of the shroud 30.
  • the motor 50 rotates the blower fan 40 by rotating the motor shaft, and generates an air flow in the axial direction of the blower fan 40.
  • the above is the overall configuration of the blower.
  • the axial direction (air flow direction) of the blower fan 40 is an axial direction of the rotation shaft of the blower fan 40, and is hereinafter simply referred to as a rotation axis direction.
  • the radial direction and the circumferential direction are the radial direction and the circumferential direction of the blower fan 40, in other words, the radial direction and the circumferential direction of the cylindrical portion 31 of the shroud 30. Further, for example, in FIG. 3, the radial direction is perpendicular to the rotation axis direction (air flow direction).
  • each of the plurality of blades 42 has an upstream edge 420 in the air flow direction.
  • a flange portion 44 extending outward in the radial direction is connected to the upstream end portion of the ring portion 43 in the air flow direction.
  • the collar portion 44 is formed integrally with the ring portion 43.
  • the flange portion 44 overlaps with the upstream edge portion 420 (overlapping arrangement) when viewed from the radial direction (vertical direction in FIG. 3).
  • the direction perpendicular to both the radial direction and the air flow direction is the circumferential direction (rotation direction) of the blower fan 40.
  • An arc portion 34 having a circular arc shape that is convex toward the downstream side in the air flow direction when viewed from the circumferential direction is connected to the end portion on the downstream side in the air flow direction of the cylindrical portion 31 of the shroud 30.
  • the upstream end of the arc portion 34 in the air flow direction overlaps with the ring portion 43 (overlapping arrangement) when viewed from the rotation axis direction (left-right direction in FIG. 3).
  • a gap 62 is formed between the end of the arc portion 34 on the upstream side in the air flow direction and the ring portion 43.
  • the radial distance from the radially outer end of the blower fan 40 (blade 42) to the outer peripheral edge 300 of the shroud 30 when viewed from the rotational axis direction is defined as a radial distance.
  • the planar shape of the shroud 30 of the cylindrical portion 31 and the outer peripheral edge portion 300 that is, the shape of the surface perpendicular to the rotation axis of the blower fan 40, is circular and rectangular, respectively. Therefore, the radial distance is not constant in the circumferential direction of the blower fan 40 but changes. In other words, the radial distance differs depending on the rotation angle of the blower fan 40. In this embodiment, since the outer peripheral edge 300 of the shroud 30 is substantially rectangular, the radial distance is the shortest at the upper end and the lower end of the shroud 30.
  • slit-like through holes 35 and 36 are provided in a portion of the shroud 30 whose radial distance is shorter than other portions.
  • the portions of the shroud 30 having a shorter radial distance than the other portions are the upper end portion and the lower end portion of the shroud 30.
  • the through holes 35 and 36 are formed in a rectangular shape whose length in the circumferential direction is longer than the length in the axial direction of the blower fan 40.
  • the cylindrical portion 31 of the shroud 30 has through holes 35 and 36. Further, the through holes 35 and 36 are located on both the upstream side and the downstream side of the upstream edge 420 of the blade 42 in the air flow direction of the shroud 30.
  • a through hole provided in the shroud 30 on the upstream side of the upstream edge 420 of the blade 42 in the air flow direction is referred to as an upstream through hole 35.
  • a through hole provided in the shroud 30 on the upstream side in the air flow direction from the upstream edge 420 of the blade 42 is referred to as a downstream through hole 36.
  • the upstream side through hole 35 is provided on the upstream side in the air flow direction of the cylindrical portion 31 of the shroud 30 with respect to the flange portion 44 of the ring portion 43.
  • the downstream through hole 36 is provided in the cylindrical portion 31 of the shroud 30 on the downstream side in the air flow direction from the flange portion 44 of the ring portion 43.
  • the through holes 35 and 36 are provided in the upper end portion and the lower end portion of the shroud 30 that are shorter in the radial direction than other portions. According to this, since air can be made to flow into the air passage in the shroud 30 from the through holes 35 and 36, the flow of the suction air sucked into the blower fan 40 is made uniform in the circumferential direction, and noise due to the drift of the suction air Can be suppressed.
  • the through holes 35 and 36 are formed in a slit shape having a longer circumferential length than the axial length, thereby increasing the flow velocity of air flowing from the through holes 35 and 36 into the air passage in the shroud 30. Can be made. For this reason, the flow velocity of the air which flows into the ventilation fan 40 from the upper end part and lower end part which are radial parts distance among the shrouds 30 shorter than another site
  • the through holes 35 and 36 are located on both the upstream side and the downstream side in the air flow direction with respect to the flange portion 44 of the ring portion 43 in the shroud 30. According to this, it can suppress that the air which flows in from the through-holes 35 and 36 collides with the collar part 44 of the ring part 43, and a flow is disturbed. Therefore, even in the blower fan 40 having the ring portion 43, a noise suppression effect can be obtained.
  • the inventors of the present disclosure provide a conventional blower, that is, a blower in which the upstream through hole 35 and the downstream through hole 36 are not provided in the shroud 30, and a blower in which the upstream through hole 35 is provided.
  • the air flow analysis was carried out. The results are shown in FIG. 4 and FIG.
  • FIG. 6 shows the relationship between the frequency and the noise level related to the blower according to the present embodiment and the conventional blower.
  • the solid line shows the noise of the blower according to the present embodiment
  • the broken line shows the noise of the conventional blower.
  • shaft of FIG. 6 has shown that the noise level is so high that it goes to the upper side of FIG.
  • the air blower of the present embodiment can reduce noise as compared with the conventional air blower. Specifically, in the air blower of the present embodiment, it is possible to reduce rotational noise by about 3 dB and noise level overall value by about 1.3 dB as compared with the conventional air blower.
  • the second embodiment is different from the first embodiment in that the flange portion 44 of the ring portion 43 is arranged upstream of the upstream edge 420 of the blade 42 in the air flow direction.
  • the upstream side through hole 35 and the downstream side through hole 36 are respectively positioned upstream of the upstream edge 420 of the blade 42 in the air flow direction.
  • the upstream side through hole 35 is provided in the cylindrical portion 31 of the shroud 30 on the upstream side of the flange portion 44 of the ring portion 43 in the air flow direction.
  • the downstream through hole 36 is provided in the cylindrical portion 31 of the shroud 30 on the downstream side in the air flow direction from the flange portion 44 of the ring portion 43.
  • the upstream through hole 35 may be abolished and only the downstream through hole 36 may be provided.
  • the flow of the backflow air in the clearance 61 can be suppressed by the air flowing in from the downstream through-hole 36, so that the backflow interferes with the main flow (normal intake air flow) and noise increases. Can be suppressed.
  • the through holes 35 and 36 are provided in the upper end portion and the lower end portion of the shroud 30 has been described, but the positions of the through holes 35 and 36 are not limited thereto.
  • the through holes 35 and 36 may be arranged in any part of the shroud 30 other than the part where the radial distance is maximum.
  • the example in which the refrigerant radiator 10, the radiator 20, and the flat portion 32 of the shroud 30 are formed in a substantially rectangular shape in plan view has been described.
  • the refrigerant radiator 10, the radiator 20, and the flat portion 32 of the shroud 30 may be formed in a substantially square shape in plan view.

Landscapes

  • Engineering & Computer Science (AREA)
  • Mechanical Engineering (AREA)
  • General Engineering & Computer Science (AREA)
  • Structures Of Non-Positive Displacement Pumps (AREA)
PCT/JP2015/000383 2014-02-14 2015-01-29 送風装置 Ceased WO2015122134A1 (ja)

Priority Applications (1)

Application Number Priority Date Filing Date Title
DE112015000812.8T DE112015000812T5 (de) 2014-02-14 2015-01-29 Gebläse

Applications Claiming Priority (2)

Application Number Priority Date Filing Date Title
JP2014-026235 2014-02-14
JP2014026235A JP2015151925A (ja) 2014-02-14 2014-02-14 送風装置

Publications (1)

Publication Number Publication Date
WO2015122134A1 true WO2015122134A1 (ja) 2015-08-20

Family

ID=53799887

Family Applications (1)

Application Number Title Priority Date Filing Date
PCT/JP2015/000383 Ceased WO2015122134A1 (ja) 2014-02-14 2015-01-29 送風装置

Country Status (3)

Country Link
JP (1) JP2015151925A (enExample)
DE (1) DE112015000812T5 (enExample)
WO (1) WO2015122134A1 (enExample)

Cited By (2)

* Cited by examiner, † Cited by third party
Publication number Priority date Publication date Assignee Title
CN110005622A (zh) * 2018-01-05 2019-07-12 台达电子工业股份有限公司 轴流扇
WO2020120506A1 (de) * 2018-12-12 2020-06-18 Ebm-Papst Mulfingen Gmbh & Co. Kg Ventilationseinheit

Citations (5)

* Cited by examiner, † Cited by third party
Publication number Priority date Publication date Assignee Title
JPH1018995A (ja) * 1996-07-04 1998-01-20 Matsushita Electric Ind Co Ltd 送風装置
JP3127957U (ja) * 2006-09-26 2006-12-21 奇▲こう▼科技股▲ふん▼有限公司 前置誘導翼型吊り下げファンの構造
US20090191054A1 (en) * 2008-01-25 2009-07-30 Wolfgang Arno Winkler Fan unit having an axial fan with improved noise damping
JP2013142374A (ja) * 2012-01-12 2013-07-22 Denso Corp 送風装置
JP2013167189A (ja) * 2012-02-15 2013-08-29 Panasonic Corp 換気装置

Patent Citations (5)

* Cited by examiner, † Cited by third party
Publication number Priority date Publication date Assignee Title
JPH1018995A (ja) * 1996-07-04 1998-01-20 Matsushita Electric Ind Co Ltd 送風装置
JP3127957U (ja) * 2006-09-26 2006-12-21 奇▲こう▼科技股▲ふん▼有限公司 前置誘導翼型吊り下げファンの構造
US20090191054A1 (en) * 2008-01-25 2009-07-30 Wolfgang Arno Winkler Fan unit having an axial fan with improved noise damping
JP2013142374A (ja) * 2012-01-12 2013-07-22 Denso Corp 送風装置
JP2013167189A (ja) * 2012-02-15 2013-08-29 Panasonic Corp 換気装置

Cited By (5)

* Cited by examiner, † Cited by third party
Publication number Priority date Publication date Assignee Title
CN110005622A (zh) * 2018-01-05 2019-07-12 台达电子工业股份有限公司 轴流扇
CN110005622B (zh) * 2018-01-05 2021-08-06 台达电子工业股份有限公司 轴流扇
WO2020120506A1 (de) * 2018-12-12 2020-06-18 Ebm-Papst Mulfingen Gmbh & Co. Kg Ventilationseinheit
CN113056615A (zh) * 2018-12-12 2021-06-29 依必安派特穆尔芬根有限两合公司 通风单元
US12173726B2 (en) 2018-12-12 2024-12-24 Ebm-Papst Mulfingen Gmbh & Co. Kg Ventilation unit

Also Published As

Publication number Publication date
JP2015151925A (ja) 2015-08-24
DE112015000812T5 (de) 2016-11-03

Similar Documents

Publication Publication Date Title
KR101848717B1 (ko) 송풍 장치
CN107923410B (zh) 螺旋桨式风扇、螺旋桨式风扇装置及空气调节装置用室外机
JP2019504960A (ja) 妨げられていない排気口を備えたエンジン冷却ファン筐体シュラウド
WO2014147952A1 (ja) 片吸込み型遠心送風機
KR101833277B1 (ko) 송풍 장치
WO2016042698A1 (ja) 送風機
JP5682751B2 (ja) 多翼送風機
JP6224952B2 (ja) 送風装置
JP2016166558A (ja) 送風機
CN105579713B (zh) 送风装置
WO2015122134A1 (ja) 送風装置
JP6770917B2 (ja) 遠心圧縮機
JP6844526B2 (ja) 多翼遠心ファン
US10808706B2 (en) Blowing device
JP6083275B2 (ja) 送風機
JP5772370B2 (ja) 多翼送風機
JP2017110563A (ja) 送風装置
JP6550909B2 (ja) 送風装置
JP2012017750A (ja) 軸流ファン及び空調機用の室外機
JP2017031944A (ja) 軸流送風機
JP4994406B2 (ja) 軸流ファン
JP6685433B2 (ja) 送風機及び空気調和装置
WO2017134885A1 (ja) 軸流送風機
WO2018138808A1 (ja) 遠心送風機

Legal Events

Date Code Title Description
121 Ep: the epo has been informed by wipo that ep was designated in this application

Ref document number: 15748985

Country of ref document: EP

Kind code of ref document: A1

WWE Wipo information: entry into national phase

Ref document number: 112015000812

Country of ref document: DE

122 Ep: pct application non-entry in european phase

Ref document number: 15748985

Country of ref document: EP

Kind code of ref document: A1