WO2014203674A1 - 使い捨てプルオン着用物品 - Google Patents

使い捨てプルオン着用物品 Download PDF

Info

Publication number
WO2014203674A1
WO2014203674A1 PCT/JP2014/063534 JP2014063534W WO2014203674A1 WO 2014203674 A1 WO2014203674 A1 WO 2014203674A1 JP 2014063534 W JP2014063534 W JP 2014063534W WO 2014203674 A1 WO2014203674 A1 WO 2014203674A1
Authority
WO
WIPO (PCT)
Prior art keywords
waist
region
horizontal axis
elastic
area
Prior art date
Legal status (The legal status is an assumption and is not a legal conclusion. Google has not performed a legal analysis and makes no representation as to the accuracy of the status listed.)
Ceased
Application number
PCT/JP2014/063534
Other languages
English (en)
French (fr)
Japanese (ja)
Inventor
麻穂 福澤
吉岡 稔泰
Current Assignee (The listed assignees may be inaccurate. Google has not performed a legal analysis and makes no representation or warranty as to the accuracy of the list.)
Unicharm Corp
Original Assignee
Unicharm Corp
Priority date (The priority date is an assumption and is not a legal conclusion. Google has not performed a legal analysis and makes no representation as to the accuracy of the date listed.)
Filing date
Publication date
Application filed by Unicharm Corp filed Critical Unicharm Corp
Publication of WO2014203674A1 publication Critical patent/WO2014203674A1/ja
Anticipated expiration legal-status Critical
Ceased legal-status Critical Current

Links

Images

Classifications

    • AHUMAN NECESSITIES
    • A61MEDICAL OR VETERINARY SCIENCE; HYGIENE
    • A61FFILTERS IMPLANTABLE INTO BLOOD VESSELS; PROSTHESES; DEVICES PROVIDING PATENCY TO, OR PREVENTING COLLAPSING OF, TUBULAR STRUCTURES OF THE BODY, e.g. STENTS; ORTHOPAEDIC, NURSING OR CONTRACEPTIVE DEVICES; FOMENTATION; TREATMENT OR PROTECTION OF EYES OR EARS; BANDAGES, DRESSINGS OR ABSORBENT PADS; FIRST-AID KITS
    • A61F13/00Bandages or dressings; Absorbent pads
    • A61F13/15Absorbent pads, e.g. sanitary towels, swabs or tampons for external or internal application to the body; Supporting or fastening means therefor; Tampon applicators
    • A61F13/45Absorbent pads, e.g. sanitary towels, swabs or tampons for external or internal application to the body; Supporting or fastening means therefor; Tampon applicators characterised by the shape
    • A61F13/49Absorbent pads, e.g. sanitary towels, swabs or tampons for external or internal application to the body; Supporting or fastening means therefor; Tampon applicators characterised by the shape specially adapted to be worn around the waist, e.g. diapers, nappies
    • A61F13/496Absorbent pads, e.g. sanitary towels, swabs or tampons for external or internal application to the body; Supporting or fastening means therefor; Tampon applicators characterised by the shape specially adapted to be worn around the waist, e.g. diapers, nappies in the form of pants or briefs

Definitions

  • This disclosure relates to disposable pull-on wearing articles, and more particularly to disposable pull-on wearing articles suitable for use in low-age children.
  • Patent Document 1 discloses a front and rear waist belt that defines a front and rear waist region, a crotch panel that is connected to the front and rear waist belt and that defines a crotch region, and a liquid absorbing structure that extends to the front and rear waist region around the crotch region.
  • a disposable pull-on (pants-type) wearing article comprising a body is disclosed.
  • the liquid absorption structure includes a front end portion located on the front waist region side, a rear end portion located on the rear waist region side, and a crotch region.
  • the central portion has a central portion that is concave inward, and the area of the rear end portion is larger than the area of the front end portion.
  • the wearer and The wear assistant cannot distinguish the front and rear waist regions from the appearance.
  • the front and rear waist regions cannot be identified in appearance, so that the rear waist region is the front waist region. (Or the front waist area may be mistakenly recognized as the rear waist area) and worn.
  • the front waist region and the rear waist region are worn oppositely (the rear waist region is abdomen), the function of the liquid absorbing structure cannot be exhibited.
  • the wearable article has been devised such as a sign (character or graphic) that can identify the front and rear waist areas, but lighting at night is not sufficiently supplied.
  • a sign character or graphic
  • Such a sign cannot be visually recognized when wearing a worn article at a place.
  • it is not easy to identify the front and back of the worn article when the mothers wear the worn article for the first time in the case of a worn article intended for low-age children from 0 to 100 days after birth.
  • an object of the present invention is to improve a conventional disposable pull-on wearing article, and there is no difference in appearance between the front waist region side and the rear waist region side, and the wearing article capable of exhibiting the required absorption performance and fitability. Is to provide.
  • the present invention has a longitudinal direction and a lateral direction perpendicular thereto, a skin facing surface and a non-skin facing surface located on the opposite side thereof, a first waist region which is one of the front and rear waist regions, A second waist region which is the other, a crotch region located between the first and second waist regions, an elastic waist belt which defines the first and second waist regions and is formed from front and rear waist belts; A crotch panel that is attached to the elastic waist belt and defines at least the crotch region and includes a liquid absorbing structure, and the side edges of the first and second waist regions are connected to each other to connect the waist
  • the present invention relates to a disposable pull-on wearing article in which an opening and a pair of leg openings are defined.
  • the disposable pull-on wearing article according to the present invention includes a horizontal axis that bisects the vertical dimension in a state in which the connection of the side edges of the first and second waist regions is released, and the horizontal axis.
  • the shape of the liquid-absorbing structure is symmetrical with respect to the horizontal axis, and the outer shape of the first area and the outer shape of the second area are formed symmetrically with respect to the horizontal axis.
  • pull-on diaper refers to an article that has a waist opening and a pair of leg openings and that is worn on the wearer's lower torso by inserting the wearer's leg into the leg opening and pulling the diaper up the waist. Point to. Also, the term “disposable” usually refers to being discarded after a single use.
  • the first area and the second area include the form of the liquid absorption structure and the attachment position of the crotch panel to the elastic waist panel. Since it is formed symmetrically with respect to the wearer and / or the wear assistant, the front waist region (or the rear waist region) can be selected from the first and second waist regions without determining the front and rear waist regions. Can be worn on the ventral side (or back side). Therefore, it is possible to quickly perform the wearing operation without the trouble of discriminating the front and rear waist regions.
  • the wearing article fits to the wearer's body and prevents excrement from leaking on the back side even if either of the front and rear areas is arranged on the ventral side (or back side).
  • the movement of the thigh is not obstructed on the front side, no serious problem will occur even if the front waist region is mistakenly arranged on the back side.
  • FIG. 5 is a schematic cross-sectional view taken along line VV in FIG. 2.
  • FIG. 3 is a schematic cross-sectional view taken along line VI-VI in FIG. 2.
  • the following embodiment relates to the diaper shown in FIGS. 1 to 10 and includes not only an indispensable structure of the invention but also a selective and preferable structure.
  • a diaper 10 shown as an example of a disposable pull-on wearing article according to the present invention bisects the dimensions of the longitudinal direction Y and the transverse direction X perpendicular thereto and the transverse direction X extending in the longitudinal direction. It has a vertical axis P and a horizontal axis Q that bisects the dimension of the vertical direction Y extending in the horizontal direction X.
  • the diaper 10 is formed symmetrically with respect to the virtual vertical center line PP.
  • the diaper 10 has a front area (first or second area) 10A extending from the horizontal axis Q toward the front waist area and a rear area (first or second area) extending from the horizontal axis Q toward the rear waist area. ) 10B.
  • the diaper 10 includes a skin-facing surface and a non-skin-facing surface facing the skin, an annular elastic waist belt 11 extending in the direction around the waist, a crotch panel 12 attached to the skin-facing surface of the elastic waist belt 11, and thereby A front waist region (first or second waist region) 13, a rear waist region (first or second waist region) 14, and a crotch region 15 extending in the longitudinal direction Y between the front and rear waist regions 13, 14 respectively.
  • the elastic waist belt 11 includes a front waist belt (first or second waist belt) 16 located in the front waist region 13 and a rear waist belt (first or second waist belt) 17 located in the rear waist region 14. It is configured.
  • the crotch panel 12 includes a liquid absorbing structure 18 that extends in at least the longitudinal direction Y around the crotch region 15, and the crotch region 15 is a front side region 19 located in the front waist region 13 from the horizontal axis Q for convenience of explanation. And a rear side region 20 located on the rear waist region 14 side from the horizontal axis Q.
  • the front and rear waist belts 16 and 17 have substantially the same shape and size, and respectively intersect with the crotch panel 12 and extend in the lateral direction X, and inner end edges 16a and 17a in the longitudinal direction Y. And a laterally long rectangular shape defined by outer end edges 16b, 17b extending in the lateral direction X and spaced apart from each other and side edges 16c, 17c extending in the longitudinal direction Y between the inner and outer end edges 16a, 16b, 17a, 17b. .
  • Each of the side edges 16c of the front waist belt 16 and each of the side edges 17c of the rear waist belt 17 are overlapped with each other and connected by side seams 21 extending intermittently in the longitudinal direction Y.
  • a leg opening 27 is defined (see FIG. 1).
  • the side seam 21 is applied by a known joining means, for example, various heat welding means such as hot embossing / debossing and sonic processing.
  • the front and rear waist belts 16 and 17 include front and rear waist sheets 23 and 24 that are folded in half along a folding line (same as the outer end edges 16b and 17b) extending in the lateral direction X, and Front and rear waist elastic bodies (first or second waist elastic bodies) 25 formed from a plurality of string-like or strand-like elastic materials, which are arranged in a stretched state via a hot-melt adhesive inside. 26.
  • the front and rear waist belts 16 and 17 are elasticized so as to be stretchable at least in the lateral direction X by fixing the front and rear waist elastic bodies to the front and rear waist sheets.
  • the front and rear waist sheets 23 and 24 are preferably breathable, substantially liquid-impervious mass about 15-30 g / m 2 of SMS (spunbond / meltblown / spunbond) fiber nonwoven fabric, spunbond nonwoven fabric, An air-through nonwoven fabric, a plastic sheet, or a laminate sheet of any of the above-described fiber nonwoven fabrics and a moisture-permeable plastic sheet can be used.
  • the front and rear waist sheets 23 and 24 are fixed via, for example, hot melt adhesives that are bent and applied to either one of the opposing surfaces. Further, the front and rear waist sheets 23 and 24 are, for example, hot melt adhesives that are applied to the entire circumferences of the front and rear waist elastic bodies 25 and 26 that are interposed between these sheets, for example, hot melt adhesives.
  • the front and rear waist sheets 23 and 24 are formed from a fiber nonwoven fabric and fixed only via, for example, a hot melt adhesive applied to the entire circumference of the front and rear waist elastic bodies 25 and 26, the front and rear waist sheets were applied to the entire inner surface of the sheet. For example, compared with the case where it is fixed via a hot melt adhesive, the original softness and skin contact of the fiber nonwoven fabric are maintained.
  • the front and rear waist sheets are formed from a single sheet material, but the front and rear waist sheets 23 and 24 may be formed by laminating a plurality of fiber nonwoven fabrics, or the skin facing surface side. And an outer sheet positioned on the non-skin facing surface side.
  • the front waist region 13 includes an outer front elastic region 25A having a plurality of front waist elastic bodies 25 disposed on the crotch region 15 side from the outer end edge 16b, and the outer front elastic region 25A and the inner end edge 16a. It is divided into an inward front elastic region 25B having a plurality of front waist elastic bodies 25 arranged therebetween.
  • the rear waist region 14 includes an outer rear elastic region 26A having a plurality of rear waist elastic bodies 26 arranged on the crotch region 15 side from the outer end edge 17b, and the outer rear elastic region 26A and the inner end edge 17a. It is divided into an inner rear elastic region 26B having a plurality of rear waist elastic bodies 26 arranged therebetween.
  • the outer front and rear elastic regions 25A and 26A each have a length dimension L5 of about 30 to 35% with respect to the length L2 of the longitudinal direction Y of the front and rear waist regions 13 and 14, and the inner front and rear elastic regions 25B and 26B.
  • the front and rear waist elastic bodies 25 and 26 have a fineness of about 400 to 600 dtex, and are about 1.5 to 3.5 times, preferably about 2.0 to 2.5 times from the contracted or relaxed state. Preferably, it can be formed from a string-like or strand-like elastic material stretched 2.2 to 2.3 times. Further, the separation dimension (pitch, distance between the center portions of the elastic bodies) in the longitudinal direction Y between the elastic bodies 25 and 26 is about 5.0 to 10.0 mm, and is at least 6.0 mm or more. Is preferred. The fineness and expansion ratio of the front and rear waist elastic bodies 25 and 26 can be changed as appropriate according to the required contraction force or elongation stress.
  • the infant When the diaper 10 is intended for a young infant, the infant is an infant ( Since the skin is weaker than 3-5 years old, it is preferable to adjust the fineness and expansion ratio of the waist elastic body for lowering the tightening around the waist as compared to general diapers.
  • the elongation stress of the outer front and rear elastic regions 25A and 26A is internal. It is preferable that it is lower than the elongation stress of the front and rear elastic regions 25B and 26B.
  • the 65% elongation stress at the maximum elongation of each of the elastic regions 25A, 25B, 26A, and 26B is 0.8 to 1.2 N for the outer front and rear elastic regions 25A and 26A, respectively.
  • 25B and 26B are preferably 1.4 to 2.0N.
  • ⁇ Method for measuring elongation stress in each elastic region The side seam 21 of the diaper 10 is unwound and brought into an unfolded state as shown in FIG. 2, and each stretchable region is stretched, and the length in the lateral direction X of each elastic region 25A, 25B, 26A, 26B at that time is maximum stretched. Of length. Next, the entire front waist region 13 and the entire rear waist region 14 are cut out from the diaper 10, and each elastic region is cut out from the cut front and rear waist regions 13 and 14 to obtain samples, and the region width of each sample (the vertical direction of the diaper 10). Y dimension) is measured.
  • the sample is fixed in a contracted state between chucks of a tensile tester (manufactured by Shimadzu Corporation) (the initial distance between chucks is set to 100 mm and appropriately adjusted according to the sample), and the sample is subjected to a tensile speed of 100 mm / min.
  • the diaper 10 is stretched in the same direction as the lateral direction X, the load (N) at 65% of the maximum length is measured, and the measured value (N) ⁇ region width (mm) The elongation stress was calculated.
  • the front and rear waist elastic bodies 25 and 26 intersecting with the front and rear end edges 18a and 18b of the liquid absorbing structure 18 exhibit a higher elongation stress than other elastic bodies.
  • the fineness and the expansion ratio are set. Specifically, in the case where the expansion ratio is substantially equal in the entire elastic body in the inner front and rear elastic regions 25B and 26B, the elastic body intersecting with the front and rear end edges 18a and 18b has a fineness of other elastic bodies of about 450 to When it is 500 dtex, it is preferably 550 to 650 dtex.
  • the elastic body intersecting with the front and rear end edges 18a and 18b of the liquid absorbing structure 18 of the front and rear waist elastic bodies 25 and 26 has a relatively high elongation stress.
  • the end edges 18a, 18b can be fitted to the wearer's body and can be prevented from deforming away from the body during wear.
  • the length dimension L1 in the longitudinal direction Y of the diaper 10 is about 320 to 380 mm, and the length dimension W1 in the lateral direction X is about 290 to 350 mm.
  • the length dimension L2 in the longitudinal direction Y of 16 and 17 is about 50 to 90 mm, and the length dimension L3 in the longitudinal direction Y of the crotch area 15 is about 180 to 240 mm.
  • a separation dimension R2 in the longitudinal direction Y between the front edge 12a of the crotch panel 12 and the outer edge 16b of the front waist belt 16 (the rear edge 12b of the crotch panel 12 and the outer edge 17b of the rear waist belt 17) The same is true for the separation dimension R3 in the vertical direction Y) of about 8 to 12 mm.
  • the separation dimension W5 in the lateral direction X between the side edge of the crotch panel 12 and both side edges 16c of the front waist belt 16 and the lateral direction X between the side edge of the crotch panel 12 and both side edges 17c of the rear waist belt 17 are shown.
  • the crotch panel 12 is arranged symmetrically with respect to the horizontal axis Q with respect to the elastic waist belt 11.
  • the elastic bodies 25 c and 26 c positioned on the outermost side in the longitudinal direction Y are slightly from the outer end edges 16 b and 17 b of the front and rear waist belts 16 and 17.
  • the elastic bodies 25d and 26d located on the innermost side in the longitudinal direction Y are spaced farther from the inner end edges 16a and 17a than the distance between the other elastic bodies, Specifically, the separation dimension R1 between the elastic bodies 25d, 26d and the inner end edges 16a, 17a is about 8.0 to 12.0 mm, which is relative to the length dimension L2 of the front and rear waist regions 13,14. About 10 to 15%.
  • the elastic bodies 25c and 26d are slightly separated from the outer end edges 16b and 17b, and the elastic bodies 25d and 26d are separated from the inner end edges 16a and 17a by a given dimension, thereby enabling the front and rear waist belts.
  • the vicinity of the inner and outer end edges 16a, 17a, 16b, and 17b of 16 and 17 has a frill-like appearance, and the diaper 10 can give a flexible impression in appearance.
  • the front and rear waist sheets 23 and 24 are fixed only via a hot melt adhesive applied to the entire circumference of the front and rear waist elastic bodies 25 and 26, the inner edge 16a, 17a is folded back and forth. Since the end edges of the sheets 23 and 24 are overlapped portions without being joined to each other, the inherent flexibility of the fiber nonwoven fabric is maintained, and the region is more flexible and can give a soft impression in appearance. it can.
  • the front and rear waist elastic bodies 25 and 26 are arranged so that the number, fineness, length dimension, and position thereof are symmetrical with respect to the horizontal axis Q, thereby eliminating the difference between the front and rear waist regions 13 and 14 in appearance.
  • components such as the number, fineness, and position may be different in the front and rear waist regions 13 and 14.
  • the crotch panel 12 has a vertically long rectangular shape defined by front and rear end edges 12a and 12b facing each other in the vertical direction Y and both side edges 12c extending in the vertical direction Y between the front and rear end edges 12a and 12b.
  • the crotch panel 12 further includes a front end portion 32 fixed to the inner surface of the front waist belt 16 via a front joint region 30 and a rear end portion 33 fixed to the inner surface of the rear waist belt 17 via a rear joint region 31.
  • an intermediate portion 34 positioned in the crotch region 15, a crotch sheet 36 that forms the outer shape thereof, and a liquid absorbing structure 18 fixed to the inner surface of the crotch sheet 36.
  • the crotch sheet 36 includes an inner sheet (leak-proof sheet) 38 positioned on the skin facing surface side and an outer sheet (covering sheet) 39 positioned on the non-skin facing surface side.
  • the inner and outer surface sheets are formed from various liquid-impervious known fiber nonwoven fabrics, moisture-permeable plastic sheets, or laminates thereof, and are applied to any one of the facing surfaces, for example, hot It is fixed via a melt adhesive.
  • the inner sheet 38 is preferably formed of a liquid-impermeable and moisture-permeable plastic film and has a size that covers at least the entire bottom surface of the liquid-absorbing structure 18.
  • the outer surface sheet 39 is preferably made of a non-liquid-permeable and flexible fiber nonwoven fabric because it is in direct contact with the wearer's skin, and has a larger length dimension in the lateral direction X than the inner surface sheet 38.
  • a central portion 41 joined to the sheet 38 and both side portions 42 located outside the both side edges of the inner surface sheet 38 in the lateral direction X are provided.
  • a part of the outer edge side of both side portions 42 is bent and fixed, and a sleeve 42 a extending in the longitudinal direction Y is formed.
  • a plurality of strings or strands extending in the longitudinal direction Y on both sides of the liquid absorbing structure 18 between the inner sheet 38 and the outer sheet 39 in the central part 41 of the crotch panel 12.
  • the leg elastic bodies 43 are arranged so as to be contractable in an extended state.
  • a plurality of string-like or strand-like cuff elastic bodies 44 extending in the longitudinal direction Y are disposed in the sleeve 42a at both side portions 42 of the outer sheet 39 so as to be contractible in an extended state.
  • the both side portions 42 are bent inward toward the longitudinal axis P along bending lines 45 extending in the vertical direction Y along both side edges of the inner sheet 38, and the front and rear end portions 32, 33 of the crotch panel 12.
  • both side portions 42 are fixed by the front and rear side joint portions 50 and 51, the portion located between the front and rear side joint portions 50 and 51 in the wearing state of the diaper 10 is a liquid absorbing structure by the contraction action of the cuff elastic body 44.
  • Leak-proof cuffs 52 that are spaced apart from 18 and stand up toward the wearer's body are formed.
  • both side portions 42 (leg opening edge portions) of the crotch panel 12 are fitted to the wearer's thigh by the contraction force of the leg elastic body 43, and the leak-proof cuff 52 is contracted by the contraction force of the cuff elastic body 44. Therefore, it is possible to effectively prevent the side leakage of excrement.
  • the innermost elastic body 43 a of the leg elastic bodies 43 is interposed between the inner sheet 38 and the outer sheet 39, and is positioned in the vicinity of the proximal end of the leak-proof cuff 52. Then, the leak-proof cuff 52 is raised upward by the contraction action.
  • the elastic bodies 43b and 43c located outside the elastic body 43a in the lateral direction X are fixed to the folded portion of the outer surface sheet 39, and the contraction force causes the portions to serve as leg opening edges. Fit body.
  • the front and rear side joint portions 50 and 51 extend from the front and rear end edges 12a and 12b of the crotch panel 12 toward the crotch region 15 and extend further inward than the inner end edges 16a and 17a of the front and rear waist belts 16 and 17. ing.
  • the front and rear end portions 50a and 51a of the front and rear side joint portions 50 and 51 extend toward the horizontal axis Q beyond the inner end edges 16a and 17a of the front and rear waist belts 16 and 17, the leak-proof cuff 52 Is located in the crotch region 15.
  • the portion (effective extension portion) that is actually in contact with the wearer's body by the contracting action of the cuff elastic body 44 located between the front and rear side joint portions 50 and 51 of the both side portions 42 is symmetric with respect to the horizontal axis Q.
  • the height C of the leak-proof cuff 52 and the rising position are substantially the same in the front and rear waist regions 13 and 14.
  • the end portion 44a of the cuff elastic body 44 intersects with the front and rear waist elastic bodies 25 and 26 in the inner front and rear elastic regions 25B and 26B, so that the cuff elastic body 44 is expanded and contracted in conjunction with them.
  • the leak-proof cuff 52 stands up to a required height and comes into contact with the wearer's body.
  • the leg elastic body 43 and the cuff elastic body 44 have a fineness of about 400 to 600 dtex and are about 1.5 to 3.5 times, preferably about 2.5 to 3.0 times from the contracted or relaxed state. It can be formed from a string-like or strand-like elastic material that has been stretched in a straight line.
  • the leg elastic body 43 and the cuff elastic body 44 are disposed symmetrically with respect to the longitudinal axis P, and their front and rear end portions intersect with a part of the inner front and rear elastic bodies 25B and 26B.
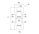
  • the liquid absorbing structure 18 includes front and rear end edges 18 a and 18 b that face each other in the vertical direction Y and extend straight in the horizontal direction X, and both side edges 18 c that are concave inward.
  • a liquid-absorbent core 60 formed from an absorbent / discrete material such as fluff wood pulp or superabsorbent polymer particles, and a liquid-permeable core formed from tissue paper covering the entire liquid-absorbent core 60.
  • a core wrap sheet 61 The absorbent core 60 of the liquid absorbing structure 18 has a substantially uniform mass as a whole, and the masses of the portions arranged in the front area 10A and the rear area 10B of the diaper 10 are substantially the same. Further, as shown in FIG.
  • the swell of the absorbent core 60 is the front and back of the diaper 10 because the joint patterns of the front and rear joint regions 30 and 31 for fixing the liquid absorbing structure 18 to the elastic waist panel 11 are the same.
  • the front and rear sections 10A and 10B are functionally visually recognized in the same manner on the side, and the body fluid can be sufficiently absorbed regardless of which one is used as the front side or the rear side.
  • both side edges 18 c of the liquid absorbing structure 18 are continuously extended from the front and rear end edges 18 a, 18 b so as to bend outwardly extending toward the horizontal axis Q, and from the convex part 63.
  • a concavely curved portion 64 extending inwardly as it goes to the horizontal axis.
  • the concave curved portion 64 has a sharp curve shape as compared with the convex curved portion 63, that is, the concave curved portion 64 has a larger curvature than the convex curved portion 63, and the liquid absorption structure 18 is related to the horizontal axis Q. It has a symmetric shape.
  • a point (change point) 65 where the convex curved part 63 and the concave curved part 64 intersect with each other is located approximately in the center of the front and rear side regions 19 and 20.
  • the side edge 18c Since the shape of the side edges 18c changes gently (slowly) as a whole by the combination of the convex curved part 63 and the concave curved part 64, the side edge 18c is extremely bent or straight at the intersection 65. It does not change in shape. That is, since both side edges 18c have a gentle curve that does not have any straight part in the part, no matter which of the front and rear waist regions 13, 14 is arranged on the abdomen side of the wearer, It is easy to follow the shape of the part, and when the liquid absorbing structure 18 is sandwiched between the thighs in the front waist region, the shape is not greatly deformed. On the other hand, on the back side, the liquid absorption structure 18 is not sandwiched between the thighs and is maintained in a wide state.
  • the liquid absorption structure 18 sufficiently absorbs excrement on the back side. Can hold. That is, even if one of the front and rear waist regions 13 and 14 is used on the ventral side or the dorsal side, the liquid absorption structure 18 fits along the body on the ventral side, and the excrement can be sufficiently discharged on the dorsal side. Can absorb and hold.
  • the dimension L7 in the longitudinal direction Y of the liquid absorbing structure 18 is 240 to 300 mm, for example, and the dimension W2 in the lateral direction X (the dimension in the lateral direction X of the front and rear edges) is 80 to 140 mm, for example.
  • the dimension W3 in the lateral direction X of the narrow part is 50 to 110 mm.
  • the widest part of the liquid absorbing structure 18 is located in the front and rear joining areas 30 and 31 with the front and rear waist belts 16 and 17, so that the liquid absorbing structure is absorbed by the expansion and contraction action of the front and rear waist elastic bodies 25 and 26.
  • the end of the structure 18 is pressed against the wearer's body.
  • the longitudinal dimension Y of the elastic waist belt 11 with respect to the longitudinal dimension L1 of the entire diaper 10 (that is, the longitudinal dimension Y and the rear dimension of the front waist belt 16).
  • the sum of the waist belt 17 and the dimension in the longitudinal direction Y) is about 30 to 50%, preferably about 40%, and the ratio is relatively smaller than that of a normal diaper. Therefore, the diaper 10 does not give a feeling of pressure by tightening the waistline of a low-aged infant who is a wearer in appearance, and can give the impression that the wearer can wear the mother with peace of mind. .
  • the longitudinal Y dimension of the front and rear waist belts 16 and 17 is designed to be relatively small, so that the umbilical portion 70 of the low-age child is not covered with the front waist belt 16 and exposed to the outside. ing.
  • the umbilical portion 70 of a low-age child is slower in development than other parts of the abdomen, and it is preferable to avoid as much as possible from external stimulation because the skin is soft. Compare the dimensions of the front waist belt 16 in the longitudinal direction Y. Since the umbilical portion can be worn while being designed to be small, the umbilic portion is not compressed by the contraction force of the front waist elastic body 25.
  • the dimension L2 in the longitudinal direction Y of the front and rear waist regions 13, 14 is, for example, about 50 to 90%, preferably 60 to 70%. Therefore, in the side view of the diaper 10, the longitudinal dimension Y of the side edge portion of the front and rear waist regions 13, 14 where the side seam 21 is located rises from the side edges 18 c of the liquid absorbing structure 18 toward the body.
  • the size of the front and rear waist regions 13 and 14 in the longitudinal direction Y is different from that of a normal diaper having a size of about twice or more the vertical dimension of the rising portion. .
  • the widest front and rear end portions of the liquid absorbing structure 18 are stretched to the stretching stress of the front and rear waist elastic bodies 25 and 26. Therefore, the diaper 10 is not likely to be displaced during wearing because it is fitted so as to cover the entire thigh with a leg opening edge having a sufficient size.
  • the outer shape S1 of the first area 10A (indicated by a thick line in FIG. 4) and the outer shape S2 of the second area 10B (indicated by a two-dot chain line in FIG. 4) are It is formed symmetrically with respect to Q.
  • the outer shape S1 of the first section 10A extends inwardly from the outer edge 16b and the both side edges 16c of the front waist belt 16 and from the both side edges 16c of the inner end edge 16a. It is demarcated by the part until it intersects with both side edges.
  • the outer shape S2 of the second section 10B has outer end edges 17b and both side edges 17c of the rear waist belt 17 and both side edges of the crotch panel 12 extending inward from both side edges 17c of the inner end edge 17a. It is defined by the part until it intersects. Further, that the outer shape S1 and the outer shape S2 are formed symmetrically with respect to the horizontal axis Q means that if one of them is reversed along the horizontal axis Q, it overlaps the other.
  • “invert one side and overlap the other” means a dimensional difference as long as the manufacturing error and the effect of the present invention are not impaired (for example, the longitudinal Y dimension of the front and rear waist belts 16 and 17 is about 1 to 5 cm). Means that one and the other coincide with each other in terms of position, dimensions, etc. (relative error within 10%).
  • “formed symmetrically about the horizontal axis Q” has a similar meaning.
  • the form of the liquid absorption structure 18 in the first area 10A and the form of the liquid absorption structure 18 in the second area 10B are formed symmetrically with respect to the horizontal axis Q.
  • the outer shape S1 of the first section 10A and the outer shape S2 of the second section 10B are formed symmetrically with respect to the horizontal axis Q, and the form of the liquid absorption structure 18 in the first section 10A and the second section 10B
  • the form of the liquid absorption structure 18 is formed symmetrically with respect to the horizontal axis Q, so that the wearer and / or the wear assistant discriminate between the first area 10A and the second area 10B in appearance.
  • the diaper 10 cannot be identified before and after.
  • the front waist belt 16 and the rear belt have the same shape and the same size, and each component constituting the same is formed symmetrically with respect to the horizontal axis Q. Therefore, in a state where the diaper 10 is bent along the horizontal axis Q so that the inner surfaces of the front side region 19 and the rear side region 20 overlap each other, the constituent elements (the front and rear waist belts 16 and 17, the crotch panel 12).
  • Liquid absorbing structure 18, front and rear waist elastic bodies 25, 26, leg elastic body 43, cuff elastic body 44, etc. are formed in line symmetry with respect to horizontal axis Q, and when they are inverted along the horizontal axis Since the wearer and the wearer cannot further distinguish between the first area 10A and the second area 10B, the diaper 10 is identical in the front and back. It has the form.
  • the diaper 10 there is no structural difference between the front section 10A and the rear section 10B, and the wearer wears the front section 10A on the back side and the rear section 10B on the ventral side.
  • the wearer wears the front section 10A on the back side and the rear section 10B on the ventral side.
  • there is no sense of incongruity in appearance and no major problem is caused in the function of each constituent member. Therefore, since the mother who is a wear assistant can make the infant wear the diaper 10 without the effort of discriminating the front and rear waist regions 13, 14, the wearing operation can be performed more quickly.
  • the diaper 10 includes an identification display 72 formed by coloring the front waist elastic body 25 located in the outer front elastic region 25 ⁇ / b> A such as blue or red.
  • the wear assistant and the wearer have the front waist region 13 on the side where the front waist elastic body 25 on which the identification display 72 is given in the appearance is located (the front area 10 ⁇ / b> A). This can be determined instantaneously and a wearing operation can be performed quickly.
  • the elastic body of the inner front (or rear) elastic region 25B, 26B is colored.
  • the graphic sheet which gave design elements, such as a character, a pattern, a figure, a character, may be arrange
  • the light transmittance is lower than that of other portions formed only from the front waist belt 16.
  • the disclosure relating to the present invention described above can be organized into at least the following matters.
  • the first waist region which is one of the front and rear waist regions, and the other one of the front and rear waist regions, have a longitudinal direction and a lateral direction perpendicular thereto, and a skin facing surface and a non-skin facing surface located on the opposite side.
  • Two waist regions a crotch region located between the first and second waist regions, an elastic waist belt that defines the first and second waist regions and is formed from the first and second waist belts;
  • a crotch panel that is attached to the elastic waist belt and defines at least the crotch region and includes a liquid absorbing structure, and the side edges of the first and second waist regions are connected to each other to connect the waist
  • a horizontal axis that bisects the vertical dimension in a state where the connection between the side edges of the first and second waist regions is released, and a first position that is located on the first waist region side from the horizontal axis.
  • the shape of the liquid absorbing structure in the first zone and the shape of the liquid absorbing structure in the second zone are symmetric with respect to the horizontal axis,
  • the outer shape of the first area and the outer shape of the second area are formed symmetrically with respect to the horizontal axis.
  • the present invention disclosed in the above paragraph can include at least the following embodiments.
  • the embodiments can be adopted separately or in combination with each other.
  • (1) The various sizes of the crotch panel in the front and back waist belts and the first and second sections are the same, and the form of the liquid absorption structure, the attachment position of the crotch panel to the front and back waist belts
  • the first area and the second area are formed symmetrically with respect to the horizontal axis.
  • At least one of the first and second waist regions includes an outer elastic region located on the crotch region side from an outer edge thereof, and the one waist region from an inner end of the outer elastic region.
  • a plurality of waist elastic bodies are disposed in the first and second waist areas, and the number, fineness, and the number of the waist elastic bodies in the first waist area and the second waist area.
  • the stretching magnification and the spacing between the elastic bodies are the same, and are formed symmetrically with respect to the horizontal axis.
  • At least one of the first and second waist regions includes an identification display indicating that it is one of the first and second waist regions.
  • a leak-proof cuff is disposed on the outer side in the lateral direction from both side edges of the liquid absorption structure in the crotch region, and the junction of the leak-proof cuff located in the first and second areas Are located symmetrically with respect to the horizontal axis.
  • the liquid-absorbing structure has both end edges facing in the longitudinal direction and curved side edges positioned between the both end edges, and the both side edges extend from the both end edges to the horizontal axis.
  • a convex curved portion extending outward and curved outward, and a concave curved portion located between and continuous from the convex curved portions and curved inward toward the horizontal axis. .
  • the distance between the side edge of the crotch panel and the side edge of the liquid absorbing structure when the crotch panel is unfolded is the length in the vertical direction of the side edge of the first waist belt. It is larger than the size.
  • Disposable pull-on wearing articles 10A front area (first or second area) 10B rear area (first or second area) 11 Elastic waist belt 12 Crotch panel 13 Front waist area (first or second waist area) 14 Rear waist area (first or second waist area) 15 Crotch area 16 Front waist belt (first or second waist belt) 17 Rear waist belt (first or second waist belt) 18 Liquid-absorbing structures 18a and 18b Front and rear edges 18c of the liquid-absorbing structure Both side edges 22 of the liquid-absorbing structure Waist opening 25 Front waist elastic body (first waist elastic body) 25A Outer front elastic region (first outer elastic region) 25B Inner front elastic region (first inner elastic region) 26 Rear waist elastic body (second waist elastic body) 26A Outer rear elastic region (second outer elastic region) 26B Inner rear elastic region (second inner elastic region) 27 Leg opening 63 Convex part 64 Concave part 72 Identification display Q Horizontal axis X Horizontal direction Y Vertical direction

Landscapes

  • Health & Medical Sciences (AREA)
  • Epidemiology (AREA)
  • Engineering & Computer Science (AREA)
  • Biomedical Technology (AREA)
  • Heart & Thoracic Surgery (AREA)
  • Vascular Medicine (AREA)
  • Life Sciences & Earth Sciences (AREA)
  • Animal Behavior & Ethology (AREA)
  • General Health & Medical Sciences (AREA)
  • Public Health (AREA)
  • Veterinary Medicine (AREA)
  • Absorbent Articles And Supports Therefor (AREA)
PCT/JP2014/063534 2013-07-03 2014-05-22 使い捨てプルオン着用物品 Ceased WO2014203674A1 (ja)

Applications Claiming Priority (2)

Application Number Priority Date Filing Date Title
JP2013-140207 2013-07-03
JP2013140207A JP6320693B2 (ja) 2013-07-03 2013-07-03 使い捨てのパンツ型着用物品

Publications (1)

Publication Number Publication Date
WO2014203674A1 true WO2014203674A1 (ja) 2014-12-24

Family

ID=52104416

Family Applications (1)

Application Number Title Priority Date Filing Date
PCT/JP2014/063534 Ceased WO2014203674A1 (ja) 2013-07-03 2014-05-22 使い捨てプルオン着用物品

Country Status (3)

Country Link
JP (1) JP6320693B2 (enExample)
MY (1) MY170160A (enExample)
WO (1) WO2014203674A1 (enExample)

Families Citing this family (2)

* Cited by examiner, † Cited by third party
Publication number Priority date Publication date Assignee Title
JP6829031B2 (ja) * 2016-08-31 2021-02-10 大王製紙株式会社 パンツタイプ使い捨ておむつ
JP6863254B2 (ja) * 2017-12-07 2021-04-21 王子ホールディングス株式会社 パンツ型おむつ

Citations (3)

* Cited by examiner, † Cited by third party
Publication number Priority date Publication date Assignee Title
JPH10510199A (ja) * 1995-05-12 1998-10-06 ザ、プロクター、エンド、ギャンブル、カンパニー 多方向伸長性サイドパネルを有する使い捨てプルオン式吸収性物品
JP2007296314A (ja) * 2006-04-06 2007-11-15 Uni Charm Corp 使い捨てのパンツ型おむつ
JP2011250893A (ja) * 2010-05-31 2011-12-15 Unicharm Corp 着用物品

Family Cites Families (2)

* Cited by examiner, † Cited by third party
Publication number Priority date Publication date Assignee Title
JP3899474B2 (ja) * 2001-11-07 2007-03-28 株式会社光洋 吸収性物品及びそれを有する使い捨ておむつ並びに吸収性物品の製造方法
JP5065881B2 (ja) * 2007-12-27 2012-11-07 花王株式会社 パンツ型着用物品

Patent Citations (3)

* Cited by examiner, † Cited by third party
Publication number Priority date Publication date Assignee Title
JPH10510199A (ja) * 1995-05-12 1998-10-06 ザ、プロクター、エンド、ギャンブル、カンパニー 多方向伸長性サイドパネルを有する使い捨てプルオン式吸収性物品
JP2007296314A (ja) * 2006-04-06 2007-11-15 Uni Charm Corp 使い捨てのパンツ型おむつ
JP2011250893A (ja) * 2010-05-31 2011-12-15 Unicharm Corp 着用物品

Also Published As

Publication number Publication date
JP6320693B2 (ja) 2018-05-09
MY170160A (en) 2019-07-09
JP2015012933A (ja) 2015-01-22

Similar Documents

Publication Publication Date Title
KR102165947B1 (ko) 팬츠형 기저귀
JP5999878B2 (ja) 使い捨て着用物品
JP5988620B2 (ja) 使い捨て着用物品
JP6449135B2 (ja) 使い捨て着用物品
WO2011081027A1 (ja) 着用物品
EP2554149A1 (en) Disposable article for wearing
JP6534874B2 (ja) 使い捨て着用物品
KR20080112214A (ko) 몸매에 잘 맞는 일회용 팬츠형 흡수 내의
JP5592578B1 (ja) パンツ型の着用物品
JP2015188501A (ja) 吸収性物品
KR102605995B1 (ko) 일회용 착용 물품
EP4378439A1 (en) Underwear-type absorbent article
JP2008253583A (ja) パンツ型使い捨ておむつ
JPH11104180A (ja) 使い捨てパンツ型おむつ
JP6296761B2 (ja) 使い捨て着用物品
WO2014087970A1 (ja) 吸収性物品
TW201713290A (zh) 用後即棄式穿著用物品
TWI759334B (zh) 用後即棄式穿著用物品
JP6320693B2 (ja) 使い捨てのパンツ型着用物品
JP4920892B2 (ja) 使い捨てのパンツ型着用物品
CN107106376B (zh) 一次性尿布
JP6478443B2 (ja) パンツ型の使い捨て着用物品
JP3217272U (ja) 吸収性物品
WO2016136019A1 (ja) 使い捨ておむつ
JP6994913B2 (ja) 使い捨て着用物品

Legal Events

Date Code Title Description
121 Ep: the epo has been informed by wipo that ep was designated in this application

Ref document number: 14812898

Country of ref document: EP

Kind code of ref document: A1

WWE Wipo information: entry into national phase

Ref document number: IDP00201508802

Country of ref document: ID

NENP Non-entry into the national phase

Ref country code: DE

122 Ep: pct application non-entry in european phase

Ref document number: 14812898

Country of ref document: EP

Kind code of ref document: A1