WO2014171069A1 - 地図データ記憶装置、地図データ処理装置、地図データ更新システム - Google Patents

地図データ記憶装置、地図データ処理装置、地図データ更新システム Download PDF

Info

Publication number
WO2014171069A1
WO2014171069A1 PCT/JP2014/001661 JP2014001661W WO2014171069A1 WO 2014171069 A1 WO2014171069 A1 WO 2014171069A1 JP 2014001661 W JP2014001661 W JP 2014001661W WO 2014171069 A1 WO2014171069 A1 WO 2014171069A1
Authority
WO
WIPO (PCT)
Prior art keywords
data
update target
target data
map data
map
Prior art date
Legal status (The legal status is an assumption and is not a legal conclusion. Google has not performed a legal analysis and makes no representation as to the accuracy of the status listed.)
Ceased
Application number
PCT/JP2014/001661
Other languages
English (en)
French (fr)
Japanese (ja)
Inventor
諭二 西出
鈴木 孝光
Current Assignee (The listed assignees may be inaccurate. Google has not performed a legal analysis and makes no representation or warranty as to the accuracy of the list.)
Denso Corp
Original Assignee
Denso Corp
Priority date (The priority date is an assumption and is not a legal conclusion. Google has not performed a legal analysis and makes no representation as to the accuracy of the date listed.)
Filing date
Publication date
Application filed by Denso Corp filed Critical Denso Corp
Priority to CN201480021840.4A priority Critical patent/CN105122331A/zh
Priority to US14/783,259 priority patent/US20160047658A1/en
Publication of WO2014171069A1 publication Critical patent/WO2014171069A1/ja
Anticipated expiration legal-status Critical
Ceased legal-status Critical Current

Links

Images

Classifications

    • GPHYSICS
    • G01MEASURING; TESTING
    • G01CMEASURING DISTANCES, LEVELS OR BEARINGS; SURVEYING; NAVIGATION; GYROSCOPIC INSTRUMENTS; PHOTOGRAMMETRY OR VIDEOGRAMMETRY
    • G01C21/00Navigation; Navigational instruments not provided for in groups G01C1/00 - G01C19/00
    • G01C21/26Navigation; Navigational instruments not provided for in groups G01C1/00 - G01C19/00 specially adapted for navigation in a road network
    • GPHYSICS
    • G01MEASURING; TESTING
    • G01CMEASURING DISTANCES, LEVELS OR BEARINGS; SURVEYING; NAVIGATION; GYROSCOPIC INSTRUMENTS; PHOTOGRAMMETRY OR VIDEOGRAMMETRY
    • G01C21/00Navigation; Navigational instruments not provided for in groups G01C1/00 - G01C19/00
    • G01C21/38Electronic maps specially adapted for navigation; Updating thereof
    • G01C21/3863Structures of map data
    • G01C21/387Organisation of map data, e.g. version management or database structures

Definitions

  • the present disclosure relates to a map data storage device, a map data processing device including the map data storage device, and a map data update system for updating map data of the map data storage device.
  • map data Since map data has a large amount of data even if it is only updated, the amount of data to be communicated becomes a problem when the updated data is distributed wirelessly.
  • the map data generally includes data other than road data such as facility data. Since it is highly necessary to draw the latest road in the map to be drawn, the road data is highly required to be updated. In addition, road data is also required for route calculation. In this respect as well, the road data is highly required to be updated. Compared to this road data, the facility data need not be updated.
  • road data update data is subject to update by wireless communication, but facility data update data may not be subject to update by wireless communication. In this way, it is conceivable to distinguish some types of map data as update target data and the rest as non-update target data.
  • update target difference data new update target data that the map data stored in the storage device of the vehicle navigation device does not have
  • update target difference data new update target data that the map data stored in the storage device of the vehicle navigation device does not have
  • the update target difference data is stored as it is in a country having a legal system for which the updated map data must be approved by the government agency. It will be.
  • map data such as map display or route search
  • the update target difference data is overlaid on the update target data included in the map data (the same type of data as the update target difference data). A matching process is performed.
  • the distribution of the update target difference data is not limited to once, but may be sequentially distributed, for example, every month. All the update target difference data that are sequentially distributed are stored as they are. When a plurality of update target difference data is stored, each time the map data is used, it is necessary to superimpose all of the plurality of update target difference data on the update target data, so that the processing speed is reduced. is there.
  • the update target data stored in the storage device of the vehicle navigation device is replaced with new data that has been approved, that is, new update target data that reflects the contents of the update target differential data. It is possible to end up. By doing so, it is not necessary to perform the overlay process in the process of using the map data.
  • the present inventor examined the following three methods as a method for changing the update target data to new data.
  • the first method is the following method.
  • new data is sequentially created by the map creation company, and the map creation company is authorized each time new map data is created. Therefore, the update target data is extracted from the latest map data created by the map creation company, and the update target data of the map data stored in the storage device of the vehicle navigation device is rewritten.
  • the storage device storing the latest map data and the storage device of the vehicle navigation device are connected by wire.
  • the update target data consists of a number of files. Therefore, if the files constituting the update target data are extracted one by one from the latest map data, and the update target data files stored in the storage device of the vehicle navigation device are rewritten one by one, the rewrite is performed. It may take a very long time to finish.
  • the second method is the following method.
  • the second method is a method in which the entire map data stored in the storage device of the vehicle navigation device is rewritten with the latest map data created by the map creation company.
  • the entire map data composed of a large number of files can be processed as one image file. Therefore, the processing time is much shorter than that of the first method.
  • the storage device storing the latest map data and the storage device of the vehicle navigation device are connected by wire.
  • the second method has the following problems. Since it is expensive to create new map data, updating map data is often charged. As described above, in wireless distribution, only update target difference data is distributed, and non-update target data is not distributed. Therefore, it is conceivable that the user is contracted to pay an update fee only for the update target difference data. Nevertheless, in the second method, the entire map data including non-update data is updated. Therefore, there is a possibility that the user has to pay an update fee even for data that is not subject to update and is not contracted.
  • the third method is the following method. As described in the second method, a user who has contracted to receive distribution of update target difference data has not contracted to pay a fee for updating non-update target data.
  • the non-update target data is not updated, and the map creation company or the like creates map data in which only the update target data is updated.
  • This map data is hereinafter referred to as semi-latest version map data.
  • a method of rewriting the entire map data stored in the storage device of the vehicular navigation apparatus with the entire semi-latest version map data is the third method.
  • the storage device storing the semi-latest version map data and the storage device of the vehicle navigation device are connected by wire. .
  • the third method also rewrites the entire map data, so the processing time can be shortened by creating an image file.
  • this third method has the following problems. That is, for this third method, the map creation company must create semi-latest version map data separately from the latest map data for both the update target data and the non-update target data. May increase.
  • the present disclosure has been made based on this situation, and the object of the present disclosure is to shorten the update processing time of the map data and to suppress the cost burden caused to the user and the map making company. It is to provide a map data storage device, a map data processing device, and a map data update system.
  • a map data storage device is a map data storage device that stores map data including update target data including at least road data and non-update target data, and includes a plurality of partitions.
  • the update target data and the non-update target data are stored in different partitions.
  • the update target data and non-update target data are stored in different partitions, so when updating the update target data together, Since it is only necessary to rewrite the entire partition storing the update target data, the update processing time of the update target data can be shortened.
  • the data to be updated can be only the data to be updated, the cost burden on the user can be reduced.
  • the map creation company does not need to create map data that is used only for rewriting the update target data, and thus can suppress an increase in map creation cost.
  • the map data processing device stores map data including a first version of update target data including at least road data and a first version of non-update target data.
  • a first map data storage device that stores the first version update target data and the first version non-update target data in different partitions, and a wireless communication device that performs wireless communication with the outside.
  • the difference data storage which receives the update object difference data which is the update part of the update object data sequentially by the wireless communication device and stores it in the partition in which the update object data is stored in the first map data storage device A superimposing unit that superimposes the update target data and the update target difference data stored in the processing unit and the first map data storage device A superimposition processing unit that performs the processing every time the predetermined process using the map data, the image file of the update target data of the second version newer than the first version, and the second version of the image file
  • the second version of the update target data image file is read out from the second map data storage device storing the non-update target data image file, and stored in the first map data storage device.
  • the update target data of the first version and the update target difference data are deleted, and the read image file of the update target data of the second version is restored, and the update target data of the first version is stored.
  • an update processing unit for storing in the former partition.
  • a map data update system stores map data including a first version of update target data including at least road data and a first version of non-update target data.
  • a first map data storage device storing the first version update target data and the first version non-update target data in different first partition and second partition, respectively,
  • a second map data storage device storing a second version of the image file of the update target data that is newer than the first version, a second version of the image file of the non-update target data, and the second version Read out the image file of the update target data of the second version from the map data storage device 2 and read out Restore the image file of the second version of the updated data, and an update processing unit of the first version of the updated data is overwritten in the storage partition.
  • FIG. 1 is a configuration diagram of a map data update system.
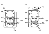
  • FIG. 2 is a diagram illustrating a storage area of the storage unit and a storage area of map data.
  • FIG. 3 is a diagram for explaining the storage contents of the storage area of the USB memory.
  • FIG. 4 is a diagram for explaining processing of the difference data storage processing unit and the update processing unit of FIG.
  • FIG. 5 is a diagram illustrating a first comparative example.
  • FIG. 6 is a diagram illustrating a second comparative example.
  • the map data update system 1 includes a center device 10, a USB memory 20, and an in-vehicle device 100.
  • the in-vehicle device 100 corresponds to an example of a map data processing device, and includes an in-vehicle navigation device 110, a position detector 170, and a wireless communication device 180.
  • the in-vehicle navigation device 110 corresponds to an example of an update processing device, and includes a control unit 120, a USB port 130, an operation unit 140, a storage unit 150, and a display unit 160.
  • the operation unit 140 is a part that the user operates to perform various input operations, such as a mechanical switch arranged at a position where the driver can operate, a touch switch superimposed on the display surface of the display unit 160, and the like. is there.
  • the storage unit 150 corresponds to an example of a first map data storage device, and is a rewritable storage medium such as an SD card.
  • the storage unit 150 stores map data 30A shown in FIG. Although the map data 30A is used, the last alphabet is used to indicate the version. When there is no need to distinguish the versions, the map data 30 is simply written.
  • FIG. 2 also shows the logical structure of the storage area 200 of the storage unit 150.
  • the storage area 200 of the storage unit 150 is divided into first to third partitions 201, 202, and 203.
  • the first partition 201 stores programs and dictionaries.
  • the update target data 31A is stored in the second partition 202
  • the non-update target data 32A is stored in the third partition 203.
  • the last alphabet of the update target data 31A and the non-update target data 32A indicates a version. When there is no need to distinguish between the versions, they are simply expressed as the update target data 31 and the non-update target data 32.
  • the map data 30 includes the update target data 31 and the non-update target data 32. Further, as illustrated in FIG. 2B, the update target difference data 33 ⁇ / b> A is also a part of the configuration of the map data 30. The meaning of the alphabet in the update target difference data 33A is the same as the meaning of the alphabet given to the reference numerals 30, 31, and 32.
  • the number of partitions is three, but the number of partitions is not limited to three, and at least the update target data 31 and the non-update target data 32 can be stored in different partitions. Just do it.
  • the update target data 31 is data that is determined by a contract between a user and a contractor to update to new data for a predetermined period (for example, two years).
  • road data corresponds to the update target data 31.
  • New data of the update target data 31 is update target difference data 33, which is supplied by wireless distribution or the like.
  • the non-update target data 32 is data that is not updated to new data, and is, for example, facility data. There are a plurality of types of data in the map data. Which type of data is the update target data 31 and which type of data is the non-update target data 32 depends on various factors such as the importance of the data and restrictions on the amount of communication. It is preset in consideration of the circumstances. The reason why all types of data are not the update target data 31 and some are the non-update target data 32 is that if all types of data are the update target, the amount of data to be updated becomes too large, and the communication volume This is because a problem arises.
  • the update target data 31 itself is not updated, and an overlay process is performed to superimpose the update target data 31 and the update target difference data 33 when necessary, such as when drawing a map.
  • the update target difference data 33 is sequentially distributed from the center device 10.
  • the user of the in-vehicle device 100 is to pay a predetermined fee in advance in order to obtain the right to sequentially receive the update target difference data 33.
  • the fee to be paid is a fee for the update of the update target data 31 and does not include the fee for acquiring the update of the non-update target data 32.
  • the update target difference data 33 out of the map data can be contracted by making a predetermined payment, and can obtain the right to receive sequentially for a predetermined period.
  • it is necessary to pay a predetermined fee each time By dividing in this way, the user does not have to pay unintended when updating.
  • the method of dividing the update target and the non-update target is not limited to this.
  • the update target difference data 33 is a type of data belonging to the update target data 31, and after the update target data 31 is created (if the update target difference data 33 is created, the update target difference data 33 immediately before This is the part of the data that has been changed.
  • the update target difference data 33 is also stored in the second partition 202 as is the update target data 31. However, when the update target difference data 33 is received from the center apparatus 10, the update target difference data 33 is first stored in the first partition 201 and converted into the same format as the update target data 31. You may make it memorize
  • the display unit 160 is disposed at a position where the driver in the passenger compartment can visually recognize, and a map around the current location is displayed.
  • Each of the position detectors 170 has a known acceleration sensor, gyroscope, and receiver for a satellite positioning system such as GPS (Global Positioning System) that detects the position of the device based on radio waves from the satellite. The current position is sequentially detected.
  • GPS Global Positioning System
  • the wireless communication device 180 is configured to be able to communicate with the wireless communication device 13 of the center apparatus 10 and, for example, communicates by connecting to a wireless network of a mobile phone.
  • the control unit 120 is connected to the operation unit 140, the storage unit 150, the display unit 160, and the USB port 130.
  • the control unit 120 is a computer including a CPU, a ROM, a RAM, and the like.
  • the CPU executes a program stored in the ROM while using the temporary storage function of the RAM, so that the difference data storage processing unit 121 and the overlapping unit are overlapped.
  • the functions of the combination processing unit 122 and the update processing unit 123 are executed. In addition to this, functions that are executed by known navigation devices such as a route search function, a route guidance function, and a map drawing function are also executed.
  • the difference data storage processing unit 121 obtains the update target difference data 33 that is sequentially distributed from the center device 10 and acquired by the wireless communication device 180 of the in-vehicle device 100 from the wireless communication device 180, and the second partition 202 of the storage unit 150. To remember.
  • the superimposition processing unit 122 performs a process of superimposing the update target data 31 and the update target difference data 33 stored in the storage unit 150 every time a predetermined process using the map data 30 is performed.
  • processing using the map data 30 for example, map drawing processing for displaying a map in a range determined by the map scale on the display unit 160 with reference to reference points such as the current location, departure location, destination, etc., route search processing, etc. There is.
  • the update processing unit 123 performs processing for updating the storage content of the second partition 202 to the update target data 31 of the new version.
  • the new version update target data 31 is acquired from the USB memory 20 via the USB port 130. The processing of the update processing unit 123 will be described later with reference to FIG.
  • the center device 10 includes a map storage device 11, a map distribution server 12, and a wireless communication device 13.
  • the map storage device 11 stores the update target difference data 33 described above for distribution from the wireless communication device 13.
  • the map distribution server 12 acquires the update target difference data 33 from the map storage device 11 and distributes the update target difference data 33 from the wireless communication device 13 to the in-vehicle device 100.
  • the wireless communication device 13 is configured to be able to communicate with the wireless communication device 180 of the in-vehicle device 100.
  • the latest update target data 31B and the non-update target data 32B created by the mapping company are image files 31Bi, Stored in 32 Bi.
  • data stored in the first partition 201 of the storage unit 150 is also stored as an image file.
  • the USB memory 20 corresponds to an example of a second map data storage device.
  • FIG. 4 is a diagram for explaining processing of the difference data storage processing unit 121 and the update processing unit 123 of FIG.
  • map data 30 stored in the storage area 200 of the storage unit 150 of the in-vehicle navigation device 110 is shown on the lower side, and map data 30 created by the map creation company is shown on the upper side.
  • a vehicle equipped with the in-vehicle navigation device 110 is sold at the beginning of x year, and the latest version (x year version) of map data 30A at that time, that is, x year version update target data 31A.
  • the non-update target data 32 ⁇ / b> A is stored in the storage area 200 of the storage unit 150.
  • the update target data 31A and the non-update target data 32A are stored in separate partitions 202 and 203.
  • the map creation company creates a new version of map data 30 once a year. Further, the update target difference data 33A described with reference to FIG. 2 is created once a month.
  • the update target difference data 33 ⁇ / b> A created every month is stored in the map storage device 11 of the center device 10. Then, the map distribution server 12 of the center device 10 controls the map storage device 11 and the wireless communication device 13 so that the update target difference data 33A is distributed from the center device 10 to the in-vehicle device 100.
  • the in-vehicle device 100 receives the update target difference data 33A by the wireless communication device 180.
  • the update target difference data 33 ⁇ / b> A received by the wireless communication device 180 is sent to the in-vehicle navigation device 110, and is illustrated by the processing of the difference data storage processing unit 121 as the January delivery point or the February delivery point in FIG. 4.
  • the update target difference data 33 ⁇ / b> A is stored in the second partition 202.
  • the update target data 31A is not updated with the update target difference data 33A, and the update target difference data 33A is only stored in the same second partition 202 as the update target data 31A.
  • the in-vehicle device 100 receives the update target difference data 33 ⁇ / b> A created every month, such as the update target difference data 33 ⁇ / b> A for March and the update target difference data 33 ⁇ / b> A for April, from the center device 10 each time. Received and stored in the second partition 202 of the storage unit 150.
  • the superimposition processing unit 122 executes a process of superimposing the update target data 31A and the update target difference data 33A stored in the storage unit 150 every time a predetermined process using the map data 30 is performed.
  • the plurality of update target difference data 33A are all superimposed on the update target data 31A.
  • the processing time required for the superposition increases, so that the processing time increases, in other words, the processing speed decreases.
  • the latest map data created by the map creation company (the map data 30B of the x + 1 year version in FIG. 4) is stored in the storage unit 150 of the in-vehicle navigation device 110.
  • the update target data (year x) 31A is replaced with the latest update target data 31B.
  • the map creation company creates the x + 1 year version of the map data 30B for the in-vehicle device newly sold in the year x + 1.
  • This map data 30B is divided into update target data (x + 1 year) 31B and non-update target data 32B. In the present embodiment, these are stored in the USB memory 20 as image files 31Bi and 32Bi.
  • the USB memory 20 is placed at a car dealer, for example.
  • the user of the vehicle equipped with the in-vehicle device 100 goes to the car dealer where the USB memory 20 is placed, borrows the USB memory 20, and plugs the USB memory 20 into the USB port 130.
  • the image file 31Bi of the update target data (x + 1 year) 31B stored in the USB memory 20 is copied to the second partition 202 of the storage unit 150, and the image file 31Bi is copied. To restore. Copying of the image file 31Bi can shorten the copy time as compared with the case of copying by specifying files one by one.
  • the image file has the whole partition as one file. Therefore, in the present embodiment, the storage area 200 is divided into a plurality of partitions 201 to 203, and update target data 31A that is data to be replaced and non-update target data 32A that is not to be replaced are separated into separate partitions 202. , 203.
  • the update target difference data 33A stored in the second partition 202 of the storage unit 150 is also deleted together with the update target data (x year) 31A.
  • the update target data (x + 1 year) 31B includes all the data for January to December of the update target data (x year) 31A and the update target difference data 33A, before the image file 31Bi is copied.
  • the update target difference data 33 ⁇ / b> A stored in is no longer necessary. Therefore, there is no problem even if the update target difference data 33A is deleted.
  • storing the update target difference data 33A in the same partition 202 as the update target data (x year) 31A eliminates the need for replacement with the update target data (x + 1 year) 31B.
  • the update target difference data 33A can be deleted simultaneously with the replacement.
  • the USB memory 20 includes not only the image file 31Bi of the update target data 31B but also the image file 32Bi of the non-update target data 32B and an image file obtained by imaging the data stored in the first partition 201 of the storage unit 150. Is also remembered. Therefore, in addition to the process of replacing only the stored contents of the second partition 202, a process of replacing all the data in the first to third partitions 201 to 203 with the latest data (all update process) may be performed. . If the user can select which processing is to be performed by a switch operation or the like, two types of replacement processing can be performed with one USB memory 20.
  • FIG. 5 is a diagram illustrating a first comparative example
  • FIG. 6 is a diagram illustrating a second comparative example.
  • the map data 30 is created in which the update target data (x year) 31A and the non-update target data (x year) 32A are stored in the same partition without dividing the storage area 200 into a plurality of partitions.
  • Store in card 400 This SD card 400 is incorporated into the in-vehicle navigation device 110.
  • map data 30B composed of update target data (x + 1 year) 31B and non-update target data (x + 1 year) 32B is created and stored in the SD card 410.
  • the update target data (x + 1 year) 31B and the non-update target data (x + 1 year) 32B are stored in one partition as in the x year.
  • the USB memory 20 stores the image file 30Bi of the map data 30B.
  • the user Since the non-update target data 32 is also replaced, the user must pay the acquisition fee for the non-update target data 32 as well. However, the user agrees to pay only for the update target data 31.
  • the files constituting the update target data (x + 1 year) 31B are individually extracted from the USB memory 20, and the update target data (x year) 31A of the SD card 400 incorporated in the in-vehicle navigation device 110 is extracted. Will be rewritten individually.
  • the storage area 200 is not divided into a plurality.
  • the mapping company stores the map data 30A in one partition of the SD card 400 in year x, and the SD card 400 is incorporated into the in-vehicle navigation device 110 as in the first comparative example.
  • the difference from the first comparative example is the map data created in year x + 1.
  • the second comparative example not only the map data 30B composed of the update target data 31B and the non-update target data 32B that are both the x + 1 year version, but also the update target data 31B of the x + 1 year version and the non-update target data 32A of the x year version.
  • the semi-latest version map data image file 40B i is stored in the USB memory 20.
  • the map data 30A of the SD card 400 of the in-vehicle navigation device 110 is replaced.
  • the storage content of the SD card 400 of the vehicle-mounted navigation device 110 becomes map data including the update target data (x + 1 year) 31B and the non-update target data (x year) 32A. Therefore, unlike the first comparative example, there is no problem that the user is charged for the acquisition fee of the non-update target data 32 that the user has not agreed to pay. Further, since it is a copy of an image file, there is little problem that the time required for replacement becomes long.
  • the update target data 31 and the non-update target data 32 are stored in different partitions 202 and 203. Therefore, when updating the update target data 31 collectively, the entire partition 202 storing the update target data 31 may be rewritten, so that the update processing time of the update target data 31 can be shortened.
  • the data to be updated can be only the update target data 31, the cost burden on the user can be reduced.
  • the update target data 31 of the latest version of the map data 30 that needs to be created can be used. Therefore, since the map creation company does not need to create map data used only for rewriting the update target data 31, it can suppress an increase in map creation cost.
  • embodiment of this indication is not limited to the above-mentioned embodiment.
  • the following embodiments are also included in the embodiments of the present disclosure, and embodiments other than those described below are also included in the embodiments of the present disclosure without departing from the gist.
  • the USB memory 20 is inserted into the USB port 130 included in the in-vehicle navigation device 110 to update data.
  • the present invention is not limited to this, and the storage medium storing the map data 30 may be taken out from the in-vehicle navigation device 110 and the data may be updated by a device different from the in-vehicle navigation device 110 (Modification 1).
  • the storage medium for storing the map data 30 does not have to be an SD card, and may be another flash memory (Modification 2) or a hard disk (Modification 3).

Landscapes

  • Engineering & Computer Science (AREA)
  • Radar, Positioning & Navigation (AREA)
  • Remote Sensing (AREA)
  • Automation & Control Theory (AREA)
  • Physics & Mathematics (AREA)
  • General Physics & Mathematics (AREA)
  • Databases & Information Systems (AREA)
  • Navigation (AREA)
  • Instructional Devices (AREA)
PCT/JP2014/001661 2013-04-16 2014-03-21 地図データ記憶装置、地図データ処理装置、地図データ更新システム Ceased WO2014171069A1 (ja)

Priority Applications (2)

Application Number Priority Date Filing Date Title
CN201480021840.4A CN105122331A (zh) 2013-04-16 2014-03-21 地图数据存储装置、地图数据处理装置、地图数据更新系统
US14/783,259 US20160047658A1 (en) 2013-04-16 2014-03-21 Map data storage device, map data processing device, and map data updating system

Applications Claiming Priority (2)

Application Number Priority Date Filing Date Title
JP2013-085996 2013-04-16
JP2013085996A JP2014209150A (ja) 2013-04-16 2013-04-16 地図データ記憶装置、地図データ処理装置、地図データ更新システム

Publications (1)

Publication Number Publication Date
WO2014171069A1 true WO2014171069A1 (ja) 2014-10-23

Family

ID=51731033

Family Applications (1)

Application Number Title Priority Date Filing Date
PCT/JP2014/001661 Ceased WO2014171069A1 (ja) 2013-04-16 2014-03-21 地図データ記憶装置、地図データ処理装置、地図データ更新システム

Country Status (4)

Country Link
US (1) US20160047658A1 (enExample)
JP (1) JP2014209150A (enExample)
CN (1) CN105122331A (enExample)
WO (1) WO2014171069A1 (enExample)

Families Citing this family (12)

* Cited by examiner, † Cited by third party
Publication number Priority date Publication date Assignee Title
JP2014209150A (ja) * 2013-04-16 2014-11-06 株式会社デンソー 地図データ記憶装置、地図データ処理装置、地図データ更新システム
KR102107123B1 (ko) * 2014-01-28 2020-05-06 현대엠엔소프트 주식회사 내비게이션 자동 업데이트 장치 및 방법
DE102016211045A1 (de) * 2016-06-21 2017-12-21 Bayerische Motoren Werke Aktiengesellschaft Aktualisierung einer digitalen Karte
KR102568113B1 (ko) * 2016-06-23 2023-08-17 현대오토에버 주식회사 내비게이션 시스템의 지도 업데이트 장치와 방법
DE102016218124A1 (de) * 2016-06-27 2017-12-28 Bayerische Motoren Werke Aktiengesellschaft Navigationssystem für ein Fahrzeug
EP3322149B1 (en) * 2016-11-10 2023-09-13 Tata Consultancy Services Limited Customized map generation with real time messages and locations from concurrent users
WO2018125040A1 (en) * 2016-12-27 2018-07-05 Perry Rachel A computer assisted system, method and application for providing multi-gps based navigational assistance services
US10761841B2 (en) 2018-10-17 2020-09-01 Denso International America, Inc. Systems and methods for identifying source code from binaries using machine learning
CN114008409B (zh) * 2019-06-12 2024-08-20 株式会社电装 地图数据生成装置
US11391577B2 (en) * 2019-12-04 2022-07-19 Pony Ai Inc. Dynamically modelling objects in map
US11914642B2 (en) * 2019-12-30 2024-02-27 Gm Cruise Holdings Llc Difference merging for map portions
CN114445359B (zh) * 2022-01-24 2023-09-08 上海歆广数据科技有限公司 一种网格数据体系中电子地图质量控制系统及方法

Citations (5)

* Cited by examiner, † Cited by third party
Publication number Priority date Publication date Assignee Title
JP2003016469A (ja) * 2001-06-27 2003-01-17 Sharp Corp 画像表示方法、画像表示装置、差分情報管理方法、差分情報管理装置、画像表示システム、及び画像表示プログラム、並びに差分情報管理プログラム
JP2005331579A (ja) * 2004-05-18 2005-12-02 Denso Corp 地図データ更新システム
JP2006126683A (ja) * 2004-11-01 2006-05-18 Hitachi Ltd 差分地図データ配信方法
JP2007085766A (ja) * 2005-09-20 2007-04-05 Sanyo Electric Co Ltd ナビゲーション装置、及び料金検索方法
JP2008250670A (ja) * 2007-03-30 2008-10-16 Aisin Aw Co Ltd データ更新システム及びコンピュータプログラム

Family Cites Families (21)

* Cited by examiner, † Cited by third party
Publication number Priority date Publication date Assignee Title
JP3500928B2 (ja) * 1997-09-17 2004-02-23 トヨタ自動車株式会社 地図データ処理装置、地図データ処理方法および地図データ処理システム
US6615365B1 (en) * 2000-03-11 2003-09-02 Powerquest Corporation Storing a computer disk image within an imaged partition
JP4566413B2 (ja) * 2001-01-10 2010-10-20 三菱電機株式会社 地図情報処理装置
DE10209173C1 (de) * 2002-03-01 2003-04-24 Daimler Chrysler Ag Verfahren zum Aktualisieren von Kartendaten und Navigationssystem
JP4080307B2 (ja) * 2002-11-27 2008-04-23 株式会社ザナヴィ・インフォマティクス 地図情報処理装置および地図情報処理プログラム
JP2004198841A (ja) * 2002-12-19 2004-07-15 Pioneer Electronic Corp ナビゲーション装置及び方法、並びにコンピュータプログラム
JP4065202B2 (ja) * 2003-01-07 2008-03-19 三菱電機株式会社 地図データ処理装置およびセンターシステム
JP4839765B2 (ja) * 2005-10-04 2011-12-21 株式会社デンソー 電子機器、路線地図データ更新システム、及び、路線地図データ管理装置
JP2007132711A (ja) * 2005-11-08 2007-05-31 Aisin Aw Co Ltd ナビゲーション装置、地図サーバ、地図更新システム、地図更新方法および地図更新プログラム
JP4745045B2 (ja) * 2005-12-15 2011-08-10 アルパイン株式会社 ナビゲーション装置
JP5013738B2 (ja) * 2006-04-25 2012-08-29 アルパイン株式会社 地図データ作成装置
JP4682088B2 (ja) * 2006-06-09 2011-05-11 アイシン・エィ・ダブリュ株式会社 地図更新システム及び地図更新方法
JP4682089B2 (ja) * 2006-06-09 2011-05-11 アイシン・エィ・ダブリュ株式会社 地図更新システム及び地図更新方法
JP5001617B2 (ja) * 2006-09-29 2012-08-15 アイシン・エィ・ダブリュ株式会社 地図更新データ供給装置、バージョンテーブル、地図データ更新システム、地図更新データ供給プログラム、及び地図データ更新プログラム
JP4156003B2 (ja) * 2006-10-12 2008-09-24 株式会社ゼンリン 地図情報管理システム及び地図情報配信システム
JP5255893B2 (ja) * 2008-04-28 2013-08-07 クラリオン株式会社 ナビゲーション装置
US8214145B2 (en) * 2009-03-04 2012-07-03 Mitsubishi Electric Corporation Map distribution server, map information terminal, and map distribution system using these map distribution server and map information terminal
JP5402769B2 (ja) * 2010-03-24 2014-01-29 株式会社デンソー ナビゲーション装置における参照地図データ切替方法
CN102376160A (zh) * 2010-08-09 2012-03-14 中国移动通信集团辽宁有限公司 实时交通信息更新方法及系统
CN102800208B (zh) * 2012-08-08 2014-07-02 北京世纪高通科技有限公司 实时交通信息更新方法及装置
JP2014209150A (ja) * 2013-04-16 2014-11-06 株式会社デンソー 地図データ記憶装置、地図データ処理装置、地図データ更新システム

Patent Citations (5)

* Cited by examiner, † Cited by third party
Publication number Priority date Publication date Assignee Title
JP2003016469A (ja) * 2001-06-27 2003-01-17 Sharp Corp 画像表示方法、画像表示装置、差分情報管理方法、差分情報管理装置、画像表示システム、及び画像表示プログラム、並びに差分情報管理プログラム
JP2005331579A (ja) * 2004-05-18 2005-12-02 Denso Corp 地図データ更新システム
JP2006126683A (ja) * 2004-11-01 2006-05-18 Hitachi Ltd 差分地図データ配信方法
JP2007085766A (ja) * 2005-09-20 2007-04-05 Sanyo Electric Co Ltd ナビゲーション装置、及び料金検索方法
JP2008250670A (ja) * 2007-03-30 2008-10-16 Aisin Aw Co Ltd データ更新システム及びコンピュータプログラム

Also Published As

Publication number Publication date
US20160047658A1 (en) 2016-02-18
CN105122331A (zh) 2015-12-02
JP2014209150A (ja) 2014-11-06

Similar Documents

Publication Publication Date Title
WO2014171069A1 (ja) 地図データ記憶装置、地図データ処理装置、地図データ更新システム
US7831383B2 (en) Map display system
US20120130944A1 (en) Map information processing device
JP6036509B2 (ja) 地図差分データ配信システム、地図差分データ配信装置、地図データ保有装置、更新管理サーバ、及び地図差分抽出サーバ
EP1840863A1 (en) Map data updating method
US20130304382A1 (en) Navigation device, navigation method, and program
EP3115747B1 (de) Navigationsanordnung für ein kraftfahrzeug
US11592314B2 (en) Information processing device, path guidance device, information processing method, and computer-readable storage medium
JP6136511B2 (ja) 地図差分データ配信装置、車両用ナビゲーション装置、および地図差分データ配信方法
CN101315285A (zh) 地图更新系统及地图更新方法
US11698266B2 (en) Displaying maneuvering instructions along a route
JP2014209073A (ja) 地図差分データ配信装置、地図差分データ配信方法、車両用ナビゲーション装置
JP6142638B2 (ja) 地図差分データ配信システム、地図差分データ配信装置、及び地図差分抽出サーバ
JP5284697B2 (ja) 情報処理装置、情報処理方法、情報処理プログラムおよび記録媒体
EP2360451A2 (en) Navigation device and map data product
US20160196282A1 (en) Storage medium, map information processing apparatus, and data generation method
JP4892394B2 (ja) 車載装置
JP2015082045A (ja) 地図データ配信システム、サーバ、及びナビゲーション装置
EP2717015B1 (en) Seamless display of objects
JP2014209072A (ja) 地図差分データ配信装置、車両用ナビゲーション装置の機能低下判定方法、車両用ナビゲーション装置
US20190162547A1 (en) Information Processing Device and Travel Control System
JP2010128686A (ja) 情報出力装置、情報出力方法、情報出力プログラムおよび記録媒体
JP2009058542A (ja) 情報報知装置、情報報知方法、情報報知プログラムおよび記録媒体
JP6833269B2 (ja) ナビゲーション装置
EP3070434B1 (en) Information processing device and information processing method

Legal Events

Date Code Title Description
WWE Wipo information: entry into national phase

Ref document number: 201480021840.4

Country of ref document: CN

121 Ep: the epo has been informed by wipo that ep was designated in this application

Ref document number: 14785300

Country of ref document: EP

Kind code of ref document: A1

WWE Wipo information: entry into national phase

Ref document number: 14783259

Country of ref document: US

NENP Non-entry into the national phase

Ref country code: DE

122 Ep: pct application non-entry in european phase

Ref document number: 14785300

Country of ref document: EP

Kind code of ref document: A1