WO2014136818A1 - 血圧測定用カフ、および、血圧測定用カフの製造方法 - Google Patents

血圧測定用カフ、および、血圧測定用カフの製造方法 Download PDF

Info

Publication number
WO2014136818A1
WO2014136818A1 PCT/JP2014/055567 JP2014055567W WO2014136818A1 WO 2014136818 A1 WO2014136818 A1 WO 2014136818A1 JP 2014055567 W JP2014055567 W JP 2014055567W WO 2014136818 A1 WO2014136818 A1 WO 2014136818A1
Authority
WO
WIPO (PCT)
Prior art keywords
curler
blood pressure
air bag
cuff
pressure measurement
Prior art date
Legal status (The legal status is an assumption and is not a legal conclusion. Google has not performed a legal analysis and makes no representation as to the accuracy of the status listed.)
Ceased
Application number
PCT/JP2014/055567
Other languages
English (en)
French (fr)
Japanese (ja)
Inventor
谷口 実
智則 湯浅
雅規 原田
為夫 芦田
知里 上坂
角田 亘
Current Assignee (The listed assignees may be inaccurate. Google has not performed a legal analysis and makes no representation or warranty as to the accuracy of the list.)
Omron Healthcare Co Ltd
Original Assignee
Omron Healthcare Co Ltd
Priority date (The priority date is an assumption and is not a legal conclusion. Google has not performed a legal analysis and makes no representation as to the accuracy of the date listed.)
Filing date
Publication date
Application filed by Omron Healthcare Co Ltd filed Critical Omron Healthcare Co Ltd
Priority to BR112015021361-8A priority Critical patent/BR112015021361B1/pt
Priority to CN201480010800.XA priority patent/CN105142507B/zh
Priority to DE112014001127.4T priority patent/DE112014001127T5/de
Publication of WO2014136818A1 publication Critical patent/WO2014136818A1/ja
Priority to US14/818,961 priority patent/US11478161B2/en
Anticipated expiration legal-status Critical
Priority to US15/930,763 priority patent/US11596318B2/en
Ceased legal-status Critical Current

Links

Images

Classifications

    • AHUMAN NECESSITIES
    • A61MEDICAL OR VETERINARY SCIENCE; HYGIENE
    • A61BDIAGNOSIS; SURGERY; IDENTIFICATION
    • A61B5/00Measuring for diagnostic purposes; Identification of persons
    • A61B5/02Detecting, measuring or recording for evaluating the cardiovascular system, e.g. pulse, heart rate, blood pressure or blood flow
    • A61B5/021Measuring pressure in heart or blood vessels
    • A61B5/022Measuring pressure in heart or blood vessels by applying pressure to close blood vessels, e.g. against the skin; Ophthalmodynamometers
    • AHUMAN NECESSITIES
    • A61MEDICAL OR VETERINARY SCIENCE; HYGIENE
    • A61BDIAGNOSIS; SURGERY; IDENTIFICATION
    • A61B5/00Measuring for diagnostic purposes; Identification of persons
    • A61B5/02Detecting, measuring or recording for evaluating the cardiovascular system, e.g. pulse, heart rate, blood pressure or blood flow
    • A61B5/021Measuring pressure in heart or blood vessels
    • A61B5/022Measuring pressure in heart or blood vessels by applying pressure to close blood vessels, e.g. against the skin; Ophthalmodynamometers
    • A61B5/02233Occluders specially adapted therefor
    • AHUMAN NECESSITIES
    • A61MEDICAL OR VETERINARY SCIENCE; HYGIENE
    • A61BDIAGNOSIS; SURGERY; IDENTIFICATION
    • A61B5/00Measuring for diagnostic purposes; Identification of persons
    • A61B5/68Arrangements of detecting, measuring or recording means, e.g. sensors, in relation to patient
    • A61B5/6801Arrangements of detecting, measuring or recording means, e.g. sensors, in relation to patient specially adapted to be attached to or worn on the body surface
    • A61B5/683Means for maintaining contact with the body
    • AHUMAN NECESSITIES
    • A61MEDICAL OR VETERINARY SCIENCE; HYGIENE
    • A61BDIAGNOSIS; SURGERY; IDENTIFICATION
    • A61B2562/00Details of sensors; Constructional details of sensor housings or probes; Accessories for sensors
    • A61B2562/12Manufacturing methods specially adapted for producing sensors for in-vivo measurements

Definitions

  • the present invention relates to a blood pressure measurement cuff, and more particularly, to a blood pressure measurement cuff provided with a curler having a shape along a region to be measured.
  • the present invention also relates to a method for manufacturing a blood pressure measurement cuff, and more particularly, to a method for manufacturing a blood pressure measurement cuff provided with a curler having a shape along a region to be measured.
  • Patent Document 1 International Publication No. 2011/081029 pamphlet
  • a blood pressure measurement cuff provided with a curler between an outer cloth (exterior cover) and an air bag.
  • This curler has a shape along a measurement site such as an arm in a natural state. Thereby, the cuff can be easily attached to the measurement site.
  • FIG. 29 is a plan view of the expanded state of the cuff shown in Patent Document 1
  • FIG. 30 is a cross-sectional view taken along line A-A ′ of FIG.
  • the cuff 900 in the region R1 where the fluid bag (air bag) is formed, includes the air bag 903 and the curler 904, and the first outer cloth 901a and the first inner cloth 901b. It is enclosed in a bag-like outer cover.
  • slippery inner sheets 905a and 905b are added between the first outer cloth 901a and the curler 904 and between the curler 904 and the air bag 903, respectively.
  • the two internal sheets 905a and 905b are added for the following reason.
  • the air bag 903 tends to deform.
  • the air bag 903 is often prevented from being deformed by a frictional force generated at a contact point with another member.
  • two internal sheets 905a and 905b are added between members in which generation of noise is a concern in order to prevent generation of noise that adversely affects blood pressure measurement.
  • an object of the present invention is to provide a blood pressure measurement cuff that can suppress the generation of noise during expansion and contraction with a simpler configuration.
  • Another object of the present invention is to provide a method for manufacturing a blood pressure measurement cuff capable of suppressing the generation of noise during expansion and contraction with a simpler configuration.
  • a blood pressure measurement cuff attached to surround the measurement site, A curler that is curved and flexible along the measurement site in the natural state; An air bag surrounding the inside and outside of the curler and enclosing the curler; An inner cloth attached to the outer surface of the measurement site side of the air bag; An outer cloth affixed to the outer surface of the air bag opposite to the measurement site; It is characterized by having.
  • the curler has a shape along a measurement site such as an arm in a natural state. Thereby, the cuff can be easily attached to the measurement site.
  • the air bag is attached to the inner cloth and the outer cloth, and the curler is included in the air bag. Therefore, as long as the air bag contains air (pressure air) that is higher than the atmospheric pressure of the surrounding environment, a force to deform and displace the air bag so as to move away from the curler acts. Therefore, when the cuff is inflated or contracted in blood pressure measurement, the curler is not strongly compressed by the air bag.
  • At least one circumferential end in the circumferential direction surrounding the measurement target portion of the curler is more than a corner portion in which the central portion in the width direction substantially perpendicular to the circumferential direction exists on both sides in the width direction. Is also retracted in the circumferential direction.
  • the central portion in the width direction is retracted from the corner portion at the peripheral end of the curler.
  • the air bag in the peripheral part of the air bag located in the vicinity of the central part, the air bag can be displaced and deformed so as to enter the central part of the curler. Therefore, when the air bag is inflated, the air bag in the vicinity of the peripheral part can be greatly deformed toward the measurement site so that the peripheral part of the air bag approaches the central part. Even in the vicinity of the peripheral edge, the cuff can press the measurement site well.
  • the air bag is formed by welding the peripheral portions of two airtight sheet members.
  • the blood pressure measurement cuff according to an embodiment further includes a positioning portion that fixes a relative positional relationship between the curler and the air bag.
  • the curler can be prevented from moving in the air bag.
  • the blood pressure measurement cuff according to one embodiment further includes a nipple for supplying and exhausting air, and the positioning portion is a protrusion formed on the outer surface of the curler and fitted inside the nipple. .
  • the blood pressure measurement cuff according to this embodiment can prevent the curler from moving in the air bag with a very simple configuration.
  • the positioning portion is a seat member attached to the inner surface of the air bag, and the curler is attached to the seat member so that the relative positional relationship with the air bag is fixed. It is characterized by.
  • the blood pressure measurement cuff according to this embodiment can prevent the curler from moving in the air bag with a very simple configuration.
  • the positioning portion is a sheet member sandwiched between two airtight sheet members forming an air bag and welded and fixed to the air bag, and the curler is attached to the sheet member. And the relative positional relationship with the air bag is fixed.
  • the blood pressure measurement cuff according to this embodiment can prevent the curler from moving in the air bag with a very simple configuration.
  • the sheet member is welded and fixed to the air bag at a part of the peripheral edge in the longitudinal direction parallel to the circumferential direction surrounding the measurement site of the air bag. .
  • the blood pressure measurement cuff according to this embodiment can prevent the curler from moving in the air bag with a very simple configuration.
  • the sheet member is welded and fixed to the air bag at a part of the peripheral edge in the width direction substantially perpendicular to the circumferential direction surrounding the measurement site of the air bag.
  • the blood pressure measurement cuff according to this embodiment can prevent the curler from moving in the air bag with a very simple configuration.
  • a method for producing a blood pressure measurement cuff includes: A method for manufacturing a blood pressure measurement cuff to be worn so as to surround a measurement site, Providing an outer cloth provided with a first airtight sheet member for forming an air bag and an inner cloth provided with a second airtight sheet member for forming an air bag; A step of welding the first airtight sheet member and the second airtight sheet member to form a bag-shaped portion, and the bag-shaped portion has at least a part of the peripheral edge portion opened as an opening; A step of inserting the curler into the bag-shaped portion through the opening; Welding the opening of the bag-shaped part to form an air bag; It is characterized by having.
  • the blood pressure measurement cuff can be manufactured easily and inexpensively.
  • the step of inserting the curler into the bag-shaped portion includes: First, a sub-step of inserting a flat plate-shaped curler insertion auxiliary plate into the bag-shaped portion through the opening, Next, the curler is pressed against the curler insertion auxiliary plate and elastically deformed into a substantially flat plate shape, and is slid on the plate and inserted into the bag-shaped portion through the opening, and And a sub-step for taking out the curler insertion auxiliary plate from the bag-shaped portion through the opening.
  • the curler can be inserted into the air bag very easily.
  • the step of inserting the curler into the bag-shaped portion includes: First, the curler is elastically deformed and sandwiched between two flat plate-shaped curler insertion auxiliary plates and inserted into the bag-shaped portion through the opening. Steps, A sub-step of taking out two curler insertion auxiliary plates from the bag-shaped portion through the opening.
  • the curler can be inserted into the air bag very easily.
  • the step of fitting the protrusion formed on the outer surface of the curler into the inside of the nipple disposed on the outer cloth is characterized by having.
  • the blood pressure measurement cuff in which the curler is prevented from moving in the air bag can be manufactured by a simple process.
  • the step of forming the bag-shaped portion includes the step of forming a third sheet member between the first sheet member and the second sheet member at a part of the peripheral edge portion in the longitudinal direction parallel to the circumferential direction surrounding the measurement site of the bag-shaped portion. Welded across, Furthermore, the method includes the step of attaching the curler to the third sheet member after the step of inserting the curler into the bag-shaped portion and before the step of forming the air bag.
  • the blood pressure measurement cuff in which the curler is prevented from moving in the air bag can be manufactured by a simple process.
  • a step of attaching the third sheet member to the inner surface of the bag-shaped portion is provided after the step of inserting the curler into the bag-shaped portion and before the step of forming the air bag.
  • the blood pressure measurement cuff in which the curler is prevented from moving in the air bag can be manufactured by a simple process.
  • the step of attaching the third sheet member to the curler In the step of forming the air bag, the third sheet member is disposed between the first sheet member and the second sheet member in a part of the width direction substantially perpendicular to the circumferential direction surrounding the measurement site of the bag-shaped portion. It is characterized by being sandwiched and welded.
  • the blood pressure measurement cuff in which the curler is prevented from moving in the air bag can be manufactured by a simple process.
  • the blood pressure measurement cuff of the present invention it is possible to suppress the occurrence of noise during expansion and contraction that hinders blood pressure measurement.
  • a blood pressure measurement cuff of the present invention it is possible to manufacture a blood pressure measurement cuff that can suppress the generation of noise during expansion and contraction that hinders blood pressure measurement easily and inexpensively.
  • A a plan view of the blood pressure measurement cuff according to the first embodiment in a developed state
  • (b): Elevated view of the inner cloth The perspective view of the curler of the cuff for blood pressure measurement of the first embodiment
  • Schematic diagram showing the relationship between the circumferential length of the curler and the circumference of the part to be measured (A): Schematic diagram showing the action of the depression at the central part of the curler peripheral edge (inflated state), (b): Schematic figure showing the action of the depression at the central part
  • the schematic diagram which illustrates the manufacturing process of the cuff for blood pressure measurement of a 1st embodiment The schematic diagram which illustrates the manufacturing process of the cuff for blood pressure measurement of a 1st embodiment.
  • the schematic diagram which illustrates the manufacturing process of the cuff for blood pressure measurement of a 1st embodiment The schematic diagram which illustrates the manufacturing process of the cuff for blood pressure measurement of a 1st embodiment.
  • FIG. 1 A): a plan view of the blood pressure measurement cuff according to the second embodiment in a developed state
  • the perspective view of the curler of the cuff for blood pressure measurement of 2nd Embodiment A): The figure which shows the cross-sectional shape example of the projection part (positioning part) of a curler
  • Flow chart of manufacturing process of blood pressure measurement cuff of second embodiment The schematic diagram which illustrates the manufacturing process of the cuff for blood pressure measurement of 2nd Embodiment.
  • the schematic diagram which illustrates the manufacturing process of the cuff for blood pressure measurement of 2nd Embodiment The schematic diagram which illustrates the manufacturing process of the cuff for blood pressure measurement of 2nd Embodiment.
  • the schematic diagram which illustrates the manufacturing process of the cuff for blood pressure measurement of 2nd Embodiment The schematic diagram which illustrates the manufacturing process of the cuff for blood pressure measurement of 2nd Embodiment.
  • the schematic diagram which illustrates the manufacturing process of the cuff for blood pressure measurement of 2nd Embodiment The schematic diagram which illustrates the manufacturing process of the cuff for blood pressure measurement of 2nd Embodiment.
  • the schematic diagram which illustrates the manufacturing process of the cuff for blood pressure measurement of 2nd Embodiment The schematic diagram which illustrates the manufacturing process of the cuff for blood pressure measurement of 2nd Embodiment.
  • FIG. 1 A): a plan view of a developed state of a blood pressure measurement cuff according to the third embodiment
  • the perspective view of the positioning part of 3rd Embodiment Flow chart of manufacturing process of blood pressure measurement cuff of the third embodiment
  • the schematic diagram which illustrates the manufacturing process of the cuff for blood pressure measurement of 3rd Embodiment.
  • the schematic diagram which illustrates the manufacturing process of the cuff for blood pressure measurement of 3rd Embodiment.
  • the schematic diagram which illustrates the manufacturing process of the cuff for blood pressure measurement of 3rd Embodiment The schematic diagram which illustrates the manufacturing process of the cuff for blood pressure measurement of 3rd Embodiment.
  • the schematic diagram which illustrates the manufacturing process of the cuff for blood pressure measurement of 3rd Embodiment The schematic diagram which illustrates the manufacturing process of the cuff for blood pressure measurement of 3rd Embodiment.
  • the schematic diagram which illustrates the manufacturing process of the cuff for blood pressure measurement of 3rd Embodiment The schematic diagram which illustrates the manufacturing process of the cuff for blood pressure measurement of 3rd Embodiment.
  • the perspective view of the positioning part of 4th Embodiment Flow chart of manufacturing process of blood pressure measurement cuff of the fourth embodiment
  • the schematic diagram which illustrates the manufacturing process of the cuff for blood pressure measurement of 4th Embodiment.
  • the schematic diagram which illustrates the manufacturing process of the cuff for blood pressure measurement of 4th Embodiment.
  • the schematic diagram which illustrates the manufacturing process of the cuff for blood pressure measurement of 4th Embodiment.
  • the schematic diagram which illustrates the manufacturing process of the cuff for blood pressure measurement of 4th Embodiment The schematic diagram which illustrates the manufacturing process of the cuff for blood pressure measurement of 4th Embodiment.
  • the schematic diagram which illustrates the manufacturing process of the cuff for blood pressure measurement of 4th Embodiment.
  • FIG. 1 The schematic diagram which illustrates the manufacturing process of the cuff for blood pressure measurement of 4th Embodiment.
  • A a plan view of the blood pressure measurement cuff according to the fifth embodiment in a developed state
  • the schematic diagram which illustrates the manufacturing process of the cuff for blood pressure measurement of 5th Embodiment The schematic diagram which illustrates the manufacturing process of the cuff for blood pressure measurement of 5th Embodiment
  • the schematic diagram which illustrates the manufacturing process of the cuff for blood pressure measurement of 5th Embodiment The schematic diagram which illustrates the manufacturing process of the cuff for blood pressure measurement of 5th Embodiment
  • the schematic diagram which illustrates the manufacturing process of the cuff for blood pressure measurement of 5th Embodiment The schematic diagram which illustrates the manufacturing process of the cuff for blood pressure measurement of 5th Embodiment
  • the schematic diagram which illustrates the manufacturing process of the cuff for blood pressure measurement of 5th Embodiment The schematic diagram which illustrates the manufacturing process of the cuff for blood pressure measurement of 5th Embodiment
  • the schematic diagram which illustrates the manufacturing process of the cuff for blood pressure measurement of 5th Embodiment (A): a plan view of the blood pressure measurement cuff according to the sixth embodiment
  • the perspective view of the positioning part of 6th Embodiment Flow chart of manufacturing process of blood pressure measurement cuff of sixth embodiment
  • the schematic diagram which illustrates the manufacturing process of the cuff for blood pressure measurement of 6th Embodiment
  • the schematic diagram which illustrates the manufacturing process of the cuff for blood pressure measurement of 6th Embodiment
  • the schematic diagram which illustrates the manufacturing process of the cuff for blood pressure measurement of 6th Embodiment
  • the schematic diagram which illustrates the manufacturing process of the cuff for blood pressure measurement of 6th Embodiment The schematic diagram which illustrates the manufacturing process of the cuff for blood pressure measurement of 6th Embodiment
  • the schematic diagram which illustrates the manufacturing process of the cuff for blood pressure measurement of 6th Embodiment
  • the schematic diagram which illustrates the manufacturing process of the cuff for blood pressure measurement of 6th Embodiment
  • the schematic diagram which illustrates the manufacturing process of the cuff for blood pressure measurement of 6th Embodiment
  • the curler has a shape along a measurement site such as an arm in a natural state. Thereby, the cuff can be easily attached to the measurement site. Further, in this cuff, the outer cloth and the inner cloth, which are exterior members, and the air bag are integrated, and the curler is included in the air bag. By doing so, when the cuff is inflated and contracted, the outer cloth, the inner cloth and the air bag are integrally deformed and displaced. Therefore, the relative positional relationship between the outer cloth and the inner cloth and the air bag does not shift. Therefore, noise that inhibits blood pressure measurement during expansion / contraction does not occur between the outer cloth and the inner cloth and the air bag.
  • the curler since the curler is included in the air bag, as long as the pressurized air exists in the air bag, a force that deforms and displaces in the direction away from the curler acts on the air bag.
  • the curler when the cuff is inflated or contracted for blood pressure measurement, the curler is not strongly compressed by the air bag. Therefore, at the contact point between the curler and the air bag, a large static friction force that can antagonize a large shear stress does not occur. Therefore, at the same point of contact, a large amount of noise is not generated to the extent that sudden displacement deformation occurs and disturbs blood pressure measurement.
  • the blood pressure measurement cuff according to the embodiment of the present invention has been conventionally required to sew an outer cloth and an inner cloth, which are exterior members (molding a bag-shaped exterior cover from two sheet-shaped exterior members). Step) can be omitted. Therefore, the blood pressure measurement cuff is advantageous in terms of manufacturing cost.
  • FIG. 1 shows a plan view (a) of a developed state of a cuff for blood pressure measurement (hereinafter abbreviated as “cuff”) according to a first embodiment of the present invention, and a line AA ′ in FIG. It is sectional drawing along (b).
  • cuff a developed state of a cuff for blood pressure measurement
  • the cuff 100 has an elongated and flat band shape.
  • the cuff 100 is attached to the measurement site by engaging the surface fastener 107 and the outer cloth 101B around the measurement site along the longitudinal direction thereof.
  • the measurement site is, for example, a human upper arm, but the measurement site is not limited to this.
  • the outer cloths 101A and 101B are exterior members that become outside when the cuff 100 surrounds the measurement site.
  • the exterior member which becomes an outer side consists of two members, the outer cloth 101A and the outer cloth 101B, and is one by stitching 100s.
  • the outer exterior member may be a single member having a shape formed when the outer cloth 101A and the outer cloth 101B are sewn. In that case, the stitching 100s can be omitted.
  • a nipple 110 is disposed on the outer cloth 101B as a means for supplying and exhausting air.
  • an airtight sheet member 102 is attached to and integrated with one side of the outer fabrics 101A and 101B.
  • those in which the airtight sheet 102 is attached to each of the outer cloths 101A and 101B are referred to as outer members 103A and 103B.
  • the inner cloth 105 is an exterior member that becomes the inner side (measurement site side) when surrounding the measurement site.
  • a hook-and-loop fastener 107 that engages with the outer cloths 101A and 101B is attached to the inner cloth 105.
  • An airtight sheet member 104 is attached to and integrated with the surface of the inner fabric 105 opposite to the surface fastener 107.
  • a member in which the airtight sheet 104 is attached to the inner cloth 105 is referred to as an inner member 106.
  • the airtight sheet 102 of the outer member 103B and the airtight sheet 104 of the inner member 106 are joined by being welded at the peripheral weld portion 100w and the intermediate weld portion 100wa, thereby forming an air bag 111.
  • a curler 109 that is curved and flexible so as to follow the measurement site in a natural state is included.
  • the length of the curler 109 in the circumferential direction H is approximately the same as the length of the air bag 111 in the circumferential direction H. This is advantageous in that, for example, the curler 109 is prevented from moving around in the air bag 111 when the user handles the cuff 100.
  • the curler 109 has an end portion in the circumferential direction H (a circumferential end (the right end of the curler 109 in FIG.
  • FIG. 2 is a cross-sectional view of the cuff 100 in a state where the cuff 100 is wound around the measurement site B and fixed, and air is injected into the air bag 111.
  • the air bladder 111 when air is supplied to the air bladder 111, the air bladder 111 is deformed / displaced in a direction away from the curler 109. Therefore, as indicated by the arrow P, the curler 109 is not strongly pressed by the air bag 111 when the cuff 100 is expanded or contracted. Therefore, even if both come into contact with the expansion and contraction of the air bag 111, the force acting on the contact is kept extremely small.
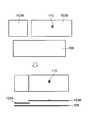
  • FIG. 3 is a plan view ((a)) and an elevation view ((b)) of the outer members 103A and 103B.
  • the outer members 103A and 103B are formed by attaching an airtight sheet 102 to the outer cloths 101A and 101B.
  • the outer fabrics 101A and 101B are brushed fabrics made of polyester or nylon. Further, it is possible to form the outer cloths 101A and 101B using other materials.
  • the airtight sheet 102 is a polyvinyl chloride (PVC) sheet member. Further, the airtight sheet 102 can be formed using other materials. In order to attach the airtight sheet 102 to the outer cloths 101A and 101B, PVC may be laminated on the outer cloths 101A and 101B, or molten PVC may be appropriately applied to the outer cloths 101A and 101B. Alternatively, a sheet-like PVC, that is, the airtight sheet 102 itself may be attached to the outer fabrics 101A and 101B using an adhesive. In the present invention, the method for attaching the airtight sheet 102 to the outer cloth 101A, 101B is not limited at all.
  • FIG. 4 is a plan view ((a)) and an elevation view ((b)) of the inner member 106.
  • the inner member 106 is formed by attaching an airtight sheet 104 to the inner cloth 105.
  • the inner cloth 105 is a fabric made of polyester or nylon, like the outer cloths 101A and 101B. Further, the inner cloth 105 can be formed using other materials. It is desirable that the inner cloth 105 is richer in elasticity than the outer cloths 101A and 101B. The stretchability of the outer cloths 101A and 101B and the inner cloth 105 can be adjusted by selecting the weaving method without depending on the selection of the material.
  • the airtight sheet 104 is a sheet member made of polyvinyl chloride (PVC), like the outer members 103A and 103B. Further, the airtight sheet 104 can be formed using other materials. In order to attach the airtight sheet 104 to the inner cloth 105, PVC may be laminated on the inner cloth 105, or molten PVC may be applied to the inner cloth 105. Alternatively, a sheet-like PVC, that is, the airtight sheet 104 itself may be attached to the inner cloth 105 using an adhesive. In the present invention, there is no limitation on the method for attaching the airtight sheet 104 to the inner cloth 105.
  • PVC polyvinyl chloride
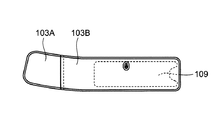
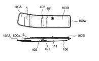
  • FIG. 5A is a perspective view of the curler 109.
  • the curler 109 is a flexible member that has a curved shape along the direction surrounding the measurement site (along the circumferential direction H) in a natural state. Further, the curler 109 has a concave portion 109h that is recessed in the circumferential direction H from the corner portion at the center portion at the end portion (circumferential end) in the circumferential direction H.
  • FIG. 5B and 5C are diagrams showing the relationship between the length in the circumferential direction H of the curler 109 and the assumed measurement site B.
  • FIG. The curler 109 may be shorter than the circumference of the measurement site B as shown in FIG. 5B. However, it is desirable that the curler 109 has a length in the circumferential direction H that is longer than half of the circumference of the measurement site B. Further, the curler 109 may be longer than the assumed circumference of the measurement site B as shown in FIG. 5C.
  • FIG. 6 is a diagram for explaining the operation of the recess 109 h of the curler 109.
  • FIG. 6A is a plan view of the vicinity of the peripheral edge when no air is present in the air bag 111.
  • FIG. 6B is a plan view of the vicinity of the peripheral end when air is supplied to the air bag 111, and
  • FIG. 6C is a cross section taken along line AA ′ in FIG. 6B.
  • the air bag 111 When the air bag 111 is supplied with air, the air bag 111 starts to expand. At that time, the air bag 111 can be freely deformed toward the recess 109h in the vicinity of the recess 109h. Therefore, in the region R, the air bladder 111 can be greatly expanded toward the measurement site.
  • FIG. 7 is a flowchart of the manufacturing process of the cuff 100
  • FIGS. 8A to 8H are schematic views showing the state of each member in each stage of the manufacturing process.
  • step S101 the outer cloth 101A to which the airtight sheet member 102 is attached, that is, the outer member 103A, the outer member 103B to which the airtight sheet member 102 and the nipple 110 are attached, and the inner cloth to which the airtight sheet member 104 is attached.
  • 105 that is, the inner member 106 is prepared (FIG. 8A).
  • step S102 the airtight sheet member 102 of the outer members 103A and 103B and the airtight sheet member 104 of the inner member 106 are welded (peripheral welded portion 100w (FIG. 8B)), and the bag shape has an opening. A part (air bag) is formed (FIG. 8B).
  • step S103 an extra member is cut with a punching die, and the cuff is shaped (FIG. 8C).
  • step S104 the flat plate-shaped curler insertion auxiliary plate 5 is inserted into the air bag 111 through the portion (opening 100x (FIG. 8D)) that has not been welded (FIG. 8D).
  • step S105 the curler 109 is pressed against the curler insertion auxiliary plate 5 and elastically deformed into a substantially flat plate shape, and is slid on the plate 5 and inserted into the air bag 111 from the opening 100x (FIG. 8E).
  • step S106 the curler insertion auxiliary plate 5 is taken out of the air bag 111 (FIG. 8F).
  • step S104 In place of step S104, step S105, and step S106, two curler insertion auxiliary plates are prepared, and the curler 109 is elastically deformed into a substantially flat plate shape and sandwiched between the two plates. After inserting into the air bag 111 from the portion 100x, only two plates may be extracted from the air bag 111.
  • step S108 a sewing process such as attaching the surface fastener 107 is performed (FIG. 8H).
  • the cuff 100 can be manufactured very easily.
  • the manufacturing cost can be reduced.
  • FIG. 9A is a plan view of the expanded state of the cuff 200 according to the second embodiment of the present invention
  • FIG. 9B is a cross-sectional view taken along line A-A ′ of FIG.
  • the description of the same configuration as the previous embodiment will be omitted as appropriate.
  • the airtight sheet member 102 and the airtight sheet member 104 are welded at the intermediate weld portion 200wa and the peripheral weld portion 100w to form the air bag 111.
  • the length of the air bag 111 in the circumferential direction H (the length along the circumferential direction H from the intermediate welded portion 200wa to the peripheral welded portion 100w at the right end in the drawing) is longer than the length of the curler 109 in the circumferential direction H. Is also getting longer.
  • the length of the air bag 111 in the circumferential direction H can be designed independently of the length of the curler 209 in the circumferential direction H.
  • the relative relationship between the curler 209 and the air bag 111 is relatively small.
  • a positioning part for fixing the positional relationship is provided.
  • the cuff 200 includes a protrusion 209p that is formed on the outer surface of the curler 209 and fits inside the nipple 110 as a positioning portion that fixes the relative positional relationship between the curler 209 and the air bag 111.
  • FIG. 10 is a perspective view of the curler 209.
  • the curler 209 includes a protrusion 209p that fits inside the nipple 110 at a position corresponding to the nipple 110 when the curler 209 is disposed in the air bag 111. The position of the curler 209 is fixed in the air bag 111 by the action of the protrusion 209p.
  • FIG. 11 is a diagram showing a cross-sectional shape of the protrusion 209p.
  • the cross-sectional shape of the protruding portion 209p is O-shaped, and the inside of the O-shape is a cavity through which air can flow.
  • the cross-sectional shape of the protrusion 209p1 is U-shaped.
  • the cross-sectional shape of the protrusion 209p is not limited to these, and may be other shapes.
  • the length of the air bag 111 in the circumferential direction H can be freely designed regardless of the length of the curler 209 in the circumferential direction H, and the curler 209 can move around in the air bag 111 unnecessarily. Is prevented.
  • step S201 the outer cloth 101A to which the airtight sheet member 102 is attached, that is, the outer member 103A, the outer member 103B to which the airtight sheet member 102 and the nipple 110 are attached, and the inner cloth to which the airtight sheet member 104 is attached.
  • 105 that is, the inner member 106 is prepared (FIG. 13A).
  • step S202 the airtight sheet member 102 of the outer members 103A and 103B and the airtight sheet member 104 of the inner member 106 are welded (peripheral welded portion 100w (FIG. 13B)), and the bag shape has an opening. A part (air bag) is formed (FIG. 13B).
  • step S203 excess members are cut with a punching die, and the cuff is shaped (FIG. 13C).
  • step S205 the curler 209 having the projection 209p on its outer surface is pressed against the curler insertion auxiliary plate 5 and elastically deformed into a substantially flat plate shape, and is slid on the plate 5 to open the air bag 111 from the opening 200x. (FIG. 13E).
  • step S206 the curler insertion auxiliary plate 5 is taken out from the air bag 111 (FIG. 13F).
  • step S204 In place of step S204, step S205, and step S206, two curler insertion auxiliary plates are prepared, and the curler 209 is elastically deformed into a substantially flat plate and sandwiched between the two plates. It may be inserted into the air bag 111 from the part 200x, and then only two plates may be extracted from the air bag 111.
  • step S208 the airtight sheet member 102 of the outer members 103A and 103B and the airtight sheet member 104 of the inner member 106 are welded (intermediate) in the portion (opening 200x) that was not welded in step S202.
  • the welding part 200wa (FIG. 13G)) and the opening part 200x are closed to form a complete air bag 111 (FIG. 13G).
  • step S209 sewing processing such as attaching the surface fastener 107 is performed (FIG. 13H).
  • the cuff 200 can be manufactured very easily.
  • the manufacturing cost can be reduced.
  • FIG. 14A is a plan view of the expanded state of the cuff 300 according to the third embodiment of the present invention
  • FIG. 14B is a cross-sectional view taken along line A-A ′ of FIG.
  • the description of the same configuration as the previous embodiment will be omitted as appropriate.
  • the airtight sheet member 102 and the airtight sheet member 104 are welded at the intermediate weld portion 200wa and the peripheral weld portion 100w to form an air bag 111.
  • the length in the circumferential direction H of the air bag 111 can be designed regardless of the length in the circumferential direction H of the curler 109.
  • the cuff 300 according to the present embodiment has a curler fixing sheet member 301 as a positioning portion.
  • the curler fixing sheet member 301 is attached to the inner surface of the air bag 111 and the curler 109, and positions the curler 109 with respect to the air bag 111.
  • the curler fixing sheet member 301 and the inner surface of the air bag 111 are fixed with a double-sided adhesive tape 302.
  • the curler fixing sheet member 301 and the curler 109 are also fixed by a double-sided adhesive tape 303.
  • the cuff 300 unlike the curler 209 in the second embodiment, it is not necessary to provide a protrusion on the outer surface of the curler 109.
  • FIG. 15 is a perspective view of the curler fixing sheet member 301.
  • the curler fixing sheet member 301 is, for example, a PVC sheet. Double-sided adhesive tapes 302 and 303 are attached to the upper surface of the curler fixing sheet member 301.
  • the length of the air bag 111 in the circumferential direction H can be freely designed regardless of the length of the curler 109 in the circumferential direction H, and the curler 109 can move around in the air bag 111 unnecessarily. Is prevented.
  • FIG. 16 is a flowchart of the manufacturing process of the cuff 300
  • FIGS. 17A to 17I are schematic views showing the state of each member in each stage of the manufacturing process.
  • step S301 the outer cloth 101A to which the airtight sheet member 102 is attached, that is, the outer member 103A, the outer member 103B to which the airtight sheet member 102 and the nipple 110 are attached, and the inner cloth to which the airtight sheet member 104 is attached.
  • 105 that is, the inner member 106 is prepared (FIG. 17A).
  • step S302 the airtight sheet member 102 of the outer members 103A and 103B and the airtight sheet member 104 of the inner member 106 are welded (peripheral welded portion 100w (FIG. 17B)), and the bag shape has an opening. A part (air bag) is formed (FIG. 17B).
  • step S303 extra members are cut with a punching die, and the cuff is shaped (FIG. 17C).
  • step S304 the flat plate-shaped auxiliary plate 5 for inserting curlers is inserted into the air bag 111 (FIG. 17D) through the portion that has not been welded (opening 300x (FIG. 17F)).
  • step S305 the curler fixing sheet member 301 is attached to the curler 109 using the double-sided adhesive tape 303 (FIG. 17E).
  • step S306 the curler 109 to which the curler fixing sheet member 301 is attached is pressed against the curler insertion auxiliary plate 5 and is elastically deformed into a substantially flat plate shape, and is slid on the plate 5 to open the air bag from the opening 300x. It inserts in 111 (FIG. 17F).
  • step S307 the curler insertion auxiliary plate 5 is taken out of the air bag 111 (FIG. 17G).
  • Step S304 instead of Step S304, Step S306, and Step S307, two curler insertion auxiliary plates are prepared, and the curler 109 is elastically deformed into a substantially flat plate shape and is opened between the two plates. After inserting into the air bag 111 from the part 300x, only two plates may be extracted from the air bag 111 after that.
  • step S308 the curler fixing sheet member 301 is attached to the inner surface of the air bag 111 using the double-sided adhesive tape 302 (FIG. 17G).
  • step S309 the airtight sheet member 102 of the outer members 103A and 103B and the airtight sheet member 104 of the inner member 106 are welded (intermediate) in the portion (opening 300x) that was not welded in step S302.
  • the welding part 200wa (FIG. 17H)) and the opening 300x are closed to form a complete air bag 111 (FIG. 17H).
  • step S310 a sewing process such as attaching the surface fastener 107 is performed (FIG. 17I).
  • the cuff 300 can be manufactured extremely easily.
  • the manufacturing cost can be reduced.
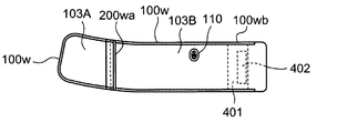
  • FIG. 18A is a plan view of the cuff 400 in a developed state according to the fourth embodiment of the present invention
  • FIG. 18B is a cross-sectional view taken along line A-A ′ in FIG.
  • the description of the same configuration as the previous embodiment will be omitted as appropriate.
  • the airtight sheet member 102 and the airtight sheet member 104 are welded at the intermediate weld portion 200wa and the peripheral weld portion 100w to form the air bag 111. ing.
  • the length in the circumferential direction H of the air bladder 111 can be designed independently of the length in the circumferential direction H of the curler 109, as in the cuffs 200 and 300. Accordingly, the cuff 400 according to the present embodiment has a curler fixing sheet member 401 as a positioning portion.
  • the curler fixing sheet member 401 is sandwiched and welded between the airtight sheet member 102 and the airtight sheet member 104 at the peripheral edge portion (peripheral welded portion 100wb) of the air bag 111 in the circumferential direction H.
  • the curler 109 is positioned with respect to the air bag 111 by being attached to the curler 109 with the double-sided adhesive tape 402.
  • the cuff 400 does not need to have a protrusion on the outer surface of the curler 109, unlike the curler 209 in the second embodiment.
  • FIG. 19 is a perspective view of the curler fixing sheet member 401.
  • the curler fixing sheet member 401 is, for example, a PVC sheet.
  • a double-sided adhesive tape 402 is affixed to the upper surface of the curler fixing sheet member 401.
  • the length of the air bag 111 in the circumferential direction H can be freely designed regardless of the length of the curler 109 in the circumferential direction H, and the curler 109 can move around in the air bag 111 unnecessarily. Is prevented.
  • FIG. 20 is a flowchart of the manufacturing process of the cuff 400
  • FIGS. 21A to 21G are schematic views showing the state of each member in each stage of the manufacturing process.
  • step S401 the outer cloth 101A to which the airtight sheet member 102 is attached, that is, the outer member 103A, the outer member 103B to which the airtight sheet member 102 and the nipple 110 are attached, and the inner cloth to which the airtight sheet member 104 is attached.
  • 105 that is, the curler fixing sheet member 401 to which the inner member 106 and the double-sided adhesive tape 402 are attached is prepared (FIG. 21A).
  • step S402 the airtight sheet member 102 of the outer members 103A and 103B and the airtight sheet member 104 of the inner member 106 are attached to the curler fixing sheet member 401 at the circumferential edge of the cuff (air bag 111).
  • a peripheral weld part 100w, an intermediate weld part 200wa, a peripheral weld part 100wb (FIG. 21B)), and a bag-shaped part (air bag) having an opening is formed (FIG. 21B).
  • the opening (400x (FIG. 21D)) is provided at the peripheral end of the cuff 400 (the right end of the cuff of FIG. 21B).
  • step S403 excess members are cut with a punching die and the cuff is shaped (FIG. 21C).
  • step S404 the plate-shaped curler insertion auxiliary plate 5 is inserted into the air bag 111 through the portion (opening 400x (FIG. 21D)) that has not been welded (FIG. 21D).
  • step S405 the curler 109 is pressed against the curler insertion auxiliary plate 5 and elastically deformed into a substantially flat plate shape, and is slid on the plate 5 and inserted into the air bag 111 from the opening 400x (FIG. 21D).
  • step S406 the curler insertion auxiliary plate 5 is taken out of the air bag 111 (FIG. 21E).
  • Step S404 instead of Step S404, Step S405, and Step S406, two curler insertion auxiliary plates are prepared, and the curler 109 is elastically deformed into a substantially flat plate shape and is opened between the two plates. After inserting into the air bag 111 from the part 400x, only two plates may be extracted from the air bag 111 after that.
  • step S407 the curler 109 is attached to the curler fixing sheet member 401 using the double-sided adhesive tape 402 (FIG. 21E).
  • step S408 the airtight sheet member 102 of the outer member 103B and the airtight sheet member 104 of the inner member 106 are welded at the portion that was not welded in step S402 (opening 400x (FIG. 21D)). Then, the opening 400x is closed to form a complete air bag 111 (FIG. 21F).
  • step S409 a sewing process such as attaching the surface fastener 107 is performed (FIG. 21G).
  • the cuff 400 can be manufactured very easily.
  • the manufacturing cost can be reduced.
  • FIG. 22A is a plan view of the expanded state of the cuff 500 according to the fifth embodiment of the present invention
  • FIG. 22B is a cross-sectional view taken along line A-A ′ of FIG.
  • the description of the same configuration as the previous embodiment will be omitted as appropriate.
  • the airtight sheet member 102 and the airtight sheet member 104 are welded at the intermediate weld portion 200wa and the peripheral weld portion 100w to form the air bag 111.
  • the length in the circumferential direction H of the air bag 111 can be designed independently of the length in the circumferential direction H of the curler 109, similar to the cuff 400 and the like.
  • the cuff 500 according to the present embodiment has a curler fixing sheet member 401 as a positioning portion.
  • the curler fixing sheet member 401 is different from the cuff 400 according to the fourth embodiment in that the airtight sheet member 102 and the airtight sheet member 104 are disposed at the peripheral edge in the circumferential direction H of the air bag 111 in the vicinity of the central weld portion 200wa. It is attached to the air bag 111 by being sandwiched and welded (peripheral welded portion 100 wb), and is attached to the curler 109 by the double-sided adhesive tape 402, thereby positioning the curler 109 with respect to the air bag 111. Note that, like the cuff 400, the cuff 500 does not need to have a protrusion on the outer surface of the curler 109, unlike the curler 209 in the second embodiment.
  • the length of the air bag 111 in the circumferential direction H can be freely designed regardless of the length of the curler 109 in the circumferential direction H, and the curler 109 can move around in the air bag 111 unnecessarily. Is prevented.
  • FIG. 23 is a flowchart of the manufacturing process of the cuff 500
  • FIGS. 24A to 24H are schematic views showing the state of each member in each stage of the manufacturing process.
  • step S501 the outer cloth 101A to which the airtight sheet member 102 is attached, that is, the outer member 103A, the outer member 103B to which the airtight sheet member 102 and the nipple 110 are attached, and the inner cloth to which the airtight sheet member 104 is attached.
  • 105 that is, the curler fixing sheet member 401 to which the inner member 106 and the double-sided adhesive tape 402 are attached is prepared (FIG. 24A).
  • step S502 the airtight sheet member 102 of the outer members 103A and 103B and the airtight sheet member 104 of the inner member 106 are fixed to the curler at the circumferential center portion of the peripheral portion of the cuff (air bag 111).
  • a sheet member 401 is sandwiched and welded (peripheral welded portion 100wb (FIG. 24B)) to form a bag-shaped portion (air bag) having an opening (FIG. 24B).
  • the opening (500x (FIG. 24D)) is provided in the central portion of the cuff 500 (the connecting portion between the outer member 103A and the outer member 103B).
  • step S503 excess members are cut with a punching die and the cuff is shaped (FIG. 24C).
  • step S504 the flat plate-shaped auxiliary plate 5 for inserting curlers is inserted into the air bag 111 through the unwelded portion (opening 500x) (FIG. 24D).
  • step S506 the curler insertion auxiliary plate 5 is removed from the air bag 111 (FIG. 24F).
  • Step S504 instead of Step S504, Step S505, and Step S506, two curler insertion auxiliary plates are prepared, and the curler 109 is elastically deformed into a substantially flat plate shape and sandwiched between the two plates. It may be inserted into the air bag 111 from the portion 500x, and then only two plates may be extracted from the air bag 111.
  • step S507 the curler 109 is attached to the curler fixing sheet member 401 using the double-sided adhesive tape 402 (FIG. 24F).
  • step S508 the airtight sheet member 102 of the outer members 103A and 103B and the airtight sheet member 104 of the inner member 106 are welded and opened in the portion (opening portion 500x) not welded in step S402.
  • the part 500x is closed to form a complete air bag 111 (FIG. 24G).
  • step S409 sewing processing such as attaching the surface fastener 107 is performed (FIG. 24H).
  • the cuff 500 can be manufactured very easily.
  • the manufacturing cost can be reduced.
  • FIG. 25 is a plan view (a) of the unfolded state of the cuff 600 according to the sixth embodiment of the present invention, and a sectional view (b) along the line A-A ′ of FIG.
  • the description of the same configuration as the previous embodiment will be omitted as appropriate.
  • the airtight sheet member 102 and the airtight sheet member 104 are welded at the intermediate weld portion 200wa and the peripheral weld portion 100w to form the air bag 111. ing.
  • the length in the circumferential direction H of the air bag 111 can be designed independently of the length in the circumferential direction H of the curler 109, as in the cuff 500 and the like.
  • the cuff 600 according to the present embodiment includes a curler fixing sheet member 601 as a positioning portion.
  • the curler fixing sheet member 601 is welded by being sandwiched between the airtight sheet member 102 and the airtight sheet member 104 at the peripheral portion in the width direction I substantially perpendicular to the circumferential direction H of the air bag 111 (peripheral weld portion 100wc). ) To be attached to the air bag 111 and attached to the curler 109 by the double-sided adhesive tape 602, thereby positioning the curler 109 with respect to the air bag 111.
  • the cuff 600 does not need to have a protrusion on the outer surface of the curler 109 unlike the curler 209 in the second embodiment, like the cuff 500 and the like.
  • FIG. 26 is a perspective view of the curler fixing sheet member 601.
  • the curler fixing sheet member 601 is, for example, a PVC sheet.
  • a double-sided adhesive tape 602 is attached to the upper surface of the curler fixing sheet member 601.
  • the length of the air bag 111 in the circumferential direction H can be freely designed regardless of the length of the curler 109 in the circumferential direction H, and the curler 109 can move around in the air bag 111 unnecessarily. Is prevented.
  • FIG. 27 is a flowchart of the manufacturing process of the cuff 600
  • FIGS. 28A to 28J are schematic views showing the state of each member in each stage of the manufacturing process.
  • step S601 the outer cloth 101A to which the airtight sheet member 102 is attached, that is, the outer member 103A, the outer member 103B to which the airtight sheet member 102 and the nipple 110 are attached, and the inner cloth to which the airtight sheet member 104 is attached.
  • 105 that is, the inner member 106 is prepared (FIG. 28A).
  • step S602 the airtight sheet member 102 of the outer members 103A and 103B and the airtight sheet member 104 of the inner member 106 are welded (peripheral welded portion 100w), and a bag-shaped portion (air bag) having an opening. ) Is formed (FIG. 28B).
  • the opening (600x (FIG. 28F)) is provided at the peripheral end of the cuff 600 (the right end of the cuff of FIG. 28B).
  • step S603 excess members are cut with a punching die, and the cuff is shaped (FIG. 28C).
  • step S604 the flat plate-shaped curler insertion auxiliary plate 5 is inserted into the air bag 111 through the unwelded portion (opening 600x) (FIG. 28D).
  • step S605 the curler fixing sheet member 601 is attached to the curler 109 using the double-sided adhesive tape 602 (FIG. 28E).
  • step S606 the curler 109 to which the curler fixing sheet member 601 is attached is pressed against the curler insertion auxiliary plate 5 and elastically deformed into a substantially flat plate shape, and is slid on the plate 5 to open the opening 600x (FIG. 28F). ) To the air bag 111 (FIG. 28F).
  • step S607 the curler insertion auxiliary plate 5 is taken out from the air bag 111 (FIG. 28G).
  • Step S604 Step S606, and Step S607, two curler insertion auxiliary plates are prepared, and the curler 109 is elastically deformed into a substantially flat plate shape and is opened between the two plates. It may be inserted into the air bag 111 from the part 600x, and then only two plates may be extracted from the air bag 111.
  • step S608 the airtight sheet member 102 of the outer member 103B and the airtight sheet member 104 of the inner member 106 are connected to the curler fixing sheet member 601 in the portion (opening 600x) that was not welded in step S602. (A peripheral weld portion 100wc (FIG. 25)) and the opening 600x is closed to form a complete air bag 111 (FIG. 28H).
  • an extra member a portion of the curler fixing sheet member 601 that protrudes outside the air bag 111 beyond the peripheral welded portion 100wc is cut to shape the cuff (FIG. 28I).
  • step S609 sewing processing such as attaching the surface fastener 107 is performed (FIG. 28J).
  • the cuff 600 can be manufactured extremely easily.
  • the manufacturing cost can be reduced.

Landscapes

  • Health & Medical Sciences (AREA)
  • Life Sciences & Earth Sciences (AREA)
  • Cardiology (AREA)
  • Vascular Medicine (AREA)
  • Surgery (AREA)
  • Medical Informatics (AREA)
  • Physics & Mathematics (AREA)
  • Veterinary Medicine (AREA)
  • Biophysics (AREA)
  • Pathology (AREA)
  • Engineering & Computer Science (AREA)
  • Biomedical Technology (AREA)
  • Heart & Thoracic Surgery (AREA)
  • Public Health (AREA)
  • Molecular Biology (AREA)
  • General Health & Medical Sciences (AREA)
  • Animal Behavior & Ethology (AREA)
  • Physiology (AREA)
  • Ophthalmology & Optometry (AREA)
  • Dentistry (AREA)
  • Measuring Pulse, Heart Rate, Blood Pressure Or Blood Flow (AREA)
PCT/JP2014/055567 2013-03-07 2014-03-05 血圧測定用カフ、および、血圧測定用カフの製造方法 Ceased WO2014136818A1 (ja)

Priority Applications (5)

Application Number Priority Date Filing Date Title
BR112015021361-8A BR112015021361B1 (pt) 2013-03-07 2014-03-05 Manguito de medição de pressão arterial, e, método para fabricar o manguito de medição de pressão arterial
CN201480010800.XA CN105142507B (zh) 2013-03-07 2014-03-05 血压测量用袖带以及血压测量用袖带的制造方法
DE112014001127.4T DE112014001127T5 (de) 2013-03-07 2014-03-05 Blutdruckmessmanschette und Verfahren für das Herstellen der Blutdruckmessmanschette
US14/818,961 US11478161B2 (en) 2013-03-07 2015-08-05 Blood pressure measurement cuff and method for manufacturing blood pressure measurement cuff
US15/930,763 US11596318B2 (en) 2013-03-07 2020-05-13 Blood pressure measurement cuff and method for manufacturing blood pressure measurement cuff

Applications Claiming Priority (2)

Application Number Priority Date Filing Date Title
JP2013-045788 2013-03-07
JP2013045788A JP6051964B2 (ja) 2013-03-07 2013-03-07 血圧測定用カフ、および、血圧測定用カフの製造方法

Related Child Applications (1)

Application Number Title Priority Date Filing Date
US14/818,961 Continuation US11478161B2 (en) 2013-03-07 2015-08-05 Blood pressure measurement cuff and method for manufacturing blood pressure measurement cuff

Publications (1)

Publication Number Publication Date
WO2014136818A1 true WO2014136818A1 (ja) 2014-09-12

Family

ID=51491330

Family Applications (1)

Application Number Title Priority Date Filing Date
PCT/JP2014/055567 Ceased WO2014136818A1 (ja) 2013-03-07 2014-03-05 血圧測定用カフ、および、血圧測定用カフの製造方法

Country Status (6)

Country Link
US (2) US11478161B2 (enExample)
JP (1) JP6051964B2 (enExample)
CN (1) CN105142507B (enExample)
BR (1) BR112015021361B1 (enExample)
DE (1) DE112014001127T5 (enExample)
WO (1) WO2014136818A1 (enExample)

Cited By (2)

* Cited by examiner, † Cited by third party
Publication number Priority date Publication date Assignee Title
JP2014171606A (ja) * 2013-03-07 2014-09-22 Omron Healthcare Co Ltd 血圧測定用カフ、および、血圧測定用カフの製造方法
JP2020062089A (ja) * 2018-10-15 2020-04-23 オムロン株式会社 血圧測定装置

Families Citing this family (9)

* Cited by examiner, † Cited by third party
Publication number Priority date Publication date Assignee Title
CN104434075B (zh) * 2014-12-24 2017-08-04 深圳瑞光康泰科技有限公司 气囊袖带及自动血压测量装置
CN105935292B (zh) * 2016-06-08 2018-12-28 东莞市鸿德医用塑料制品有限公司 一种血压袖套及其制造方法
CN106108873A (zh) * 2016-06-12 2016-11-16 江苏鱼跃医疗设备股份有限公司 一种测量血压用袖带
CN106441552B (zh) * 2016-09-21 2019-12-17 广州视源电子科技股份有限公司 检测血压袖带噪声的方法与系统
JP7171374B2 (ja) * 2018-11-09 2022-11-15 オムロン株式会社 血圧測定装置
JP7175738B2 (ja) * 2018-12-13 2022-11-21 オムロン株式会社 血圧測定装置
JP7150595B2 (ja) * 2018-12-27 2022-10-11 オムロンヘルスケア株式会社 血圧測定装置用カフカバー
JP7279557B2 (ja) * 2019-07-18 2023-05-23 オムロンヘルスケア株式会社 血圧測定用カフおよびその製造方法
JP6751462B1 (ja) * 2019-07-24 2020-09-02 シチズン時計株式会社 血圧計用カフ

Citations (2)

* Cited by examiner, † Cited by third party
Publication number Priority date Publication date Assignee Title
JP2006081667A (ja) * 2004-09-15 2006-03-30 Omron Healthcare Co Ltd 血圧計用カフ
JP2006081668A (ja) * 2004-09-15 2006-03-30 Omron Healthcare Co Ltd 血圧計用カフ

Family Cites Families (19)

* Cited by examiner, † Cited by third party
Publication number Priority date Publication date Assignee Title
US3670735A (en) * 1970-02-09 1972-06-20 Walter & Kidde Co Inc Disposable inflatable tourniquet
JPS59232531A (ja) * 1983-06-15 1984-12-27 松下電工株式会社 血圧計
US5411518A (en) * 1994-05-24 1995-05-02 Design +3, Incorporated Medical tourniquet apparatus
JP3740985B2 (ja) * 2001-01-23 2006-02-01 オムロンヘルスケア株式会社 血圧計用カフ
JP3815385B2 (ja) * 2002-06-18 2006-08-30 オムロンヘルスケア株式会社 血圧計用カフ
JP3667326B2 (ja) * 2003-04-21 2005-07-06 コーリンメディカルテクノロジー株式会社 血圧測定用二重カフ
JP4166665B2 (ja) * 2003-10-24 2008-10-15 日本精密測器株式会社 手首用血圧計及びカフスプリング
US7166077B2 (en) 2004-02-03 2007-01-23 Pharma-Smart, Llc Cuff for measurement of blood pressure
US20060012491A1 (en) 2004-07-14 2006-01-19 Mahowald Peter H Utility meter reading system
JP4595526B2 (ja) * 2004-12-20 2010-12-08 オムロンヘルスケア株式会社 血圧計用カフおよび血圧計
JP4240034B2 (ja) * 2005-11-30 2009-03-18 オムロンヘルスケア株式会社 血圧測定装置
US20070135836A1 (en) * 2005-12-14 2007-06-14 Mcewen James A Low-cost disposable tourniquet cuff
JP2007275227A (ja) * 2006-04-05 2007-10-25 Omron Healthcare Co Ltd 血圧計測装置
JP5141679B2 (ja) * 2009-12-29 2013-02-13 オムロンヘルスケア株式会社 血圧情報測定装置用カフおよびこれを備えた血圧情報測定装置
JP5418302B2 (ja) 2010-02-26 2014-02-19 オムロンヘルスケア株式会社 血圧情報測定装置
JP5494008B2 (ja) * 2010-02-26 2014-05-14 オムロンヘルスケア株式会社 血圧情報測定装置用カフおよびこれを備えた血圧情報測定装置
US20110282222A1 (en) * 2010-05-12 2011-11-17 K-Jump Health Co., Ltd. Coiling blood pressure cuff
CN102683986B (zh) 2011-03-11 2015-04-01 中山市云创知识产权服务有限公司 连接器组件
JP6051964B2 (ja) * 2013-03-07 2016-12-27 オムロンヘルスケア株式会社 血圧測定用カフ、および、血圧測定用カフの製造方法

Patent Citations (2)

* Cited by examiner, † Cited by third party
Publication number Priority date Publication date Assignee Title
JP2006081667A (ja) * 2004-09-15 2006-03-30 Omron Healthcare Co Ltd 血圧計用カフ
JP2006081668A (ja) * 2004-09-15 2006-03-30 Omron Healthcare Co Ltd 血圧計用カフ

Cited By (6)

* Cited by examiner, † Cited by third party
Publication number Priority date Publication date Assignee Title
JP2014171606A (ja) * 2013-03-07 2014-09-22 Omron Healthcare Co Ltd 血圧測定用カフ、および、血圧測定用カフの製造方法
JP2020062089A (ja) * 2018-10-15 2020-04-23 オムロン株式会社 血圧測定装置
WO2020080073A1 (ja) * 2018-10-15 2020-04-23 オムロン株式会社 血圧測定装置
CN112689473A (zh) * 2018-10-15 2021-04-20 欧姆龙株式会社 血压测定装置
JP7118852B2 (ja) 2018-10-15 2022-08-16 オムロン株式会社 血圧測定装置
US12064221B2 (en) 2018-10-15 2024-08-20 Omron Healthcare Co. Ltd. Blood pressure measurement device

Also Published As

Publication number Publication date
CN105142507B (zh) 2017-03-15
BR112015021361B1 (pt) 2022-08-16
DE112014001127T5 (de) 2015-11-19
US20200268264A1 (en) 2020-08-27
CN105142507A (zh) 2015-12-09
US11596318B2 (en) 2023-03-07
JP6051964B2 (ja) 2016-12-27
US11478161B2 (en) 2022-10-25
US20160029910A1 (en) 2016-02-04
JP2014171606A (ja) 2014-09-22
BR112015021361A2 (pt) 2017-07-18

Similar Documents

Publication Publication Date Title
JP6051964B2 (ja) 血圧測定用カフ、および、血圧測定用カフの製造方法
JP2014171606A5 (enExample)
TWI286069B (en) Cuff for blood pressure monitor and blood pressure monitor having the same
EP1688089B1 (en) Cuff for blood pressure monitor, manufacturing method thereof and blood pressure monitor
US11272853B2 (en) Bag-shaped structure used in a cuff for blood pressure measurement
KR20060091235A (ko) 혈압계용 커프스 및 혈압계
JP3491412B2 (ja) 血圧計のカフ帯及びその製造方法
CN111938617B (zh) 血压计袖带
JP5749600B2 (ja) 血圧計用カフ
WO2022024701A1 (ja) 血圧測定用カフ
WO2022024699A1 (ja) 血圧測定用カフ
JP6612628B2 (ja) 腕帯装着補助具及び装着補助具付きの腕帯
JP7468223B2 (ja) 血圧測定用カフ
JP7581913B2 (ja) カフ及び血圧測定装置
JP7753174B2 (ja) 血圧計用腕帯
KR20170037896A (ko) 에어 매트리스 및 에어 매트리스 제작 방법
WO2021010266A1 (ja) 血圧測定用カフおよびその製造方法
JP7669717B2 (ja) 血圧測定用カフ
JP4961062B2 (ja) 血圧測定用圧迫帯
JP2021016476A5 (enExample)
JP2023146522A (ja) 血圧測定装置
CN107752239B (zh) 一种皮革拉链的生产工艺
JP5181333B2 (ja) バッグの把持部の製造方法
JP6031859B2 (ja) 血圧測定装置用圧迫帯

Legal Events

Date Code Title Description
WWE Wipo information: entry into national phase

Ref document number: 201480010800.X

Country of ref document: CN

121 Ep: the epo has been informed by wipo that ep was designated in this application

Ref document number: 14759600

Country of ref document: EP

Kind code of ref document: A1

WWE Wipo information: entry into national phase

Ref document number: 1120140011274

Country of ref document: DE

Ref document number: 112014001127

Country of ref document: DE

REG Reference to national code

Ref country code: BR

Ref legal event code: B01A

Ref document number: 112015021361

Country of ref document: BR

122 Ep: pct application non-entry in european phase

Ref document number: 14759600

Country of ref document: EP

Kind code of ref document: A1

ENP Entry into the national phase

Ref document number: 112015021361

Country of ref document: BR

Kind code of ref document: A2

Effective date: 20150902