WO2014123125A1 - カラーフィルタ用着色樹脂組成物、色材分散液、カラーフィルタ、液晶表示装置、及び有機発光表示装置 - Google Patents

カラーフィルタ用着色樹脂組成物、色材分散液、カラーフィルタ、液晶表示装置、及び有機発光表示装置 Download PDF

Info

Publication number
WO2014123125A1
WO2014123125A1 PCT/JP2014/052585 JP2014052585W WO2014123125A1 WO 2014123125 A1 WO2014123125 A1 WO 2014123125A1 JP 2014052585 W JP2014052585 W JP 2014052585W WO 2014123125 A1 WO2014123125 A1 WO 2014123125A1
Authority
WO
WIPO (PCT)
Prior art keywords
group
color filter
resin composition
solvent
general formula
Prior art date
Legal status (The legal status is an assumption and is not a legal conclusion. Google has not performed a legal analysis and makes no representation as to the accuracy of the status listed.)
Ceased
Application number
PCT/JP2014/052585
Other languages
English (en)
French (fr)
Japanese (ja)
Inventor
裕史 大島
義人 前野
Current Assignee (The listed assignees may be inaccurate. Google has not performed a legal analysis and makes no representation or warranty as to the accuracy of the list.)
DNP Fine Chemicals Co Ltd
Original Assignee
DNP Fine Chemicals Co Ltd
Priority date (The priority date is an assumption and is not a legal conclusion. Google has not performed a legal analysis and makes no representation as to the accuracy of the date listed.)
Filing date
Publication date
Application filed by DNP Fine Chemicals Co Ltd filed Critical DNP Fine Chemicals Co Ltd
Priority to KR1020157006610A priority Critical patent/KR20150115719A/ko
Priority to CN201480002384.9A priority patent/CN104641266B/zh
Publication of WO2014123125A1 publication Critical patent/WO2014123125A1/ja
Anticipated expiration legal-status Critical
Ceased legal-status Critical Current

Links

Images

Classifications

    • GPHYSICS
    • G02OPTICS
    • G02BOPTICAL ELEMENTS, SYSTEMS OR APPARATUS
    • G02B5/00Optical elements other than lenses
    • G02B5/20Filters
    • GPHYSICS
    • G02OPTICS
    • G02BOPTICAL ELEMENTS, SYSTEMS OR APPARATUS
    • G02B5/00Optical elements other than lenses
    • G02B5/20Filters
    • G02B5/22Absorbing filters
    • G02B5/223Absorbing filters containing organic substances, e.g. dyes, inks or pigments
    • CCHEMISTRY; METALLURGY
    • C09DYES; PAINTS; POLISHES; NATURAL RESINS; ADHESIVES; COMPOSITIONS NOT OTHERWISE PROVIDED FOR; APPLICATIONS OF MATERIALS NOT OTHERWISE PROVIDED FOR
    • C09BORGANIC DYES OR CLOSELY-RELATED COMPOUNDS FOR PRODUCING DYES, e.g. PIGMENTS; MORDANTS; LAKES
    • C09B67/00Influencing the physical, e.g. the dyeing or printing properties of dyestuffs without chemical reactions, e.g. by treating with solvents grinding or grinding assistants, coating of pigments or dyes; Process features in the making of dyestuff preparations; Dyestuff preparations of a special physical nature, e.g. tablets, films
    • C09B67/0033Blends of pigments; Mixtured crystals; Solid solutions
    • GPHYSICS
    • G02OPTICS
    • G02FOPTICAL DEVICES OR ARRANGEMENTS FOR THE CONTROL OF LIGHT BY MODIFICATION OF THE OPTICAL PROPERTIES OF THE MEDIA OF THE ELEMENTS INVOLVED THEREIN; NON-LINEAR OPTICS; FREQUENCY-CHANGING OF LIGHT; OPTICAL LOGIC ELEMENTS; OPTICAL ANALOGUE/DIGITAL CONVERTERS
    • G02F1/00Devices or arrangements for the control of the intensity, colour, phase, polarisation or direction of light arriving from an independent light source, e.g. switching, gating or modulating; Non-linear optics
    • G02F1/01Devices or arrangements for the control of the intensity, colour, phase, polarisation or direction of light arriving from an independent light source, e.g. switching, gating or modulating; Non-linear optics for the control of the intensity, phase, polarisation or colour 
    • G02F1/13Devices or arrangements for the control of the intensity, colour, phase, polarisation or direction of light arriving from an independent light source, e.g. switching, gating or modulating; Non-linear optics for the control of the intensity, phase, polarisation or colour  based on liquid crystals, e.g. single liquid crystal display cells
    • G02F1/133Constructional arrangements; Operation of liquid crystal cells; Circuit arrangements
    • G02F1/1333Constructional arrangements; Manufacturing methods
    • G02F1/1335Structural association of cells with optical devices, e.g. polarisers or reflectors
    • G02F1/133509Filters, e.g. light shielding masks
    • G02F1/133514Colour filters
    • GPHYSICS
    • G03PHOTOGRAPHY; CINEMATOGRAPHY; ANALOGOUS TECHNIQUES USING WAVES OTHER THAN OPTICAL WAVES; ELECTROGRAPHY; HOLOGRAPHY
    • G03FPHOTOMECHANICAL PRODUCTION OF TEXTURED OR PATTERNED SURFACES, e.g. FOR PRINTING, FOR PROCESSING OF SEMICONDUCTOR DEVICES; MATERIALS THEREFOR; ORIGINALS THEREFOR; APPARATUS SPECIALLY ADAPTED THEREFOR
    • G03F7/00Photomechanical, e.g. photolithographic, production of textured or patterned surfaces, e.g. printing surfaces; Materials therefor, e.g. comprising photoresists; Apparatus specially adapted therefor
    • G03F7/0005Production of optical devices or components in so far as characterised by the lithographic processes or materials used therefor
    • G03F7/0007Filters, e.g. additive colour filters; Components for display devices
    • GPHYSICS
    • G03PHOTOGRAPHY; CINEMATOGRAPHY; ANALOGOUS TECHNIQUES USING WAVES OTHER THAN OPTICAL WAVES; ELECTROGRAPHY; HOLOGRAPHY
    • G03FPHOTOMECHANICAL PRODUCTION OF TEXTURED OR PATTERNED SURFACES, e.g. FOR PRINTING, FOR PROCESSING OF SEMICONDUCTOR DEVICES; MATERIALS THEREFOR; ORIGINALS THEREFOR; APPARATUS SPECIALLY ADAPTED THEREFOR
    • G03F7/00Photomechanical, e.g. photolithographic, production of textured or patterned surfaces, e.g. printing surfaces; Materials therefor, e.g. comprising photoresists; Apparatus specially adapted therefor
    • G03F7/004Photosensitive materials
    • GPHYSICS
    • G03PHOTOGRAPHY; CINEMATOGRAPHY; ANALOGOUS TECHNIQUES USING WAVES OTHER THAN OPTICAL WAVES; ELECTROGRAPHY; HOLOGRAPHY
    • G03FPHOTOMECHANICAL PRODUCTION OF TEXTURED OR PATTERNED SURFACES, e.g. FOR PRINTING, FOR PROCESSING OF SEMICONDUCTOR DEVICES; MATERIALS THEREFOR; ORIGINALS THEREFOR; APPARATUS SPECIALLY ADAPTED THEREFOR
    • G03F7/00Photomechanical, e.g. photolithographic, production of textured or patterned surfaces, e.g. printing surfaces; Materials therefor, e.g. comprising photoresists; Apparatus specially adapted therefor
    • G03F7/004Photosensitive materials
    • G03F7/027Non-macromolecular photopolymerisable compounds having carbon-to-carbon double bonds, e.g. ethylenic compounds
    • GPHYSICS
    • G03PHOTOGRAPHY; CINEMATOGRAPHY; ANALOGOUS TECHNIQUES USING WAVES OTHER THAN OPTICAL WAVES; ELECTROGRAPHY; HOLOGRAPHY
    • G03FPHOTOMECHANICAL PRODUCTION OF TEXTURED OR PATTERNED SURFACES, e.g. FOR PRINTING, FOR PROCESSING OF SEMICONDUCTOR DEVICES; MATERIALS THEREFOR; ORIGINALS THEREFOR; APPARATUS SPECIALLY ADAPTED THEREFOR
    • G03F7/00Photomechanical, e.g. photolithographic, production of textured or patterned surfaces, e.g. printing surfaces; Materials therefor, e.g. comprising photoresists; Apparatus specially adapted therefor
    • G03F7/004Photosensitive materials
    • G03F7/09Photosensitive materials characterised by structural details, e.g. supports, auxiliary layers
    • G03F7/105Photosensitive materials characterised by structural details, e.g. supports, auxiliary layers having substances, e.g. indicators, for forming visible images
    • GPHYSICS
    • G09EDUCATION; CRYPTOGRAPHY; DISPLAY; ADVERTISING; SEALS
    • G09FDISPLAYING; ADVERTISING; SIGNS; LABELS OR NAME-PLATES; SEALS
    • G09F9/00Indicating arrangements for variable information in which the information is built-up on a support by selection or combination of individual elements
    • G09F9/30Indicating arrangements for variable information in which the information is built-up on a support by selection or combination of individual elements in which the desired character or characters are formed by combining individual elements
    • HELECTRICITY
    • H10SEMICONDUCTOR DEVICES; ELECTRIC SOLID-STATE DEVICES NOT OTHERWISE PROVIDED FOR
    • H10KORGANIC ELECTRIC SOLID-STATE DEVICES
    • H10K59/00Integrated devices, or assemblies of multiple devices, comprising at least one organic light-emitting element covered by group H10K50/00
    • H10K59/30Devices specially adapted for multicolour light emission
    • H10K59/38Devices specially adapted for multicolour light emission comprising colour filters or colour changing media [CCM]

Definitions

  • the present invention relates to a colored resin composition for a color filter, a color material dispersion, a color filter, a liquid crystal display device, and an organic light emitting display device.
  • a backlight is used as a light source, the amount of light is controlled by electrically driving the liquid crystal, and color expression is performed by the light passing through a color filter. Therefore, a color filter must be present in the color representation of a liquid crystal television and plays a major role in determining the performance of the display.
  • a color filter In an organic light emitting display device, when a color filter is used for a white light emitting organic light emitting element, a color image is formed in the same manner as in a liquid crystal display device.
  • An image display device including a color filter affects the design and performance of a mobile terminal in order to directly relate to the usable time and charging frequency of the mobile terminal.
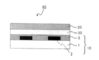
  • the color filter is generally formed on a transparent substrate, a transparent layer formed on the transparent substrate, and composed of a colored layer of three primary colors of red, green, and blue, and on the transparent substrate so as to partition each colored pattern. And a light shielding portion formed.
  • a colored layer forming resin composition having a pigment or a dye as a colorant is used.
  • the pigment is generally excellent in various resistances such as heat resistance as compared with the dye, but the brightness of the manufactured color filter may be insufficient.
  • a dye is used as the color material, a color filter with high luminance can be manufactured, but there is a problem that various resistances and contrast are insufficient.
  • Patent Document 1 describes that a colored photosensitive resin composition containing a blue organic pigment and an organic solvent-soluble dye having a specific structure having xanthene as a basic skeleton is used for the purpose of increasing the brightness of a color filter.
  • a colored photosensitive resin composition described in Patent Document 1 it is difficult to obtain a color filter having sufficient light resistance, and since a polar solvent is used to dissolve the dye, the stability is poor. It was. Furthermore, further improvement in the luminance of the color filter is also demanded.
  • the present invention has been made in view of the above problems, and a color resin composition for a color filter capable of forming a colored layer excellent in luminance and light resistance, and a color capable of forming a coating film excellent in luminance and light resistance.
  • An object is to provide a material dispersion, a high-intensity color filter formed using the colored resin composition for a color filter, a liquid crystal display device having the color filter, and an organic light-emitting display device.
  • the colored resin composition for a color filter according to the present invention contains a colorant, a binder component, and a solvent, and the colorant comprises a color material and a blue color material represented by the following general formula (I): It is characterized by including.
  • R 1 and R 2 are each independently an alkyl group or an aryl group, and R 3 and R 4 are each independently an aryl group or a heteroaryl group.
  • the colored resin composition for a color filter according to the present invention can be obtained by dispersing the color material represented by the general formula (I) in a solvent with a dispersant having an amine value.
  • a polar solvent for dissolving the coloring material so that it has excellent stability.
  • the formed coating film is preferable from the point which has solvent re-dissolution property.
  • the colored resin composition for a color filter according to the present invention is represented by the general formula (I) when R 3 and R 4 are different from each other in the color material represented by the general formula (I). Since the molecular design range of the color material to be expanded and the adjustment range of the spectral characteristics are widened, it is preferable from the viewpoint that the color material can be brought close to the target chromaticity and the luminance can be easily improved.
  • the blue color material includes a triarylmethane color material from the viewpoint of excellent luminance and contrast.
  • the blue color material contains a copper phthalocyanine pigment from the viewpoint of excellent resistance such as heat resistance.
  • the color material dispersion according to the present invention is characterized in that a color material represented by the following general formula (I) is dispersed in a solvent by a dispersant having an amine value.
  • R 1 and R 2 are each independently an alkyl group or an aryl group, and R 3 and R 4 are each independently an aryl group or a heteroaryl group.
  • the color filter according to the present invention is a color filter comprising at least a transparent substrate and a colored layer provided on the transparent substrate, wherein at least one of the colored layers is a colored resin for a color filter according to the present invention. It is a colored layer formed by curing the composition.
  • the liquid crystal display device includes the color filter according to the present invention, a counter substrate, and a liquid crystal layer formed between the color filter and the counter substrate.
  • An organic light emitting display device includes the color filter according to the present invention and an organic light emitter.
  • a colored resin composition for a color filter capable of forming a colored layer excellent in luminance and light resistance, a colorant dispersion capable of forming a coating film excellent in luminance and light resistance, and coloring for the color filter A high-luminance color filter formed using a resin composition, a liquid crystal display device having the color filter, and an organic light-emitting display device can be provided.
  • the light includes electromagnetic waves having wavelengths in the visible and non-visible regions, and further includes radiation, and the radiation includes, for example, microwaves and electron beams. Specifically, it means an electromagnetic wave having a wavelength of 5 ⁇ m or less and an electron beam.
  • (meth) acryl represents each of acryl and methacryl
  • (meth) acrylate represents each of acrylate and methacrylate.
  • pigment blue may be abbreviated as “PB”, basic blue as “BB”, pigment violet as “PV”, and acid red as “AR”.
  • Colored resin composition for color filter contains a colorant, a binder component, and a solvent, and the colorant is represented by the following general formula (I). And a blue color material.
  • R 1 and R 2 are each independently an alkyl group or an aryl group, and R 3 and R 4 are each independently an aryl group or a heteroaryl group.
  • the colored resin composition for a color filter according to the present invention forms a colored layer excellent in luminance and light resistance by using a combination of the color material represented by the general formula (I) and the blue color material as a colorant. can do.
  • a xanthene dye having xanthene as a basic skeleton for the purpose of increasing luminance or the like has been performed as a color material used in combination with a blue color material.
  • xanthene dyes that have been specifically described heretofore have poor light resistance.
  • the colorant represented by the general formula (I) used in the present invention has xanthene as a basic skeleton, and has only one functional group containing SO 2 and is bonded to a nitrogen atom. None of 1 to R 4 is a hydrogen atom, and R 3 and R 4 are an aryl group or a heteroaryl group. Therefore, only a saturated hydrocarbon group is not bonded to a nitrogen atom, and an alkali metal ion is present. It is characterized by not.
  • the colored resin composition for a color filter according to the present invention is a colored layer further than when a conventional xanthene dye is used. The brightness and light resistance of the can be improved.
  • the colorant represented by the general formula (I) has a cationic xanthene skeleton and one anionic —SO 3 — group, and is electrically stabilized. Therefore, even if dispersed in a solvent, it is presumed to be excellent in stability without dissociating.
  • the nitrogen atom has an aromatic substituent such as an aryl group or a heteroaryl group, the lone electron pair of the nitrogen atom resonates with the aryl group or heteroaryl group as well as the xanthene skeleton. Therefore, it is presumed that the molecule becomes more stable.
  • the color material represented by the general formula (I) is stable even under light irradiation and has excellent light resistance. By using the color material, a colored layer having excellent light resistance can be formed. It becomes. Further, as a result of suppressing the fading of the color material, the luminance of the colored layer can be improved. Further, since the colorant represented by the general formula (I) can have different R 3 and R 4 from each other, the molecular design range is wide, and thus the adjustment range of spectral characteristics and the like is wide.
  • the colorant represented by the general formula (I) has only a cationic xanthene skeleton and one anionic —SO 3 — group, and has only an inner salt, and therefore has an alkali metal ion. Does not contain.
  • the colorant represented by the general formula (I) has only a cationic xanthene skeleton and one anionic —SO 3 — group, and has only an inner salt, and therefore has an alkali metal ion. Does not contain.
  • the coloring material represented by the general formula (I) has only one functional group containing SO 2 , the coloring material has an affinity for a low polarity solvent such as PGMEA as compared with a conventional xanthene dye. Get higher.
  • a solvent having a polarity lower than that of a conventionally used polar solvent can be used.
  • the resin composition is excellent in stability.
  • the colorant used in the present invention includes a color material represented by the following general formula (I) and a blue color material, and may contain other color materials as necessary. Each color material will be described below.
  • R 1 and R 2 are each independently an alkyl group or an aryl group, and R 3 and R 4 are each independently an aryl group or a heteroaryl group.
  • the alkyl group in R 1 and R 2 is not particularly limited, and examples thereof include an optionally substituted linear or branched alkyl group having 1 to 20 carbon atoms. Among them, a linear or branched alkyl group having 1 to 8 carbon atoms is preferable, and a linear or branched alkyl group having 1 to 5 carbon atoms is more preferable.
  • the substituent that the alkyl group may have is not particularly limited.
  • the aryl group in R 1 to R 4 is not particularly limited, and examples thereof include an aryl group having 6 to 20 carbon atoms which may have a substituent. Among them, a group having a phenyl group, a naphthyl group, or the like Is preferred.
  • the heteroaryl group in R 3 and R 4 is not particularly limited, and examples thereof include a heteroaryl group having 5 to 20 carbon atoms which may have a substituent. Examples of the hetero atom include a nitrogen atom and an oxygen atom. And those containing sulfur atoms are preferred. Specific examples of the heteroaryl group include furan, thiophene, pyrrole, and pyridine.
  • the substituent that the aryl group or heteroaryl group may have is not particularly limited, and examples thereof include an alkyl group, a halogen atom, an alkoxy group, a hydroxyl group, a carbamoyl group, and a monovalent group represented by —CO—O—R a.
  • a monovalent group represented by —O—CO—R a ′ a monovalent group represented by —SO 2 —R a ′′
  • a monovalent group represented by —R b —CO—O—R c group -R b '-O-CO- R c' monovalent group represented by a monovalent group represented by -R b "-SO 2 -R c" and the like.
  • R a, R a ′ , R a ′′ , R b , R b ′ , R b ′′ , R c , R c ′ and R c ′′ represent an alkyl group.
  • These substituents are preferably used because they do not adversely affect heat resistance and the like. It is possible to adjust the spectral characteristics by adjusting the electron withdrawing property and electron donating property by these substituents.
  • the alkyl group in R 1 to R 4 is preferably unsubstituted or the substituent is an aryl group, and the substituent of the aryl group or heteroaryl group is preferably an alkyl group.
  • R 1 to R 4 may be the same or different, and R 1 to R 4 of the coloring material represented by the general formula (I) are symmetrical with respect to the xanthene ring. May be asymmetric.
  • the range of molecular design of the color material represented by the general formula (I) is widened, and the adjustment range of spectral characteristics is also widened. Is preferable from the viewpoint that it is easy to bring the value closer to the target chromaticity and to further improve the luminance.
  • the substitution position of the —SO 3 — group of the benzene ring bonded to the xanthene skeleton is not particularly limited, but is preferably in the ortho position or the para position with respect to the xanthene skeleton.
  • the —SO 3 — group is preferably substituted in the ortho position relative to the xanthene skeleton from the viewpoint of heat resistance and light resistance.
  • the colorant represented by the general formula (I) can be used by converting a —SO 3 — group into a —SO 3 H group.
  • the method for converting the —SO 3 — group to the —SO 3 H group is not particularly limited.
  • an acid treatment method using a weak acid liberation reaction, a method using a cation exchange resin, and the like can be mentioned.
  • the acid treatment method for example, there is a method in which the coloring material is dissolved in a good solvent such as methanol and a solvent in which the acid is dissolved, and an —SO 3 — group is converted to a —SO 3 H group by adding an acid. Can be mentioned.
  • the acid used in the acid treatment method is not particularly limited as long as it is an acid having a higher acidity than an acid obtained by converting a —SO 3 — group into a —SO 3 H group.
  • highly versatile acids include hydrochloric acid, sulfuric acid, nitric acid, p-toluenesulfonic acid (PTS), trifluoromethanesulfonic acid, and the like.
  • examples of the ion exchange resin used in the method using the cation exchange resin include cation exchange resins terminated with sulfonic acid such as Diaion PK-216H (trade name, manufactured by Mitsubishi Chemical Corporation).
  • the sulfonation treatment for converting the —SO 3 — group of the color material into —SO 3 H group is performed after the color material is dissolved in a good solvent, and the color material has a sulfonic acid group (—SO 3 H) as a solid. It may be carried out when preparing a colored resin composition for a color filter, such as adding PGMEA or a dispersing agent without taking out the above. Alternatively, after the color material is sulfonated, a color material having a sulfonic acid group as a solid is taken out by a reprecipitation method or a recrystallization method, and then a colored resin composition for a color filter may be prepared. Among these, the former method is preferable from the viewpoint of the color material recovery rate. Moreover, the color material represented by the general formula (I) may be used alone or in combination of two or more.
  • the manufacturing method of the coloring material represented by the general formula (I) is not particularly limited, specific examples thereof include the following methods.
  • the sulfofluorane compound and the corresponding amine compound are refluxed in a solvent, the reaction solution is filtered at 60 ° C. to remove insoluble matters, a part of the solvent is removed, and the mixture is poured into 6% hydrochloric acid.
  • the wet cake is collected by filtration. The wet cake is washed with water or hot water and then dried to obtain the colorant of the above general formula (I).
  • the corresponding half of the amine compound is added. Add a small amount to the highly diluted sulfofluorane compound methanol solution and drop the remaining amine compound after the reaction, or slowly add a 1: 1 solution of each amine compound to the sulfofluorane compound methanol solution. By doing so, the asymmetric coloring material of the general formula (I) can be obtained with high yield.
  • Blue color material It does not specifically limit as a blue color material used for the colored resin composition for color filters of this invention, A well-known blue organic pigment, a blue dye, a blue lake pigment, etc. can be used.
  • the blue organic pigment is excellent in various resistances such as heat resistance and light resistance compared to the dye and the lake pigment, and the blue dye is soluble and therefore has a higher transmittance than the organic pigment.
  • the lake pigment is an organic pigment in which a water-soluble dye is precipitated with a lake agent (precipitating agent) to make it insoluble. Since the lake pigment is derived from a dye, the transmittance is higher than that of a normal pigment, and it is possible to achieve the demand for higher brightness.
  • blue organic pigment examples include C.I. I. Pigment blue 15, C.I. I. Pigment blue 15: 3, C.I. I. Pigment blue 15: 4, C.I. I. Pigment blue 15: 6, C.I. I. And CI Pigment Blue 60.
  • a copper phthalocyanine-based blue pigment is preferable from the viewpoint of relatively excellent luminance.
  • blue dye examples include methine dyes, anthraquinone dyes, azo dyes, triarylmethane dyes, phthalocyanine dyes, anthraquinone dyes, and the like.
  • blue lake pigment examples include those obtained by rakeizing the above blue dye with a lake agent.
  • the rake agent is not particularly limited.
  • phosphotungstic acid, phosphomolybdic acid, phosphotungstic molybdic acid, tannic acid, lauric acid, 3,4,5-trihydroxybenzoic acid, ferricyanide, ferrocyanide Etc. can be used.
  • blue lake pigments examples include C.I. I. Pigment blue 1, C.I. I. Pigment blue 1: 2, C.I. I. Pigment blue 2, C.I. I. Pigment blue 3, C.I. I. Pigment blue 8, C.I. I. Pigment blue 9, C.I. I. Pigment blue 10, C.I. I. Pigment blue 12, C.I. I. Pigment blue 14, C.I. I. Pigment blue 17: 1, C.I. I. Pigment blue 18, C.I. I. Pigment blue 19, C.I. I. Pigment blue 24, C.I. I. Pigment blue 24: 1, C.I. I. Pigment blue 53, C.I. I. Pigment blue 56, C.I. I. Pigment blue 56: 1, C.I. I. Pigment blue 61, C.I. I. Pigment blue 61: 1, C.I. I. Pigment blue 62, C.I. I. Pigment blue 63, C.I. I. And CI Pigment Blue 78.
  • the blue dye and the blue lake pigment are not particularly limited, but among them, a triarylmethane colorant containing triarylmethane as a basic skeleton is preferable from the viewpoint of improving the brightness and contrast of the colored layer.
  • a triarylmethane colorant containing triarylmethane as a basic skeleton is preferable from the viewpoint of improving the brightness and contrast of the colored layer.
  • the triarylmethane-based blue color material include triarylmethane-based dyes having a triarylmethane skeleton represented by the following general formula (II), and triarylmethane-based lake pigments.
  • R i to R vi each independently represents a hydrogen atom, an alkyl group which may have a substituent, or an aryl group which may have a substituent, and R i and R ii , R iii and R iv , R v and R vi may combine to form a ring structure, and Ar i represents a divalent aromatic group which may have a substituent.
  • i to R vi and Ar i may be the same or different.
  • the alkyl group in R i to R vi is not particularly limited, and examples thereof include straight-chain or branched alkyl groups having 1 to 20 carbon atoms. It is preferably a straight-chain or branched alkyl group having 8 and more preferably a straight-chain or branched alkyl group having 1 to 5 carbon atoms from the viewpoint of ease of production and raw material procurement. Groups and methyl groups are preferred.
  • the substituent that the alkyl group may have is not particularly limited, and examples thereof include an aryl group, a halogen atom, and a hydroxyl group, and examples of the substituted alkyl group include a benzyl group.
  • the aryl group in R i to R vi is not particularly limited, and examples thereof include an aryl group having 6 to 12 carbon atoms, and specific examples include a phenyl group and a naphthyl group. Examples of the substituent that the aryl group may have include an alkyl group and a halogen atom.
  • R i and R ii , R iii and R iv , and R v and R vi are combined to form a ring structure.
  • R i and R ii , R iii and R iv , R v and R vi are nitrogen A ring structure is formed through an atom.
  • the ring structure is not particularly limited, and examples thereof include a pyrrolidine ring, a piperidine ring, and a morpholine ring.
  • Divalent aromatic group in Ar i is not particularly limited, other aromatic hydrocarbon radical consisting of carbon ring may be a heterocyclic group.
  • aromatic hydrocarbon in the aromatic hydrocarbon group in addition to a benzene ring, condensed polycyclic aromatic hydrocarbons such as naphthalene ring, tetralin ring, indene ring, fluorene ring, anthracene ring, phenanthrene ring; biphenyl, terphenyl, Examples thereof include chain polycyclic hydrocarbons such as diphenylmethane, triphenylmethane, and stilbene.
  • the chain polycyclic hydrocarbon may have O, S, and N in the chain skeleton such as diphenyl ether.
  • the heterocyclic ring in the heterocyclic group includes 5-membered heterocycles such as furan, thiophene, pyrrole, oxazole, thiazole, imidazole, and pyrazole; And condensed polycyclic heterocycles such as benzofuran, thionaphthene, indole, carbazole, coumarin, benzo-pyrone, quinoline, isoquinoline, acridine, phthalazine, quinazoline, quinoxaline and the like.
  • These aromatic groups may have a substituent. Examples of the substituent that the aromatic group may have include an alkyl group having 1 to 5 carbon atoms and a halogen atom.
  • Ar i is preferably an aromatic group having 6 to 20 carbon atoms, more preferably an aromatic group composed of a condensed polycyclic carbocycle having 10 to 14 carbon atoms, particularly a phenylene group or a naphthylene group. It is preferable.
  • a plurality of R i to R vi and Ar i in one molecule may be the same or different.
  • triarylmethane dye represented by the general formula (II) include, for example, basic blue 7, basic blue 26, and the like.
  • the triarylmethane lake pigment is one or more elements selected from molybdenum, tungsten, silicon, and phosphorus, which are basic triarylmethane dyes represented by the following general formula (II ′). And a lake pigment made of an anion containing oxygen as an essential element is preferably used from the viewpoint of achieving high brightness of the colored layer.
  • each of R I to R VI independently represents a hydrogen atom, an alkyl group having 1 to 12 carbon atoms, an aryl group having 6 to 12 carbon atoms, or a group having 7 to 16 carbon atoms.
  • X ⁇ represents an anion containing one or more elements selected from molybdenum, tungsten, silicon and phosphorus and oxygen as essential elements.
  • the anion X - include, among others, is preferably the anion of a heteropolyacid or isopolyacid containing as at least one essential elements molybdenum and tungsten. Among these, one or more selected from the group consisting of phosphotungstic acid, silicotungstic acid, phosphotungstomolybdic acid, and cytungstomolybdic acid is preferably used.
  • Such lake pigments can be prepared with reference to, for example, International Publication No. 2012/039416 and International Publication No. 2012/039417.
  • triarylmethane lake pigment those represented by the following general formula (II ′′) are also preferably used from the viewpoint of achieving high brightness of the colored layer.
  • A is an a-valent organic group in which the carbon atom directly bonded to N has no ⁇ bond, and the organic group is saturated aliphatic at least at the terminal directly bonded to N.
  • R c- R XI to R XV each independently represents a hydrogen atom, an alkyl group which may have a substituent or an aryl group which may have a substituent, and R XII , R XIII and R XIV good .
  • Ar 1 be R XV combine to form a ring structure represents a divalent aromatic group which may have a substituent.
  • each plurality of R XI ⁇ R XV and Ar 1 are the same Or different.
  • a and c represent an integer of 2 or more
  • b and d represent an integer of 1 or more.
  • e is 0 or 1, and when e is 0, there is no bond.
  • a plurality of e may be the same or different. )
  • a in the general formula (II ′′) is an a-valent organic group in which the carbon atom directly bonded to N (nitrogen atom) has no ⁇ bond, and the organic group is saturated at least at the terminal directly bonded to N.
  • An aliphatic hydrocarbon group having an aliphatic hydrocarbon group or an aromatic group having the aliphatic hydrocarbon group is represented, and O (oxygen atom), S (sulfur atom), and N (nitrogen atom) are present in the carbon chain. Since the carbon atom directly bonded to N does not have a ⁇ bond, the color characteristics such as the color tone and transmittance of the cationic color development site are different from those of the linking group A and other color development sites.
  • an aliphatic hydrocarbon group having a saturated aliphatic hydrocarbon group at the terminal directly bonded to N is linear, branched or cyclic unless the terminal carbon atom directly bonded to N has a ⁇ bond.
  • the carbon atom other than the terminal may have an unsaturated bond, may have a substituent, and the carbon chain contains O, S, and N. Also good.
  • a carbonyl group, a carboxy group, an oxycarbonyl group, an amide group or the like may be contained, and a hydrogen atom may be further substituted with a halogen atom or the like.
  • the aromatic group having an aliphatic hydrocarbon group in A is a monocyclic or polycyclic aromatic group having an aliphatic hydrocarbon group having a saturated aliphatic hydrocarbon group at the terminal directly bonded to N. And may have a substituent, and may be a heterocyclic ring containing O, S, and N. Especially, it is preferable that A contains a cyclic
  • the cyclic aliphatic hydrocarbon groups a bridged alicyclic hydrocarbon group is preferable from the viewpoint of skeleton fastness.
  • the bridged alicyclic hydrocarbon group means a polycyclic aliphatic hydrocarbon group having a bridged structure in the aliphatic ring and having a polycyclic structure, for example, norbornane, bicyclo [2,2,2]. Examples include octane and adamantane.
  • norbornane is preferable.
  • the group containing a benzene ring and a naphthalene ring is mentioned, for example, Among these, the group containing a benzene ring is preferable.
  • A is a divalent organic group, a linear, branched or cyclic alkylene group having 1 to 20 carbon atoms, or an aromatic group substituted with two alkylene groups having 1 to 20 carbon atoms such as a xylylene group Etc.
  • the valence a in A is the number of chromogenic cation sites constituting the cation, and a is an integer of 2 or more.
  • the cation valence a is preferably 3 or more.
  • the upper limit of a is not particularly limited, but a is preferably 4 or less, and more preferably 3 or less, from the viewpoint of ease of production.
  • Ar 1 and R XI to R XV in the general formula (II ′′) include those described in International Publication No. 2012/144520 pamphlet.
  • the anion part (B c ⁇ ) is not particularly limited, and may be an organic anion or an inorganic anion. Represents an anion containing at least one atom, and an inorganic anion represents an anion not containing a carbon atom.
  • B c- is an inorganic anion from the viewpoint of high brightness and excellent heat resistance. It is preferable.
  • Specific examples of the organic anion and the inorganic anion include those described in International Publication No. 2012/144520 pamphlet. Especially, it is preferable that it is an anion of the inorganic acid containing at least 1 sort (s) of tungsten (W) and molybdenum (Mo) from the point which is excellent in heat resistance with high brightness
  • b represents the number of cations
  • d represents the number of anions in the molecular aggregate
  • b and d represent an integer of 1 or greater.
  • a plurality of cations may be used alone or in combination of two or more, and when d is 2 or more, a plurality of anions in the molecular aggregate may be used alone.
  • Two or more kinds may be combined, and an organic anion and an inorganic anion may be used in combination.
  • E in the general formula (II ′′) is an integer of 0 or 1.
  • a plurality of e may be the same or different.
  • those containing at least a triarylmethane skeleton are preferably used.
  • a lake pigment represented by general formula (II ") it can prepare with reference to international publication 2012/144520 pamphlet, for example.
  • the colored resin composition for a color filter of the present invention may be blended with other color materials as needed for the purpose of controlling the color tone.
  • other colorants for example, conventionally known organic pigments, lake pigments, dyes, inorganic pigments, and the like can be selected according to the purpose, and one or more can be used.
  • organic pigments used as other colorants include C.I. I. Pigment violet 19, C.I. I. Pigment violet 23, C.I. I. Pigment violet 29, C.I. I. Pigment violet 32, C.I. I. Pigment violet 36, C.I. I. Pigment violet 38 and the like.
  • lake pigments used as other colorants include C.I. I. Pigment violet 1, C.I. I. Pigment violet 2, C.I. I. Pigment violet 3, C.I. I. Pigment violet 3: 1, C.I. I. Pigment violet 3: 3, C.I. I. Pigment violet 4, C.I. I. Pigment violet 5, C.I. I. Pigment violet 5: 1, C.I. I. Pigment violet 6: 1, C.I. I. Pigment violet 7: 1, C.I. I. Pigment violet 9, C.I. I. Pigment violet 12, C.I. I. Pigment violet 20, C.I. I. Pigment violet 26, C.I. I. Pigment violet 27, C.I. I. And CI Pigment Violet 39.
  • dyes used as other colorants include red dyes such as xanthene dyes, azo dyes, anthraquinone dyes, perinone dyes, and dipyrromethene dyes.
  • the amount of the color material is not particularly limited as long as the effects of the present invention are not impaired.
  • the color material represented by the general formula (I) and the blue color material I s preferably 99: 1 to 30:70, more preferably 99: 1 to 50:50, and most preferably 99: 1 to 60:50. 40 is particularly preferred. Within this range, the color tone can be controlled without impairing the effects of the present invention.
  • the colored resin composition for a color filter of the present invention contains a binder component in order to impart film formability and adhesion to the surface to be coated.
  • a curable binder component in order to impart film formability and adhesion to the surface to be coated.
  • the curable binder component used in forming the coloring layer of a conventionally well-known color filter can be used suitably.
  • the curable binder component include a photocurable binder component containing a photocurable resin that can be polymerized and cured by visible light, ultraviolet light, electron beam, and the like, and a thermosetting resin that can be polymerized and cured by heating. What contains the thermosetting binder component to contain can be used.
  • the colored resin composition for a color filter according to the present invention can be selectively adhered in a pattern on a substrate to form a colored layer, for example, when used in an inkjet method, the developability of the curable binder component Is not necessary.
  • a well-known thermosetting binder component, a photosensitive binder component, etc. which are used when forming a color filter colored layer by an inkjet system etc. can be used suitably.
  • the thermosetting binder a combination of a compound having two or more thermosetting functional groups in one molecule and a curing agent is usually used, and a catalyst capable of promoting a thermosetting reaction may be added.
  • thermosetting functional group examples include an epoxy group, an oxetanyl group, an isocyanate group, and an ethylenically unsaturated bond.
  • An epoxy group is preferably used as the thermosetting functional group.
  • Specific examples of the thermosetting binder component include those described in International Publication No. 2012/144521 pamphlet.
  • the photosensitive binder component which has alkali developability is used suitably.
  • the photosensitive binder component include a positive photosensitive binder component and a negative photosensitive binder component.
  • the positive photosensitive binder component include a system containing an alkali-soluble resin and an o-quinonediazide group-containing compound as a photosensitizing component.
  • the negative photosensitive binder component a system containing at least an alkali-soluble resin, a polyfunctional monomer, and a photoinitiator is preferably used.
  • a negative photosensitive binder component is preferable because a pattern can be easily formed by an existing process by a photolithography method.
  • the alkali-soluble resin, the polyfunctional monomer, and the photoinitiator constituting the negative photosensitive binder component will be specifically described.
  • the alkali-soluble resin in the present invention has a carboxyl group, acts as a binder resin, and is suitably selected and used as long as it is soluble in a developer used for pattern formation, particularly preferably an alkali developer. be able to.
  • a preferable alkali-soluble resin in the present invention is a resin having a carboxyl group, and specific examples thereof include an acrylic copolymer having a carboxyl group and an epoxy (meth) acrylate resin having a carboxyl group.
  • particularly preferred are those having a carboxyl group in the side chain and further having a photopolymerizable functional group such as an ethylenically unsaturated group in the side chain. This is because the film strength of the cured film formed by containing the photopolymerizable functional group is improved.
  • These acrylic copolymers and epoxy acrylate resins may be used as a mixture of two or more.
  • the acrylic copolymer having a carboxyl group is obtained by copolymerizing a carboxyl group-containing ethylenically unsaturated monomer and an ethylenically unsaturated monomer.
  • the acrylic copolymer having a carboxyl group may further contain a structural unit having an aromatic carbocyclic ring.
  • the aromatic carbocycle functions as a component that imparts coating properties to the colored resin composition.
  • the acrylic copolymer having a carboxyl group may further contain a structural unit having an ester group.
  • the structural unit having an ester group not only functions as a component that suppresses alkali solubility of the colored resin composition, but also functions as a component that improves the solubility in a solvent and further the solvent re-solubility.
  • acrylic copolymer having a carboxyl group examples include methyl (meth) acrylate, ethyl (meth) acrylate, n-propyl (meth) acrylate, isopropyl (meth) acrylate, n-butyl (meth) acrylate, sec- Butyl (meth) acrylate, isobutyl (meth) acrylate, tert-butyl (meth) acrylate, 2-ethylhexyl (meth) acrylate, 2-ethoxyethyl (meth) acrylate, benzyl (meth) acrylate, phenyl (meth) acrylate, phenoxy Ethyl (meth) acrylate, cyclohexyl (meth) acrylate, isobornyl (meth) acrylate, dicyclopentanyl (meth) acrylate, 1-adamantyl (meth) acrylate, allyl (meth
  • a polymer having an ethylenically unsaturated bond introduced by adding an ethylenically unsaturated compound having a reactive functional group such as a glycidyl group or a hydroxyl group to the above copolymer can be exemplified, but the present invention is not limited thereto. Is not to be done.
  • a polymer or the like into which an ethylenically unsaturated bond is introduced may be polymerized with a polyfunctional monomer described later at the time of exposure. This is particularly preferable in that it becomes possible and the colored layer becomes more stable.
  • the copolymerization ratio of the carboxyl group-containing ethylenically unsaturated monomer in the carboxyl group-containing copolymer is usually 5 to 50% by weight, preferably 10 to 40% by weight.
  • the copolymerization ratio of the carboxyl group-containing ethylenically unsaturated monomer is less than 5% by weight, the solubility of the resulting coating film in an alkaline developer is lowered, and pattern formation becomes difficult.
  • the copolymerization ratio exceeds 50% by weight, there is a tendency that the formed pattern is easily detached from the substrate or the pattern surface is roughened during development with an alkali developer.
  • the acid value of the carboxyl group-containing copolymer is preferably 30 to 200 mgKOH / g.
  • the acid value means the number of mg of potassium hydroxide required to neutralize the acid component contained in 1 g of the solid content of the polymer, and can be measured by the method defined in JIS-K0070.
  • the weight average molecular weight of the carboxyl group-containing copolymer is preferably in the range of 1,000 to 50,000, more preferably 4,000 to 25,000. If it is less than 1,000, the binder function after curing is remarkably lowered, and if it exceeds 50,000, pattern formation may be difficult during development with an alkaline developer.
  • the weight average molecular weight here is calculated
  • epoxy (meth) acrylate resin which has a carboxyl group
  • Acrylate compounds are suitable.
  • unsaturated group-containing monocarboxylic acids examples include (meth) acrylic acid, 2- (meth) acryloyloxyethyl succinic acid, 2- (meth) acryloyloxyethyl phthalic acid, (meth) acryloyloxyethyl hexahydrophthalic acid, (Meth) acrylic acid dimer, ⁇ -furfurylacrylic acid, ⁇ -styrylacrylic acid, cinnamic acid, crotonic acid, ⁇ -cyanocinnamic acid and the like. These unsaturated group-containing monocarboxylic acids may be used alone or in combination of two or more.
  • Acid anhydrides include maleic anhydride, succinic anhydride, itaconic anhydride, phthalic anhydride, tetrahydrophthalic anhydride, hexahydrophthalic anhydride, methylhexahydrophthalic anhydride, endomethylenetetrahydrophthalic anhydride, methylendo Dibasic acid anhydrides such as methylenetetrahydrophthalic acid, chlorendic anhydride, methyltetrahydrophthalic anhydride, trimellitic anhydride, pyromellitic anhydride, benzophenonetetracarboxylic dianhydride, biphenyltetracarboxylic dianhydride, biphenyl Aromatic polycarboxylic acid anhydrides such as ether tetracarboxylic acid, 5- (2,5-dioxotetrahydrofuryl) -3-methyl-3-cyclohexene-1,2-dicarboxylic acid anhydride, endobicycl
  • the weight average molecular weight Mw of the epoxy (meth) acrylate compound having a carboxyl group thus obtained is not particularly limited, but is preferably 1000 to 40000, more preferably 2000 to 5000.
  • the alkali-soluble resin used in the colored resin composition for a color filter of the present invention may be used alone or in combination of two or more, and the content thereof is a colored resin for a color filter.
  • the amount is usually in the range of 10 to 1000 parts by weight, preferably in the range of 20 to 500 parts by weight, with respect to 100 parts by weight of the color material contained in the composition. If the content of the alkali-soluble resin is too small, sufficient alkali developability may not be obtained, and if the content of the alkali-soluble resin is too large, the ratio of the colorant becomes relatively low and sufficient. The coloring density may not be obtained.
  • the polyfunctional monomer used in the colored resin composition for a color filter of the present invention is not particularly limited as long as it can be polymerized by a photoinitiator described later, and usually has two ethylenically unsaturated double bonds.
  • a compound having the above is used, and it is particularly preferably a polyfunctional (meth) acrylate having two or more acryloyl groups or methacryloyl groups.
  • polyfunctional (meth) acrylates examples include ethylene glycol di (meth) acrylate, diethylene glycol di (meth) acrylate, hexanediol di (meth) acrylate, propylene glycol di (meth) acrylate, and glycerol di (meth).
  • trifunctional or higher polyfunctional (meth) acrylate examples include, for example, trimethylolpropane tri (meth) acrylate, trimethylolethane tri (meth) acrylate, glycerol tri (meth) acrylate, pentaerythritol tri (meth) acrylate, Pentaerythritol tetra (meth) acrylate, alkyl-modified dipentaerythritol tri (meth) acrylate, succinic anhydride-modified pentaerythritol tetra (meth) acrylate, tri (meth) acrylate phosphate, tris (acryloxyethyl) isocyanurate, tris ( Methacryloxyethyl) isocyanurate, dipentaerythritol tetra (meth) acrylate, ditrimethylolpropane tetraacrylate, alkyl-modified dipentaerythrito
  • polyfunctional (meth) acrylates may be used individually by 1 type, and may be used in combination of 2 or more type. Moreover, when the photocurability (high sensitivity) is requested
  • the content of the polyfunctional monomer used in the colored resin composition for a color filter of the present invention is not particularly limited, but is usually about 5 to 500 parts by weight, preferably 20 parts per 100 parts by weight of the alkali-soluble resin. It is in the range of up to 300 parts by weight. If the content of the polyfunctional monomer is less than the above range, the photocuring may not sufficiently proceed and the exposed part may be eluted, and if the content of the polyfunctional monomer is more than the above range, the alkali developability may be deteriorated. There is.
  • Photoinitiator There is no restriction
  • aromatic ketones such as benzophenone, Michler ketone, 4,4′-bisdiethylaminobenzophenone, 4-methoxy-4′-dimethylaminobenzophenone, 2-ethylanthraquinone, phenanthrene, benzoin methyl ether, benzoin ethyl ether, benzoin phenyl ether, etc.
  • Benzoin ethers such as methylbenzoin, ethylbenzoin, 2- (o-chlorophenyl) -4,5-phenylimidazole dimer, 2- (o-chlorophenyl) -4,5-di (m-methoxyphenyl) Imidazole dimer, 2- (o-fluorophenyl) -4,5-diphenylimidazole dimer, 2- (o-methoxyphenyl) -4,5-diphenylimidazole dimer, 2,4,5-tria Reel imidazole dimer 2- (o-chlorophenyl) -4,5-di (m-methylphenyl) imidazole dimer, 2-benzyl-2-dimethylamino-1- (4-morpholinophenyl) -butanone, 2-trichloromethyl- 5-styryl-1,3,4-oxadiazole, 2-trichloromethyl-5- (p-cyanostyryl) -1
  • photoinitiators may be used individually by 1 type, and may be used in combination of 2 or more type. Among them, from the viewpoint of luminance and heat resistance, it contains at least one selected from 2-methyl-1- (4-methylthiophenyl) -2-morpholinopropan-1-one and 2,4-diethylthioxanthone. Is preferred.
  • the content of the photoinitiator used in the colored resin composition for a color filter of the present invention is usually about 0.01 to 100 parts by weight, preferably 5 to 60 parts by weight with respect to 100 parts by weight of the polyfunctional monomer. is there. If the content is less than the above range, the polymerization reaction cannot be sufficiently caused, so that the hardness of the colored layer may not be sufficient. In some cases, the content of the coloring material or the like in the solid content is relatively small, and a sufficient coloring density cannot be obtained.
  • the solvent contained in the colored resin composition for color filter of the present invention is not particularly limited as long as it is an organic solvent that does not react with each component in the colored resin composition for color filter and can dissolve or disperse them. Is not to be done.
  • a solvent capable of dispersing the color material represented by the general formula (I) can be used together with the dispersant described later.
  • the solvent whose solubility of the coloring material represented by the said general formula (I) at 23 degreeC is 0.2 (g / 100g solvent) or less is mentioned, for example.
  • the colored resin composition for a color filter according to the present invention has the general formula
  • the colorant represented by (I) can be used as fine particles dispersed.
  • the solvent used in the present invention is preferably a solvent having a solubility of the coloring material represented by the general formula (I) at 23 ° C. of 0.1 (g / 100 g solvent) or less.
  • the solubility of the coloring material in the mixed solvent at 23 ° C. is 0.2 (g / 100 g). Solvent) or less is preferable.
  • the solvent whose solubility of the coloring material represented by the said general formula (I) at 23 degreeC is 0.2 (g / 100g solvent) or less is simply determined with the following evaluation methods. Can do. First, it is possible to determine whether or not the solvent does not substantially dissolve the color material represented by the general formula (I) by the following method. Into a 20 mL sample tube bottle, 0.1 g of the colorant represented by the above general formula (I) is added, and the solvent S is added using a 10 ml hole pipette, and further covered with an ultrasonic wave for 3 minutes. The obtained liquid is stored in a 23 ° C. water bath for 60 minutes.
  • the solubility is further determined by the following evaluation method.
  • a good solvent for the color material for example, alcohol such as methanol
  • a filtrate is similarly obtained, and a color material solution in which the color material is dissolved is prepared.
  • the solution is appropriately diluted to about 1 to 100000 times, and the absorbance at the maximum absorption wavelength of the coloring material is measured in the same manner.
  • the solubility of the coloring material in the solvent S is calculated from the absorbance and dilution ratio of the coloring material solution of the solvent S and the coloring material solution of the good solvent.
  • a solvent whose solubility of the coloring material is 0.2 (g / 100 g solvent) or less is determined that the coloring material is a poorly soluble solvent.
  • the solubility at 23 ° C. of the color material is 0.2 (g / g).
  • a solvent exceeding 100 g solvent) is preferably used.
  • the color material represented by the general formula (I) used in the present invention can be dissolved in a solvent having a lower polarity than conventional ones.
  • the colorant represented by the general formula (I) has a higher solubility in a solvent used for dissolving a conventional xanthene dye than that of a conventional xanthene dye. Processability is improved.
  • the solvent contained in the colored resin composition for a color filter of the present invention is preferably selected from ester solvents and used from the viewpoint of stability.
  • ester solvent include ethyl acetate, butyl acetate, methyl methoxypropionate, ethyl ethoxypropionate, ethyl lactate, methoxyethyl acetate, propylene glycol monomethyl ether acetate, 3-methoxy-3-methyl-1-butyl acetate, 3-methoxybutyl acetate, methoxybutyl acetate, ethoxyethyl acetate, ethyl cellosolve acetate, dipropylene glycol methyl ether acetate, propylene glycol diacetate, 1,3-butylene glycol diacetate, cyclohexanol acetate, 1,6-hexanediol di Examples include acetate, diethylene glycol monoethyl ether acetate, diethylene
  • propylene glycol monomethyl ether acetate examples include ethyl lactate in the ester solvent.
  • a solvent other than the ester solvent for example, a ketone solvent such as cyclohexanone, an alcohol solvent such as diacetone alcohol, or the like can be used.
  • the solvent used in the present invention it is preferable that the solvent of which the solubility of the coloring material represented by the general formula (I) is 0.2 (g / 100 g solvent) or less is 50% by weight or more in the total solvent, Furthermore, it is preferable to contain 70% by weight or more, and further more preferably 80% by weight or more is preferable from the viewpoint of stability.
  • the solvent is 100% by weight in the total solvent.
  • the said solvent may be used individually by 1 type, and may be used in combination of 2 or more type.
  • the colored resin composition for a color filter according to the present invention can contain a dispersant and other optional additive components as necessary.
  • the colored resin composition for a color filter according to the present invention may be prepared by dissolving the colorant in the solvent, but may be prepared by dispersing in a solvent by using it together with a dispersant described later.
  • Dispersant a known dispersant can be appropriately selected and used.
  • cationic, anionic, nonionic, amphoteric, silicone, and fluorine-based surfactants can be used.
  • a polymer surfactant polymer dispersant is preferable because it can be uniformly and finely dispersed.
  • polymer dispersant examples include polymer dispersants such as modified polyurethane, modified polyacrylate, modified polyester, and modified polyamide.
  • polymer dispersants such as modified polyurethane, modified polyacrylate, modified polyester, and modified polyamide.
  • polymers of unsaturated carboxylic acid esters such as polyacrylic acid esters;
  • partial) ammonium Salts partial) alkylamine salts;
  • polymers of unsaturated carboxylic acid esters such as polyacrylic acid esters having amino groups, (partial) acid-modified products of amino groups of the polymers; hydroxyl group-containing polyacrylic acid
  • Co polymers of hydroxyl-containing unsaturated carboxylic acid esters such as esters and their modified products; polyurethanes; unsaturated polyamides; polysiloxanes; long-chain polyaminoamide phosphates; poly (lower alky
  • the dispersant used in the present invention is preferably a dispersant having an amine value from the viewpoint that the colorant can be suitably dispersed and the dispersion stability is good.
  • the amine value is 5 to 200 mgKOH / g. It is preferably 5 to 150 mgKOH / g.
  • the amine value represents the weight (mg) of potassium hydroxide (KOH) equivalent to the amount of hydrochloric acid necessary to neutralize 1 g of solid content, and is measured by the method described in JIS K7237. be able to.
  • a polymer dispersant is preferable, a polymer dispersant having a nitrogen atom is more preferable, and a polymer dispersant having an amine or an ammonium salt is more preferable.
  • the amine or ammonium salt is preferably present in the side chain or the resin terminal.
  • polymer dispersant having an amine or ammonium salt examples include (partial) amine salts, (partial) ammonium salts, and (partial) alkylamine salts of (co) polymers of unsaturated carboxylic acids such as polyacrylic acid; Polyurethanes; unsaturated polyamides; polyethyleneimine derivatives; polyallylamine derivatives and the like.
  • Examples of commercially available products used as a dispersant in the present invention include EFKA-4046, EFKA-4047, EFKA polymer 10, EFKA polymer 400, EFKA polymer 401, EFKA polymer 4300, EFKA polymer 4310, EFKA polymer 4320, and EFKA polymer.
  • the dispersant used for dispersing the colorant represented by the general formula (I) is, among others, a polymer dispersant made of a polymer containing a repeating unit having a tertiary amine, or a urethane-based dispersion. Being an agent, good dispersibility and excellent brightness can be realized, and foreign matter is not deposited during the formation of the colored layer, and a colored layer with excellent resolubility in a solvent and excellent heat resistance is formed. It is preferable from the point of possible.
  • the two types of dispersants preferable as the dispersant for the color material represented by the general formula (I) will be described in detail.
  • the repeating unit having a tertiary amine is a site having an affinity for the colorant represented by the general formula (I).
  • the tertiary amine of the repeating unit and the —SO 3 — group or —SO 3 H group of the coloring material are stabilized by causing an acid-base interaction.
  • the polymer dispersant made of a polymer containing a repeating unit having a tertiary amine usually contains a repeating unit that becomes a site having an affinity for a solvent.
  • Examples of the polymer containing a repeating unit having a tertiary amine include (a) a block copolymer having a block part composed of a repeating unit having a tertiary amine and a block part having a solvent affinity, and (b) 3 A graft copolymer containing a repeating unit having a secondary amine and a repeating unit having a polymer chain having solvent affinity is preferably used.
  • the repeating unit having a tertiary amine may be contained in a polymer chain corresponding to a branch part, and the solvent affinity with the repeating unit having a polymer chain containing a repeating unit having a tertiary amine It may be a graft copolymer containing a repeating unit having a polymer chain.
  • the repeating unit having a tertiary amine only needs to have a tertiary amine, and the tertiary amine may be contained in the side chain of the block polymer or may constitute the main chain.
  • a repeating unit having a tertiary amine in the side chain is preferable, and among them, the structure represented by the following general formula (III) is preferable because the main chain skeleton is hardly thermally decomposed and has high heat resistance. Is more preferable.
  • R 15 is a hydrogen atom or a methyl group
  • Q is a direct bond or a divalent linking group
  • R 16 is an alkylene group having 1 to 8 carbon atoms
  • R 17 and R 18 each independently represent a optionally substituted linear or cyclic hydrocarbon group, R 17 and R 18 form a ring structure by bonding with each other .
  • R 20 and R Each 21 is independently a hydrogen atom or a methyl group.
  • x represents an integer of 1 to 18, y represents an integer of 1 to 5, and
  • z represents an integer of 1 to 18.
  • Examples of the divalent linking group Q in the general formula (III) include, for example, an alkylene group having 1 to 10 carbon atoms, an arylene group, a —CONH— group, a —COO— group, an ether group having 1 to 10 carbon atoms (— R′—OR ′′ —: R ′ and R ′′ are each independently an alkylene group) and combinations thereof.
  • Q is preferably a —COO— group from the viewpoint of heat resistance of the obtained polymer, solubility in PGMEA, and a relatively inexpensive material.
  • the divalent organic group R 16 in the general formula (III) is an alkylene group having 1 to 8 carbon atoms, — [CH (R 20 ) —CH (R 21 ) —O] x —CH (R 20 ) —CH (R 21 ) — or — [(CH 2 ) y —O] z — (CH 2 ) y —.
  • the alkylene group having 1 to 8 carbon atoms may be linear or branched. For example, methylene group, ethylene group, trimethylene group, propylene group, various butylene groups, various pentylene groups, various hexylenes. Groups, various octylene groups and the like.
  • R 20 and R 21 are each independently a hydrogen atom or a methyl group.
  • R 16 is preferably an alkylene group having 1 to 8 carbon atoms from the viewpoint of dispersibility. Among them, R 16 is more preferably a methylene group, an ethylene group, a propylene group, or a butylene group. Groups are more preferred.
  • Examples of the cyclic structure formed by combining R 17 and R 18 in the general formula (III) include a 5- to 7-membered nitrogen-containing heterocyclic monocycle or a condensed ring formed by condensing two of these. It is done.
  • the nitrogen-containing heterocycle preferably has no aromaticity, more preferably a saturated ring.
  • repeating unit represented by the general formula (III) examples include (meth) acryloyloxypropyldimethylamine, (meth) acryloyloxyethyldimethylamine, (meth) acryloyloxypropyldiethylamine, (meth) acryloyloxyethyldiethylamine, and the like. Examples include, but are not limited to, derived repeating units.
  • Block copolymer The block copolymer having a solvent affinity in the block copolymer having a block unit composed of a repeating unit having a tertiary amine and a block unit having a solvent affinity has a solvent affinity.
  • the repeating unit derived from a non-basic monomer is appropriately selected according to the solvent so as to have solvent affinity.
  • the non-basic monomer gives a solution having a pH lower than 7.1 when dissolved in water at 25 ° C. at a concentration of 0.1 N (saturation concentration when the saturation concentration is less than 0.1 N).
  • a polymerizable monomer A polymerizable monomer.
  • the polymer of unsaturated carboxylic acid esters such as polyacrylic acid ester, unsaturated carboxylic acid polymers, such as polyacrylic acid, etc. are mentioned, for example.
  • a polymer having a repeating unit represented by the following general formula (IV) is improved in heat resistance while improving dispersibility and dispersion stability of the color material represented by the general formula (I). It is preferable from the point which improves.
  • R 22 is a hydrogen atom or a methyl group
  • A is a direct bond or a divalent linking group
  • R 23 is an alkyl group having 1 to 18 carbon atoms
  • R 24 and R 25 are each independently a hydrogen atom or a methyl group
  • R 26 is a hydrogen atom, an alkyl group having 1 to 18 carbon atoms, an alkenyl group having 2 to 18 carbon atoms, an aralkyl group
  • X is an integer from 1 to 18, and y is an integer from 1 to 5.
  • z is an integer of 1 ⁇ 18 .m's 3-200 integer
  • n is an integer of 10 to 200.
  • a block copolymer having a block part composed of a repeating unit having a tertiary amine and a block part having a solvent affinity for example, a block copolymer described in Japanese Patent No. 4911253 is used. It can be mentioned as a suitable thing.
  • the repeating unit having a polymer chain having solvent affinity may be:
  • the structural unit represented by the following general formula (V) is mentioned.
  • R 15 ′ represents a hydrogen atom or a methyl group
  • L represents a direct bond or a divalent linking group
  • Polymer represents a polymer chain.
  • L is a direct bond or a divalent linking group.
  • the divalent linking group in L is not particularly limited as long as it can link an ethylenically unsaturated double bond and a polymer chain.
  • Examples of the divalent linking group for L include an alkylene group, an alkylene group having a hydroxyl group, an arylene group, a —CONH— group, a —COO— group, a —NHCOO— group, an ether group (—O— group), and a thioether group. (—S— group), and combinations thereof.
  • the direction of bonding of the divalent linking group is arbitrary.
  • -CO when -CONH- is contained in the divalent linking group, -CO may be on the carbon atom side of the main chain and -NH may be on the side of the polymer chain. On the carbon atom side, —CO may be the polymer chain side chain.
  • the polymer chain may be appropriately selected so as to have solubility in a solvent.
  • the polymer is used so that the solubility of the graft copolymer at 23 ° C. with respect to the solvent used is 50 (g / 100 g solvent) or more. It is preferred to select a chain.
  • the polymer chain preferably has at least one structural unit represented by the following general formula (VI) and general formula (VII) from the viewpoint of solubility in a solvent.
  • R 28 is a hydrogen atom or a methyl group
  • R 29 is an alkyl group having 1 to 18 carbon atoms, a benzyl group, a phenyl group, a biphenyl group, a cyano group, — [CH (R 30 ) —CH (R 31 ) —O] x —R 32 , — [(CH 2 ) y —O] z —R 32 , — [CO— (CH 2 ) y —O] z — A monovalent group represented by R 32 , —CO—O—R 33 or —O—CO—R 34.
  • R 30 and R 31 each independently represents a hydrogen atom or a methyl group.
  • R 32 is a hydrogen atom or a monovalent group represented by a C 1-18 alkyl group, benzyl group, phenyl group, biphenyl group, —CHO, —CH 2 CHO or —CH 2 COOR 35 ;
  • 33 is an alkyl group having 1 to 18 carbon atoms, benzyl group, phenyl group, biphenyl group, cyano group, — [CH (R 30 ) —CH (R 31 ) —O] x —R 32 , — [(CH 2 ) Y —O] z —R 32 or a monovalent group represented by — [CO— (CH 2 ) y —O] z —R 32 .
  • R 34 represents an alkyl group having 1 to 18 carbon atoms
  • R 35 represents a hydrogen atom or an alkyl group having 1 to 5 carbon atoms
  • m represents an integer of 1 to 5
  • n and n ′ represent an integer of 5 to 200
  • graft copolymer containing such a repeating unit having a tertiary amine and a repeating unit having a polymer chain having a solvent affinity include, for example, the graft copolymer described in Japanese Patent No. 4911256. It can be mentioned as a suitable thing.
  • the urethane-based dispersant suitably used as a dispersant having excellent dispersibility of the colorant represented by the general formula (I) is a compound having one or more urethane bonds (—NH—COO—) in one molecule. It is a dispersing agent which consists of.
  • the urethane-based dispersant is preferable from the viewpoint that good dispersion can be achieved with a small amount of the dispersant. By making the amount of the dispersant small, it is possible to relatively increase the amount of the curing component and the like, and as a result, it is possible to form a colored layer having excellent heat resistance.
  • the urethane-based dispersant is particularly preferable in terms of excellent dispersibility of the color material represented by the general formula (I).
  • the urethane dispersant is preferably a reaction product of a polyisocyanate having two or more isocyanate groups in one molecule and a polyester having a hydroxyl group at one or both ends.
  • the polyisocyanate preferably has at least one isocyanate compound selected from diisocyanates and triisocyanates, and is a polymer having a main chain skeleton obtained by polymerizing at least one of diisocyanates and triisocyanates. May be.
  • the main chain structure in which at least one of diisocyanates and triisocyanates is polymerized includes a molecular structure in which isocyanate groups are bonded to each other and polymerized between the above polyisocyanates. Further, the chain structure of the main chain skeleton may contain a ring structure such as an aromatic ring or a heterocyclic ring which may have a substituent.
  • Diisocyanates used in the urethane-based dispersant may be aliphatic diisocyanates such as hexamethylene diisocyanate and isophorone diisocyanate, but aromatic diisocyanates are preferable from the viewpoint of heat resistance.
  • benzene-1,3-diisocyanate Benzene diisocyanates such as benzene-1,4-diisocyanate; toluene diisocyanates such as toluene-2,4-diisocyanate, toluene-2,5-diisocyanate, toluene-2,6-diisocyanate, toluene-3,5-diisocyanate 1,2-xylene-3,5-diisocyanate, 1,2-xylene-3,6-diisocyanate, 1,2-xylene-4,6-diisocyanate, 1,3-xylene-2,4-diisocyanate 1,3-xylene-2,4-diisocyanate 1,3-xylene-2,5-diisocyanate, 1,3-xylene-2,6-diisocyanate, 1,3-xylene-4,6-diisocyanate, 1,4-xylene-2,
  • triisocyanates examples include benzene triisocyanates such as benzene-1,2,4-triisocyanate, benzene-1,2,5-triisocyanate, and benzene-1,3,5-triisocyanate; -2,3,5-triisocyanate, toluene-2,3,6-triisocyanate, toluene-2,4,5-triisocyanate, toluene-2,4,6-triisocyanate, toluene-3,4,6 -Toluene isocyanates such as triisocyanate, toluene-3,5,6-triisocyanate, 1,2-xylene-3,4,6-triisocyanate, 1,2-xylene-3,5,6-triisocyanate 1,3-xylene-2,4,5-triisocyanate, 1,3-xylene-2,4,6 Xylene such as triisocyanate, 1,3-xylene-3,4,5-triisocyanate, 1,3
  • toluene diisocyanates are preferred from the viewpoint of high heat resistance.
  • These diisocyanates and triisocyanates can be used alone or in admixture of two or more.
  • polyesters having a hydroxyl group at one end or both ends among them, from the viewpoint of dispersibility, — (O—R j CO) n— (R j is an alkylene group having 1 to 20 carbon atoms, and n is 2 or more. It is preferable that it is a compound containing the polyester chain represented by this.
  • Specific examples of the polyester chain include polylactones such as polycaprolactone, polyvalerolactone and polypropiolactone, and polycondensation polyesters such as polyethylene terephthalate and polybutylene terephthalate.
  • polylactones such as polycaprolactone, polyvalerolactone and polypropiolactone
  • polycondensation polyesters such as polyethylene terephthalate and polybutylene terephthalate.
  • the urethane-based dispersant does not have an acidic functional group from the viewpoint of dispersibility.
  • the acidic functional group include a carboxyl group, a sulfo group, and a phosphoric acid group, and a representative example is a carboxyl group.
  • a urethane type dispersing agent does not contain the polyether chain
  • the polyether chain means a structure represented by — (O—R i ) n— (R i is an alkylene group having 1 to 10 carbon atoms, and n is an integer of 2 or more).
  • the molecular weight of the urethane-based dispersant is preferably in the range of 500 to 30,000 in terms of polystyrene-equivalent weight average molecular weight from the viewpoints of heat resistance, electrical reliability, and dispersibility.
  • the dispersant may be used alone or in combination of two or more.
  • a different dispersant may be used.
  • the colored resin composition for a color filter of the present invention may contain various additives as long as the object of the present invention is not impaired.
  • the additive include a polymerization terminator, a chain transfer agent, a leveling agent, a plasticizer, a surfactant, an antifoaming agent, a silane coupling agent, an ultraviolet absorber, and an adhesion promoter.
  • the total content of the colorant represented by the general formula (I), the blue color material, and other colorants blended as necessary is the total solid content of the color resin composition for color filters. Therefore, it is preferably 5 to 65% by weight, more preferably 8 to 55% by weight. If it is at least the above lower limit, the color density of the colored layer is excellent when the colored resin composition for a color filter is applied to a predetermined film thickness (usually 1.0 to 5.0 ⁇ m). Moreover, if it is below the said upper limit, while being excellent in the dispersibility and dispersion stability, the colored layer excellent in hardness and adhesiveness with a board
  • solid content is all things other than the solvent mentioned above, and the polyfunctional monomer etc. which are melt
  • the total amount of the binder component is preferably 24 to 94% by weight, and more preferably 40 to 87% by weight, based on the total solid content of the colored resin composition for color filters. If it is more than the said lower limit, the colored layer excellent in hardness and the adhesiveness with a board
  • the content of the solvent may be set as appropriate as long as the colored layer can be formed with high accuracy, but it should be in the range of 65 to 95% by weight with respect to the total amount of the colored resin composition for the color filter. In particular, it is preferably in the range of 75 to 88% by weight. When the content of the solvent is within the above range, the coating property can be excellent.
  • the content of the dispersant is not particularly limited as long as the colorant can be uniformly dispersed.
  • the content of the dispersant is 1 to 100 parts by weight based on 100 parts by weight of the color resin colored resin composition. 50 parts by weight can be used.
  • it is preferably blended in a proportion of 2 to 30 parts by weight, particularly preferably 2 to 15 parts by weight, based on 100 parts by weight of the solid content of the colored resin composition for color filters. If it is more than the said lower limit, it is excellent in the dispersibility and dispersion stability of a coloring agent, and is excellent in storage stability. Moreover, if it is below the said upper limit, developability will become favorable.
  • the manufacturing method of the colored resin composition for color filters which concerns on this invention is a method which can melt
  • it can be prepared by mixing using a known mixing means.
  • a method for preparing a colored resin composition for a color filter according to the present invention for example, (i) In the solvent, various color materials used for the colorant are separately dispersed together with the dispersant, or without using the dispersant.
  • a colorant dispersion or a colorant solution is prepared by dissolving each, while a binder resin composition is prepared by adding a binder component in another solvent, and the colorant dispersion and / or the colorant is prepared.
  • a colorant dispersion or a colorant solution is prepared by simultaneously dissolving without using an agent, while a binder resin composition is prepared by adding a binder component in another solvent, and the colorant
  • a method of mixing the dispersion or colorant solution, the binder resin composition, and various additive components used as required (iii) a colorant, a binder component, and various additive components used as desired in the solvent; And (iv) a method in which a binder component and various additive components used as desired are added to a solvent, mixed, and then added with a colorant and mixed.
  • the method (i) or (ii) is preferable from the viewpoint that the aggregation of the colorant can be effectively prevented and dispersed uniformly.
  • the disperser for performing the dispersion treatment is not particularly limited.
  • roll mills such as two rolls and three rolls, ball mills, vibration ball mills and the like.
  • examples thereof include a ball mill, a paint shaker, a continuous disk type bead mill, and a bead mill such as a continuous annular type bead mill.
  • the bead diameter to be used is preferably 0.03 to 2 mm, more preferably 0.05 to 1 mm.
  • preliminary dispersion is performed with 1 to 2 mm zirconia beads having a relatively large bead diameter, and further main dispersion is performed with 0.03 to 0.1 mm zirconia beads having a relatively small bead diameter.
  • Color material dispersion The color material dispersion according to the present invention is characterized in that the color material represented by the general formula (I) is dispersed in a solvent by a dispersant having an amine value.
  • the colorant represented by the general formula (I) and the dispersant having an amine value used in the colorant dispersion according to the present invention are used in the above-described colored resin composition for color filters of the present invention. The thing similar to a thing can be used.
  • the color material affinity portion of the dispersant surrounds the color material, centering on the color material represented by the general formula (I), and the solvent affinity of the dispersant is outside of the color material. It is presumed that the sex site is arranged, that is, a micelle of a colorant and a dispersant is formed. In this manner, in the color material dispersion of the present invention, the color material can be uniformly dispersed in the solvent as fine particles surrounded by the dispersant in a miniaturized state. In this case, it is not necessary to use a polar solvent for dissolving the coloring material, so that it has excellent stability. Also in the formed coating film, since the fine color material exists as fine particles surrounded by the dispersant, it is preferable from the viewpoint of having solvent re-solubility.
  • the average dispersed particle size of the micelles of the colorant and dispersant used in the present invention is not particularly limited as long as it can produce a desired color when used as a colored layer of a color filter. From the standpoint of avoiding this, it is preferably in the range of 10 to 100 nm, more preferably in the range of 10 to 80 nm. When the average dispersed particle size of the micelles of the colorant and the dispersant is in the above range, the liquid crystal display device and the organic light emitting display device manufactured using the colorant dispersion liquid of the present invention may be of high quality. it can.
  • the average dispersion particle size of the micelles of the colorant and the dispersant in the colorant dispersion is a dispersion particle size of the micelle particles of the colorant and the dispersant dispersed in the dispersion medium containing at least the solvent, and the laser It is measured by a light scattering particle size distribution meter.
  • the color material dispersion is appropriately diluted to a concentration that can be measured with a laser light scattering particle size distribution meter (for example, 1000 times). Etc.) and can be measured at 23 ° C.
  • the average dispersed particle diameter here is a volume average diameter.
  • the solvent used in the color material dispersion according to the present invention is not particularly limited as long as it can disperse the color material represented by the general formula (I).
  • the general formula at 23 ° C. A solvent having a solubility of the coloring material represented by (I) of 0.2 (g / 100 g solvent) or less can be used, and a solvent having a solubility of 0.1 (g / 100 g solvent) or less can be preferably used.
  • the method for determining the solubility of the colorant represented by the general formula (I) at 23 ° C. of the solvent is the same as that described in the colored resin composition for color filters of the present invention, and is therefore omitted here.
  • the solubility of the coloring material represented by the said general formula (I) in 23 degreeC used for the colored resin composition for color filters of this invention mentioned above is 0.2 (g / 100g).
  • Solvents The following solvents can be mentioned.
  • the content of the solvent with respect to the total amount of the color material dispersion containing the solvent is usually 50 to 95% by weight, preferably 60 to 85% by weight.
  • a viscosity will rise and a dispersibility will fall easily.
  • concentration will fall and it may be difficult to achieve the chromaticity coordinate which makes a resin composition the target after preparation.
  • the said solvent may be used individually by 1 type, and may be used in combination of 2 or more type.
  • the color material other than the color material represented by the general formula (I) is not particularly limited.
  • the blue color material and other color materials used in the above-described colored resin composition for a color filter of the present invention may be used.
  • the dispersion auxiliary resin include alkali-soluble resins exemplified by the above-described colored resin composition for color filter of the present invention.
  • the steric hindrance of the alkali-soluble resin makes it difficult for the colorant particles to come into contact with each other, and may have the effect of stabilizing the dispersion or reducing the dispersant due to the dispersion stabilizing effect.
  • Other components include, for example, surfactants for improving wettability, silane coupling agents for improving adhesion, antifoaming agents, repellency inhibitors, antioxidants, anti-aggregation agents, and UV absorbers.
  • the method for producing a colorant dispersion of the present invention includes, for example, (i) mixing and stirring the dispersant in a solvent to prepare a dispersant solution, and then adding the dispersant solution to the dispersant solution represented by the general formula (I).
  • the coloring material and other components as necessary may be mixed and dispersed using a known stirrer or disperser.
  • a dispersant solution A color material solution in which the color material represented by the general formula (I) is dissolved in a good solvent is prepared, and the dispersant solution and the color material solution are mixed and stirred using a known stirrer or disperser. If necessary, heat treatment may be performed, and after completion of the reaction, the colorant good solvent may be separated to prepare a colorant dispersion.
  • the color material dispersion of the present invention comprises (iii) a small amount of a color material and a dispersant represented by the general formula (I), a small amount of the solvent and the good solvent of the color material, and a known stirrer or dispersion.
  • the dispersion may be carried out by a machine, and after completion of the reaction, a good solvent for the color material may be separated to prepare a color material dispersion.
  • a disperser for performing the dispersion treatment used in the production of the color material dispersion of the present invention the same dispersers as those used for the preparation of the colored resin composition for a color filter of the present invention described above can be used. Can be mentioned.
  • the preparation method is not specifically limited, For example, the following method is mentioned.
  • the color material represented by the general formula (I) is dissolved in a good solvent for the color material such as methanol and ethanol, and an acid used for the acid treatment method such as concentrated hydrochloric acid is added.
  • a good solvent for the color material such as methanol and ethanol
  • an acid used for the acid treatment method such as concentrated hydrochloric acid is added.
  • PGMEA propylene glycol monomethyl ether acetate
  • the colorant dispersion according to the present invention can be prepared by removing the good solvent of the colorant such as methanol and filtering the precipitates to obtain a filtrate.
  • the color material dispersion according to the present invention can be used as a preliminary preparation for preparing the above-described colored resin composition for a color filter according to the present invention, which is excellent in color material dispersibility. That is, the colorant dispersion is preliminarily prepared (weight of the colorant component in the composition) / (other than the colorant component in the composition) in the previous stage of preparing the above-described color resin composition for a color filter. This is a colorant dispersion having a high solid content weight ratio. Specifically, the ratio of (weight of colorant component in composition) / (weight of solid content other than colorant component in composition) is usually 1.0 or more.
  • a colored resin composition having excellent dispersibility can be prepared.
  • the color filter according to the present invention is a color filter comprising at least a transparent substrate and a colored layer provided on the transparent substrate, wherein at least one of the colored layers is for the color filter according to the present invention. It is a colored layer formed by curing a colored resin composition. Since the color filter according to the present invention has a colored layer formed by curing the colored resin composition for a color filter according to the present invention, the color filter is excellent in luminance and light resistance.
  • FIG. 1 is a schematic sectional view showing an example of the color filter of the present invention.
  • the color filter 10 of the present invention has a transparent substrate 1, a light shielding part 2, and a colored layer 3.
  • At least one of the colored layers used in the color filter of the present invention is a colored layer formed by curing the colored resin composition for a color filter according to the present invention.
  • the colored layer is usually formed in an opening of a light shielding part on a transparent substrate, which will be described later, and is usually composed of a colored pattern of three or more colors.
  • the arrangement of the colored layers is not particularly limited, and for example, a general arrangement such as a stripe type, a mosaic type, a triangle type, or a four-pixel arrangement type can be used.
  • variety, area, etc. of a colored layer can be set arbitrarily.
  • the thickness of the colored layer is appropriately controlled by adjusting the coating method, the solid content concentration, the viscosity, and the like of the colored resin composition, but is usually preferably in the range of 1 to 5 ⁇ m.
  • the colored layer can be formed by the following method.
  • the above-described colored resin composition for a color filter of the present invention is applied onto a transparent substrate described later using an application means such as a spray coating method, a dip coating method, a bar coating method, a coal coating method, or a spin coating method.
  • an application means such as a spray coating method, a dip coating method, a bar coating method, a coal coating method, or a spin coating method.
  • a wet paint film After drying the wet coating film using a hot plate or oven, it is exposed through a mask having a predetermined pattern, and an alkali-soluble resin and a polyfunctional monomer are subjected to a photopolymerization reaction. It is set as the coating film of a colored resin composition.
  • Examples of the light source used for exposure include ultraviolet rays such as a low-pressure mercury lamp, a high-pressure mercury lamp, and a metal halide lamp, and an electron beam.
  • the exposure amount is appropriately adjusted depending on the light source used, the thickness of the coating film, and the like.
  • the heating conditions are appropriately selected depending on the blending ratio of each component in the colored resin composition to be used, the thickness of the coating film, and the like.
  • a coating film is formed with a desired pattern by melt
  • a solution in which an alkali is dissolved in water or a water-soluble solvent is usually used.
  • An appropriate amount of a surfactant or the like may be added to the alkaline solution.
  • a general method can be employ
  • the developer is usually washed and the cured coating film of the colored resin composition is dried to form a colored layer.
  • the light shielding part in the color filter of the present invention is formed in a pattern on a transparent substrate described later, and can be the same as that used as a light shielding part in a general color filter.
  • the pattern shape of the light shielding portion is not particularly limited, and examples thereof include a stripe shape and a matrix shape.
  • Examples of the light-shielding portion include those obtained by dispersing or dissolving a black pigment in a binder resin, and metal thin films such as chromium and chromium oxide.
  • This metal thin film may be a laminate of a CrOx film (x is an arbitrary number) and a Cr film, or a CrOx film (x is an arbitrary number) with a reduced reflectance, CrNy A film (y is an arbitrary number) and three layers of Cr films may be laminated.
  • the method for forming the light-shielding part is not particularly limited as long as the light-shielding part can be patterned. For example, a photolithography method, a printing method, an ink jet method and the like using the colored resin composition for the light shielding part can be exemplified.
  • examples of the binder resin include polymethyl methacrylate resin, polyacrylate resin, polycarbonate resin, polyvinyl alcohol resin, polyvinyl pyrrolidone resin, hydroxy
  • examples thereof include ethyl cellulose resin, carboxymethyl cellulose resin, polyvinyl chloride resin, melamine resin, phenol resin, alkyd resin, epoxy resin, polyurethane resin, polyester resin, maleic acid resin, polyamide resin and the like.
  • the binder resin may be, for example, an acrylate-based, methacrylate-based, polyvinyl cinnamate-based, or cyclized rubber-based reactive material.
  • a photosensitive resin having a vinyl group is used.
  • a photopolymerization initiator may be added to the colored resin composition for a light shielding part containing a black colorant and a photosensitive resin, and further, a sensitizer, a coating property improver, and a development as necessary. You may add an improving agent, a crosslinking agent, a polymerization inhibitor, a plasticizer, a flame retardant, etc.
  • the method for forming the light shielding part is not particularly limited as long as the light shielding part can be patterned, and for example, photolithography, vapor deposition using a mask. Method, printing method and the like.
  • the thickness of the light shielding part is set to about 0.2 to 0.4 ⁇ m in the case of a metal thin film, and about 0.5 to 2 ⁇ m in the case where a black colorant is dispersed or dissolved in a binder resin. Is set.
  • the transparent substrate in the color filter of the present invention is not particularly limited as long as it is a base material transparent to visible light, and a transparent substrate used for a general color filter can be used.
  • transparent flexible rigid materials such as quartz glass, alkali-free glass, and synthetic quartz plates, or transparent flexible flexible materials such as transparent resin films, optical resin plates, and flexible glasses. Materials.
  • the thickness of the transparent substrate is not particularly limited, but a substrate having a thickness of, for example, about 100 ⁇ m to 1 mm can be used depending on the use of the color filter of the present invention.
  • the color filter of the present invention may be one in which, for example, an overcoat layer, a transparent electrode layer, an alignment film, a columnar spacer, or the like is formed in addition to the transparent substrate, the light shielding portion, and the colored layer. .
  • FIG. 2 is a schematic view showing an example of the liquid crystal display device of the present invention.
  • the liquid crystal display device 40 of the present invention includes a color filter 10, a counter substrate 20 having a TFT array substrate and the like, and a liquid crystal layer formed between the color filter 10 and the counter substrate 20. 30.
  • the liquid crystal display device of the present invention is not limited to the configuration shown in FIG. 2, and can be a configuration generally known as a liquid crystal display device using a color filter.
  • the driving method of the liquid crystal display device of the present invention is not particularly limited, and a driving method generally used for a liquid crystal display device can be employed. Examples of such a drive method include a TN method, an IPS method, an OCB method, and an MVA method. In the present invention, any of these methods can be preferably used. Further, the counter substrate can be appropriately selected and used according to the driving method of the liquid crystal display device of the present invention. Furthermore, as the liquid crystal constituting the liquid crystal layer, various liquid crystals having different dielectric anisotropy and mixtures thereof can be used according to the driving method of the liquid crystal display device of the present invention.
  • a method generally used as a method for manufacturing a liquid crystal cell can be used, and examples thereof include a vacuum injection method and a liquid crystal dropping method.
  • a vacuum injection method for example, a liquid crystal cell is prepared in advance using a color filter and a counter substrate, and the liquid crystal is heated to obtain an isotropic liquid, and the liquid crystal is applied to the liquid crystal cell using the capillary effect.
  • the liquid crystal layer can be formed by injecting in this state and sealing with an adhesive. Thereafter, the sealed liquid crystal can be aligned by slowly cooling the liquid crystal cell to room temperature.
  • liquid crystal dropping method for example, a sealant is applied to the periphery of the color filter, the color filter is heated to a temperature at which the liquid crystal becomes isotropic, and the liquid crystal is dropped in an isotropic liquid state using a dispenser or the like. Then, the color filter and the counter substrate are overlapped with each other under a reduced pressure, and bonded through a sealant, whereby a liquid crystal layer can be formed. Thereafter, the sealed liquid crystal can be aligned by slowly cooling the liquid crystal cell to room temperature.
  • FIG. 3 is a schematic view illustrating an example of the organic light emitting display device of the present invention.
  • the organic light emitting display device 100 of the present invention includes a color filter 10 and an organic light emitter 80.
  • An organic protective layer 50 and an inorganic oxide film 60 may be provided between the color filter 10 and the organic light emitter 80.
  • the transparent anode 71, the hole injection layer 72, the hole transport layer 73, the light emitting layer 74, the electron injection layer 75, and the cathode 76 are sequentially formed on the upper surface of the color filter. Examples thereof include a method and a method in which an organic light emitter 80 formed on another substrate is bonded onto the inorganic oxide film 60.
  • the transparent anode 71, the hole injection layer 72, the hole transport layer 73, the light emitting layer 74, the electron injection layer 75, the cathode 76, and other configurations in the organic light emitting body 80 known structures can be appropriately used.
  • the organic light emitting display device 100 manufactured as described above can be applied to, for example, a passive drive type organic EL display or an active drive type organic EL display.
  • the organic light emitting display device of the present invention is not limited to the configuration shown in FIG. 3, and may be a known configuration as an organic light emitting display device that generally uses a color filter.
  • Color material A represented by the following structural formula was synthesized by the following procedure. In a 500 ml four-necked flask, 40.2 parts by weight of a sulfofluorane compound of the following formula (A), 312 parts by weight of methanol, 6.8 parts by weight of N-methyl-2,6-xylidine and N-methyl-o- 6.0 parts by weight of toluidine was charged and refluxed for 30 hours. The reaction solution was filtered at 60 ° C. to remove insoluble components, and then the solvent was removed under reduced pressure until the reaction solution was about 70 ml, and the mixture was poured into 200 parts by weight of 6% hydrochloric acid.
  • A sulfofluorane compound of the following formula (A)
  • 0.1 parts by weight of the obtained blue pigment dispersion (A) was diluted with 9.9 parts by weight of PGMEA, and the particle size distribution was measured using a Microtrac UPA particle size distribution meter (manufactured by Nikkiso Co., Ltd.). The evaluation was performed with a 50% average particle diameter, and was 47 nm in terms of volume (MV).
  • a dispersing agent BYK-LPN6919 (trade name, manufactured by Big Chemie Co., Ltd., block polymer including a block part composed of a repeating unit having a tertiary amine, nonvolatile content 60% by weight, amine value 120 mgKOH / g, weight average molecular weight 8000) was added and stirred. Thereafter, a reflux condenser was connected, the temperature was raised to 80 ° C. with a water bath, and the reaction was performed for 4 hours after reaching 80 ° C.
  • a dispersing agent BYK-LPN6919 trade name, manufactured by Big Chemie Co., Ltd., block polymer including a block part composed of a repeating unit having a tertiary amine, nonvolatile content 60% by weight, amine value 120 mgKOH / g, weight average molecular weight 8000
  • Example 1 Preparation of colorant dispersion (F)
  • color material A was used in the same manner except that color material A was used instead of AR289, the concentration of concentrated hydrochloric acid was 19 parts by weight, and the amount of BYK-LPN6919 was 331 parts by weight.
  • a dispersed colorant dispersion (F) was obtained.
  • Example 2 Preparation of colorant dispersion (G)
  • color material B is used in place of AR289
  • the amount of concentrated hydrochloric acid is 18 parts by weight
  • the amount of BYK-LPN6919 is 316 parts by weight.
  • a dispersed colorant dispersion (G) was obtained.
  • Example 3 Preparation of colorant dispersion (H)
  • 1000 parts by weight of methanol was added to 100 parts by weight of coloring material A to the flask and dissolved with a magnetic stirrer. After confirming dissolution, 1000 parts by weight of PGMEA was added.
  • 333 parts by weight of a dispersant Disperbyk-161 (trade name, manufactured by Big Chemie, polyurethane dispersant, nonvolatile content 30 wt%, amine value 11 mg KOH / g) was added and stirred. Thereafter, a reflux condenser was connected, the temperature was raised to 80 ° C. with a water bath, and the reaction was performed for 4 hours after reaching 80 ° C.
  • Example 4 Preparation of colorant dispersion (I)
  • the color material B was used instead of the color material A, and the amount of Disperbyk-161 was changed to 317 parts by weight, the color material dispersion liquid (I) in which the color material B was uniformly dispersed Got.
  • Color Material Dispersibility The average dispersed particle size of the particles contained in the colorant dispersions (F) to (I) obtained in Examples 1 to 4 was measured. The said particle size is estimated as the average dispersed particle size of the micelle of the color material A or the color material B and the dispersant. The average dispersed particle size was measured by diluting 1000 times with PGMEA and using a laser light scattering particle size distribution analyzer (Nanotrack particle size distribution measuring device UPA-EX150 manufactured by Nikkiso Co., Ltd.) at 23 ° C. by a dynamic light scattering method. It was measured.
  • a laser light scattering particle size distribution analyzer Neanotrack particle size distribution measuring device UPA-EX150 manufactured by Nikkiso Co., Ltd.
  • the color material dispersion (F) was 41 nm
  • the color material dispersion (I) 49 nm
  • the average dispersed particle diameter is a volume average diameter (MV).
  • a colorant solution was prepared by dissolving 1.00 parts by weight of the colorant A obtained in Synthesis Example 1 in 10.0 parts by weight of ethyl lactate, while the photosensitive binder component (CR--) obtained in Production Example 3 was prepared. 1) 27.4 parts by weight, silane coupling agent KBM-503 (manufactured by Shin-Etsu Silicone) 0.2 part by weight, surfactant MegaFac R08MH (manufactured by DIC) 0.02 part by weight, and PGMEA 61.1 parts by weight are mixed.
  • the colored resin composition of Reference Example 1 was obtained by further mixing the color material solution.
  • Reference Example 2 Reference Comparative Examples 1 and 2: Preparation of colored resin composition
  • Colored resin compositions of Reference Example 2, Reference Comparative Example 1, and Reference Comparative Example 2 were obtained in the same manner except that Color Material B, AR289, and AR52 were used instead of Color Material A in Reference Example 1, respectively.
  • the film thickness (T; ⁇ m) after post-baking was set to 1.5.
  • a sample in the atmosphere uses a xenon lamp (Ci4000 weatherometer manufactured by Atlas, inner filter: quartz, outer filter: soda lime & infrared absorption coating (CIRA)), a wavelength of 420 nm, an illuminance of 1.2 mW / m 2 , 70
  • the ⁇ Eab value was measured before and after time (equivalent to 300 kJ / m 2 ). It can be said that the smaller the absolute value of the ⁇ Eab value, the better the light resistance.
  • L, a, and b of the colored film that was post-baked were measured and designated as L 1 , a 1 , and b 1 .
  • L, a, and b of the colored film after the light resistance test were measured again to obtain L 3 , a 3 , and b 3 .
  • Example 5 Preparation of colored resin composition
  • a color material solution is prepared by dissolving 0.70 parts by weight of the color material A obtained in Synthesis Example 1 in 7.0 parts by weight of ethyl lactate, while the blue pigment dispersion (A) obtained in Production Example 1 is prepared.
  • a colored resin composition of Example 5 was obtained by mixing 0.04 parts by weight of Rough R08MH (manufactured by DIC) and 24.1 parts by weight of PGMEA, and further mixing the color material solution thereto.
  • Example 6 Preparation of colored resin composition
  • the colorant B 0.52 parts by weight of the colorant B was used instead of the colorant A
  • the blending amount of ethyl lactate was 5.2 parts by weight
  • the blending amount of the blue pigment dispersion (A) was 34.6 parts by weight.
  • the colored resin composition of Example 6 was obtained in the same manner except that the blending amount of CR-1 was 34.6 parts by weight and the blending amount of PGMEA was 24.6 parts by weight.
  • Example 7 Preparation of colored resin composition
  • Ingredient (CR-1) 31.4 parts by weight, silane coupling agent KBM-503 (manufactured by Shin-Etsu Silicone) 0.4 part by weight, surfactant MegaFac R08MH (manufactured by DIC) 0.04 part by weight, PGMEA 19.7 The weight part was mixed and the colored resin composition of Example 7 was obtained.
  • Example 8 Preparation of colored resin composition
  • Example 7 11.5 parts by weight of the color material dispersion (G) was used in place of the color material dispersion (F), the amount of the blue pigment dispersion (A) was 34.6 parts by weight, and CR- A colored resin composition of Example 8 was obtained in the same manner except that the amount of 1 was 32.2 parts by weight and the amount of PGMEA was 21.2 parts by weight.
  • Example 9 Preparation of colored resin composition
  • Example 7 instead of the color material dispersion (F), 16.2 parts by weight of the color material dispersion (H) was used, and the blending amount of the blue pigment dispersion (A) was 32.9 parts by weight.
  • a colored resin composition of Example 9 was obtained in the same manner except that the amount of 1 was 33.2 parts by weight and the amount of PGMEA was 17.3 parts by weight.
  • Example 10 Preparation of colored resin composition
  • Example 7 12.0 parts by weight of the color material dispersion (I) was used in place of the color material dispersion (F), the amount of the blue pigment dispersion (A) was 34.6 parts by weight, and CR- A colored resin composition of Example 10 was obtained in the same manner except that the amount of 1 was 33.4 parts by weight and the amount of PGMEA was 19.5 parts by weight.
  • Comparative Example 1 Preparation of colored resin composition
  • Example 7 10.1 parts by weight of the purple pigment dispersion (C) obtained in Comparative Production Example 1 was used in place of the color material dispersion (F), and the blending amount of the blue pigment dispersion (A) was 29.
  • a colored resin composition of Comparative Example 1 was obtained in the same manner except that the amount of CR-1 was changed to 33.9 parts by weight, and the amount of PGMEA was changed to 25.9 parts by weight.
  • Comparative Example 2 Preparation of colored resin composition
  • D red dye dispersion
  • F colorant dispersion
  • a colored resin composition of Comparative Example 2 was obtained in the same manner except that the amount of 1 was 32.5 parts by weight and the amount of PGMEA was 21.2 parts by weight.
  • Comparative Example 3 Preparation of colored resin composition
  • E red dye dispersion
  • F colorant dispersion
  • a colored resin composition of Comparative Example 3 was obtained in the same manner except that the amount of 1 was 31.0 parts by weight and the amount of PGMEA was 18.6 parts by weight.
  • optical characteristic evaluation test 1 The optical property evaluation was performed as follows.
  • the colored resin compositions of Examples 5 to 10 and Comparative Examples 1 to 3 were each applied onto a glass substrate having a thickness of 0.7 mm (“NA35” manufactured by NH Techno Glass Co., Ltd.) using a spin coater. Then, it heat-dried for 3 minutes on an 80 degreeC hotplate.
  • a cured film blue colored film was obtained by irradiating ultraviolet rays of 60 mJ / cm 2 using an ultrahigh pressure mercury lamp without passing through a photomask.
  • the glass plate on which the colored film was formed was post-baked for 30 minutes in a 230 ° C. clean oven, and the chromaticity (x, y) and luminance (Y) of the obtained colored film were measured.
  • the chromaticity and luminance were measured using “Microspectrophotometer OSP-SP200” manufactured by Olympus Corporation.
  • the luminance is ⁇ when the Y value is 9.70 or more, ⁇ when the Y value is 9.35 or more and less than 9.70, ⁇ when it is 9.00 or more and less than 9.35, and less than 9.00.
  • the case is evaluated as x.
  • ⁇ Light resistance test 1> A post-baked substrate prepared in the same manner as in the optical property evaluation 1 was prepared separately, and L 0 , a 0 , and b 0 of the colored film were measured. Then, using a xenon lamp (Atlas Ci4000 Weathermeter, inner filter: quartz, outer filter: soda lime & infrared absorption coating (CIRA)) under atmospheric pressure, with a wavelength of 420 nm and an illuminance of 1.2 W / m 2 For 70 hours (equivalent to 300 kJ / m 2 ). L, a, and b of the obtained colored film were measured again to obtain L 1 , a 1 , and b 1 .
  • the light resistance is evaluated as ⁇ when the value of ⁇ Eab calculated from the following formula is less than 5, ⁇ when it is 5 or more and less than 10, and ⁇ when it is 10 or more.
  • ⁇ Eab ⁇ (L 1 ⁇ L 0 ) 2 + (a 1 ⁇ a 0 ) 2 + (b 1 ⁇ b 0 ) 2 ⁇ 1/2
  • Example 11 to 12 Preparation of colored resin composition
  • Colored resin compositions of Examples 11 to 12 were obtained in the same manner as in Examples 9 to 10, except that the blue color material dispersion (B) was used instead of the blue pigment dispersion (A).
  • Comparative Examples 4 to 6 Preparation of colored resin composition
  • the colored resin compositions of Comparative Examples 4 to 6 were obtained in the same manner except that the blue color material dispersion (B) was used instead of the blue pigment dispersion (A) in Comparative Examples 1 to 3.
  • ⁇ Light resistance test 2> A post-baked substrate prepared in the same manner as in the optical property evaluation test 2 was separately prepared, and ⁇ Eab was determined in the same manner as in the light resistance test 1 described above. In the light resistance test 2, the light resistance is evaluated as ⁇ when the value of ⁇ Eab is less than 7, ⁇ when the value is 7 or more and 15 or less, and ⁇ when it exceeds 15. The evaluation results are shown in Table 5.
  • the colored resin compositions obtained in Examples 5 to 12 contained the color material having the structure specified in the present invention, the blue color material, the binder component, and the solvent, the formed colored film was It was excellent in luminance and light resistance.
  • the colored resin compositions obtained in Comparative Examples 1 and 4 were inferior in luminance because PV23 was used instead of the color material having the structure specified in the present invention.
  • the colored resin compositions obtained in Comparative Example 2 and Comparative Example 5 were inferior in luminance and light resistance because AR289 was used instead of the color material having the structure specified in the present invention. This is considered to be because AR289 has two functional groups containing SO 2 and has hydrogen directly bonded to the nitrogen atom.
  • the colored resin compositions obtained in Comparative Example 3 and Comparative Example 6 were inferior in luminance and light resistance because AR52 was used instead of the color material having the structure specified in the present invention. This is presumably because AR52 has two functional groups containing SO 2 and only a saturated hydrocarbon group is bonded to the nitrogen atom.

Landscapes

  • Physics & Mathematics (AREA)
  • General Physics & Mathematics (AREA)
  • Optics & Photonics (AREA)
  • Chemical & Material Sciences (AREA)
  • Nonlinear Science (AREA)
  • Engineering & Computer Science (AREA)
  • Chemical Kinetics & Catalysis (AREA)
  • Crystallography & Structural Chemistry (AREA)
  • Mathematical Physics (AREA)
  • Organic Chemistry (AREA)
  • Theoretical Computer Science (AREA)
  • Architecture (AREA)
  • Structural Engineering (AREA)
  • Spectroscopy & Molecular Physics (AREA)
  • Optical Filters (AREA)
  • Materials For Photolithography (AREA)
  • Liquid Crystal (AREA)
  • Electroluminescent Light Sources (AREA)
  • Devices For Indicating Variable Information By Combining Individual Elements (AREA)
PCT/JP2014/052585 2013-02-08 2014-02-04 カラーフィルタ用着色樹脂組成物、色材分散液、カラーフィルタ、液晶表示装置、及び有機発光表示装置 Ceased WO2014123125A1 (ja)

Priority Applications (2)

Application Number Priority Date Filing Date Title
KR1020157006610A KR20150115719A (ko) 2013-02-08 2014-02-04 컬러 필터용 착색 수지 조성물, 색재 분산액, 컬러 필터, 액정 표시 장치 및 유기 발광 표시 장치
CN201480002384.9A CN104641266B (zh) 2013-02-08 2014-02-04 滤色器用着色树脂组合物、色材分散液、滤色器、液晶显示装置及有机发光显示装置

Applications Claiming Priority (2)

Application Number Priority Date Filing Date Title
JP2013023810A JP5646663B2 (ja) 2013-02-08 2013-02-08 カラーフィルタ用着色樹脂組成物、色材分散液、カラーフィルタ、液晶表示装置、及び有機発光表示装置
JP2013-023810 2013-02-08

Publications (1)

Publication Number Publication Date
WO2014123125A1 true WO2014123125A1 (ja) 2014-08-14

Family

ID=51299718

Family Applications (1)

Application Number Title Priority Date Filing Date
PCT/JP2014/052585 Ceased WO2014123125A1 (ja) 2013-02-08 2014-02-04 カラーフィルタ用着色樹脂組成物、色材分散液、カラーフィルタ、液晶表示装置、及び有機発光表示装置

Country Status (5)

Country Link
JP (1) JP5646663B2 (enExample)
KR (1) KR20150115719A (enExample)
CN (1) CN104641266B (enExample)
TW (1) TWI630237B (enExample)
WO (1) WO2014123125A1 (enExample)

Cited By (2)

* Cited by examiner, † Cited by third party
Publication number Priority date Publication date Assignee Title
CN111801620A (zh) * 2018-12-21 2020-10-20 株式会社Lg化学 感光性树脂组合物、感光材料、滤色器和显示装置
TWI726998B (zh) * 2016-02-24 2021-05-11 南韓商東友精細化工有限公司 著色固化性樹脂組合物、濾色器和液晶顯示裝置

Families Citing this family (16)

* Cited by examiner, † Cited by third party
Publication number Priority date Publication date Assignee Title
KR102092910B1 (ko) 2015-06-30 2020-03-24 동우 화인켐 주식회사 착색 경화성 수지 조성물, 컬러 필터 및 표시 장치
JP6651798B2 (ja) * 2015-11-12 2020-02-19 東洋インキScホールディングス株式会社 近赤外線吸収色素、およびその用途
CN106886126B (zh) * 2015-12-16 2021-09-14 张家港康得新石墨烯应用科技有限公司 非溶剂型的蓝膜组合物、未固化胶、蓝色基膜、其制备方法与其应用
WO2017122738A1 (ja) * 2016-01-15 2017-07-20 東洋インキScホールディングス株式会社 固体撮像素子用近赤外線吸収性組成物およびフィルタ
JP6943558B2 (ja) * 2016-01-20 2021-10-06 東友ファインケム株式会社Dongwoo Fine−Chem Co., Ltd. 着色硬化性樹脂組成物、カラーフィルタ、及び表示装置
JP6844121B2 (ja) * 2016-02-10 2021-03-17 Dic株式会社 着色硬化性樹脂組成物及びその硬化膜
KR20170101005A (ko) * 2016-02-26 2017-09-05 삼성에스디아이 주식회사 감광성 수지 조성물 및 이를 이용한 컬러필터
US10087170B2 (en) 2016-09-09 2018-10-02 Samsung Sdi Co., Ltd. Compound, photosensitive resin composition including the same, and color filter
JP6931575B2 (ja) * 2016-11-16 2021-09-08 東友ファインケム株式会社Dongwoo Fine−Chem Co., Ltd. 着色組成物、着色硬化性樹脂組成物、カラーフィルタ及び液晶表示装置
JP6858545B2 (ja) * 2016-12-19 2021-04-14 株式会社Dnpファインケミカル 色素
JP6946792B2 (ja) * 2017-07-07 2021-10-06 三菱ケミカル株式会社 着色組成物、硬化物、及び画像表示装置
KR102025478B1 (ko) 2017-11-28 2019-09-25 주식회사 엘지화학 착색제 조성물 제조방법, 이를 이용하여 제조된 착색제 조성물, 착색제 분산액, 감광성 수지 조성물, 컬러필터 및 액정 표시 장치
KR102027036B1 (ko) * 2017-11-28 2019-09-30 주식회사 엘지화학 착색제 조성물, 착색제 분산액, 감광성 수지 조성물, 컬러필터 및 액정 표시 장치
WO2020071041A1 (ja) * 2018-10-02 2020-04-09 株式会社Dnpファインケミカル 色材分散液、着色樹脂組成物及びその硬化物、カラーフィルタ、並びに表示装置
CN109212901A (zh) * 2018-11-05 2019-01-15 江苏博砚电子科技有限公司 一种彩色滤光片用新型光刻胶及其制备方法
KR102467423B1 (ko) * 2019-03-11 2022-11-15 동우 화인켐 주식회사 청색 염료를 포함하는 착색 경화성 수지 조성물, 이를 이용하여 제조된 컬러필터 및 화상표시장치

Citations (6)

* Cited by examiner, † Cited by third party
Publication number Priority date Publication date Assignee Title
JPH05295312A (ja) * 1992-04-17 1993-11-09 Canon Inc インク、これを用いたインクジェット記録方法及びかかるインクを用いた機器
JPH05508883A (ja) * 1991-01-11 1993-12-09 ザール リミテッド インク組成物
JPH09157562A (ja) * 1995-12-05 1997-06-17 Konica Corp インクジェット記録液
JPH09255882A (ja) * 1996-03-22 1997-09-30 Konica Corp キサンテン系色素及びそれを含有するインクジェット記録液
WO2011037195A1 (ja) * 2009-09-25 2011-03-31 東洋インキ製造株式会社 着色組成物及びカラーフィルタ
WO2013001923A1 (ja) * 2011-06-30 2013-01-03 大日本印刷株式会社 染料分散液、カラーフィルター用感光性樹脂組成物、カラーフィルター、液晶表示装置、及び、有機発光表示装置

Family Cites Families (4)

* Cited by examiner, † Cited by third party
Publication number Priority date Publication date Assignee Title
JPH07111485B2 (ja) * 1988-10-24 1995-11-29 ポラロイド コーポレーシヨン カラーフィルターの製造方法
US5667920A (en) * 1996-03-11 1997-09-16 Polaroid Corporation Process for preparing a color filter
JP5092326B2 (ja) * 2005-09-26 2012-12-05 三菱化学株式会社 色材分散液、着色樹脂組成物、カラーフィルタ、及び液晶表示装置
JP2013050707A (ja) * 2011-08-02 2013-03-14 Nippon Kayaku Co Ltd 着色樹脂組成物

Patent Citations (6)

* Cited by examiner, † Cited by third party
Publication number Priority date Publication date Assignee Title
JPH05508883A (ja) * 1991-01-11 1993-12-09 ザール リミテッド インク組成物
JPH05295312A (ja) * 1992-04-17 1993-11-09 Canon Inc インク、これを用いたインクジェット記録方法及びかかるインクを用いた機器
JPH09157562A (ja) * 1995-12-05 1997-06-17 Konica Corp インクジェット記録液
JPH09255882A (ja) * 1996-03-22 1997-09-30 Konica Corp キサンテン系色素及びそれを含有するインクジェット記録液
WO2011037195A1 (ja) * 2009-09-25 2011-03-31 東洋インキ製造株式会社 着色組成物及びカラーフィルタ
WO2013001923A1 (ja) * 2011-06-30 2013-01-03 大日本印刷株式会社 染料分散液、カラーフィルター用感光性樹脂組成物、カラーフィルター、液晶表示装置、及び、有機発光表示装置

Cited By (2)

* Cited by examiner, † Cited by third party
Publication number Priority date Publication date Assignee Title
TWI726998B (zh) * 2016-02-24 2021-05-11 南韓商東友精細化工有限公司 著色固化性樹脂組合物、濾色器和液晶顯示裝置
CN111801620A (zh) * 2018-12-21 2020-10-20 株式会社Lg化学 感光性树脂组合物、感光材料、滤色器和显示装置

Also Published As

Publication number Publication date
JP5646663B2 (ja) 2014-12-24
KR20150115719A (ko) 2015-10-14
CN104641266B (zh) 2017-12-01
TWI630237B (zh) 2018-07-21
TW201437289A (zh) 2014-10-01
CN104641266A (zh) 2015-05-20
JP2014153570A (ja) 2014-08-25

Similar Documents

Publication Publication Date Title
JP5646663B2 (ja) カラーフィルタ用着色樹脂組成物、色材分散液、カラーフィルタ、液晶表示装置、及び有機発光表示装置
JP5647279B2 (ja) 着色剤分散液、着色剤分散液の製造方法、カラーフィルタ用着色樹脂組成物、カラーフィルタ、液晶表示装置、及び有機発光表示装置
US9513418B2 (en) Color material dispersion liquid, color resin composition for color filters, color filter, liquid crystal display device, and organic light-emitting display device
US11169308B2 (en) Color material dispersion liquid for color filters, color material, color filter, liquid crystal display device and organic light-emitting display device
JP4911253B1 (ja) 染料分散液、カラーフィルター用感光性樹脂組成物、カラーフィルター、液晶表示装置及び、有機発光表示装置
WO2012144521A1 (ja) 色材分散液、カラーフィルター用着色樹脂組成物、カラーフィルター、液晶表示装置及び有機発光表示装置
US20170342271A1 (en) Color material dispersion liquid for color filter, color resin composition for color filter, color material, color filter, liquid crystal display device, and light-emitting display device
KR101996743B1 (ko) 컬러 필터용 색재 분산액, 컬러 필터용 착색 수지 조성물, 컬러 필터용 색재, 컬러 필터, 액정 표시 장치 및 발광 표시 장치
JP6256126B2 (ja) 色材分散組成物、カラーフィルタ、液晶表示装置、及び有機発光表示装置
JP6534523B2 (ja) カラーフィルタ用着色樹脂組成物、カラーフィルタ、及び表示装置
JP6091198B2 (ja) 感光性樹脂組成物、カラーフィルタ、液晶表示装置、及び有機発光表示装置
TW202525928A (zh) 著色組合物、著色硬化膜之製造方法、彩色濾光片之製造方法及顯示裝置之製造方法
JP2013076760A (ja) カラーフィルタ用色材分散液、カラーフィルタ用着色樹脂組成物、カラーフィルタ、並びに、液晶表示装置及び有機発光表示装置

Legal Events

Date Code Title Description
121 Ep: the epo has been informed by wipo that ep was designated in this application

Ref document number: 14748684

Country of ref document: EP

Kind code of ref document: A1

ENP Entry into the national phase

Ref document number: 20157006610

Country of ref document: KR

Kind code of ref document: A

NENP Non-entry into the national phase

Ref country code: DE

122 Ep: pct application non-entry in european phase

Ref document number: 14748684

Country of ref document: EP

Kind code of ref document: A1