WO2014103483A1 - 研磨パッドの製造方法 - Google Patents

研磨パッドの製造方法 Download PDF

Info

Publication number
WO2014103483A1
WO2014103483A1 PCT/JP2013/078289 JP2013078289W WO2014103483A1 WO 2014103483 A1 WO2014103483 A1 WO 2014103483A1 JP 2013078289 W JP2013078289 W JP 2013078289W WO 2014103483 A1 WO2014103483 A1 WO 2014103483A1
Authority
WO
WIPO (PCT)
Prior art keywords
polishing
polishing pad
polyurethane resin
hardness
resin foam
Prior art date
Legal status (The legal status is an assumption and is not a legal conclusion. Google has not performed a legal analysis and makes no representation as to the accuracy of the status listed.)
Ceased
Application number
PCT/JP2013/078289
Other languages
English (en)
French (fr)
Japanese (ja)
Inventor
木村 毅
Current Assignee (The listed assignees may be inaccurate. Google has not performed a legal analysis and makes no representation or warranty as to the accuracy of the list.)
Toyo Tire Corp
Original Assignee
Toyo Tire and Rubber Co Ltd
Priority date (The priority date is an assumption and is not a legal conclusion. Google has not performed a legal analysis and makes no representation as to the accuracy of the date listed.)
Filing date
Publication date
Application filed by Toyo Tire and Rubber Co Ltd filed Critical Toyo Tire and Rubber Co Ltd
Priority to US14/654,831 priority Critical patent/US20150343604A1/en
Priority to CN201380054933.2A priority patent/CN104755228A/zh
Priority to KR1020157008680A priority patent/KR20150052268A/ko
Publication of WO2014103483A1 publication Critical patent/WO2014103483A1/ja
Anticipated expiration legal-status Critical
Ceased legal-status Critical Current

Links

Images

Classifications

    • BPERFORMING OPERATIONS; TRANSPORTING
    • B24GRINDING; POLISHING
    • B24DTOOLS FOR GRINDING, BUFFING OR SHARPENING
    • B24D11/00Constructional features of flexible abrasive materials; Special features in the manufacture of such materials
    • B24D11/001Manufacture of flexible abrasive materials
    • B24D11/003Manufacture of flexible abrasive materials without embedded abrasive particles
    • BPERFORMING OPERATIONS; TRANSPORTING
    • B24GRINDING; POLISHING
    • B24BMACHINES, DEVICES, OR PROCESSES FOR GRINDING OR POLISHING; DRESSING OR CONDITIONING OF ABRADING SURFACES; FEEDING OF GRINDING, POLISHING, OR LAPPING AGENTS
    • B24B37/00Lapping machines or devices; Accessories
    • B24B37/11Lapping tools
    • B24B37/20Lapping pads for working plane surfaces
    • B24B37/24Lapping pads for working plane surfaces characterised by the composition or properties of the pad materials
    • BPERFORMING OPERATIONS; TRANSPORTING
    • B24GRINDING; POLISHING
    • B24BMACHINES, DEVICES, OR PROCESSES FOR GRINDING OR POLISHING; DRESSING OR CONDITIONING OF ABRADING SURFACES; FEEDING OF GRINDING, POLISHING, OR LAPPING AGENTS
    • B24B37/00Lapping machines or devices; Accessories
    • B24B37/11Lapping tools
    • B24B37/20Lapping pads for working plane surfaces
    • B24B37/26Lapping pads for working plane surfaces characterised by the shape of the lapping pad surface, e.g. grooved
    • CCHEMISTRY; METALLURGY
    • C08ORGANIC MACROMOLECULAR COMPOUNDS; THEIR PREPARATION OR CHEMICAL WORKING-UP; COMPOSITIONS BASED THEREON
    • C08GMACROMOLECULAR COMPOUNDS OBTAINED OTHERWISE THAN BY REACTIONS ONLY INVOLVING UNSATURATED CARBON-TO-CARBON BONDS
    • C08G18/00Polymeric products of isocyanates or isothiocyanates
    • C08G18/06Polymeric products of isocyanates or isothiocyanates with compounds having active hydrogen
    • C08G18/08Processes
    • C08G18/10Prepolymer processes involving reaction of isocyanates or isothiocyanates with compounds having active hydrogen in a first reaction step
    • CCHEMISTRY; METALLURGY
    • C08ORGANIC MACROMOLECULAR COMPOUNDS; THEIR PREPARATION OR CHEMICAL WORKING-UP; COMPOSITIONS BASED THEREON
    • C08GMACROMOLECULAR COMPOUNDS OBTAINED OTHERWISE THAN BY REACTIONS ONLY INVOLVING UNSATURATED CARBON-TO-CARBON BONDS
    • C08G18/00Polymeric products of isocyanates or isothiocyanates
    • C08G18/06Polymeric products of isocyanates or isothiocyanates with compounds having active hydrogen
    • C08G18/28Polymeric products of isocyanates or isothiocyanates with compounds having active hydrogen characterised by the compounds used containing active hydrogen
    • C08G18/30Low-molecular-weight compounds
    • C08G18/32Polyhydroxy compounds; Polyamines; Hydroxyamines
    • C08G18/3203Polyhydroxy compounds
    • C08G18/3206Polyhydroxy compounds aliphatic
    • CCHEMISTRY; METALLURGY
    • C08ORGANIC MACROMOLECULAR COMPOUNDS; THEIR PREPARATION OR CHEMICAL WORKING-UP; COMPOSITIONS BASED THEREON
    • C08GMACROMOLECULAR COMPOUNDS OBTAINED OTHERWISE THAN BY REACTIONS ONLY INVOLVING UNSATURATED CARBON-TO-CARBON BONDS
    • C08G18/00Polymeric products of isocyanates or isothiocyanates
    • C08G18/06Polymeric products of isocyanates or isothiocyanates with compounds having active hydrogen
    • C08G18/28Polymeric products of isocyanates or isothiocyanates with compounds having active hydrogen characterised by the compounds used containing active hydrogen
    • C08G18/40High-molecular-weight compounds
    • C08G18/48Polyethers
    • C08G18/4854Polyethers containing oxyalkylene groups having four carbon atoms in the alkylene group
    • CCHEMISTRY; METALLURGY
    • C08ORGANIC MACROMOLECULAR COMPOUNDS; THEIR PREPARATION OR CHEMICAL WORKING-UP; COMPOSITIONS BASED THEREON
    • C08GMACROMOLECULAR COMPOUNDS OBTAINED OTHERWISE THAN BY REACTIONS ONLY INVOLVING UNSATURATED CARBON-TO-CARBON BONDS
    • C08G18/00Polymeric products of isocyanates or isothiocyanates
    • C08G18/06Polymeric products of isocyanates or isothiocyanates with compounds having active hydrogen
    • C08G18/28Polymeric products of isocyanates or isothiocyanates with compounds having active hydrogen characterised by the compounds used containing active hydrogen
    • C08G18/65Low-molecular-weight compounds having active hydrogen with high-molecular-weight compounds having active hydrogen
    • C08G18/66Compounds of groups C08G18/42, C08G18/48, or C08G18/52
    • C08G18/6666Compounds of group C08G18/48 or C08G18/52
    • C08G18/667Compounds of group C08G18/48 or C08G18/52 with compounds of group C08G18/32 or polyamines of C08G18/38
    • C08G18/6674Compounds of group C08G18/48 or C08G18/52 with compounds of group C08G18/32 or polyamines of C08G18/38 with compounds of group C08G18/3203
    • CCHEMISTRY; METALLURGY
    • C08ORGANIC MACROMOLECULAR COMPOUNDS; THEIR PREPARATION OR CHEMICAL WORKING-UP; COMPOSITIONS BASED THEREON
    • C08GMACROMOLECULAR COMPOUNDS OBTAINED OTHERWISE THAN BY REACTIONS ONLY INVOLVING UNSATURATED CARBON-TO-CARBON BONDS
    • C08G18/00Polymeric products of isocyanates or isothiocyanates
    • C08G18/06Polymeric products of isocyanates or isothiocyanates with compounds having active hydrogen
    • C08G18/70Polymeric products of isocyanates or isothiocyanates with compounds having active hydrogen characterised by the isocyanates or isothiocyanates used
    • C08G18/72Polyisocyanates or polyisothiocyanates
    • C08G18/721Two or more polyisocyanates not provided for in one single group C08G18/73 - C08G18/80
    • C08G18/725Combination of polyisocyanates of C08G18/78 with other polyisocyanates
    • CCHEMISTRY; METALLURGY
    • C08ORGANIC MACROMOLECULAR COMPOUNDS; THEIR PREPARATION OR CHEMICAL WORKING-UP; COMPOSITIONS BASED THEREON
    • C08GMACROMOLECULAR COMPOUNDS OBTAINED OTHERWISE THAN BY REACTIONS ONLY INVOLVING UNSATURATED CARBON-TO-CARBON BONDS
    • C08G18/00Polymeric products of isocyanates or isothiocyanates
    • C08G18/06Polymeric products of isocyanates or isothiocyanates with compounds having active hydrogen
    • C08G18/70Polymeric products of isocyanates or isothiocyanates with compounds having active hydrogen characterised by the isocyanates or isothiocyanates used
    • C08G18/72Polyisocyanates or polyisothiocyanates
    • C08G18/73Polyisocyanates or polyisothiocyanates acyclic
    • CCHEMISTRY; METALLURGY
    • C08ORGANIC MACROMOLECULAR COMPOUNDS; THEIR PREPARATION OR CHEMICAL WORKING-UP; COMPOSITIONS BASED THEREON
    • C08GMACROMOLECULAR COMPOUNDS OBTAINED OTHERWISE THAN BY REACTIONS ONLY INVOLVING UNSATURATED CARBON-TO-CARBON BONDS
    • C08G18/00Polymeric products of isocyanates or isothiocyanates
    • C08G18/06Polymeric products of isocyanates or isothiocyanates with compounds having active hydrogen
    • C08G18/70Polymeric products of isocyanates or isothiocyanates with compounds having active hydrogen characterised by the isocyanates or isothiocyanates used
    • C08G18/72Polyisocyanates or polyisothiocyanates
    • C08G18/74Polyisocyanates or polyisothiocyanates cyclic
    • C08G18/76Polyisocyanates or polyisothiocyanates cyclic aromatic
    • C08G18/7614Polyisocyanates or polyisothiocyanates cyclic aromatic containing only one aromatic ring
    • C08G18/7621Polyisocyanates or polyisothiocyanates cyclic aromatic containing only one aromatic ring being toluene diisocyanate including isomer mixtures
    • CCHEMISTRY; METALLURGY
    • C08ORGANIC MACROMOLECULAR COMPOUNDS; THEIR PREPARATION OR CHEMICAL WORKING-UP; COMPOSITIONS BASED THEREON
    • C08GMACROMOLECULAR COMPOUNDS OBTAINED OTHERWISE THAN BY REACTIONS ONLY INVOLVING UNSATURATED CARBON-TO-CARBON BONDS
    • C08G18/00Polymeric products of isocyanates or isothiocyanates
    • C08G18/06Polymeric products of isocyanates or isothiocyanates with compounds having active hydrogen
    • C08G18/70Polymeric products of isocyanates or isothiocyanates with compounds having active hydrogen characterised by the isocyanates or isothiocyanates used
    • C08G18/72Polyisocyanates or polyisothiocyanates
    • C08G18/77Polyisocyanates or polyisothiocyanates having heteroatoms in addition to the isocyanate or isothiocyanate nitrogen and oxygen or sulfur
    • C08G18/78Nitrogen
    • C08G18/79Nitrogen characterised by the polyisocyanates used, these having groups formed by oligomerisation of isocyanates or isothiocyanates
    • C08G18/791Nitrogen characterised by the polyisocyanates used, these having groups formed by oligomerisation of isocyanates or isothiocyanates containing isocyanurate groups
    • C08G18/792Nitrogen characterised by the polyisocyanates used, these having groups formed by oligomerisation of isocyanates or isothiocyanates containing isocyanurate groups formed by oligomerisation of aliphatic and/or cycloaliphatic isocyanates or isothiocyanates
    • CCHEMISTRY; METALLURGY
    • C08ORGANIC MACROMOLECULAR COMPOUNDS; THEIR PREPARATION OR CHEMICAL WORKING-UP; COMPOSITIONS BASED THEREON
    • C08GMACROMOLECULAR COMPOUNDS OBTAINED OTHERWISE THAN BY REACTIONS ONLY INVOLVING UNSATURATED CARBON-TO-CARBON BONDS
    • C08G2110/00Foam properties
    • C08G2110/0008Foam properties flexible
    • YGENERAL TAGGING OF NEW TECHNOLOGICAL DEVELOPMENTS; GENERAL TAGGING OF CROSS-SECTIONAL TECHNOLOGIES SPANNING OVER SEVERAL SECTIONS OF THE IPC; TECHNICAL SUBJECTS COVERED BY FORMER USPC CROSS-REFERENCE ART COLLECTIONS [XRACs] AND DIGESTS
    • Y10TECHNICAL SUBJECTS COVERED BY FORMER USPC
    • Y10TTECHNICAL SUBJECTS COVERED BY FORMER US CLASSIFICATION
    • Y10T83/00Cutting
    • Y10T83/02Other than completely through work thickness
    • Y10T83/0304Grooving

Definitions

  • the present invention relates to an optical material such as a lens and a reflection mirror, a compound semiconductor substrate such as a silicon wafer, silicon carbide, and sapphire, a glass substrate for a hard disk, and a polishing pad used for polishing the surface of an aluminum substrate and a method for manufacturing the same.
  • the polishing pad of the present invention is suitably used as a polishing pad for finishing.
  • a step of forming a conductive layer on the wafer surface and forming a wiring layer by photolithography, etching, or the like, or a step of forming an interlayer insulating film on the wiring layer cause irregularities made of a conductor such as metal or an insulator on the wafer surface.
  • miniaturization of wiring and multilayer wiring have been advanced for the purpose of increasing the density of semiconductor integrated circuits, and along with this, technology for flattening the irregularities on the wafer surface has become important.
  • CMP chemical mechanical polishing
  • Patent Documents 1 and 2 below disclose apparatuses and methods for cutting such grooves.
  • the polishing layer of the polishing pad is a soft polyurethane resin foam (normal temperature (25 ° C.) and Asker D hardness of 30 or less) (in the case of a polishing pad for finishing), “escape” occurs during groove processing. As a result, there was a problem that the groove could not be precisely machined. For this reason, the polishing pad for finishing has a problem that the polishing characteristics deteriorate.
  • the present invention has been made in view of the above-described problems, and an object of the present invention is to provide a method for producing a polishing pad capable of precisely grooving when the polishing layer of the polishing pad is a soft polyurethane resin foam.
  • the present invention is a method for producing a polishing pad comprising a step of forming a groove on the surface of a polishing layer comprising a soft polyurethane resin foam, wherein the soft polyurethane resin foam has an Asker D hardness of 30 or less at 25 ° C.
  • the step includes the step 1 of adjusting the Asker D hardness of the flexible polyurethane resin foam to 35 or more by cooling the polishing layer, and the polishing layer comprising the flexible polyurethane resin foam having the Asker D hardness adjusted by cooling.
  • the present invention is a groove processing method of a polishing pad having a groove on the surface of a polishing layer made of a soft polyurethane resin foam, the soft polyurethane resin foam has an Asker D hardness of 30 or less at 25 ° C.
  • the groove processing method of the polishing pad includes the step 1 of adjusting the Asker D hardness of the flexible polyurethane resin foam to 35 or more by cooling the polishing layer, and the flexible polyurethane resin foam in which the Asker D hardness is adjusted by cooling.
  • a polishing pad grooving method including a step 2 of forming a groove on the surface of the polishing layer.
  • the present invention also provides a polishing pad groove processing machine for forming a groove on the surface of a polishing pad, wherein the polishing pad groove processing machine has a processing surface plate, and the processing surface plate has a cooling function. It is a pad groove processing machine.
  • the present invention also provides a polishing pad groove processing machine for forming a groove on a surface of a polishing pad, wherein the polishing pad groove processing machine has a cooling means for cooling the inside of the polishing pad groove processing machine. is there.
  • a polishing layer made of a soft polyurethane resin foam having an Asker D hardness of 30 or less at room temperature (25 ° C.) is adjusted to an Asker D hardness of 35 or more, escape during the groove processing is prevented. be able to. Therefore, even when the polishing layer is made of a soft polyurethane resin foam having an Asker D hardness of 30 or less at 25 ° C., the groove can be precisely processed, and the polishing pad can be manufactured with improved polishing characteristics of the polishing pad for finishing.
  • a method can be provided.
  • the polishing pad manufacturing method of the present embodiment is a polishing pad manufacturing method including a step of forming a groove on a surface of a polishing layer made of a soft polyurethane resin foam, wherein the soft polyurethane resin foam is an Asker at 25 ° C.
  • the D hardness is 30 or less, and the step includes the step 1 of adjusting the Asker D hardness of the flexible polyurethane resin foam to 35 or more by cooling the polishing layer, and the soft polyurethane having the Asker D hardness adjusted by cooling.
  • the flexible polyurethane resin foam is composed of an isocyanate component, an active hydrogen group-containing compound (high molecular weight polyol, active hydrogen group-containing low molecular weight compound), a chain extender, and the like.
  • the isocyanate component a known compound in the field of polyurethane can be used without particular limitation.
  • Multimerized diisocyanate may be used together with the diisocyanate.
  • the multimerized diisocyanate is an isocyanate-modified product or a mixture thereof that has been multimerized by adding three or more diisocyanates.
  • Examples of the modified isocyanate include 1) trimethylolpropane adduct type, 2) burette type, and 3) isocyanurate type, with isocyanurate type being particularly preferred.
  • the isocyanate component it is preferable to use a multimerized diisocyanate and an aromatic diisocyanate in combination as the isocyanate component.
  • the diisocyanate forming the multimerized diisocyanate it is preferable to use an aliphatic diisocyanate, and it is particularly preferable to use 1,6-hexamethylene diisocyanate.
  • the multimerized diisocyanate may be modified by urethane modification, allophanate modification, burette modification or the like.
  • the aromatic diisocyanate is preferably toluene diisocyanate.
  • the multimerized diisocyanate is preferably used in an amount of 15 to 60% by weight, more preferably 19 to 55% by weight, based on the total isocyanate component.
  • high molecular weight polyol examples include polyether polyols typified by polytetramethylene ether glycol, polyester polyols typified by polybutylene adipate, polycaprolactone polyol, and a reaction product of a polyester glycol such as polycaprolactone and alkylene carbonate.
  • the number average molecular weight of the high molecular weight polyol is not particularly limited, but is preferably 500 to 5000 from the viewpoint of the elastic properties of the resulting polyurethane resin.
  • the number average molecular weight is less than 500, a polyurethane resin using the number average molecular weight does not have sufficient elastic properties and becomes a brittle polymer. Therefore, the polishing pad manufactured from this polyurethane resin becomes too hard and causes scratches on the wafer surface.
  • the number average molecular weight exceeds 5,000, the polyurethane resin using the number average molecular weight becomes too soft, so that the polishing pad produced from this polyurethane resin tends to have poor planarization characteristics.
  • an active hydrogen group-containing low molecular weight compound may be used.
  • the active hydrogen group-containing low molecular weight compound is a compound having a molecular weight of less than 500, for example, ethylene glycol, 1,2-propylene glycol, 1,3-propylene glycol, 1,2-butanediol, 1,3-butane.
  • the ratio between the high molecular weight polyol and the active hydrogen group-containing low molecular weight compound is determined by the properties required for the polishing layer produced from these.
  • a chain extender is used for curing the prepolymer.
  • the chain extender is an organic compound having at least two active hydrogen groups, and examples of the active hydrogen group include a hydroxyl group, a primary or secondary amino group, and a thiol group (SH).
  • the flexible polyurethane resin foam can be manufactured by applying a known urethanization technology such as a melting method or a solution method using the raw material of the polyurethane resin. It is preferable to manufacture.
  • a flexible polyurethane resin foam can be produced by either a prepolymer method or a one-shot method, but an isocyanate-terminated prepolymer is synthesized beforehand from an isocyanate component and an active hydrogen group-containing compound, and a chain extender is then prepared.
  • the prepolymer method in which is reacted is preferable because the resulting polyurethane resin has excellent physical properties.
  • the number of isocyanate groups in the isocyanate component relative to the number of active hydrogen groups (hydroxyl group, amino group) in the active hydrogen group-containing compound is preferably 1.5 to 3.0, more preferably. Is 1.8 to 2.5.
  • the NCO wt% is preferably adjusted to 5 to 8 wt%, more preferably 5.8 to 8 wt%.
  • the ratio of the isocyanate-terminated prepolymer and the chain extender can be varied depending on the molecular weight of each and the desired physical properties of the polishing pad.
  • the number of isocyanate groups of the prepolymer relative to the number of active hydrogen groups (hydroxyl groups, amino groups) of the chain extender is preferably 0.80 to 1.20, more Preferably it is 0.99 to 1.15.
  • Examples of the method for producing the flexible polyurethane resin foam include a method of adding hollow beads, a mechanical foaming method (including a mechanical floss method), and a chemical foaming method.
  • the mechanical foaming method using the silicon type surfactant which is a copolymer of polyalkylsiloxane and polyether is especially preferable.
  • suitable silicon surfactants include SH-192 and L-5340 (manufactured by Toray Dow Corning Silicone), B8443, B8465 (manufactured by Goldschmidt), and the like.
  • the silicon-based surfactant is preferably added to the polyurethane raw material composition in an amount of 0.05 to 10% by weight, more preferably 0.1 to 5% by weight.
  • stabilizers such as antioxidants, lubricants, pigments, fillers, antistatic agents, and other additives may be added.
  • the manufacturing method of this flexible polyurethane resin foam has the following processes. 1) Foaming process for preparing a cell dispersion liquid A non-reactive gas is added to a first component containing an isocyanate-terminated prepolymer by adding a silicon-based surfactant in the polyurethane resin foam to 0.05 to 10% by weight. And a non-reactive gas is dispersed as fine bubbles to obtain a bubble dispersion. When the prepolymer is solid at normal temperature, it is preheated to an appropriate temperature and melted before use.
  • non-reactive gas used to form the fine bubbles non-flammable gases are preferable, and specific examples include nitrogen, oxygen, carbon dioxide, rare gases such as helium and argon, and mixed gases thereof. In view of cost, it is most preferable to use air that has been dried to remove moisture.
  • a known stirring device can be used without particular limitation as a stirring device for dispersing non-reactive gas in the form of fine bubbles and dispersed in the first component containing the silicon-based surfactant.
  • a shaft planetary mixer (planetary mixer) is exemplified.
  • the shape of the stirring blade of the stirring device is not particularly limited, but it is preferable to use a whipper type stirring blade because fine bubbles can be obtained.
  • the stirring in the mixing step may not be stirring that forms bubbles, and it is preferable to use a stirring device that does not involve large bubbles.
  • a planetary mixer is suitable. There is no problem even if the same stirring device is used as the stirring device for the foaming step and the mixing step, and it is also preferable to adjust the stirring conditions such as adjusting the rotation speed of the stirring blade as necessary. .
  • heating and post-curing the foam reacted until the foaming reaction liquid is poured into the mold and no longer flows has the effect of improving the physical properties of the foam, Very suitable.
  • the foam reaction solution may be poured into the mold and immediately put into a heating oven for post cure, and heat is not immediately transferred to the reaction components under such conditions, so the bubble size does not increase.
  • the curing reaction is preferably performed at normal pressure because the bubble shape is stable.
  • a known catalyst that promotes a polyurethane reaction such as tertiary amine may be used.
  • the type and addition amount of the catalyst are selected in consideration of the flow time for pouring into a mold having a predetermined shape after the mixing step.
  • the production of the flexible polyurethane resin foam is a batch method in which each component is weighed and put into a container and stirred, or each component and a non-reactive gas are continuously supplied to the stirring device and stirred. It may be a continuous production method in which a cell dispersion is sent out to produce a molded product.
  • a prepolymer as a raw material for the flexible polyurethane resin foam is put into a reaction vessel, and then a chain extender is added, stirred, and then poured into a casting mold of a predetermined size, and the block is shaped like a bowl, or A thin sheet may be formed in the method of slicing using a band saw slicer or the above-described casting step.
  • the average cell diameter of the flexible polyurethane resin foam is preferably 30 to 100 ⁇ m, more preferably 30 to 80 ⁇ m. When deviating from this range, the planarity (flatness) of the polished material after polishing tends to decrease.
  • the specific gravity of the flexible polyurethane resin foam is preferably 0.5 to 1.0, more preferably 0.5 to 0.9, and particularly preferably 0.7 to 0.9.
  • the hardness of the flexible polyurethane resin foam is 30 or less at normal temperature (25 ° C.) with an Asker D hardness meter. When Asker D hardness exceeds 30, scratches tend to occur for finishing. Further, the hardness of the flexible polyurethane resin foam is preferably 25 or more at room temperature and measured with an Asker D hardness meter. When the Asker D hardness is less than 25, the flattening characteristics tend to deteriorate.
  • the configuration of the polishing pad according to this embodiment is not particularly limited as long as it has a polishing layer made of the soft polyurethane resin foam.
  • it may be a polishing pad made only of the polishing layer, and the soft polyurethane resin
  • It may be a polishing pad (laminated polishing pad) in which a polishing layer made of foam and a cushion sheet are bonded together.
  • the cushion sheet (cushion layer) supplements the characteristics of the polishing layer.
  • the cushion sheet is necessary for achieving both planarity and uniformity in a trade-off relationship in CMP.
  • Planarity refers to the flatness of a pattern portion when a material having fine irregularities generated during pattern formation is polished, and uniformity refers to the uniformity of the entire material to be polished.
  • the planarity is improved by the characteristics of the polishing layer, and the uniformity is improved by the characteristics of the cushion sheet.
  • the cushion sheet examples include a fiber nonwoven fabric such as a polyester nonwoven fabric, a nylon nonwoven fabric, and an acrylic nonwoven fabric, a resin-impregnated nonwoven fabric such as a polyester nonwoven fabric impregnated with polyurethane, a polymer resin foam such as polyurethane foam and polyethylene foam, a butadiene rubber, Examples thereof include rubber resins such as isoprene rubber and photosensitive resins.
  • a fiber nonwoven fabric such as a polyester nonwoven fabric, a nylon nonwoven fabric, and an acrylic nonwoven fabric
  • a resin-impregnated nonwoven fabric such as a polyester nonwoven fabric impregnated with polyurethane
  • a polymer resin foam such as polyurethane foam and polyethylene foam
  • butadiene rubber examples thereof include rubber resins such as isoprene rubber and photosensitive resins.
  • Examples of means for attaching the polishing layer and the cushion sheet include a method of sandwiching and pressing the polishing layer and the cushion sheet with a double-sided tape.
  • the double-sided tape has a general structure in which adhesive layers are provided on both sides of a base material such as a nonwoven fabric or a film. In consideration of preventing the penetration of the slurry into the cushion sheet, it is preferable to use a film for the substrate.
  • the composition of the adhesive layer include rubber adhesives and acrylic adhesives. Considering the content of metal ions, an acrylic adhesive is preferable because the metal ion content is low.
  • the composition of each adhesive layer of the double-sided tape can be made different so that the adhesive force of each layer can be optimized.
  • the thickness of the polishing layer is not particularly limited, but is usually about 0.8 to 4 mm, preferably 1.0 to 2.5 mm.
  • Step 1 of adjusting the Asker D hardness of the soft polyurethane resin foam to 35 or more by cooling the polishing layer In the said process 1, the Asker D hardness of the said flexible polyurethane resin foam is adjusted to 35 or more by cooling the said grinding
  • the polishing pad is composed only of the polishing layer and when the polishing pad is a laminated polishing pad, in order to further improve the groove processing accuracy, the Asker D of the flexible polyurethane resin foam related to the polishing layer is cooled by cooling the entire polishing pad. Adjust the hardness to 35 or higher.
  • the means for cooling the polishing layer is not particularly limited as long as the entire polishing layer can be cooled.
  • Examples of the means for cooling the polishing layer include putting a polishing layer or a polishing pad in a refrigerator or a freezer.
  • a cooling means may be provided in the polishing pad groove processing machine, and the groove processing may be performed in a cooled state.
  • Examples of the cooling means in the polishing pad groove processing machine include cooling air supply and cooling by providing a cooling function (such as a chiller) on the processing machine surface plate. Further, the entire room to be processed may be cooled.
  • the cooling temperature is not particularly limited as long as the Asker D hardness of the flexible polyurethane resin foam having an Asker D hardness of 30 or less at normal temperature (25 ° C.) can be adjusted to 35 or more, but is, for example, 20 ° C. or less. Although the minimum of cooling temperature is not specifically limited, 10 degreeC or more is preferable.
  • a groove is formed on the surface of the polishing layer made of the flexible polyurethane resin foam whose Asker D hardness is adjusted by cooling in the step 1.
  • the method for forming the groove on the surface of the polishing layer is not particularly limited, and is a method of mechanical cutting using a jig such as a tool of a predetermined size, a polishing pad to be processed is fixed on a surface plate, and the surface plate is A method of machining concentric grooves by intruding a multi-blade unit in which blades are arranged at a specified pitch in a rotated state into a workpiece can be exemplified, but in any method, Asker D hardness is adjusted by cooling. In this state, grooves are formed in the polishing layer.
  • the grooves to be formed are not particularly limited as long as the shape holds and renews the slurry.
  • XY lattice grooves, concentric circular grooves, spiral grooves, eccentric circular grooves, radial grooves, and these grooves are included.
  • the combination is mentioned.
  • these uneven structures are generally regular, but in order to make the slurry retention and renewability desirable, the groove pitch, groove width, groove depth, etc. should be changed for each range. Is also possible.
  • the polishing pad according to this embodiment may be provided with a double-sided tape on the surface to be bonded to the platen.
  • a double-sided tape a tape having a general configuration in which an adhesive layer is provided on both surfaces of a base material can be used as described above.
  • a base material a nonwoven fabric, a film, etc. are mentioned, for example.
  • a film for the substrate In consideration of peeling from the platen after use of the polishing pad, it is preferable to use a film for the substrate.
  • the composition of the adhesive layer include rubber adhesives and acrylic adhesives. Considering the content of metal ions, an acrylic adhesive is preferable because the metal ion content is low.
  • the semiconductor device is manufactured through a process of polishing the surface of the semiconductor wafer using the polishing pad.
  • a semiconductor wafer is generally a laminate of a wiring metal and an oxide film on a silicon wafer.
  • the method and apparatus for polishing the semiconductor wafer are not particularly limited.
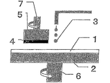
  • a polishing surface plate 2 that supports a polishing pad (polishing layer) 1 and a support table (polishing head) that supports the semiconductor wafer 4. 5 and a polishing apparatus equipped with a backing material for uniformly pressing the wafer and a supply mechanism of the abrasive 3.
  • the polishing pad 1 is attached to the polishing surface plate 2 by attaching it with a double-sided tape, for example.
  • the polishing surface plate 2 and the support base 5 are disposed so that the polishing pad 1 and the semiconductor wafer 4 supported on each of the polishing surface plate 2 and the support table 5 face each other, and are provided with rotating shafts 6 and 7 respectively. Further, a pressurizing mechanism for pressing the semiconductor wafer 4 against the polishing pad 1 is provided on the support base 5 side. In polishing, the semiconductor wafer 4 is pressed against the polishing pad 1 while rotating the polishing surface plate 2 and the support base 5, and polishing is performed while supplying slurry.
  • the flow rate of the slurry, the polishing load, the polishing platen rotation speed, and the wafer rotation speed are not particularly limited and are appropriately adjusted.
  • the protruding portion of the surface of the semiconductor wafer 4 is removed and polished flat. Thereafter, a semiconductor device is manufactured by dicing, bonding, packaging, or the like. The semiconductor device is used for an arithmetic processing device, a memory, and the like.
  • the produced polyurethane foam was cut as thin as possible to a thickness of 1 mm or less in parallel with a microtome cutter, and used as a sample for measuring the average cell diameter.
  • the sample was fixed on a glass slide and observed at 100 times using SEM (S-3500N, Hitachi Science Systems, Ltd.).
  • SEM S-3500N, Hitachi Science Systems, Ltd.
  • the image analysis software WinRoof, Mitani Shoji Co., Ltd.
  • polishing characteristics were evaluated using the prepared polishing pad.
  • the polishing rate was calculated from the polishing amount obtained by polishing a thermal oxide film of 1 ⁇ m formed on an 8-inch silicon wafer for 60 seconds.
  • An optical interference film thickness measuring device manufactured by Nanometrics, device name: Nanospec was used for measuring the thickness of the oxide film.
  • silica slurry SS12 Cabot was added as a slurry at a flow rate of 150 ml / min during polishing.
  • the polishing load was 350 g / cm 2 , the polishing platen rotation number was 35 rpm, and the wafer rotation number was 30 rpm.
  • the polishing pad surface was dressed for 30 minutes using a dresser (M type # 100 manufactured by Asahi Diamond Co., Ltd.) as an initial dress.
  • the dressing conditions were a dress load of 10 g / cm 2 , a polishing platen rotation speed of 30 rpm, and a dresser rotation speed of 15 rpm.
  • the monitor wafer was polished after processing several dummy wafers, and the polishing rate at that time was defined as the initial polishing rate.
  • Dressing during polishing was performed for 20 seconds under the same dressing conditions. Polishing was performed for 24 hours while changing the wafer.
  • Reduction in polishing rate is within 10%
  • Reduction in polishing rate is greater than 10%
  • Example 1 Preparation of polishing layer
  • 18.2 parts by weight multimerized 1,6-hexamethylene diisocyanate (Suika) Bayer Urethane Co., Ltd., Sumidur N3300, isocyanurate type) 22.5 parts by weight
  • polytetramethylene ether glycol Mitsubishi Chemical Corporation, PTMG1000, hydroxyl value: 112.2 KOHmg / g) 57.1 parts by weight
  • 1, 4 -Butanediol manufactured by Nacalai Reagent Co., Ltd., 1,4-BG
  • isocyanate-terminated prepolymer A The content of the multimerized 1,6-hexamethylene diisocyanate is 55% by weight with respect to the total isocyanate component.
  • 100 parts by weight of the prepolymer A and 3 parts by weight of a silicon surfactant (manufactured by Goldschmidt, B8465) were added to the polymerization vessel, mixed, adjusted to 80 ° C. and degassed under reduced pressure. Then, it stirred vigorously for about 4 minutes so that a bubble might be taken in in a reaction system with the rotation speed of 900 rpm using the stirring blade.
  • the soft polyurethane resin foam block kept at about 20 ° C. was sliced using a slicer (AGW) and VGW-125 to obtain a polyurethane resin foam sheet.
  • AGW slicer
  • VGW-125 a polyurethane resin foam sheet.
  • buffing machine Amitech Co., Ltd.
  • the surface of the sheet was buffed to a thickness of 1.27 mm to obtain a polishing sheet (polishing layer) with adjusted thickness accuracy.
  • the polishing sheet was placed in a thermostat at each set temperature and cooled for 30 minutes after reaching the set temperature.
  • the polishing layer was kept in a thermostat until immediately before the groove processing.
  • FIG. 2 is a graph showing the relationship between the temperature of the polishing sheet according to Example 1 and Asker D hardness.
  • FIG. 2 also shows the relationship between the temperature of the polishing sheet according to Reference Examples 1 and 2 manufactured in the same manner as the polishing sheet according to Example 1 and the Asker D hardness except that the specific gravity shown in FIG. 2 was changed. Show. From the graph of FIG. 2, the flexible polyurethane resin foam having a specific gravity of 0.75 to 0.9 and an Asker D hardness of 30 or less at room temperature (25 ° C.) has an Asker D hardness by cooling to 20 ° C. or less. It turns out that it can adjust to 35 or more.
  • a double-sided tape (manufactured by Sekisui Chemical Co., Ltd., double tack tape) was applied to the surface opposite to the grooved surface of the polishing sheet using a laminator. Furthermore, the surface of the corona-treated cushion sheet (manufactured by Toray Industries, Inc., polyethylene foam, Torepef, thickness 0.8 mm) was buffed and bonded to the double-sided tape using a laminator. Further, a double-sided tape was attached to the other surface of the cushion sheet using a laminator to prepare a polishing pad.
  • a double-sided tape manufactured by Sekisui Chemical Co., Ltd., double tack tape
  • Example 2 Comparative Example 1
  • Example 2 Comparative Example 1
  • the polishing pad manufacturing method of the present invention includes optical materials such as lenses and reflecting mirrors, silicon wafers, glass substrates for hard disks, aluminum substrates, and materials that require high surface flatness such as general metal polishing. It can use for the manufacturing method of the polishing pad which performs this planarization process.
  • Polishing pad 2 Polishing surface plate 3: Polishing agent (slurry) 4: Material to be polished (semiconductor wafer) 5: Support base (polishing head) 6, 7: Rotating shaft

Landscapes

  • Chemical & Material Sciences (AREA)
  • Health & Medical Sciences (AREA)
  • Chemical Kinetics & Catalysis (AREA)
  • Medicinal Chemistry (AREA)
  • Polymers & Plastics (AREA)
  • Organic Chemistry (AREA)
  • Engineering & Computer Science (AREA)
  • Mechanical Engineering (AREA)
  • Manufacturing & Machinery (AREA)
  • Finish Polishing, Edge Sharpening, And Grinding By Specific Grinding Devices (AREA)
  • Mechanical Treatment Of Semiconductor (AREA)
PCT/JP2013/078289 2012-12-28 2013-10-18 研磨パッドの製造方法 Ceased WO2014103483A1 (ja)

Priority Applications (3)

Application Number Priority Date Filing Date Title
US14/654,831 US20150343604A1 (en) 2012-12-28 2013-10-18 Polishing pad production method
CN201380054933.2A CN104755228A (zh) 2012-12-28 2013-10-18 抛光垫的制造方法
KR1020157008680A KR20150052268A (ko) 2012-12-28 2013-10-18 연마 패드의 제조 방법

Applications Claiming Priority (2)

Application Number Priority Date Filing Date Title
JP2012288521A JP5629749B2 (ja) 2012-12-28 2012-12-28 研磨パッドの製造方法
JP2012-288521 2012-12-28

Publications (1)

Publication Number Publication Date
WO2014103483A1 true WO2014103483A1 (ja) 2014-07-03

Family

ID=51020583

Family Applications (1)

Application Number Title Priority Date Filing Date
PCT/JP2013/078289 Ceased WO2014103483A1 (ja) 2012-12-28 2013-10-18 研磨パッドの製造方法

Country Status (6)

Country Link
US (1) US20150343604A1 (enExample)
JP (1) JP5629749B2 (enExample)
KR (1) KR20150052268A (enExample)
CN (1) CN104755228A (enExample)
TW (1) TWI486234B (enExample)
WO (1) WO2014103483A1 (enExample)

Families Citing this family (7)

* Cited by examiner, † Cited by third party
Publication number Priority date Publication date Assignee Title
US20140342641A1 (en) * 2011-12-16 2014-11-20 Toyo Tire & Rubber Co., Ltd. Polishing pad
TWI623385B (zh) * 2014-08-27 2018-05-11 桂林創源金剛石有限公司 防失形高效切削砂輪
US9543417B2 (en) * 2014-11-07 2017-01-10 Taiwan Semiconductor Manufacturing Company, Ltd. High mobility devices and methods of forming same
KR102317416B1 (ko) 2015-04-20 2021-10-25 충남대학교산학협력단 높은 에너지 밀도를 가지는 음극 활물질 및 이를 포함하는 리튬이온2차전지
JP2019507806A (ja) * 2015-12-22 2019-03-22 コベストロ、ドイチュラント、アクチエンゲゼルシャフトCovestro Deutschland Ag 布地用の低溶媒被覆システム
CN108747870B (zh) * 2018-05-28 2019-09-27 湖北鼎汇微电子材料有限公司 抛光垫的制备方法
CN115008356B (zh) * 2022-07-20 2023-05-05 华侨大学 一种软硬复合结构减薄砂轮的制备方法

Citations (6)

* Cited by examiner, † Cited by third party
Publication number Priority date Publication date Assignee Title
JP2004035669A (ja) * 2002-07-02 2004-02-05 Kuraray Co Ltd 熱可塑性ポリウレタン発泡体およびそれからなる研磨パッド
US20060022368A1 (en) * 2002-11-18 2006-02-02 Kyu-Don Lee Method of fabricating polyurethane foam with micro pores and polishing pad therefrom
JP2008137148A (ja) * 2006-11-03 2008-06-19 Rohm & Haas Electronic Materials Cmp Holdings Inc 研磨パッドの曲線状溝加工
JP2008200767A (ja) * 2007-02-16 2008-09-04 Toyo Tire & Rubber Co Ltd 研磨パッド溝加工機及び研磨パッド溝加工方法
JP2009101447A (ja) * 2007-10-22 2009-05-14 Toyo Tire & Rubber Co Ltd 電解研磨パッドの製造方法
JP2011124279A (ja) * 2009-12-08 2011-06-23 Apic Yamada Corp 搬送治具及び切削装置

Family Cites Families (9)

* Cited by examiner, † Cited by third party
Publication number Priority date Publication date Assignee Title
US6648733B2 (en) * 1997-04-04 2003-11-18 Rodel Holdings, Inc. Polishing pads and methods relating thereto
US6749485B1 (en) * 2000-05-27 2004-06-15 Rodel Holdings, Inc. Hydrolytically stable grooved polishing pads for chemical mechanical planarization
US6454634B1 (en) * 2000-05-27 2002-09-24 Rodel Holdings Inc. Polishing pads for chemical mechanical planarization
JP2002224950A (ja) * 2001-01-29 2002-08-13 Kogi Corp 研磨用定盤
JP3769581B1 (ja) * 2005-05-18 2006-04-26 東洋ゴム工業株式会社 研磨パッドおよびその製造方法
WO2008026451A1 (fr) * 2006-08-28 2008-03-06 Toyo Tire & Rubber Co., Ltd. Tampon de polissage
JP5008927B2 (ja) * 2006-08-31 2012-08-22 東洋ゴム工業株式会社 研磨パッド
JP5078000B2 (ja) * 2007-03-28 2012-11-21 東洋ゴム工業株式会社 研磨パッド
US9211628B2 (en) * 2011-01-26 2015-12-15 Nexplanar Corporation Polishing pad with concentric or approximately concentric polygon groove pattern

Patent Citations (6)

* Cited by examiner, † Cited by third party
Publication number Priority date Publication date Assignee Title
JP2004035669A (ja) * 2002-07-02 2004-02-05 Kuraray Co Ltd 熱可塑性ポリウレタン発泡体およびそれからなる研磨パッド
US20060022368A1 (en) * 2002-11-18 2006-02-02 Kyu-Don Lee Method of fabricating polyurethane foam with micro pores and polishing pad therefrom
JP2008137148A (ja) * 2006-11-03 2008-06-19 Rohm & Haas Electronic Materials Cmp Holdings Inc 研磨パッドの曲線状溝加工
JP2008200767A (ja) * 2007-02-16 2008-09-04 Toyo Tire & Rubber Co Ltd 研磨パッド溝加工機及び研磨パッド溝加工方法
JP2009101447A (ja) * 2007-10-22 2009-05-14 Toyo Tire & Rubber Co Ltd 電解研磨パッドの製造方法
JP2011124279A (ja) * 2009-12-08 2011-06-23 Apic Yamada Corp 搬送治具及び切削装置

Also Published As

Publication number Publication date
TW201429633A (zh) 2014-08-01
US20150343604A1 (en) 2015-12-03
JP5629749B2 (ja) 2014-11-26
JP2014128859A (ja) 2014-07-10
CN104755228A (zh) 2015-07-01
KR20150052268A (ko) 2015-05-13
TWI486234B (zh) 2015-06-01

Similar Documents

Publication Publication Date Title
JP5661129B2 (ja) 研磨パッド
JP5629749B2 (ja) 研磨パッドの製造方法
WO2013089240A1 (ja) 研磨パッド
WO2011118419A1 (ja) 積層研磨パッド
JP2008060360A (ja) 研磨パッド
JP5661130B2 (ja) 研磨パッド
JP5288715B2 (ja) 研磨パッド
JP4786347B2 (ja) 研磨パッド
JP5308637B2 (ja) 研磨パッド
WO2014167900A1 (ja) 研磨パッドの製造方法
JP4930837B2 (ja) 研磨パッド
JP4128606B2 (ja) 研磨パッド
JP6155018B2 (ja) 研磨パッド
JP2014111296A (ja) 研磨パッド及びその製造方法
JP5506008B2 (ja) 研磨パッド
JP5453507B1 (ja) 研磨パッド及びその製造方法
JP4128607B2 (ja) 研磨パッド
JP2017113856A (ja) 研磨パッド及びその製造方法
JP4986274B2 (ja) 研磨パッド及びその製造方法
JP4757562B2 (ja) Cu膜研磨用研磨パッド
JP2007210236A (ja) 積層研磨パッド
JP5105461B2 (ja) 研磨パッド
JP2007181907A (ja) 積層研磨パッド
JP2013066974A (ja) 研磨パッド
JP2009241205A (ja) 研磨パッド

Legal Events

Date Code Title Description
121 Ep: the epo has been informed by wipo that ep was designated in this application

Ref document number: 13867054

Country of ref document: EP

Kind code of ref document: A1

ENP Entry into the national phase

Ref document number: 20157008680

Country of ref document: KR

Kind code of ref document: A

WWE Wipo information: entry into national phase

Ref document number: 14654831

Country of ref document: US

NENP Non-entry into the national phase

Ref country code: DE

122 Ep: pct application non-entry in european phase

Ref document number: 13867054

Country of ref document: EP

Kind code of ref document: A1