WO2014091875A1 - 生体成分測定用の試験片およびその製造方法 - Google Patents

生体成分測定用の試験片およびその製造方法 Download PDF

Info

Publication number
WO2014091875A1
WO2014091875A1 PCT/JP2013/080973 JP2013080973W WO2014091875A1 WO 2014091875 A1 WO2014091875 A1 WO 2014091875A1 JP 2013080973 W JP2013080973 W JP 2013080973W WO 2014091875 A1 WO2014091875 A1 WO 2014091875A1
Authority
WO
WIPO (PCT)
Prior art keywords
test piece
resistance
substrate
elongated
pair
Prior art date
Legal status (The legal status is an assumption and is not a legal conclusion. Google has not performed a legal analysis and makes no representation as to the accuracy of the status listed.)
Ceased
Application number
PCT/JP2013/080973
Other languages
English (en)
French (fr)
Japanese (ja)
Inventor
賢一郎 財津
時田 宗雄
中嶋 聡
Current Assignee (The listed assignees may be inaccurate. Google has not performed a legal analysis and makes no representation or warranty as to the accuracy of the list.)
Omron Healthcare Co Ltd
Original Assignee
Omron Healthcare Co Ltd
Priority date (The priority date is an assumption and is not a legal conclusion. Google has not performed a legal analysis and makes no representation as to the accuracy of the date listed.)
Filing date
Publication date
Application filed by Omron Healthcare Co Ltd filed Critical Omron Healthcare Co Ltd
Priority to CN201380065141.5A priority Critical patent/CN104870988B/zh
Priority to DE112013005996.7T priority patent/DE112013005996B4/de
Publication of WO2014091875A1 publication Critical patent/WO2014091875A1/ja
Priority to US14/724,422 priority patent/US10156540B2/en
Anticipated expiration legal-status Critical
Ceased legal-status Critical Current

Links

Images

Classifications

    • GPHYSICS
    • G01MEASURING; TESTING
    • G01NINVESTIGATING OR ANALYSING MATERIALS BY DETERMINING THEIR CHEMICAL OR PHYSICAL PROPERTIES
    • G01N27/00Investigating or analysing materials by the use of electric, electrochemical, or magnetic means
    • G01N27/26Investigating or analysing materials by the use of electric, electrochemical, or magnetic means by investigating electrochemical variables; by using electrolysis or electrophoresis
    • G01N27/28Electrolytic cell components
    • G01N27/30Electrodes, e.g. test electrodes; Half-cells
    • G01N27/327Biochemical electrodes, e.g. electrical or mechanical details for in vitro measurements
    • G01N27/3271Amperometric enzyme electrodes for analytes in body fluids, e.g. glucose in blood
    • G01N27/3272Test elements therefor, i.e. disposable laminated substrates with electrodes, reagent and channels
    • GPHYSICS
    • G01MEASURING; TESTING
    • G01NINVESTIGATING OR ANALYSING MATERIALS BY DETERMINING THEIR CHEMICAL OR PHYSICAL PROPERTIES
    • G01N33/00Investigating or analysing materials by specific methods not covered by groups G01N1/00 - G01N31/00
    • G01N33/48Biological material, e.g. blood, urine; Haemocytometers
    • G01N33/483Physical analysis of biological material
    • G01N33/487Physical analysis of biological material of liquid biological material
    • G01N33/4875Details of handling test elements, e.g. dispensing or storage, not specific to a particular test method
    • G01N33/48771Coding of information, e.g. calibration data, lot number

Definitions

  • the present invention relates to a test piece for measuring biological components, and more particularly to a test piece to which a body fluid is attached in order to measure the concentration of a specific component in the body fluid of a subject.
  • the present invention also relates to a test piece manufacturing method for manufacturing such a test piece.
  • Patent Document 1 Japanese Patent No. 4264478
  • the test piece (biosensor) of this document includes a long rectangular substrate, a working electrode and a counter electrode that are spaced apart from each other and extend along the longitudinal direction of the substrate, and one end of the substrate.
  • a reagent portion formed so as to bridge between the working electrode and the counter electrode in the portion, and a flow path from the one end portion of the substrate to the reagent portion.
  • an attribute information output unit that outputs attribute information of the test piece (for example, information for selecting a calibration curve suitable for sensitivity and measurement items) between the working electrode and the counter electrode on the upper surface of the substrate.
  • attribute information of the test piece for example, information for selecting a calibration curve suitable for sensitivity and measurement items
  • the working electrode and the counter electrode each have an electrode terminal to be brought into contact with a contact (terminal portion) of the measuring device main body (concentration measuring device), and the attribute information output portion is the attribute A plurality of lead portions for outputting information are arranged.
  • the attribute information output unit is formed by setting a disconnection candidate part, causing the disconnection candidate part to be disconnected by laser processing or etching processing, for example, by machining using a drill or the like, and changing its resistance value. ing.
  • the body fluid of the subject is attached to the one end of the test piece (substrate), and the other end of the substrate (the electrode terminals of the working electrode and the counter electrode) is the main body of the measuring apparatus. It is contacted with the contact provided on.
  • the bodily fluid attached to the one end of the substrate reaches the reagent part through the flow path by capillary action, and changes the electrical characteristics between the working electrode and the counter electrode by an electrochemical reaction.
  • the measuring apparatus main body measures the response current value of the reagent part by voltage application via the working electrode and the counter electrode on the substrate, and from the attribute information output part via the plurality of lead parts. Get attribute information.
  • the measuring device main body calculates the concentration of the specific component in the body fluid based on the response current value and the calibration curve selected based on the attribute information.
  • the attribute information output part is formed by disconnection by machining, laser processing or etching using a drill or the like. i) Equipment costs for machining, laser processing and etching are high, and as a result, the manufacturing cost of the test piece is high. ii) Especially when machining or laser processing, shavings are generated by cutting the candidate disconnection, and it reattaches to the test piece, causing the test piece to become dirty, and the heat generated during processing The quality of the reagent part (sensor part) is affected, etc. There is a problem.
  • Patent Document 2 Japanese Patent No. 42644778 discloses a technique for variably setting a resistance value for calibration by changing a printing pattern.
  • this technique it is necessary to prepare a plurality of types of printing plates according to the printing pattern, and as a result, there is a problem that the manufacturing cost of the test piece is high.
  • an object of the present invention is a test piece for measuring a biological component to which a body fluid is attached in order to measure the concentration of a specific component in the body fluid of a subject, which can be manufactured inexpensively and with high quality. It is to provide.
  • the subject of this invention provides the manufacturing method which can manufacture the test piece for the biological component measurement to which a bodily fluid adheres in order to measure the density
  • the test piece of the present invention is: In order to measure the concentration of a specific component in a body fluid of a subject, a test piece for measuring a biological component to which the body fluid is attached while being attached to a measurement apparatus body, Equipped with a substrate, On the above substrate, A working electrode and a counter electrode pair extending away from each other; A sensor unit that is formed between the working electrode and the counter electrode, and causes an electrochemical reaction by a body fluid of a subject to cause a change in electrical characteristics; A resistance portion having electrical resistance representing attribute information including sensitivity of the test piece; With a pair of wires connected to both ends of the resistance section, A pair of the working electrode and the counter electrode, and a pair of the wirings each include a first pair of electrode terminals and a second pair of electrode terminals to be in contact with the contacts provided in the measurement apparatus main body,
  • the resistance part is Each having a plurality of elongated patterns spaced apart from each other with a certain resistivity, the ends of each elongated
  • the specific component in the body fluid of the subject refers to, for example, blood sugar (glucose), cholesterol, lactic acid and the like.
  • the “contact” of the measuring apparatus main body widely refers to a member that is in contact with the electrode terminal of the test piece and conducts regardless of the name such as “contact”, “terminal”, “electrode”, “electrode terminal”, etc. .
  • the change in electrical characteristics” of the sensor section includes generating an electromotive current and changing the electrical resistance from infinity to a finite value.
  • the “attribute information” of the test piece is, for example, information indicating the sensitivity of the sensor part of the test piece (for example, the correspondence between the concentration of the specific component in the body fluid and the electromotive current generated by the sensor part) Information for selecting a calibration curve suitable for the component to be measured can be included.
  • the “end part” of the elongated pattern means an end part in the longitudinal direction.
  • the end portions of the elongated pattern are “close” to each other as compared to a portion other than the end portions of the elongated pattern (referred to as “effective portion”).
  • the above-mentioned circular pattern is “substantially circular” means that it includes not only a true circular shape but also an elliptical shape due to, for example, manufacturing variation.
  • the resistance portion can be uniformly formed using one printing plate, for example, by a screen printing method or the like before the sensor portion is formed. In other words, there is no need to change the printing plate.
  • the circular pattern of the resistance portion is obtained by dropping and drying a conductive material by, for example, a potting method after the sensor portion is formed and the electrical resistance (attribute information) that the resistance portion should have is obtained. Can be formed. At this time, by selecting the close end portions of the elongated pattern, the electrical resistance of the resistance portion is varied so that the resistance portion exhibits the obtained electrical resistance as a whole (represents attribute information). Is set.
  • test piece is manufactured with high quality.
  • the electrical resistance of the said resistance part is measured through the said pair of wiring containing the said 2nd pair of electrode terminal.
  • attribute information including the sensitivity of the test piece is acquired.
  • the electrical characteristics of the sensor unit are measured through a pair of the working electrode including the first pair of electrode terminals and the counter electrode. Based on the measured electrical characteristics of the sensor unit and the attribute information, the concentration of the specific component in the body fluid is obtained.
  • the sensor unit In order to regulate the amount of body fluid in contact with the sensor unit on the substrate, the sensor unit is formed on the substrate so as to straddle between the side walls facing each other and the side walls facing each other. While a flat cover is provided, The first pair, the second pair of electrode terminals, and the resistance portion are exposed from the spacer and the cover on the substrate.
  • the amount of bodily fluid contacting the sensor unit on the substrate is defined by the spacer and the cover. Therefore, accurate concentration measurement can be performed.
  • the first and second pairs of electrode terminals and the resistor portion are exposed from the spacer and the cover on the substrate. Therefore, in the manufacturing stage, after the spacer and the cover are provided on the substrate and the electrical characteristics of the test piece are determined, the electrical resistance of the resistance unit is adjusted and set according to the sensitivity of the sensor unit. Easy to do. Therefore, the electrical resistance of the resistance portion can accurately represent the attribute information of the test piece, particularly the sensitivity of the sensor portion.
  • the test piece according to an embodiment includes an insulating layer having a circular through hole that covers an effective portion other than the end portion of the elongated pattern and defines a boundary of the circular pattern.
  • the insulating layer covers an effective portion other than the end portion of the elongated pattern. Therefore, the electrical resistance of the effective portion of the elongated pattern surely contributes to the electrical resistance of the entire resistance portion.
  • the circular pattern boundary is defined by the circular through hole of the insulating layer, and the shape of the circular pattern is accurately formed. As a result, the accuracy of the electrical resistance of the entire resistance portion is increased. Therefore, this test piece is manufactured with higher quality.
  • the circular pattern of the resistance portion is formed by a potting method and has a surface that is convexly curved on the opposite side to the substrate.
  • the circular pattern of the resistance portion has a convexly curved surface on the opposite side to the substrate, the thickness is easily ensured. Therefore, if the circular pattern is made of a general conductive material, the close ends of the elongated pattern can be substantially short-circuited. As a result, only the electrical resistance of the effective portion of the elongated pattern contributes to the electrical resistance of the entire resistance portion. Therefore, the accuracy of the electrical resistance of the entire resistance portion is increased. Therefore, this test piece is manufactured with higher quality.
  • the length and the cross-sectional area of the effective portion other than the end portions of the plurality of elongated patterns are the same.
  • the “length” of the effective portion of the elongated pattern means a dimension in the longitudinal direction.
  • the “cross-sectional area” of the effective portion of the elongated pattern means an area of a cross section perpendicular to the longitudinal direction.
  • the plurality of elongated patterns have the same electric resistance. Therefore, the electrical resistance of the entire resistance section is configured by a series or parallel combination of the same electrical resistance (referred to as “unit resistance”). As a result, at the manufacturing stage, when the electric resistance of the resistor portion is variably set so that the resistor portion represents the attribute information as a whole, the close ends of the elongated pattern can be easily selected. Can do.
  • the plurality of elongated patterns are arranged so as to substantially form each side of a square lattice, At the lattice points of the square lattice, there is a gap between the close ends of the elongated pattern.
  • the “lattice point” is not a strict point having no area, but an area where the elongated patterns intersect each other with a width (a dimension in a direction perpendicular to the longitudinal direction). It is a concept to point out.
  • the layout of the elongated patterns is easily performed. For example, when a printing plate is produced for the screen printing method, the design is easily performed.
  • the gap between the end portions of the elongated pattern that are close to each other is a gap having a constant dimension in the width direction intersecting the longitudinal direction of the elongated pattern.
  • the gap between the close ends of the elongated pattern is a gap having a constant dimension in the width direction intersecting the longitudinal direction of the elongated pattern. Therefore, in the manufacturing stage, when the circular pattern is formed on the close ends of the elongated patterns (hereinafter referred to as “lattice points” as appropriate) to form the circular pattern,
  • the dimension of the circular pattern (and / or circular through hole) can be made relatively small. For example, when the circular pattern is formed by a potting method, the amount of the conductive material forming the circular pattern can be set to be relatively small. As a result, the shape of the circular pattern is accurately formed. Therefore, this test piece is manufactured with higher quality.
  • the array of the plurality of elongated patterns includes a plurality of sides arranged in a line along the longitudinal direction of the substrate, and includes the corresponding sides on both sides of the row along the longitudinal direction. Make unit grids that are lined up one by one, Both ends of the entire side of the row arranged in one row are electrically connected to the pair of wirings.
  • the electrical resistance of the resistance portion when the electrical resistance of the resistance portion is variably set so that the resistance portion represents the attribute information as a whole at the manufacturing stage, the end portions of the elongated pattern that are close to each other are set. Can be easily selected.
  • the electrical resistance of the resistor section is variably set as follows.
  • all the lattice points on the sides arranged in the one row are selected and conducted by the circular pattern. For example, if the number of sides arranged in one row is m (where m is a natural number of 2 or more) and the unit resistance of the effective part of one side of the elongated pattern is Ra, The resistance value is m ⁇ Ra.
  • the unit grids on one side of one side included in the one row are made conductive, that is, the grid points can be made conductive at two corners apart from the one side of the unit grid. For example, the contribution of the unit cell is It becomes. Therefore, the resistance value of the entire resistance portion is (m-1 / 4) Ra.
  • the resistance portion as a whole is obtained.
  • the resistance value is (m ⁇ i / 4) Ra.
  • (m + 1) values can be set in steps of 0.25 Ra in steps as the electric resistance of the resistance section.
  • the resistor section in order for the resistor section to represent the attribute information as a whole, it is necessary to set whether or not to conduct the unit cell on one side (or the other side) of the side included in the one row. It ’s enough. Accordingly, the close ends of the elongated pattern can be easily selected, and the electrical resistance of the resistance portion can be easily variably set so that the resistance portion represents the attribute information as a whole. .
  • the array of the plurality of elongated patterns has another unit cell in contact with the side opposite to the side of the unit cell arranged in the first row. .
  • (2m + 1) values can be set in a stepwise manner. That is, the number that can be varied as the electric resistance of the resistance portion increases as compared with the case where one unit cell is arranged on each side of the one row. Therefore, various attribute information can be expressed by the electrical resistance of the resistance portion.
  • the number m of sides arranged in one row is larger than that in the case where one unit cell is arranged on each side of the one row. Can be reduced. This means that the size of the region occupied by the resistance portion on the substrate can be reduced with respect to the direction of the one row. Therefore, the degree of freedom in laying out the resistance portion on the substrate is increased.
  • test piece according to an embodiment is characterized in that one of the first pair of electrode terminals and one of the second pair of electrode terminals are configured in common.
  • one of the first pair of electrode terminals and one of the second pair of electrode terminals are configured in common. Therefore, the number of electrode terminals can be reduced as compared with the case where the first pair of electrode terminals and the second pair of electrode terminals are configured separately. Therefore, the dimensional accuracy of the arrangement of the electrode terminals can be relaxed. Thereby, this test piece can be easily manufactured.
  • the method for producing a test piece of the present invention is a method for producing a test piece for producing the test piece of the above invention, On the substrate, a pair of the working electrode and the counter electrode, and a pair of the wiring are formed, On the substrate, the elongated pattern of the resistance portion is formed by a screen printing method, After forming the sensor unit across the working electrode and the counter electrode, Operate the sensor unit, determine the electrical resistance that the resistance unit should have as attribute information including the sensitivity of the test piece, Select the end portions of the elongated pattern that are close to each other so that the resistance portion as a whole has the required electrical resistance, and overlay the selected end portions on the circular pattern by a potting method. Form.
  • the plurality of resistance sections can be uniformly formed using one printing plate by a screen printing method or the like before the sensor portion is formed. In other words, there is no need to change the printing plate.
  • the circular pattern of the resistance portion is formed by a potting method (dropping and drying a conductive material) after the sensor portion is formed and the electrical resistance (attribute information) that the resistance portion should have is obtained. obtain. At this time, by selecting the close end portions of the elongated pattern, the electrical resistance of the resistance portion is varied so that the resistance portion exhibits the obtained electrical resistance as a whole (represents attribute information). Is set.
  • this test piece manufacturing method does not require expensive equipment, and it is not necessary to prepare a plurality of types of printing plates. Therefore, the manufacturing cost of the test piece can be suppressed at a low cost. Further, after the sensor part is formed, the test piece is not soiled by the shavings, and the characteristics of the sensor part are not affected by the heat generated during processing. Therefore, a test piece can be manufactured with high quality.
  • the sensor unit is formed on the substrate so as to straddle between the side walls facing each other and the side walls facing each other. While providing a flat cover to cover, The first and second pairs of electrode terminals and the resistance portion are exposed from the spacer and the cover on the substrate.
  • the amount of body fluid that contacts the sensor unit on the substrate is defined by the spacer and the cover. Therefore, the produced test piece can perform accurate concentration measurement.
  • the first and second pairs of electrode terminals and the resistance portion are exposed from the spacer and the cover on the substrate. Therefore, in the manufacturing stage, after the spacer and the cover are provided on the substrate and the electrical characteristics of the test piece are determined, the electrical resistance of the resistance unit is adjusted and set according to the sensitivity of the sensor unit. Easy to do. Therefore, the electrical resistance of the resistance portion can accurately represent the attribute information of the manufactured test piece, particularly the sensitivity of the sensor portion.
  • the circular pattern is used to cover an effective portion other than the end portion of the elongated pattern.
  • An insulating layer having a circular through hole defining the boundary is formed.
  • the insulating layer covers an effective portion other than the end portion of the elongated pattern. Therefore, the electrical resistance of the effective portion of the elongated pattern surely contributes to the electrical resistance of the entire resistance portion.
  • the circular pattern boundary is defined by the circular through hole of the insulating layer, so that the shape of the circular pattern is accurately formed. As a result, the accuracy of the electrical resistance of the entire resistance portion is increased.
  • the insulating layer is formed before the sensor portion is formed, the formation process of the insulating layer does not affect the characteristics of the sensor portion. Therefore, the test piece can be manufactured with higher quality.
  • test piece for measuring biological components of the present invention can be manufactured at low cost and with high quality.
  • a test piece for measuring a biological component to which a body fluid is attached in order to measure the concentration of a specific component in the body fluid of a subject is manufactured at low cost and with high quality. it can.
  • FIG. 3A shows an equivalent circuit of the test piece.
  • FIG. 3B is a diagram showing an equivalent circuit of a modified example in which the above-described test piece is modified. It is a figure which shows the functional block structure of the said biological component measuring apparatus. It is a figure explaining the method of detecting attribute information from the said test piece in a bodily fluid non-adhered state.
  • FIG. 14A to FIG. 14P are diagrams showing various modes that the resistance portion can take when the electrical resistance of the resistance portion of the test piece is set in 16 stages. It is a top view which shows the state in the middle of manufacture of the modification which deform
  • FIG. 17A to FIG. 17P are diagrams showing various modes that the resistance portion can take when the electrical resistance of the resistance portion of the test piece of the modified example is set to 16 levels.
  • FIG. 18 (A), 18 (B), and 18 (C), respectively, are aspects in the vicinity of lattice points in which the ends of two, three, and four elongated patterns are close to each other in the resistance portion of each test piece.
  • FIG. 1 shows a living body component measuring apparatus (the whole is denoted by reference numeral 1) viewed from an oblique direction.
  • the biological component measuring apparatus 1 is roughly divided into a test piece 10 to which a body fluid is attached in order to measure a concentration of a specific component in a body fluid of a subject, and the test piece 10 according to an embodiment of the present invention.
  • Measuring device main body hereinafter simply referred to as “main body”) 50.
  • the specific component in the body fluid include blood glucose (glucose), cholesterol, and lactic acid.
  • the test piece 10 includes a substrate 11, a resist layer 48 as an insulating layer, a spacer 16, and a cover sheet 18, as can be clearly understood from FIG. 2 (showing an exploded state). In FIG. 2, XYZ orthogonal coordinates are also shown.
  • the substrate 11 is made of an insulating plastic material in this example, and has a rectangular shape extending in one direction (X direction in FIG. 2).
  • a pair of a working electrode 12 and a counter electrode 13 is provided so as to be elongated in a strip shape along the X direction.
  • These working electrode 12 and counter electrode 13 are formed by screen printing a conductive carbon paste or the like.
  • the working electrode 12 and the counter electrode 13 are bent in the + Y direction and the ⁇ Y direction perpendicular to the X direction, respectively, in the region on the one end 11e side ( ⁇ X side) of the substrate 11 with respect to the X direction.
  • the overall shape is L-shaped.
  • the working electrode 12 and the end portions 12f and 13f of the counter electrode 13 are set as the first pair of electrode terminals in a region (+ X side) of the other end portion 11f opposite to the one end portion 11e of the substrate 11 in the X direction. Has been.
  • a pair of wirings 42 and 43 connected to the resistance unit 14 described later is separated from each other and extends in a strip shape along the X direction. Is provided. Similar to the working electrode 12 and the counter electrode 13, these wirings 42 and 43 are formed by screen printing a conductive carbon paste or the like. In the region on the end portion 11f side (+ X side) of the substrate 11 with respect to the X direction, the end portions 42f and 43f of the wirings 42 and 43 are set as the second pair of electrode terminals.
  • the electrode terminals 12f, 13f, 42f, and 43f are expected to contact contacts 62, 63, 64, and 65, which will be described later, provided on the main body 50 when the test piece 10 is mounted on the main body 50, respectively. .
  • the ends (L-shaped short sides) 12e and 13e of the working electrode 12 and the counter electrode 13 are separated from each other in the X direction.
  • a sensor unit 15 made of a circular reagent layer is provided between the working electrode 12 and the end portions 12e and 13e of the counter electrode 13.
  • the sensor unit 15 is formed as a solid material in which an oxidoreductase is dispersed in a mediator (electron transfer substance).
  • a mediator electron transfer substance
  • an iron complex such as potassium ferricyanide or a Ru complex having NH 3 as a ligand is used.
  • the oxidoreductase is selected according to the type of specific component to be measured. For example, when measuring blood sugar (glucose), glucose dehydrogenase, glucose oxidase, etc. are used as oxidoreductases. When measuring cholesterol, cholesterol dehydrogenase, cholesterol oxidase and the like are used as oxidoreductases. When measuring lactic acid, lactate dehydrogenase, lactate oxidase and the like are used as oxidoreductases.
  • the sensor unit 15 is configured by dispersing glucose dehydrogenase or glucose oxidase in an iron complex or Ru complex in order to measure blood glucose (glucose).
  • a resistance portion 14 is provided at approximately the center of the substrate 11 in the X and Y directions.
  • the resistance unit 14 has an electrical resistance Rc that represents attribute information including the sensitivity of the test piece 10.
  • the “attribute information” can include, for example, information indicating the sensitivity of the test piece 10 and information for selecting a calibration curve suitable for the component to be measured.
  • the electrical resistance Rc of the resistance unit 14 is set variably in 16 stages.
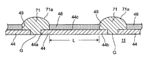
  • the resistance portion 14 includes a plurality of elongated patterns 44, 44,. It is formed of substantially circular patterns (hatched) 71, 71,... That are provided on the close ends of the elongated pattern so as to overlap each other and make the ends communicate with each other.
  • a hatched circle indicates that the circular pattern 71 is provided at the lattice point G corresponding to the location, while a white circle drawn with a broken line corresponds to the location. This indicates that the circular pattern 71 is not provided at the lattice point G (the same applies to FIG. 16 described later).
  • a resist layer 48 as an insulating layer is further provided on the substrate 11 except for a region occupied by the sensor unit 15 and a region occupied by the electrode terminals 12f, 13f, 42f, and 43f. Yes.
  • the resist layer 48 is formed by screen printing a photo-curing or thermosetting insulating resist material.
  • the resist layer 48 has a plurality of through holes 49, 49,... Arranged in three rows penetrating the resist layer in the thickness direction in a region corresponding to the resistance portion 14.
  • the outer shape of the resist layer 48 in the XY plane matches the outer shape of the spacer 16 described below in the XY plane. That is, the positions of the sides 48e, 48f, 48a, 48b, 48c forming the outer shape in the XY plane of the resist layer 48 are the positions of the end portions 16e, 16f of the spacer 16 and the side walls 16a, 16b, 16c in the XY plane. Is consistent with The thickness of the resist layer 48 is set to be smaller than the thickness of the spacer 16.
  • a substantially flat spacer 16 and a cover sheet 18 as a flat cover are provided on the substrate 11 in this order.
  • the spacer 16 and the cover sheet 18 are each made of an insulating plastic material, and generally have a rectangular shape that is elongated in the X direction.
  • the dimension in the Y direction of the spacer 16 and the cover sheet 18 matches the dimension in the Y direction of the substrate 11.
  • the X direction dimension of the spacer 16 and the cover sheet 18 is set shorter than the X direction dimension of the substrate 11. Specifically, the spacer 16 and the end portions 16e and 18e of the cover sheet 18 are located at the same position as the end portion 11e of the substrate 11 in the region on the one end portion 11e side ( ⁇ X side) of the substrate 11 in the X direction.
  • the spacer 16 and the end portions 16f and 18f of the cover sheet 18 are the end portions of the substrate 11 in the region of the other end portion 11f side (+ X side) opposite to the one end portion 11e of the substrate 11. It is in a position retracted from 11f.
  • the end portions 12f and 13f of the working electrode 12 and the counter electrode 13 and the end portions 42f and 43f of the wirings 42 and 43 are exposed as electrode terminals. Therefore, these electrode terminals 12f, 13f, 42f, and 43f can contact contacts 62, 63, 64, and 65, which will be described later, of the main body 50 when the test piece 10 is mounted on the main body 50, respectively.
  • the end portion 16 e on the ⁇ X side of the spacer 16 is recessed in a substantially U shape so as to constitute a flow path 17 from the end portion 11 e of the substrate 11 to the sensor unit 15.
  • the spacer 16 has the side walls 16a and 16b which oppose each other, and the side wall 16c which connects them.
  • the region near the end portion 18e on the ⁇ X side of the cover sheet 18 covers the sensor portion 15 across the side walls 16a and 16b of the spacer 16 facing each other.
  • the body fluid adhered to the end portion 11e on the ⁇ X side of the substrate 11 reaches the sensor portion 15 through the flow path 17 by, for example, a capillary phenomenon. Then, the body fluid layer is formed on the sensor unit 15 in a state having a certain layer thickness corresponding to the height of the spacer 16 (and the resist layer 48). Therefore, the amount of body fluid to be measured by contacting the sensor unit 15 on the substrate 11 is determined, and accurate concentration measurement can be performed.
  • an air vent through hole may be provided in the vicinity of the side wall 16 c facing the flow path 17 and not directly facing the sensor unit 15.
  • the spacer 16 and the cover sheet 18 have openings 16w and 18w (collectively referred to as “openings W”) in regions corresponding to the resistance portions 14 on the substrate 11, respectively.
  • openings W openings 16w and 18w
  • all the lattice points G, G,... Of the resistance portion 14 are exposed through the opening W and the plurality of through holes 49, 49,. Therefore, after the spacer 16 and the cover sheet 18 are provided on the substrate 11 and the electrical characteristics of the test piece 10 are determined, the electrical resistance Rc of the resistance unit 14 is adjusted and set according to the sensitivity of the sensor unit 15. Becomes easier.
  • the electrical resistance of the sensor unit 15 is substantially infinite. .
  • Table 1 shows that, for example, if the blood glucose level is 90 mg / dL, the sensor unit 15 generates a current of 0.1 nA. If the blood glucose level is 180 mg / dL, the sensor unit 15 generates a current of 1.3 nA. If the blood glucose level is 600 mg / dL, the sensor unit 15 generates a current of 7.0 nA.
  • the correspondence relationship between the blood glucose level and the electromotive current of the sensor unit 15 (in this example, this is expressed as a calibration curve) varies, for example, for each production lot of the test piece.
  • a calibration curve corresponding to the sensitivity of the sensor unit 15. It is desirable to use a calibration curve corresponding to the sensitivity represented by the electrical resistance Rc with reference to the electrical resistance Rc of the resistance portion 14.
  • FIG. 8 shows a flow of a manufacturing method according to an embodiment for manufacturing the test piece 10. Based on this flow, a method for manufacturing the test piece 10 will be described with reference to the plan views of FIGS. 9 to 13.
  • step S11 of FIG. 8 As shown in FIG. 9, a pair of working electrode 12 and counter electrode 13 having the above-described form (first pair of electrode terminals 12f and 13f is provided on the upper surface 11a of the substrate 11). And a pair of wirings 42 and 43 (including a second pair of electrode terminals 42f and 43f) are formed by screen printing of a conductive carbon paste or the like in this example.
  • the wiring 42 is provided between the resistance portion 14 and the working electrode 12 so as to be elongated in a strip shape along the X direction in parallel with the working electrode 12.
  • the wiring 42 includes a portion 42e bent in the + Y direction so that the wiring 42 can be connected to the end portion on the ⁇ X side of the resistor portion 14 to be formed next, and further from the portion 42e to the + X direction. And 42 g of bent portions.
  • the wiring 43 extends in a strip shape along the X direction in parallel with the counter electrode 13 in the region near the end portion 11f on the ⁇ X side of the substrate 11.
  • the wiring 43 includes a portion 43h bent in the ⁇ Y direction so that the wiring 43 can be connected to the + X side end of the resistor portion 14 to be formed next, and further from this portion 43h to ⁇ X.
  • a portion 43g bent in the direction is provided.
  • step S12 of FIG. 8 as shown in FIG. 9, a plurality of resistance portions 14 each having a certain resistivity are provided on the upper surface 11a of the substrate 11 approximately at the center in the X direction and Y direction of the substrate 11, respectively.
  • the elongated patterns 44, 45, 46, and 47 are formed.
  • the elongated patterns 44, 45, 46, 47 are formed by printing a conductive plastic containing carbon, for example, to a thickness of about 10 ⁇ m to 20 ⁇ m by screen printing and curing.
  • the plurality of elongated patterns 44, 45, 46, 47 are arranged so as to substantially form the sides of the square lattices U1, U2,..., U16 in this example. More specifically, a plurality (16 in this example) of elongated patterns 44, 44,... Are arranged so as to form sides arranged in a line along the longitudinal direction (X direction) of the substrate 11 (this 1).
  • the column is denoted by reference numeral 41). .., U16, which are arranged one by one along the longitudinal direction including corresponding sides 44, 44,... On both sides of the row 41, respectively. Patterns 45, 46 and 47 are arranged.
  • the elongated patterns 44, 45, 46, 47 are arranged so as to substantially form the sides of the square lattices U1, U2,..., U16.
  • the layout is easily performed. For example, when a printing plate is produced for the screen printing method, the design is easily performed.
  • a gap d having a fixed dimension is provided in the width direction (direction intersecting the longitudinal direction of the elongated pattern).
  • FIG. 18A for example, as shown by a lattice point G on the upper right (in FIG. 9) of the unit cell U1 in FIG. A mode in the vicinity of the L-shaped lattice point G is shown.
  • the end portions of the elongated patterns 45 and 47 form sides inclined at an angle of 45 ° with respect to the longitudinal direction of the respective elongated patterns 45 and 47.
  • a gap d having a fixed dimension is provided between the ends of the elongated patterns 45 and 47.
  • FIG. 18B shows, for example, two end portions of an elongated pattern (in this example, elongated patterns 44 and 47) that are close to each other, such as a lattice point G at the upper right (in FIG. 9) of the unit lattice U16 in FIG.
  • a mode in the vicinity of the T-shaped lattice point G in which the end of the wiring 43g is approaching is shown.
  • the end of the elongated pattern 47 corresponding to the T-shaped trunk is pointed at an apex angle of 90 ° (inclined at an angle of 45 ° with respect to the longitudinal direction of the elongated pattern 47) Made up of two sides).
  • the ends of the elongated patterns 44 and the ends of the wiring 43g arranged in a line each have a mesa shape (including flat sides facing each other and a hypotenuse inclined at an angle of 45 ° connected to the sides). Yes.
  • the oblique side of the end portion of the elongated pattern 44 and the oblique side of the end portion of the wiring 43g are opposed to the corresponding oblique side of the end portion of the elongated pattern 47, respectively.
  • a gap d having a fixed dimension is provided between the end portions of the elongated patterns 44, the end portions of the elongated patterns 47, and the end portions of the wiring 43g.
  • FIG. 18C shows an approach of an elongated pattern (in this example, elongated patterns 44, 44, 46, 47) like a lattice point G at the lower right (in FIG. 9) of the unit lattice U1 in FIG. A mode in the vicinity of the cross-shaped lattice point G having four end portions is shown.
  • the ends of the elongated patterns 44, 44, 46, 47 are pointed at an apex angle of 90 ° (the longitudinal direction of the respective elongated patterns 44, 44, 46, 47). It consists of two sides inclined at an angle of 45 ° with respect to.
  • a gap d having a fixed dimension is provided between the ends of the elongated patterns 44, 44, 46, 47.
  • a resist layer 48 as an insulating layer is formed as shown in FIG.
  • the resist layer 48 is formed to a thickness of, for example, about 1 ⁇ m to 10 ⁇ m, typically about several ⁇ m, by screen-printing a photocurable or thermosetting insulating resist material or the like. .
  • the resist layer 48 has the above-described outer shape in the XY plane, covers most of the working electrode 12, the counter electrode 13, and the wirings 42, 43, and ends of the elongated patterns 44, 45, 46, 47. The effective part other than is covered.
  • the resist layer 48 has circular through holes 49 at locations corresponding to the lattice points G of the unit lattices U1, U2,. Through this through hole 49, the close ends of the elongated patterns 44, 45, 46, 47 are exposed. Note that the ends of the wires 42g and 43g are the ends of the resistor section 14 as a whole, that is, the lattice point G at the lower left (in FIG. 10) of the unit lattice U1 and the lattice point G at the upper right (in FIG. The part is also exposed.
  • the effective portion 44c other than the end portions 44a and 44b is covered with the resist layer 48, while the end portion is located at a position corresponding to the lattice points G and G. 44 a and 44 b are exposed through the through hole 49. 20, circular patterns 71, 71,... Are also shown.
  • the electrical resistance of the effective portions of the elongated patterns 44, 45, 46, 47 is the resistance portion 14 as a whole. It certainly contributes to the electrical resistance Rc.
  • the plurality of elongated patterns 44, 45, 46, and 47 form each side of a square lattice.
  • the length L and the cross-sectional area (corresponding to width w ⁇ thickness h) of the effective portions other than the end portions of the plurality of elongated patterns 44, 45, 46, 47 are the same. Therefore, effective portions of the plurality of elongated patterns 44, 45, 46, and 47 have the same electric resistance (represented by the symbol Ra. This is referred to as a unit resistance).
  • the thickness is
  • the electrical resistance Rc of the entire resistance unit 14 is configured by a series or parallel combination of the same unit resistance Ra.
  • the elongated patterns 44, 45, 46 to be conducted are set. , 47 close to each other (hereinafter referred to as “lattice point G” as appropriate) can be easily selected.
  • circular through holes 49, 49,... serve to define the boundaries of the circular patterns 71, 71,.
  • the formation process of the resist layer 48 does not affect the characteristics of the sensor unit 15.
  • step S14 of FIG. 8 the sensor unit 15 is formed as shown in FIG.
  • a solid material in which glucose dehydrogenase or glucose oxidase is dispersed in an iron complex or Ru complex is used as a reagent layer, and the working electrode 12 and the end 12e of the counter electrode 13 are used. , 13e to be attached in a circular shape. Thereby, the sensor part 15 is formed.
  • step S15 in FIG. 8 a substantially flat spacer 16 as shown in FIG. 2 and a cover sheet 18 as a flat cover are further adhered on the substrate 11 in this order. Provide.
  • the spacer 16 and the cover sheet 18 define the amount of body fluid that contacts the sensor unit 15 on the substrate 11 as described above. Accordingly, the electrical characteristics of the test piece 10 are determined at this stage.
  • the + X side ends of the working electrode 12 and the counter electrode 13 are exposed as the first pair of electrode terminals 12f and 13f, and the + X side ends of the wirings 42 and 43 are used as the second pair of electrode terminals 42f and 43f. It will be exposed.
  • the spacer 16 and the cover sheet 18 have an opening W in a region corresponding to the resistance portion 14 on the substrate 11.
  • the openings W and the plurality of through holes 49, 49 it becomes a state. Therefore, it becomes easy to adjust and set the electrical resistance Rc of the resistance unit 14 in accordance with the sensitivity of the sensor unit 15 in a subsequent process (step S16).
  • step S16 of FIG. 8 the sensor unit 15 is operated to obtain the electrical resistance Rc that the resistance unit 14 should have as attribute information including the sensitivity of the test piece 10.
  • test pieces 10M for monitoring the sensitivity are extracted from the same production lot of the test piece 10.
  • a body fluid (sample) having a known blood glucose level is attached to the sensor units 15 of some test pieces 10M, and the electromotive current of the sensor unit 15 is observed.
  • a body fluid having a blood glucose level shown in Table 1 of 90 [mg / dL] to 600 [mg / dL] is attached, and the electromotive current of the sensor unit 15 is observed [nA].
  • a calibration curve representing the correspondence relationship between the blood glucose level and the electromotive current of the sensor unit 15 is created.
  • the sensitivity of the remaining test pieces 10 included in the production lot is represented by the calibration curve.
  • the calibration curve corresponding to such sensitivity is specified according to the value (16 steps) of the electric resistance Rc of the resistance portion 14 when measuring using the test piece 10 (described later).
  • step S17 of FIG. 8 As shown in FIG. 13, circular patterns 71, 71,...
  • the lattice point G formed by the elongated patterns 44, 45, 46, 47 is selected so that the resistance portion 14 has the electric resistance Rc obtained as a whole, and the selected lattice point G, G, ... are formed on top of each other to form circular patterns 71, 71, .... Thereby, those lattice points G, G,... Are made conductive.
  • all the lattice points G arranged in one row 41 are selected, and the lattice points G of the unit lattices U1, U2, U3, U4 on both sides of the one row 41 are selected and selected.
  • Circular patterns 71, 71,... Are formed on the lattice points G.
  • circular patterns 71, 71,... are also formed at the lattice point G at the lower left (in FIG. 13) of the unit lattice U1 and the lattice point G at the upper right (in FIG. 13) of the unit lattice U16. Thereby, the resistance part 14 is connected to the wirings 42 and 43 as a whole.
  • These circular patterns 71, 71,... are made of conductive plastic containing carbon at a higher concentration than the conductive plastic forming the elongated patterns 44, 45, 46, 47, for example, as a conductive material by a potting method. It is attached to the thickness of and cured to form.
  • the circular patterns 71, 71,... Formed by the potting method have a surface 71a that is convexly curved on the opposite side to the substrate 11, as shown in FIG. Therefore, the thickness of the circular patterns 71, 71,... Is easily ensured. Therefore, if the circular patterns 71, 71,... Are made of a general conductive material, the lattice points G, G,... Formed by the elongated patterns 44, 45, 46, 47 can be substantially short-circuited. As a result, the electrical resistance (unit resistance Ra) of the effective part (the part of length L) of the elongated patterns 44, 45, 46, 47 substantially contributes to the electrical resistance Rc of the entire resistance unit 14. It becomes only. Therefore, the accuracy of the electrical resistance Rc as the entire resistance portion 14 is increased.
  • the boundaries of the circular patterns 71, 71,... are defined by the circular through holes 49, 49,. Therefore, in this step S16, the shapes of the circular patterns 71, 71,... Can be formed with high accuracy.
  • a gap d having a fixed dimension is provided between the close ends of the elongated patterns 44, 45, 46, 47. Therefore, in this step S16, when the circular patterns 71, 71,... Are formed on the lattice points G, G,.
  • the dimensions of the circular patterns 71, 71,... (And / or the circular through holes 49, 49,...) Can be made relatively small.
  • the circular patterns 71, 71,... are formed by the potting method, the amount of the conductive material that forms the circular patterns 71, 71,.
  • the shapes of the circular patterns 71, 71,... Can be formed with higher accuracy.
  • the plurality of elongated patterns 44 of the resistance portion 14 are set. , 45, 46, and 47 can be uniformly formed using one printing plate by screen printing or the like in step S12 before the sensor unit 15 is formed. In other words, there is no need to change the printing plate. .. Are formed by the potting method in step S16 after the sensor portion 15 is formed and the electrical resistance Rc (attribute information) that the resistance portion 14 should have is obtained. obtain. At this time, by selecting the lattice points G, G,... Formed by the elongated patterns 44, 45, 46, 47, the resistance unit 14 indicates the electrical resistance Rc obtained as a whole (representing attribute information). The electric resistance Rc of the resistance unit 14 is set variably.
  • test piece 10 can be manufactured with high quality.
  • the electrical resistance Rc of the resistance portion 14 is variably set as shown in FIGS. 14 (A), (B),..., (P).
  • the lattice points G that are conducted in the circular pattern 71 are marked with ⁇ , while the non-conducting lattice points G are not marked with ⁇ (the same applies to FIG. 17 described later). .
  • 16 values can be set in steps of 0.25Ra in steps from 15Ra to 11.25Ra.
  • the resistance unit 14 in order for the resistance unit 14 to represent the attribute information as a whole, whether or not the unit lattices U1, U2,... On one side (or the other side) of the side included in one row 41 are made conductive. Setting is sufficient. Therefore, the lattice point G formed by the elongated patterns 44, 45, 46, and 47 can be easily selected, and the electric resistance Rc of the resistor portion 14 can be easily changed so that the resistor portion 14 represents the attribute information as a whole. Can be set.
  • the main body 50 includes a substantially rectangular parallelepiped casing 50 ⁇ / b> M that a user (typically, a subject) can hold with one hand.
  • a display unit 55 serving as a notification unit and an operation unit 56 for a user to operate are provided on the front surface (upper surface in FIG. 1) of the casing 50M.
  • a connector portion 61 into which the end portion 11f of the test piece 10 (substrate 11) is to be inserted is provided on the end surface of the casing 50M.
  • the working electrode 12 of the test piece 10 the electrode terminals 12 f and 13 f of the counter electrode 13, and the electrode terminals 42 f and 43 f of the wires 43 and 42 are respectively connected to the connector portion 61.
  • the contacts 62, 63, 64, 65 provided are brought into conduction.
  • contact points 62, 63, 64, 65 are made of a substantially U-shaped metal plate having elasticity, and bent portions (vertical points of the U shape) of the metal plate are electrode terminals 12 f, 13 f, It is directed downward so as to contact 42f and 43f.
  • an output detection unit 51 and a calculation unit 52 are mounted in the casing 50M of the main body 50.
  • the output detection unit 51 detects the output of the test piece 10 via the connector unit 61.
  • the calculation unit 52 includes a CPU (Central Processing Unit) 53 as a control unit and a memory 54.
  • CPU Central Processing Unit
  • the memory 54 stores data of a program for controlling the biological component measuring apparatus 1, data of a calibration curve representing a correspondence relationship between the blood glucose level and the electromotive current of the sensor unit 15, data of measurement results, and the like. To do.
  • the calibration curve data is 16 so that the sensitivity of the test piece 10 (sensor unit 15) varies (that is, the variation in the correspondence between the blood glucose level and the electromotive current of the sensor unit 15).
  • the type is stored.
  • the memory 54 is also used as a work memory when the program is executed.
  • a CPU (Central Processing Unit) 53 controls the biological component measuring apparatus 1 according to a program stored in the memory 54. A specific control method will be described later.
  • the display unit 55 is composed of a liquid crystal display or an EL (electroluminescence) display. This display part 55 is controlled by the calculating part 52, and displays the measurement result regarding the density
  • the operation unit 56 includes three push button switches 57, 58, 59 as shown in FIG.
  • the central push button switch 58 is used to turn on and off the operation of the biological component measuring apparatus 1.
  • the push button switches 57 and 59 on both sides are used to display the previous measurement result recorded in the memory 54 on the display unit 55 by lowering or raising it.
  • the output detection unit 51 specifically referred to the power source potential V CC and connected operational amplifier between the low potential V EE than its source potential Vcc (hereinafter the "operational amplifier” .) 52, a feedback resistor (resistance value is R2) 53 connected between the inverting input terminal ( ⁇ ) of the operational amplifier 52 and the output terminal (terminal for outputting the output voltage Vout), and a test piece A switch SW1 for switching between a power source (not shown) for applying a predetermined voltage Vin to the ten resistor sections 14 or the sensor section 15, and a first pair of contacts 62, 63 and a second pair of contacts 64, 65. SW2 is included.
  • the output current from the counter electrode 13 of the test piece 10 is input to the inverting input terminal ( ⁇ ) of the operational amplifier 52 as the output of the test piece 10.
  • the non-inverting input terminal (+) of the operational amplifier 52 is grounded.
  • Vout ⁇ (R2 / R1) ⁇ Vin (1) Represented as:
  • step S ⁇ b> 1 in FIG. 7 the CPU 53 of the main body 50 determines whether or not the test piece 10 is attached to the connector portion 61.
  • the range of values that the output voltage Vout should take is determined according to the ranges of the values of R2, Vin, and Rc according to the above equation (2). Therefore, a lower limit value V L and an upper limit value V U are set in advance for the value that the output voltage Vout should take.
  • the output voltage Vout is between the lower limit value V L and the upper limit value V U , it is determined that the test piece 10 is mounted in a state where the body fluid is not attached. If the output voltage Vout is below the lower limit value VL , it is determined that the test piece 10 is not attached. Or, the output if the voltage Vout exceeds the upper limit value V U, some abnormality is judged to have occurred (in this case, is displayed to the effect that abnormality on the display section 55 has occurred.).
  • the subject may input that the test piece 10 has been mounted by pressing the push button switch 58 (see FIG. 1) of the operation unit 53 at this stage. good. Thereby, CPU53 can judge reliably that the test piece 10 was mounted
  • the test piece 10 is attached to the main body 50 in a state where the body fluid is not attached.
  • the electrode terminals 12f and 13f of the working electrode 12 and the counter electrode 13 on the substrate 11 and the electrode terminals 42f and 43f (see FIG. 1) of the wirings 42 and 43 are respectively connected to the contacts 62, 63 and 64 provided in the connector portion 61. , 65 is contacted.
  • the CPU 53 acquires the electrical resistance Rc representing the attribute information from the resistance portion 14 of the test piece 10 through the contacts 64 and 65 and the wirings 42 and 43.
  • the CPU 53 displays on the display unit 55 that the measurement preparation is completed and notifies the user. For example, “Measurement preparation is completed” is displayed. Alternatively, or in addition, “Please apply blood to the test piece” may be displayed so as to encourage the subject to apply blood to the test piece 10.
  • step S4 in FIG. 7 the CPU 53 determines whether or not blood has been applied to the test piece 10.
  • the CPU 53 sets the switches SW1 and SW2 of the output detection unit 51 to select the first pair of contacts 62 and 63 as shown in FIG.
  • the CPU 53 determines whether blood has been applied to the test piece 10 based on a change in the output voltage Vout of the output detection unit 51. That is, the output voltage Vout of the output detection unit 51 is substantially zero when the body fluid is not attached, but in the body fluid attached state, as shown in FIG. 6, the sensor unit 15 causes an electrochemical reaction with blood.
  • an electromotive current (referred to as I 2 ) is generated as a change in electrical characteristics.
  • a current I 2 flows through the contacts 62 and 63, the working electrode 12 and the counter electrode 13 on the substrate 11 by application of the voltage Vin.
  • CPU 53 detects the output voltage Vout of the output detection unit 51 in accordance with the current I 2 (which is referred to as Vout2.). The CPU 53 determines whether blood has been applied to the test piece 10 based on the change of the output voltage Vout from zero to Vout2.
  • the output voltage Vout2 at this stage After exceeds the upper limit value V U described above, it is determined that the blood has been applied to the test piece 10.
  • the test subject 10 inputs blood by applying a push button switch 58 (see FIG. 1) of the operation unit 53 at this stage. May be. Thereby, the CPU 53 can reliably determine that blood has been applied to the test piece 10.
  • the CPU 53 obtains the electrical characteristics of the sensor unit 15 as shown in step S5 in FIG.
  • the CPU 53 detects an electromotive current I 2 as an electrical characteristic of the sensor unit 15.
  • CPU 53 includes an electromotive current I 2 of the sensor unit 15 in a body fluid attached state, a calibration curve of the test piece 10 electric resistance Rc of the resistance portion 14 is represented ( Blood glucose level in the blood is calculated on the basis of
  • the CPU 53 displays the calculated blood glucose level on the display unit 55 to notify the user. For example, “blood glucose level 180 mg / dL” is displayed. At the same time, the CPU 53 stores the blood glucose level in the memory 54. The blood glucose level stored in the memory 54 can be displayed on the display unit 55 when the user (for example, a subject) presses the push button switches 57 and 59 of the operation unit 56.
  • this biological component measuring apparatus even if the sensitivity of the test piece 10 (particularly the sensor unit 15) varies, the blood sugar level in the blood of the subject can be accurately measured. .
  • FIG. 15 shows a state in the middle of manufacturing (immediately before potting) of a modified example in which the layout of the resistance portion 14 of the test piece 10 described above is modified.
  • each unit cell has another unit cell in contact with the side opposite to the side arranged in the first row 41.
  • a plurality (eight in this example) of elongated patterns 44, 44,... are arranged so as to form sides arranged in a line along the longitudinal direction of the substrate 11.
  • This one column is denoted by reference numeral 41).
  • the unit cells U1-1, U2-1,..., U8-1 are arranged on both sides of the row 41 alternately one by one along the longitudinal direction including the corresponding sides 44, 44,.
  • Each of the three elongated patterns is arranged.
  • another unit cell U1-2, U2-2,..., U8-2 is provided on the side of each unit cell U1-1, U2-1,. As shown, each of the three elongated patterns is arranged.
  • the plurality of elongated patterns are substantially square lattices U1-1, U1-2; U2-1, U2 ⁇ 2;...; Arranged so as to form the sides of U8-1 and U8-2, the layout of the elongated pattern is easily performed. For example, when a printing plate is produced for the screen printing method, the design is easily performed.
  • the formation of the circular patterns 71, 71,... In the resistance portion 14 ′ is performed in the same manner as in the resistance portion 14 of the test piece 10 described above by the potting method.
  • the electrical resistance Rc of the resistance portion 14 ' is variably set as shown in FIGS. 17 (A), (B),..., (P).
  • a unit lattice for example, U1-1) on one side of one side 44 included in one row 41 is made conductive, that is, the unit lattice U1. If the lattice points G are made conductive at two corners away from the one side 44, the contribution by the unit lattice U1-1 is (3/4) Ra. Therefore, the resistance value of the entire resistance portion 14 is (3/4) Ra + 7Ra ⁇ 7.75Ra.
  • the resistance value of the entire resistance portion 14 is (11/15) Ra + 7Ra ⁇ 7.733Ra.
  • the contribution by the unit cell U2-1 is (3/4) Ra. Therefore, the resistance value of the entire resistance portion 14 is (11/15) Ra + (3/4) Ra + 6Ra ⁇ 7.483Ra.
  • the resistance value of the entire resistance portion 14 is (11/15) Ra + (11/15) Ra + 6Ra ⁇ 7.467Ra.
  • this resistance portion 14 ' when the number of sides arranged in one row 41 is m, (2m + 1) values can be varied and set stepwise. That is, the number that can be varied as the electric resistance Rc of the resistance portion 14 increases as compared with the case where one unit cell is arranged on each side of one row. Therefore, various attribute information can be expressed by the electric resistance Rc of the resistance portion 14 '.
  • the number of electrical resistances Rc of the resistance portion 14 'to be varied is determined and considered, as compared to the case where one unit cell is arranged on both sides of one row as in the previous example, one row 41 It is possible to reduce the number m of sides arranged in the. This means that the size of the region occupied by the resistance portion 14 ′ on the substrate 11 can be reduced with respect to the direction of one row 41 (X direction). Therefore, the degree of freedom in laying out the resistance portion 14 on the substrate 11 is increased.
  • the arrangement of the square lattice formed by the plurality of elongated patterns is not limited to that shown in the resistance portions 14 and 14 '.
  • the arrangement of the square lattice formed by the plurality of elongated patterns may be, for example, a “day” character shape arranged in 3 rows and 2 columns, a “field” character shape arranged in 3 rows and 3 columns, or 4 rows and 4 columns.
  • a shape having a plurality of sides arranged as described above may be used.
  • 19A, 19B, and 19C show the vicinity of the lattice point where the ends of the two, three, and four elongated patterns are close to each other in the resistance portion 14 of the test piece 10.
  • FIG. , (B), and (C) are shown in another mode.
  • an L-shaped lattice point G In the example of FIGS. 19A, 19B, and 19C, an L-shaped lattice point G, a T-shaped lattice point G corresponding to FIGS. 18A, 18B, and 18C, respectively.
  • the end portions of the elongated patterns that are close to each other form sides cut perpendicular to the longitudinal direction of the respective elongated patterns.
  • the end portions of the elongated patterns 45 ′ and 47 ′ each form a side cut perpendicular to the longitudinal direction.
  • a gap d is provided at the closest point between the ends of the elongated patterns 45 and 47.
  • the end portions of the elongated patterns 44 ', 44', 46 ', 47' are sides cut perpendicularly to the longitudinal direction. As a result, a gap d is provided at the closest location between the ends of the elongated patterns 44 ', 44', 46 ', 47'.
  • the layout of the elongated patterns 44, 45, 46, and 47 is easily performed.
  • the design is easily performed.
  • the resist layer 48 is provided as an insulating layer so as to cover the effective portions of the elongated patterns 44, 45, 46, 47 of the resistor 14.
  • the present invention is not limited to this.
  • the resist layer 48 as an insulating layer may be omitted.
  • the length L ′ of the effective portion of the elongated pattern (the effective portion 44c of the elongated pattern 44 is shown in the example of FIG. 21) is substantially equal to the circular patterns 71 and 71 provided at both ends of the elongated pattern. It is determined by the distance between the end portions 71e and 71e. In this case, the manufacturing cost of the test piece 10 can be further reduced.
  • the circular pattern 71 of the resistance portion 14 is formed by the potting method, but the present invention is not limited to this.
  • the circular pattern 71 of the resistance portion 14 may be formed by adhering a circular conductive sheet to the lattice point G. This method of adhering the circular conductive sheet is advantageous in that variation in the shape of the circular pattern 71 can be easily avoided, particularly when the resist layer 48 as an insulating layer is omitted.
  • the first pair of electrode terminals 12f and 13f and the second pair of electrode terminals 42f and 43f are provided separately from each other on the substrate 11, but the present invention is not limited to this.
  • one of the first pair of electrode terminals 12f and one of the second pair of electrode terminals 42f may be configured in common.
  • the electrode terminal 42 f is omitted, and the wiring (represented by reference numeral 42 ′) connected to the resistance portion 14 is connected in the middle of the working electrode 12.
  • the wiring 42 ′ corresponds to a wiring portion 42 e extending in the ⁇ Y direction and directly connected to the working electrode 12.
  • the test piece 10 it is sufficient to dispose the working electrode 12, the electrode terminals 12 f and 13 f of the counter electrode 13, and the wiring electrode terminal 43 f on the end 11 f side of the substrate 11. Therefore, most of the wiring 42 (except for the ⁇ X side portions 42e and 42g) can be omitted, and the number of electrode terminals of the test piece 10 can be reduced to three. Further, the wiring 43 can be configured straight by omitting the bent portions 43g and 43h. Therefore, the test piece 10 can be configured smaller and cheaper.
  • the number of contacts of the connector portion 61 can also be reduced to three on the main body 50 side. Therefore, the dimensional accuracy of the arrangement of the electrode terminals 12f and 13f of the test piece 10 and the contacts 62 and 63 of the connector portion 61 can be relaxed.
  • the contact SW 62 and the power source Vin can be directly connected, and the switch SW1 (see FIG. 5) can be omitted. As a result, the main body 50 can be made small and inexpensive together with the test piece 10.
  • the description has been given focusing on the case where blood sugar (glucose) in blood is measured as a specific component in body fluid, but is not limited thereto.
  • the concentration of cholesterol and lactic acid in blood can also be measured.
  • the biological component measurement program stored in the memory 54 is encoded on a memory or other non-transitory computer-readable recording medium (memory, hard disk drive, optical disk, etc.), and the above-described measurement method is stored in a general-purpose computer. May be executed.
  • the biological component measuring apparatus 1 is configured as a stand-alone apparatus, but is not limited thereto.
  • the main body 50 may have a communication unit.
  • This communication unit transmits information representing a measurement result (such as blood glucose level in blood) by the CPU 53 to an external device via a network, or receives information from an external device via a network for control. I pass it to the department. Thereby, for example, it becomes possible for the subject to receive doctor's advice or the like via the network. Communication via this network may be either wireless or wired.

Landscapes

  • Health & Medical Sciences (AREA)
  • Life Sciences & Earth Sciences (AREA)
  • Engineering & Computer Science (AREA)
  • Biomedical Technology (AREA)
  • Physics & Mathematics (AREA)
  • Chemical & Material Sciences (AREA)
  • Hematology (AREA)
  • Molecular Biology (AREA)
  • Biophysics (AREA)
  • Analytical Chemistry (AREA)
  • Biochemistry (AREA)
  • General Health & Medical Sciences (AREA)
  • General Physics & Mathematics (AREA)
  • Immunology (AREA)
  • Pathology (AREA)
  • Urology & Nephrology (AREA)
  • Optics & Photonics (AREA)
  • Food Science & Technology (AREA)
  • Medicinal Chemistry (AREA)
  • Electrochemistry (AREA)
  • Chemical Kinetics & Catalysis (AREA)
  • Investigating Or Analyzing Materials By The Use Of Electric Means (AREA)
  • Measurement Of The Respiration, Hearing Ability, Form, And Blood Characteristics Of Living Organisms (AREA)
  • Investigating Or Analysing Biological Materials (AREA)
PCT/JP2013/080973 2012-12-14 2013-11-18 生体成分測定用の試験片およびその製造方法 Ceased WO2014091875A1 (ja)

Priority Applications (3)

Application Number Priority Date Filing Date Title
CN201380065141.5A CN104870988B (zh) 2012-12-14 2013-11-18 生物体成分测定用的试片及其制造方法
DE112013005996.7T DE112013005996B4 (de) 2012-12-14 2013-11-18 Teststreifen für das Messen biologischer Komponenten und Herstellverfahren dafür
US14/724,422 US10156540B2 (en) 2012-12-14 2015-05-28 Test strip for biological component measurement and manufacturing method thereof

Applications Claiming Priority (2)

Application Number Priority Date Filing Date Title
JP2012273838A JP6048109B2 (ja) 2012-12-14 2012-12-14 生体成分測定用の試験片およびその製造方法
JP2012-273838 2012-12-14

Related Child Applications (1)

Application Number Title Priority Date Filing Date
US14/724,422 Continuation US10156540B2 (en) 2012-12-14 2015-05-28 Test strip for biological component measurement and manufacturing method thereof

Publications (1)

Publication Number Publication Date
WO2014091875A1 true WO2014091875A1 (ja) 2014-06-19

Family

ID=50934171

Family Applications (1)

Application Number Title Priority Date Filing Date
PCT/JP2013/080973 Ceased WO2014091875A1 (ja) 2012-12-14 2013-11-18 生体成分測定用の試験片およびその製造方法

Country Status (5)

Country Link
US (1) US10156540B2 (enExample)
JP (1) JP6048109B2 (enExample)
CN (1) CN104870988B (enExample)
DE (1) DE112013005996B4 (enExample)
WO (1) WO2014091875A1 (enExample)

Families Citing this family (2)

* Cited by examiner, † Cited by third party
Publication number Priority date Publication date Assignee Title
EP3910335A1 (en) * 2020-05-11 2021-11-17 Koninklijke Philips N.V. Calibration using a regenerative surface
KR20240094510A (ko) * 2022-12-16 2024-06-25 한국과학기술원 바이오 센서 및 이의 제조방법

Citations (7)

* Cited by examiner, † Cited by third party
Publication number Priority date Publication date Assignee Title
JP2001311711A (ja) * 2000-04-28 2001-11-09 Matsushita Electric Ind Co Ltd バイオセンサ
JP2001356108A (ja) * 2000-06-15 2001-12-26 Matsushita Electric Ind Co Ltd バイオセンサ
JP2002156358A (ja) * 2000-11-20 2002-05-31 Matsushita Electric Ind Co Ltd バイオセンサ、通知装置、及び測定装置
WO2003012421A1 (en) * 2001-08-01 2003-02-13 Arkray, Inc. Analyzing implement, analyzing device, and method of manufacturing analyzing implement
JP2006015068A (ja) * 2004-07-05 2006-01-19 Nishitomo Co Ltd 生体情報測定センサおよび生体情報測定装置
JP2007524819A (ja) * 2003-06-20 2007-08-30 エフ ホフマン−ラ ロッシュ アクチェン ゲゼルシャフト バイオセンサー試験ストリップ上の、コード情報のためのシステムおよび方法
JP4264478B2 (ja) * 2001-09-28 2009-05-20 アークレイ株式会社 測定用具および濃度測定装置

Family Cites Families (9)

* Cited by examiner, † Cited by third party
Publication number Priority date Publication date Assignee Title
JPH0820412B2 (ja) * 1990-07-20 1996-03-04 松下電器産業株式会社 使い捨てセンサを用いた定量分析方法、及び装置
JP2000121593A (ja) * 1998-10-13 2000-04-28 Omron Corp 酵素電極
US7601299B2 (en) * 2004-06-18 2009-10-13 Roche Diagnostics Operations, Inc. System and method for coding information on a biosensor test strip
DE102004048864A1 (de) 2004-10-07 2006-04-13 Roche Diagnostics Gmbh Analytisches Testelement mit drahtloser Datenübertragung
KR20090074639A (ko) * 2008-01-02 2009-07-07 주식회사 대우일렉트로닉스 방송 프로그램 정보 제공 방법
KR101022837B1 (ko) * 2009-08-13 2011-03-18 에스디 바이오센서 주식회사 센서 특성을 저항으로 나타내는 센서 스트립 및 이를 이용한 오토코딩방법
US8468680B2 (en) * 2010-08-24 2013-06-25 Roche Diagnostics Operations, Inc. Biosensor test member and method for making the same
US8888973B2 (en) * 2011-07-29 2014-11-18 Roche Diagnostics Operations, Inc. Encoded biosensors and methods of manufacture and use thereof
JP5978868B2 (ja) * 2012-09-06 2016-08-24 オムロンヘルスケア株式会社 生体成分測定用の試験片、測定装置本体、およびそれらを含む生体成分測定装置

Patent Citations (7)

* Cited by examiner, † Cited by third party
Publication number Priority date Publication date Assignee Title
JP2001311711A (ja) * 2000-04-28 2001-11-09 Matsushita Electric Ind Co Ltd バイオセンサ
JP2001356108A (ja) * 2000-06-15 2001-12-26 Matsushita Electric Ind Co Ltd バイオセンサ
JP2002156358A (ja) * 2000-11-20 2002-05-31 Matsushita Electric Ind Co Ltd バイオセンサ、通知装置、及び測定装置
WO2003012421A1 (en) * 2001-08-01 2003-02-13 Arkray, Inc. Analyzing implement, analyzing device, and method of manufacturing analyzing implement
JP4264478B2 (ja) * 2001-09-28 2009-05-20 アークレイ株式会社 測定用具および濃度測定装置
JP2007524819A (ja) * 2003-06-20 2007-08-30 エフ ホフマン−ラ ロッシュ アクチェン ゲゼルシャフト バイオセンサー試験ストリップ上の、コード情報のためのシステムおよび方法
JP2006015068A (ja) * 2004-07-05 2006-01-19 Nishitomo Co Ltd 生体情報測定センサおよび生体情報測定装置

Also Published As

Publication number Publication date
CN104870988B (zh) 2017-09-22
US10156540B2 (en) 2018-12-18
US20150260676A1 (en) 2015-09-17
DE112013005996T5 (de) 2015-09-03
DE112013005996B4 (de) 2024-08-14
CN104870988A (zh) 2015-08-26
JP2014119320A (ja) 2014-06-30
JP6048109B2 (ja) 2016-12-21

Similar Documents

Publication Publication Date Title
CN107110816B (zh) 具有集成的电化学传感器的数字微流体设备
Ozer et al. Low-cost Internet of Things (IoT)-enabled a wireless wearable device for detecting potassium ions at the point of care
JP6158133B2 (ja) 測定装置、及び測定方法
KR20130057477A (ko) 대칭적으로 분포된 분해물질 민감성 영역들을 갖는 전기화학적 센서
US9823213B2 (en) Electrochemical test strip, measurement system and method for determining sample content in the reactive region of the electrochemical test strip
JP6048109B2 (ja) 生体成分測定用の試験片およびその製造方法
US20210239635A1 (en) Planar conformal circuits for diagnostics
JP5988965B2 (ja) 所定のサイズ及び分布の電気化学的活性及び不活性領域を有する電極を備えた分析検査ストリップ
US11579116B2 (en) Chip-based multi-channel electrochemical transducer and method of use thereof
JP2015114153A (ja) 測定装置、および測定方法
JP2014119320A5 (enExample)
JP2019500610A (ja) 電極電圧検知接続部を有する電気化学式分析試験ストリップ及び同ストリップと共に使用するための手持ち式検査計
JP5978868B2 (ja) 生体成分測定用の試験片、測定装置本体、およびそれらを含む生体成分測定装置
KR20120049723A (ko) 전기화학적 바이오 센서용 전극 스트립 및 그 제조방법
JP2014052259A5 (enExample)
KR20150046627A (ko) 바이오 센서
JP6404681B2 (ja) 測定装置、及び測定方法
Garcia-Gonzalez et al. Dual screen-printed electrodes with elliptic working electrodes arranged in parallel or perpendicular to the strip
JP2009019935A (ja) 分析用具の製造方法
CN209043837U (zh) 通用型的测试片
CN103983671B (zh) 化学传感器及其制造方法
JP7457567B2 (ja) 電気化学式センサの製造方法、及び電気化学式センサ
US9207200B2 (en) Biosensor strip
TWI499774B (zh) 生物感測器以及生物量測系統
TWI443331B (zh) 電化學感測試紙之電極結構及利用該電極結構以辨認相配合感測器裝置之方法

Legal Events

Date Code Title Description
121 Ep: the epo has been informed by wipo that ep was designated in this application

Ref document number: 13862890

Country of ref document: EP

Kind code of ref document: A1

DPE1 Request for preliminary examination filed after expiration of 19th month from priority date (pct application filed from 20040101)
WWE Wipo information: entry into national phase

Ref document number: 112013005996

Country of ref document: DE

Ref document number: 1120130059967

Country of ref document: DE

122 Ep: pct application non-entry in european phase

Ref document number: 13862890

Country of ref document: EP

Kind code of ref document: A1