WO2014002396A1 - 車両用表示装置 - Google Patents

車両用表示装置 Download PDF

Info

Publication number
WO2014002396A1
WO2014002396A1 PCT/JP2013/003569 JP2013003569W WO2014002396A1 WO 2014002396 A1 WO2014002396 A1 WO 2014002396A1 JP 2013003569 W JP2013003569 W JP 2013003569W WO 2014002396 A1 WO2014002396 A1 WO 2014002396A1
Authority
WO
WIPO (PCT)
Prior art keywords
display
image
projection
mirror
head
Prior art date
Legal status (The legal status is an assumption and is not a legal conclusion. Google has not performed a legal analysis and makes no representation as to the accuracy of the status listed.)
Ceased
Application number
PCT/JP2013/003569
Other languages
English (en)
French (fr)
Japanese (ja)
Inventor
元史 任田
Current Assignee (The listed assignees may be inaccurate. Google has not performed a legal analysis and makes no representation or warranty as to the accuracy of the list.)
JVCKenwood Corp
Original Assignee
JVCKenwood Corp
Priority date (The priority date is an assumption and is not a legal conclusion. Google has not performed a legal analysis and makes no representation as to the accuracy of the date listed.)
Filing date
Publication date
Application filed by JVCKenwood Corp filed Critical JVCKenwood Corp
Publication of WO2014002396A1 publication Critical patent/WO2014002396A1/ja
Anticipated expiration legal-status Critical
Ceased legal-status Critical Current

Links

Images

Classifications

    • GPHYSICS
    • G02OPTICS
    • G02BOPTICAL ELEMENTS, SYSTEMS OR APPARATUS
    • G02B27/00Optical systems or apparatus not provided for by any of the groups G02B1/00 - G02B26/00, G02B30/00
    • G02B27/01Head-up displays
    • G02B27/0101Head-up displays characterised by optical features
    • BPERFORMING OPERATIONS; TRANSPORTING
    • B60VEHICLES IN GENERAL
    • B60KARRANGEMENT OR MOUNTING OF PROPULSION UNITS OR OF TRANSMISSIONS IN VEHICLES; ARRANGEMENT OR MOUNTING OF PLURAL DIVERSE PRIME-MOVERS IN VEHICLES; AUXILIARY DRIVES FOR VEHICLES; INSTRUMENTATION OR DASHBOARDS FOR VEHICLES; ARRANGEMENTS IN CONNECTION WITH COOLING, AIR INTAKE, GAS EXHAUST OR FUEL SUPPLY OF PROPULSION UNITS IN VEHICLES
    • B60K35/00Instruments specially adapted for vehicles; Arrangement of instruments in or on vehicles
    • B60K35/20Output arrangements, i.e. from vehicle to user, associated with vehicle functions or specially adapted therefor
    • B60K35/21Output arrangements, i.e. from vehicle to user, associated with vehicle functions or specially adapted therefor using visual output, e.g. blinking lights or matrix displays
    • B60K35/22Display screens
    • BPERFORMING OPERATIONS; TRANSPORTING
    • B60VEHICLES IN GENERAL
    • B60KARRANGEMENT OR MOUNTING OF PROPULSION UNITS OR OF TRANSMISSIONS IN VEHICLES; ARRANGEMENT OR MOUNTING OF PLURAL DIVERSE PRIME-MOVERS IN VEHICLES; AUXILIARY DRIVES FOR VEHICLES; INSTRUMENTATION OR DASHBOARDS FOR VEHICLES; ARRANGEMENTS IN CONNECTION WITH COOLING, AIR INTAKE, GAS EXHAUST OR FUEL SUPPLY OF PROPULSION UNITS IN VEHICLES
    • B60K35/00Instruments specially adapted for vehicles; Arrangement of instruments in or on vehicles
    • B60K35/20Output arrangements, i.e. from vehicle to user, associated with vehicle functions or specially adapted therefor
    • B60K35/21Output arrangements, i.e. from vehicle to user, associated with vehicle functions or specially adapted therefor using visual output, e.g. blinking lights or matrix displays
    • B60K35/23Head-up displays [HUD]
    • B60K35/231Head-up displays [HUD] characterised by their arrangement or structure for integration into vehicles
    • BPERFORMING OPERATIONS; TRANSPORTING
    • B60VEHICLES IN GENERAL
    • B60KARRANGEMENT OR MOUNTING OF PROPULSION UNITS OR OF TRANSMISSIONS IN VEHICLES; ARRANGEMENT OR MOUNTING OF PLURAL DIVERSE PRIME-MOVERS IN VEHICLES; AUXILIARY DRIVES FOR VEHICLES; INSTRUMENTATION OR DASHBOARDS FOR VEHICLES; ARRANGEMENTS IN CONNECTION WITH COOLING, AIR INTAKE, GAS EXHAUST OR FUEL SUPPLY OF PROPULSION UNITS IN VEHICLES
    • B60K35/00Instruments specially adapted for vehicles; Arrangement of instruments in or on vehicles
    • B60K35/50Instruments characterised by their means of attachment to or integration in the vehicle
    • BPERFORMING OPERATIONS; TRANSPORTING
    • B60VEHICLES IN GENERAL
    • B60KARRANGEMENT OR MOUNTING OF PROPULSION UNITS OR OF TRANSMISSIONS IN VEHICLES; ARRANGEMENT OR MOUNTING OF PLURAL DIVERSE PRIME-MOVERS IN VEHICLES; AUXILIARY DRIVES FOR VEHICLES; INSTRUMENTATION OR DASHBOARDS FOR VEHICLES; ARRANGEMENTS IN CONNECTION WITH COOLING, AIR INTAKE, GAS EXHAUST OR FUEL SUPPLY OF PROPULSION UNITS IN VEHICLES
    • B60K35/00Instruments specially adapted for vehicles; Arrangement of instruments in or on vehicles
    • B60K35/60Instruments characterised by their location or relative disposition in or on vehicles
    • BPERFORMING OPERATIONS; TRANSPORTING
    • B60VEHICLES IN GENERAL
    • B60KARRANGEMENT OR MOUNTING OF PROPULSION UNITS OR OF TRANSMISSIONS IN VEHICLES; ARRANGEMENT OR MOUNTING OF PLURAL DIVERSE PRIME-MOVERS IN VEHICLES; AUXILIARY DRIVES FOR VEHICLES; INSTRUMENTATION OR DASHBOARDS FOR VEHICLES; ARRANGEMENTS IN CONNECTION WITH COOLING, AIR INTAKE, GAS EXHAUST OR FUEL SUPPLY OF PROPULSION UNITS IN VEHICLES
    • B60K37/00Dashboards
    • B60K37/20Dashboard panels
    • BPERFORMING OPERATIONS; TRANSPORTING
    • B60VEHICLES IN GENERAL
    • B60KARRANGEMENT OR MOUNTING OF PROPULSION UNITS OR OF TRANSMISSIONS IN VEHICLES; ARRANGEMENT OR MOUNTING OF PLURAL DIVERSE PRIME-MOVERS IN VEHICLES; AUXILIARY DRIVES FOR VEHICLES; INSTRUMENTATION OR DASHBOARDS FOR VEHICLES; ARRANGEMENTS IN CONNECTION WITH COOLING, AIR INTAKE, GAS EXHAUST OR FUEL SUPPLY OF PROPULSION UNITS IN VEHICLES
    • B60K2360/00Indexing scheme associated with groups B60K35/00 or B60K37/00 relating to details of instruments or dashboards
    • B60K2360/20Optical features of instruments
    • B60K2360/33Illumination features
    • B60K2360/334Projection means
    • BPERFORMING OPERATIONS; TRANSPORTING
    • B60VEHICLES IN GENERAL
    • B60KARRANGEMENT OR MOUNTING OF PROPULSION UNITS OR OF TRANSMISSIONS IN VEHICLES; ARRANGEMENT OR MOUNTING OF PLURAL DIVERSE PRIME-MOVERS IN VEHICLES; AUXILIARY DRIVES FOR VEHICLES; INSTRUMENTATION OR DASHBOARDS FOR VEHICLES; ARRANGEMENTS IN CONNECTION WITH COOLING, AIR INTAKE, GAS EXHAUST OR FUEL SUPPLY OF PROPULSION UNITS IN VEHICLES
    • B60K2360/00Indexing scheme associated with groups B60K35/00 or B60K37/00 relating to details of instruments or dashboards
    • B60K2360/77Instrument locations other than the dashboard
    • B60K2360/777Instrument locations other than the dashboard on or in sun visors
    • GPHYSICS
    • G02OPTICS
    • G02BOPTICAL ELEMENTS, SYSTEMS OR APPARATUS
    • G02B27/00Optical systems or apparatus not provided for by any of the groups G02B1/00 - G02B26/00, G02B30/00
    • G02B27/01Head-up displays
    • G02B27/0101Head-up displays characterised by optical features
    • G02B2027/0118Head-up displays characterised by optical features comprising devices for improving the contrast of the display / brillance control visibility
    • GPHYSICS
    • G02OPTICS
    • G02BOPTICAL ELEMENTS, SYSTEMS OR APPARATUS
    • G02B27/00Optical systems or apparatus not provided for by any of the groups G02B1/00 - G02B26/00, G02B30/00
    • G02B27/01Head-up displays
    • G02B27/0149Head-up displays characterised by mechanical features
    • G02B2027/0161Head-up displays characterised by mechanical features characterised by the relative positioning of the constitutive elements

Definitions

  • the present invention relates to a vehicle display device, and more particularly to a technique for presenting an image to a user who is a passenger including a driver.
  • a so-called head-up display using an LED or a semiconductor laser light source has been developed as a vehicle display device, and has been commercialized on-vehicle.
  • This head-up display is installed in the vicinity of the windshield of the vehicle. Therefore, sunlight that has passed through the windshield enters the optical system of the head-up display, and infrared rays and ultraviolet rays contained in the sunlight may affect the optical system components.
  • the components inside the casing may be affected by irradiation of infrared rays (heat rays) on the casing of the head-up display (see Patent Document 1).
  • the present invention has been made in view of such circumstances, and an object thereof is to provide a technique for further suppressing the influence of sunlight on a vehicle display device.
  • an aspect of the present invention is a vehicle display device.
  • the apparatus includes an image generation unit that generates image display light based on an image signal, a projection port that projects the image display light generated by the image generation unit, and the image display light projected from the projection port as a virtual image. And a combiner to present.
  • the image generation unit is attached to the mirror surface side of a room mirror inside the vehicle, the projection port is on the mirror surface side with respect to the rear surface facing the mirror surface, and at least a part of incident external light is in the room It is provided at a position blocked by the mirror.
  • a head up display which is a display for vehicles of this embodiment. It is a figure which shows the internal structure of an optical unit with the path
  • FIG. 1 is a perspective view showing an aspect of a head-up display 10 according to the present embodiment, which is observed from a field of view toward a windshield (not shown) of a vehicle from a room mirror 600 to which the head-up display 10 is attached.
  • the head-up display 10 is used by being attached to the mirror surface of the room mirror 600 inside the vehicle by a gripping mechanism (not shown) or the like.
  • the space in which the head-up display can be mounted such as the area of the upper surface of the dashboard, varies depending on the vehicle model. Since the head-up display 10 according to the present embodiment can be attached to the rearview mirror, it can be appropriately mounted regardless of the vehicle model as long as the rearview mirror is provided.
  • the forward / backward, left / right and upward / downward directions are as follows.
  • the front and rear are the front direction and the rear direction of the vehicle on which the head-up display 10 is mounted.
  • the left side and the right side are the left side direction and the right side direction of the vehicle on which the head-up display 10 is mounted.
  • Up and down means the direction perpendicular to the road surface on which the vehicle on which the head-up display 10 is mounted is located and the vehicle side with respect to the road surface and the opposite direction.
  • the head-up display 10 includes a circuit board (not shown) that generates an image signal related to an image displayed as a virtual image on the combiner 400 and outputs the generated image signal.
  • a circuit board that generates an image signal related to an image displayed as a virtual image on the combiner 400 and outputs the generated image signal.
  • an image signal output from an external device such as a navigation device or a media playback device is input
  • the circuit board performs a predetermined process on the input signal and then outputs the processed signal. it can.
  • the head-up display 10 generates an image display light based on an image signal output from the circuit board, and an image display element 240 such as a light source 231 and an LCOS (Liquid Crystal On On Silicon) which is a reflective liquid crystal display panel. And an image generation unit 50 including various optical lenses.
  • an image display element 240 such as a light source 231 and an LCOS (Liquid Crystal On On Silicon) which is a reflective liquid crystal display panel.
  • an image generation unit 50 including various optical lenses.
  • LCOS Liquid crystal on silicon
  • a DMD Digital Micromirror Device
  • the optical system and the driving circuit according to the display element to be applied are used.
  • the light source 231 and the image display element 240 will be described in detail later with reference to FIG.
  • the head-up display 10 includes an intermediate image screen on which a real image is formed and various projection mirrors, and includes a projection unit 300 that determines the projection direction of the generated image display light. Furthermore, the head-up display 10 includes a combiner 400 having a substantially concave shape for displaying the projected image display light as a virtual image 450, and a combiner support arm 420 that connects the combiner 400 and the projection unit 300. is doing.
  • the image generation unit 50 includes an alternative mirror 52 that serves as a mirror for the rearview mirror on the driver side, and serves as a rearview mirror. In FIG. 1, an optical path from the image display light projected from the projection unit 300 to the combiner 400 is shown as a projection axis 320.
  • the image generation unit 50 is provided with a substitute mirror 52 instead of the mirror of the room mirror on the driver side, and this substitute mirror 52 plays a role for backward confirmation that the room mirror 600 has. Even if the head-up display 10 is mounted so as to cover the mirror of the room mirror 600, the user can drive while confirming the rear of the vehicle with the alternative mirror 52.
  • the combiner 400 is rotatable upward and downward, leftward and rightward with respect to the image generation unit 50 via the combiner support arm 420. Thereby, the user can adjust the direction of the combiner according to his / her own eyes and preference.
  • FIG. 2 and 3 are diagrams showing the internal configuration of the image generation unit 50 together with the light path.
  • FIG. 2 is a diagram illustrating an internal configuration of the image generation unit 50 and a part of the internal configuration of the projection unit 300 together with an optical path.
  • FIG. 3 is a diagram illustrating an internal configuration of the projection unit 300 and a part of the internal configuration of the image generation unit 50 together with an optical path of light projected to the combiner 400.
  • the optical system of the image generation unit 50 includes a light source 231, a collimating lens 232, a UV-IR (UltraViolet-Infrared Ray) cut filter 233, a polarizer 234, a fly-eye lens 235, a reflecting mirror 236, a field lens 237, a wire grid polarized beam. It includes a splitter 238, a quarter-wave plate 239, an image display element 240, an analyzer 241, a projection lens group 242, and a heat sink 243.
  • a light source 231 includes a collimating lens 232, a UV-IR (UltraViolet-Infrared Ray) cut filter 233, a polarizer 234, a fly-eye lens 235, a reflecting mirror 236, a field lens 237, a wire grid polarized beam. It includes a splitter 238, a quarter-wave plate 239, an image display element 240, an analyzer 241, a projection lens group 242, and a heat sink
  • the light source 231 includes a light emitting diode that emits light of three colors of white, blue, green, and red.
  • a heat sink 243 is attached to the light source 231 for cooling the heat generated with light emission.
  • the light emitted from the light source 231 is converted into parallel light by the collimating lens 232.
  • the UV-IR cut filter 233 absorbs and removes ultraviolet light and infrared light from the parallel light that has passed through the collimating lens 232.
  • the polarizer 234 changes the light that has passed through the UV-IR cut filter 233 into unpolarized P-polarized light. Then, the fly-eye lens 235 uniformly adjusts the brightness of the light that has passed through the polarizing plate.
  • the reflecting mirror 236 changes the optical path of the light passing through each cell of the fly-eye lens 235 by 90 degrees.
  • the light reflected by the reflecting mirror 236 is collected by the field lens 237.
  • the light collected by the field lens 237 is irradiated to the image display element 240 via the wire grid polarization beam splitter 238 and the quarter wavelength plate 239 that transmit the P-polarized light.
  • the image display element 240 includes red, green, and blue color filters for each pixel.
  • the light emitted to the image display element 240 has a color corresponding to each pixel, is modulated by the liquid crystal composition included in the image display element 240, and becomes S-polarized image display light, which is applied to the wire grid polarization beam splitter 238. It is injected towards.
  • the emitted S-polarized image display light is reflected by the wire grid polarization beam splitter 238, changes its optical path, passes through the analyzer 241, and then enters the projection lens group 242.
  • the image display light transmitted through the projection lens group 242 exits the image generation unit 50 and enters the projection unit 300. And the 1st projection mirror 351 with which the projection part 300 is provided changes the optical path of the image display light which entered.
  • the projection unit 300 includes a first projection mirror 351, a second projection mirror 352, a third projection mirror 353, and an intermediate image screen 360.
  • a real image is formed on the intermediate image screen 360.
  • the formed real image is projected onto the combiner 400 arranged forward along the projection axis 320.
  • the driver views the image based on the image display light projected on the combiner 400 by superimposing it on the landscape as a virtual image.
  • the user In the head-up display 10 attached to the rearview mirror, the user often adjusts the upper end of the combiner 400 or the center position of the combiner 400 downward from the projection port of the projection unit 300. This is because the housing of the room mirror 600, the image generation unit 50, or the projection unit 300 does not block the user's line of sight when the head-up display 10 is used.
  • the head-up display 10 can project image display light downward from the projection port of the projection unit 300 toward the combiner 400.
  • FIG. 4 is a diagram showing the spectral distribution of sunlight in the daytime.
  • the horizontal axis of the graph shown in FIG. 4 is the wavelength of sunlight, and the vertical axis is the illuminance.
  • a region indicated by diagonal lines in FIG. 4 is a visible light region.
  • the ultraviolet region and the infrared region that are not in the visible light region occupy approximately 50% of the energy of sunlight.
  • the housing and parts of the head-up display 10 may be affected. This further suppresses the influence on the head-up display 10 caused by sunlight. It becomes a problem.
  • FIG. 5 is a diagram schematically showing a usage scene of the “on-dashboard type” head-up display 12 installed on the dashboard.
  • the reflective intermediate image screen 362 reflects the image light projected by the projection unit 301 toward the combiner 401.
  • the on-dashboard type head-up display 12 is generally installed on the dashboard, and the combiner 401 is generally installed at a position higher than the installation position of the reflective intermediate image screen 362. For this reason, the optical path of the image display light from the reflective intermediate image screen 362 to the combiner 401 is directed upward. As a result, the light path of the image display light from the reflective intermediate image screen 362 to the combiner 401 and the sunlight incident through the windshield along the optical path 322 pass through the combiner 401 to reflect the reflective intermediate image.
  • the optical path leading to the screen 362 is likely to match, so that sunlight can easily enter the optical system of the on-dashboard type head-up display 12.
  • sunlight includes infrared light and ultraviolet light.
  • the temperature on the dashboard may reach 100 ° C., and the influence on the orientation of the liquid crystal used in the display and the resin lens is presumed. It is also speculated that the temperature inside the housing is affected by exposure of the housing of the head-up display to sunlight. Furthermore, the sunlight reflected by the reflective intermediate image screen 362 may enter the inside of the projection unit 300 or the like and affect the optical system components.
  • FIG. 6 is a diagram schematically showing a usage scene of the head-up display 10 according to the embodiment, and is a conceptual diagram of the usage state of the head-up display 10 as viewed from the side.
  • the head-up display 10 according to the embodiment is attached to the mirror surface side of the room mirror 600 inside the vehicle. More specifically, the housing of the image generation unit 50 of the head-up display 10 is attached so as to cover at least a part of the mirror surface of the room mirror 600.
  • the projection unit 300 is positioned below the image generation unit 50 while being attached to the room mirror 600. Therefore, when the head-up display 10 is attached to the room mirror 600, the projection unit 300 is also positioned on the mirror surface side of the room mirror 600.
  • the direction perpendicular to the vehicle bottom surface or the road surface is defined as the up-down direction
  • the direction from the vehicle bottom side toward the vehicle ceiling is defined as the upper direction
  • the opposite is defined as the lower direction
  • the normal traveling direction of the vehicle in a state perpendicular to the vertical direction and without turning off the steering is defined as the forward direction
  • the opposite direction is defined as the backward direction.
  • the room mirror 600 is usually present near the ceiling inside the vehicle. For this reason, in a state where the head-up display 10 is attached to the room mirror 600, the combiner 400 is installed so as to be positioned in the lower front direction of the vehicle with respect to the projection unit 300. As a result, the projection direction of the image display light projected from the projection unit 300 is the front downward direction of the vehicle.
  • the head-up display 10 enters the shadow of the room mirror 600 and the image generation unit 50 is not directly exposed to sunlight.
  • the projection unit 300 located below the image generation unit 50 also enters the shadow of the room mirror 600, and sunlight does not easily enter the optical system from the projection unit 300.
  • the projection axis 320 of the image light is unlikely to coincide with the light path of sunlight after passing through the windshield and entering the combiner 400. For this reason, the head-up display 10 which concerns on embodiment can make possibility that sunlight will go to the inside of the projection part 300 small.
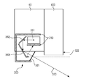
  • FIG. 7 is a diagram illustrating a configuration of the projection unit 300 of the image generation unit 50 according to the embodiment together with a light path, and sunlight enters the projection unit 300 of the image generation unit 50 from a low angle. It is a conceptual diagram for demonstrating the case.
  • the head-up display 10 is configured such that image display light is projected downward from the projection port of the projection unit 300 toward the combiner 400. In most cases, the angle between the image display light traveling downward and the sunlight incident from above is inconsistent. Therefore, with this configuration, it is possible to prevent sunlight from entering the projection port of the projection unit 300 and affecting components and the like existing inside.
  • the image generation unit 50 is attached to the mirror surface side of the room mirror 600 inside the vehicle.
  • the projection port of the projection unit 300 is located closer to the mirror surface than the back surface, which is the surface facing the mirror surface, of the room mirror 600.
  • the projection opening of the projection unit 300 is provided at a position where at least a part of extraneous light such as sunlight is blocked by the room mirror 600.
  • the upper end of the projection port of the projection unit 300 is located closer to the ceiling of the vehicle than the lower end of the room mirror 600. For this reason, even if sunlight enters from above the projection port of the projection unit 300, the projection port of the projection unit 300 is shielded by the room mirror 600, and extraneous light such as sunlight reaches the projection port of the projection unit 300. None do.
  • the sun In general, the sun is near the horizon during early morning or evening hours. At this time, the light path 322 of sunlight enters the projection port of the projection unit 300 from a low angle that is almost horizontal. As another example of incidence from a low angle that is almost horizontal with respect to the projection opening of the projection unit 300, a case where the vehicle with the head-up display 10 is climbing uphill in the height direction of the sun is also conceivable. .
  • the room mirror 600 may not be shaded by sunlight on the intermediate image screen 361, and sunlight may reach the projection unit 300 connected to the lower part of the image generation unit 50.
  • the angle formed between the light path 322 of sunlight and the projection axis 320 becomes large, and sunlight enters the projection unit 300 at an angle deviated from the projection axis 320.
  • Sunlight incident at an angle deviating from the projection axis 320 is reflected by the third projection mirror 353 immediately after passing through the intermediate image screen 361, deviates from the optical axis of the projection unit 300, and reaches the optical system holding unit 310. To do.
  • the head-up display 10 suppresses the sunlight from reaching the optical system inside the image generation unit 50, and the sunlight affects the inside of the image generation unit 50. Can be suppressed.
  • FIG. 8 is another diagram illustrating the configuration of the projection unit 300 of the image generation unit 50 according to the embodiment together with the light path. Similar to FIG. 7, a conceptual diagram when sunlight is incident from a low angle. It is.
  • the lower end of the rearview mirror 600 is below the upper end of the intermediate image screen 361 and above the lower end of the intermediate image screen 361. For this reason, when the room mirror 600 is viewed from the front of the vehicle with the head-up display 10 installed on the room mirror 600, a part of the projection unit 300 of the image generation unit 50 is shielded by the room mirror 600. As a result, a part of sunlight that enters the projection port from a low angle that is almost horizontal with respect to the projection port of the projection unit 300 is blocked by the room mirror 600 and does not reach the projection port of the projection unit 300.
  • the sunlight that reaches the projection port of the projection unit 300 without being blocked by the room mirror 600 is finally absorbed by the optical system holding unit 310 as described above with reference to FIG. It does not reach the optical system existing inside. Thereby, it can suppress that sunlight influences the performance and reliability of the optical system which exists in the inside of the image generation part 50.
  • FIG. 1 the sunlight that reaches the projection port of the projection unit 300 without being blocked by the room mirror 600 is finally absorbed by the optical system holding unit 310 as described above with reference to FIG. It does not reach the optical system existing inside. Thereby, it can suppress that sunlight influences the performance and reliability of the optical system which exists in the inside of the image generation part 50.
  • the head-up display 10 is configured to be used by being attached to the mirror surface side of the room mirror 600. For this reason, in a state where the head-up display 10 is attached to the room mirror 600, the room mirror 600 is shielded by the image generation unit 50, and a user who is a driver cannot check the rear using the room mirror 600.
  • an alternative mirror 52 is provided on the rear surface of the vehicle when attached to the room mirror 600 in the housing surface of the image generation unit 50. A user who is a driver can check the rear by using the alternative mirror 52.
  • the influence of sunlight can be further suppressed.
  • the substitute mirror 52 is provided on the rear surface of the vehicle when attached to the room mirror 600 among the housing surfaces of the image generation unit 50.
  • the alternative mirror 52 may be connected independently of the image generation unit 50 so that the angle can be freely adjusted. This can be achieved using known techniques such as ball joints. Thereby, even after the adjustment of the orientation or the like of the head-up display 10 is completed, the position of the alternative mirror 52 can be freely adjusted without changing the orientation or the like of the head-up display 10.
  • head-up display 12 on-dashboard type head-up display
  • 50 image generator 52 alternative mirror
  • 210 optical unit body 231 light source, 232 collimator lens, 233 UV-IR cut filter, 234 polarizer, 235 fly-eye lens, 236 reflector, 237 field lens, 238 wire grid polarization beam splitter, 239 wave plate
  • 240 image display element 241 analyzer, 242 projection lens group, 243 heat sink, 300, 301 projection unit, 310 optical system holding unit, 320 projection Axis, 322 optical path, 351 1st projection mirror, 352 2nd projection mirror, 353 3rd projection mirror, 360, 361 Picture screen, 362 reflective intermediate image screen, 400,401 combiner, 420 combiner support arm 450 virtual image, 600-view mirror.
  • the present invention relates to a display device for a vehicle, and can be used particularly for a technique for presenting an image to a user who is a passenger including a driver.

Landscapes

  • Engineering & Computer Science (AREA)
  • Chemical & Material Sciences (AREA)
  • Combustion & Propulsion (AREA)
  • Transportation (AREA)
  • Mechanical Engineering (AREA)
  • Physics & Mathematics (AREA)
  • General Physics & Mathematics (AREA)
  • Optics & Photonics (AREA)
  • Instrument Panels (AREA)
PCT/JP2013/003569 2012-06-29 2013-06-06 車両用表示装置 Ceased WO2014002396A1 (ja)

Applications Claiming Priority (2)

Application Number Priority Date Filing Date Title
JP2012148038A JP5906968B2 (ja) 2012-06-29 2012-06-29 車両用表示装置
JP2012-148038 2012-06-29

Publications (1)

Publication Number Publication Date
WO2014002396A1 true WO2014002396A1 (ja) 2014-01-03

Family

ID=49782598

Family Applications (1)

Application Number Title Priority Date Filing Date
PCT/JP2013/003569 Ceased WO2014002396A1 (ja) 2012-06-29 2013-06-06 車両用表示装置

Country Status (2)

Country Link
JP (1) JP5906968B2 (enExample)
WO (1) WO2014002396A1 (enExample)

Cited By (3)

* Cited by examiner, † Cited by third party
Publication number Priority date Publication date Assignee Title
WO2017148935A1 (de) 2016-02-29 2017-09-08 Karlsruher Institut für Technologie Verfahren zum lösen von gasen in liquiden sowie vorrichtung zu dessen durchführung
USD834477S1 (en) * 2014-08-27 2018-11-27 Mitsubishi Electric Corporation Information display for vehicle
US12041341B2 (en) 2019-03-25 2024-07-16 Nec Corporation Information processing apparatus, camera control method, program, camera apparatus, and image processing system

Families Citing this family (2)

* Cited by examiner, † Cited by third party
Publication number Priority date Publication date Assignee Title
EP3726277B1 (en) * 2017-12-11 2025-12-17 Panasonic Automotive Systems Co., Ltd. Head-up display and moving body with head-up display mounted thereon
JP6579230B2 (ja) * 2018-06-08 2019-09-25 株式会社リコー ヘッドアップディスプレイ装置

Citations (4)

* Cited by examiner, † Cited by third party
Publication number Priority date Publication date Assignee Title
JPH07223459A (ja) * 1994-02-14 1995-08-22 Shimadzu Corp 自動車用ヘッドアップディスプレイ
JP2004505315A (ja) * 2000-07-27 2004-02-19 ローベルト ボツシユ ゲゼルシヤフト ミツト ベシユレンクテル ハフツング 指示装置
JP2005309196A (ja) * 2004-04-23 2005-11-04 Nippon Seiki Co Ltd 車両用表示装置
JP2011156895A (ja) * 2010-01-29 2011-08-18 Fujitsu Ten Ltd ミラー装置、および、ミラーシステム

Family Cites Families (3)

* Cited by examiner, † Cited by third party
Publication number Priority date Publication date Assignee Title
JPH0577657A (ja) * 1991-09-20 1993-03-30 Fujitsu Ltd 車両用表示装置
JP2597066Y2 (ja) * 1991-09-24 1999-06-28 富士通株式会社 ヘッドアップディスプレイ装置
JPH10318769A (ja) * 1997-05-14 1998-12-04 Sanyo Electric Co Ltd 車載用表示装置

Patent Citations (4)

* Cited by examiner, † Cited by third party
Publication number Priority date Publication date Assignee Title
JPH07223459A (ja) * 1994-02-14 1995-08-22 Shimadzu Corp 自動車用ヘッドアップディスプレイ
JP2004505315A (ja) * 2000-07-27 2004-02-19 ローベルト ボツシユ ゲゼルシヤフト ミツト ベシユレンクテル ハフツング 指示装置
JP2005309196A (ja) * 2004-04-23 2005-11-04 Nippon Seiki Co Ltd 車両用表示装置
JP2011156895A (ja) * 2010-01-29 2011-08-18 Fujitsu Ten Ltd ミラー装置、および、ミラーシステム

Cited By (3)

* Cited by examiner, † Cited by third party
Publication number Priority date Publication date Assignee Title
USD834477S1 (en) * 2014-08-27 2018-11-27 Mitsubishi Electric Corporation Information display for vehicle
WO2017148935A1 (de) 2016-02-29 2017-09-08 Karlsruher Institut für Technologie Verfahren zum lösen von gasen in liquiden sowie vorrichtung zu dessen durchführung
US12041341B2 (en) 2019-03-25 2024-07-16 Nec Corporation Information processing apparatus, camera control method, program, camera apparatus, and image processing system

Also Published As

Publication number Publication date
JP5906968B2 (ja) 2016-04-20
JP2014008909A (ja) 2014-01-20

Similar Documents

Publication Publication Date Title
JP6115420B2 (ja) 画像表示装置
JP5953987B2 (ja) 画像表示装置
JP6056246B2 (ja) 画像表示装置
JP6600099B2 (ja) ヘッドアップディスプレイ装置
JP5835128B2 (ja) 画像表示装置、及び画像表示方法
JP6127912B2 (ja) 画像表示装置
CN104169780B (zh) 车辆用显示装置
JP6955019B2 (ja) ヘッドアップディスプレイ装置
WO2014002397A1 (ja) 車両用表示装置
JP5906968B2 (ja) 車両用表示装置
JP2014028593A (ja) 車両用表示装置
JP2015059968A (ja) 画像表示装置
JP6296133B2 (ja) 画像表示装置
JP2024007661A (ja) ヘッドアップディスプレイ装置
JP5910394B2 (ja) 画像表示装置
JP6330944B2 (ja) 中間像形成装置
JP5954047B2 (ja) 車両用表示装置
JP5994436B2 (ja) 車両用表示装置
JP5998679B2 (ja) 車両用表示装置

Legal Events

Date Code Title Description
121 Ep: the epo has been informed by wipo that ep was designated in this application

Ref document number: 13808638

Country of ref document: EP

Kind code of ref document: A1

NENP Non-entry into the national phase

Ref country code: DE

122 Ep: pct application non-entry in european phase

Ref document number: 13808638

Country of ref document: EP

Kind code of ref document: A1