WO2013084797A1 - リール部材及びフィルム収容体 - Google Patents

リール部材及びフィルム収容体 Download PDF

Info

Publication number
WO2013084797A1
WO2013084797A1 PCT/JP2012/080987 JP2012080987W WO2013084797A1 WO 2013084797 A1 WO2013084797 A1 WO 2013084797A1 JP 2012080987 W JP2012080987 W JP 2012080987W WO 2013084797 A1 WO2013084797 A1 WO 2013084797A1
Authority
WO
WIPO (PCT)
Prior art keywords
adhesive film
flange
reel member
thickness
core shaft
Prior art date
Legal status (The legal status is an assumption and is not a legal conclusion. Google has not performed a legal analysis and makes no representation as to the accuracy of the status listed.)
Ceased
Application number
PCT/JP2012/080987
Other languages
English (en)
French (fr)
Japanese (ja)
Inventor
崇 引地
和典 濱崎
Current Assignee (The listed assignees may be inaccurate. Google has not performed a legal analysis and makes no representation or warranty as to the accuracy of the list.)
Dexerials Corp
Original Assignee
Dexerials Corp
Priority date (The priority date is an assumption and is not a legal conclusion. Google has not performed a legal analysis and makes no representation as to the accuracy of the date listed.)
Filing date
Publication date
Application filed by Dexerials Corp filed Critical Dexerials Corp
Priority to CN201280059947.9A priority Critical patent/CN103958384B/zh
Priority to KR1020147018333A priority patent/KR102004565B1/ko
Publication of WO2013084797A1 publication Critical patent/WO2013084797A1/ja
Anticipated expiration legal-status Critical
Ceased legal-status Critical Current

Links

Images

Classifications

    • BPERFORMING OPERATIONS; TRANSPORTING
    • B65CONVEYING; PACKING; STORING; HANDLING THIN OR FILAMENTARY MATERIAL
    • B65HHANDLING THIN OR FILAMENTARY MATERIAL, e.g. SHEETS, WEBS, CABLES
    • B65H75/00Storing webs, tapes, or filamentary material, e.g. on reels
    • B65H75/02Cores, formers, supports, or holders for coiled, wound, or folded material, e.g. reels, spindles, bobbins, cop tubes, cans, mandrels or chucks
    • B65H75/04Kinds or types
    • B65H75/08Kinds or types of circular or polygonal cross-section
    • B65H75/14Kinds or types of circular or polygonal cross-section with two end flanges
    • BPERFORMING OPERATIONS; TRANSPORTING
    • B65CONVEYING; PACKING; STORING; HANDLING THIN OR FILAMENTARY MATERIAL
    • B65HHANDLING THIN OR FILAMENTARY MATERIAL, e.g. SHEETS, WEBS, CABLES
    • B65H2701/00Handled material; Storage means
    • B65H2701/30Handled filamentary material
    • B65H2701/37Tapes
    • B65H2701/377Adhesive tape

Definitions

  • the present invention relates to a reel member technique for winding and drawing out a series of long adhesive films such as anisotropic conductive adhesive films.
  • an anisotropic conductive adhesive film in which conductive particles are dispersed in an insulating adhesive is used.
  • a conductive adhesive film containing conductive particles in an insulating adhesive has been used as an adhesive film for electrically connecting and bonding electrodes for solar cells.
  • Such an adhesive film is formed on a narrow and long release sheet, and is shipped in the form of a reel member wound up in a roll shape.
  • the present invention has been made in consideration of the above-described problems of the prior art.
  • the object of the present invention is to provide a reel member that winds and pulls out a long adhesive film, and a flange outer peripheral portion due to its own weight. It is an object of the present invention to provide a technique for improving the accuracy of the clearance between flanges by preventing the deflection.
  • the present invention made to achieve the above object includes a core shaft portion formed in a cylindrical shape and capable of winding an adhesive film, and first and second flanges provided at both ends of the core shaft portion.
  • a reinforcing portion having a constant thickness in the vicinity of the core shaft portion of the first and second flange portions, and an inner portion of the first and second flange portions, and
  • a weight reduction part formed so that the thickness is thinner than the thickness of the reinforcement part is provided on the flange outer peripheral side with respect to the reinforcement part, and further, on the inner part of the first and second flange parts, It is a reel member provided with a rib for guiding the adhesive film.
  • the lightening portion is formed in a tapered shape so that the thickness decreases from the reinforcing portion toward the outer peripheral portion of the flange.
  • the rib is also effective when the surface for guiding the adhesive film is provided on a surface orthogonal to the rotation direction of the reel member.
  • this invention is a film container which has one of the reel members mentioned above, and the adhesive film wound up by the core shaft part of the said reel member.
  • the adhesive film is an anisotropic conductive adhesive film in which conductive particles are dispersed in an insulating adhesive.
  • a reinforcing portion having a certain thickness is provided in the vicinity of the core shaft portion of the first and second flange portions, and is provided at the inner portion of the first and second flange portions and with respect to the reinforcing portion.
  • the flange portion is provided with a lighter weight portion, for example, tapered so that the thickness is thinner than the thickness of the reinforcing portion. Since the weight of the outer peripheral portions of the first and second flange portions can be reduced, and the deflection of the flange outer peripheral portion due to the weight of the reel member can be prevented, the first and second flanges can be prevented. The accuracy of the clearance between the flange portions can be improved.
  • the ribs for guiding the adhesive film are provided in the inner portions of the first and second flange portions, the meandering of the adhesive film at the time of winding and drawing can be prevented. As a result, it is possible to prevent the adhesive film from dropping off during winding and the adhesive film from being caught or blocked during drawing.
  • the surface of the rib for guiding the adhesive film is provided on the surface orthogonal to the rotation direction of the reel member, Since meandering can be more reliably prevented, it is possible to more reliably prevent the adhesive film from dropping off at the time of winding and the adhesive film from being caught or blocked at the time of withdrawal.
  • the deflection of the outer peripheral portion of the flange due to the weight of the reel member can be prevented, so that the accuracy of the clearance between the first and second flange portions can be prevented. Can be improved.
  • FIG. 1 Plan view showing the inner structure of the embodiment of the reel member according to the present invention
  • (c): B— of FIG. 1 (a) B line cross section Sectional drawing which shows the whole structure of the reel member Sectional drawing which shows the whole structure of embodiment of the film container which concerns on this invention
  • Explanatory drawing which shows the dimensional relationship of each part in the reel member of this invention
  • Sectional drawing which shows the structure of the reel member of the comparative examples 1 and 2
  • Sectional drawing which shows the structure of the reel member of the comparative example 3
  • FIG. 1A is a plan view showing an inner configuration of an embodiment of a reel member according to the present invention
  • FIG. 1B is a cross-sectional view taken along line AA of FIG. 1A
  • FIG. ) Is a cross-sectional view taken along the line BB of FIG.
  • the reel member 1 of the present embodiment is made of polystyrene resin from the viewpoint of ensuring dimensional stability. As shown in FIGS. 1A to 1C, the reel member 1 is driven by a film winding device or a film drawing device. The shaft 10 is attached.
  • the reel member 1 has, for example, a cylindrical core shaft portion 2 around which a long adhesive film such as an anisotropic conductive adhesive film is wound.
  • the first and second flange portions 11 and 12 are integrally provided.
  • the first and second flange portions 11 and 12 are formed so that the outer surfaces thereof are planes orthogonal to the rotation axis O, and have the same configuration.
  • the 1st flange part 11 it demonstrates taking the 1st flange part 11 as an example.
  • a circular reinforcing portion 3 is provided around the core shaft portion 2 of the first flange portion 11.
  • the reinforcing portion 3 has an inner surface formed parallel to the outer surface of the first flange portion 11 and is formed to have a constant width.
  • a lighter portion 4 is provided on the inner peripheral portion of the first flange portion 11 on the outer peripheral portion side with respect to the reinforcing portion 3.
  • the lightening portion 4 is formed in a tapered shape so that the thickness is thinner than the reinforcing portion 3 from the reinforcing portion 3 toward the outer peripheral portion side.
  • the surface (inner side surface) of the light weight portion 4 is formed in a flat shape.
  • ribs 5 for guiding the adhesive film are provided on the inner portion of the first flange portion 11 and on the outer peripheral portion side with respect to the core shaft portion 2.
  • the rib 5 has a plurality of inner guide portions 5 a that extend radially around the rotation axis O of the reel member 1 and a circular outer guide portion 5 b provided on the outer edge of the first flange portion 11. is doing.
  • Each portion of the rib 5 is placed on a plane parallel to the outer surface 11a of the first flange portion 11, that is, on a plane orthogonal to the rotation axis O so that the height is slightly higher than the reinforcing portion 3.
  • a predetermined radius is applied to each top surface of the rib 5.
  • FIG. 2 is a cross-sectional view showing the overall configuration of the reel member of the present embodiment.
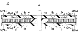
  • FIG. 3 is sectional drawing which shows the whole structure of embodiment of the film container which concerns on this invention.
  • the reel member 1 shown in FIG. 2 is mounted on a film take-up device (not shown), and a long adhesive film 6 is wound around the core shaft 2 to obtain the film container 20 shown in FIG.
  • FIG. 4 is an explanatory view showing the dimensional relationship of each part in the reel member 1 of the present invention.
  • the reel member 1 according to the present invention is effective for a long (300 to 600 m) adhesive film 6 and has first and second flange portions 11 and 12 having large diameters.
  • the diameters of the first and second flange portions 11 and 12 are 250 to 300 mm, and the distance between the first and second flange portions 11 and 12, that is, the thickness t of the core shaft portion 2 is 1.00. This is particularly effective when the thickness is ⁇ 1.30 mm.
  • the diameter d of the core shaft portion 2 is (diameter of the first and second flange portions 11 and 12 / 2.5) from the viewpoint of securing necessary rigidity and reducing the weight of the outer peripheral portion of the flange. It is preferable to set to ⁇ 10%. In this case, it is preferable to set to about 100 mm from the viewpoint of reducing the weight of the outer peripheral portion of the flange.
  • the diameter D of the reinforcing portion 3 is (diameter of the first and second flange portions 11 and 12 / 1.5) ⁇ 10% from the viewpoint of securing necessary rigidity and reducing the weight of the outer peripheral portion of the flange. It is preferable to set to. Specifically, the diameter D of the reinforcing portion 3 is preferably 183 to 150 mm, but is preferably set to about 150 mm from the viewpoint of reducing the weight.
  • the ratio H 1 : H 2 of the thickness of the center side end portion and the outer peripheral side end portion of the lightening portion 4 is preferably from the viewpoint of securing necessary rigidity and reducing the weight of the flange outer peripheral portion.
  • the size H 1 of the preferred lightening portion 4 on the center side is 1.90 to 2.10 mm
  • the preferred size H 2 of the lightening portion 4 on the outer peripheral side is 1.45 to 1.55 mm.
  • the height h of the outer peripheral portion (outer guide portion 5b) of the rib 5 is preferably 0.4 to 0.5 mm from the viewpoint of securing necessary rigidity and reducing the weight of the flange outer peripheral portion.
  • the interval (clearance) C between the ribs 5 is 0.05 to 0. 0 with respect to the width of the adhesive film 6 from the viewpoint of preventing the adhesive film from sticking to the rib surface and preventing the adhesive film from dropping into the gap. It is preferable to set so as to be 10 mm apart.
  • the number of the inner guide portions 5a of the rib 5 is preferably increased as the reel diameter increases. In the range to which the present invention is applied, 8 to 24 are preferable, and 12 to 24 are more preferable.
  • the adhesive film 6 may be left in a horizontal position after winding the adhesive film 6 or may be displaced during transportation.
  • the number of the inner guide portions 5a of the rib 5 If there are more than 24, there is a possibility that the adhesive film 6 may run up during winding, and at the same time, the risk of adhesion of the adhesive film 6 to the rib surface increases.
  • the reinforcing portion 3 having a certain thickness is provided in the vicinity of the core shaft portion 2 of the first and second flange portions 11 and 12, and the first and second flange portions 11 are provided. , 12 and a portion on the outer peripheral side of the flange with respect to the reinforcing portion 3 is provided with a lightening portion 4 formed in a tapered shape so that the thickness is thinner than the thickness of the reinforcing portion 3. Therefore, the rigidity of the reel member 1 can be ensured by the reinforcing portion 3 having a certain thickness, and the weight of the outer peripheral portions of the first and second flange portions 11 and 12 can be reduced. Since the deflection of the outer peripheral portion of the flange due to its own weight can be prevented, the accuracy of the clearance between the first and second flange portions 11 and 12 can be improved.
  • ribs 5 for guiding the adhesive film 6 are provided on the inner portions of the first and second flange portions 11 and 12, and the surface of the rib 5 for guiding the adhesive film 6 is provided. Since the reel member 1 is provided so as to be positioned on a surface orthogonal to the rotation direction of the reel member 1, the meandering of the adhesive film 6 at the time of winding and pulling out can be surely prevented. It is possible to reliably prevent the adhesive film 6 from dropping off at the time of take-off and the adhesive film 6 from being caught or blocked from being taken out.
  • the minimum melt viscosity of the anisotropic conductive adhesive film is 3.0 ⁇ 10 4 Pa ⁇ s.
  • This minimum melt viscosity is a value measured by using a measuring plate having a diameter of 8 mm, using a rotary rheometer (manufactured by TA instrument), keeping the heating rate constant at 10 ° C./min, measuring pressure at 5 g. is there.
  • Example 1 As the reel member 1, a double-sided flange type made of polystyrene resin, having a diameter of the core shaft portion 2 of 100 mm, a thickness of 1.25 mm, and a diameter of the first and second flange portions 11 and 12 of 250 mm is used. It was. This is of the configuration shown in FIG.
  • the reinforcing portion 3 of the reel member 1 has a thickness of 2.0 mm and a width D of 150 mm. Further, the light weight portion 4 is formed in a flat tapered shape, the height H 1 at the flange inner peripheral portion is 2.0 mm which is the same as the thickness of the reinforcing portion 3, and the thickness H 2 at the flange outer peripheral portion is 1.5 mm. It was made to become.
  • the height h at the flange outer peripheral portion (outer guide portion 5 b) of the rib 5 was set to 0.5 mm from the inner surfaces of the first and second flange portions 11 and 12. Further, twelve inner guide portions 5a of the rib 5 are provided at equal intervals.
  • An anisotropic conductive adhesive film 6 having a length of 500 m was wound around the reel member 1 as the adhesive film 6.
  • a reel member 1C was prepared under the same conditions as in the example except that a tapered lightening portion 4A was formed without providing a reinforcing portion, and an adhesive film 6 having a length of 500 m was wound up. .
  • the adhesive film 6 was drawn out for 1 second at a pulling tension of 50 g and a pulling speed of 500 mm / second with an interval of 1 second until the end, and the state of the adhesive film 6 at the time of drawing and after drawing (at the time of drawing) Catch, blocking, and cutting) were visually observed.
  • the results are shown in Table 1.
  • Comparative Example 3 in which the tapered lightening portion 4A is formed on the inner side surfaces of the first and second flange portions 11 and 12, while the height of the rib 5B is 0.1 mm from the inner side surface of the reel member 1B.
  • the clearance deviation in the outer peripheral portion of the flange is large (1.15 ⁇ 0.2 mm), and adhesion is performed during winding.
  • the film 6 was unwound and dropped.
  • the taper-shaped lightweight part 4A in the inner surface of the 1st and 2nd flange parts 11 and 12, it is the comparative example 4 which made the height of the rib 5 in the flange outer peripheral part 0.5 mm same as an Example. Then, the length of the adhesive film 6 could be increased to 500 m, but the clearance deviation in the outer peripheral portion of the flange was large (1.15 ⁇ 0.2 mm), and it was caught when pulled out.
  • the reinforcing portion 3 and the tapered lightening portion 4 are formed on the inner side surfaces of the first and second flange portions 11 and 12, and the height of the rib 5 at the outer peripheral portion of the flange is 0.5 mm.
  • the clearance deviation at the outer peripheral portion of the flange is small (1.15 ⁇ 0.1 mm). It was 1 mm or less. Furthermore, in the examples, no problems occurred during winding and withdrawal.

Landscapes

  • Storage Of Web-Like Or Filamentary Materials (AREA)
PCT/JP2012/080987 2011-12-05 2012-11-29 リール部材及びフィルム収容体 Ceased WO2013084797A1 (ja)

Priority Applications (2)

Application Number Priority Date Filing Date Title
CN201280059947.9A CN103958384B (zh) 2011-12-05 2012-11-29 卷盘部件和薄膜容纳体
KR1020147018333A KR102004565B1 (ko) 2011-12-05 2012-11-29 릴 부재 및 필름 수용체

Applications Claiming Priority (2)

Application Number Priority Date Filing Date Title
JP2011266085A JP5930274B2 (ja) 2011-12-05 2011-12-05 リール部材及びフィルム収容体
JP2011-266085 2011-12-05

Publications (1)

Publication Number Publication Date
WO2013084797A1 true WO2013084797A1 (ja) 2013-06-13

Family

ID=48574167

Family Applications (1)

Application Number Title Priority Date Filing Date
PCT/JP2012/080987 Ceased WO2013084797A1 (ja) 2011-12-05 2012-11-29 リール部材及びフィルム収容体

Country Status (5)

Country Link
JP (1) JP5930274B2 (enExample)
KR (1) KR102004565B1 (enExample)
CN (1) CN103958384B (enExample)
TW (1) TWI649250B (enExample)
WO (1) WO2013084797A1 (enExample)

Cited By (4)

* Cited by examiner, † Cited by third party
Publication number Priority date Publication date Assignee Title
EP3438030A4 (en) * 2016-03-31 2019-10-30 Fujikura Ltd. Coil for winding an optical fiber, method for winding an optical fiber and optical fiber wound on a coil
US20210269208A1 (en) * 2018-07-18 2021-09-02 Max Co., Ltd. Binding tape, binding method, tape winding body and reel
US20230339720A1 (en) * 2019-11-22 2023-10-26 Dexerials Corporation Reel member and adhesive film winding body
US12391445B2 (en) 2018-07-18 2025-08-19 Max Co., Ltd. Binding tape, binding method, tape winding body and reel

Families Citing this family (6)

* Cited by examiner, † Cited by third party
Publication number Priority date Publication date Assignee Title
JP3086743B2 (ja) 1992-03-03 2000-09-11 鐘紡株式会社 半導体装置
JP2015086029A (ja) * 2013-10-29 2015-05-07 デクセリアルズ株式会社 リール部材及びフィルム収容体
WO2017026404A1 (ja) * 2015-08-10 2017-02-16 デクセリアルズ株式会社 リール部材、フィルム収容体、及びリール部材の製造方法
KR101645335B1 (ko) * 2016-03-14 2016-08-03 권창수 강도가 보강된 분리막 필름용 권취 코어
TWI669262B (zh) 2019-01-21 2019-08-21 頎邦科技股份有限公司 防止捲輪的限位盤變形之限制裝置
US12208987B2 (en) * 2019-11-07 2025-01-28 Sumitomo Electric Industries, Ltd. Wire body winding device and wire body manufacturing method

Citations (4)

* Cited by examiner, † Cited by third party
Publication number Priority date Publication date Assignee Title
JPH0619182U (ja) * 1991-12-19 1994-03-11 ソニー株式会社 テープリール
JP2001318451A (ja) * 2000-03-03 2001-11-16 Fuji Photo Film Co Ltd アダプタ付き遮光性感光材料ロール及び感光材料用ロール駆動支持用アダプタ
WO2007148593A1 (ja) * 2006-06-21 2007-12-27 Hitachi Chemical Company, Ltd. リール
JP2009274829A (ja) * 2008-05-15 2009-11-26 Gold Kogyo Kk 物流用リール

Family Cites Families (7)

* Cited by examiner, † Cited by third party
Publication number Priority date Publication date Assignee Title
GB802818A (en) * 1955-08-29 1958-10-15 Smith & Sons Ltd S Improvements in or relating to methods of winding bobbins with wire
US6598825B2 (en) * 1998-02-13 2003-07-29 C. Robert Ripplinger Simultaneous-access surfaces for reel-flange fasteners
US6435451B1 (en) * 2000-10-19 2002-08-20 Storage Technology Corporation Compliant tape reel flanges
JP2002251859A (ja) * 2000-12-19 2002-09-06 Fuji Photo Film Co Ltd テープリール
US7073742B2 (en) * 2003-01-21 2006-07-11 Quantum Corporation Tape guiding reel
JP2007094662A (ja) 2005-09-28 2007-04-12 Hitachi Electronics Service Co Ltd 機器特定システム及びidタグ
JP5201262B2 (ja) * 2010-03-23 2013-06-05 日立化成株式会社 接着テープ用リール

Patent Citations (4)

* Cited by examiner, † Cited by third party
Publication number Priority date Publication date Assignee Title
JPH0619182U (ja) * 1991-12-19 1994-03-11 ソニー株式会社 テープリール
JP2001318451A (ja) * 2000-03-03 2001-11-16 Fuji Photo Film Co Ltd アダプタ付き遮光性感光材料ロール及び感光材料用ロール駆動支持用アダプタ
WO2007148593A1 (ja) * 2006-06-21 2007-12-27 Hitachi Chemical Company, Ltd. リール
JP2009274829A (ja) * 2008-05-15 2009-11-26 Gold Kogyo Kk 物流用リール

Cited By (7)

* Cited by examiner, † Cited by third party
Publication number Priority date Publication date Assignee Title
EP3438030A4 (en) * 2016-03-31 2019-10-30 Fujikura Ltd. Coil for winding an optical fiber, method for winding an optical fiber and optical fiber wound on a coil
US10662022B2 (en) 2016-03-31 2020-05-26 Fujikura Ltd. Optical fiber winding bobbin, optical fiber winding method, and bobbin-wound optical fiber
US20210269208A1 (en) * 2018-07-18 2021-09-02 Max Co., Ltd. Binding tape, binding method, tape winding body and reel
US12378089B2 (en) * 2018-07-18 2025-08-05 Max Co., Ltd. Binding tape, binding method, tape winding body and reel
US12391445B2 (en) 2018-07-18 2025-08-19 Max Co., Ltd. Binding tape, binding method, tape winding body and reel
US20230339720A1 (en) * 2019-11-22 2023-10-26 Dexerials Corporation Reel member and adhesive film winding body
US12441580B2 (en) * 2019-11-22 2025-10-14 Dexerials Corporation Reel member and adhesive film winding body

Also Published As

Publication number Publication date
TWI649250B (zh) 2019-02-01
JP2013116816A (ja) 2013-06-13
TW201341293A (zh) 2013-10-16
CN103958384A (zh) 2014-07-30
JP5930274B2 (ja) 2016-06-08
CN103958384B (zh) 2016-04-13
KR20140099314A (ko) 2014-08-11
KR102004565B1 (ko) 2019-07-26

Similar Documents

Publication Publication Date Title
JP5930274B2 (ja) リール部材及びフィルム収容体
EP2368828A2 (en) Reel
JP6529745B2 (ja) 極板巻取り装置
US20110198433A1 (en) Reel
JP5905351B2 (ja) リール部材及びフィルム収容体
WO2014021392A1 (ja) リール部材及びフィルム収容体並びにフィルム収容体の製造方法
JP7545020B2 (ja) 上刃ロール、スリット装置、スリット方法及び積層テープ
US20160251195A1 (en) Reel member and film accommodating body
EP3438030A1 (en) Bobbin for reeling optical fiber, method for reeling optical fiber, and optical fiber wound on bobbin
US20220168916A1 (en) Upper blade roller, slitting device, slitting method, and laminated tape
JP5770651B2 (ja) リール部材及びフィルム収容体並びに接着フィルムの引出方法
KR20140132004A (ko) 접착 필름의 부착 방법 및 접착 필름 부착 장치
JP5629591B2 (ja) リール部材及びこれを用いた接着フィルムの引出方法
KR101202043B1 (ko) 이방 도전성 필름용 릴 및 이를 위한 지지클립

Legal Events

Date Code Title Description
121 Ep: the epo has been informed by wipo that ep was designated in this application

Ref document number: 12855549

Country of ref document: EP

Kind code of ref document: A1

NENP Non-entry into the national phase

Ref country code: DE

ENP Entry into the national phase

Ref document number: 20147018333

Country of ref document: KR

Kind code of ref document: A

122 Ep: pct application non-entry in european phase

Ref document number: 12855549

Country of ref document: EP

Kind code of ref document: A1